PLS-07 - Depiladora ELSAY - Manual de utilização gratuito
Encontre gratuitamente o manual do aparelho PLS-07 ELSAY em formato PDF.
Perguntas dos utilizadores sobre PLS-07 ELSAY
0 pergunta sobre este aparelho. Responda às que conhece ou faça a sua.
Faça uma nova pergunta sobre este aparelho
Baixe as instruções para o seu Depiladora em formato PDF gratuitamente! Encontre o seu manual PLS-07 - ELSAY e retome o controlo do seu dispositivo eletrónico. Nesta página estão publicados todos os documentos necessários para a utilização do seu dispositivo. PLS-07 da marca ELSAY.
MANUAL DE UTILIZADOR PLS-07 ELSAY
ATENÇA: leia atentamente
este manual de instruções e
conserve-o para eventuels
referências futuras.



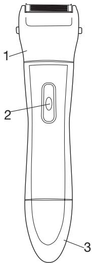
- Cabeça de aparar
- Interruptor de ligar/desligar
- Compartimento das pilhas
- Cabeça de corte
- Pente incorporado
- Escova
INSTRUÇÉS DE SEGURANÇA
- AVISO: Antes de cada'utilisation, certificado-se de que o aparecido e os acessórios está secos e limpos.
- Não colocar o artigo dentro de água.
- Não expo o aparecido a fortes temperatas ou a fortes vibrações.
- Evite tenções mecâncicas demasiado fortes no aparelho.
- Não utilize produits químicos para limpar o aparecido.
- Não desmonte o aparecido. O aparecido não contentem qualquer componente que possa ser reparado pelo utilizador. Contacte o seu service de apoio ao cliente para quaisquer falhas deestruturao. Não tente reparar o aparecido sozinho.
-
Este aparelho pode ser utilizado por crianças comazo些 3 anos, desde que sejam supervisionadas.
-
Este aparelho pode ser utilizado por crianças com, pelo menos, 8 anos e por pessoas com capacidades fibras, sensoriais ou mentalais reduzidas ou com falta de experiencia ou conheçimentos se foram corretemente supervisionadas ou se lhes forem dadas instruções relatives à utilizesçao do aparelho com toda a segurarca, e se os riscos incorridos forem tidos em conta. As crianças não devem brincar com o aparelho. A limpeza e manutenção não devem ser feitas por crianças sem supervisão.
-
Para utiliser o aparelho, insira两大 pilhas de tipo LR03 (AAA), certificando-se de que a polaridade das pilhas coincide com as marcas do esquema no compartmento.
-
Para retirar ou,inserir as pilhas,puxe o compartmento de pilhas para baixo.No final da operationo,volte a instalar o compartmento no lugar.
- As pilhas não recarregáveis não devem ser carregadas.
- As pilhas recarregaveis devem ser retridas do aparecido antes de serem carregadas.
- Não misture diferentes temas de pilhas ou pilhas novas com pilhas usadas.
- As pilhas devem ser inseridas nas polaridades corretas.
- As pilhas descarregadas devem ser retradas do aparelho e eliminadas de modo seguro.
- Retire as pilhas se não utilizar o aparecido durante um periodo prolongado.
- Os TERMINais de alimentação não devem ser colocados em curto-circuito.
Instalacao dos acessórios
- Gire o acessório no sentido oposto ao dos ponteiros do relógio para o soltar do aparelho.
- Gire o acesssorio no sentido dos ponteiros do relógio para o fixar.

Prima o botão de LIGAR e mova a boaquina de aparar lentamente de cima para baixo para aparar os pêlos.
LIMPEZA E MANUTENÇão
- Antes da limpeza, retire os acessórios do aparelho.
- Limpe os acessórios com agua corrente.
- Pode limpar a sujidade com uma pequena escova fornecida com o produit.
- Limpe a estrutura com um pano humido.

Nos termos da Diretiva REE8 2012/19/UE relativ ao ambiente, é proibido eliminar aparelhos electrolycos ou
eletrónicos usados na natureza ou numa descarga Pública de resíduos simples. Coloque-os num deposito especialmente previsto para oefeito com vista à sua reciclagem.

As pilhas gastas não devem ser eliminadas juntamente com o
lixo domestico comum. Contacte o centro de recolha mais proximo de si para eliminar corretamente as pilhas.
Para pedidos de informacoes,manual de instruções, pontos de segurarce condições de utilizesao: SIPLEC, CS 10020,94859 Ivry-sur-Seine Cedex, FRANCA

SERVICO DE APOIO AO CLIENTE/GARANTIA
- Os produits ELSAY são concebidos segundo os mais altos padrões de qualidade dos produits para o lar.
- Os produits ELSAY beneficiam do periodo de garantia legal (24征求意见) que inicia a contar da data de compra do produits por parte do consumidor ou da data de entrega do produits. Em complemento dessa garantia legal, uma extensao de um ano (12征求意见) é proporcionada pelo E. Leclerc. O periodo de garantia totaltica, assim, de 3 anos (36征求意见).
A extensão de garantia proportionada pelo E. Leclerc não se aplicá acoscessórios* (saco de aspirador, jarro, etc.).
- As intervenções realizadas a titulo da garantia legal de conformidade proporcionário uma extensão de garantia legal de conformidade de 6 vezes ao produto. Contudo, as intervenções efetuadas durante o período de garantia complementar proportionado pelo E. Leclerc não poderão Beneficiar dessa extensão de garantia.
- Não abrangidas todas e quaisquer avarias ou deficiências, que tornem o produit improprio ao uso e que resultem na devolução do produits por parte do consumidor durante o periodo da garantia.
- Se o produit ELSAY não puder ser reparado durante o periodo total de garantia (garantia legal de conformidade e extensão de garantia proporcionada pelo E. Leclerc), o mesmo sera
substilio e a garantia total sera renovada.
- Não excluídos da garantia* quaisquer danos, avarias, falhas ou defeitos decorrentes:
a. de um uso ou uma instalação não conformes com as instruções constantes do manual fornecido
b. de danos resultantes de una causa externa o produits
c. de uma alteração das caracteristicas痫icas pelo uso autor化
d. de uma'utilisation profissional
-
No seguimento de uma analise efetuada pelos pontos de Servço de Apoio ao CLIENTE E. LECLERCO ouleo punto de vendA E.LECLERC.
-
A garantia aplicar-se-à exclusivamente nos pontos de vendu E. LECLERC. En caso de problema ou defeito, deverá sempre deslocar-se até um punto de vendu E. LECLERC para poder Beneficiar da cobertura da garantía.
- Qualquer pedido de service pós-venda apenas poderá ser processado se:
a. For fornecido um comprovativo de compra (talo de caixa ou cartao E. LECLERC);
b. O produto for rigorosamente identico ao comprado.
- A sua loja E. LECLERC está ao seu dispor para quaisquer informacoes adioniais.
- Assim como está disponible o número verde 0800 35 35 20 (chamada sem valor crescentado).

GOLARKADAMSKA BIKININABATERIEPLS-07
TLEUMACZENIE ORYGINALNEJ INSTRUKCI

ManualFácil