SE2631TC - Plaque de cuisson SMEG - Notice d'utilisation et mode d'emploi gratuit
Retrouvez gratuitement la notice de l'appareil SE2631TC SMEG au format PDF.
| Type de plaque | Vitrocéramique |
| Installation | À encastrer |
| Commande | Touch-Control |
| Nombre de foyers | Non précisé |
| Puissance totale | Non précisé |
| Dimensions (L x P) | Non précisé |
| Matériau de surface | Verre céramique |
| Sécurité enfants | Non précisé |
| Fonction minuterie | Non précisé |
| Type de commandes | Touches tactiles |
| Indicateur de chaleur résiduelle | Non précisé |
| Couleur | Non précisé |
| Alimentation | Électrique |
| Garantie | Non précisé |
FOIRE AUX QUESTIONS - SE2631TC SMEG
Téléchargez la notice de votre Plaque de cuisson au format PDF gratuitement ! Retrouvez votre notice SE2631TC - SMEG et reprennez votre appareil électronique en main. Sur cette page sont publiés tous les documents nécessaires à l'utilisation de votre appareil SE2631TC de la marque SMEG.
MODE D'EMPLOI SE2631TC SMEG
Vous avez acheté une table de cuisson vitrocéramique avec panneau de commande Touch Control.
Pour vous permettre de profiter longtemps de votre table de cuisson, nous vous conseillons d'observer strictement les chapitres 2 et 3 du présent mode d'emploi.
Ce mode d'emploi est valable pour plusieurs types de tables de cuisson. Vous verrez quel est le type de table de cuisson que vous avez acheté en consultant l'étiquette se trouvant sur le devant de l'appareil.
1. Maniement
1.1 Votre nouvelle table de cuisson 1.2 Panneau de commande Touch Control 1.3 Maniement du Touch Control
2. Ce à quoi vous devez faire attention
2.1 Quelques conseils concernant les récipients 2.2 Renseignements importants
4. Montage
4.1 Découpe du plan de travail 4.2 Montage 4.3 Raccordement électrique 4.4 Travaux de maintenance
Retrait de l'emballage et élimination de votre ancien appareil
Éliminez le plus écologiquement possible l'emballage de transport.
Le recyclage des matériaux d'emballage permet d'économiser des matières premières et de réduire le volume de déchets. Les vieux appareils contiennent des matières recyclables. Donnez votre ancien appareil dans une déchetterie. Avant de vous débarrasser de vos vieux appareils, rendez-les inutilisables. Ainsi vous évitez tout usage abusif.
1.1 Votre nouveau plan de cuisson à commande Touch Control
Ce mode d'emploi est valable pour le type SE 2631 TC.
1.2 Panneau de commande Touch Control
Après l'établissement de la tension d'alimentation (raccordement au réseau), la commande effectue un test automatique qui se termine par un bref signal sonore.
① Touche Marche/Arrêt (commande) ② Touche de verrouillage ③ Voyant de contrôle de verrouillage (de la commande) ④ Touche Moins ⑤ Touche Plus ⑥ Touche zones de cuisson ⑦ Indicateur d'intensité ⑧ Point signalant l'ordre de marche d'une zone de cuisson
Allumé : zone de cuisson opérationnelle.


1.3 Maniement du Touch Control
Chaque manipulation de touche est systématiquement confirmée par un signal sonore.
Actionnez la touche Marche/Arrêt ① pour activer la commande. Pour mettre en marche, maintenez le doigt sur la touche jusqu'à ce qu'un « 0 » s'affiche au niveau de tous les indicateurs d'intensité et que le point ⑧ clignote. Toute manipulation ultérieure doit être effectuée dans les 10 secondes, sans quoi la commande s'arrête automatiquement.
Pour mettre en marche une zone de cuisson, appuyez sur la touche correspondante à la zone concernée ⑥. Le point ⑧ de la zone s'allume.
Les touches Moins et Plus ④ / ⑤ permettent de sélectionner une intensité entre 1 et 9. Une fois activée, chaque zone de cuisson peut être coupée à tout moment. La zone de cuisson souhaitée doit, pour ce faire, être activée et le point ⑧ être allumé.
La touche Moins ④ permet de ramener l'intensité de cuisson à « 0 », tandis qu'une pression simultanée des touches Plus et Moins ④ + ⑤ permet de couper la commande.
En principe, l'ensemble de la commande peut être coupé à n'importe quel moment via la touche Marche/Arrêt ①. Pour désactiver l'ensemble de la plaque, posez le doigt brièvement sur la touche Marche/Arrêt ① jusqu'à ce que les voyants de contrôle s'éteignent.
L'enclenchement de la touche de verrouillage ② permet de bloquer l'ensemble des touches, y compris , contre toute manipulation indésirable. L'enclenchement du verrouillage est indiqué par le voyant lumineux ③. Actionnez de nouveau la touche de verrouillage ② pour désactiver celui-ci.
Indicateur de chaleur résiduelle
L'affichage de la chaleur résiduelle se fait via un « H » lumineux au niveau de l'indicateur d'intensité de cuisson concerné ⑦.
Cuisson « choc
Activez la zone de cuisson à l'aide de la touche ⑥. Si l'on actionne la touche Moins ④, c'est l'intensité 9 qui s'affiche. Activez ensuite la cuisson « choc » avec la touche Plus ⑤. L'affichage de niveau de cuisson ⑦ alterne entre l'indication « A » (cuisson rapide) et le niveau de cuisson sélectionné. On peut alors choisir, entre 1 et 8, l'intensité à laquelle doit se poursuivre la cuisson. Si, toutefois, on maintient l'intensité 9 sans effectuer de choix entre 1 et 8, la cuisson « choc » est désactivée au bout de 10 secondes. La durée du mode cuisson « choc » est fonction de l'intensité sélectionnée pour la poursuite de la cuisson ; elle est indiquée dans le tableau des temps fourni avec l'appareil.
Lorsque, après avoir sélectionné l'intensité de poursuite de cuisson, on appuie sur la touche Plus ⑤, la durée du mode de cuisson « choc » est augmentée en fonction des valeurs du tableau des temps. Lorsque, après avoir sélectionné l'intensité de poursuite de cuisson, on appuie sur la touche Moins ④, la durée de cuisson « choc » se trouve réduite.
Dispositif de coupure automatique
La durée de service en continu de chacune des zones de cuisson est limitée par un d qui, au bout d'un certain laps de temps, désactive la zone de cuisson en fonction de l'intensité sélectionnée. Les temps d'intervention de ce dispositif de sécurité sont fournis par le tableau ci-contre. Lorsque le d a déconnecté la commande « Touch-Control », un « 0 » apparaît au niveau de l'indicateur d'intensité ⑦, ou un « H » en cas de chaleur résiduelle. Actionnez la touche Marche/Arrêt ① pour rendre la commande de nouveau opérationnelle.
Si l'on presse plus d'une touche à la fois, hormis les touches Plus et Moins, l'opération est rejetée comme invalide par la commande. Si une ou plusieurs touches sont maintenues enfoncées pendant un temps important, en raison d'un débordement ou à cause d'un récipient, la commande conclut à un incident et s'arrête automatiquement. Si la pression sur les touches se prolonge, un signal sonore continu est déclenché.
Tableau des durées
CC = Cuisson « choc », durée en minutes, secondes.
| Intensité | CC (min.:sec.) |
| 1 | 01:00 |
| 2 | 03:00 |
| 3 | 04:48 |
| 4 | 06:30 |
| 5 | 08:30 |
| 6 | 02:30 |
| 7 | 03:30 |
| 8 | 04:30 |
| 9 | —:— |
Tableau des durées
RDS = Restriction de durée de service. Données en heures.
| Intensité | RDS (h) |
| 1 | 6 |
| 2 | 6 |
| 3 | 5 |
| 4 | 5 |
| 5 | 4 |
| 6 | 1,5 |
| 7 | 1,5 |
| 8 | 1,5 |
| 9 | 1,5 |
2.1 Quelques conseils concernant les récipients
N'utilisez que des casseroles ou des poêles à fond résistant, plat et aussi épais que possible. Ceci vaut en particulier pour les cuissons à températures élevées, telles que les fritures. Les fonds bosselés rallongent le temps de cuisson et augmentent la consommation d'énergie. Afin d'obtenir la meilleure transmission d'énergie possible, il est conseillé d'utiliser un récipient de la même taille que la zone de cuisson. Recouvrez les récipients avec un couvercle. On perd beaucoup d'énergie en n'en utilisant pas ou si le couvercle est mal posé sur le récipient.
Pour travailler à même les zones de cuisson, vous pouvez utiliser des ustensiles en verre ou en porcelaine réfractaire lorsque leur fond est parfaitement plat. Veillez ce faisant à respecter les instructions d'utilisation des fabricants.
Nettoyez immédiatement tout débordement éventuel d'aliments.
Avant la première utilisation, il est conseillé de nettoyer la table de cuisson. Allumez ensuite les zones de cuisson les unes après les autres, sans récipient et à pleine puissance durant trois minutes, afin de supprimer l'odeur de neuf et pour faire s'évaporer l'éventuelle humidité résiduelle sur les éléments chauffants. Cette mesure est indispensable au bon fonctionnement des circuits de commutation électroniques.
2.2 Renseignements importants
Attention : les surfaces des tables de cuisson et des éléments thermiques sont brûlantes pendant le fonctionnement. Il convient donc d'en tenir les enfants éloignés.
Évitez de faire tomber des objets durs sur la surface de cuisson. Dans certaines conditions, le matériau est sensible aux charges mécaniques. Une sollicitation par impact ponctuel peut engendrer le bris de la surface de cuisson. Si, par suite d'un traitement inattentif, la table en céramique présente des cassures, des fissures ou des crevasses, elle doit être immédiatement mise hors service et débranchée du secteur. Pour cela, coupez le disjoncteur protégeant le raccordement de la cuisinière sur le tableau des fusibles. Prévenez le service après-vente.
La table de cuisson en vitrocéramique ne doit pas être utilisée pour y déposer des objets ! La cuisson d'aliments dans des feuilles d'aluminium ou des récipients en matière plastique sur les tables de cuisson brûlantes n'est pas autorisée.
Ne mettez jamais en marche les tables de cuisson en l'absence de récipient. Ne déposez jamais d'objets sensibles au feu, facilement inflammables ou déformables directement sous la table de cuisson.
Restez toujours à proximité de la table de cuisson si vous cuisinez avec de la graisse ou de l'huile. L'huile surchauffée peut s'enflammer. Ne versez jamais d'eau sur de la graisse ou de l'huile brûlante. Risque de brûlures ! Couvrez le plat pour étouffer les flammes et éteignez la plaque de cuisson. Laissez refroidir le plat sur la plaque de cuisson. En outre, les câbles des appareils électriques qui sont branchés tout près de la plaque de cuisson ne doivent pas approcher les zones de cuisson brûlantes.
La table de cuisson en vitrocéramique ne doit en aucun cas être nettoyée avec un appareil à vapeur ou similaire !
3. Nettoyage et entretien
Nettoyez la table de cuisson après chaque utilisation, une fois celle-ci refroidie. Les moindres restes d'aliments peuvent se calciner lors de la mise en route suivante. N'utilisez que les produits de nettoyage recommandés. La paille de fer, les éponges abrasives et les nettoyants en poudre peuvent provoquer des éraflures. Le spray pour four ne convient pas, car il est agressif et attaque la table de cuisson.
Salissures légères
Enlevez les salissures légères avec un chiffon humide ou de l'eau chaude. Ôtez les restes de produit de nettoyage à l'eau froide, ensuite essuyez bien la surface. Vous éliminerez les taches d'eau provoquées par les débordements d'eau bouillante avec du vinaigre, du citron ou un produit anti-calcaire.
Salissures tenaces
Enlevez les salissures tenaces avec « Sidol spécial acier surfin », « Stahlfix » ou « Cérafix ». Appliquez le produit de nettoyage non dilué avec un sopalin et étalez-le. Laissez le produit agir, enlevez-le complètement avec de l'eau froide et essuyez bien la table de cuisson. Les restes de produit nettoyant sur la surface de cuisson peuvent avoir un effet corrosif à la chaleur.
Pour supprimer les salissures tenaces et incrustations, vous utiliserez un racloir en verre. Vous le trouvez dans tous les magasins d'articles ménagers, de peinture ou de bricolage, ou encore auprès de notre service après-vente. Au moment de l'achat, faites attention à la poignée. Celle-ci ne devra pas être en matière plastique, car elle collerait sur les zones de cuisson brûlantes. À manier prudemment - danger de blessure.
Les mets contenant du sucre peuvent endommager définitivement la surface en vitrocéramique car ils la rayent en séchant. Enlevez-les immédiatement avec le racloir en verre quand ils sont encore chauds, car ils pourraient endommager indéfiniment la surface.
Changements de couleur de la table de cuisson
Ils n'ont aucune influence sur le fonctionnement et la stabilité de la vitrocéramique. Il ne s'agit pas d'une altération du matériau, mais de restes calcinés qui n'ont pas été enlevés.
Les colorations à éclat métallique sont dues au frottement du fond des casseroles ou à un produit de nettoyage non conforme. Vous ne les supprimerez qu'avec beaucoup de peine à l'aide de « Sidol Spécial pour Acier Surfin » ou de « Stahlfix ». Vous devrez éventuellement répéter le nettoyage.
Décor griffé. L'utilisation de produits de nettoyage agressifs et de fonds de casseroles irréguliers peut endommager le décor ; des taches sombres se forment.
Enlevez immédiatement le sucre fondu ou les aliments sucrés encore chauds avec un raclette en verre ; ils pourraient endommager la plaque de cuisson.
En cas d'utilisation conforme, votre table de cuisson restera parfaite pendant très longtemps et l'entretien en sera facilité.
Pour l'entretien, nous vous recommandons « Cerafix ». La haute teneur en silicone de ce produit forme un film protecteur qui a un effet hydrofuge et repousse la poussière. Toutes les saletés restent sur ce film protecteur et peuvent être enlevées plus facilement. Un entretien régulier est donc primordial.








4.1 Découpe du plan de travail
Exécutez toutes les opérations de découpe des meubles et plans de travail avant d'encastrer les appareils, et retirez les copeaux.
Vous trouverez les cotes de découpe du plan de travail sur les plans (ill. 1+2).
Les surfaces de découpe doivent être recouvertes et scellées au moyen d'une couche protectrice hydrophobe.
Le plan de travail et la table de cuisson doivent être parfaitement à l'horizontal. Une déformation de la table de cuisson due à une pose inclinée augmente le risque d'accident.

4.2 Montage
Avant le montage, contrôlez la stricte étanchéité du joint de la table de cuisson.
Lors du montage d'une plaque de cuisson en vitrocéramique dans un plan de travail recouvert de céramique ou similaire (carrelage), le joint placé sur la plaque de cuisson devra être enlevé et on étanchera la surface de cuisson contre le plan de travail à l'aide de matériau étanche en plastique, tel du caoutchouc-silicone thermorésistant.
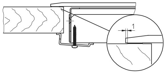
ATTENTION ! Lorsque la table de cuisson est installée sur un meuble (contre une paroi latérale, au-dessus de tiroirs, etc.), prévoyez impérativement une isolation et un espace suffisants pour prévenir tout contact accidentel entre le meuble et la table de cuisson. Le faux-fond ne doit pouvoir être retiré qu'à l'aide d'outils et doit être posé à une distance d'au moins 20 mm du dessous du plan de cuisson, de manière à ce que le câble de raccordement au réseau n'approche pas le dessous du plan de cuisson (ill. 4).
Si le plan de cuisson doit être installé au-dessus d'un four encastrable, celui-ci doit être équipé d'un ventilateur de refroidissement. Dans ce cas, il n'est pas nécessaire de poser de faux-fond.
Il ne doit pas y avoir de traverses au niveau de la découpe sous le plan de travail.
Placez soigneusement la table de cuisson dans la découpe et arrimez-la solidement au plan de travail à l'aide des éléments de fixation correspondants (ill. 3). Les vis doivent être serrées à la main et avec un tournevis ; ne pas utiliser d'engin électrique.
Veillez à ce que le plan de travail / la table de cuisson soit parfaitement à plat. Il faut éviter que du liquide puisse passer entre le bord de la table de cuisson et le plan de travail ou entre le plan de travail et le mur et pénétrer ainsi dans les appareils électriques situés en contrebas. Placez des joints d'étanchéité profilés, des bandes et des produits d'étanchéité.
4.3 Raccordement électrique
(Charge de connexion et description du modèle : voir recto du mode d'emploi)
Le branchement électrique doit être réalisé par un spécialiste agréé qui doit être au fait des prescriptions légales à respecter (Allemagne VDE, Autriche ÖVE, Suisse SEV, etc.). On veillera notamment à ce que ces prescriptions ainsi que celles du service public de distribution soient intégralement respectées.
Il faudra placer en amont de l'appareil, du côté de l'installation, un dispositif de séparation actif sur tous les pôles avec au moins 3 mm d'intervalle de coupure. Veillez à ce que la tension secteur présente soit conforme à celle indiquée sur l'étiquette.
Pour le branchement, le couvercle partiel de l'interrupteur situé au bas de l'appareil doit être ouvert pour pouvoir accéder à la borne de connexion. Après le branchement, le couvercle doit être remis en place et l bloqué avec la bride de décharge de traction.
En cas d'endommagement du cordon de cet appareil, celui-ci doit être remplacé par le fabricant ou son Service Après-Vente, ou par une personne similairement qualifiée, afin d'éviter tout risque de danger.
Il faudra veiller à ce que la longueur non utilisée du cordon de raccordement ne soit pas placée dans la zone d'encastrement de la table de cuisson. Pour le passage des câbles, veuillez consulter l'illustration 4.
L'encastrement doit être réalisé de manière à empêcher tout contact avec le cordon d'alimentation de l'appareil.
Possibilités de branchement
(*) Cette variante de branchement n'est pas agréée en Suisse par le SEV.
4.4 Travaux de maintenance
Lors des réparations, il faudra couper le courant de l'appareil, c'est-à-dire que le dispositif de séparation côté installation devra être préalablement ouvert. Si vous faites appel au service après-vente, indiquez toujours le type et le numéro de fabrication. Vous trouvez les renseignements nécessaires sur l'étiquette ou au recto du mode d'emploi. Après chaque démontage de la plaque de cuisson en vitrocéramique, il faudra contrôler le joint et éventuellement le remplacer.
III.1
III. 2
① Espacement minimal par rapport aux meubles attenants ② Dimension du fraisage ③ Dimension hors tout de la table de cuisson ④ Passage du câble à l'arrière
III. 3


III. 4
| Cooking level | MOT (h) |
| 1 | 6 |
| 2 | 6 |
| 3 | 5 |
| 4 | 5 |
| 5 | 4 |
| 6 | 1,5 |
| 7 | 1,5 |
| 8 | 1,5 |
| 9 | 1,5 |
| Kookstand | GDBPR (h) |
| 1 | 6 |
| 2 | 6 |
| 3 | 5 |
| 4 | 5 |
| 5 | 4 |
| 6 | 1,5 |
| 7 | 1,5 |
| 8 | 1,5 |
| 9 | 1,5 |
| Kochstufe | BDBGR (h) |
| 1 | 6 |
| 2 | 6 |
| 3 | 5 |
| 4 | 5 |
| 5 | 4 |
| 6 | 1,5 |
| 7 | 1,5 |
| 8 | 1,5 |
| 9 | 1,5 |
Notice Facile