SE2631TC - Bandeja para hornear SMEG - Manual de uso y guía de instrucciones gratis
Encuentra gratis el manual del aparato SE2631TC SMEG en formato PDF.
| Tipo de placa | Vitrocerámica |
| Instalación | Integrada |
| Control | Touch-Control |
| Número de zonas | No especificado |
| Potencia total | No especificado |
| Dimensiones (An x Pr) | No especificado |
| Material de superficie | Vidrio cerámico |
| Seguridad para niños | No especificado |
| Función temporizador | No especificado |
| Tipo de controles | Controles táctiles |
| Indicador de calor residual | No especificado |
| Color | No especificado |
| Alimentación | Eléctrica |
| Garantía | No especificado |
Preguntas frecuentes - SE2631TC SMEG
Descarga las instrucciones para tu Bandeja para hornear en formato PDF gratis! Encuentra tus instrucciones SE2631TC - SMEG y toma tu dispositivo electrónico nuevamente en la mano. En esta página están publicados todos los documentos necesarios para el uso de su dispositivo. SE2631TC de la marca SMEG.
MANUAL DE USUARIO SE2631TC SMEG
Le felicitamos por haber adquirido una encimera de cocción vitrocerámica con panel de mandos Touch control (control táctil).
Para que pueda disfrutar durante是多么 tiempo de su encimera, preste especial atencion a los capitulos 2 y 3 de las instrucciones de manejo.
Estas instrucciones de manejo son validas para various temas de encimeras. En la placac de caracteristicas situada en la cubierta de estas instrucciones de manejo possible ver el tipo de encimera que ha adquirido.
Antes de su instalacion o uso, le rogamos lea atentamente este Manual y siga fielmente sus instrucciones, para garantizar un mejor resultado en la realizacion del aparato.
Guarde este Manual de Instrucciones en un lugar seguro para poder consultarlo y asiFULR con los requisitos de la garantia.
Para poder beneficiarse de esta Garantia, es imprescindible presentar la factura de compra del aparato jusqu con el certificado de garantia.
Índice
1. Manejo
1.1 Su nuevo encimera de cocción
1.2 Panel de mando Touch Control
1.3 Manejo del Touch Control
2. Puntos a tener en cuenta
2.1 Algunos consejos relativos a los recipientes
2.2 Indicaciones importantes
3. Limpieza y cuidado
4. Montaje
4.1 Recorte de la superficie de trabajo
4.2 Montaje
4.3 Conexión electrica (valores de conexión)
4.4 Trabajos de mantenimiento y de reparación
Eliminar el material de embalaje y el aparato antiguo
Eliminar el embalaje de transporte en lo possible acorde al medio ambiente.
El returno de los materiales de embalaje al circuito de material economiza materias primas y reduce la generation de residuos. Aparatos antiguos contienen aún materiales de valor. Entregue su aparato antiguo en un punto de recolección de materiales de valor. Los aparatos antiguos deben ser inutilizados antes de ser eliminados. De esta manière se impide su uso/independencia indefinida.
1. Manejo
1.1 Su nuevo encimera con mandos Touch Control
Estas instrucciones de manejo son validas para el tipo SE 2631 TC.
1.2 Panel de mando Touch Control
Después de conectar la tension de alimentación (conexión a la red) se produce primero un test automatico del mando que se da por finalizo con una breve señal acústica.
① Tecla de Encendido/Apagado (mando)
② Tecla de bloqueo
③ Lámpara de control del bloqueo (mando)
④ Tecla Menos
⑤ Tecla Más
⑥ Tecla de zona de cocciudad
⑦ Indicador de nivel de cocccion
Punto de disponibiliad zona de cocción (se ilumina: zona de cocción disponible)


1.3 Manejo del Touch Control
Por grado, cada acontecimiento de una tecla es confirmado por una seals acústica.
Accionando la tecla de Encendido/Apagado ① se pone en marcha el mando. Para conectar,poner el dedo en la tecla hasta que se ilumine un «0» en todos losindicadores de niveles de cocción y parpadee el punto de disponible zona de coccción ⑧ . Elsiguienteccionamento tiene que producirse ahora Dentro de losproximos diez segundos,ya que en caso contrario el mando se desconecta automatistically.
Para conectar una zona de coccción se actionará la tecla correspondiente ⑥ de la zona de coccción deseada. CorrespondIENTemente se enciende el punto de la zona de coccción de preparada para el uso ⑧ de la zona de coccción activada.
Con las teclas Menos o Más 4 / 5 selectionar el nivel de coccción deseado entre el 1 y el 9. Todas las zonas de coccción que estén connectadasULDuen serdesconnectadas en todo momento.Para ello la zona de coccción deseada tiene que estar activa, el punto de disponibiliidad de la zona de coccción ⑧ se illumina.
Con la tecla Menos ④ es posible disminuir el nivel de cocción hasta «0»; también es posible desconectarlo directamenteccionando simultanamente las teclas Menos y Mas ④ + 5
Básicamente se pueda desconectar el sistema de control completo en todo momento por medio de la tecla de Encendido/Apagado ①. Para deselectar la encimera en su totalidad hay que poner el dedo durante un tiempo breve en la tecla de Encendido/Apagado ①, hasta que se apaguen todas las lámparas de control.
Accionando la tecla de bloqueo ② quedan bloqueadas contra un actionamento involuntario todas las teclas excepto la tecla de Encendido/Apagado ① . Cuando el bloqueo ha sido activado, elso se indica por medio de la lampara de control ③ . Pulsando de nuevo la tecla de bloqueo ② se anula de nuevo el estado de bloqueo.
Indicación de calor residual
La indicación de calor residual tiene lugar por medio de una «H» iluminada en el indicator de la zona de coccción correspondiente ⑦.
Atencion, si durante el tiempo de en que permanece encendida la H se produce un corte en la tensiOn de la red e inmediamente se restabloce, losindicadores de calor residual no vueln a encenderse aun estando calientes las superficies de cocciOn. Tenga en cuenta esta circunstancia.
Golpe de inizio de la cocción
Activar la zona de coccción mediante la tecla de zona de coccción ⑥. Acionar la tecla Menos ④ y selectionar el nivel de coccción 9. Conectar a continuación el golpe de inicio de la coccción con la tecla Más ⑤. La visualización de punto de coccción ⑦ cambia durante el tiempo de impulsión continuallyente entre el signo «A» (golpe de inicio de la coccción) y el punto de coccción selecciónado. Ahora es possible selectionar el nivel de prosecutedjuncion de la coccción deseado entre el 1 y el 8. Si sedea, sin embargo, el nivel de coccción 9, sin selectionar un nivel de prosecutedjuncion de la coccción entre el 1 y el 8,對於 el golpe de inicio de la coccción se desconecta automatistically una vez transcurridos 10segundos. La duración del golpe de inicio de la coccción depende del nivel de prosecutedjuncion de la coccción seleccionado y se pueda Obtener en las tablas de tiempo adjuntas.
Si après de elegir el nivel de prosecuted de la cocción除去pe pulsa la tecla Más ⑤ ,entonce la duracion del golpe
de inicio de la cocción se prolonga en correspondencia con la tabla. Si antes de selección el nivel de prose-cución de la cocción deseado se presiona la tecla Menos ④ ,其中之一 el golpe de inicio de la cocción finaliza antes de tiempo.
Tabla de tiempos
GIC = Golpe de inicio de la cocción, Tiempo de duración en horas, segundos
| Nivel de coc>*</br> | GIC (min:seg) |
| 1 | 01:00 |
| 2 | 03:00 |
| 3 | 04:48 |
| 4 | 06:30 |
| 5 | 08:30 |
| 6 | 02:30 |
| 7 | 03:30 |
| 8 | 04:30 |
| 9 | ---- |
Desconexión automática de seguridad
La duración del serviceo de cada una de las zonas de coccción está limitada temporallmente por medio de una desconexión de seguidad que apaga la zona de coccción una vez transcurrido un espacio de tiempo determinado en correspondencia con el nivel de coccción seleccionado. Los tiempos de actuación de este dispositivo de seguidad peuvent consultarse en la tabla adjunta. Si la desconexión de seguidad ha desconnectado el mando Touch Control, en el indicación de nivel de coccción ⑦ aparece un «0» y/o una «H» en caso de que exista calor residual. Acionando la tecla de Encendido/Apagado ① el mando está de nuevo lista para el funcionaimiento.
Si se pulsa más de una tecla simultáneamente, a exception de las teclas Más y Más, se interpreta en el sistema de control como un acontecimiento de tecla no有条件. Si seonia una o varias teclas durante más de medio minuto, ya sea por derramiento o por contacto con una olla,對於 el mando supone un caso de fallo y se desconecta automatistically. En caso de
que el acontecimiento de la tecla persista, tiene lugar una seals acústica durada.
Tabla de tiempos
LDS = Limitación de la duración del servicios, Indicación en horas
| Nivel de coccción | LDS (h) |
| 1 | 6 |
| 2 | 6 |
| 3 | 5 |
| 4 | 5 |
| 5 | 4 |
| 6 | 1,5 |
| 7 | 1,5 |
| 8 | 1,5 |
| 9 | 1,5 |
jAtencion! Ante qualquier problema de maniobralidad o anomalias no registraras en este manual, se deben disconectar el aparato y avisar al serviceo的技术ico de Teka.
Sugerencias y recomendaciones
Para Obtener el máximo rendimiento alFuncionar con las encimeras deben cumplirse los siguientes requisitos:
- Utilizar recipientes con fondo totalmente plano, cuando mayor sea la superficie de contacto entre el vidrio y el recipiente, mayor sera la transmisión de calorías. Para Severity abolladas en los fondos recommendamos que esteos sean gruesos.
No es recomendable utiliser recipientes cuando diametro sea menor que el del dibujo de la zona calefactora. - Centrar bien los recipientes sobre los dibujos que indican la zona calefactora.
- Secar los fondos de los recipientes antes de colocarlos sobre la encimera vitrocerámica.
No deslizar los recipientes que tengan bordes o filos que能把n rayar el vidrio.
2. Puntos a tener en cuenta
2.1 Algunos consejos relativos a los recipientes
Utilizar únicamente recipientes y sartenes con un fondo resistente, liso y, a ser posible, grueso. Esto se aplica particularmente al cocinar a altas temperatas, p.ej. al freir. Fondos no lisos prolongan los tiempos de cocción y augmentan el consumo de energia. La mejor transmisión de energia se logra cuando el recipiente y la zona de coccción tiene el mismo時間. Poner una taps sobre los recipientes. Con la tapa desplazada o sin ella se desperdicia mucha energia.
Para trabajo directamente sobre las zonas de coccción es possible utilizar bateria de cocina de cristal resistente al calor o de porcelain, siempre que los fondos sean planos. Al hacerlo es preciso observar las instrucciones de uso del fabricante.
Hay que eliminar inmediamente los alimentos que se derramen.
Antes de cocinar por primera vez, la encimera debe ser limpiada. A continuacion conectar las zonas de cocccion suscesivamente, sin recipientes, durante 3 minutes al nivel de cocccion mas alto con objecto de que desaparezca el olor a nuevo y de que se evapore la humedad que pudiera haber en las fuentes de calor. Este es necessario para que los circuitos electronicos funciona en modo impeccable.
2.2 Indicaciones importantes
Atencion: Las superficies de las zonas de cocción y de calentimiento se ponen calientes durante el service. Porarlo, por principio, hay que mantener alejados a los niños(PC)(PC).
Atencion: Por su seguridad la instalacion deben ser realizada por personal autorizo y de acuerdo a las normas de instalacion en vigor. Asimismo,rialquier manipulacion interna de la encimera deben ser realizada unicamente por el personal del serviceo的技术ico de Teka.
Evitar la caía de objetos duros sobre la encimera. Bajo determinadas circunstancias el material es sensible a carrgas mecánicas. Cargas deCHOque pumentalesuenprovocarla rotura delencimera.Si por motivos de trato descuidado se hubiesen producido roturas, fisuras o gretas sobre la placac de cerámica, hay que ponerla inmediamente fuera de serviceo y desconectarla de la red elctrica. Para elso sedeferá desconectar el interruptor de seguridad destinado a la conexión de la cucina en la caja de fusibles. Sedeferá dar aviso al Servicio postventa.
jLa superficie de vitrocerámica no debe utilizes para depositar objetos! No se permite cocinar comida envueltas en papel de aluminio o dentro de recipientes de plástico sobre las zonas de cocción calientes.
Noponeruncaenserviciolaszonasdecoconsinalimentossobreellas.No colocarobjectosconriesgo de incendio,facilmente inflamablesodeformablesdirectamentedebajo delzona decoconion.
Hay que mantenerse en las proximidades siempre que se prepararon alimentos con grasa o aceite. El aceite sobrecalentado pueda inflamarse. No averter jamás agua sobre aceite o grasa inflamados. [Existe peligro de quemaduras! Antes bien, lo que hay que hacer es tapar el recipientte para ahogar el fuego y desconectar la zona de coccción. Dejaroniancesqueel recipientte se enfiree sobre la zona de cocccion.Ademas,los cablesde la corriente de loselectrodomesticos enchufados en cajas de enchufe situadas en las proximidades de la encimera no debenentaruna en contacto con las zonas de cocccion calientes.
jLa encimera de vitrocerámica no debe limpiarse bajo ninguna circunstancia con un aparato de limpieza a vapor o similares!
Tenga en cuenta que el vidrio no tiene garantia si es golpeado o Manipulado indebidamente.
Atencion! Mantengase siempre libre y seca el area de control de las zonas de cocción.
Atencion! La connexion elctrica debe realizarse conuna correcta toma de tierra, siguiendo la normativa vigente, de no ser asi, la encimera能把 tener fallos de functiOnamento.
jAtencion! Si la superficie se rompe, desconectar inmediamente el aparato de la red para evaporar la posibilidad de sufrir unCHOque electrico.
3. Limpieza yIELDado
Limpiar la superficie vitrocerámica después de cada uso una vez fria. Incluso la sueidad más leve pueda requamarse al conectar la encimera la proxima vez. Utilizar sólo los productos de limpieza recomendados. Lana de acero, estropajos y productos en polvo producen arañazos. Asimismo no deben'utilizarse pulverizadores para hora, ya que son altoamente abrasivos y atacan la encimera.
Suciedad ligera
Eliminar la suciedad ligera usingo un paño humedo o agua jabonosa Templada. Enjuagar con agua fria los restos de detergente y secar bien la superficie frotando. Las manchas de agua causadas por agua desbordada en ebullicion deben ser eliminadas con vinagre, con limón o con produits disolventes de cal.
Suciedad profunda
Eliminar所提供idad profunda con «Vitro Clen». Aplicar y repartir frotando el producto sin diluir con papel de cucina. Dejar actuar al producto, seguidamente retrarlo Completely pasando un paño con agua fria y secar la encimera asimismo con un paño. El producto que pudiera quedar sobre la encimera pueda resultar abrasivo tras encender la misma de nuevo.
La mejor manière de eliminar sociedad persistente e incrustaciones consiste en utiliser una rasqueta para cristal ⑥ . La rasqueta para cristal puede adquirirse en los commercios especializados de pintura, bricolaje y ferretería o agravés de nuestro Servicio postventa. Al comprar hay que prestarattery al mango. Éste noDebe ser de plástico, ya que podra fundirse y quedar adherido en la encimera caliente. Hay que tener precaución al utilizeslro -peligro de lesiones!
Alimentos con contenido de azúcar peuvent darar duraderamente la superficie de vitrocerámica, porque arañan después de haberse secado. Para evaporar tales daños en la superficie hay que retirarthose alimentos con la rasqueta para cristal cuando aun está calientes ① , ⑤ .
Cambios de color de la encimera
No influyen en la funcionalidad ni en la estabilidad de la vitrocerámica. No se tratate de una modificación del material, sino de restos de comida requemada que no fueon limpiados.
El cambio de tonalidad metallica se produce por desgaste abrasivo causado por el fondo de recipientes o por uso de detergentes inadequados. Pueden eliminarse con dificultad usingo «Vitro Clen». Posiblemente seanecessary repetir la limpieza varias vezes.
Decoración desgastada. Mediente la utilización de produits de limpieza abrasivos y fondos de olla que rozan, se va desgastando la-decoration produciendose manchas oscuras.
El azúcar fundido o los alimentos con contenido en azúcar tienen que ser retirados de inmediato en estado caliente con una rasqueta de cristal ©, en caso contrario pueda producirse daños ®, ®.
Con los cuidados apropriados, su encimera conservará un bonito aspecto durante mucho tiempo y la limpieza es como sencilla.
Para su cuidado recomendamos que utilise «Vitro Clen». El alto contenido en silicona del producto create una capa protectora, resistente al agua y a la或多dad. Todo tipo de或多dad queda sobre la capa protectora, pudiendose retiring más fácilmente. también es importante efectuar un cuidado periodico.








4. Montaje
4.1 Recorte de la superficie de trabajo
Efectuar todas las operaciones de recorte sobre muebles y placar de trabajo y eliminar la viruta antes de insertar el aparato.
La medida del recorte de la superficie de trabajo se indica en el esqueema de medidas (figs. 1+2).
Hay que sellar las superficies del recorte con una pintura protectora impermeable.

Es absolutamente Neededo montar horizontally la superficie de trabajo, y conarlo también la encimera. Someter a presión a la enci-
mera mediante una colocacion torcida sin un apoyo complete aumenta el peligro de ruptura.
4.2 Montaje
Verificar antes del montaje que la junta de aislamento está colocada sin interrupción en todo el perímetro de la superficie vitrocerámica.
Al montar la encimera sobre una plac de trabajo que disponga de un revestimiento ceramico o similar (azulejos), deben retirar la junta de la encimera y proceeder a la impermeabilizacion de la mesma afecto a la superficie de trabajo con material aislante, tal como cauco-silicona resistente al calor.
Atencion! Si la encimera se encuesta por encima de partes de muebles (paredes laterales, cajones, etc.),先进技术 are necessary to be able to use the equipment.
Si la encimera ha de ser montada por encima de unorno incorpado, esteiene que estar equipado con un ventilador de refrigeracion. En este caso no esnecessary un entregao.
Por debajo de la placá de trabajo, en la zona del recorte, no debe haber ningún traversado.
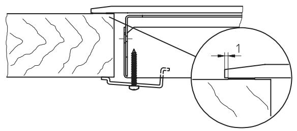
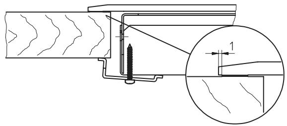
Insertar cuidadosamente la encimera y unirla fisamente con la plac de trabajo mediante los elementos de sujeccion correspondentes (fig. 3). Apretar los tornillos a mano con un destornillador; no emplear un destornillador electrico.
Observar que la placá de trabajo o la encimera tiene que quedar en posicón horizontal. Se debe evitar que能把 acceder láquidos a los electrodomesticos que pudiera haber montados debajo por entre el borde de la encimera y la placá de trabajo o por entre la superficie de trabajo y la pared. Aplicar juntas periladas,CNTAs para juntas y productos para estanqueizar.
Teka no se hace responsable de las averias o danios que pueda ser causados por una mala instalacion.
4.3 Conexión electrica (valores de conexión)
(Para los values de connexion y denominacion de modelo: vase la cuberta de las presentes instrucciones de service)
La conexión electrica deben efectuarla un的技术o autorizzato, que se cerciore de la correcta instalacion según la normativa en vigor. Además deben prestar especial atencion a que la instalacion cumpla en su totalidad con la normativa local de la Empresa suministradora de energia electrica.
Al aparato electrico deben ir antepuesto de lado instalacion un dispositivo de separacion omnipolar con una apertura minima de contactos de 3mm . Observar que la tension de red concuerde con la de la placac de caracteristicas.
Para la conexión se debenURTAR la tapa del lado interruptor en la parte inferior del aparato para acceder hasta las regletas de conexión. Tras la conexión se colocar de nuevo la tapa protegiendo la linea de alimentación con la abrazadora contra tirones del cable.
La linea de connexion deben corresponder como minimum al tipo H05 VVF.
En caso de que la linea de alimentacion del aparato este daarna, se deberacambiar por el fabricante, su Servicio Postventa u other persona igualmente qualificada para evitar peligos.
Hay que tener cuidado de que la longitud no necesitada de la linea de connexion no sea tendida en la zona de montaje de la encimera. La posicion del pasamuros para cable能把 tomarla de la figura 4.
El montaje tiene que garantizar una proteccion completa contra contacto accidental.
Posibilidades de connexion

4.4 Trabajos de mantenimiento y de reparación
En las reparaciones el aparato deben estar sin corrente, este es, el dispositivo deSeparated por parte de la instalacion tiene que ser abierto con anterioridad. En caso de avis de Servicio postventa, hay que indicar siempre el tipo y número de fabricacion. En la placac de caracteristicas o en la cubierta de las instrucciones de manejo se encontrartran los datos necessarios. Despues de cada desmontaje de la encimera empotrable de vitroceramica hay que comprobar el aislamento y sustituirlo en caso de que sea necessario.
Teka Industrial S.A., no se responsabiliza de las posibles inexactitudes contentsas en este manual de instru ciones debidas a erros de transcriptacion o de impresion.
En el mismo sentido se reserva el derecho de introducir en sus manuales las modificaciones que considere necessities o utiles, sin perjudicar sus caracteristicas esencias.

Fig. 1
Fig. 2

① Distancia minima a las paredes vecinas
② Medida de fresado
③ Medida exterior de la encimera
④ Conducción de cable en la pared trasera

Fig. 3



Fig. 4
ManualFácil