SE2631TC - Piano cottura SMEG - Manuale utente e istruzioni gratuiti
Trova gratuitamente il manuale del dispositivo SE2631TC SMEG in formato PDF.
Domande degli utenti su SE2631TC SMEG
0 domanda su questo apparecchio. Rispondi a quelle che conosci o fai la tua.
Fai una nuova domanda su questo apparecchio
Scarica le istruzioni per il tuo Piano cottura in formato PDF gratuitamente! Trova il tuo manuale SE2631TC - SMEG e riprendi in mano il tuo dispositivo elettronico. In questa pagina sono pubblicati tutti i documenti necessari per l'utilizzo del tuo dispositivo. SE2631TC del marchio SMEG.
MANUALE UTENTE SE2631TC SMEG
ISTRUZIONI PER L'uso ED IL MONTAGGIO
F INSTRUCTIONS DE MONTAGE ET D'UTILISATION
GB INSTRUCTIONS FOR FITTING AND USE
NL GEBRUKS- EN MONTAGE-INSTRUCTIES
D GEBRAUCHS- UND MONTAGEANWEISUNG
E INSTRUCCIONES PARA EL USO Y MONTAJE
Piano di cottura da incasso in vetroceramica con comandi Touch Control
F Plaque de cuisson vitrocéramique à encastrer avec commande Touch-Control
GB Built-in glass ceramic hob with Touch-Control switches
NL Keramische inbouwkookplaat met tiptoetsbediening
D Einbau-Glaskeramik-Kochfeld mit Touch-Control-Bedienung
E Encimera de vitroceramica incorpora da con mando Touch Control
Avete acquistato un piano di cottura in vetroceramica con comandi a tasti elettronici Touch Control.
Per mantenere a lungo efficiente il vostro piano di cottura osservate attendamente in particolare i capitoli 2 e 3 del presente manuale.
Queste istruzioni d'uso valgono per più modelli di piani di cottura. Dalla targhetta apposta sulla copertina del presente manuale è possibile risalire al modello da Voi acquistato.
Contenuo
1. I comandi
1.1 Il vostro nuovo piano di cottura
1.2 Il pannello dei comandi Touch Control
1.3 I comandi Touch Control
2. Consigli utili
2.1 Le pentole
2.2 Avvertenze importanti
3. Pulizia e manutenzione
4. Montaggio
4.1 Taglio del piano di lavoro
4.2 Montaggio
4.3 Collegamento elettrico
4.4 Interventi del servizio assistenza
Smaltimento degli imballi e dell'apparecchio usato
Smaltire gli imballi per il trasporto nel rispetto dell'ambiente.
La rimessa dell'imballo nel circolo di produzione consente di risparmiare le materie prime e di diminuire la quantità di rifiuti. Gli apparecchi usati contengono più materiali utilizzabili. Consegnare pertanto l'apparecchio usato presso un punto di raccolta. Gli apparecchi usati devono essere resi inutilizzabili prima di essere smaltiti al fine di prevenire incidenti dovuti all'uso improper degli stessi.
1. I comandi
1.1 Il vostro nuovo piano di cottura
Questo manuale vale per il modello SE 2631 TC.
1.2 Il pannello dei comandi Touch Control
Dopo aver stabilito la tensione di alimentazione (collegamento alla rete), viene eseguito per primo un autotest dell'unità di dato, il quale viene confirmato con un segnale acustico.
① Tasto ACCESO/SPENTO (unità di lavoro)
② Tasto di bloccaggio
③ Spia di controllo del bloccaggio (unità di lavoro)
Tasto Meno (diminuzione)
⑤ Tasto Più (aumento)
6 Tasto selezione della zona di cottura
⑦ Indicazione del livello di potenza
Punto di disponibilità della zona di cottura (illuminator: zona di cottura disponibile)








1.3 I comandi Touch Control
Ogni azionamento di un tasto viene confirmato da un segnale acustico.
Premendo il tasting ACCESO/SPENTO ① viene inserta l'unità di lavoro. Leindicazioni dei livelli di cottura si illuminanoindicando «0»e il punto di disponibilità della zona di cottura ⑧ lampeggia. Si devono impartire i comandi successivi entro i prossimi 10 secondi, se ciò non avviene l'unità di lavoro si spegne automaticamente.
Per inseire una zona di cottura, premere il rispetto tasto ⑥ della zona di cottura desiderata. Il rispetto punto di disponibilità della zona di cottura ⑧ si illumina.
Selezione are un grado di cottura da 1 a 9 con il tasto Più/ Meno ⑤ / 4 . Ogni zona di cottura accesa può essere disinserita in qualsiasi momento. A questo proposito è necessario che la rispectiva zona di cottura sia stata attivata, con il punto di disponibilità ⑧ illuminato.
Mediante il tasting Meno ④ si più di nuovo abbassare il livello di cottura fino allo «0» oppure spegnere direttamente la zona di cottura premendo contemporaneamente i tasting Meno ④ e Più ⑤ .
Per spagnere completamente l'intero piano di cottura, premere brevamente il tasto ACCESO/SPENTO ① sino a che le spie di controllo si spengono.
Premere il tasting di bloccaggio ② per proteggere tutti gli altri tasti, ad eccezione del tasting ACCESO/SPENTO ① contro un azionamento involontario. L'avvenuto bloccaggio viene confermato dall'accensione della spia luminosa ③ . Premere nuovamente il tasting ② per annullare lo stato di bloccaggio.
Indicazione del calore residuo
Il calore residuo viene segnalato con una «H» luminosa nella rispettiva zona di indicazione del grado di cottura ⑦ ed indica che la superficie della zona cerchiata è ancora calda. La «H» si spegne appena il calore sare abbassato.
Cottura con avvio rapido
Attivare la zona di cottura mediante il rispectivo tasto ⑥ . Premere il tasto Meno ④ e selezionare il livello di cottura 9. Dopodiché insertire la cottura con avvio rapido con il tasto Più ⑤ . Durante il periodo della cottura con avvio rapido, sul display ⑦ lampeggiano alternandosi una «A» (cottura con avvio rapido) ed il livello di cottura selezionato. A quello punto si può selezionare il livello di cottura desiderato da 1 sono a 8. Se tuttaviaiene lasciata la zona di cottura 9,enza aver selezionato un livello di cottura tra 1 e 8,allora la cottura iniziale viene disinserita automaticamente dopo 10 secondi. La durata della cottura con avvio rapido dipende dal livello di cottura selezionato ed è elencata nella tabella'accanto.
Se dopo aver selezionato un ulteriore livello di cottura viene premuto il tasto ⑤, la durata della cottura con avvio rapido viene aumento in corrispondenza alla tabella dei tempi. Se viene premuto il tasto Meno ④ dopo aver selezionato un nuovo livello di cottura, la cottura con avvio rapido viene terminata in anticipo.
Spegnimento di sicurezza
Il funzionamento continuo per anni singola zona di cottura è limitato nel tempo da un dispositivo di sicurezza che, in base al livello di potenza selezionato, disinserisce la zona di cottura dopo un determinato periodo. I tempi di intervento di tale dispositivo sono evidenziate nella tabella qui accento. Se il dispositivo di sicurezza disinserisce l'unità di lavoro Touchcontrol, l'indicatore del livello di potenza ⑦ migliorare uno «0» o, se la zona è ancora calda, una «H». Premendo il tasto ACCESO/SPENTO ① si attiva nuovamente l'unità di lavoro.
Nel caso venisse premuto più di un tasto contemporaneamente, ad eccezione del tasto Meno o Più, l'unità di lavoro non accetterà但这a manovra come una funzione valida. Se uno o più tasti vengono premuti per più di 30 secondi, (ad es. a causa di un traboccamento o della presenza di una pentola), l'unità di lavoro riconosce un guasto e si disinserisce automaticamente. Se l'attivazione dei tasti persistsiste viene emesso un segnale acustico continuo.
Tabella dei tempi di spegnimento
CFP = Cottura con avvio rapido, durata in minuti, secondi
| Livello di cottura | CFP (min:sec) |
| 1 | 01:00 |
| 2 | 03:00 |
| 3 | 04:48 |
| 4 | 06:30 |
| 5 | 08:30 |
| 6 | 02:30 |
| 7 | 03:30 |
| 8 | 04:30 |
| 9 | —:— |
Tabella dei tempi di spegnimento
LDF = Limitet del funzionamento, indicazione in ore
| Livello di cottura | LDF (h) |
| 1 | 6 |
| 2 | 6 |
| 3 | 5 |
| 4 | 5 |
| 5 | 4 |
| 6 | 1,5 |
| 7 | 1,5 |
| 8 | 1,5 |
| 9 | 1,5 |
2. Consigli utili
2.1 Le pentole
Utilizzare solo pentole e padelle con un fondo robusto, piano e possibilmente spesso. Ciò vale in particular modo per le cotture che sfruttano alto temperature, come le fritture. Fondi di pentole con superfici non omogenee augmente considerevolmente i tempi di cottura ed il consumo di energia. La migliorare trasmissione di calore si ottiene quando la pentola ha lo stesso diametro della zona di cottura. Coprire le pentole con un coperchio. Cucinare alla sanza coperchio o con un coperchio malmesso comporta lo spreco di molta energia.
Si piùutilizzare vasellame in vetro refrattario o porcellana solo se il loro fondo è perfettamente piano e liscio. Rispettare le istruzioni della rispettiva casa produttrice.
Eliminare immediatamente eventuali schizzi traboccati.
Prima di procedere a cucinare per la prima volta bisogna provvedere a pulire il piano cottura. In seguito accendere una volte l'altra le zone di cottura, alla pentola, per tre minuti al grado di cottura più alto. In questo modo si elimina «l'odore di nuovo» e si farà evaporare eventuale umilità che si fosse accumulata negli elementi di riscaldamento. Ciò è necessario per un corretto funzionamento dei circuiti elettronici.
2.2 Avverenze importanti
Attenzione! Durante l'uso si riscaldano le superfici ed il piano di cottura stesso. Per quello motivo tenere lontano i bambini.
Evitare che oggetti solidi e duri cadano sulla superficie di cottura. In determinate condizioni il materiale è sensibile alle sollecitazioni meccaniche. Cadute di oggetti appuntiti possono danneggiare la superficie di cottura. Qualora a causa di un inappropriato trattamento si notassero rotture, fessure o incrinature sulla superficie di cottura in vetroceramica, l'apparecchio deve essere什么意思 subito fuori servizio e staccato alla rete elettrica. Disinserire il fusabile dell'interruttore di sicurezza situato nella scatola dei fusibili. Interpellare il servizio assistenza clienti.
La superficie di cottura in vetroceramica non deve essere usata come superficie d'appoggio! La preparazione di cibi avvolti in fogli d'alluminio o confezionati in materiali plastici non è ammessa.
Accendere le zone di cottura solo in presenza di pentole. Non porre mai oggetti infiammabili, esplosivi o deformabili direttamente sotto il piano di cottura.
Durante la preparazione di vivande con grasso oppure olio, restare sempre nell'immediata vicinanza. L'olio surriscaldato può infiammarsi. Non versare mai acqua nel grasso oppure nell'olio ardente. Pericolo di scottature! Coprire la pentola o la padellaosi che il fuoco si estingua e spegnere il piano. Lasciar raffreddare il tutto direttamente sulla zona di cottura. Fare attenzione utilizzando altre elettrodomestici che i loro cavi di collegamento non devono entrare in contatto con le zone di cottura più calde.
Il piano di cottura non deve essere pulito in nessun caso utilizzando appearecchi di pulizia a vapore o simili!
3. Pulizia e manutenzione
Pulire il piano di cottura dopo agli uso, attendendo prima che si sia raffreddato. Anche i più piccoli residui di sporco si carbonizzato al riscaldamento successivo. Usare solamente i prodotti detergenti consigliati. La paglietta d'acciaio, le spugne abrasive e le polveri non sono essere utilizzate in quanto possono produrre graffiti. I prodotti per la pulizia del forno non sono indicati, in quanto corrosivi e in grado di rovinare le superfici di cottura.
Macchie leggere
Eliminare lo sporco leggero con un panno umido e con un po' di detersivo liquido. I residui di detersivi vanno eliminati con dell'acqua fredda. In seguito asciugare bene la superficie di cottura. Macchie d'acqua causate da acqua traboccata possono essere eliminate con aceto, limone, o con liquidi anticalcare.
Macchie più résistanti
Lo sporco più difficoltà può essere eliminato usingo «Pasta per acciaio», «Stahlfix» o «Cerafix». Applicare il detergente, non diluito, su un foglio di carta in rotoli e strofinare. Lasciare agire il detergente, quindi asportarlo completamente con dell'acqua fredda ed asciugare la superficie di cottura. Eventuali residui di detergente rimasti sulla superficie di cottura, potrebbero, con il calore, corrodere le superfici stesse.
Lo sporco ostinato e le incrostazioni possono essere asportate agevolmente con un raschietto per vetro ⑥. Questo può essere acquistato in un negazio di ferramenta, di articoli per pittori o di «fai da te», o per mezzo del nostro servizio clienti. All'acquisto, fare attenzione al materiale del manico. Il manico del raschietto non deve essere in plastica, perché potrebbe incollare sulla superficie calda. Fare attenzione durante l'uso! Rischio di ferirsi.
I cibi a base zuccherina possono arrecare danni al piano vetroceramica in quanto, seccandosi, possono provocare graffi permanenti. Allo scopo di evitare tali danni, asportare alla superficie ancora calda eventuali residui zuccherini utilizzando il raschietto ① , ② .
Cambiamenti di colore della superficie in vetroceramica
Tali cambiamenti non hanno nessuna influenza sul funzionamento e la stabilità della vetroceramica. Non si tratta infatti di modifiche del materiale ma di semplici residui carbonizzati non rimossi.
Colorazioni metalliche opalescenti ⑥ sono causate da sfregamenti del fondo delle pentole o dall'uso di detergenti non appropriati. Possono essere asportante solo con fatica con «Pasta per acciaio» o «Stahlfix». Eventualmente ripetere più volte tale pulizia.
Abrasione delle decorazioni © . Utilizzando detergenti aggressivi, o a causa di frizioni con il fondo delle pentole, con il tempo è possibile che le decorazioni vengano abrase e che compaiano macchie scure. Lo zucchero caramellato e i cibi contententi zucchero debbono essere immediatamente rimossi dalle superfici calde con un raschietto © ; in caso contrario è possibile che si verifichino dei danni © , € . Con una regolare manutenzione il vostro piano durera a lungo, e le operazioni di pulizia saranno più agevoli.
Per la manutenzione vi consigliamo di usare «Cerafix». Il silicone presente in alta percentuale in quello prodotto genera una pellicola protettiva che agisce contro l'acqua e lo sporco. Tutte le macchie restano sulla pellicola e sono essere quando rimosse confacility. è inoltre importante che esta manutenzione sia regolare nel tempo.








4. Montaggio
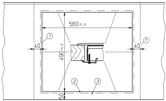
4.1 Taglio del piano di lavoro
Eseguire tutte le operazioni di taglio sui mobili ed i piani di lavoro prima dell'insertimento del piano di cottura, e rimuovere trucoli di segatura.
Le misure del taglio nel piano di lavoro possono essere ricavate dallo schema quotato (fig. 1+2).
Le superfici del taglio devono essere sigillate con una vernice protettiva e idrerepellente.

Il piano di lavoro e quando il piano di cottura devono assolutamente essere montati in piano. Un errato montaggio del piano di cottura con seguente imbarcamento del piano di appoggio+aumenta il rischio di rotture.
4.2 Montaggio
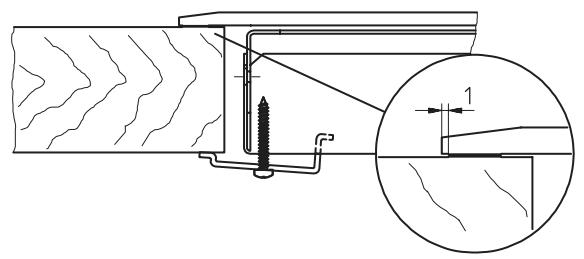
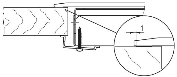
Controllare, prima del montaggio, che la guarnizione presente sul perimetro di incasso del piano di cottura sua collocata a dovere.
Per il montaggio del piano di cottura in vetroceramica su un piano di lavoro con rivestimento ceramicico o simile (piastrelle) è necessario rimuovere la guarnizione presente sul piano di cottura e garantire l'ermeticità del piano stesso nei confronti del piano di lavoro per mezzo di sigillanti plastici, come silicone-caucci resistente al calore.
Attenzione!
Qualora il piano cottura sa collocato al di sopra di mobili (pareti laterali, cassetti, ecc.) garantire, con un'opportuna protezione, che non vi sia alcun contatto casuale della parte inferiore del piano di cottura. La protezione deve essere rimuovibile solamente con degli utensili e deve essere montata con una distanza minima di 20mm dal fondo inferiore del piano di cottura. Inoltre si deve evitare agli contatto tra il cavo di alimentazione e la parte inferiore del piano di cottura (fig. 4).
Se si vuole montare il piano di cottura sopra unorno ad incasso, quest'ultimo deve essere dotato di un ventilatore di raffreddamento. In tal caso, non è necessario montare una parete intermedia.
La parte inferiore dell'area di taglio del piano di lavoro deve essere sprovvista di eventuali listelli trasversali.
Collocare conattenzione il piano di cottura nell'incasso e fissarlo al piano di lavoro per mezzo delle staffe di fissaggio fornite (fig. 3). Avvitare le viti solo con un cacciavite a mano; non usare utensili automatici.
Controllare con attenzione che il piano di lavoro, e quindi il piano di cottura, siano montati in piano. Deve essere evitato che eventuali liquidi possano colare tra la cornice del piano di cottura e il piano di lavoro, o tra quest'ultimo e la parete, verso elettrodomestici eventualmente montati al di fatto. Utilizzare guarnizioni, nastri di tenuta e sigillanti.
4.3 Collegamento elettrico (specifiche)
(Specifiche e denominazione del modello: si veda la copertina delle istruzioni per l'uso)
Il collegamento elettrico deve essere eseguito da uno specialista autorizzato, che possa garantire un montaggio conforme alle vigenti regole e prescrizioni in vigore nel vosto paese (per la Germania VDE, per l'Austria ÖVE, per la Svizzera SEV, ecc.). Deve essere garantito che tali prescrizioni e quella dell'impresa che fornisce l'energia elettrica nella zona siano osservate scrupolosamente.
Sul dispositivo elettrico deve essere previsto un interruptore omnipolare con un'apertura minima dei contattiEDI a 3 mm. Controllare che la tensione di rete corrisponda a quella indicata sulla targhetto.
Per il collegamento è necessario allentare il coperchio dei comandi nella parte inferiore del dispositivo sino ad arrivare alla morsettiera. Effettuato il collegamento, il coperchio deve essere nuovamente fissato, e il cavo deve essere bloccato con una fascetta resistente alla trazione.
La linea di collegamento deve corrispondere come minimo al tipo H05 VVF.
Se la linea di allacciamento dell'apparecchio risulta danneggiata, delve essere sostituita dal produttore, dal suo servizio d'assistenza tecnica o da un technician qualificato, per evitare pericoli di qualsiasi genere. è inoltre necessario assicurarsi che il cavo in eccedenza non resti nell'area di montaggio del piano di cotura. Per il posizionamento del cavo fare riferimento alla figura 4.
Quando l'apparecchio è montato non deve essere possibile toccare alcun cavo isolato che permetta il funzionamento dell'apparecchio.
Possibilità di collegamento

(*) In Svizzera, quello mode di collegamento non è amesso da parte del SEV.
4.4 Intervention del servizio assistenza
Durante eventuali riparazioni l'apparecchio deve essere scollegato alla rete elettrica, mantenendo aperto l'interruttore montato al momento dell'infallazione. Rivolgendosi all'assistenza specificare sempre il modello e il numero di fabbricazione dell'apparecchio. Tali dati possono essere rilevati dall'apposita targhetta o alla copertina delle istruzioni per l'uso. Dopo agli montaggio del piano di cottura in vetroceramica è necessario controllare la tenuta della guarnizione, che, se necessario, deve essere sostituita.

Fig. 1

Fig. 2
① Distanza minima dalles pareti confinanti
② Misure d'incasso
③ Dimensioni esterne del piano di cottura
④ Passaggio del cavo nella parete posteriore

Fig. 3



Fig. 4
ManualeFacile