HCB 20K10 - Balance Kern - Notice d'utilisation et mode d'emploi gratuit
Retrouvez gratuitement la notice de l'appareil HCB 20K10 Kern au format PDF.
| Caractéristiques techniques | Capacité maximale : 20 kg, Précision : 1 g, Dimensions de la plateforme : 300 x 300 mm, Affichage : numérique, Alimentation : secteur ou batterie rechargeable |
|---|---|
| Utilisation | Idéale pour les laboratoires, les commerces et les applications industrielles, facile à utiliser avec un affichage clair. |
| Maintenance et réparation | Nettoyer régulièrement la surface de pesée, vérifier les piles et l'alimentation, consulter le manuel pour les procédures de calibration. |
| Sécurité | Utiliser sur une surface plane et stable, éviter les chocs et les vibrations, ne pas dépasser la capacité maximale pour éviter les dommages. |
| Informations générales | Garantie : 2 ans, Poids de l'appareil : 2,5 kg, Dimensions totales : 350 x 350 x 100 mm. |
FOIRE AUX QUESTIONS - HCB 20K10 Kern
Questions des utilisateurs sur HCB 20K10 Kern
0 question sur cet appareil. Repondez a celles que vous connaissez ou posez la votre.
Poser une nouvelle question sur cet appareil
Téléchargez la notice de votre Balance au format PDF gratuitement ! Retrouvez votre notice HCB 20K10 - Kern et reprennez votre appareil électronique en main. Sur cette page sont publiés tous les documents nécessaires à l'utilisation de votre appareil HCB 20K10 de la marque Kern.
MODE D'EMPLOI HCB 20K10 Kern
Maintenance et entretien réguliers
KERN HCB / HCN
Version 4.4
06/2016
Français English Deutsch




Vous trouvez d'autres versions de langue en ligne sur www.kern-sohn.com/manuals

- Caractéristiques techniques 4 1.1 Dimensions 10 1.1.1 HCB ≤ 200kg 10 1.1.2 HCB05T-3 11 1.1.3 HCB 1T-3 12 1.1.4 Modèles HCN 13 1.1.5 Mousqueton et crochet (modèle HCB ≤ 200 kg et modèle HCN) 14
- Consignes générales de sécurité 15 2.1 Obligations de l'exploitant 15 2.2 Mesures d'organisation 15 2.3 Conditions d'environnement 15 2.4 Observer les indications du mode d'emploi 16 2.5 Utilisation conforme aux prescriptions 16 2.6 Utilisation inadéquate 16 2.7 Garantie 17 2.8 Le travail conscient de la sécurité 17 2.9 Vérification des moyens de contrôle 17 2.10 Contrôle à la réception de l'appareil 17 2.11 Première mise en service 18 2.12 Mise hors service et stockage 18
- La balance suspendue d'un seul coup d'oeil 19 3.1 Aperçu 19 3.2Vue d'ensemble des indicateurs et du clavier 22 3.3 Etiquette adhesive 23
- Mise en œuvre 24 4.1 Déballage 24 4.2 Étendue de la livraison 24 4.3 Vérification des dimensions originales 25 4.4 Fonctionnement à pile 25 4.5 Suspension de la balance 26
- Commande 27 5.1 Consignes de sécurité 27 5.2 Charger la balance suspendue 28 5.3 Mise en marche / arrêt 31 5.4 Tarage 31 5.5 Pesage 31 5.6 Commutation de I'unité de pesée 32 5.7 Fonctions 32
- Menu 34
- Ajustage 35
- Maintenance, nettoyage et élimination 36 8.1 Nettoyage et élimination 36 8.2 Maintenance et entretien réguliers 37 8.3 Liste de vérifications, Maintenance régulière", (voir chap. 8,2) 39
- Annexe 42 9.1 Liste de vérifications, Maintenance élargie" (révision générale) 42 9.2 Liste, pièces de rechange et réparations de pièces se répercutant sur la sécurité" 43
- Déclaration de conformité 44
1. Caractéristiques techniques
| KERN | HCB 20K10 | HCB 20K50 | HCB 50K20 |
| Lisibilité (d) | 10 g | 50 g | 20 g |
| Plage de pesée (max) | 20 kg | 20 kg | 50 kg |
| Plage de tarage (par soustraction) | 20 kg | 20 kg | 50 kg |
| Reproductibilité | 10 g | 50 g | 20 g |
| Linéarité | ±20 g | ±100 g | ±40 g |
| Poids d'ajustage recommendé n'est pas joint (catégorie) | 10 kg (M3) | 10 kg (M3) | 20 kg (M3) |
| Temps de stabilisation | 2 s | ||
| Précision | 0.5 % du maximum | ||
| Temps de préchauffage | 10 minutes | ||
| Unités | kg, lb, N | ||
| Auto-off | 3 minutes | ||
| Température ambiente autorisée | 5...+35 °C | ||
| Humidité de l'air environnement (max) | 80 % | ||
| Pile (de série) | 3 x 1,5 V AADurée de fonctionnement 300 h | ||
| Afficheur | Hauteur de chiffres 12 mm | ||
| Dimensions du boîtier larg x prof x haut | 80 mm x 45 mm x 150 mm | ||
| Matériel du boîtier | Matière plastique | ||
| Matériel crochet et mousqueton | Acier inoxydable | ||
| Poids net | 400 g | ||
| KERN | HCB 50K100 | HCB 99K50 | HCB 100K200 |
| Lisibilité (d) | 100 g | 50 g | 200 g |
| Plage de pesée (max) | 50 kg | 99 kg | 100 kg |
| Plage de tarage (par soustraction) | 20 kg 20 kg | 50 kg | |
| Reproductibilité | 100 g | 50 g | 200 g |
| Linéarité | ±200 g | ±100 g | ±400 g |
| Poids d'ajustage recommendé n'est pas joint (catégorie) | 20 kg (M3) | 50 kg (M3) | 50 kg (M3) |
| Temps de stabilisation | 2 s | ||
| Précision | 0.5 % du maximum | ||
| Temps de préchauffage 10 minutes | |||
| Unités | kg, lb, N | ||
| Auto-off | 3 minutes | ||
| Température ambiente autorisée | 5...+35 °C | ||
| Humidité de l'air environnement (max) | 80 % | ||
| Pile (de série) | 3 x 1,5 V AADurée de fonctionnement 300 h | ||
| Afficheur | Hauteur de chiffres 12 mm | ||
| Dimensions du boîtier larg x prof x haut | 80 mm x 45 mm x 150 mm | ||
| Matériel du boîtier | Matière plastique | ||
| Matériel crochet et mousqueton | acier inoxydable | ||
| Poids net | 400 g | ||
| KERN | HCB 200K100 | HCB 200K500 |
| Lisibilité (d) 100 g 500 g | ||
| Plage de pesée (max) | 200 kg | 200 kg |
| Plage de tarage (par soustraction) | 200 kg 200 kg | |
| Reproductibilité | 100 g | 500 g |
| Linéarité | ±200 g | ±1000 g |
| Poids d'ajustage recommendé n'est pas joint (catégorie) | 100 kg (M3) 100 kg (M3) | |
| Temps de stabilisation 2 s | ||
| Précision 0.5 % du maximum | ||
| Temps de préchauffage | 10 minutes | |
| Unités | kg, lb, N | |
| Auto-off | 3 minutes | |
| Température ambiente autorisée | 5...+35 °C | |
| Humidité de l'air environnement (max) | 80 % | |
| Pile (de série) | 3 x 1,5 V AADurée de fonctionnement 300 h | |
| Afficheur | Hauteur de chiffres 12 mm | |
| Dimensions du boîtier larg x prof x haut | 80 mm x 45 mm x 150 mm | |
| Matériel du boîtier | Matière plastique | |
| Matériel crochet et mousqueton | Acier inoxydable | |
| Poids net | 400 g | |
| KERN | HCB 0.5T-3 | HCB 1T-3 |
| Lisibilité (d) 1 kg 2 kg | ||
| Plage de pesée (max) | 500 kg | 1000 kg |
| Plage de tarage (par soustration) | 500 kg 1000 kg | |
| Reproductibilité 1 kg 2 kg | ||
| Linéarité ±2 kg ±4 kg | ||
| Poids d'ajustage recommandé n'est pas joint (catégorie) | 200 kg (M3) 500 kg (M3) | |
| Temps de stabilisation 2 s | ||
| Precision 0.5 % du maximum | ||
| Temps de préchauffage | 10 minutes | |
| Unités kg, lb, N | ||
| Auto-off | 3 minutes | |
| Température ambiente autorisée | 5...+35 °C | |
| Humidité de l'air environnement (max) | 80 % | |
| Pile (de série) | 3 x 1,5 V AADurée de fonctionnement 300 h | |
| Afficheur | Hauteur de chiffres 12 mm | |
| Dimensions du boîtier larg x prof x haut | 80 mm x 45 mm x 150 mm | 80 mm x 48 mm x 150 mm |
| Matériel du boîtier | Matière plastique | |
| Matériel suspension | Acier inoxydable | |
| Poids net | 350 g | 520 g |
| KERN | HCN 20K50IP | HCN 50K100IP |
| Lisibilité (d) 50 g 100 g | ||
| Plage de pesée (max) | 20 kg | 50 kg |
| Plage de tarage (par soustration) | 20 kg 50 kg | |
| Reproductibilité | 50 g | 100 g |
| Linéarité | ±100 g | ±200 g |
| Poids d'ajustage recommendé n'est pas joint (catégorie) | 10 kg (M3) 50 kg | (M3) |
| Temps de stabilisation 2 s | ||
| Précision | 0.5 % du maximum | |
| Temps de préchauffage | 10 minutes | |
| Unités | kg, lb, N | |
| Auto off | 3 minutes | |
| Température ambiente autorisée | 5...+35 °C | |
| Humidité de l'air environnement (max) | 80 % | |
| Pile (de série) | 2 x 1,5 V AADurée de fonctionnement 200 h | |
| Afficheur | Hauteur de chiffres 12 mm | |
| Dimensions du boîtier larg x prof x haut | 95 mm x 55 mm x 175 mm | |
| Matériel du boîtier | Acier inoxydable | |
| Matériel crochet et mousqueton | Acier inoxydable | |
| Poids net | 800 g | |
| Protection anti-poussière et contre les projections d'eau | IP 65 | |
| KERN | HCN 100K200IP | HCN 200K500IP |
| Lisibilité (d) 200 g 500 g | ||
| Plage de pesée (max) | 100 kg | 200 kg |
| Plage de tarage (par soustraction) | 100 kg 200 kg | |
| Reproductibilité | 200 g | 500 g |
| Linéarité | ± 400 g | ±1 kg |
| Poids d'ajustage recommendé n'est pas joint (catégorie) | 50 kg (M3) 100 kg (M3) | |
| Temps de stabilisation 2 s | ||
| Précision 0.5 % du maximum | ||
| Temps de préchauffage 10 minutes | ||
| Unités | kg, lb, N | |
| Auto off | 3 minutes | |
| Température ambiente autorisée | 5...+35 °C | |
| Humidité de l'air environnement (max) | 80 % | |
| Pile (de série) | 2 x 1,5 V AADurée de fonctionnement 200 h | |
| Afficheur | Hauteur de chiffres 12 mm | |
| Dimensions du boîtier larg x prof x haut | 95 mm x 55 mm x 175 mm | |
| Matériel du boîtier | Acier inoxydable | |
| Matériel crochet et mousqueton | Acier inoxydable | |
| Poids net | 800 g | |
| Protection anti-poussière et contre les projections d'eau | IP 65 | |
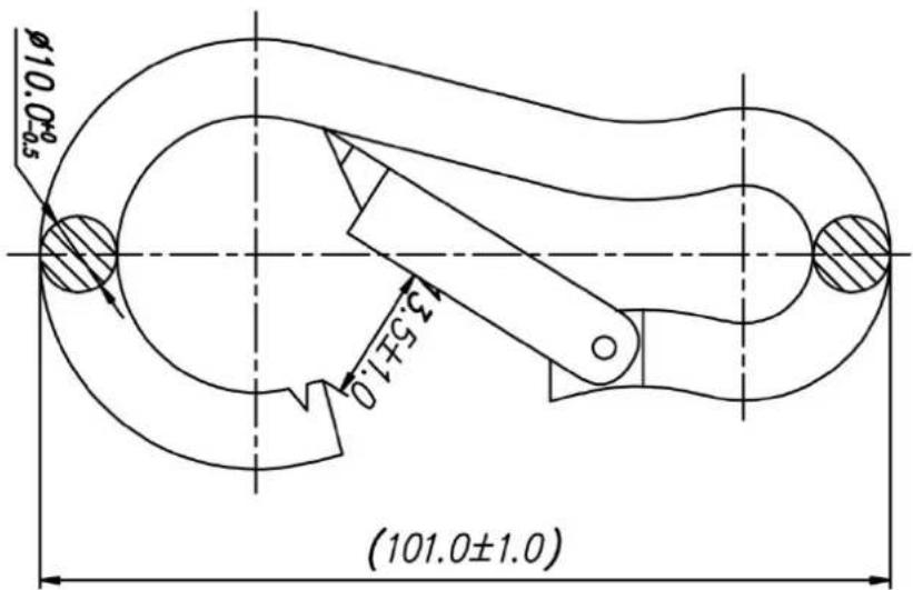
1.1.1 HCB ≤ 200 kg



1.1.2 HCB05T-3


1.1.3 HCB 1T-3







2.1 Obligations de l'exploitant
Les prescriptions de sécurité nationales ainsi que les prescriptions de travail, d'exploitation et de sécurité de l'exploitant sont à prendre en compte.
Toutes les prescriptions de sécurité du fabricant de la grue sont à respecter. - La balance ne doit être utilisée qu’aux fixations prévues à cet effet (2). Chaque type d’utilisation qui ne soit pas décrit dans cette notice d’utilisation sera considéré comme utilisation non conforme. Le propriétaire seul est responsable des dommages matériels voire des dommages corporels résultant de telle utilisation non conforme, en aucun cas la personne KERN & Sohn.
La compétition KERN & Sohn ne peut pas être tenue responsable si la balance suspendue est modifiée ou utilisée non conforme et si en résultent des dommages.
- Entretenez et remettez en état régulièrement balance suspendue, grue et moyens de suspension de charge (voir au chap. 8.3).
- Consigner les résultats du contrôle dans un journal de bord.
2.2 Mesures d'organisation
- Ne confier les manipulations qu'à un personnel formé et mis au courant à cet effet.
- Vous assurez que la notice d'utilisation se trouve à tout moment à portée de main sur le site de mise en œuvre de la balance suspendue.
- Seulement le personnel spécialisé peut faire le montage, la mise en service et la maintenance. Le remplacement de sous-ensembles supportant des charges est prohibité.
2.3 Conditions d'environnement
- Ne jamais utiliser la balance suspendue dans des zones à risque de déflagration. Le modèle série n'est pas équipé d'une protection contre les explosions. Utiliser la balance suspendue seulement dans des conditions ambiantes comme décrit dans cette notice d'utilisation, (spécialement dans chap. 1 „Données techniques").
- N'exposez pas la balance suspendue à humidité trop facile. L'installation d'un appareil froid dans un endroit nettement plus chaud peut provoquer l'apparition d'une couche d'humidité (condensation de l'humidité atmosphérique sur l'appareil) non autorisée. Dans ce cas, laissez l'appareil coupé du secteur s'acclimater à la température ambiante pendant env. 2 heures.
- Ne jamais utiliser la balance suspendue dans des zones à risque de corrosion.
- Protéger la balance suspendue d'une humidité atmosphérique trop élevée, des vapeurs, des liquides et de la poussière.
- L'apparition de champs électromagnétiques (p. ex. par suite de téléphones portables ou d'appareils de radio), de charges électrostatiques, ainsi que d'alimentation en électricité instable peut provoquer des divergences d'affichage importantes (résultats de pesée erronés). Il faut alors changer de site ou éliminer la source parasite.
2.4 Observer les indications du mode d'emploi

Lisez attentivement la totalité de ce mode d'emploi avant l'installation et la mise en service de la balance, et ce même si vous avez déjà des expériences avec les balances KERN.
2.5 Utilisation conforme aux prescriptions
La balance que vous avez achetée sert à la détermination de la valeur de pesée de matières devant être pesées. Elle est conçue pour être utilisée comme „balance non automatique“, c'est-à-dire que les matières à peser ne seront posées que verticalement, à main, avec précaution et „de manière saccadée“ au support de charge. La valeur de pesée peut être lue une fois stabilisée.
Utiliser la balance suspendue seulement pour lever et peser des charges librement mobiles. - DANGER de blessure en cas d'utilisation non conforme. Ce n'est pas PERMITTED de - dépasser la charge nominale de la grue, de la balance suspendue ou de tout type des butées de charge, - transports de personnes, tractions obliques de charges, - arrachement, traction ou remorquage de charges.
- Les modifications ou les changements de la balance suspendue ou de la grue ne sont pas autorisés.
2.6 Utilisation inadéquate
Ne pas utiliser la balance pour des pesées dynamiques. Dans le cas où de petites quantités des matières à peser sont retirées ou ajoutées, le dispositif de "compensation de stabilité" intégré dans la balance peut provoquer l'affichage de résultats de pesée erronés. (Exemple : des liquides dégoulinent lentement à partir d'un récipient accroché à la balance.) Ne laissez pas suspendues des charges permanentes. Cette charge est susceptible d'endommager le système de mesure, ainsi que des pièces importantes pour la sécurité.
Assurez-vous qu'il n'y a personne ni rien en dessous de la charge, qui risque d'être blessé ou endommagé! La balance n'est pas appropriée pour peser des personnes! La balance n'est pas conforme à la loi allemande sur les produits médicaux (MPG).
La balance ne doit être utilisée que selon les prescriptions indiquées. Les domaines d'utilisation/d'application dérogeant à ces dernières doivent faire l'objet d'une autorisation écrite délivrée par KERN.
2.7 Garantie
La garantie n'est plus valable en cas de
non-observation des prescriptions figurant dans notre mode d'emploi - utilisation outrepassant les applications décrites - modification ou ouverture de l'appareil, endommagement mécanique et d'endommagement lié à des matières ou des liquides - déterioration naturelle et d'usure - mise en place ou installation électrique inadéquates - surcharge du système de mesure
2.8 Le travail conscient de la sécurité
- Ne jamais se tenir sous les charges en suspension, voir au chap. 5.1. Positionner la grue de manière que la charge soit verticalement élevée.
- En travaillant sur la grue et la balance suspendue, porter les protections personnelles (casque, chaussures de sécurité etc.).
2.9 Vérification des moyens de contrôle
Les propriétés techniques de mesure de la balance et du poids de contrôle éventuellement utilisé doivent être contrôlées à intervalles réguliers dans le cadre des contrôles d'assurance qualité. À cette fin, l'utilisateur responsable doit définir un intervalle de temps approprié ainsi que le type et l'étendue de ce contrôle. Des informations concernant la vérification des moyens de contrôle des balances ainsi que les poids de contrôle nécessaires à cette opération sont disponibles sur le site KERN (www.kern-sohn.com). Grâce à son laboratoire de calibration accrédité DKD, KERN propose un calibrage rapide et économique pour les poids de contrôle et les balances (sur la base du standard national).
2.11 Première mise en service
Pour obtenir des résultats exacts de pesée avec les balances électroniques, la balance doit avoir atteint sa température de service (voir temps d'échauffement au chap. 1).
Pour ce temps de chauffe, la balance doit être branchée à l'alimentation de courant (secteur, pile rechargeable ou pile).
La précision de la balance dépend de l'accélération due à la pesanteur.
Il est impératif de tenir compte des indications du chapitre Ajustage.
Contrôle des dimensions originales, voir chap. 4.3
2.12 Mise hors service et stockage
- Décrocher la balance suspendue de la grue et enlever tout le matériel d’élingage des charges de la balance suspendue.
- Ne pas entreposer le balance suspendue à l'extérieur
3.1 Aperçu
Modèles HCB ≤ 200 kg

1 Mousqueton avec fermeture de sécurité 2 Afficheur 3 Clavier 4 Crochet
Modèle HCB ≥ 500 kg

1 Éciliet d'accrochage 2 Afficheur 3 Clavier

Les œillets d'accrochage ne sont pas compris dans les fournitures des modèles ≥ 500kg
Pour l'accrochage de la charge, recourir à des œillets d'accrochage standardisés.

1 Mousqueton avec fermette de sécurité 2 Afficheur 3 Clavier 4 Crochet 5 Affichage additionnel 6 Compartiment à batteries

Affichages:
| kg | l'unité de pesée actuelle est le kilogramme | |
| lb | l'unité de pesée actuelle est la livre | |
| N | l'unité de pesée actuelle est le newton | |
| ▲ | Caracterise la valeur de pesée en fonction du réglage actif H1-H6 (voir au chap. 5.7). | |
| H1-H4: | Fonction Data-Hold | |
| H5 | Fonction de pesée des animaux | |
| H6 Fonction | valeur de créte | |
| LO | Capacité des piles épisée | |
| E Surcharge | ||
Clavier:
| Touche | Description | Descriprion de la fonction |
| ON/OFF TARE | Touche ON/OFF | • Allumer la balance • Mettre la balance suspendue à l'arrêt (pression longue sur la touche) • Tarage • Feuilleter en avant dans le menu |
| UNIT | Touche UNIT | Commuter l'unité de pesée (kg→lb→N) |
| HOLD | Touche HOLD | • Geler l'affichage du poids • Afficher la valeur moyenne pour la pesée d'animaux • Valider le réglage du menu |
3.3 Étiquette adhésive

Ne pas séjourner au-dessous de charges suspendues. Ne pas utiliser dans la zone du chantier. Ne pas quitter des yeux les charges en suspension.

(example)
Ne pas dépasser la charge nominale de la balance.

Le produit est conforme aux exigences de la loi allemande sur la sécurité produit et matériel.
4. Mise en œuvre
| ! | + Observer absolument le chap. 2 „Indications generales de sécurité“! |
4.1 Déballage
| CONSIGNE DE SECURITE pour la prévention du bris | Les balances suspendues délivrées et déballées ne sont pas reprises. |
| Le balance suspendue est scellé par KERN. ⇒ Le mousqueton et le crochet sont scellés. ⇒ La sortie de l'emballage est également scellée. | |
| + La violation d'un sceau entraine obligatoirement l'achat. | |
| KERN fig: Sceau | |
| En vous remerciant de votre compréhension. Votre équipe de suivi de la qualité KERN |
4.2 Etendue de la livraison
Sortir avec précaution la balance suspendue et les accessoires de leur emballage, restorer le matériel d'emballage. Contrôler si tous les éléments des fournitures sont livrés et sans dommages.
Balance suspendue, voir au chap. 3.0 - Mousqueton, uniquement les modèles ≤ 200 kg - Crochet, uniquement les modèles ≤ 200kg - Piles (modèles HCB: 3 x 1.5 V AA, modèles HCN: 2 x 1.5V AA) - Notice d'utilisation / journal de bord
4.3 Vérification des dimensions originales
Reportez les dimensions originales de la fiche de données de production dans les plages grises de la liste de vérification chap. 8.3. Vérifier les dimensions originales de la balance suspendue, réalisation voir chap. 8.3 „Maintenance régulière“ Reportez toutes les données (date, inspecteur, résultats) dans la première ligne sous „verification avant le premier usage" de la liste de vérification (voir chap. 8,3)

Si les dimensions du premier contrôle de sécurité ne correspondent pas à ceux de KERN, la balance ne doit pas être mise en service. Dans ce cas, contactez un partenaire de SAV autorisé par KERN.
4.4 Fonctionnement à pile

Lorsque les piles sont usées, apparait sur l'affichage de la balance "LO". Appuyez sur la touche ON/OFF et remplacez de suite les piles.
Ouvrir le compartiment à piles, remplacer les piles et refermer de nouveau le compartiment à piles.
Pour protéger les piles, la balance se met automatiquement hors circuit en l'absence de pesage après 4 minutes. Cette fonction Auto Off peut être désactivée dans le menu, voir au chap. 6.
Si la balance suspendue n'est pas utilisée pendant un laps de temps prolongé, retirez les piles.

Condition préliminaire
La grue sera encore dotée d'une patte de sécurité (1) afin que la balance suspendue ne puisse pas tomber sans charge.
Veuillez contacter le fabricant de la grue pour obtenir un crochet avec ce dispositif de sécurité si cette patte de sécurité fait défaut ou si elle est endommagée.
Accrochez la balance suspendue au crochet inférieur d'une grue et fermez la patte de sécurité.
L'œillet supérieur de la balance suspendue doit s'appliquer au capstan (2).
5.1 Consignes de sécurité
| Risque de blessure par les chutes de charges! DANGER | |
| → Toujours travailler avec le plus grand soin, en application des règles générales s'appliquant à la conduite d'une grue. → Vérifier toutes les pieces (crochet, mousqueton, bagues, élingues de cordes, câbles, chaînes etc.) pour détecter des endommagements ou une usure excessive → Si la patte de sécurité du crochet de grue présente des défauts ou si n'existe pas du tout, la balance ne doit pas être utilisée → Travailler à une vitesse correspondante → Eviter absolutment des vibrations et des forces horizontales. Evitez les a-coups, les torsions et les mouvements pendulaires (p. ex. par accrochage en biais) de toutes natures. → Ne pas utiliser la balance suspendue pour le transport de charges → Ne pas séjourner au-dessous de charges suspendues. → Ne pas utiliser dans la zone du chantier. → Ne pas quitter des yeux les charges en suspension. → Ne pas dépasser la charge nominale de la grue, de la balance suspendue ou du matériel d'élingage des charges sur la balance suspendue. |
5.2 Charger la balance suspendue
Afin d'obtenir de bons résultats de pesée, observez le suivant, illustrations voir page suivante:
⇒ N'utilisez que du matériel d'élingage qui garantisse une fixation à 1 point à laquelle la balance peut être suspendue librement. ⇒ N'utilisez pas de matériel d'élingage surdimensionné, il ne pourrait pas garantir la suspension à 1 point. ⇒ N'utilisez pas de suspensions multiples. ⇒ Ne tirez ou ne poussez pas la charge ou la balance chargée. ⇒ N'exercez aucune traction horizontale sur le crochet.
Charger la balance
- Positionner le crochet de la balance suspendue au-dessus de la charge.
- Descendre la balance suspendue jusqu'à ce que la charge puisse être suspendue au crochet de la balance. Réduire la vitesse quand la hauteur correspondante est atteinte.
- Accrocher la charge aux œillets d'accrochage. Vous assurer que les éléments importants pour la sécurité sont opérationnels (p. ex. que la patte de sécurité est fermée). Si la charge est arrimée par des nœuds, assurez-vous que les nœuds s'appliquent de toute leur surface au capstan du crochet.
- Soulever la charge lentement.
Si la charge est fixée à l'aide des élingues, assurer que la charge soit bien balancée et que les élingues soient correctement positionnées.

Recourir toujours au matériel d'élingage approprié, exemple HCB 100K200

N'utilise que du matériel d'élingage, qui garantisse une fixation à 1 point à laquelle la balance peut être suspendue librement.

N'utilise pas de matériel d'élingage surdimensionné, il ne pourrait pas garantir la fixation à 1 point.


Ne tirez ni ne poussez
N'exercez aucune traction latérale sur le crochet.

N'utilisez pas de suspensions multiples
Mise en route
Appuyez sur la touche ON/OFF. L'affichage s'illumine et la balance réalise une vérification automatique. L'autotest est terminé lorsque sur l'affichage apparait la valeur de pesée 0.
Mettre à l'arrêt
⇒ Pression prolongée sur la touche ON/OFF.
5.4 Tarage
⇒ Accrocher une pré-charge. Appuyer sur la touche TARE, l'affichage du zéro apparaît. Ceci indique que l'enregistrement interne du poids du récipient a eu lieu.

Peser les matières à peser, le poids net est affiché. Une fois la précharge enlevée, le poids de la précharge apparait en affichage négatif. Pour effacer la valeur de la tare, déchargez la balance suspendue et appuyez sur la touche TARE.
5.5 Pesage
Charger la balance suspendue. La valeur pondérale sera affichée tout de suite.

Eviter impératifement de charger la balance au-delà de la charge maximale indiquée (Max.) après déduction eventuelle d'une charge de tare déjà existante. Sinon, la balance pourrait être endommagée.
Si la charge maximale est dépassée, „E“ est affiché. Débrancher le système de pesée ou réduire la précontrainte.
5.6 Commutation de l'unité de pesée




Par appel de la touche UNIT, est affichée l'unité de pesée suivante kg lb N
L'indicateur affiche la valeur active.
5.7 Fonctions
Les fonctions suivantes peuvent être activées sur la touche Hold:
| Réglage Fonction | ||
| H1 | Fonction Data-Hold 1La valeur de la pesée est „gelée“ après pression de la touche Hold pendant 5 sec. | + voir chap. 5.7.1 |
| H2 | Fonction Data-Hold 2La valeur de la pesée est „gelée“ après pression de la touche Hold jusqu'à l'appoint d'une autre touche | |
| H3 | Fonction Data-Hold 3La valeur de la pesée est automatiquement „gelée“ pendant 5 sec. | |
| H4 | Fonction Data-Hold 4La valeur de la pesée est „gelée“ après avoir atteint une valeur stable jusqu'à l'appoint d'une autre touche | |
| H5 | Fonction de pesée des animaux | + voir chap. 5.7.2 |
| H6 Fonction valeur de crête | + voir chap. 5.7.3 | |
5.7.1 Fonction data-hold
⇒ Mettez en marche la balance, gardez la touche HOLD enclenchée jusqu'à ce qu'apparaisse le réglage actuel „Hx" (H1 - H6). ⇒ Répéter la pression sur la touche ON/OFF jusqu'à ce que le réglage „H1-H4“ soit affiché. ⇒ Valider sur la touche HOLD le réglage. ⇒ Accrochez les matières à peser. ⇒ La valeur de la pesée „gelée" est affichée en fonction du réglage (H1-H4) (voir au chap. 5.7), symbolisée par le [▲] en haut et à gauche.

5.7.2 Fonction de pesée des animaux
Cette fonction est appropriée pour les procédures de pesées agitées. Le résultat est la valeur pondérée entre 16 valeurs de pesées, qui est déterminée en 3 secondes.
⇒ Mettez en marche la balance, gardez la touche HOLD enclenchée jusqu'à ce qu'apparaisse le réglage actuel „Hx" (H1 - H6). ⇒ Répéter la pression sur la touche ON/OFF jusqu'à ce que le réglage „H5“ soit affiché. ⇒ Validez le réglage sur la touche HOLD. ⇒ Accrochez les matières à peser. ⇒ Appuyez sur la touche HOLD, l'affichage compte à rebours à partir de 3 - 1. La moyenne calculée est affichée avec le symbole [▲] en haut et à gauche. ⇒ Avant de passer à d'autres mesures, appuyez tout d'abord sur la touche ON/OFF/TARE.
5.7.3 Fonction valeur de crête
Cette fonction affiche la valeur de charge la plus élevée (valeur de crête) d'une pesée. Fréquence de mesure: 200ms

Ne chargez jamais la balance au-delà de la charge maximale indiquée (!! risque de rupture!!).
Mettez en marche la balance, gardez la touche HOLD enclenchée jusqu'à ce qu'apparaisse le réglage actuel „Hx" (H1 - H6). Répéter la pression sur la touche ON/OFF jusqu'à ce que le réglage „H6“ soit affiché. Confirmez sur la touche HOLDYOUR selection. Accrochez les matières à peser. La valeur de crête apparait brièvement avec le symbole [▲] en haut et à gauche. La balance revient automatiquement à zéro et est prête pour d'autres mesures.
6. Menu
⇒ Appelez la touche HOLD la balance étant hors circuit et maintenez-la enclenchée ⇒ Ne relâchez pas la touche HOLD. Appelez également la touche ON/OFF/TARE et maintenez-la enclenchée ⇒ Gardez la touche ON/OFF/TARE enclenchée, mais relâchez cependant la touche HOLD ⇒ Appelez de nouveau la touche HOLD ⇒ Maintenez les deux touches enclenchées jusqu'à ce qu'apparaisse "tr" sur l'écran d'affichage ⇒ Relâchez les deux touches. La balance se trouve en cours de menu. ⇒ A l'aide de la touche ON/OFF/TARE on peut CHOISIR entre les fonctions suivantes:
- tr (Zero tracking): ON/OFF
- AF (Auto off): ON/OFF rST (RAZ pour rétablir les réglages en usine): YES/NO
⇒ Validez la fonction sélectionnée sur la touche HOLD. ⇒ Dans l'affichage apparaît le réglage actuel „ON“ ou „OFF“ resp. „YES“ ou „NO“. Sur la touche ON/OFF/TARE il est maintenant possible d'opter entre „ON“ ou „OFF“ voire „YES“ ou „NO“. Confirmez votre sélection sur la touche HOLD. Peu de temps après, la balance revient automatiquement en mode de pesée.
7. Ajustage
Etant donné que la valeur d'accélération de la pesanteur varie d'un lieu à l'autre sur la terre, il est nécessaire d'adapter chaque balance – conformément au principe physique fondamental de pesée – à l'accélération de la pesanteur du lieu d'installation (uniquement si la balance n'a pas déjà été ajustée au lieu d'installation en usine). Ce processus d'ajustage doit être effectué à chaque première mise en service et après chaque changement de lieu d'installation et à fluctuations de température d'environ. Pour obtenir des valeurs de mesure précises, il est recommandé en supplément d'ajuster aussi périodiquement la balance en fonctionnement de pesée.
Veillez à avoir des conditions environnementales stables. Un temps de réchauffage d'env. 1 minute est judicieux pour la stabilisation. Préparer le poids d'ajustage, pour plus de détails voir au chap. 1 „Caractéristiques techniques".
Mettre la balance à l'arrêt et accrocher une bretelle si besoin.

⇒ Mettre en marche la balance suspendue avec aide de suspension accrochée. Appeler et maintenir la touche Unit enclenchée (pendant env. 3 sec) jusqu'à ce que „CAL“ apparaisse.

Attendre jusqu'à ce que la valeur du poids du poids d'ajustage nécessaire, p. ex. 10 kg (voir au chap. 1), soit affichée.

Accrocher le poids d'ajustage, peu de temps après apparaît „F“.

Une fois l'ajustage correctement réalisé, la balance revient automatiquement en mode de pesée. En cas d'erreur d'ajustage ou d'une valeur d'ajustage erronée, un message d'erreur est affiché et il faut alors recommencer le processus d'ajustage.
8. Maintenance, nettoyage et élimination

DANGER
Risque de blessure et d'endommagement de biens matériaux ! Le balance suspendue est partie intégrante du moyen de levage ! Pour une commande sûre, observer le suivant :
⇒ Maintenance régulière par personnel spécialisé formé ⇒ Régulièrement exécuter les travaux d'entretien et de maintenance, voir au chap. 8.3. ⇒ Remplacement de pièces seulement par personnel spécialisé formé. ⇒ Si on a constaté des irrégularités dans la liste de vérification de sécurité, la balance ne doit plus être mise en service. ⇒ Ne pas réparer la balance suspendue de son propre chef. Les réparations ne doivent être faites que par des partenaires SAV autorisés par KERN.
8.1 Nettoyage et élimination

CAUTION
Endommagement de la balance suspendue!
Ne pas utiliser de solvants ou de produits chimiques industriels (p. ex. des acides fragilisation).
⇒ Nettoyer le clavier et l'écran avec un chiffon mou imbibé d'un agent de nettoyage doux pour fenêtres. ⇒ L'élimination de l'emballage et de l'appareil doit être effectuée par l'utilisateur selon le droit national ou régional en vigueur au lieu d'utilisation.
8.2 Maintenance et entretien réguliers
La maintenance régulière de 3 mois peut être réalisée seulement par des experts avec des connaissances fondées dans le traitement des balances suspendues. Les prescriptions de sécurité nationales ainsi que les prescriptions de travail, d'exploitation et de sécurité de l'exploitant sont à prendre en compte. Pour vérifier les dimensions, n’utiliser que des moyens d’essai appropriés. La maintenance régulière de 12 mois uniquement peut être réalisée par du personnel spécialisée formé (SAV KERN). Les résultats de la maintenance se doivent être inscrits dans la liste de vérifications (chap. 8.3). Les résultats additionnels de la maintenance élargie se doivent être inscrits dans la liste de vérifications (chap. 9.1). Nettoyer les moyens de suspension de charge avant le contrôle, voir au chap. 8.1. Les pièces remplacées (œillets d’accrochage) sont également à répertorier, (chap. 9.2)
Maintenance régulière :
| Avant chaque usage | • Contrôler le fonctionnement irréprochable des øeillets d'accrochage |
| Première mise en marche, chaque 3 mois ou en tout cas après 12 500 pesées | • Vérifier toutes les dimensions, voir liste de vérifications chap. 8.3 • Contrôler l'usure des øeillets d'accrochage, telles que p. ex. la déformation plastique, les dommages mécaniques (irrégularités de la surface), les entailles, les rainures, les criques, la corrosion et les distorsions. • Contrôler l'absence de vices sur la sécurité de fermeture des øeillets d'accrochage ainsi que leur fonctionnement irréprochable. • Mettre le balance suspendue sur-le-champ hors service en cas de dépassement d'une cote de la cote admissible par rapport à la cote initiale (voir checkliste, au chap. 8.3) ou en cas de constatation de toute autre irrégularité. • Toutes les réparations et toutes les pieces de rechange (p. ex. crochets) doivent être consignées par le partenaire de SAV (voirliste, au chap. 9.2). |
| Tous les 12 mois ou en tout cas après 50 000 pesées | • Si la maintenance élargie doit être exécutée par du personnel spécialisé formé (SAV KERN). Lors des essais généraux de contrôle toutes les charges suspendues sont à contrôler au moyen de poudre magnétique sur l'absence de fissures |
| Tous les 10 ans ou en tout cas après 500 000 pesées | • Remplacer la balance suspendue par complet |
Remarque
Dans le contrôle d'usure, observer les dessins suivants (chap. 8.3).
Critères de mise au rebut : les moyens de suspension de charge ne doivent plus être utilisés lorsque p. ex.
- des écarts sont constatés lors des contrôles définis dans le cadre de la maintenance.
- La plaque d'identification ou la plaque de capacité de chargement sont manquantes.
- Les moyens de suspension de charge dont on sait qu'ils ont été exposés à une surcharge ou à toute autre influence dommageable sont à exclure de toute autre utilisation voire à ne réutiliser qu'après examen.
8.3 Liste de vérifications „maintenance régulière“, (voir chap. 8,2)
| Dimensions originales de la balance suspendue, N° série: Capacité | ||||||||||||
| Mousqueton | Crochet | Distance des øillets d'accrochage | ||||||||||
| a (mm) | b (mm) | c (mm) | d (mm) | Usure | e (mm) | f (mm) | g (mm) | h (mm) | i (mm) | Usure | Angle α (°) | k (mm) |
| Date Inspecteur | ||||||||||||
| Mousqueton | Crocket | CÉillets d'accrochage | ||||||||||||||
| a | b | c | d | Usure (voir plages en hachuré) | Fermeture de sécurité | e | f | g | h | i | α | Usure (voir plages en hachuré) | Distance k | Date | Contrôleur | |
| Déviation max. admise | 5 % | 5 % | 1 % | 5 % | Pas de déformations ou de criques | Fonctionne ment parfait | 1% | 5 % | 5 % | 5 % | 5 % | 10° | Pas de déformations ou fissures | 1% | ||
| Vérification avant la première mise en œuvre | ||||||||||||||||
| 3 mois / 12 500 x | ||||||||||||||||
| 6 mois / 25 000 x | ||||||||||||||||
| 9 mois / 37 500 x | ||||||||||||||||
| 12 mois / 50 000 x | ||||||||||||||||
| 15 mois / 62 500 x | ||||||||||||||||
| 18 mois / 75 000 x | ||||||||||||||||
| 21 mois / 87 500 x | ||||||||||||||||
| Mousqueton Crochet ØEilletts | d'accrochage | |||||||||||||||
| a | b | c | d | e | f | g | i | j | k | l | m | n | o | p | q | |
| Déviation max. admise | 5 % | 5 % | 1 % | 5 % | Pas de déformations ou de crôques | Fonctionnement partiel | 1 % | 5 % | 5 % | 5 % | 5 % | 10 ° | Pas de déformations ou de crôques | 1 % | ||
| Vérification avantiapremière mises en œuvre | ||||||||||||||||
| 24 mois / 100 000 x | ||||||||||||||||
| 27 mois / 112 500 x | ||||||||||||||||
| 30 mois / 125 000 x | ||||||||||||||||
| 33 mois / 137 500 x | ||||||||||||||||
| 36 mois / 150 000 x | ||||||||||||||||
| 39 mois / 162 500 x | ||||||||||||||||
| 21 mois / 87 500 x | ||||||||||||||||
| 42 mois / 175 000 x | ||||||||||||||||
| 45 mois / 187 500 x | ||||||||||||||||
| 48 mois/200 000 | ||||||||||||||||
| 51 mois / 212 500 x | ||||||||||||||||
| 54 mois / 225 000 x | ||||||||||||||||
| 57 mois / 237 500 x | ||||||||||||||||
| 60 mois/250 000x | → Toutes les pieces portant des charges doivent être remplacées par un partenaire SAV autorisé par KERN. | |||||||||||||||
Ces maintenances sont à exécuter par des SAV homologués par KERN.



9.1 Liste de vérifications „maintenance élargie" (révision générale)
Les travaux de maintenance élargie doivent être réalisés par un partenaire SAV autorisé par KERN.
| Balance suspendue | Modèle ............ N° de série ...................... | ||||||
| Intervalle | Essai de poudre magnétique sur la presence de fissures | Crochet Mousqueton | Céillets d'accrochage | Date Nom signature | |||
| 12 mois / 50 000 x | |||||||
| 24 mois / 100 000 x | |||||||
| 36 mois / 150 000 x | |||||||
| 48 mois / 200 000 x | |||||||
| 60 mois / 250 000 x | |||||||
| 72 mois / 300 000 x | |||||||
| 84 mois / 350 000 x | |||||||
| 96 mois / 400 000 x | |||||||
| 108 mois / 450 000 x | |||||||
| 120 mois/500 000x | → Remplacer complètement la balance suspendue | ||||||
9.2 Liste, pièces de rechange et réparations de pièces se répercutant sur la sécurité
| Moyens d'accrochage (crochet, mousqueton) pour balance suspendue | Modèle N° de série | |||
| Pièce constitutive | Mesure | Date | Nom | signature |
HCB_HCN-BA-f-1644
10. Déclaration de conformité
Vous trouvez la déclaration de conformité CE-UE actuelle en ligne sous:
www.kern-sohn.com/ce
Notice Facile