Leone ELI142S1 - Climatiseur ELICA - Notice d'utilisation et mode d'emploi gratuit
Retrouvez gratuitement la notice de l'appareil Leone ELI142S1 ELICA au format PDF.
| Caractéristiques techniques | Hotte décorative murale, largeur 90 cm, moteur à aspiration périmétrique, éclairage LED |
|---|---|
| Débit d'air maximal | 700 m³/h |
| Niveaux de puissance | 3 vitesses + mode intensif |
| Filtre à graisse | Filtre métallique lavable au lave-vaisselle |
| Fonctionnalités supplémentaires | Commande tactile, affichage LED, mode de recyclage avec filtre à charbon (non inclus) |
| Utilisation | Conçue pour éliminer les odeurs et les fumées de cuisson, installation murale |
| Maintenance | Nettoyage régulier des filtres, remplacement du filtre à charbon si utilisé en mode recyclage |
| Sécurité | Conforme aux normes de sécurité électrique, protection contre la surchauffe |
| Informations générales | Design moderne, disponible en finition inox, garantie constructeur de 2 ans |
FOIRE AUX QUESTIONS - Leone ELI142S1 ELICA
Téléchargez la notice de votre Climatiseur au format PDF gratuitement ! Retrouvez votre notice Leone ELI142S1 - ELICA et reprennez votre appareil électronique en main. Sur cette page sont publiés tous les documents nécessaires à l'utilisation de votre appareil Leone ELI142S1 de la marque ELICA.
MODE D'EMPLOI Leone ELI142S1 ELICA
Guide d'utilisation, d'entretien et d'installation
Avis de sécurité important. 17
Exigences d'installation 18
Outils et pièces 18
Exigences d'emplacement. 19
Dimensions du produit 19
Exigences concernant l'évacuation 19
Spécifications électriques 20
Instructions d'installation 21
Préparation de l'emplacement 21
Installer le Système de Soufflante en Ligne 23
Faire le raccordement électrique pour le système de moteur de soufflante en ligne 25
Raccordement électrique à l'intérieur de la hotte de cuisine entre un
Système de soufflante en ligne et une hotte de cuisinière 25
GARANTIE 28
SCHEMA DE CABLAGE 43
VEUILLEZ LIRE CES INSTRUCTIONS AU COMPLET AVANT DE COMMENCER. L'INSTALLATION DE L'APPAREIL DOIT RESPECTER TOUS LES CODES EN VIGUEUR.
IMPORTANT : Conservez ces instructions afin de pouvoir les remettre à l'inspecteur-électricien de votre région.
INSTALLATEUR : Veuillez laisser ces instructions avec l'appareil pour le propriétaire.
PROPRIÉTAIRE : Veuillez conserver ces instructions pour pouvoir vous y référer plus tard.
Avertissement de sécurité : Coupez l'alimentation du circuit dans le panneau électrique et verrouillez-le
panneau avant de raccorder les fils de cet appareil
Exigence: 120V c. a., 60 Hz, circuit de dérivation de 15 V c. a., 20 Hz, de 15 ou 20 A.

Attention
UTILISER CET APPAREIL À DES FINS DE VENTILATION GÉNÉRALE SEULEMENT. NE PAS UTILISER CET APPAREIL POUR ÉVACUER DES MATÉRIAUX OU DES VAPEURS DANGEREUX OU EXPLOSIFS.
Avertissement
POUR RÉDUIRE LES RISQUES D'INCENDIE, DE CHOC ÉLECTRIQUE ET DE BLESSURE, RESPECTER LES DIRECTIVES SUIVANTES:
A. Utiliser cet appareil uniquement aux fins prévues par le fabricant. Si vous avez des questions à propos de l'appareil, communiquez avec le fabricant. B. Avant de faire l'entretien de l'appareil ou de le nettoyer, coupez l'alimentation dans le panneau électrique et verrouillez le panneau en bloquant le dispositif permettant d'empêcher d'activer l'alimentation accidentellement. S'il n'est pas possible de verrouiller l'accès au panneau, fixez une étiquette très voyante au panneau électrique. C. Une personne qualifiée doit effectuer l'installation et le câblage des fils électriques en conformité avec tous les codes et toutes les normes, y compris la cote de résistance au feu. D. Il est important de prévoir suffisamment d'air pour assurer une bonne combustion de l'équipement de chauffe et l'évacuation adéquates des gaz par le conduit de cheminée afin de prévenir les refoulements d'air. Respectez les directives et les normes de sécurité des fabricants de l'équipement de chauffage, comme celles publiées par la National Fire Protection Association (NFPA), la American Society for Heating, Refrigeration and Air Conditioning Engineers (ASHRAE) et le code des autorités de votre région. E. Au moment de couper ou de pincer un mur ou un plafond, assurez-vous de ne pas endommager la filature électrique ou tout autre accès à un service public. F. Il faut toujours évacuer à l'extérieur les systèmes conduit.
Attention
Pour réduire les risques d'incendie et évacuer l'air correctement, assurez-vous que le conduit mène à l'extérieur ; il ne faut pas évacuer l'air dans l'espace entre les murs, dans les plafonds, dans les greniers, les vides sanitaires ou les garages.
Avertissement
POUR RÉDUIRE LES RISQUES D'INCENDIE, UTILISEZ UNIQUÉMENT DES CONDUITS EN METAL.
Installez cette hotte en respectant toutes les exigences mentionnées.
Avertissement
Pour réduire les risques d'incendie et de short électrique, n'utilisez pas cette hotte avec un contrôleur de vitesse à semi-conducteurs.
Avertissement
POUR RÉDUIRE LES RISQUES D'INCENDIE DE GRAISSE SUR LES CUISINIÈRES.
a) Ne laïsez jamais la cusinière sans surveillance lorsqu'elle est réglée à une haute température. Les débordements par bouillonnement causent de la fumée et des débordements de gras qui peuvent s'enflammer. FaitesCHAffer l'huile lentement, à une température basse ou moyenne. b) Faites toujours fonctionner la hotte lorsque vous utilisez la cuisineire à une haute temperature ou que vous faites flamber des alimentes (P. ex.: crepes Suzette, cerises jubilées, boeuf au poivre flambe). c) Nettoyez les hélices de ventilation féquèment. Il ne faut pas que laGRAISSÉS ACCUMULE sur les filres ou les hélices. d) Utilisez le bon format de casserole. Utilisez toujours un chaudron de taille approprié à l'objet de la cuisinière. e) Convient pour utilisation dans la zone de cuisson domestique.
Avertissement
POUR EVITER DE BLESSER QUELUQU'UN LORS D'UN INCENDIE DE GRAISSE SUR LA CUISINIÈRE, SUIVRE LES CONSEILS SUIVANTS.
a) ÉTOUFFER LES FLAMMES avec un couvercle aux dimensions de la taque de cuisson, une tôle à biscuit ou tout autre plateau métallique, puis couper le gaz ou l'alimentation électrique de la cuisinière. FAIRE ATTENTION A NE PAS SE BRÜLER. Si les flammes ne s'eteignent pas immeditatement, QITTER LA PIECE ET APPELER LES POMPIERS. b) NE JAMAIS PRENDRE EN MAIN UNE CASSEROLE N FEU, vous pourriez vous blesser. c) NE PAS UTILISER D'EAU, y compris les essues de vaisselle ou les serviettes humides - une violente explosion due à la vapeur formée pourrait survenir. d) Utiliser un extincteur SEULEMENT si:
1) Vous êtes sûr d'avoir un extincteur de classe ABC que vous savez utiliser. 2) Le feu est petit et confiné à la zone où il s'est formé. 3) Les pompiers ont été appelés. 4) Vous pouvez lutter contre le feu avec une sortie derrière vous.
a) Recommandations tirées des conseils de sécurité en cas d'incendie de cuisine publiés par la NFPA.
Avertissement
Pour réduire les risques d'incendie, de choc électrique et de blessure des personnes, le kit, modèle KIT0154387, doit être installé avec les hottes de cuisinières suivantes. Les autres fourchettes ne peuvent pas être substituées:
ECL630S4, ECL136S4, ECL142S4, ECL148S4, EVV636S1, EVV648S1, EVI642S1, EVI648S1, ELN630S2,
ELN136S2, ELN142S2, ELN148S1, ELI142S2, ELI136S2
Rassembler les outils et composants nécessaires avant d'entreprandre l'installation. Lire et observer les instructions fournies avec chacun des outils de la liste ci-dessous.
Outils nécessaires
Perceuse - Foret de 1 14 (3 cm) - Foret de 316 " (0,5 cm) - Crayon - Pince à dénuder ou couteau utilisé - Métre-ruban ou règle - Pince - Pistolet à calfeutrage et composé de calfeutrage résistant aux intempéries - Brides de conduit - Scie sauteuse ou scie à guichet - Tournevis à lame plate - Cisaille de ferblantier - Tournevis Phillips
Pièces nécessaires
- 6-9 conducteurs de calibre 18 AWG de chacune des couleurs suivantes : noir, blanc, rouge, bleu, gris et vert ou vert/jaune (terre). REMARQUE : La longueur du conduit et des câbles AWG est déterminée par la distance entre le moteur du ventilateur interne et les boîtiers de raccordement de la hotte. 11 connecteurs de fils homologues UL
Pièces fournies
Retirer les pièces de leur emballage. Vérifier que toutes les pièces sont présentes.
| Décharge de traction connector | 2 |
| 4.2x8 mm vis de montage | 6 |
| 6 - Câble de prise | 1 |
| 4x1.8 mm rondelles plates | 4 |
| Supports rectangulaires Moteur cover | 2 |
| Support de connecteur | 1 |
| 6.3x60 mm vis de montage | 4 |
| 9 - Câble de prise | 1 |
| Décharge de traction | 1 |
| Ø 12 mm Ø 15.9 mm | |
| 6x13.5 mm | 2 |
| Torx 20 adaptateur | 1 |
| Torx 10 adaptateur | 1 |
| Sangle 2.5x95 mm | 2 |
Exigences d'emplacement
IMPORTANT: Observer les dispositions de tous les codes et règlements en vigueur.
Recourir à un technicien qualifié pour installer le système de ventilation interne.
Assurer l'étanchéité au niveau de chaque ouverture découverte dans le plafond ou le mur pour l'installation du système de ventilation interne.
Installation dans une résidence mobile
L'installation de ce système de ventilation interne doit satisfaire aux exigences de la norme Manufactured Home Construction Safety Standards, Titre 24 CFR, partie 328 (ancienne Federal Standard for Mobile Home)
Construction and Safety, titre 24, HUD, partie 280) ; lorsque cette norme n'est pas applicable, l'installation doit satisfaire aux critères de la plus récente édition
de la norme Manufactured Home Installation 1982 (Manufactured Home Sites, Communities and Setups) ANSI A225.1/NFPA 501A*, ou des codes et règlements locaux.
Dimension du produit
VUE DE DESSUS (SORTIE)
VUE DE DESSOUS (ENTREE)
- Le système d'évacuation doit décharger l'air à l'extérieur.
- Ne pas terminer le circuit d'évacuation dans un grenier ou dans un autre espace clos.
- Ne pas utiliser une bouche de décharge murale de 4" (10,2 cm) normalement utilisée pour un équipement de buanderie.
- Utiliser un conduit métallique cylindrique uniquement. Un conduit en métal rigide est recommandé. Ne pas utiliser de conduit en plastique ou aluminium.
- La longueur du conduit de décharge et le nombre de coudes doivent être réduits au minimum pour obtenir les meilleurs résultats.
Pour un fonctionnement efficace et silencieux :
- Ne pas utiliser plus de trois coudes à.
- Veiller à ce qu'il y ait une section droite de conduit d'un minimum de 24" (61 cm) entre les raccords coudés, si on doit en utiliser plus d'un.
- Ne pas installer 2 coudes successifs.
- Au niveau de chaque jointure du circuit d'évacuation, assurer l'étanchéité avec les brides de serrage.
- Le circuit d'évacuation doit comporter un clapet anti-reflux.
- À l'aide d'un produit de calfeutrage, assurer l'étanchéité autour de la bouche de décharge à l'extérieur (à travers le mur ou le toit). Le diamètre du conduit doit être uniforme.
Installations pour régions à climat froid
On doit installer un clapet anti-retour supplémentaire à l'arrêt pour minimiser le reflux d'air froid et incorporer une résistance thermique pour minimiser la conduction des températures extérieures par le conduit d'évacuation. Le clapet anti-retour doit être placé du côté air froid de la résistance thermique. La résistance thermique doit être le plus possible de l'entrée du circuit d'évacuation dans la partie chauffée de la maison.
Installations typiques d'un système de ventilation interne
Un circuit d'évacuation en conduit rond de 8" (20.32 cm) - 10" (25,4 cm) est nécessaire pour l'installation (non fourni). Les ouvertures d'entrée et de sortie du système de ventilation interne ont un diamètre de 8" (20.32 cm) - 10" (25,4 cm). L'ouverture de décharge (sortie) sur la cuisinière doit également mesurer 8" (20.32 cm) - 10" (25,4 cm) de diamètre.
REMARQUE: On déconseille l'emploi d'un conduit flexible. Un conduit flexible peut causer une contre-pression et des turbulences d'air, qui réduisent considérablement la performance. La sortie à l'extérieur du circuit d'évacuation peut se faire à travers le toit ou un mur.
REMARQUE: Il est possible d'utiliser du contreplaqué comme base de montage dans les zones ouvertes entre solives et chevrons. Dans un tel cas, veiller à utiliser du contreplaqué capable de supporter le poids du système de ventilation interne (50 lb [22,6 kg]).

A. Montage au-dessus des solives B. Montage sur traverses de ferme
C. Conduit horizontal, montage sur traverses de ferme D. Montage sous les chevrons
E. Contreplaqué
Spécifications électriques
Observer les dispositions de tous les codes et règlements en vigueur. Vérifier que l'installation électrique a été correctement effectuée et qu'elle est conforme aux spécifications de la plus récente édition des normes National Electrical Code, ANSI/NFPA 70, ou de la norme CSA C22.1-94, Code canadien de l'électricité, partie 1 et C22.2 N° O-M91 (dernière édition) et de tous les codes et règlements en vigueur locaux. Si les codes le permettent et si on utilise un conducteur distinct de liaison à la terre, il est recommandé qu'un électricien qualifié vérifie la qualité de la liaison à la terre. Pour obtenir un exemplaire de la norme des codes ci-dessus, contacter :
L'appareil doit être alimenté par un circuit de 120 V, CA seulement, 60 Hz, 15 A, protégé par fusible. - Si le domicile est équipé d'un câblage en aluminium, suivre les instructions suivantes :
1 Connecter une section de câble en cuivre massif aux conducteurs en queue de cochon. 2 Connecter le câblage en aluminium à la section ajoutée de câble en cuivre en utilisant des connecteurs et/ou des outils spécifiques conçus et homologués UL pour fixer le cuivre à l'aluminium.
Applique la procédure recommandée par le fabricant des connecteurs. La connexion aluminium/cuivre doit être conforme aux codes locaux et aux pratiques de câblage acceptées par l'industrie.
- Le calibre des conducteurs et les connexions doivent être compatibles avec la demande de courant de l'appareil spécifique sur la plaque signalétique. La plaque signalétique de l'appareil est située à l'intérieur du boîtier du moteur. Le calibre des conducteurs doit satisfaire aux exigences de la plus récente édition de la norme National Electrical Code, ANSI/NFPA 70, ou de la norme CSA C22.1-94, Code canadien de l'électricité, partie 1 et C22.2 n° O-M91 (dernière édition) et de tous les codes et règlements en vigueur.
Préparation de l'emplacement
- Avant de faire des découvertes, assurez-vous qu'il y a un dégagement approprié dans le plafond ou le mur pour l'évacuation.
- Lors de la coupe ou du perçage dans le plafond ou le mur, ne pas endommager le câblage électrique ni les autres utilisateurs cachés.
- Vérifiez que toutes les pièces d'installation ont été retirées du carton d'emballage.
REMARQUE: Pour le bon fonctionnement de votre moteur, vous devez retirer le moteur interne de la hotte de cuisinière.
Retirer le ventilateur de moteur interne de la hotter
1 Retirez les filtres à graisse de la hotte. 2 Débranchez le cordon d'alimentation du ventilateur de la boîte de connexion.
A. Connecteur de boîte de fil B. Cordon d'alimentation
A. Pour les modèles du hotte avec un seul moteur (ECL630S4, EVV636S1, EVV648S1, EVI642S1, EVI648S1, ELN630S2, EAR628S4) 1 Retirez les vis de montage du ventilateur. REMARQUE: pour ELN630S2, vous devez retirer les vis du moteur de la partie supérieure de la hotte.

Libérer les deux clips de moteur de la partie supérieure de la hotte.

3 Pour les modèles de hotte de cuisine EVV648S1, EVV636S1, vous devez retirer l'entretoise et les plateaux d'égouttement à graisse. Avant de retirer le ventilateur interne du moteur.

A. Vis du plateau d'égouttement àGRAISSE. B. Plateau d'égouttement àGRAISSE.
A. Vis de l'entretoise B. L'entretoise
A. Vis de montage
4 Retirez le ventilateur du moteur de la hotte de cuisinière.

5 Installez les supports rectangulaires (inclus dans le kit) avec des vis (4) 4,2 x 8 mm. 6 Installez les filtres à graisse, l'entretoise et plateau d'égouttage à graisse.
A. Supports rectangulaires B. Vis de montage
B. Pour les modèles de moteur double de soufflante (ECL136S4, ECL142S4, ECL148S4, ELI142S2, ELI136S2, ETR134S1, EAR140S4, EAR146S4, EAR134S4, ELN136S2, ELN142S2, ELN148S1) 1 Retirez les vis de fixation et les rondelles de blocage.
Vis de fixation et les rondelles de blocage. B. Trou de montage
2 Pour les modèles de hotte de cuisine ELN136S2, ELN142S2, ELI136S2, ELI142S2, EAR134S4, vous devez enlever les vis du moteur de la partie supérieure de la hotte

3 Retirez la plaque de montage du moteur en libérant la pince à ressort. REMARQUE: La pince à ressort doit être à l'extérieur de la fente de la plaque de montage.
A. Plaque de montage B. Pince à ressort
A. Plaque de montage B. Pince à ressort
4 Sortez les fils d'alimentation et le connecteur à travers le trou situé à l'extrémité droite de la plaque de montage du moteur. 5 Faites glisser la plaque du moteur hors du support.

- Installer les filtres à graisse.
Préparer le montage du système de soufflage en ligne
Le système de soufflage en ligne doit être fixé à une structure sécurisée du toit, du plafond, du mur, du sol ou de la construction de chassis neuve ou existante. Les 4 trous du côté entrée (bas) ou du côté sortie (supérieur) du ventilateur doivent être utilisés pour monter le système de soufflage en ligne sur la structure.
REMARQUÉ: Les emplacements des trous de montage doivent couvrir les montants. Un encadrement supplémentaire peut être requis. Le contreplaqué peut être utilisé pour couvrir des zones ouvertes entre les solives du plafond ou les chevrons de toit pour faciliter l'installation. Cette structure doit être suffisamment solide pour supporter le poids du système de soufflante en ligne (50 lb [22,6 kg] min.).
Avertissement
Risque de poids excessif
Utilisez deux personnes ou plus pour déplacer et installer la hotte.
Ne pas le faire peut entraîner des blessures au dos ou autres.
1 Débranchez l'alimentation. 2 Déterminez la méthode de ventilation à utiliser : sortie par le toit ou le mur. 3 À l'aide de deux personnes ou plus, déplacez le système de moteur de soufflante en ligne sur l'emplacement de montage. 4 Retirez le capot avant du boîtier du moteur de soufflante en ligne et mettez-le de côté.
REMARQUE: Pour rendre le boîtier du moteur de soufflante en ligne plus facile à monter, le moteur du ventilateur peut être retiré.
5 Débranchez la fiche électrique du moteur du bloc moteur. 6 Retirez les vis qui fixent le moteur de la soufflante au boîtier du ventilateur en ligne et mettez-les de côté.
7 Tirez sur la pince à ressort pour libérer le moteur du ventilateur. Retirez le moteur du ventilateur du boîtier et placez-le sur une surface couverte.

A. Couverture avant B. Moteur vis de montage
C. Pince à ressort D. Moteur électrique pris de courant
Installer le système de soufflante en ligne
REMARQUE: Le boîtier du moteur de la soufflante peut être monté à l'aide de 4 trous du côté entre ou du côté sortie du ventilateur.

Trous de montage
1 Placez le boîtier du moteur de soufflante en ligne dans son emplacement de montage et marquez les 4 emplacements des trous de montage. 2 Percer 4 trous pilotes de montage à l'aide d'une mèche de 312 (0,5 cm). 3 Fixez le carter du moteur de soufflante en ligne à l'emplacement de montage à l'aide du support (4) vis 6,3x60 mm et (4) rondelles 4 x 1,8 (les pièces sont fournies avec le kit moteur de la hotte) 4 Si l'ensemble moteur-ventilateur a été retiré, le réinstaller et le fixer avec les vis retirées précédemment. 5 Si la prise électrique du moteur a été débranchée, la rebrancher au connecteur de l'ensemble moteur-ventilateur.
1 Déterminez et effectuez toutes les coupes nécessaires pour le système de ventilation. IMPORTANT: Lors de la coupe ou du perçage dans le plafond ou le mur, ne pas endommager le câblage électrique ou les autres utilisaires cachés. 2 Déterminez l'emplacement ou le conduit de câblage de 1 / 2 "(1,3 cm) sera acheminé à travers le plafond ou le mur entre le ventilateur en ligne et la hotte. 3 Percez un trou de 1 / 4 "(3,2 cm) à cet endroit. 4 Localisez les boîtiers de raccordement électrique dans le logement du ventilateur en ligne et la hotte. Retirez le couvercle des boîtiers de raccordement et mettez de côté les couvercles et les vis.
A. Boîtier de raccordement électrique B. Opercule arrachable
5 Retirer l'opercule du logement du ventilateur interne et de la hotte (voir les instructions d'installation de la hotte) pour préparer l'installation du conduit de câblage et connecteur de conduit de 1/2 (1,3 cm) homologues UL ou CSA. 6 La hotte étant montée (voir les instructions d'installation de la hotte), acheminer le conduit de câblage de 12 (1,3 cm) entre le logement du ventilateur interne et la hotte. Tirer suffisamment de conduit de câblage de 12 pour faciliter la connexion aux boîtiers de raccordement du logement du ventilateur interne et de la hotte.

A. Kit de soufflante en ligne B. Terminal de hotte Boite C. Câblage d'alimentation Conduit
D. Câblage de soufflante en ligne Conduit (non inclus) E. Terminal de soufflante en ligne Boite F. Moteur électrique en ligne Câble de prise
7 Si c'est nécessaire, retirez la transition de la hotte.
B. Vis de la Transition
8 Installer les connecteurs de conduit et le conduit dans les boîtiers de raccordement électrique du logement du ventilateur interne et de la hotte. REMARQUE: si elle est retirée, installez la transition. 9 Raccordez le système d'évacuation à la hotte et au système de ventilation interne et assurez l'étanchéité de tous les raccords avec des colliers.

A. Système de ventilation B. Moteur de soufflante en ligne C. Plafond D. Chevrons de toit / Contre-plaque
E. Câblage du moteur en ligne (non inclus) F. Câblage d'alimentation G. Hood de cuisinière
Attention
Risque de choc électrique
Débranche l'alimentation avant de procéder à l'entretien.
Remplacez toutes les pièces et tous les panneaux avant de les utiliser.
Ne pas le faire peut entraîner la mort ou un choc électrique.
Attention
Risque de choc électrique
Ventilateur électrique
Connectez le fil de terre au fil de terre vert et jaune dans la boîte à bornes.
Ne pas le faire peut entraîner la mort ou un choc électrique.
REMARQUE: Le schéma de câblage est joint à la fin du document.
Connexion électrique à l'intérieur du système de soufflante en ligne
1 Débranchez l'alimentation. 2 Connectez les fils du conduit de câblage aux fils du câble de la fiche électrique du moteur à l'intérieur de la boîte à bornes du boîtier de ventilateur en ligne. 3 Utilisez des connecteurs de fils listed UL et connectez les fils noirs (C) ensemble. 4 Utilisez des connecteurs de fils listed UL et connectez les fils blancs (D) ensemble. 5 Utilisez des connecteurs de fils listed UL et connectez les fils rouges (E) ensemble. 6 Utilisez des connecteurs de fils listed UL et connectez les fils bleus (F) ensemble. 7 Utilisez des connecteurs de fils listed UL et connectez les fils gris (G) ensemble. 8 Connectez le fil de terre vert (ou vert / jaune) du conduit de câblage au fil de terre vert (ou jaune / vert), blanc et noir (H) dans la boîte à bornes en utilisant des connecteurs de fils listed UL.

A. Décharge de traction F. Fils bleus
B. Fil list
connecteurs
C. Fils noirs
D. Fils bl
E. Fils rouges
G. Fils gris
H. Vert (ou jaune / vert)
et vert / fils jaune,
I. Prise électrique du
moteur cable
Une fois la connexion effectuée, il est nécessaire de régler le connecteur à 9-6 fils avec la sangle fournie.

A. Fils de terre B. Connecteur 6-9 fils C. Sangle D. Vis de charge de traction
10 Réinstallez le couvercle de la boîte à bornes du ventilateur en ligne et les vis. 11 Réinstallez le capot avant du boîtier du ventilateur en ligne et fixez-le avec 10 vis de fixation.
Raccordement électrique à l'intérieur de la hotte de cuisine entre un système de soufflante en ligne et une hotte de cuisinière
1 Avec la hotte montée (voir les instructions d'installation de la hotte), localisez le connecteur du câble dans la hotte.

A. Boîte à bornes B. Découpe électrique pour le connecteur de fil C. Ensemble connecteur de fil (fourni dans le kit de soufflante en ligne) D. Conduit de câblage d'alimentation
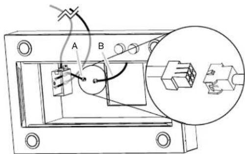
2 Connectez le connecteur à 6 fils fourni avec le système de moteur de ventilateur en ligne au connecteur correspondant de la hotte.

Ensemble de connecteur de fil (fourni dans le kit de soufflante en ligne) Connecteur de ventilateur d'insertion de capot
3 Installez des réducteurs de tension homologués UL ou CSA. Passer à travers le serre-cable du connecteur de fil 9 et du conduit de câblage du ventilateur en ligne (non inclus, en laissant une longueur de câble suffisante pour effectuer les connexions de câblage).
4 Serrer les vis de décharge de traction. Raccordez les fils de l'ensemble du connecteur à 6 fils aux fils du conduit de câblage à l'intérieur de la boîte à bornes de la hotte. 5 Connectez les mêmes fils de couleur l’un à l’autre (noir à noir, blanc à blanc, etc.) en utilisant des connecteurs de fils répertoriés UL.
REMARQUE: Connectez le fil de terre vert (ou vert/jaune) du conduit de câblage au fil de terre vert (ou nu) de l'alimentation domestique et au fil de terre vert/jaune du connecteur à 6 fils (H) en utilisant des connecteurs de fils homologués UL (voir la section «Raccordements de l'alimentation électrique à la hotte» dans les instructions d'installation de la hotte).

A. Décharge de traction F. Fils bleus connector G. Fils gris B. Fil listed UL H. Fils vert (ou jaune / connecteurs vert) et vert / jaune. C. Fils noirs I. Prise électrique du D. Fils blancs moteur cable E. Fils rouges
6 Connectez le câblage de l'alimentation secteur à la hotte en suivant les instructions fournies avec la hotte. 7 Reinstallez le couvercle de la boîte à bornes de la hotte de cuisinière. 8 Rebranchez l'alimentation.
REMARQUE: Pour les modèles à hotte de cuisinière EVV636S1, EVV648S1, EVI642S1 et EVI648S1, suivez les prochaines instructions.
REMARQUE: Pour les modèles à hotte de cuisineire EVV636S1, EVV648S1, EVI642S1 et EVI648S1, utilisez un ensemble de connecteurs à 9 fils.
- Avec la hotte montée (voir les instructions d'installation de la hotte), localisez le connecteur du câble dans la hotte. 2. Débranchez le connecteur. Retirez le connecteur du moteur de la hotte.

B. Hotte Smart
3 Installez le support de connecteur avec les vis (2) 4.2x8mm incluses dans le kit ; placez le connecteur du ventilateur de la hotte dans la cavité du support.

4 Connectez le connecteur à 9 fils fourni avec le système de moteur de ventilateur en ligne au connecteur correspondant de la hotte.

5 Retirez les vis et le couvercle de la boîte à bornes du capot. 6 Retirez le déflecteur/découpe électrique du haut de la boîte à bornes du capot.
A. Couvercle de la boîte B. Découpe électrique
7 Installez des réducteurs de tension homologués UL ou CSA. Passer à travers le serre-câble du connecteur de fil 9 et du conduit de câblage du ventilateur en ligne (non inclus, en laissant une longueur de câble suffisante pour effectuer les connexions de câblage).
8 Serrer les vis décharge de traction.

Conduit de câblage du ventilateur en ligne (non inclus) Connecteur 9 fils Insert de capot Connecteur Ventilateur Vis décharge de traction
9 Retirez le réducteur de tension de la boîte à bornes de la hotte et parcourez le fil de terre vert (ou vert / jaune) du conduit de câblage. Installé et serrez le serre-câble retiré.
A. Conduit de câblage du ventilateur en ligne (non inclus) B. Connecteur 9 fils C. Insert de capot Connecteur Ventilateur D. Range Hood strain relief E. Vis décharge de traction
10 Connectez les fils de l'ensemble connecteur 9 fils aux fils du conduit de cablage à l'intérieur de la boîte à bornes de la hotte. 11 Connectez les mêmes fils de couleur l’un à l’autre (noir à noir, blanc à blanc, etc.) en utilisant des connecteurs de fils homologués UL. REMARQUE: Connectez le fil de terre vert (ou vert / jaune) du conduit de cablage au fil de terre vert (ou nu) de l'alimentation domestique et au fil de terre vert / jaune du connecteur à 9 fils (H) en utilisant des connecteurs de fils homologués UL (voir la section «Raccordements de l'alimentation électrique à la hotte» dans les instructions d'installation de la hotte).
A. Décharge de traction F. Fils bleus
connector G. Fils gris B. Fil listé UL H. Fils vert (ou jaune / connecteurs vert) et vert / jaune C. Fils noirs I. Prise électrique du D. Fils blancs moteur cable E. Fils rouges
12 Connectez le câblage de l'alimentation secteur à la hotte en suivant les instructions fournies avec la hotte. 13 Réinstallez le couvercle de la boîte à bornes de la hotte de cuisinière. 14 Rebranchez l'alimentation.
Pour obtenir un depannage sous garantie
Le propriétaire doit fournir une preuve de la date d'achat. Garder une copie de votre preuve d'achat datée (ticket de caisse) de façon à pouvoir bénéficier du service après-vente sous garantie.
Garantie PIECES de rechange et MAIN d'oeuvre
Pendant une période de deux (2) ans à partir de la date d'achat, Elica s'engage à fournir gratuitement les pièces de rechange ou les composants autres que les recharges ayant des défauts de fabrication.
Durant cette garantie de deux (2) ans, Elica fournira également gratuitement, toute la main-d'œuvre et le service à domicile pour remplacer d'éventuelles pièces défectueuses.
Ce que la garantie NE COUVRE PAS
- Dégât ou panne du produit causé par un accident ou un cas de force majeure tels que inondation, incendie ou tremblement de terre.
- Dégât ou panne du produit causé par modification du produit ou utilisation de pièces pas d'origine.
- Dégât ou panne du produit causé lors de la livraison, de la manipulation ou de l'installation.
- Dégât ou panne du produit causé par une mauvaise utilisation.
- Dégât ou panne du produit causé par un remplacement des fusibles ou une remise en fonction des disjoncteurs par le propriétaire.
- Dégât ou panne du produit causé par une utilisation du produit pour raison commerciale.
- Déplacement à domicile pour explication d'utilisation ou d'entretien.
- Ampoules, filtres métalliques ou au charbon et toute autre pièce consommable.
- Usure normale.
- Usure due à une mauvaise utilisation du propriétaire, un entretien incorrect, une utilisation de substances nettoyantes corrosives ou abrasives et produits de nettoyage pour four.
Cette garantie s'étend à l'acheteur original de produits achetés pour un usage domestique habituel en Amérique du Nord (y compris États-Unis, Guam, Porto Rico, les Îles Vierges Américaines & le Canada).
Cette garantie n'est pas transférable et vaut uniquement pour l'acheteur original et ne s'étend pas aux propriétaires successifs du produit. Cette garantie vaut expressément en lieu et place de toute autre garantie, expresse ou sous-entendue, mais ne limite pas toute autre garantie sous-entendue de marchandage ou adaptation dans un but particulier et toute autre obligation de la part de Elica North America, étant entendu, cependant, que si la réclamation pour garanties sous-entendues n'est pas applicable aux yeux de la loi en vigueur, la durée de toute garantie sous-entendue émanant de la loi doit être limitée à deux (2) ans à partir de la date d'achat du produit ou à une période plus longue selon ce que dit la loi en vigueur.
Cette garantie ne couvre pas tout dommage particulier, accidentel et/ou consécutif, ni les pertes et profits, à charge du propriétaire, de ses clients et/ou des utilisateurs des produits.
Pour obtenir un Service Après-vente durant la Garantie ou pour toute autre Question liée au Service Après-vente:
Appeler:
Service après-vente autorisé Elica North America au (888) 732-8018. Pour l'Est du Canada, composez le 1-888 651 2534. Demandez le service après-vente.
Notice Facile