DTE105 - Boîtier de contrôle industriel IFM - Notice d'utilisation et mode d'emploi gratuit
Retrouvez gratuitement la notice de l'appareil DTE105 IFM au format PDF.
| Caractéristiques | Détails |
|---|---|
| Type de produit | Capteur de température |
| Plage de mesure | -50 à +150 °C |
| Précision | ±1 °C |
| Sortie | Signal analogique |
| Alimentation | 24 V DC |
| Dimensions | Longueur : 100 mm, Diamètre : 12 mm |
| Poids | 150 g |
| Utilisation | Surveillance de la température dans les processus industriels |
| Maintenance | Vérification régulière de l'étalonnage |
| Sécurité | Respecter les normes électriques en vigueur |
| Informations générales | Compatible avec divers systèmes de contrôle |
FOIRE AUX QUESTIONS - DTE105 IFM
Questions des utilisateurs sur DTE105 IFM
0 question sur cet appareil. Repondez a celles que vous connaissez ou posez la votre.
Poser une nouvelle question sur cet appareil
Téléchargez la notice de votre Boîtier de contrôle industriel au format PDF gratuitement ! Retrouvez votre notice DTE105 - IFM et reprennez votre appareil électronique en main. Sur cette page sont publiés tous les documents nécessaires à l'utilisation de votre appareil DTE105 de la marque IFM.
MODE D'EMPLOI DTE105 IFM
Notice d'utilisation
Boîtier de contrôle RFID
DTE105

Contenu
1 Remarques préliminaires 4
1.1 Symboles utilisés 4 1.2 Avertissements utilisés 4 1.3 Copyright et marques 4
2 Consignes de sécurité 4 3 Fonctionnement et caractéristiques 6
3.1 Configuration via interface Ethernet 6 3.2 Antennes RFID 6
4. Furniture 6 5. Fonction 7
6 Montage. 7
6.1 Distance de montage 7 6.2 Position de montage 8 6.3 Possibilités de montage 8
6.3.1 Montage sur rail DIN 8 6.3.2 Démontage 9 6.3.3 Platine de montage 9
7 Raccordement électrique. 10
7.1 Alimentation en tension AUX 10 7.2 Raccordement au réseau Ethernet port 1 / port 2 11
7.2.1 Réglages usine des paramètres Ethernet 11
7.3 Prises de raccordement IO-1... IO-4 12 7.4 Raccordement de la terre fonctionnelle 13
7.4.1 Montage sur rail DIN 13 7.4.2 Platine de montage 13
8 Éléments de service et d'indication 14
8.1 Rétablir les réglages usine 14 8.2 Indicateurs LED 14
8.2.1 LED AUX 14 8.2.2 LED Ethernet port 1 / port 2 15 8.2.3 LED SF 15 8.2.4 LED BF 16 8.2.5 LEDIO1... IO4 16
8.2.6 Indications LED spéciales 18
9 Données techniques 18
9.1 Fiches techniques 18 9.2 Manuel d'utilisation 18
10 Schéma d'encombrement 19 11 Maintenance, réparation et élimination 19 12 Homologations/normes 19
12.1.1 Aperçu 20 12.1.2 Europe / Déclaration de conformité CE 20
Licences et marques
Microsoft® et Internet Explorer® sont des marques enregistrées de Microsoft Corporation. Toutes les marques et raisons sociales utilisées sont soumises au copyright des sociétés respectives.
1 Remarques préliminaires
Données techniques, homologations, accessoires et informations supplémentaires :
www. ifm. com
1.1 Symboles utilisés
Action à faire
Retour d'information, résultat
Désignation d'une touche, d'un bouton ou d'un affichage
→ Réinitialisation

Remarque importante
Le non-respect peut aboutir à des dysfonctionnements ou perturbations.

Information
Remarque supplémentaire
Information importante!
Type et source de danger
Des dommages matériels sont possibles.
Actions à éviter. Mesures à prendre.
1.3 Copyright et marques
© Tous droits réservés par ifm electronic gmbh. Cette notice ne doit pas être reproduite ni exploitée, même par extraits, sans l'accord d'ifm electronic gmbh.
Tous les noms de produit, images, sociétés ou d'autres marques sont la propriété des titulaires.
2 Consignes de sécurité
- L'appareil décrit constitue un composant à intégrer dans un système.
- La sécurité du système est sous la responsabilité de l'installateur du système.
- L'installateur du système est tenu d'effectuer une évaluation des risques et de rédiger, sur la base de cette dernière, une documentation conforme à toutes les exigences prescrites par la loi et par les normes et de la fournir à l'opérateur et à l'utilisateur du système. Cette documentation doit contenir
toutes les informations et consignes de sécurité nécessaires à l'opérateur et à l'utilisateur et, le cas échéant, à tout personnel de service autorisé par l'instituteur du système.
- Lire ce document avant la mise en service du produit et le garder pendant le temps d'utilisation du produit.
- Le produit doit être approprié pour les applications et les conditions environnantes concernées sans aucune restriction d'utilisation.
- Utiliser le produit uniquement pour les applications pour lesquelles il a été prévu ( Fonctionnement et caractéristiques).
- Le non-respect des consignes ou des données techniques peut provoquer des dommages matériels et/ou corporels.
- Le fabricant n'assume aucune responsabilité ni garantie pour les conséquences d'une mauvaise utilisation ou de modifications apportées au produit par l'utilisateur.
- Le montage, le raccordement électrique, la mise en service, le fonctionnement et l'entretien du produit doivent être effectués par du personnel qualifié et autorisé par le responsable de l'installation.
- Assurer une protection efficace de l'appareil et des câbles contre l'endommagement.
- L'appareil ne doit pas être utilisé à proximité de stations d'essence, de dépôts de carburants, usines chimiques ou de lieux où il existe des risques de détonation.
- Ne pas transporter et stocker de gaz, liquides inflammables ou de substances explosives près de l'appareil.
- L'emploi de l'appareil peut affecter le bon fonctionnement des appareils électroniques qui ne sont pas correctement blindés.
- Mettre l'appareil hors tension à proximité des équipements médicaux.
- En cas de problèmes, contacter le fabricant de l'appareil correspondant.
- En raison des exigences relatives aux émissions de parasites electromagnétiques, l'appareil est destiné à l'utilisation dans les environnements industriels. L'appareil n'est pas approprié pour l'utilisation dans des lieux de résidence.
- Sécurité d'appareil : N'utiliser l'appareil qu'en intérieur.
3 Fonctionnement et caractéristiques
Une interface Ethernet TCP/IP ainsi que quatre voies pour le raccordement des appareils de terrain sont intégrées dans le boîtier de contrôle RFID DTE105. Chaque voie peut être utilisée pour le raccordement d'une ANTENNE RFID ou comme entrée/sorting selon CEI 61131.
L'appareil
- contrôle l'échange de données avec les antennes RFID ou avec les capteurs/actionneurs.
- communique avec le niveau API supérieur via le protocole ifm IoT Core.
- permet la configuration de l'appareil via un serveur web.
Exemples d'applications :
- Contrôle du flux de manutention dans des lignes de production
- Gestion de magasin grâce à une détection automatique des produits stockés
- Gestion de cuves, préparation de commandes ou traçabilité des produits fabriqués
3.1 Configuration via interface ethernet
10 Mbps et 100 Mbps - TCP/IP - Transport Control Protocol/Internet Protocol - protocole ifm IoT Core en format JSON - Fonctionnalité IT: serveur HTTP M12, paire torsadée
3.2 Antennes RFID
L'appareil supporte jusqu'à 4 têtes d'écriture/lecture RFID de type ANT41x / ANT51x / ANT60x d'ifm electronic gmbh.
Accessoires et informations supplémentaires: www.ifm.com
Boîtier de contrôle RFID DTE105 - Notice de montage

L'appareil est livré sans accessoires de montage ni de raccordement.

Contacter IFM electronic en cas d'un contenu incomplet ou endommagé de la fourniture.
5 Fonction
Informations détaillées sur le principe de fonctionnement du système dans le manuel produit sur: www.ifm.com
6.1 Distance de montage
En raison de l'échauffement interne de l'appareil, il faut observer une distance minimale de 10 mm par rapport à d'autres objets lors du montage.


6.2 Position de montage
La position de montage peut être libre.

Le montage à l'envers n'est pas permis dans un environnement humide.
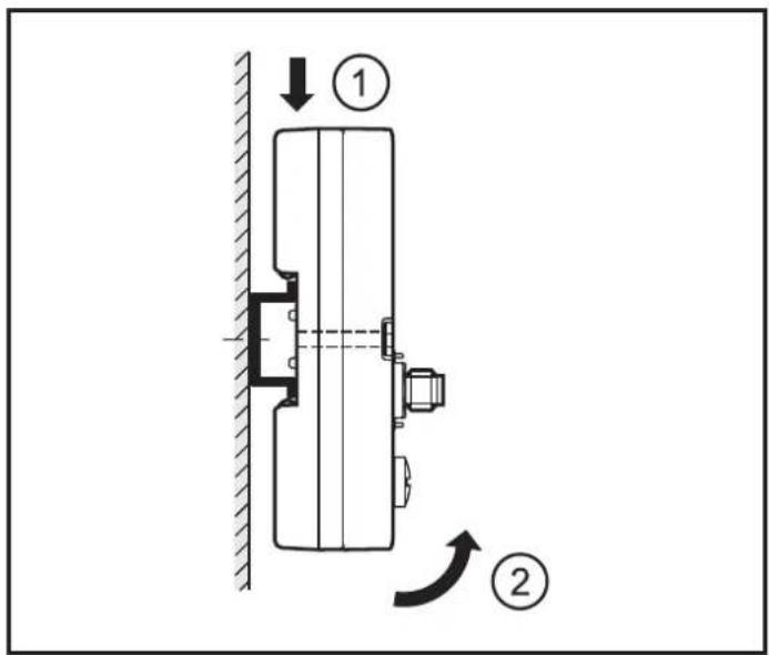
6.3.1 Montage sur rail DIN
L'appareil peut être monté sur les rails DIN de type NS35/15 ou NS35/7,5.


- Incliner l'appareil et positionner le clip de fixation sur l'arête supérieure du rail DIN.
- Pousser l'appareil vers le bas.
- En même temps, pivoter l'appareil en direction du rail DIN.
6.3.2 Démontage


- Pousser l'appareil vers le bas.
- En même temps, pivoter l'appareil vers le haut.
- Enlever l'appareil vers le haut.
6.3.3 Platine de montage
L'appareil peut être fixé sur une platine de montage avec 2 vis (M4 x 35 ou plus long).



Ce type de montage est recommandé en cas de vibrations et de chocs élevés.
7 Raccordement électrique

L'appareil doit être monté par un électricien habilité.
Avant le raccordement de l'appareil, mettre l'installation hors tension.
Respecter les règlements nationaux et internationaux relatifs à l'installation de matériel électrique. Assurer une alimentation en tension selon EN 50178, TBTS, TBTP.
- Brancher l'appareil selon le raccordement des broches indiqué ci-dessous. Ne pas dépasser la consommation totale de 3 A de l'appareil.
Information importante!
L'indice de protection indiqué dans la fiche technique est seulement garantie pour des connecteurs M12 suffisamment serrés.
L'appareil peut être endommagé par des connecteurs M12 insuffisamment serrés.
Visser les connecteurs M12 fermement à l'appareil.
Accessoires et informations supplémentaires: www.ifm.com
| Accessoires Rétérence ifm | |
| Bouchon E73004 | |
| Clé dynamométrique E70390 |
7.1 Alimentation en tension aux
Raccorder l'appareil à l'alimentation en courant via un câble de raccordement M12.

| Broche Affectation | |
| 1 24 V DC | |
| 2 non raccordé | |
| 3 0 V | |
| 4 non raccordé | |
| 5 non raccordé | |
7.2 Raccordement au réseau ethernet port 1 / port 2
Raccorder l'appareil à un appareil avec capacité Ethernet 10BASE-T ou 100BASE-TX via un câble de raccordement M12 approprié.
| 1 2 4 3 Remarque: cable deracCORDement blindénecessaire | Broche Affection |
| 1 TD+ | |
| 2 RD+ | |
| 3 TD- | |
| 4 RD- | |
7.2.1 Réglages usine des paramètres ethernet
Les valeurs suivantes sont préréglées à la livraison :
| Paramètre Réglage usine | |
| Adresse IP 192.168.0.79 | |
| Adresse passerelle 192.168.0.100 | |
| Masque de sous-réseau 255.255.255.0 | |
| Autonégociation On | |
| DHCP Off |
Le réglage peut être modifié via le serveur web de l'appareil.
7.3 Prises de raccordement io-1... io-4
Chaque prise de raccordement peut être utilisée comme entrée/sorting selon CEI 61131 ou pour le raccordement d'une tête d'écriture/lecture RFID. Le réglage des prises se fait via l'interface de commande de la connexion Ethernet TCP/IP de l'hôte Ethernet.

| Broche Affectation | |
| 1 | L+ |
| 2 entrée de | commutation (I/Q) |
| 3 | L- |
| 4 | sortie de commutation (C/Qo) ou entrée de commutation (C/Qi) |
| 5 non raccordé | |

Mettre le boîtier de contrôle hors tension avant de raccorder des appareils de terrain.

Noter que la consommation totale de l'appareil ne doit pas dépasser 3 A.
Vous trouvez les détails sur les modes de fonctionnement disponibles dans le manuel produit sur: www.ifm.com
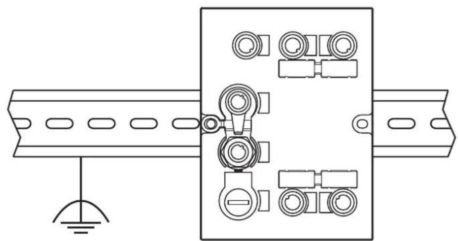
7.4 Raccordement de la terre fonctionnelle

Afin d'assurer un fonctionnement sans problèmes, l'appareil doit être raccordé au potentiel électrique de la terre.
7.4.1 Montage sur rail DIN
Le raccordement est effectué automatiquement via le rail DIN. Noter que le rail DIN doit être raccordé au potentiel électrique de la terre.

7.4.2 Platine de montage
Pour la fixation de l'appareil sur une platine de montage, le raccordement se fait via la vis de fixation gauche. Noter que la platine doit être raccordée au potentiel électrique de la terre.

8.1 Rétablir les réglages usine
Les paramètres Ethernet peuvent être remis aux réglages usine. Ainsi, procéder comme indiqué ci-dessous :
Déconnecter tous les câbles de l'appareil.
Appliquer un shunt électriquement conducteur entre les broches 1 et 3 sur la prise de raccordement IO-3. Raccorder l'appareil à la tension d'alimentation et attendre jusqu'à ce que la LED jaune sur AUX et IO-3 clignote à env. 8 Hz.
Mettre l'appareil hors tension et le raccorder de nouveau.
Les réglages usine sont rétablis.
8.2 Indicateurs LED
L'appareil affiche l'état actuel des interfaces via les LED d'état.
8.2.1 LED aux
| LED verte LED jaune Eta Remarque | |||
| Eteinte Eteinte | Aucune alimentation en tension | Uaux< 5 V | |
| Allumée | Clignote à 2 Hz | Alimentation en tension trop faible | 5 V ≤ Uaux≤ 18 V |
| Allumée Eteinte Alimentation en tension ok 18 V ≤ U | AUX≤ 36 V | ||
| Allumée | Clignote à 8 Hz | La mise à jour du firmware est en cours | Ne pasmettre l'appareil hors tension pendant la mise à jour du firmware |
8.2.2 Ports Ethernet LED 1 / LED 2
| LED verte | LED jaune État | Remarque | |
| Eteinte Eteinte | Aucune connexion à une autre interface Ethernet correspondante | Etat lien "No Link" | |
| Allumée Eteinte | La connexion à l'interface Ethernet est établie, aucun échange de données | Etat lien "Link", "No traffic" | |
| Allumée | Clignote sporadiquement | La connexion à l'interface Ethernet correspondante est établie, l'échange de données est en cours | Etat lien "Link", "Traffic" |
8.2.3 LED SF
| LED rouge | LED verte État | Remarque | |
| Eteinte Eteinte | Aucune alimentation en tension | Vérifier l'alimentation en tension | |
| Eteinte Allumée | Mode de fonctionnement normal | - | |
| Clignote Eteinte | Défaut au niveau de la voie | - Surcharge - Température - Défaut interne | |
| Allumée Eteinte | Défaut au niveau de l'appareil | - Sous-tension - Température | |
| Clignote Clignote Auto-test | Phase de démarrage de l'appareil | ||
8.2.4 LED BF
| LED rouge LED verte État Remarque | |||
| Eteinte Eteinte | Aucune alimentation en tension | Vérifier l'alimentation en tension | |
| Eteinte Clignote | La connexion avec le contrôleur hôte est établie, il n'y a pas d'échange de données | - | |
| Eteinte Allumée | La connexion avec le contrôleur hôte est établie, il y a un échange de données | - | |
| Clignote Eteinte | La connexion avec le contrôleur hôte est établie, la configuration n'est pas valable | Vérifier la configuration | |
| Allumée Eteinte | Aucune connexion avec le contrôleur hôte | Vérifier la connexion | |
| Clignote Clignote Auto-test | Phase de démarrage de l'appareil | ||
8.2.5 LED IO1... IO4
Les indications LED des prises de raccordement sont différentes pour chaque configuration de raccordement.
Utilisation comme entrée selon CEI 61131
| LED verte LED jaune Eta Remarque | |||
| Eteinte Eteinte Interface désactivée | L'interface n'était pas configurée via le contrôleur hôte | ||
| Allumée Eteinte | Interface activée, entrée au niveau bas (0 V) | - | |
| Allumée Allumée | Interface activée, entrée au niveau haut (24 V) | - | |
| Clignote à 8 Hz | Clignote à 8 Hz | Surcharge ou court-circuit - | |
Utilisation comme sortie selon CEI 61131
| LED verte LED jaune Eta Remarque | |||
| Eteinte Eteinte Interface désactivée | L'interface n'était pas configurée via le contrôleur hôte | ||
| Allumée Eteinte | Interface activée, sortie au niveau bas (0 V) | - | |
| Allumée Allumée | Interface activée, sortie au niveau haut (24 V) | - | |
| Clignote à 8 Hz | Clignote à 8 Hz | Surcharge ou court-circuit - | |
Utilisation avec des têtes d'écriture/de lecture RFID
| LED verte LED jaune Eta Remarque | |||
| Eteinte Eteinte Interface désactivée | L'interface n'était pas configurée via le contrôleur hôte | ||
| Clignote à 2 Hz | Eteinte | Interface activée, antenné désactivée | - |
| Allumée Eteinte | Interface activée, le TAG n'est pas dans le champ | - | |
| Allumée Allumée | Interface activée, le TAG est dans le champ | - | |
| Clignote à 8 Hz | Clignote à 8 Hz | Surcharge, court-circuit ou erreur de communication | - |
8.2.6 Indications LED appareil spéciales
| LED Etat Remarque | ||
| LED AUX verte allumée LED AUX jaune clignote à 8 Hz IO1...IO4 LED jaunes clignotent à 8 Hz | L'appareil se trouve en mode de service "système d'urgence démarré" | Une mise à jour duprogiciel est nécessaire et peut être effectue via le serveur web. |
| LED AUX verte allumée LED AUX jaune clignote à 8 Hz IO1...IO4 LED vertes clignotent à 8 Hz IO1...IO4 LED jaunes clignotent à 8 Hz | Erreur grave, l'appareil doit être returné | Erreur du matériel ou données permanentes dans l'appareil sont corrompues. |
| LED AUX verte allumée LED AUX jaune clignote à 8 Hz IO3 LED jaune clignote à 8 Hz | Rétablissement des réglages usine | - |
9.1 Fiches techniques
Des fiches techniques sont disponibles sur : www.ifm.com
9.2 Manuel d'utilisation
Le manuel produit est disponible sur: www.ifm.com


11 Maintenance, réparation et élimination
En cas de fonctionnement correct, il n'est pas nécessaire de prendre des mesures de maintenance et de réparation.
Faire réparer l'appareil uniquement par le fabricant. S'assurer d'une élimination écologique de l'appareil après son usage selon les règlements nationaux en vigueur. Dégager l'appareil de tout encrassement. Utiliser un nettoyant à vitres pour nettoyer les optiques. Ne pas ouvrir l'appareil.
12 Homologations/normes

Si l'homologation est accordée, le texte d'homologation des pays respectifs s'applique (→ 12 Homologations/normes).
Informations sur les homologations accordées : www.ifm.com
L'aperçu de l'état d'homologation d'un appareil est disponible sur Internet : www.ifm.com.
12.1.2 Europe / déclaration de conformité ce
ifm electronic gmbh déclare par la présente que l'équipement radio DTE105 correspond à la directive 2014/53/EU.
La déclaration de conformité CE est disponible sur Internet: www.ifm.com.
Notice Facile