E20730 - Kit de montage industriel IFM - Notice d'utilisation et mode d'emploi gratuit
Retrouvez gratuitement la notice de l'appareil E20730 IFM au format PDF.
| Caractéristiques techniques | Non spécifiées |
|---|---|
| Utilisation | Non spécifiée |
| Maintenance et réparation | Non spécifiée |
| Sécurité | Non spécifiée |
| Informations générales | Non spécifiées |
FOIRE AUX QUESTIONS - E20730 IFM
Questions des utilisateurs sur E20730 IFM
0 question sur cet appareil. Repondez a celles que vous connaissez ou posez la votre.
Poser une nouvelle question sur cet appareil
Téléchargez la notice de votre Kit de montage industriel au format PDF gratuitement ! Retrouvez votre notice E20730 - IFM et reprennez votre appareil électronique en main. Sur cette page sont publiés tous les documents nécessaires à l'utilisation de votre appareil E20730 de la marque IFM.
MODE D'EMPLOI E20730 IFM
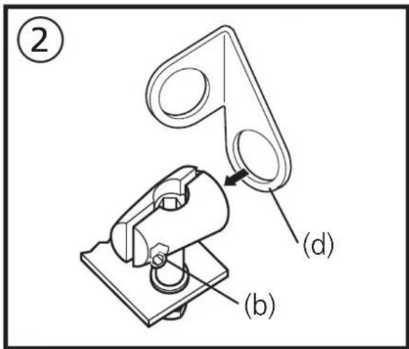
Monter les deux parties de la bride de fixation (a) provisoirement à l'aide de la vis (b) et de l'écrou (c) livrés.

Fixer l'équerre de fixation (d) et ensuite visser la vis (b) de façon que l'équerre puisse toujours être tournée.

Serrer la vis définitivement après avoir monté et aligné la cellule.
Notice Facile