Ultimate Gym 3000 - Équipement de fitness Klarfit - Notice d'utilisation et mode d'emploi gratuit
Retrouvez gratuitement la notice de l'appareil Ultimate Gym 3000 Klarfit au format PDF.
| Caractéristiques techniques | Appareil multifonction pour entraînement complet du corps, incluant des stations pour le développé couché, les tirages, les squats, et plus. |
|---|---|
| Dimensions | Dimensions compactes adaptées pour un usage domestique, facilitant le rangement. |
| Poids maximum supporté | Capacité de charge élevée, adaptée pour les utilisateurs jusqu'à un certain poids (à vérifier dans le manuel). |
| Utilisation | Conçu pour un usage domestique, idéal pour les entraînements de force et de cardio. |
| Maintenance | Vérifier régulièrement les câbles et les poulies, lubrifier les pièces mobiles si nécessaire. |
| Sécurité | Utiliser l'appareil sur une surface stable, suivre les instructions d'utilisation pour éviter les blessures. |
| Informations générales | Idéal pour les utilisateurs de tous niveaux, permet de varier les exercices pour un entraînement complet. |
FOIRE AUX QUESTIONS - Ultimate Gym 3000 Klarfit
Questions des utilisateurs sur Ultimate Gym 3000 Klarfit
0 question sur cet appareil. Repondez a celles que vous connaissez ou posez la votre.
Poser une nouvelle question sur cet appareil
Téléchargez la notice de votre Équipement de fitness au format PDF gratuitement ! Retrouvez votre notice Ultimate Gym 3000 - Klarfit et reprennez votre appareil électronique en main. Sur cette page sont publiés tous les documents nécessaires à l'utilisation de votre appareil Ultimate Gym 3000 de la marque Klarfit.
MODE D'EMPLOI Ultimate Gym 3000 Klarfit
Veuillez vérifier que les colis livrés sont bien au complet avant de commencer à assembler le produit. En cas d'emballage manquant, veuillez contacter notre service clientèle avant d'ouvrir les autres cartons
Toutes nos félicitations pour l'acquisition de ce nouvel appareil. Veuillez lire attentivement et respecter les instructions de ce mode d'emploi afin d'éviter des dommages. Le fabricant ne saurait être tenu pour responsable des dommages dus au non-respect des consignes de sécurité et à la mauvaise utilisation de l'appareil. Scannez le QR-Code pour accéder à la première version du mode d'emploi et à d'autres informations concernant le produit.

Sommaire
Consignes de sécurité 66
Composants - Aperçu 67
Listedespiecesdetachées68
Montage 78
Échauffement avant l'entraînement 90
Consignes d'entraînement 91
Fabricant:
Chal-Tec GmbH, Wallstraße 16, 10179 Berlin, Allemagne.
Importateur pour la grande bretagne :
Chal-Tec UK limited
Remarque : comme pour tous les appareils d'exercice comprenant des pièces mécaniques mobiles, il peut arriver que les vis de ce produit se desserrent en raison d'une utilisation fréquente. Nous recommandons donc de les contrôler régulièrement et, si nécessaire, de les serrer avec une clé appropriée. Nettoyez régulièrement votre appareil avec un chiffon humide pour en retarder la suie et la poussière.
- Nettoyez régulièrement l'appareil avec un chiffon propre pour conserver un aspect propre. L'utilisation de l'appareil en toute sécurité ne peut être garantie que si l'absence de dommages et le niveau d'usure sont régulièrement contrôlés (par exemple sur les poignées, les repose-pieds, la selle, etc.). Il est essentiel de remplacer les pièces endommagées de l'appareil et de réutiliser l'appareil seulement après réparation.
- Vérifiez régulièrement que les vis et les écrous sont correctement fixés.
- Lubrifiez les pièces mobiles régulièrement.
Lisez attentivement le mode d'emploi avant d'utiliser l'appareil et conservez-le pour référence ultérieure. Les caractéristiques du produit peuvent différer légèrement des illustrations. Le fabricant est susceptible d'effectuer des modifications sans préavis.
- Conservéz le mode d'emploi en lieu sûr afin de pouvoir vous y référer à tout moment.
- Assembliez l'appareil uniquement après avoir lu entierement ce mode d'emploi. La sécurité et l'efficacité de l'appareil ne peuvent être garanties que si l'appareil a été correctement monté, entretenu et utilisé. Il est de votre responsabilité de vous assurer que tous les utilisateurs de l'appareil sont informés des averissements et des précautions d'utilisation.
L'appareil doit être placé sur une surface stable et plane pour pouvoir l'utiliser en toute sécurité. Protegez le sol avec un tapis. Ne utilisez pas l'appareil dans des environnements humides tels que des piscines, etc. La distance de sécurité autour de l'appareil doit être d'au moins 0,6 mètre.
- ent mettre en danger votre santé et leur sécurité en utilisant l'appareil ou vous empêcher de l'utiliser correctement. Les conseils de ce médecin sont essentiels si vous prenez des médicaments qui affectent toute rythmie cardiaque, voire tension artérielle ou voire taux de cholestérol.
- ythmecardiaque irrégulier, essoufflement extrême, vertiges ou nausée. Si vous rencontrez l'une de ces conditions, consultez immédiatement un médecin avant de continuer à vous entraîner.
- Ne faites pas d'exercice directement après les repas.
L'appareil ne doit être assemblé que par des adultes. Tenez les enfants et les animaux domestiques éloignés de l'appareil.
L'appareil ne doit être utilisé que à domicile.
L'appareil ne convient pas à un usage thérapeutique. Il ne peut être utilisé que pour les exercices indiqués dans le manuel.
- Portez des vêtements et des chaussures d'entraîne raient se coincer dans l'appareil de même que les vêtements qui pourraient restreindre votre liberté de mouvement.
- Gardez votre dos droit pendant l'entraînement.
- Avant chaque utilisation, vérifie que les poignées, la selle et les écrous et boulons sont bien serrés.
- Faites attention à la position maximale régulable des piè être un risque.
- Utilisez l'appareil uniquement comme indiqué. Si vous remarquez des piè édiatement. N'utilisez pas l'appareil tant que le problème n'est pas résolu.
- Soyez prudent lorsque vous soulevez ou déplacez l'appareil pour ne pas vous blesser au dos. Utilisez toujours des techniques de levage qui préservent le dos et demandez l'aide d'une autre personne si nécessaire.
Tous les équipements mobiles (pédales, poignées, selles, etc.) doit être entretenus chaque semaine. Vérifiez-les avant chaque utilisation. Si quelque chose est cassé ou desserré, réparez ou fixez la pièce correspondante immédiatement. Ne poursuivez pas l'utilisation de l'appareil tant que vous n'avez pas restauré le bon état initial.
- Soyez attentif au système de roue libre, sa défaillance représente un risque sérieux.
Tenez le câble d'alimentation à l'écart des sources de chaleur.
- N'insérez aucun objet dans les ouvertures de l'appareil.
- Éteignez l'appareil et débranchez le câ z les surfaces avec un nettoyant doux et un chiffon humide. N'utilisez jamais de solvants.
N'utilisez pas l'appareil dans des endroits non tempérés, tels qu'un garage, une véranda, une salle de bain, un abri de voiture ou à l'extérieur.
- N'utilisez l'appareil que de la manière décrite dans le mode d'emploi.
- èces d'origine) peuvent mettre en danger l'utilisateur de l'appareil.
Le volant d'inertie devient très chaud pendant l'utilisation.
- Activez le verrouillage des touches si vous n'utilisez pas l'appareil.
- Les enfants à partir de 8 ans et les personnes handicapées mentales et physiques ne peuvent utiliser l'appareil que s'ils ont été familiarisés avec les fonctions et les consignes de sécurité par un responsable responsable.
Assurez-vous que les enfants ne jouent pas avec l'appareil.
- Avant utilisation, vérifier la tension sur la plaque signalétique de l'appareil. Ne branchez l'appareil qu'à des prises correspondant à la tension de l'appareil.
Remarque : poids maximal de l'utilisateur : 120 kg.

| N° Description Qté. Tableau | |||
| 1 Tube de base intermédiaire 1 | |||
| 2 Tube de base arrêté 1 | |||
| 3 Tube de base avant 1 | |||
| 4 Console supérieure 1 | |||
| 5 Console verticale 1 | |||
| 6 Support de siège 1 | |||
| 7 | Console pour cale-pieds | 1 | |
| 8 | Tube renforcé | 1 | |
| 9 | Console des bras 1 | ||
| N° Description Qté. Tableau | |||
| 10 Partie principale de la presse à pectoraux 1 | |||
| 11 Bras gauche 1 | |||
| 12 Bras droit 1 | |||
| 13 Console en T 1 | |||
| 14 Barre de traction 1 | |||
| 15 Poignée de flexion 1 | |||
| 16 Poignée pour main | 4 | ||
| 17 Plaque métallique | 2 | ||
| N° Description Qté. Tableau | |||
| 18 Rouleau en mousse Ø370mm 1 | |||
| 19 Rouleau en mousse Ø300mm 1 | |||
| 20 Rouleau en mousse Ø310mm 2 | |||
| 21 Goupille de sélection du poids 1 | |||
| 22 Barre chromée (1820 mm) 2 | |||
| 23 Grille en acler 4 | |||
| 24 Poids supérieur 1 | |||
| N° Description Qté. Tableau | |||
| 25 Manchon de poids 1 | |||
| 26 Tige Ø10mm 1 | |||
| 27 Grande rondelle Ø45mm 1 | |||
| 28 Coussinet en caoutchouc 2 | |||
| 29 Poids 9 | |||
| 30 Pommeau 1 | |||
| 31 VIs en « T » 1 | |||
| 32 Support de poulie 2 | |||
| N° Description Qté. Tableau | |||
| 33 Attache de poulie 1 | |||
| 34 Corde de poulie 11 | |||
| 35 Plaquette d'ajustement 2 | |||
| 36 Poulie Ø 12 | |||
| 37 Manchon de guildage des pouilles 6 | |||
| 38 Mousqueton 5 | |||
| 39 Corde de poulle 21 | |||
| 40 | Chaine | 2 | |
| N° Description Qté. Tableau | ||
| 41 Pommeau filété 1 | ||
| 42 Manchon en acier 6 | ||
| 43 Rembourrage en mousse (250 mm) 2 | ||
| 44 Corde de poulle 3 1 | ||
| 45 Rembourrage en mousse (160 mm) 4 | ||
| 46 Rembourrage en mousse (140 mm) 6 | ||
| 47 Amortisseur en PVC (Ø30 x 7mm) 4 | ||
| 48 Plaque renforcée (100 mm) 3 |
| N° Description Qté. Tableau | ||
| 49 Plaque renforcée (130 mm) 1 | ||
| 50 Amortisseur en caoutchouc 1 | ||
| 51 Support de poulie 1 | ||
| 52 Bras gauche (traction) 1 | ||
| 53 Bras droit (traction) 1 | ||
| 54 Long tube en mousse | ||
| 55 Bras gauche (pompes) |
| N° Description Qté. Tableau | ||
| 56 Bras droit (pompes) | ||
| 57 Siège | ||
| 58 Dossier | ||
| 59 Tube vertical | ||
| 60 Pupitre rembourse | ||
| 61 Petit coussin arrêté | ||
| 62 Petit pupitre rembourse | ||
| 63 Banc d'abdominaux rembourse |
Matériel de montage
| N° Description Qté. Tableau | ||
| 64 Support du banc d'abdominaux | ||
| 65 Crochet | ||
| 66 Fixation ronde | ||
| 67 Goupille de blocage 10x85 mm | ||
| 68 Goupille de blocage 10x150 mm |
| N° Description Qté. Tableau | ||
| 69 M12 x 145 1 | ||
| 70 M12 x 85 2 | ||
| 71 M10 x 85 6 | ||
| 72 M10 x 70 1 | ||
| 73 M10 x 60 2 | ||
| 74 M10 x 50 10 | ||
| 75 M10 x 45 3 | ||
| 76 M10 x 40 3 | ||
| 77 M10 x 35 2 | ||
| 78 M10 x 20 8 | ||
| 79 M8 x 60 2 | ||
| 80 M8 x 45 4 | ||
| 81 M8 x 20 6 | ||
| 82 M6 x 16 2 | ||
| 83 M8 x 60 4 | ||
| 84 Goupille de blocage 1 | ||
| 85 Pommeau 1 | ||
| 86 Petites haltères |
Montage

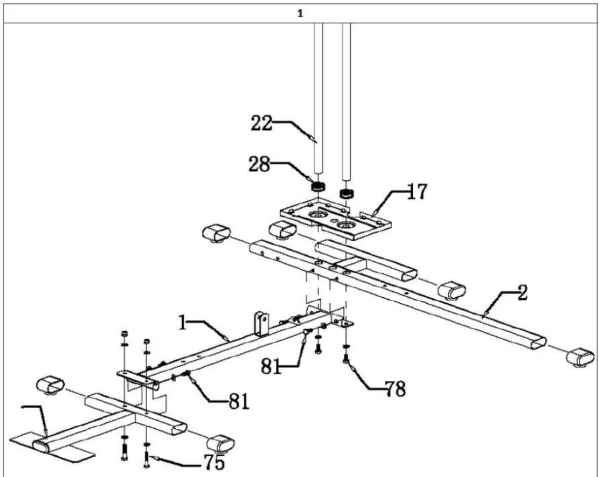
Fixer le tube de base intermédiaire (1) au tube de base arrière (2) et aux barres chromées (22). Utiliser les vis à six pans creux M10 x 20 (78 - 2 kits), des rondelles et des écrous.
Monter le tube de base intermédiaire sur le tube de base avant (3). Utiliser les vis à six pans creux M10 x 20 (81 - 2 kits) et des rondelles.
Faire passer les poids (24,29), comme illustré ci-contre, sur les barres chromées (22).
Monter la console verticale (5) sur le tube de base intermédiaire (1). Pour cela, utiliser les vis M10 x 50 (74 - 2 kits). Puis monter la console supérieure (4) sur la console verticale (5) avec les plaques renforcées (48) et des vis M10 x 50 (74 - 2 kits). Faire passer les barres chromées (22) dans le fraisage adapté de la console supérieure (4) et fixer avec des vis M10 x 20 (78 - 2 kits). Monter le support de siège (6) et le tube renforcé (8) sur la console verticale (5) avec les vis M10 x 50 (74 - 2 kits) de même que les vis M10 x 45 (75 - 1 kit), des rondelles et des écrous.
Monter la console en forme de « T » (13) et le support de poulie (51) sur la console verticale avec des vis M10 x 50 (74), des rondelles et des écrous.
Monter la presse à pectoraux (10) sur la console supérieure (4) avec des vis M12 x 145 (67), le manchon en acier (42), des rondelles et des écrous.
Monter le support de poulie (32) à la tige/support (51) avec des vis M10 x 60 (73), des rondelles et des écrous.
Monter la vis en forme de T (31) sur la console en forme de T (13) avec des vis M10 x 40 (76), des rondelles et des écrous.


7 Monter le dossier rembourré (58) sur la console verticale (5) avec des vis M8 x 45 (80 - 1 kit). Monter le siège sur le support de siège (6) avec un autre kit de vis M8 x 45 (80). Monter à présent le pupitre rembourré (60) sur la console (9) avec des vis M8 x 20 (63 - 1 set).
Monter le bras gauche et droit (traction) (52, 53) au tube vertical (59) - avec les vis M10 x 50 (74 - 2 kits) de même que des rondelles et des écrous. Ajouter les poignées (16) aux « bras » (55, 56) - avec les vis M10 x 50 (74 - 2 sets) de même que des rondelles et des écrous. Monter la structure du banc d'abdominaux (64) à la colonne verticale (59) - utiliser ici la goupille de blocage pour la fixer (84).



Contrôles
Vérifier que toutes les vis et tous les raccords sont bien fixés. Resserrer les vis le cas échéant. S'assurer que l'appareil est suffisamment à distance d'autres objets comme des meubles, des appareils etc. Se familiariser avec l'appareil et démarrer, pour commencer, avec un entraînement « léger »
Échauffement avant l'entrajinement

Si vous ne vous sentez pas bien en effectuant certains mouvements ou que vous ressentez des douleurs, n'effectuez pas cet exercice et convenez avec votre médecin ou votre coach de fitness d'une méthode d'échauffement spécifique que.
Chaque mouvement doit en être répété plusieurs fois (à droite et à gauche) afin que vous puissiez commencer le cardio-training de façon délicate.
Prenez environ 5 minutes pour effectuer la série d'entraînement klarft suivante :
- Inclinez la tête sur le côté, en alternant lentement de droite à gauche. Puis mobilisez les épaules (mouvements circulaires et des haussements d'épaules).
- Tournez les hanches en gardant les bras étirés. Les pieds ne doivent pas rester collés au sol (les chevilles accompagnant la rotation du corps).
- Pliez vos hanches, un bras tendu vers le haut. Restez dans cette position une seconde de chaque côté.
- Pliez vos hanches, les deux bras joints vers le haut. Encore une fois, maintenez cette position de chaque côté. L'exercice est un peu plus intense car le deuxième bras est également tendu.
- Tenez-vous sur une jambe et tenez le cou-de-pied avec votre main. Cela vous fait mobiliser votre cheville et étirer légèrement la cuisse. Si nécessaire, appuyez-vous pour garder votre équilibre. Restez sur une jambe et tournez la cheville en cercle dans les deux sens.
- Tenez une jambe en avant et reposez le haut de votre corps sur votre cuisse. En plus des genoux et des chevilles, vous mobilisez également les muscles à l’arrière du mollet.
- Répétez l'exercice du point 6 mais en faisant maintenant un grand pas en avant. Le mouvement s'intensifie maintenant.
- Penchez-vous vers l'avant en gardant les jambes droites et touchez alternativement le pied opposé avec votre main. Terminez en vous laissant pendre vers le bas contracté et tendu.
| Rameur assis (trapèze, grand dorsal, muscle érecteur du rachis) S'asseoir en fléchissant légèrement les jambes et appuyer les pieds contre le tube de base avant. Saisir la poignée et la tirer vers soi. Revenir lentement à la position initiale. | Soulèvement des genoux (psoas iliaque, abdominaux) S'all longer devant la station de gym en fléchissant légèrement les jambes. Bloquer la poignée entre les pieds. Contractor les doigts de pied. Tendre à présent les jambes vers le haut et revenir lentement à la position initiale. | Flexion début des avant-bras (biceps, fléchisseurs de l'avant-bras) Se tener début devant la station de gym. Garder les coudes près du corps. Tirer le plus possible sur la poignée vers le haut. |
| Flexion assise des avant-bras (biceps, fléchisseurs de l'avant-bras) S'asseoir sur le siège, se pencher vers l'avant et poser le coude sur le pupitre. Tirer vers le haut sur la poignée en dessinant un arc de cercle. | Flexion des avant-bras (prise inversée) (fléchisseurs de l'avant-bras, biceps) Le procédé est le même que celui de la flexion assise des avant-bras, à la diffé- rence près que la prise est effectué par le haut, de sorte à mobiliser plus particu- lièrement les muscles de l'avant-bras. | Flexion des poignets (fléchisseurs de l'avant-bras) Poser l'avant-bras sur le rembourse en mousse, et effectuer une flexion des poignets. |
| Flexion des jambes (ischio-jambiers) Cet exercice s'effectue avec une seule jambe à la fois. Placer les rouleaux dans une position adéquate, passer le bas de la jambe sous le rouleau inférieur et appuyer le genou contre le rouleau supérieur en contre-appui. Fléchir la jambe. | Extension des jambes (quadriceps) Coincer les rouleaux supérieur sous les genoux et les pieds sous les rouleaux inférieurs. Tendre lentement les pieds. | Enroulement vertébral (abdominaux, muscle dentélé antérieur, grand dorsal) Fixer les rouleaux au niveau du trou le plus bas. Et passer les jambes entre les rouleaux puis empoyer la barre de traction, en dirigeant les bras parallèment au corps. Tirer vers l'avant sur la barre de traction et vers le bas le plus loin possible. |
| Tirage bras tendus (grand dorsal, muscle dentele antérieur, pectoraux) S'incliner en arrêté sur le siège et empaigner la barre de traction. Tirer dessus vers le bas en tendant les bras. | Développè (assis) Régler la hauteur du siècle de sorte à ce que les poignées soient à hauteur de poitrine. Pousser. | Butterfly (pectoraux) S'asseoir droit en tenant les arrêtère-bras à l'horizontal et les avant-bras contre les rouleurs. Pousser avec les coudes et non avec les mains ! |
Notice Facile