Ultimate Gym 3000 - Attrezzatura fitness Klarfit - Manuale utente e istruzioni gratuiti
Trova gratuitamente il manuale del dispositivo Ultimate Gym 3000 Klarfit in formato PDF.
Domande degli utenti su Ultimate Gym 3000 Klarfit
0 domanda su questo apparecchio. Rispondi a quelle che conosci o fai la tua.
Fai una nuova domanda su questo apparecchio
Scarica le istruzioni per il tuo Attrezzatura fitness in formato PDF gratuitamente! Trova il tuo manuale Ultimate Gym 3000 - Klarfit e riprendi in mano il tuo dispositivo elettronico. In questa pagina sono pubblicati tutti i documenti necessari per l'utilizzo del tuo dispositivo. Ultimate Gym 3000 del marchio Klarfit.
MANUALE UTENTE Ultimate Gym 3000 Klarfit
Fitness multi-stazione
La preghiamo di controllare che i colli segnati siano completi prima di procedere al montaggio del prodotto. Se dovesse mancare un collo, rivolgersi al servizio di assistenza clienti prima di aprire i pacchi.
PACKLIST | CARTON LIST | LISTA DE PAQUETES | LISTED EMBALLAGE | DISTINCT AIBBALLAGGIO
| 10030177 (black) 10030178 (white) | |||||||
| Karton Carton Cartón Carton Cartone | Stk. Pc. Uds. Qté Pz. | Abmessungen (cm) Diemnsions (cm) Dimensiones (cm) Dimensions (cm) Dimensioni (cm) | Gewicht (kg) Weight (kg) Peso (kg) Poids (kg) Peso (kg) | SKU | EAN | SKU | EAN |
| A 1pc | 195,5*4 | 0*15 29,7 70000762 | 40606561585 | 82 70000767 | 4060656158636 | ||
| B 1pc | 13,5*5 | 1*18 22,05 70000763 | 3 40606561585 | 599 70000768 | 4060656158643 | ||
| C 1pc | 127*36 | 21 25,25 70000764 | 40606561586 | 05 70000769 | 4060656158650 | ||
| D 1pc | 39,5*26 | *19,5 | 23,3 | 0000765 4060 | 656158612 700 | 00770 4060656158 | 667 |
| E | 1pc | 39,5*24,5*19,5 | 24,5 | 70000766 | 4060656158629 | 70000771 | 4060656158674 |
| F | 1 | 37,5*20,5*19,5 | 18,2 | 70000779 | 4060656158933 | 70000785 | 4060656158995 |
| Karton A|Carton A|Cartón A|Carton A|Cartone A | ||
| Product colour black: SKU: 70000762 / EAN: 4060656158582 Product colour white: SKU: 70000767 / EAN: 4060656158636 | ||
| 1. 1PC | 2. 1PC | 5. 1PC |
| 23. 4PCS | 22. 2PCS | 52. 1PC |
| 53. 1PC | 57. 1PC | 60. 1PC |
| 58. 1PC | 59. 1PC | |
| Karton B | Carton B | Cartón B | Carton B | Cartone B | ||||||
| Product colour black: SKU: 70000763 / EAN: 4060656158599 Product colour white: SKU: 70000768 / EAN: 4060656158643 | ||||||
| 3. 1PC | 4. 1PC | 6. 2PCS | ||||
| 8. 1PC | 10. 1PC | 11. 1PC | ||||
| 12. 1PC | 14. 1PC | 17. 2PCS | ||||
| 21. 1PC | 51. 1PC | 34. 1PC | ||||
| 7. 1PC | 9. 1PC | 13. 1PC | ||||
| 15. 1PC | 16. 4PCS | 18. 1PC | ||||
| 19. 1PC | 20. 2PCS | 32. 2PCS | ||||
| 33. 1PC | 48. 3PCS | 54. 1PC | ||||
| 55. 1PC | 56. 1PC | 49. 1PC | 64. 1PC | |||
| 28. 2PCS | 31. 1PC | 37. 4PCS | 42. 6PCS | 38. 5PCS | 66. 2PCS | |
| 47. 2PCS | 65. 4PCS | 41. 1PC | 36. 12PCS | 27. 1PC | 30. 1PC | |
| 67. 2PCS | 68. 1PC | 40. 2PCS | 85. 1PC | 86. 1PC | 87. 2PCS | |
| 88. 6PCS | 62. 2PCS | 35. 2PCS | ||||
| Karton C|Carton C|Cartón C|Carton C|Cartone C | |||
| Product colour black: SKU: 70000764 / EAN: 4060656158605 Product colour white: SKU: 70000769 / EAN: 4060656158650 | |||
| 20. 2PCS | 27. 1PC | 28. 2PCS | 31. 1PC |
| 36. 14PCS | 37. 6PCS | 38. 5PCS | 40. 2PCS |
| 41. 2PCS | 42. 6PCS | 45. 4PCS (FOAM) | 46. 1PC |
| 47. 3PCS | 52. 2PC | 53. 16PCS | |
| Karton D|Carton D|Cartón D|Carton D|Cartone D | |
| Product colour black: SKU: 70000765 / EAN: 4060656158612 Product colour white: SKU: 70000770 / EAN: 4060656158667 | |
| 29. 5PCS | |
| Karton E | Carton E | Cartón E | Carton E | Cartone E | ||
| Product colour black: SKU: 70000766 / EAN: 4060656158629 Product colour white: SKU: 70000771 / EAN: 4060656158674 | ||
| 24. 1PC | 29. 4PCS | 25. 1PC |
| 26. 1PC | ||
La ringraziamo per aver acquistato il disposativo. La preghiamento di leggere attentamente le seguenti istruzioni per l'uso e di seguirle per evitare possibili danni tecnici. Non ci assumiamo alcuna responsabilità per anni scaturiti da una mancata osservazione delle avvertenze di sicurezza e da un uso improprio del disposativo. Scansionare il codice QR seguite, per accedere al manuale d'uso più attuale e per ricevere informazioni sul prodotto.

INDICE
Avvertenze di sicurezza 122
Panorama dei componenti 123
Liadei singoli componenti 124
Assemblaggio 134
Riscaldamento prima dell'allenamento 146
Manuale per l'allenamento 147
Importatore per la Gran Bretagna:
Chal-Tec UK limited
PULIZIA E MANUTENZIONE
Avvertenza: come per tutti gli attrezzi da allenamento con componenti meccaniche mobili,anche in quello prodotto cui capitare che le viti si allentino a causa del frequente utilizzo. Consigliamo di controllare regolarmente le viti e di stringerie con un utensile adatto laddove necessario. Pulire regolarmente il dispositivo con un panno umido per rimuovere sudore e polvere delle superfici.
- Pulire regolarmente il dispositorio con un panno per mantenere un aspetto pulito.
L'utilizzo sicuro del dispositivo cui siere assere garantito solo se viene controllato regolarmente per eventuali danni o segni di usura (ad es. su impugnature, pedali, sella, ecc.). è essenziale sostituire parti danneggiata e proseguire con l'utilizzo solo a riparazione completeness.
Controllare regolarmente che dadi e viti siano stretti saldamente. - Lubricare regolarmente i componenti mobili.
AVVERTENZE DI SICUREZZA
Leggere attendamente tutto il manuale prima di procedere all'uso del dispositivo e conservarlo per future consultagioni. Le caratteristica del prodotto possono essere leggermente diverse da quale rappresentate nelle immagini. Il produttore si riserva il diritto di effettuare modifiche nella preavviso.
- Conservare il manuale d'uso in un luogo sicuro, in modo da poterlo consultare in agli momento.
Procedere al montaggio del dispositivo solo dopo aver letto l'intero manuale d'uso. La sicurezza e l'efficacia del dispositivo sono garantite solo in caso di montaggio corretto e manutenzione a regola d'arte e in un contesto di utilizzo appropriato. É responsabilità dell'acquirente garantire che tutti gli utilizzatori del dispositivo siano informati riguardo alle avvertenze di sicurezza e alle misure a cui è necessario prestare attenzione. - Il dispositorio deve essere posizionato sua una superficie piana e stabile per poter essere utilizzato in sicurezza. Per proteggere il pavimento, utilizzato un tappetino. Non utilizzato il dispositorio in ambienti umidi, ad es. vicino a piscine, ecc. La distance di sicurezza intorno al dispositorio deve essere di almeno 0,6 metri.
- Prima di iniziare il programma diallenamento, consultare assolutamente un medico, per assicurarsi di non averere problemi fisici o di salute che potrebbero rappresentare un rischio per il vosto benessere o la vostra sicurezzaattraverso l'uso del dispositivo o che potrebbero impedire il corretto utilizzo del dispositivo. Il parere del medico è di importantza vitale se si assumono medicinali che influscono sul battito cardiaco, sulla pressione sanguigna o sul tasso di colesterolo.
- Prestate attenzione ai segnali del vostro corpo. UnAllenamento errato oecessivo poe essere dannoso per la salute. Interrompere l'allenamento se dovesse comparireuno dei seguenti sintomi: dolore, sensazione di pressione sul petto, battito cardiaco irregolare, estrema mancanza di fiato, giramenti di testa o nausea. Se uno di questi sintomi dovesse comparire, consultare assolutamente un medico prima di procedere con l'allenamento.
Non allenarsi subito dopo i pasti.
Il dispositivo cui esere montato solo da persone adulte. Tenere i bambini e gli animali domestici lontano dal disposito. - Il dispositorio può essere utilizzato esclusivamente in ambienti casalinghi.
- Il dispositorio non è adatto a usi terapeutici. Puo essere utilizzato solo per gli esercizi descritti nel manuale.
- Indossare un abbligamento adeguato e scarpe da allenamento durante l'utilizzo del disposativo. Evitare abiti larghi che potrebbero restare impigliati nel disposativo o indumenti che limitano la libertà di movimento.
- Tenere la schiena diritta durante l'allenamento.
- Prima di ogni utilizzato, controllare che impugnature, sella, dadi e bulloni siano avvitati saldamente.
- Rispettare la posizione massima per i componenti del dispositivo regolabili e non superare mai il segno "Stop", in quanto potrebbero insorgere rischi.
- Utilizzare il disposativo solo secondo le modalità descritte. Se durante il montaggio o il controllo dovesto notare componenti difettò o udire strani rumori durante l'utilizzo, interrompete immediatamente l'utilizzo. Tornare ad utilizzato il disposativo solo dopo aver risolto il problema.
- Quando si solleva o si sposta il dispositorio, fare attenzione a non farsi male alla schiena. Utilizzare sempre una tecnia di sollevamento appropriata e, in caso, chiedere l'aiuto di un'altra persona.
- Tutti i componenti mobili (ad es. pedali, impugnaturia, sella, ecc.) devono essere manutenuti settimanalmente. Controllarli prima di agli utilizzato. Se qualcosa dovesse essere allentato o rotto, procedere immediatamente alla riparazione o al fissaggio. Utilizzare il dispositivo solo dopo aver ristabilito la condizione ottimale.
- Fare attenzione alla mancanza di ruota libera, che rappresenta un serio rischio.
- Tenere il cavo di alimentazione lontano da fonti di calore.
- Non inseire oggetti nelle aperture del disposizio.
- Prima di spostare o pulire il disposativo, spegnerlo e staccare la spina. Sfregare le superfici con un detergente delicato e un panno umido. Non utilizzato solventi.
Nonutilizzare il dispositivo in luoghi non temperati, come ad es. garage, verande, bagni, carport o all'aperto.
Utilizzare il dispositivo esclusivamente secondo le modalità descritte nel manuale d'uso. - Una riparazione errata e modifiche strutturali (ad es. la rimozione o sostituzione di parti originali) possono mettere in pericolò l'utilizzatore del disposivo.
- Il volano diventa estremamente caldo durante l'utilizzo.
- Attivare il blocco tasti quando non si utilizes il dispositivo.
Bambini a partire da 8 anni e persone con limitate capacità fisiche e psichiche sono utilizzare il dispositivo solo se sono stati instruiti in modo esaustivo da una persona responsable del loro controllo sulle funzioni e sulle procedure di sicurezza. - Assicurarsi che i bambini non giochino con il disposizione.
- Prima dell'utilizzo, controllare la tensione sulla targhetta del dispositivo. Collegare il dispositivo solo a prese elettriche con tensione corrispondente.
Avvertenza: peso massimo dell'utente: 120 kg.

| N° Nome Pz. Immagine | ||
| 1 Tubo base centrale 1 | ||
| 2 Tubo base posteriore 1 | ||
| 3 Tubo base anteriore 1 | ||
| 4 Console superiore 1 | ||
| 5 Console verticale 1 | ||
| 6 Supporto seduta 1 | ||
| 7 Console per estensore per gambe 1 | ||
| 8 Tuborinforzato | 1 | |
| 9 Braccio console | 1 | |
| N° Nome Pz. Imagine | ||
| 10 Componente principale pressa pettorale 1 | ||
| 11 Braccio sinistro 1 | ||
| 12 Braccio destro 1 | ||
| 13 Console a T 1 | ||
| 14 Impugnatura lat machine 1 | ||
| 15 Impugnatura curl 1 | ||
| 16 Appoggio mani 4 | ||
| 17 Piasta in acclaio 2 | ||
| 18 Tubo in espanso Ø370mm 1 | ||
| 19 Tubo in espanso Ø300mm 1 | ||
| 20 Tubo in espanso Ø310mm 2 | ||
| 21 Perno peso 1 | ||
| 22 Tubi cromati (1820 mm) 2 | ||
| 23 Rete di accialo 4 | ||
| 24 Pesi superlorl 1 | ||
| 25 Manicotto peso 1 | ||
| 26 Perno Ø10mm 1 | ||
| 27 Rondella grande Ø45mm 1 | ||
| 28 Cuscinetti in gomma 2 | ||
| 29 Peso 9 | ||
| 30 Ruota dentata 1 | ||
| 31 Vite "T" 1 | ||
| 32 Supporto paranco 2 | ||
| 33 Morsetto paranco 1 | ||
| 34 Fun di trazione 1 1 | ||
| 35 Piastra di regolazione 2 | ||
| 36 Paranco Ø 12 | ||
| 37 Boccola di passaggio paranco 6 | ||
| 38 Moschettone 5 | ||
| 39 Fun di trazione 2 1 | ||
| 40 Catena 2 | ||
| 41 Ruota dentata filettata (M16) 1 | ||
| 42 Boccola acciaio 6 | ||
| 43 Imbottura in espanso (250 mm) 2 | ||
| 44 Fun di trazione 3 1 | ||
| 45 Imbottura in espanso (160 mm) 4 | ||
| 46 Imbottura in espanso (140 mm) 6 | ||
| 47 Ammortizzatore PVC (Ø30 x 7mm) 4 | ||
| 48 Pannello rinforzato (100 mm) 3 |
| N° Nome Pz. Imagine | |||
| 49 Pannello rinforzato (130 mm) 1 | |||
| 50 Ammortizzatore gomma 1 | |||
| 51 Montatura paranco 1 | |||
| 52 Braccio sinistro (pull up) 1 | |||
| 53 Braccio destro (pull up) 1 | |||
| 54 Tubo in espanso lungo | |||
| 55 Braccio sinistro (pull up) | |||
| N° Nome Pz. Imagine | ||
| 56 Bracclo destro (pull up) | ||
| 57 Seduta | ||
| 58 Schienale | ||
| 59 Tuo verticale | ||
| 60 Bracciolo imbottito | ||
| 61 Piccola imbottitura posteriore | ||
| 62 Piccolo bracciolo imbottito | ||
| 63 Imbottitura panca per sit-up |
Montagematerial
| N° Nome Pz. Imagine | |||
| 64 Telaio panca per sit-up | |||
| 65 Gancio | |||
| 66 Supporto rotondo | |||
| 67 Perno di bloccaggio 10 x 85 mm | |||
| 68 Perno di bloccaggio 10 x 150 mm | |||
| N° Nome Pz. Immagine | ||
| 69 M12 x 145 1 | ||
| 70 M12 x 85 2 | ||
| 71 M10 x 85 6 | ||
| 72 M10 x 70 1 | ||
| 73 M10 x 60 2 | ||
| 74 M10 x 50 10 | ||
| N° Nome Pz. Imagine | ||
| 75 M10 x 45 3 | ||
| 76 M10 x 40 3 | ||
| 77 M10 x 35 2 | ||
| 78 M10 x 20 8 | ||
| 79 M8 x 60 2 | ||
| 80 M8 x 45 4 | ||
| 81 M8 x 20 6 | ||
| 82 M6 x 16 2 | ||
| 83 M8 x 60 4 | ||
| 84 Perno di sicurezza 1 | ||
| 85 Pomello 1 | ||
| 86 Manubri |

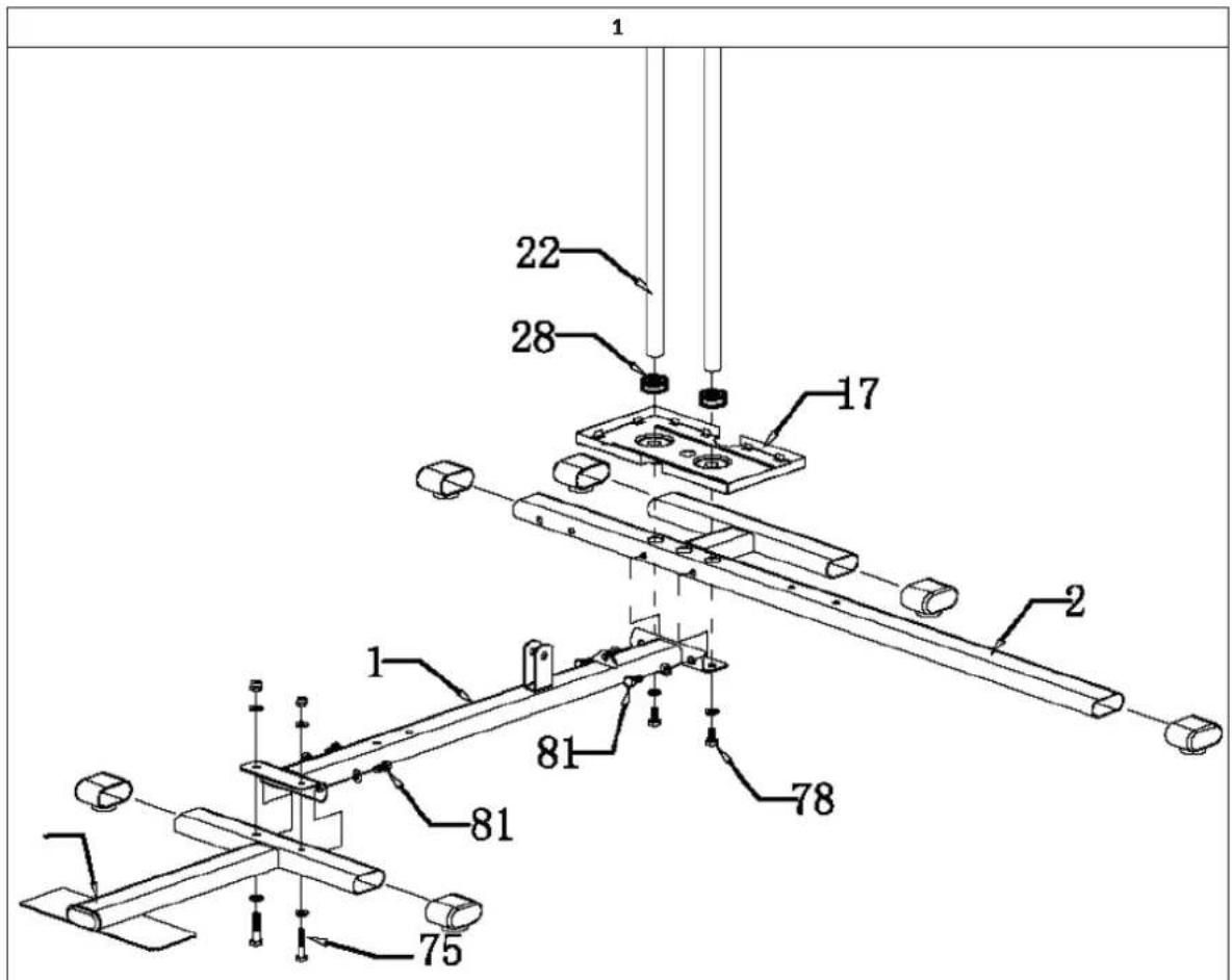
Fissare il tubo base centrale (1) con il tubo base posteriore (2). Utilizzare le viti M10 x 20 (78 - 2 set), le rondelle e i dadi.
Montare il tubo base centrale al tubo base anteriore (3) con viti a brugola M8 x 20 (81 - 2 set) e rondelle.
2

Inserire i pesi (24, 29) sull'asta cromata (22) come molto nel grafico.
3

Montare la console verticale (5) al tubo base centrale (1). Utilizzare le viti M10 x 50 (74 - 2 set).
Montare poi la console superiore (4) alla console verticale (5) con il pannello rinforzato (48) e le viti M10 x 50 (78 - 2 set).
Fara passare le astcromate (22) nelle fresature apposite nella console superiore (4) e fissarle con M10 x 20 (78 - 2 set).
Montare il supporto per la seduta (6) e il tubo rinalforzato (8) alla console verticale (5) con le viti M10 x 50 (74 - 2 set), le viti M10 x 45 (75 - 1 set), rondelle e dadi.
4

Montare la console a forma di T (13) e l'albero del paranco (51) sulla console verticale con M10 x 50 (74), rondelle e dadi.
Montare la pressa pettorale (10) alla console superiore (4) con M12 x 145 (67), boccola in acciaio 842), rondelle e dadi.
Montare la seduta del paranco (32) all'albero/supporto (51) con M10 x 60 (73), rondelle e dadi.
Montare la vite a forma di T (31) alla console a forma di T (13) con M10 x 40 (76), rondelle e dadi.
5

Montare il braccio sinistro della pressa pettorale (12) alla pressa pettorale (10), con boccola (42), viti M12x85 (71), rondelle e dadi.
Posizione r'impugnatura (16) (sinistra e destra (12, 11)) con viti M10 x 20 (78) e rondelle.

7

Montare l'imbottitura (58) alla console verticale (5) con viti M8 x 45 (80 - 1 set)
Montare la seduta al suo supporto (6) con un altri set di viti M8 x 45 (80).
Montare l'imbottituradelbraccio(60)alla console(9)conM8x20(63-1set).

Montare bracci destro e sinistro (pull up) (52, 53) al tubo verticale (59) con le viti M10 x 50 (74 - 2 set), rondelle e dadi.
Inserire le impugnature (16) nei bracci (55, 56) con le viti M10 x 20 (78 - 2 set), rondelle e dadi.
Montare il telaio della panca per sit-up (64) alla colonna verticale (59) utilizzando il perno di fissaggio (84) per bloccarlo.




12
Controlli
- Controllare che tutti i collegamenti a vite e a inesto siano saldi. Stringere se necessario.
Assicurarsi che ci sia distanza sufficiente da altri oggetti, come mobili dispositivo. - Prendere confidenza con il dispositivo e iniziare con un allenamento "leggero".

Eseguiere gli esercizi di riscaldamento prima di ogni sessione di allenamento. In quello modo verranno mobilitate le articolazioni e attivati i muscoli.
Se durante movimenti singoli dovessero sorgere sensazioni di malessere o dolori, saltare l'esercizio in questione e concordare un riscaldamento specifico con il medico o il personal trainer.
Ogni movimento delve essere ripetuto diverse volte (a destra e a sinistra) in modo da poter realizzare unAllenamento cardio in modo rilassato.
Calculare circa 5 minutl per la seguente routine di allenamento Klarfi t:
- Piegare lentamente la testa lateralmente, alternando a destra e sinistra. In seguito mobilitare le spalle (movimento circolari e alzando e abbassando le spalle).
- Ruotare i fianchi con le braccia distese. I piedi non devono essere fissi al suolo (le caviglie accompagnano la rotazione del corpo).
- Piegare i fianchi, un braccio disteso versus l'alto. Mantenere questa posizione per alcuni secondi per agli lato.
- Piegare i franchi con entrambre le braccia verso l'alto, tenendo le mani unite. Anche in quello caso mantenere la posizione per anni lato. Quito esercizio e leggermente più intenso, dato che anche il secondo braccio esercita tensione.
- Posizioniarsi su una gamba e mantenere la tensione della gamba piegata con la mano. In talo modo si mobilita la caviglia e si distende leggermente la coscia. Se necessario, appoggiarsi in modo da non perdere l'equilibrio. Rimanere su una gamba e ruotare la caviglia in entrambé le direzioni.
- Allungare una gamba in avanti e appoggiarsi con il busto sulla coscia. In tal modo si mobilitano ginocchio, caviglia e polpaccio.
- Ripetere l'esercizio al punto 6, ma distendendo maggiornente la gamba in avanti. Il movimento risulta più intense.
- Piegarsi in avanti con le gambe divaricate e toccare alternativamente con la mano il piede sullo stesso lato. Infine lasciar cadere in avanti il busto in modo rilassato.
| Vogata da seduti (trapezio, muscolo grande dorsale, muscolo sacrospinale) Sedersi con le gambe leggermente piegate e poggiare i piedi contro il tubo base frontale. Prerende l'impugnatura e tirarla verso di se. Riportare l'impugnatura in posizione di partenza lentamente. | Knee Raise (muscolo grande psoas, muscolo retto dell'addome) Stendersi con le gambe leggermente piegate davanti alla stazione. Mettere l'impugnatura tra i piedi. Mettere in tensione le dità dei piedi. Stendere le gambe verso l'alto e tornare lentamente in posizione di partenza. | Curl (bicipiti, flessori avambraccio) Mettersi in piedi davanti alla stazione. Tenere i gomiti attaccati al corpo. Tirare l'impugnatura verso l'alto finché possibile. |
| Preacher Curl (bicipiti, flessori avambraccio) Sedersi sulla seduta, piegarsi in avanti e mettere i gomiti sugli appoggi. Tirare l'impugnatura versuso l'alto con un movimento ad arco. | Preacher Curl (bicipiti, flessori avambraccio) Come Preacher Curl, ma con impugnatura dall'alto, in modo da allenare in particolare la muscolatura dell'avambraccio. | Wrist Curl (flessori avambraccio) Poggiare gli avambracci sulle imbottiture in espanso, nelle si eseguono curl dal polso. |
| Leg curl (muscoli ischiocruali) Eseguire l'esercizio sempre con una gamba sola. Mettere i roll pad in posizione adeguata, incastrando dietro quello inferiore e poggiano il ginocchio contro quello superiore. Eseguire curl con la gamba. | Leg Extensions Quadricipiti) Incastrare il roll pad superiore dietro al ginocchio e mettere i piedi sotto al rullo inferiore. Distendere lentamente le gambe. | Crunchies (muscolo retto dell'addome, muscolo serrato, muscolo grande dorsale) Montare i roll pad sul foro più in basso e incastrare le gambe sui pad. Impugnare l'asta per lat machine, con le braccia parallele al corso. Tirare l'asta in avanti e verso il basso finché possibile. |
| Straight Arm Pullover (muscolo grande dorsale, muscolo serrato pettorale) Sedersi e poggiiarsi allo schienale. Impugnare l'asta della lat machine e tirare verso il basso con le braccia distese. | Sollevamento pesi alla panca (vertecale) Regolare l'altezza della seduta, in modo che le impugnature siano all'altezza del petto e spingerle per eseguire l'esercizio. | Butterfly (pettorali) Sedersi diritti, la parte superiore delle braccia in orizzontale e gli avambracci sui roll pad. Spingere con i gomiti, non con le mani. |

ManualeFacile