Ultimate Gym 3000 - Equipo de gimnasia Klarfit - Manual de uso y guía de instrucciones gratis
Encuentra gratis el manual del aparato Ultimate Gym 3000 Klarfit en formato PDF.
Preguntas de los usuarios sobre Ultimate Gym 3000 Klarfit
0 pregunta sobre este aparato. Responde a las que conoces o haz la tuya.
Hacer una nueva pregunta sobre este aparato
Descarga las instrucciones para tu Equipo de gimnasia en formato PDF gratis! Encuentra tus instrucciones Ultimate Gym 3000 - Klarfit y toma tu dispositivo electrónico nuevamente en la mano. En esta página están publicados todos los documentos necesarios para el uso de su dispositivo. Ultimate Gym 3000 de la marca Klarfit.
MANUAL DE USUARIO Ultimate Gym 3000 Klarfit
Multiestación de fitness
Station de fi tness
Compruebe que haya recibido todas las cajas antes de empezar a montar el producto. En caso de que falte una caja,pongase en contacto con nuestro service de atencion al cliente antes de abrirlas.
Cher client,
Le felicitamos por la adquisión de este producto. Lea atentamente elCEEiente manual y siga cuidadosamente las instrucciones de uso con el fin de evaporar posibles daños. LaEmpresa no se responsabiliza de los daños occasionados por un uso indebido del producto o por haber desatendido las indicaciones de seguridad. Escanee el codeg QR para Obtener acces almanual de usuario mas reciente y other informacion sobre el producto.

INDICE DE CONTENIDOS
Indicaciones de seguridad 94
Vista general de las piezas 95
Lista de las piezas individuales 96
Montaje 106
Calentimiento antes del entregamento 118
Indicaciones sobre el entregamente 119
FABRICANTE E IMPORTADOR (REINO UNIDO)
Fabricante:
Chal-Tec GmbH, Wallstraße 16, 10179 Berlin, Alemania.
Importador para Gran Bretanía:
Chal-Tec UK limited
Note: Como con todos los dispositivos de entrega con componentes mecánicos moviles, con este producto pueda occurrir que se afluyen los tornillos con un uso frequente. Por ello, recomendamos controlar regularmente los tornillos y aplarlos con la llave adecuada si fueranecessary. Limpie regularmente el aparato de entrega con un paño humedo para mantener las superficies libres de sudor y polvo.
- Limpie el aparato regularmente con un paño limpio para mantener una apariencia limpia.
- El uso seguro del aparato solo pueda garantizarse si este se limpia regularmente y se inspecciona para detectar daños o desgastes (p. ej. en pedales, manillares, sillín, etc.). Es indispensable sustituir las piezas dañadas y utilizar el aparato solo cuando se haya finalizzato dicha reparación.
- Compruebe habitualmente si los tornillos y las tuercas estan bien fjados.
- Engrase todas las piezas发展模式.
Lea atentamente estas indicaciones de seguidad antes deutilizar el aparato por prima y conserve este manual para futuras consultas. Las caracterticas del producto能把 variar ligeramente de las representadas en las imagenes. El fabricante coulde realizar modificaciones sin aviso previo.
- Conserve este manual en un lugar seguro para que pueda consulutarlo enrialquier momento.
Monte el aparato una vez haya leido todo el manual de instrucciones. La seguridad y la eficacia del mesmo solo podra garantizarse si lo ha montado correctamente y si realiza un mantenimiento y uso idoneos. Asegürese de que todos los)."
usarios estan informados acerca de las advertencias y medidas de precauacion. - Coloque el aparato en una superficie plana y estable para garantizar un uso seguro. Proteja el sueño con una alfombra. No utilise el aparato en entornos humedes, comoerca de piscinas, etc. Mantenga una distancia de seguridad de 0,6 metros con el resto de los objetivos.
- Antes de起初 el entrenimiento en el aparato, se recomienda realizar un Reconocimiento Médico para determinar si Tiene algo problema fisico o de salute que pueda suponer un riesgo para su salute o seguidad, o impeder que pueda aplicar correctamente el aparato. El consejo de su medico es esencial si toma medicamentos que afectan la Frequencia cardiaca, la presión sanguinea o el nivel de colesterol.
- Preste atencion a su reacion corporal. Un entrenamento incorrecto o excessivo peut ser perjudicial para su salute. Detenga el entrenamento inmediatamente si nota algo nuno de los seguides sintomas: dolor, presion en el pecho, ritmo cardiaco irregular, fatiga extrema, vertigo ounaes. Si tiene uno de los sintomas descriitos, debe ponerse en contacto con un medico antes de continuar con el entrenamento.
No entrene inmediamente après de comer.
Solamente un adulto debe montar el aparato. Mantenga a los niños y mascotas lejos del aparato. - Este aparato está Concebido para ser utilisé en un entorno dométrico.
- El aparato no está indicado para uso terapeutico. Utilice el aparato únicamente para realizar ejercicios ilustrados en este manual de instrucciones.
- Cuando entrene, lleve ropay calzado apropiados. Evite las prendas sueltas que能把n quedarse enganchadas en el aparato o limitar movimientos.
- Mantenga su espalda recta durante el entrega.
- Antes de cada entrega, asegúrese de que los manillas, el sillín y todos los tornillos y tuercas está montados correctamente.
- Asegürese de no superar la posición Tmaxa de las piezas moviles y no exceder la marca «Stop», puis existe riesgo de lesiones.
- Utilice el aparato solamente según se describe en estas instrucciones. Si detecta una pieza defectuosa cuando monte o examine el aparato, o si esucha sonidos atípicos durante su uso, detenga inmediamente el entregaimiento. No utilise el aparato hasta que se haya解決ado el problema.
- Tenga cuidado al levantar o desplazar el aparato para no dañar su espalda. Utilice siempre una技术水平a de elevación adecauda o Solicite ahora, si esnecessary.
- Todas las piezas moviles (p. ej. pedales, manillar, sillin, etc.) deben tener un mantenimiento semanal. Examinenos antes de cada uso del aparato. Si una pieza está rota o suelta, deben repararla de inmediato. Vuelva a utiliser el aparato cuando se ENCuentre en perfecto estado.
- Tenga enIELD que el aparato noiene ningunistema de rueda libre por lo que existe riesgo de accidente con un uso inadequado.
- Mantenga el cable de alimentacion lejos de fuentes de calor.
- Nunca introduzca objetos en las ranuras del aparato.
- Apague el aparato y desconecte el cable de alimentacion antes de mover el aparato o si está Iloviendo. Limpie la superficie del aparto con un producto de limpieza no abrasivo y un paño humedo. No utilise disolventes.
No utilise el aparato en lugares que no esten atemperados, como garajes, verandas, cuartos de bano, cocheras o en el exterior. - Utilice el aparato de acuerdo con lo descririto en estas instrucciones de uso.
- Una reparación Incorrecta o una modificacion en la estructura del aparato (por exemple,utar o sustituir las piezas originales)uedeponer enpeligroalos.usuarios.
- El volante de inercía alcanza temperatas elevadas durante el uso del aparato.
- Bloquee el aparato mediente el botón de bloqueo cuando no lo utilizes.
- Los niños a partir de los 8 años de edad y las personas con discapacidad mental y física solo puede usar el aparato si han sido familiarizados con las functions y las precauciones de seguridad por parte de un supervisor responsable de ellos.
- Asegüre de que los niños no juguen con el aparato.
- Antes de su uso, compruebe el voltaje de la plaza de caracteristicas del dispositivo. Conecte el aparato solo a tomas que correspondan a la tensión del aparato.
Atencion: Peso maximalo soportado: 120kg

| No. Descripción Uds. Ilustración | ||
| 1 Tubo de base intermedió 1 | ||
| 2 Tubo de base posterior 1 | ||
| 3 Tubo de base frontal 1 | ||
| 4 Soporte superior 1 | ||
| 5 Soporte vertical 1 | ||
| 6 Soporte para aslento 1 | ||
| 7 Soporte para curl de piernas | 1 | |
| 8 Tubo de refuerzo 1 | ||
| 9 Soporte para brazos 1 | ||
| 10 Pieza principal para la prensa de pecho 1 | ||
| 11 Brazo izquierdo 1 | ||
| 12 Brazo derecho 1 | ||
| 13 Soporte en T 1 | ||
| 14 Barra de tracción 1 | ||
| 15 Barra de curl 1 | ||
| 16 Mango 4 | ||
| 17 Placa de acero 2 | ||
| 18 Rodillo de espuma Ø370 mm 1 | ||
| 19 Rodillo de espuma Ø300 mm 1 | ||
| 20 Rodillo de espuma Ø310 mm 2 | ||
| 21 Pasador de selección de peso 1 | ||
| 22 Barra cromada (1820mm) 2 | ||
| 23 Red de acero 4 | ||
| 24 Peso superlor 1 | ||
| 25 Manguito de bloqueo de pesas 1 | ||
| 26 Barra Ø10 mm 1 | ||
| 27 Arandela grande Ø45 mm 1 | ||
| 28 Amortiguidor de goma 2 | ||
| 29 Pesas 9 | ||
| 30 Perilla 1 | ||
| 31 Tornillo en T 1 | ||
| 32 Soporte de polea | 2 | |
| 33 Gancho de polea 1 | ||
| 34 Cable de polea 1 1 | ||
| 35 Placa de ajuste 2 | ||
| 36 Polea 12 | ||
| 37 Casquillo guía de polea 6 | ||
| 38 Mosquetón 5 | ||
| 39 Cable de polea 2 1 | ||
| 40 Cadena 2 | ||
| 41 Perilla roscada (M16) 1 | ||
| 42 Manguito de acero 6 | ||
| 43 Acolchado de espuma (250 mm) 2 | ||
| 44 Cable de polea 3 1 | ||
| 45 Acolchado de espuma (160 mm) 4 | ||
| 46 Acolchado de espuma (140 mm) 6 | ||
| 47 Amortiguidor de PVC (Ø30 x 7 mm) 4 | ||
| 48 Placa de refuerzo (100 mm) 3 |
| No. Descripción Uds. Ilustración | ||
| 49 Placa de refuerzo (130 mm) 1 | ||
| 50 Amortiguidor de caucho 1 | ||
| 51 Sóporte de polea 1 | ||
| 52 Brazo izquierdo (dominada) 1 | ||
| 53 Brazo derecho (dominada) 1 | ||
| 54 Barra de espuma larga | ||
| 55 Brazo izquierdo (flexiones) |
| No. Descripción Uds. Ilustración | ||
| 56 Brazo derecho (flexiones) | ||
| 57 Sllón | ||
| 58 reverse | ||
| 59 Aslento | ||
| 60 Respaldo | ||
| 61 Tubo vertical | ||
| 62 Apoyabrazos acolchado | ||
| 63 Acolchadoklequeño posterior |
Material de montaje
| No. Descripción Uds. Ilustración | ||
| 64 Armazón del banco de abdominales | ||
| 65 Gancho | ||
| 66 SSoporte redondo | ||
| 67 Pasador de bloqueo 10x85 mm | ||
| 68 Pasador de bloqueo 10x150 mm |
| No. | Descripción Uds. Ilustración | ||
| 69 M | 12 x 145 1 | ||
| 70 M | 12 x 85 2 | ||
| 71 M | 10 x 85 6 | ||
| 72 M | 10 x 70 1 | ||
| 73 M | 10 x 60 2 | ||
| 74 M | 10 x 50 10 |
| No. Descripción Uds. Ilustración | ||
| 75 M10 x 45 3 | ||
| 76 M10 x 40 3 | ||
| 77 M10 x 35 2 | ||
| 78 M10 x 20 8 | ||
| 79 M8 x 60 2 | ||
| 80 M8 x 45 4 | ||
| 81 M8 x 20 6 | ||
| 82 M6 x 16 2 | ||
| 83 M8 x 60 4 | ||
| 84 Pasador de bloqueo 1 | ||
| 85 Perilla 1 | ||
| 86 Mancuernas pequeñas |
MONTAJE

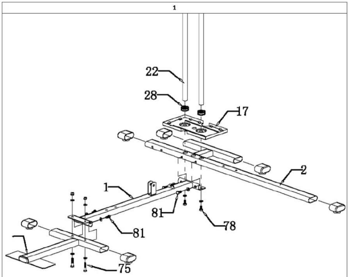
Fije el tubo de base intermediio (1) al tubo de base posterior (2) y a las barras cromadas (22). Utilice los tornillos hexagonales M10 x 20 (78 - 2 sets), las arandelas y las tuercas.
Monte el tubo de base intermediio en el tubo de base frontal (3). Uti- lice los tornillos hexagonales M8 x 20 (81 - 2 sets) y las arandelas.
2

Inserte las pesas (24, 29) en la barra croma- da (22), como se indi- ca en la ilustracion.

Monte el soporte vertical (5) en el tubo de base intermediio (1). Utilice los tornillos M10 x 50 (74 - 2 sets).
A continuación, monte el soporte superior (4) en el soporte vertical (5) con la plaza de refuerzo (48) y los tornillos M10 x 50 (74 - 2 sets).
Pase las barras cromadas (22) en los orificios correspondentes del soporte superior (4) y fijelas con los tornillos M10 x 20 (78 - 2 sets).
Monte el soporte del asiento (6) y el tubo de refuerzo (8) en el so- porte vertical (5) con la ayuda de los tornillos M10 x 50 (74 - 2 sets), asi como M10 x 45 (75 - 1 set), las arandelas y las tuercas.
4

Monte el soporte en T (13) y el so- porte de polea (51) en el soporte vertical con los tornillos M10 x 50 (74), las arandelas y las tuercas.
Fije la prensa de pecho (10) al so- porte superior (4) con los tornillos M12x145 (67), el manguito de ace-ro (42), las arandelas y las tuercas.
Fije el soporte de polea (32) al so- porte (51) con la ].ayuda de los tor- nillos M10x60 (73), las arandelas y las tuercas.
Monte los tornillos en T (31) en el soporte en T (13) utilizing los tor-nillos M10x40 (76), las arandelas y las tuercas.




Monte los brazos izquierdo y derechocho (dominada) (52, 53) en el tubo vertical (59) con la ].auda de los tornillos M10x50 (74 - 2 sets), las arandelas y las tuercas.
Monte los manillas (16) en los «brazos» (55, 56) utilizingo los tornillos M10x20 (78 - 2 sets), las arandelas y las tuercas.
Fije el armazón del Banco de abdominales (64) a la barra vertical (59) con la ayud del pasador de blo-queo (84).




12
Control
Verifique que todos los tornillos y accesos esten seguros. Apriete los tornillos si es necessario.
- Asegürese de que laquina está lo suficientemente lejos con afecto a outros objetivos como muebles, electrodomesticos, etc.
Familiarificese con el dispositivo y comience con un entrenamento «ligero».

Realice los siguientes ejercicios de calentimiento antes de cada entrega. Asi movilizaras las articulaciones yactivar la musculatura.
Si siente molestias o dolor al realizar algo n de los movimientos, obvie dicho ejercicio y planifique un entrenamento de calentamento especifi co con su medico outenador.
Cada movimiento debe realizarse varias vezes (a derecha e izquierda) para que pueda comenzar de manera relajada en el entrenamento de cardio.
Tómese uno 5 Minutes de tiempo para las saguides rutinas de entregalento de Klarfi t.
- Incline la cabeza lateralmente, moviendola despacio de derecha a izquierda. Además, movilice los hombres (movimiento circular y contracción de los hombres).
- Gire la cadera con los brazos extendidos. Los pies no estan fjos al sueo (las articulaciones del pie acompanan la torsion del cuerpo).
- Doble la cadera con un brazo extendido hacia arriba. Mantengase en esta posicion uno segundos para cada lado.
- Flexione la cadera conodos brazos unidos hacia arriba.Mantengase también en esta posicjion para que el ejercicio sea un poco mas intenso, ya que el segundo brazo participa.
- Colouque sobre una pierna y agarre el empeine con la mano. Aquimoviliza la articulacion del pie y estira ligeramente los muslos. Sostengase igualmente para mantener el equilibrio. Mantengase sobre una pierna y gire el pie en círculos en ambas direcciones.
- Coloque una pierna adelante y apoyese con el tronco en el muslo. Aquimoviliza, ademas de las articulaciones de la rodilla y el pie, la musculatura interior de la pantorrilla.
- Repita el ejercicio del punto 6 con la diferencia de que ahora debe dar un paso mayor hacer adelante. El movimiento sera mas intenseo.
- Inclinese con las piernas extendidas hacia adelante y toque alternamente con la mano el pie contrario. Para finalizar, dejescaer hacer abajo de manera relajada.
| Remo sentido (músculo trapezio,;músculo dorsal ancho,músculo erector de la columna). Siéntese con las piernas ligeramente inclinadas y apoye los pies contra el tubo de base frontal. Tome la barra y tire hacia si:no. Regrésela lentamente a la posición inicial. | Knee Raise (iliopsoas,abdominales) Acuestese con las piernas ligeramente dobladas fronte a la máquina. Posición la barra entre los pies. Tense los dedos del pie. Estire las piernas hacía arriba y regréselas lentamente a la posición inicial. | Curls (biceps,flexores del antebrazo) Posiciónse enfrente de la Máquina. Mantenga losculoscerda del cuerpo. Levante la barre hacía arriba. |
| Preacher Curls (biceps, flexores del antebrazo) Síntese en el asiento, inclínese hacía delante ypongá los codos en el apoyabrazos. Levante la barra hacía arriba dibujando un arco. | Preacher Curls (barra Invertida) (flexores del antebrazo, biceps) Lo“Myismo que con Preacher Curls. Excepto que la barra está invertida para movilizar máslos muculos del antebrazo. | Wrist Curl (flexores del antebrazo) Colque los antebrazos sobre el acolchado de espuma y realizice flexiones con las muñecas. |
| Curl de piernas (músculos isquitibiales) Haga este ejercimiento con una sola pierna a la vez. Colque el rodillo inferior en una posición adeucauda en el tobillo y presione la rodilla contra el rodillo supe- rior. Doble la pierna. | Leg Extensions (cuadriceps) Posición sus corvas encima de los rodillos superiores y sus pies debajo de los rodillos inferiores. Estire sus piernas lentamente. | Crunchies (músculo recto del abdomen, muculo serrato, muculo dorsal ancho) Fije los rodillos a laULTima ranura y colque las piernas debajo de los rodillos inferiores. Agarre la barra mantenendo los brazos paralelos al cuerpo. Tire la barra hacía adelante y hacía antes lo más lejos possible. |
| Pullover con brazos extendidos (músculo dorsal ancho,;músculo serrato pectoral) Inclinase hacía atrás en el asiento y agarre la barra. Estirela hacía bajo con los brazos extendidos. | Press de banca (vertical) Ajuste la alta del asiento para que la barra esté a la alta del pecho. Empujez. | Mariposa (pectorales) Siéntese recto sosteniendo los brazos horizontalmente y los antebrazos en los rodillos. Empujez con los codos y no con las manos. |
ManualFácil