Ultimate Gym 3000 - Fitnessgeräte Klarfit - Kostenlose Bedienungsanleitung
Finden Sie kostenlos die Bedienungsanleitung des Geräts Ultimate Gym 3000 Klarfit als PDF.
Benutzerfragen zu Ultimate Gym 3000 Klarfit
0 Frage zu diesem Gerät. Beantworten Sie die, die Sie kennen, oder stellen Sie Ihre eigene.
Eine neue Frage zu diesem Gerät stellen
Laden Sie die Anleitung für Ihr Fitnessgeräte kostenlos im PDF-Format! Finden Sie Ihr Handbuch Ultimate Gym 3000 - Klarfit und nehmen Sie Ihr elektronisches Gerät wieder in die Hand. Auf dieser Seite sind alle Dokumente veröffentlicht, die für die Verwendung Ihres Geräts notwendig sind. Ultimate Gym 3000 von der Marke Klarfit.
BEDIENUNGSANLEITUNG Ultimate Gym 3000 Klarfit
Sehr geehrter Kunde,
bitten überprüfen Sie jetzt die Vollständigkeit der gelieferten Packstücke, bevor Sie mit dem Aufbau des Produktes beginnen. Im Falle eines fehlenden Kartons bitten wir Sie, sich vor dem Öffnen der Kartons mit unserer Kundenservice in Verbindung zu setzen.
Dear customer,
Sehr geehrter Kunde,
wir gratulieren Ihnen zum Erwerb Ihr's Gerätes. Lesen Sie die folgenden Hinweise sorgfältig durch und befolgen Sie diese, um möglichen Schäden vorzubeugen. Für Schäden, die durch Missachtung der Hinweise und unsachgemäßigen Gebrauch entstehen, übernehmen wir keine Haftung. Scannen Sie den folgenden QR-Code, um Zugriff auf die aktuellste Bedienungsanleitung und weitere Informationen rund um das Produkt zu erhalten.

INHALTSVERZEICHNIS
Sicherheitshinweise 10
Komponentenübersicht 11
ListederEinzelteile12
Zusammenbau 22
Aufwärmen vor dem Training 34
Trainingshinweise 35
HERSTELLER & IMPORTEUR (UK)
Hersteller:
Chal-Tec GmbH, Wallstraße 16, 10179 Berlin, Deutschland.
Importeur für Großbritannien:
Chal-Tec UK limited
HInweis: Wie bei allen Trainingsgeräten mit mechanischen, beweglichen Komponenten kann es auch bei thisem Produkt vorkommen, dass sich Schrauben durch hauftigen Gebrauch lockern. Wir empfehlen sie daher regelmäßig zu kontrollieren und ggf. mit einem passenden Schlüssel nachzuziehen. Reinigen Sie Ihr Trainingsgerät regelmäßig mit einem feuchten Tuch, um die Oberflächen von Schweiß und Staub zu saubern.
- Reinigen Sie das Gerät regelmäßig mit einem sauberen Tuch, um das saubere Erscheinungsbild aufrecht zu erhalten.
- Die sichere Verwendung des Geräts kann nur dann gewährleistet werden, wenn das Gerät regelmäßig auf Schäden und Abnutzungen überprüft wird (beispelsweise an Handgriffen, Pedalen, Sattel etc.). Es ist essentiell, dass beschädigte Gerätele ersetzt werden und das Gerät erst nach erfolgter Reparatur wieder verwendet wird.
- Überprüfen Sie regelmäßig, ob Schrauben und Muttern richtig fixiert sind.
- Fetten Sie bewegliche Geräteleire regelmäßig ein.
Lesen Sie sich die Bedienungsanleitung vor der Verwendung des Geräts aufmerksam durch und bewahren Sie diese für den zukünftigen Gebrauch auf. Die Produktmerkmale können leicht von den auf den Abbildungen dargestellen Merkmalen abweichen. Veränderungen können vom Hersteller ohne Benachrichtigung vorgenommen werden.
Bewahren Sie die Bedienungsanleitung an einem sicheren Ort auf, so dass Sie jederzeit auf diese zugreifen konnen.
Bauen Sie das Gerät erst dann zusammen, wenn Sie die Bedienungsanleitung vollständig durchgeleen haben. Die Sicherheit und die Effizienz des Geräts konnen nur dann gewährleistet werden, wenn das Gerät richtig zusammengebaut wurde und fachgerecht gewartet und verwendet wird. Es liegt in ihrer eigenen Verantwortung saferzustellen, dass alle Nutzer des Geräts über Warnhinweise und Vorschstmaßnahmen informiert werden.
Das Gerat muss auf einer stabilen und geraden Oberfläche platziert werden, um sicher verwendet werden zu konnen. Schützen Sie den Boden durch eine Matte. Verwenden Sie das Gerät nicht in feuchter Umgebung, wie beispelseweise an Pools etc. Der Sicherheitsabstand rund um das Gerät muss mindestens 0,6 Meter betragen.
-
Konsultieren Sie vor der Verwendung der Trainingsprogramme zwingend einen Arzt, um feststellen zu halten, ob Sie körperliche oder gesundheitliche Probleme haben, welche durch die Verwendung des Geräts ein Risiko für ihre Gesundheit und Sicherheit darstellen können, oder Sie daran hintern, das Gerät ordnungsgemäß zu verwenden. Der Rat Ihres Arztes ist lebenswichtig, wenn Sie Medikamente einnehmen, welche Einfluss auf Puls, Blutdruck oder den Cholesterinspiegel haben.
-
Achten Sie auf die Signale Ihres Körpers. Ein falsches oder übermäßig Trainieren kann gesundheitsschädigend sein. Hören Sie mit dem Training auf, wenn eines der folgenden Symptome auftritt: Schmerz, Enge in der Brust, unregelmäßiger Herzschlag, extreme Kurzatismigkeit, Schwindel oder Übelkeit. Sollte bei denen einer dieser Zustände auftreten, müssen Sie zwingen einen Arzt konsultieren, bevor Sie das Training fortsetzen können.
-
Trainieren Sie nicht direkt im Anschluss an Mahlzeiten.
Das Gerat darf ausschlieBlich von Erwachsenen zusammengebaut werden. Halten Sie Kinder und Haustiere vom Gerat fern.
Das Gerat darf ausschlieblich im hauslichen Bereich verwendet werden.
Das Gerat ist nicht fur die therapeutische Verwendung geeignet. Es kann nur fur die in der Anleitung dargestellen Übungen verwendet werden.
-
Tragen Sie bei der Verwendung des Geräts adäquate Trainingskleidung und Trainingschuhe. Vermeiden Sie lose Kleidung, die diese sich im Gerät verfangen oder Kleidung, welche Sie in ihrer Bewegungsfreiheit einschränken können.
-
Halten Sie ihren Rücken während des Trainings gerade.
-
Überprüfen Sie vor jeder Verwendung des Geräts, ob die Handgriffe, der Sattel, Muttern und Bolzen richtig festgezogen wurden.
-
Beachen Sie die maximale Position für anpassbare Geräteile und gehen Sie nicht über die Markierung „Stopp“ hinaus, dadurch ein Risiko entstehen wurde.
-
Verwenden Sie das Gerät nur wie dargestellt. Sollten Sie während des Zusammenbaut oder der Überprüfung defektte Teile feststellen oder während der Verwendung seiltame Geräusche, welche vom Gerät ausgegeben horen, stoppen Sie augenblicklich die Verwendung. Verwenden Sie das Gerät erst dann wieder, wenn das Problem behoben wurde.
-
Lassen Sie beim Anheben oder Verschieben des Geräts Vorsicht walten, damit Sie ihren Rücken nicht verletzen. Verwenden Sie immer rückenschonende Hebetechniken und suchen Sie sich gegebenenfalls Hilfe einer weiteren Person.
-
Alle beweglichen Gerätele (z.B. Pedale, Handgriffe, Sattel... etc.) müssen wochentlich gewartet werden. Überprüfen Sie diese vor jeder Verwendung. Sollte etwas kaputt oder lose sein, reparieren oder fixieren Sie das entspruchende Teil sofort. Fahren Sie erst dann mit der Verwendung des Geräts fort, wenn Sie den eigenen Ausgangszustand wieder hergestellt haben.
-
Achten Sie auf das Fehlen eines Freilaufsystems, was ein ernsthafters Risiko darstellt.
-
Halten Sie das Netzstromkabel fern von Wärmequellen.
-
Stecken Sie keine Gegenstände in die Geräteöffnungen.
-
Schalten Sie das Gerät aus undziehen Sie den Netzstecker,bevor Sie das Gerät bewegen oder reinigen. Reiben Sie die Oberflächen zur Reinigung mit einem milden Reinigungsmittel und einem feuchten Tuch ab. Verwenden Sie keinesfalls Lösungsmittel.
-
Verwenden Sie das Gerät nicht an Orten, welche nicht temperiert sind, wie beispelsewe Garagen, Verandas, Badezimmern, Carports oder im Freien.
-
Verwenden Sie das Gerät ausschließlich wie in der Bedienungsanleitung beschrieben.
-
Eine inkorekte Reparatur und strukturelle Modifikationen (z.B. das Entfernen oder Ersetzen von Originalteilen) kann den Gerätenutzer in Gefahr bringen.
Die Schwungscheibe wird während der Verwendung sehr heißt.
-
Aktivieren Sie die Tastensperre, wenn Sie das Gerät nicht verwenden.
-
Kinder ab 8 Jahren, psychisch und körperlich eingeschränkte Menschen dürfen das Gerät nur benutzen, wenn sie vorher von einer für Sie verantwortlichen Aufsichtsperson ausfuhrlich mit den Funktionen und den Sicherheitsvorkehrungen vertraut gemacht wurden.
-
Achten Sie daraufuf, dass Kinder nicht mit dem Gerät spielten.
-
Prufen Sie vor der Benutzung die Spannung auf dem Typenschild. SchlieBen Sie das Gerät nur an Steckdosen an, die der Spannung des Gerats entsprechen.
Hinweis: Maximalgewicht des Benutzers: 120 kg.

LISTEDEREINZELTEILE
| Nr. Bezeichnung Stk. Abbildung | ||
| 1 Mittleres Basisrohr 1 | ||
| 2 Hinteres Basisrohr 1 | ||
| 3 Vorderes Basisrohr 1 | ||
| 4 Obere Konsole 1 | ||
| 5 Vertikale Konsole 1 | ||
| 6 Sitz Halterung 1 | ||
| 7 Konsole für Beinstrecker 1 | ||
| 8 Verständiges Rohr 1 | ||
| 9 Arm Konsole 1 | ||
| 10 Brustpresse Hauptteil 1 | ||
| 11 Linker Arm 1 | ||
| 12 Rechte Arm 1 | ||
| 13 T - Konsole 1 | ||
| 14 Lat Zug Griff 1 | ||
| 15 Curl Griff 1 | ||
| 16 Handauflage 4 | ||
| 17 Stahlplatte 2 | ||
| 18 Schaumstoff-Rohr Ø370mm 1 | ||
| 19 Schaumstoff-Rohr Ø300mm 1 | ||
| 20 Schaumstoff-Rohr Ø310mm 2 | ||
| 21 Gewicht Pin 1 | ||
| 22 Chrom Rohre (1820mm) 2 | ||
| 23 Stahl Netz 4 | ||
| 24 Obere Gewichtte 1 | ||
| 25 Gewichts-Muffe 1 | ||
| 26 Pin Ø10mm 1 | ||
| 27 GroßBe Unterlegscheibe Ø45mm 1 | ||
| 28 Gummikissen 2 | ||
| 29 Gewlicht 9 | ||
| 30 Krauf 1 | ||
| 31 „T“-Schraube 1 | ||
| 32 | Flaschenzug-Halterung | 2 |
| 33 Flaschenzug-Klammer 1 | ||
| 34 Seilzug 11 | ||
| 35 Justierplatte 2 | ||
| 36 Flaschenzug Ø 12 | ||
| 37 Flaschenzug-Führungsmuffe 6 | ||
| 38 Karabiner 5 | ||
| 39 Sellzug 21 | ||
| 40 Kette 2 | ||
| 41 Gewindeknauf (M16) 1 | ||
| 42 Stahl Muffe 6 | ||
| 43 Schaumstoffpolsterung (250mm) 2 | ||
| 44 Seilzug 3 1 | ||
| 45 Schaumstoffpolsterung (160mm) 4 | ||
| 46 Schaumstoffpolsterung /140mm) 6 | ||
| 47 PVC Dämpfer (Ø30 x 7mm) 4 | ||
| 48 Verständigte Platte (100mm) 3 |
| Nr. Bezeichnung Stk. Abbildung | ||
| 49 Verständigte Platte (130mm) 1 | ||
| 50 Gummi Dümpfer 1 | ||
| 51 Flaschenzug-Fassung 1 | ||
| 52 Linker Arm (Pull up) 1 | ||
| 53 Rechter Arm (Pull up) 1 | ||
| 54 Langes Schaumstoffrohr | ||
| 55 Linker Arm (Push up) |
| Nr. Bezeichnung Stk. Abbildung | ||
| 56 Rechte Arm (Push up) | ||
| 57 Sitz | ||
| 58 Lehne | ||
| 59 Vertikal-Rohr | ||
| 60 Gepolsterte Armablage | ||
| 61 Kleines hinteres Polster | ||
| 62 Kleine gepolsterte Armablage | ||
| 63 Sit-up Bank Polster |
Montagematerial
| Nr. Bezeichnung Stk. Abbildung | ||
| 64 Sit-up Bank Rahmen | ||
| 65 Haken | ||
| 66 Runde Halterung | ||
| 67 Locking Pin 10x85mm | ||
| 68 Locking Pin 10x150mm |
| Nr. Bezeichnung Stk. Abbildung | ||
| 69 M12 x 145 1 | ||
| 70 M12 x 85 2 | ||
| 71 M10 x 85 6 | ||
| 72 M10 x 70 1 | ||
| 73 M10 x 60 2 | ||
| 74 M10 x 50 10 | ||
| 75 M10 x 45 3 | ||
| 76 M10 x 40 3 | ||
| 77 M10 x 35 2 | ||
| 78 M10 x 20 8 | ||
| 79 M8 x 60 2 | ||
| 80 M8 x 45 4 | ||
| 81 M8 x 20 6 | ||
| 82 M6 x 16 2 | ||
| 83 M8 x 60 4 | ||
| 84 Sicherungsstift 1 | ||
| 85 Krauf 1 | ||
| 86 Kurzhandeln |

2

Schieben Sie, wie in der Grafik gezeigt, die Gewichtte (24, 29) über die Chriomstangen (22).

Montieren Sie die vertikale Konsole (5) am mittleren Basisrohr (1). Nehmen Sie dazu die Schrauben M10 x 50 (74 - 2 Sets)
Bringen Sie danach die obere Konsole (4) an der vertikalen Konsole (5) an mit der verstärkten Platte (48) und Schrauben M10 x 50 (74 - 2 Sets)
Schieben Sie die Chromstangen (22) in die darauf passenden Frasungen in der oberen Konsole (4) und fixieren Sie mit M10 x 20 (78 - 2 Sets).
Montieren Sie die Halterung für den Sitz (6) und das verstärkte Rohr (8) an der vertikalen Konsole (5) mit den Schrauben M10 x 50 (74 - 2 Sets) sowie M10 x 45 (75 - 1 Set), Unterlegscheiben und Muttern.
4

Montieren Sie die „T“-förmige Konsole (13) und den Flaschenzug-Schaft (51) an der vertikalen Konsole mit M10 x 50 (74), Unterlegscheibe und Mutter.
Montieren Sie die Brustpresse (10) and der oberen Konsole (4), mit M12x145 (67), der Stahl Muffe (42), Unterlegscheibe und Mutter
Montieren Sie den Flaschenzugsitz (32) and den Schaft/Halterung (51), mit M10x60 (73), Unterlegscheibe und Mutter.
Montieren Sie die nT^u -fornige Schraube (31) and die nT^u -fornige Konsole (13), mit M10x40 (76), Unterlegscheibe und Mutter.
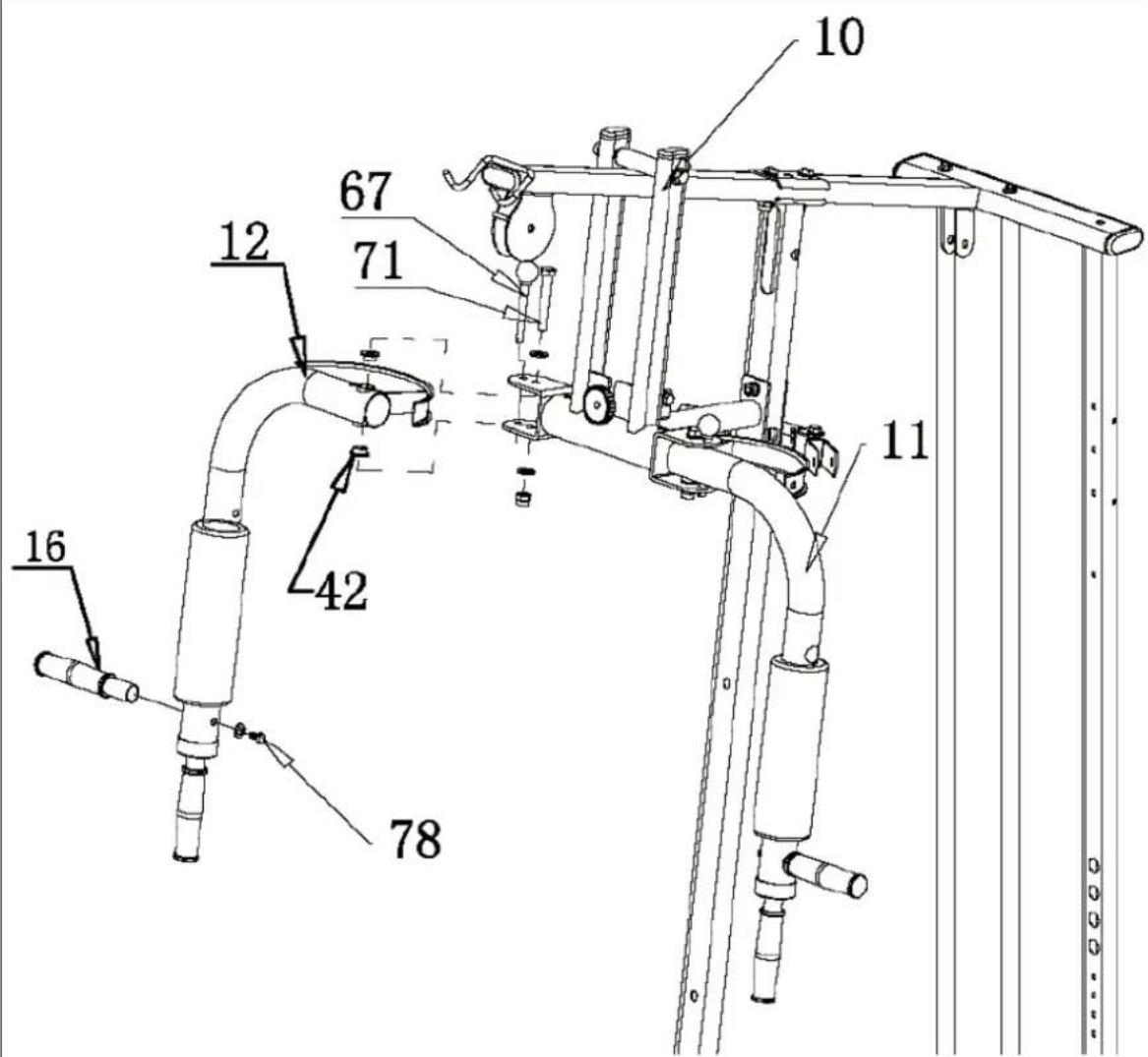
5

Montieren Sie den linken Arm der Brustpresse (12) an die Brustpresse (10), mit Muffe (42) sowie Schrauben M12x85 (71), Unterlegscheiben und Mutter.
Fugen Sie den Handgriff (16) hinzu (links und rechts (12, 11), mit Schrauben M10x20 (78) und Unterlegscheiben.

Montieren Sie die Leg Extensions (7) and die Sitz-Konsole (6). Nutzen Sie die Schrauben M10x70 (72 - 1 Set), Unterlegscheiben und Muttern.
Fugen Sie die Halterung für de Armablage (7) hinzu, indem Sie sie in das Leg-Extension-Rohr stecken und mit dem Knauf (41) fixieren.
7

Montieren Sie das Polster (58) and der vertikalen Konsole (5), mit M8x45 Schrauben (80 - 1 Set).
Montieren Sie mit einem weiterem Set M8x45 (80) Schrauben den Sitz an der Sitzhalterung (6) an.
Montieren Sie nun das Arm-Polster (60) and der Konsole (9) - mit M8x20 (63 - 1 Set).

Montieren Sie den linken und rechten Arm (Pull Up) (52, 53) an dem vertikalen Rohr (59) - mit den Schrauben M10x50 (74 - 2 Sets) sowie Unterlegscheiben und Muttern.
Fugen Sie die Handgriffe (16) in die „Arme" (55, 56) ein - mit den Schrauben M10x20 (78 - 2 Sets) sowie Unterlegscheiben und Muttern.
Montieren Sie den Rahmen der Sit-Up Bank (64) an der vertikalen Säule (59) - Nutzen Sie zur Befestigung hier den Locking Pin (84).




12
Kontrolle
- Prufen Sie alle Verschraubungen und Steckverbindungen auf festen Sitz. Ziehen Sie Schrauben gegebenenfalls nach.
- Stellen Sie sich, dass genug Abestand zu anderen Gegenständen wie Möbeln, Geräten usw. besteht.
- Machen Sie sich mit dem Gerät vertraut und beginnen Sie zunachst mit einem „leichten" Training.
AUFWÄRMONVOR DEM TRAINING

Führn Sie die Aufwärmbewegungen vor jeder Trainingsinheit durch. So mobilisieren Sie ihre Gelenke und aktivieren die Muskulatur.
Sollten Sie sich bei einzelnen Bewegungen unwohl führn oder Schmerz empfinden, so überspringen Sie diese Übung und stimmen sich über ein spezi fches Aufwärmttraining mit ihrem Arzt bzw. Fitnessstrainer ab.
Jede Bewegung solle einige Wiederholungen erfahren (rechts und links) sodass Sie entspannnt ins Cardiotraing starten konnen.
Nehmen Sie sich für die folgende Klarf t-Trainingsroutine etwa 5 Minuten Zeit:
- Kopf seitlich neigen, langsam abwechselnd von rechts nach links. Im Anschluss mobilisieren Sie die Schultern (Kreisbewegungen und Schulterzucken).
- Hufte drehen während die Arme gestrekt sind. Die FüBe sind damit nicht fest am Boden fixiert (die FuBgelenke begleiten die Körperrehung).
- Hüfte beugen, ein Arm gestrekt nach oben. Verbleiben Sie in dieser Position jeweils eine Sekunden pro Seite.
- Hüfte beugen, beiden Arme offen geschlossen. Auch hier verbleiben Sie auf jeder Seite, die Übung ist nun etwas intensiver, da der zweite Arm mitzieht.
- Stellen sie sich auf ein Bein und halten den Spann mit der Hand. Hier mobilisieren Sie ihr Fußgelenk und strecken den Oberschenkelleitung. Stützen Sie sich gegebenenfalls ab, um Ihr Gleichgewicht zu halten. Verbleiben Sie auf einem Bein und drehen das Fußgelenk nun kreisformig in beiden Richtungen.
- Stellen Sie ein Bein nach vorne und stützen sich mit dem Oberkorper auf dem Oberschenkel ab. Hierbei mobilisieren Sie...,
neben den Knie- und Fußgelenken auch die hintere Wadenmuskulatur. - Wiederholen Sie die Übung aus Punkt 6. mit dem Unterschied, dass Sie nun einen groben Ausfallschnitt nach vorne machen. Die Bewegung wird jetzt intensiver.
- Beugen Sie sich mit gestreckten Beinen nach vorne und berühren Sie abwechselnd mit der Hand den gegenüberliegenden Fuß. Zum Schluss lasen Sie sich entspannt und locker nach unten hängen.
| Rudern sitzend (Trapezius, Latissimus dorsi, Erector Spinae). Setzen Sie sich mit leicht angewinkelten Beinen und stemmen Sie ihre Fußge gegen das vordere Basisrohr. Nehmen Sie den Griff undziehen Sieihn zu sich. Führren Sieihn langsam darüber. | Knee Raise (Hüftbeuger, Rectus Abdominis) Legen Sie sich mit angewinkelten Beinen vor die Gym Station. Nehmen Sie den Griff zwischen die Fußge. Spannen Sie die Zehen an. Strecken Sie nun ihre Beine nach oben und führen Sie sie langsam darüber. | Curls (Bizes, Unterarmflexoren) Stellen Sie sich gerade vor die Gym Station. Halten Sie die Ellbogen an den Körper. Ziehen Sie den Handgriff so welt es gehen gerade nach oben |
| Preacher Curls (Bizeps, Unterarmflexoren) Setzen Sie sich auf den Sitz, lehnen Sie sich vor und drücken Sie ihre Ellbogen gegenüber die Auflage. Ziehen Sie den Griff in einem Bogen nach oben. | Preacher Curls (Reverse Grip) (Uterarmflexoren, Bizeps) Genau wie die Preacher Curls, nur mit Griff von oben, wodurch entsprechenden die Unterarmuskulatur angesprochen wird. | Wrist Curl (Uterarmflexoren) Legen Sie ihre Unterarme auf den Schaumstoffpólstem ab, während Sie Curls nur aus dem Handgelenk machen. |
| Leg Curl (Ischiocrurale Muskeln) Machen Sie diese Übung immer nur mit jeweils einem Bein. Bringen Sie die Roll Pads in eine adäquate Position, hinter das unter zu klemmen und mit dem Knie gegen das obere zu kontern. Curls Sie Ihr Bein. | Leg Extensions (Quadriceps) Haken Sie die oberen Roll Pads mit ihren Kniekehlen ein und ihre Fuß-Erter unter die unteren Roll Pads. Strecken Sie die Beine langsam. | Crunchles (Rectus Abdominis, Serratus, Latissimus Dorsi) Montieren Sie die Roll Pads am untersten Loch und klemmen Sie ihre Beine um die Pads und greifen Sie die Lat-Stange, ihre Arme parallel zum Körper per führend. Ziehen Sie die Stange nach vorn und unter soweit möglich. |
| Straight Arm Pullover(Latissimus Dorsi, Serratus Pectoralis)Lehnen Sie sich auf dem Sitz nach halten und greifen Sie die Lat-Stange.Ziehen Sie sie mit gestreckten Armen nach vorn unter. | Bankrücken (vertical)Stellen Sie die Sitzhöhe so ein, dass die Handgriffe auf Brusthöhe sind.Drucken Sie. | Butterfly(Pectoralis)Sitzen Sie gerade, die Oberarme in derHorizontalen und die Unterarme an denRoll Pads. Drücken Sie mit den Ellbogen,nicht mit den Händen! |
Dear Customer,
Fuhren Sie die Aufwärmbewegungen vor jeder Trainingseinheit durch. So mobilisieren Sie ihre Gelenke und aktivieren die Effectuez Les mouvements d'échauffement avant chaque séance d'entrainment. Vous mobilise ainsi vos articulations et activez vos muscles.
EinfachAnleitung