Vortex Mini 2 - Drone Reely - Notice d'utilisation et mode d'emploi gratuit
Retrouvez gratuitement la notice de l'appareil Vortex Mini 2 Reely au format PDF.
| Caractéristiques techniques | Drone quadricoptère, poids léger, caméra HD intégrée, portée de contrôle jusqu'à 100 mètres, temps de vol de 10 minutes. |
|---|---|
| Utilisation | Idéal pour les débutants et les passionnés de photographie aérienne, facile à piloter avec des commandes intuitives. |
| Maintenance et réparation | Vérifier régulièrement les hélices et la batterie, nettoyer les capteurs, pièces de rechange disponibles en ligne. |
| Sécurité | Respecter les réglementations locales concernant le vol de drones, ne pas survoler des zones sensibles, toujours garder le drone en vue. |
| Informations générales | Recharge via USB, compatible avec smartphones pour le contrôle via application, garantie de 2 ans. |
FOIRE AUX QUESTIONS - Vortex Mini 2 Reely
Questions des utilisateurs sur Vortex Mini 2 Reely
0 question sur cet appareil. Repondez a celles que vous connaissez ou posez la votre.
Poser une nouvelle question sur cet appareil
Téléchargez la notice de votre Drone au format PDF gratuitement ! Retrouvez votre notice Vortex Mini 2 - Reely et reprennez votre appareil électronique en main. Sur cette page sont publiés tous les documents nécessaires à l'utilisation de votre appareil Vortex Mini 2 de la marque Reely.
MODE D'EMPLOI Vortex Mini 2 Reely
Drone 2 en 1 VORTEX MINI et aéroglisseur FPV
N° de commande 2147018 Page 2 - 17
- Explication des symboles 3
- Utilisation prévue 4
- Contenu de l'emballage 4
- Caractéristiques et fonctions 4
- Consignes de sécurité 5
a) Informations générales 5 b) Appareils connectés 6 c) Éclairage LED. 6 d) Piles/accumulateurs 6
- Éléments de commande 7
- Configuration de la télécommande 8
a) Remplacement des piles 8 b) Allumage de la télécommande 8
- Configuration du drone 9
a) Recharge de la batterie du drone 9 b) Insertion de la batterie du drone 9 c) Appairage du drone avec la télécommande 10 d) Informations de base sur le contrôle des drones. 11 e) Conseils de vol pratiques pour les débutants 11
f) Demarrage du drone 12 g) Compensation du drone 12 h) Mode sans tete 12
i) Retour par une simple pression sur un bouton. 13 j) Vitesse faible et elevée. 13 k) Retournements et tonnaux 13
- Prise de vidéos et de photos 14
- Support de smartphone 14
- Configuration de l'agroglisseur 15
- Entretien et nettoyage 15
- Déclaration de conformité (DOC) 16
- Élimination des déchets 16
a) Produit 16 b) Piles/accumulateurs 16
- Caractéristiques techniques 17
a) Caractéristiques techniques 17 b) Drone. 17 c) Batterie de drone 17 d) Base aéroglisseur. 17
1. Introduction
Merci d'avoir acheté ce produit.
Ce produit est conforme aux exigences nationales et européennes en vigueur.
Afin de préserver cette conformité et de garantir un fonctionnement en toute sécurité, vous devez respecter ce mode d'emploi!

Ce mode d'emploi fait partie de ce produit. Elle contient des informations importantes concernant la mise en service et l'utilisation. Vous devez cette en considération si vous devez fournir ce produit à un tiers. Par conséquent, conservez ces instructions d'utilisation afin de pouvoir vous y référer ultérieurement!
Pour toute question technique, veuillez vous adresser à:
Le symbole avec l'éclair dans un triangle indique qu'il y a un risque pour votre santé, par ex. en raison d'une décharge électrique.

Le symbole avec le point d'exclamation dans un triangle sert à indiquer les informations importantes présentes dans ce mode d'emploi. Veuillez lire ces informations attentivement.

Le symbole de la flèche indique des informations spécifiques et des conseils spéciaux pour le fonctionnement.
3. Utilisation prévue
Ce produit est un drone aéroglisseur à moteur électrique qui est contrôlé sans fil via la télécommande de 2,4 GHz fournie. L'appareil est destiné à une utilisation en intérieur/extérieur dans des endroits d'au moins 3 mètres de haut et de 5 mètres de large.
Le produit ne doit pas être mouillé ni exposé à l'humidité.
Ce produit ne convient pas à un enfant de moins de 14 ans.
Pour des raisons de sécurité et d'homologation, toute restructuration et/ou modification du produit est interdite. Toute utilisation à des fins autres que celles décrites ci-dessus pourrait endommager le produit. De plus, une mauvaise utilisation pourrait entraîner des risques tels que les courts-circuits, les incendies, les chocs électriques, etc. Lisez attentivement les instructions du mode d'emploi et conservez-le dans un endroit sûr. Ne mettez ce produit à la disposition de tiers qu'avec son mode d'emploi.
Tous les noms d’entreprises et appellations de produits sont des marques commerciales de leurs propriétaires respectifs. Tous droits réservés.
4. Contenu de l'emballage
- Drone
- Tournevis
- Base aéroglisseur
2 rotors de rechange
- Telecommande
- Support de smartphone
- Cable de charge USB
Mode d'emploi
Mode d'emploi actualisé
Téléchargez le mode d'emploi le plus récent sur www.conrad.com/downloads ou scannez le code QR indiqué. Suivez les instructions figurant sur le site Web.

5. Caractéristiques et fonctions
- Drone 2 en 1 et aéroglisseur pour activités sur terre et dans les airs
- Adapté pour une utilisation en intérieur et en extérieur
- Télécommande 2,4 GHz avec une portée de 30 mètres
- Léger, compact et portatif
- Effectue des cascades telles que des retournements et des tonneaux à 360 degrés
- Le mode sans tête facilite le pilotage et vous permet de piloter selon votre direction
- 2 réglages de vitesse (élevée et faible) accessibles par simple pression d'un bouton
- La fonction de return par pression sur un simple bouton ramène à chaque fois le drone au point de départ
- Caméra Wi-Fi 720 pixels intégrée avec vidéo
- Application personnalisée pour visionner des séquences vidéo en direct sur un smartphone ou une tablette
- Le support de smartphone vous permet de fixer un smartphone à la télécommande. Lumières LED pour les vols de nuit
- La batterie se recharge en seulement 40 minutes.
6. Consignes de sécurité

Lisez attentivement le mode d'emploi et respectez en particulier les consignes de sécurité. Nous déclinons toute responsabilité en cas de dommages corporels ou matériels résultant du non-respect des consignes de sécurité et des informations relatives à la manipulation correcte contenues dans ce manuel. De tels cas entraînent l'annulation de la garantie.
A) informations générales
Important : Plusieurs pays de l'UE interdisent l'utilisation de drones ! Veuillez vous familiariser avec les réglementations locales concernant l'utilisation des drones. Par exemple, en Allemagne, les réglementations relatives aux drones sont stipulées dans la loi allemande sur le trafic aérien. Le non-respect des dispositions légales pourrait entraîner des sanctions graves ainsi que des restrictions de votre couverture d'assurance.
- Le produit n'est pas un jouet. Il doit rester hors de portée des animaux domestiques et des enfants de moins de 14 ans.
- Le produit ne doit pas être mouillé ni exposé à l'humidité.
- Par mesure de sécurité, ne laissez pas l'emballage sans surveillance à la portée des enfants.
- Gardez l'appareil à l'abri de températures extrêmes, de la lumière directe du soleil, de secousses intenses, d'humidité élevée, d'eau, de gaz inflammables, de vapeurs et de solvants.
- N'exposez pas le produit à des contraintes mécaniques.
- Si une utilisation du produit en toute sécurité n'est plus possible, arrêtez de l'utiliser et protége
- est visiblement endommagé,
- ne fonctionne plus correctement,
- a été stocké pendant une période prolongée dans des conditions défavorables ou
- a été transporté dans des conditions très rudes.
- Manipuez le produit avec précaution. Des secousses, des chocs ou une chute, même de faible hauteur, peuvent endommager le produit.
- Consultez un spécialiste en cas de doute sur le fonctionnement, la sécurité ou le raccordement de l'appareil.
- L'entretien, les modifications et les réparations doivent être effectués uniquement par un technicien ou un centre de réparation agréé.
- Si vous avez des questions dont la réponse ne figure pas dans ce mode d'emploi, contactez notre service de support technique ou tout autre personnel technique.
- Sélectionnez un endroit adapté pour faire voler le drone dans une zone dégagée d'au moins 5 mètres de largeur et 3 mètres de hauteur. Vérifiez qu'il n'y a pas de dangers potentiels tels que des câbles électriques aériens.
- En cas de chute grave (c'est-à-dire depuis une altitude élevée), les capteurs gyroscopiques électroniques peuvent être endommagés. Vérifiez toujours que l'appareil fonctionne correctement avant de le faire voler à nouveau !

B) appareils connectés
- Lorsque vous allumez le drone et le connectez à la télécommande, suivez toujours les procédures décrites dans les sections appropriées de ce manuel. Cela garantit que la télécommande et le drone se connectent correctement et que le drone répond de manière fiable aux commandes de la télécommande. Assurez-vous qu'aucun autre appareil n'est utilisé sur la même fréquence (2,4 GHz) à portée de la télécommande. Vérifiez toujours s'il existe d'autres systèmes de télécommande 2,4 GHz qui pourraient interférer avec l'appareil, sinon vous risquez de perdre le contrôle du drone!
- Effectuez des contrôles réguliers pour vérifier que l'appareil et la télécommande peuvent être utilisés en toute sécurité. Inspectez les pièces afin de repérer tout signe de dommages, tels que des fiches défectueuses ou des câbles endommagés. Toutes les pièces mobiles de l'appareil doivent fonctionner correctement.
- La batterie du drone doit être chargée avant utilisation conformément aux instructions du fabricant. Assurez-vous que les piles de la télécommande ont une capacité restante suffisante (utilisez un testeur de pile). Si les piles sont épuisées, remplacez-les toujours en même temps, ne les remplacez jamais individuellement. N'essayez jamais de toucher le drone pendant qu'il vole. Maintenez votre corps et vos cheveux éloignés des pièces en rotation telles que les rotors.
- Ne faites fonctionner l'appareil que si vous êtes pleinement alerte et capable de réagir. La fatigue, l'alcool et les médicaments peuvent affecter votre capacité à réagir.
- Respectez également les informations concernant la sécurité et le mode d'emploi pour les autres appareils connectés à ce produit.
C) Éclairage LED
- Attention, éclairage LED :
- Ne regardez pas directement la lumière produite par les diodes LED !
- Ne regardez pas directement dans le faisceau ni avec des instruments optiques !
D) Piles/accumulateurs
Les instructions suivantes s'appliquent à toutes les piles, sauf si une pile spécifique est spécifiée (par ex. pile rechargeable ou non rechargeable).
- Respectez la polarité lorsque vous insérez les piles.
- Afin d’éviter les dommages dus aux fuites, les piles doivent être enlevées de l’appareil si celui-ci n’est pas utilisé pendant longtemps. Des piles endommagées ou qui fuient peuvent provoquer des brûlures acides en cas de contact avec la peau, il est donc recommandé de manipuler les piles usagées avec des gants de protection appropriés.
- Les piles doivent être tenues hors de portée des enfants. Ne laissez pas des piles traîner, car il existe un risque que les enfants ou les animaux domestiques les avalent.
- Les piles doivent être remplacées en même temps. Mélanger des piles usagées et des piles neuves dans l'appareil peut entraîner des fuites et endommager l'appareil.
- Les piles ne doivent pas être démantelées, court-circuitées ou jetées au feu. Ne rechargez pas les piles non rechargeables. Il existe un risque d'explosion!
7. Éléments de commande



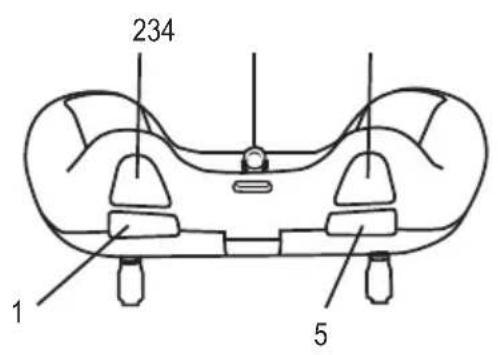
1 Bouton de vitesse élevée/faible 2 Mode sans tête et bouton de retour par simple pression 3 Fente de support de smartphone 4 Bouton photo/vidéo (compatible uniquement avec des caméras non-Wi-Fi) 5 Bouton retournement 6 Bouton compensation vers l'avant 7 Bouton compensation vers l'arrière 8 Manette de commande de l'accélération pour monter/descendre, se déplacer à gauche/à droite et arrêter les rotors 9 Bouton marche/arrêt 10 Support de smartphone 11 Manette de pilotage pour aller vers l'avant, vers l'arrière, à gauche et à droite. 12 Bouton compensation à droite 13 Bouton compensation à gauche 14 Indicateur LED 15 Base aéroglisseur
8. Configuration de la télécommande

Les numéros utilisés dans ces instructions se réfèrent à l'illustration située à côté du texte ou aux illustrations de la section respective. Les références croisées à d'autres figures sont indiquées avec le numéro correspondant.
Les images de la télécommande et du drone dans ce manuel sont fournies à titre de référence uniquement. Les autocollants, le design et la palette de couleurs peuvent différer de ceux des photos.
Remplacement des piles
4 piles AAA sont nécessaires pour faire fonctionner la télécommande.

Pour des raisons de sécurité et pour prolonger la durée de vie des piles, n'utilisez pas de piles rechargeables pour alimenter la télécommande.
Pour insérer les piles, procédez comme suit:
Desserrez les vis des couvercles du compartiment à piles situés à l'arrière de la télécommande, puis retirez les couvercles du compartiment à piles.
Insérez les piles dans le compartiment à piles. Faites attention aux repères de polarité pour vous assurer que les piles sont bien insérées sur la bonne polarité.
Remplacez les couvercles du compartiment à piles et serrez les vis.
B) allumage de la télécommande
Appuyez sur le bouton marche/arrêt (9) pour allumer la télécommande.
Le voyant LED rouge (14) clignote.
Remarque: Levoyant LED sur la télécommande reste allumé lorsque la télécommande est connectée au drone.

Important!
La télécommande émet un bip en continu lorsque les piles sont presque déchargées. Pour vous assurer que vous ne perdez pas le contact avec le drone, remplacez immédiatement les piles.
9. Configuration du drone
La batterie du drone peut être chargée en utilisant le câble USB fourni.

Le câble de charge est enroulé. Avant la première utilisation, enlevez l'attache du câble et déroulez entièrement le câble de charge.
Recharge de la batterie du drone
Branchez la fiche USB du câble de recharge au port USB d'un PC/ordinateur portable ou une prise de chargeur USB. Insérez le connecteur réversible du câble de recharge USB dans la prise de connexion de la batterie du drone.
Attendez que le voyant LED de charge rouge du connecteur USB s'allume, indiquant que la batterie rechargeable est entièrement rechargée. Il faut environ 40 minutes pour charger la batterie, qui fournit 5 minutes de temps de vol.
Débranchez la batterie du drone du câble de recharge immédiatement après la recharge et enlevez le connecteur USB du câble de recharge du PC/ordinateur portable ou de la prise du chargeur.

Important!
Ne connectez pas le câble USB à un hub USB sans sa propre alimentation (par ex. un port USB sur un clavier), car le courant n'est pas suffisant pour recharger la batterie.
Le système d'exploitation ne détectera aucun nouveau matériel lorsque le câble de recharge est branché, car le port USB n'est utilisé que pour recharger la batterie. Veuillez noter que la plupart des ports USB des PC/ordinateurs portables ne sont actifs que lorsque le PC/ordinateur portable est allumé.
Nous recommandons donc que vous connectiez uniquement le câble de recharge à un PC/ordinateur portable qui est allumé.

Important!
Ne chargez la batterie du drone qu’avec l’aide du câble de charge USB fourni. N’essayez jamais de charger la batterie avec un chargeur différent/incompatible! Enlevez toujours la batterie du drone avant de la charger. Ne rechargez jamais la batterie lorsqu’elle est encore dans le drone. Ne rechargez la batterie que lorsque vous êtes capable de surveiller le processus de recharge.
B) insertion de la batterie du drone
Le drone s'allume automatiquement lorsque vous inserez la batterie dans le drone. Pour maximiser le temps de vol, n'effectuez cette étape que lorsque vous êtes prêt à utiliser votre drone.
Faites glisser la batterie du drone dans le compartiment de la batterie situé sur la partie inférieure du drone jusqu'à ce qu'elle s'enclenche.
Les câbles de connexion de la batterie doivent pointer vers l'extérieur.
Insérez le connecteur réversible de la batterie dans la fiche à côté du châssis.
C) Appairage du drone avec la télécommande

Avant d'insérer la batterie dans le drone, assurez-vous que le drone et la télécommande sont côte à côte. Cela garantit que le drone peut se connecter à la télécommande et répondre à ses commandes.

Important!
Allumez toujours la télécommande avant d'allumer le drone. Lorsque vous éteignez les appareils, enlevez la batterie du drone avant d'éteindre la télécommande.
Avant d'insérer la batterie dans le drone, veillez qu'il n'y ait pas d'autres télécommandes de 2,4 GHz actives (par ex. pour un autre drone) à proximité immédiate.
Ne faites la batterie insérée, les voyants LED situés sur le drone et la télécommande clignotent.
Poussez la manette de commande de l'accélération (8) vers le haut (vous entendrez un bip), puis tirez-la vers le bas. Un autre bip retentit lorsqu'ils sont appariés avec succès. Les voyants LED du drone et de la télécommande sont allumés en continu.
Le drone est maintenant prêt à décoller.


Important!
Les composants de stabilisation internes sont calibrés pendant le processus d'appairage. Ne déplacez pas ou ne faites pas pivoter le drone pendant ce temps.
Si le voyant LED de la télécommande continue à clignoter, cela indique que le processus d'appairage a échoué. Répétez le processus à nouveau avec la manette de commande de l'accélération (8) tel que décrit ci-dessus. Si le problème persiste, essayez d'éteindre et de rallumer les deux appareils et lancez l'appairage avec le levier d'accélération.
Réinitialisation du gyroscope
Avant votre premier vol et chaque fois que le drone semble déséquilibré en vol, vous pouvez réinitialiser le gyroscope à l'aide de la télécommande. Tirez sur la manette de commande et la manette de pilotage à 45 degrés pendant 2 à 3 secondes, puis relâchez. Le gyroscope est réinitialisé lorsque les voyants LED du drone ne clignotent plus et restent allumés en continu.
Après avoir réinitialisé le gyroscope, redémarrez l'appareil en éteignant et en allumant à nouveau la télécommande et le drone (enlever/reinsérer la batterie). Vous devrez aussi appairer le drone avec la télécommande avant de pouvoir utiliser l'appareil.


Important!
Lisez attentivement les informations suivantes avant de faire voler le drone.
Informations de base sur le contrôle des drones
Avant de faire voler le drone, familiarisez-vous avec les fonctions de contrôle pour vous assurer que vous pouvez contrôler les drones en toute sécurité. Le drone est contrôlé à l'aide de deux manettes sur la télécommande. Ces manettes ont les fonctions suivantes :
Fonction altitude
La fonction altitude vous permet de contrôler l'altitude du drone. Pour modifier l'altitude, déplacez la manette de commande de l'accélération (8) vers le haut ou vers le bas à partir de la position neutre.
Lorsque la manette de commande de l'accelération est dans la position neutre, le drone plane à une altitude constante. Lorsque la manette est déplacée vers le haut, la vitesse des rotors augmente, ce qui fait monter le drone. Lorsque la manette est déplacée vers le bas, la vitesse des rotors chute, ce qui réduit l'altitude du drone. Nous recommandons de ne pas faire voler le drone à plus de 10 mètres de haut.
La manette de commande de l'accélération peut aussi être utilisée pour faire tourner le drone à 360 degrés vers la gauche ou la droite. En d'autres termes, vous pouvez changer l'orientation du drone pour aller dans une autre direction.

Fonction pilotage
La fonction pilotage permet d'aller vers l'avant, vers l'arrière, à gauche et à droite.
Poussez la manette de pilotage (11) vers le haut pour aller vers l'avant.
Poussez la manette de pilotage vers le bas pour aller vers l'arrière.
Poussez la manette de pilotage vers la gauche pour aller à gauche.
Poussez la manette de pilotage vers la droite pour aller à droite.


Important!
La télécommande peut communiquer avec le drone lorsqu'il se trouve à 30 mètres maximum. Assurez-vous de rester à portée. Si un drone est hors de portée, il cessera de fonctionner et tombera au sol, ce qui pourrait endommager les composants.
Conseils de vol pratiques pour les débutants
Bien que le drone puisse voler dans de petites zones, nous recommandons d'utiliser un espace dégagé d'au moins 5 mètres de large et 3 mètres de hauteur pour les premières tentatives de vol.
Placez-vous directement derrière le drone. Cela garantit que le drone réagit aux commandes de la télécommande (gauche, droit, avant et arrière) exactement comme vous les venez. Si la caméra est face à vous, le drone répondra dans le sens inverse.

Important!
Si les rotors heurtent des objets et se coincent, ou si le drone bascule, éteignez immédiatement les moteurs des rotors. Pour ce faire, tirez sur la manette en position basse (13) jusqu'à l'arrêt des moteurs.
N'essayez jamais d'arrêter les moteurs lorsque le drone est en vol, car cela provoquerait sa chute au sol et pourrait endommager les composants.
N'essayez jamais d'attraper le drone avec vos mains lorsqu'il est en l'air, cela pourrait provoquer des blessures. Lorsque les voyants LED du drone commencent a clignoter, ILA indique que la batterie est faible. Nous recomman dons de faire attirrir immediatement le drone et de recharger la batterie pour I'empecher de s'épuiser en plein vol. Laissez la batterie du drone et le drone refroidir avant de recharger ou de replacer la batterie.
F) Démarrage du drone
Allumez la télécommande, puis allumez le drone en insérant la batterie.
Placez-vous derrière le drone et appuyez doucement sur la manette d'accélération (8). Les rotors commencent à tourner à une vitesse croissante jusqu'à ce que le drone décolle.
Vous pouvez ensuite contrôler le drone comme cela est décrit ci-dessus.
G) compensation du drone
Si le drone continue à tourner d'un côté, vous pouvez ajuster les commandes en conséquence.
Si le drone tourne vers la droite, appuyez sur le bouton de compensation à gauche (13) et maintenez-le enfoncé jusqu'à ce que le drone s'arrête de tourner à droite.
Si le drone tourne vers la gauche, compensez-le à l'aide du bouton de compensation à droite (12).
Si le drone continue à aller tout droit, compensez-le à l'aide du bouton de compensation vers l'arrière (7).
Si le drone continue à aller en arrière, compensez-le à l'aide du bouton de compensation vers l'avant (6).
H) Mode sans tête
Le mode sans tête permet au drone de répondre à vos commandes de pilotage en fonction de votre orientation (plutôt que de l'orientation du drone). Cela signifie que vous ne devez pas vous soucier de la position de l'avant du drone, car le drone répondra de votre point de vue. Par exemple, lorsque la fonction sans tête est activée et vous tournez le drone vers la gauche, le drone tourne vers votre gauche. Lorsque vous tournez le drone vers la droite, il se déplace vers votre droite, quel que soit l'emplacement de l'avant physique du drone. Cette fonction peut être utile lorsque vous apprenez à faire voler le drone ou si le drone est trop loin et si vous ne pouvez pas voir clairement son orientation.
Pour activer le mode sans tête, appuyez sur le bouton mode sans tête (2). La télécommande émet un bip sonore et les voyants du drone se mettent à clignoter. Pour désactiver le mode sans tête, appuyez de nouveau sur le bouton mode sans tête.

Cette fonction n'est pas disponible en modes aéroglisseur.
Retour par une simple pression sur un bouton
Pour ramener facilement le drone à son point de départ, appuyez sur le bouton de return par simple pression (2) et maintenez-le enfoncé.
Pour désactiver cette fonction, poussez sur la manette de pilotage (11) dans n'importe quelle direction.
Remarque : Le drone n'atterit pas automatiquement. Vous devez toujours contrôler la hauteur du drone lorsque vous utilisez cette fonction.
La fonction de retour par simple pression n'est pas disponible en modes aéroglisseur.
J) vitesse faible et élevée
La fonction de vitesse faible et élevée vous permet d'augmenter ou de diminuer rapidement la vitesse par une simple pression.
Appuyez sur le bouton vitesse faible/élevée (1) pour changer la vitesse. Un bip retentit pour indiquer la vitesse sélectionnée.
1 bip = vitesse faible
2 bips = vitesse élevée
La fonction de vitesse faible et élevée n'est pas disponible en modes aéroglisseur.
K) Retournements et tonneaux
Une fois que vous êtes à l'aise avec les connaissances de bases requises pour faire voler le drone, vous pouvez essayer de retourner le drone et de faire des tonneaux avec.
Assurez-vous que le drone est au moins à 3 mètres au-dessus du sol. Puis appuyez sur le bouton retournement (5) et appuyez rapidement sur la manette de pilotage (11) vers la gauche ou vers la droite pour faire basculer ou rouler le drone. Une fois la manœuvre terminée, stabilisez le drone.

Cette fonction retournement n'est pas disponible en mode aéroglisseur.
10. Prise de vidéos et de photos

Le drone dispose d'une caméra Wi-Fi intégrée. Les fonctions vidéos et photos fonctionnent uniquement avec des smartphones et des tablettes sur lesquelles le Wi-Fi est activé.
Téléchargez l'application sur un smartphone ou une tablette pour visionner des images du drone en direct et prendre des photos. L'application fournit aussi un accès à un large éventail de fonctions d'édition ainsi que des commandes à l'écran faciles à utiliser. Suivez les étapes ci-dessous pour télécharger et installer l'application :


Scannez le QR code ou allez dans l'iOS App Store / Android Google Play Store et recherchez « FHDFPV »
Sélectionnez « GET » pour télécharger l'application. Suivez les instructions à l'écran pour terminer l'installation.
Allumez le drone en insérant la batterie et assurez-vous que la télécommande est éteinte.
Allez dans les « Paramètres » de votre smartphone ou tablette et activez le Wi-Fi et la fonction hotspot.
Connexion au hotspot Wi-Fi « KY720P... »
Une fois connecté, ouvrez l'application « FHDFPV » et touchez l'icône « PLAY » pour accéder à l'interface de contrôle.
Les photos et les vidéos sont automatiquement sauvegardées sur tout smartphone ou toute tablette.
Pour obtenir de l'aide sur l'utilisation de l'application, touchez l'icône d'aide dans le coin en bas à gauche de l'écran. Ce produit n'est pas compatible avec le mode Track (piste), le mode Sound (son), le mode Gesture (mouvement) ou le mode Altitude hold (maintien de l'altitude).
Une fois l'application téléchargée, vous pouvez l'utiliser pour prendre des photos ou des enregistrements vidéo.
Le bouton photo/video (4) de la télécommande fonctionne uniquement avec des drones qui disposent de caméras sans une fonction Wi-Fi.
11. Support de smartphone
Le support de smartphone vous permet d'utiliser la télécommande tout en regardant des séquences vidéo en direct depuis votre drone ou en prenant des photos ou des enregistrements vidés.
Fixez le support de smartphone en passant l'extrémité avec la vis à travers le centre de la télécommande. Faites glisser le support de smartphone dans la fente de la télécommande. Serrez la vis pour le maintenir en place. Fixez le smartphone ou la tablette dans le support avec l'orientation paysage.
12. Configuration de l'aéroglisseur
Le drone peut rapidement être converti en aéroglisseur. Cela vous permet d'en savoir plus sur certaines des commandes à distance tout en réduisant le risque d'endommager le drone.
Mode drone

La batterie étant insérée dans le drone, tirez doucement les 2 rotors arrière en position verticale. Fixez le drone dans la base de l'agrolisseur.
L'agrolisseur est commandé de la même manière que le drone. Par exemple, vous pouvez utiliser la manette d'accélération (8) pour contrôler la vitesse, le levier gauche/droite pour contrôler l'orientation et la manette de pilotage (11) pour contrôler la direction. Les boutons suivants et leurs fonctions correspondantes ne peuvent pas être utilisés en mode agrolisseur:
- Fonction sans tête/bouton de retour par simple pression (2)
- Bouton Flip (5)
- Bouton de vitesse élevée/faible (1)
13. Entretien et nettoyage

N'utilisez pas de produit de nettoyage agressif, d'alcool isopropylique ou toute autre solution chimique, car ils peuvent endommager le boîtier et engendrer des dysfonctionnements.
- Débranchez le chargeur USB avant le nettoyage.
- Nettoyez le drone et la télécommande avec un chiffon sec et non pelucheux.
Remplacement des rotors
Si un rotor est endommagé, selon le rotor à changer, utilisez le rotor de type C ou de type D qui a été livré avec le produit. Le type C ou D est imprimé sur le rotor pour indiquer le type de rotor.
Retirez le rotor bleu et séparez-le du tube argenté. Faites attention de ne pas tirer trop fort pour ne pas détacher accidentellement les fils du rotor. Prenez le nouveau rotor et appuyez-le sur la tige métallique jusqu'à ce qu'il tienne bien en place. Puis insérez le tube argenté dans le boîtier en plastique.

14. Déclaration de conformité (DOC)
Conrad Electronic SE, Klaus-Conrad-Strasse 1, D-92240 Hirschau, déclare par la présente que ce produit est conforme à la directive 2014/53/UE.

Le texte intégral de la déclaration de conformité UE est disponible au lien suivant :
Sélectionnez une langue en cliquant sur le drapeau correspondant, puis saisissez le numéro de commande du produit dans le champ de recherche pour pouvoir télécharger la déclaration de conformité UE sous format PDF.
15. Élimination des déchets

Les appareils électroniques sont des matériaux recyclables et ne doivent pas être éliminés avec les ordures ménagères. En fin de vie, éliminez l'appareil conformément aux dispositions légales en vigueur.
Les piles et mettez-les au rebut séparation du produit.
B) piles/accumulateurs

Le consommateur final est légalement tenu (ordonnance relative à l'élimination des piles usagées) de rapporter toutes les piles usagées. Il est interdit de les mettre au rebut avec les ordures ménagères.
Les piles qui contiennent des substances toxiques sont étiquetées avec ce symbole qui indique l'interdiction de les jeter dans les ordures ménagères. Les désignations pour le métal lourd prépondérant sont : Cd = cadmium, Hg = mercury, Pb = plomb (comme indiqué sur les piles, par ex. sous le symbole de la poubelle illustré à gauche).
Les piles usagées peuvent être rendues aux centres de récupération de votre commune, à nos succursales ou à tous les points de vente de piles.
Vous remplirez ainsi vos obligations légales et contribuerez à la protection de l'environnement.
A) Caractéristiques techniques
Tension/courant d'entrée 6 V/DC (4 piles AA)
Fréquence 2,405 à 2,475 GHz
Puissance de transmission : 3 dBm
Portée de l'application du téléphone................. 20 mètres
Compatibilité du logiciel pour smartphone.... Android:4.0 à 10
iOS:6,0 à 13
C) Batterie de drone
Durée de recharge. 40 minutes
Durée d'utilisation 5 minutes
Tension/courant d'entrée Li-Po 3,7 V 200 mAh, 0,74 Wh
Poids. 5,7g
Base aéroglisseur
Dimensions (L x l x H) 144 x 93 x 60 mm
Poids..56g
K) Capriole et tonneau
Ceci est une publication de Conrad Electronic SE, Klaus-Conrad-Str. 1, D-92240 Hirschau (www.conrad.com).
Tous droits réservés, y compris de traduction. Toute reproduction, quelle qu'elle soit (p. ex. photocopie, microfilm, saisies dans des installations de traitement de données) nécessite une autorisation écrite de l'éditeur. Il est interdit de le réimprimer, même par extraits. Cette publication correspond au niveau technique du moment de la mise sous presse.
Notice Facile