Vortex Mini 2 - Drone Reely - Manuale utente e istruzioni gratuiti
Trova gratuitamente il manuale del dispositivo Vortex Mini 2 Reely in formato PDF.
Domande degli utenti su Vortex Mini 2 Reely
0 domanda su questo apparecchio. Rispondi a quelle che conosci o fai la tua.
Fai una nuova domanda su questo apparecchio
Scarica le istruzioni per il tuo Drone in formato PDF gratuitamente! Trova il tuo manuale Vortex Mini 2 - Reely e riprendi in mano il tuo dispositivo elettronico. In questa pagina sono pubblicati tutti i documenti necessari per l'utilizzo del tuo dispositivo. Vortex Mini 2 del marchio Reely.
MANUALE UTENTE Vortex Mini 2 Reely
VORTEX MINI 2 in 1 drone e veicolo a cuscino d'aria FPV
N°.: 2147018 Pagina 34 - 49
- Introduzione 35
- Spiegazione dei symboli 35
- Uso previsto 36
- La confezione contiene 36
- Caratteristica e funzioni 36
- Istruzioni per la sicurezza 37
a) Informazioni generali 37
b) Dispositivi collegati 38
c) Luce LED 38
d) Batterie 38
- Componenti principali 39
- Impostazione del telecomando 40
a) Inserimento delle batterie 40
b) Accensione del telecomando. 40
- Configurazione del drone 41
a) Carica della batteria del drone 41
b) Inserimento della batteria del drone. 41
c)Accoppiamento del drone al telecomando 42
d) Informazioni di base sul controllo dei droni 43
e) Consigli di volo pratici per principianti 43
f)Avvio del drone 44
g) Assetto del drone. 44
h) Modalità headless 44
i)Ritorno a tocco singolo 45
j) Bassa e alta velocità 45
k) Capriole et tonneau 45
- Scattare fot e video 46
- Supporto smartphone 46
- Impostazione dell'hovercraft 47
- Manutenzione e pulizia 47
- Dichiarazione di conformità 48
- Smaltimento 48
a) Prodotto 48
b) Batterie 48
- Dati tecnici 49
a) Dati tecnici 49
b) Drone. 49
c) Battery drone 49
d) Base hovercraft 49
1. Introduzione
Gentile clientele,
grazie per aver acquistato quello prodotto.
Questo prodotto è conforme alle normative nazionali ed europee.
Per mantenere quello stato e garantire un funzionamento sicuro, l'utente deve osservare le istruzioni per I'uso!

Le istruzioni per l'uso costituiscono parte integrante del prodotto. Contengono note importanti sulla messa in servizio e gestione. Tenerne contaanche nel caso in cui si passi il prodotto a terzi. Pertanto, conservare queste istruzioni per l'uso come riferimento!
Per domande tecniche rivolgersi ai seguenti contatti:
Italia: Tel: 02 929811
Fax: 02 89356429
e-mail: assistenzatecnica@conrad.it
Lun - Ven: 9:00 - 18:00
2. Spiegazione dei symboli

Il significo composto da un fulmine inscritto in un triangolo indica che sussiste un rischio per la salute, ad esempio a causa di una scossa elettrica.

Il significo con il punto esclamativo inscritto in un triangolo è utilizzato per evidenze informazioni importanti nelle presenti istruzioni per l'uso. Leggere sempre attendamente queste informazioni.

Il simbolo della freccia indica suggerimenti e informazioni importanti per il funzionamento.
3. Uso previsto
Questo prodotto è un drone hovercraft a lavoro elettrico controllato in modalità wireless tramite il telecomando da 2,4 GHz in dotazione. Il modello è destinato all'uso in ambienti interni/esterni con almeno 3 metri in altezza e 5 metri di larghezza.
Il prodotto non deve inumidiri né bagnarsi.
Il prodotto non è adatto per bambini con meno di 14 anni di età.
Per motivi di sicurezza e in base alle normative, l'alterazione e/o la modifica del prodotto non sono consentite. Qualsiasi uso diverso da quanto indicate potrebbe arrecare danni al prodotto. Inoltre, un uso improprio può provocare cortocircuiti, incendi, scosse elettriche o altri rischi. Leggere attendentamente le istruzioni e conservarle in un luogo sicuro. In caso di cessione del prodotto a terzi, accludereanche le presenti istruzioni per l'uso.
Tutti i nomi di aziende e le denominazioni di prodotti ivi contenuti sono marchi dei rispetti proprietari. Tutti i diritti sono riservati.
4. La confezione contiene
- Drone
- Base hovercraft
Telecomando
Cavo di ricarica USB
Cacciavite
- Rotori di ricambio x 2
Supporto smartphone
Istruzioni per l'uso
Istruzioni per l'uso aggiornate
É possible scaricare i manuali d'uso aggiornati dal link www.conrad.com/downloads o eseguendo la scansion del codice QR.Seguire le istruzioni sul site web.

5. Caratteristiche e funzioni
- Drone e hovercraft 2 in 1 per attività terrestri e aeree
- Adatto per essere utilizzato sua in interni che all'aperto
- Telekomando da 2,4 GHz con una portata di 30 metri
- Leggero, compatto e portatile
Esegue acrobazie come capriole e tonneau a 360 gradi - La modalità headless rende più facili le sterzate consente di sterzare in base al proprio orientamento
-
2 impostazioni di velocità (alta e bassa), accessibili con il semplice tocco di un pulsante
-
La funzione di ritorno a tocco singolo riporta il drone agli volta al punto di partenza
- Videocamera Wi-Fi integrata da 720 pixel con video
- App personalizzata per la visualizzazione di filmati video live su smartphone o tablet
- Il supporto per smartphone consente di collegare uno smartphone al telecomando
Lucia LED per voli notturni - La batteria si ricarica in soli 40 minuti
6. Istruzioni per la sicurezza

Leggere attendamente le istruzioni per l'uso e osservare in modo particolare le informazioni sulla sicurezza. In caso di mancato rispetto delle istruzioni per la sicurezza e delle informazioni sul corretto utilizzo contente nel presente manuale, si declina qualsi responsabilità per eventuali danni a persono o cose. In questei casi, la garanzia decade.
a) Informazioni generali
Importante! Diversi paesi dell'UE probiscono l'uso di alcuni modelli di droni! Si prega di informarsi sulle normative locali per l'uso dei droni. Ad esempio, in Germania, le normative sui droni sono indicate nel German Air Traffic Act. La mancata osservanza delle norme di legge potrebbe comportare gravi sanzioni e restrizioni alla copertura assicurativa.
- Il prodotto non è un giocattolo. Tenere fuori alla portata di bambini con meno di 14 anni di età e animali domestici.
- Il prodotto non deve inumidiri né bagnarsi.
- Non lasciare il materiale di imballaggio incustodito, potrebbe costituire un giocattolo pericoloso per i bambini.
- Proteggere l'apparecchiatura da temperature estreme, luce diretta del sole, forti urti, umidità elevata, condensa, gas, vapori e solventi inframmabili.
- Non sottoporre il prodotto a sollecitazioni meccaniche.
-
Se non è più possibile utilizzare il prodotto in tutte sicurezza, metterlo fuori servizio e proteggerlo da qualiasi uso accidentale. Il corretto funzionamento non è più garantito se il prodotto:
-
è visibilmente danneggiato,
-non funziona piu correttamente, - è stato conservato per lunghi periodi in condizioni ambientali avverse o
-
è stato sopposto a gravi sollecitazioni legate al trasporto.
-
Si prega di maneggiare il prodotto con cautela. Sobbalzi, urti o cadute,anche da altezze ridotte, posso nanneggiare il prodotto.
- Consultare un esperto in caso di dubbi sul funzionamento, la sicurezza o la connessione dell'apparecchio.
- Tutti gli interventi di manutenzione, modifica o riparazione devono essere eseguiti unicamente da un technician o presso un centro di riparazione autorizzato.
- Non esitare a contattare il nostro personale di assistenza tecnica o altri tecnici in caso di domande che non trovano risposta in quello manuale.
- Selezionare una posizione adatta per far volare il drone in un'area alla stacoli di almeno 5 metri di larghezza e 3 metri di altezza. Verificare che non vi siano rischi potenziali, come cavi elettrici sospesi.
- In caso di incidente grave (ad esempio una caduta da un'altitudine elevata), i sensori giroscopici elettronici potrebbero danneggiarsi. Verificare sempre che il modello funzioni correttamente prima di rimetterlo in volo!

b) Dispositivi collegati
- Quando si accende il drone e lo si collega al telecommando, seguire sempre le procedure descripte nellesezioni appropriate di quello manuale. Ciò garantisce che il telecommando e il drone si colleghino correttamente e che il drone risponda in modo affidabile ai comandi del telecommando.
- Assicurarsi che nessun altro modellino sia in funzione nel raggio d'azione del telecommando sulla stessa frequenza di 2,4 GHz. Controllare sempre se sono presenti altri sistemi di controllo remoto a 2,4 GHz che potrebbero interferire con il modello, altrimenti si potrebbe perdere il controllo del drone!
- Eseguire controlli regolari per verificare che il modello e il telecomando siano sicuri da utilizzare. Controllare bene se ci sono danni visibili, come ad esempio collegamenti difettosi o cavi danneggiati. Tutte le parti mobili del modello devono funzionare regolarmente.
- La batteria del drone deve essere caricata prima dell'uso in conformità alle istruzioni del produttore. Assicurarsi che le batterie nel telecomando abbiano una capacité sufficiente (utilizzare un tester per batterie). Se le batterie sono scariche, sostuire sempre il set completingo, non sostuire mai le singole celle.
Non tentare mai di toccare il drone durante un volo. Tenere il corpo e i capelli lontani da parti rotanti come i rotori. - Mettere il modello in volo solo se si è sicuri di poterlo manovrare confacility. Se si è stanchi o si è in preda all'alcool o si sono assunti farmaci, si potrebbe non avera la prontezza di riflessi necessaria.
- Osservareanche leistruzioni di sicurezza e di funzionamento di qualunquealto dispositivo collegato al prodotto.
c) Luce LED
-
Attenzione, luce LED:
-
Non guardare direttamente verso la luce LED.
- Non guardare il raggio direttamente o mediante strumenti ottici.
d) Batterie
Le seguente istruzioni si applicano a tutte le batterie a meno che non sia specificata una batteria specifica (ad esempio, una batteria ricaricabile o non ricaricabile).
Osservare la polarità corretta durante l'insertimento delle batterie.
- Per evitare danni da fuoriuscite di acido, rimuovere le batterie dal disposito in caso di inutilizzo prolongato. Batterie danneggiate o con fuoriuscite potrebbero causare usioni da acido a contatto con la pelle. Pertanto, maneggiare le batterie non integre con quanti protettivi idonei.
- Tenere le batterie fuori alla portata dei bambini. Non lasciare le batterie incustodite in luoghi accessibili, poiché vi è il rischio di ingestione da parte di bambini o animali domestici.
Sostituire tutte le batterie contemporaneamente. L'uso congiunto di batterie vecchie e nuove puo provocare fuoriuscite di acido delle stesse e danni al dispositiivo.
- Le batterie non devono essere disassemblate, cortocircuitate o gettate nel fuoco. Non ricaricare le batterie non ricaricabili. Sussiste il rischio di esplosione.
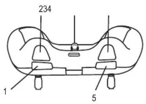
7. Componenti principali



1 Pulsante alta/bassa velocità
2 Modalità headless e pulsante di ritorno a tocco singolo
3 Slot per supporto per smartphone
4 Pulsante Foto/video (compatible solo con telemagere non Wi-Fi)
5 Pulsante capriola
6 Tasto di stabilizzazione in avanti
7 Tasto di stabilizzazione all'indietro
8 Leva acceleratore per saline/scendere, girare verso sinistra/destra o arrestare i rotori
9 Pulsante ON/OFF
10 Supporto smartphone
11 Leva dello sterzo per dirigersi in avanti, indietro, a destra o a sinistra
12 Tasto di stabilizzazione di destra
13 Tasto di stabilizzazione di sinistra
14 Indicatore LED
15 Base hovercraft
8. Impostazione del telecomando

I numero utilizzati in queste istruzioni si riferiscono all'illustrazione accanto al testo o alle illustrazioni all'interno della rispettozza sezione. I riferimenti che rimandano ad altre figure sono indicati con il numero corrispondente.
Le immagini del telecomando e del drone contenate nel presente manuale vengono fornite solo a scopoindicativo. Gli adesivi, il design e la combinazione di colori possono differire da quelli delle immagini.
a) Inserimento delle batterie
Per alimentare il telecomando sono necessarie 4 batterie di tipo AAA.

Per motivi di sicurezza e per garantire una magiore durata delle batterie, non utilizzato batterie ricaracibili per alimentare il telecomando.
Per insere le batterie, procedere come segue:
Allentare le viti dai coperchi del vano batterie sul retro del telecomando, quindi rimuovere i coperchi del vano batterie.
Inserire le batterie nel vano batterie. Prestare attenzione ai contrassegni di polarità per assicurarsi che le batterie siano inserte con la polarità corretta.
Rimettere in posizione il coperchio del vano batterie e fissarlo con le viti.
b) Accensione del telecomando
Premere il pulsante ON/OFF (9) per accendere il telecomando.
L'indicatore LED (14) rosso lampeggia.
Note: L'indicatore LED sul telecomando rimane costante quando il telecomando è collegato al drone.

Important!
Il telecomando emette un segnale acustico continuo quando le batterie sono scariche. Per assicurarsi di non perdere il contatto con il drone, sostituire immediamente le batterie.
9. Configurazione del drone
La batteria del drone cui estere caricata utilizzando il cavo USB in dotazione.

Il cavo di ricarica è avvolto. Prima del primo utilizzato, rimuovere la fascetta serracavi e svolgere completingmente il cavo di ricarica.
a) Carica della batteria del drone
Collegare il connettore USB del cavo di ricarica a una porta USB di un computer/computer portatile o alla spina di un caricabatterie USB.
Inserire il connettore reversible sul cavo di ricarica nella presa di collegamento sulla batteria del drone.
Attendere fino a quando l'indicatore di ricarica LED rosso sul connettore USB si accende, aindicare che la batteria ricaricabile è completamente carica. La carica della batteria richiede circa 40 minuti, che fornisco 5 minuti di volvo
Scollegare la batteria del drone dal cavo di ricarica subito dopo la ricarica e rimuovere il connettore USB del cavo di ricarica dal computer/computer portatile o alla spina del caricabatteria.

Important!
Non collegare il cavo USB a un hub USB alla un proprio alimentatore (ad esempio, una porta USB su una tastiera), poiché la corrente non è sufficiente per caricare la batteria.
Ilsystemoperativon non rileva alcun nuovo hardware quando il cavo di ricarica è collegato, poiché la porta USB viene utilizzata solo per caricare la batteria. La maggior parte delle porte USB dei computer/computer portatili è attiva solo quando il computer/computer portatile è accesso.
Si consiglia pertanto di collegare il cavo di ricarica solo a un computer/computer portatile acceso.

Important!
Caricare la batteria del drone solo utilizzando il cavo di ricarica USB in dotazione. Non tentare mai di caricare la batteria con un caricabatteria diverso/incompatible. Rimuovere sempre la batteria dal drone prima di caricarla. Non caricare mai la batteria quando è ancora nel drone. Caricare la batteria solo quando si è in grado di monitorare il processo di ricarica.
b) Inserimento della batteria del drone.
Il drone si accende automaticamente quando si inserisce la batteria nel drone. Per ottimizzare il tempo di volo, eseguire esta operazione solo quando si è pronti a utilizzato il drone.
Far scorrere la batteria del drone nel vano batteria nella parte inferiore del drone finché non si inserisce in posizione.
I cavi di collegamento della batteria devono essere puntati all'indietro.
Inserire il connettore reversible della batteria nella spina accanto al telaio.
c) Accoppiamento del drone al telecomando

Prima di insere la batteria nel drone, assicurarsi che il drone e il telecommando siano direttamente l'uno accanto all'altro. In quello modo il drone più connettersi al telecommando e rispondere ai comandi del telecommando.

Important!
Accendere sempre il telecomando prima di accendere il drone. Quando si spengono i dispositivi, rimuovere sempre la batteria dal drone prima di spegnere il telecomando.
Prima di inseire la batteria nel drone, assicurarsi che non vi siano altri telecomandi attivi a 2,4 GHz (ad esempio per un'alto drone) nelle immediate vicinanze.
Una volta inserta la batteria, i LED sul drone e il telecomando lampeggeranno.
Spingere la leva dell'acceleratore (8) versus l'alto (viene emesso un segnale acustico), quando tirarla versus il basso. Un altro segnale acustico viene emesso quando vengono accopiati correttamente e le lui LED sul drone e sul telecomando rimangono costamente accese.
Il drone è ora pronto per il decollo.


Important!
I componenti di stabilizzazione interni vengono calibrati durante il processo di accoppiamento. Non spostare o ruotare il drone durante questo periodo di tempo.
Se la spia LED sul telecomando continua a lampeggiare, significica che il processo di accoppiamento non è riuscito. Ripetere la procedura con la leva dell'acceleratore (8) come descripto sulla. Se il problema persiste, provare a spegnere e riaccendere entrambi i dispositivi e avviare l'accoppiamento con la leva dell'acceleratore.
Reset del giroscopio
Prima del primo volo egni volta che il drone sembra essere sbilanciato durante il volo, è possibile resettare il giroscopio utilizzando il telecomando. Tirare le leve dell'acceleratore e dello sterzo con un angolo di 45 gradi per 2-3 secondi, quindi rilasciarle. Il giroscopio viene resettato quando le luci LED lampeggianti sul drone rimangono costanti.
Dopo aver resettato il giroscopio, riavviare il modello spegnendo e riaccendendo il telecomando e il drone (rimuovere/reinserire la batteria). Sarà inoltre necessario accopiare il drone al telecomando prima di poter utilizzato nuovamente il modello.


Important!
Leggere attentamente le seguenti informazioni prima di far volare il drone.
d) Informazioni di base sul controllo dei droni
Prima di far volare il drone, familiarizzato con le funzioni di controllo per verificare che sia possibile controllare il drone in modo sicuro. Il drone è controllato utilizzando le due leve sul telecommando. Queste hanno le seguenti funzioni:
Funzione altitudine
La funzione altitudine consente di controllare l'altitudine del drone. Per modificare l'altitudine, spostare la leva dell'acceleratore (8) versuso l'alto o verso il basso alla posizione di folle.
Quando la leva dell'acceleratore è in posizione neutra, il drone staziona a un'altitudine costante. Quando la leva viene spostata verso l'alto, la velocità dei rotori aumento, il che fa salire il drone. Quando la leva viene spostata verso il basso, la velocità dei rotori diminuisce e l'altitudine del drone si abbassa. Si consiglia di far volare il drone ad un'altezza non superiore a 10 metri.
La leva dell'acceleratore può essere utilizzataanche per far ruotare il drone a 360 gradi.
verso sinistra o destra.In alte parole, è possibile modificare l'orientamento del drone in
modo che sua rivolto in direzioni diverse.

Funzione di sterzo
La funzione di sterzo consente di sterzare in avanti, indietro, a sinistra e a destra.
Spingere la leva dello sterzo (11) verso l'alto per spostarsi in avanti.
Tirare la leva dello sterzo verso il basso per andare indietro.
Spingere la leva dello sterzo verso sinistra per spostarsi verso sinistra.
Spingere la leva dello sterzo verso destra per spostarsi verso destra.


Important!
Il telecomando è in grado di comuncare con il drone fino a 30 metri di distanza. Assicurarsi di restare in questo raggio. Se il drone esce dal raggio d'azione, smetterà di funzionare e cadr a terra, danneggiando i componenti.
e) Consigli di volo pratici per principianti
Anche se il drone cui esere fatto volare in piccole aree, si consiglia di utilizzare uno spazio libero di almeno 5 metri di larghezza e 3 metri di altezza per i primissimi voli di prova.
Posizionevidi direttamente dietro il drone. In quello modo il drone reagisce ai comandi del telecomando (a sinistra, destra, avanti e indietro) esattamente come si vede alla propria posizione. Se la videocamera è rivolta verso l'utente, il drone rispondere in modo opposto.

Important!
Se i rotori urtano oggetti e si incastrano o il drone si capovolge, spegnere immediatamente i motori del rotore. A tale scopo, tirare la leva dell'acceleratore nella posizione inferiore (13) finché i motorini non si arrestano.
Non tentare mai di arrestare i motori quando il drone è in volo, in quanto ciò causera la caduta del drone a terra e potrebbero danneggiarsi dei componenti.
Non tentare mai di afferrare il drone con le mani quando è in aria, in quanto ciò potrebbe causare lesioni.
Se le luci LED sul drone iniziano a lampeggiare, vuol dire che la batteria è scarica. Si consiglia di far atterrare immeditamente il drone e ricaricare la batteria per evitare che si esaurisce durante il volo.
Lasciare raffreddare la batteria del drone e il drone prima di caricare o sostituire la batteria.
f) Avvio del drone
Accendere il telecomando, quindi accendere il drone inserendo la batteria.
Positonsi dietro il drone e premere delicatamente la leva dell'acceleratore (8). I rotori inizieranno a ruotare a una velocità crescente fino al decollo del drone.
É quindi possibile controllare il drone come descripto sopra.
g) Assetto del drone
Se il drone continua a sterzare in una direzione, è possibile stabilizzare i controlli di seguenza.
Se il drone tende a girare a destra, premere e tenere premuto il pulsante di assetto sinistro (13) finché il drone non smette di girare a destra.
Se il drone tende a girare a sinistra, stabilizzato utilizzato il pulsante di assetto di destra (12).
Se il drone continua a muoversi in avanti, stabilizzato utilizzato il pulsante di assetto all'indietro (7).
Se il drone continua a muoversi all'indietro, stabilizzatoo utilizzando il pulsante di assetto in avanti (6).
h) Modalità headless
La modalità headless consente al drone di rispondere ai comandi dello sterzo in base all'orientamento dell'utente (piuttosto che all'orientamento del drone). Ciò significà che non ci si deve preoccupare di dove si trovava la parte anteriore del drone, in quanto il drone rispondera dalla prosepittiva dell'utente. Ad esempio, quando la modalità headless è attenuata e si gira il drone a sinistra, il drone si sposta verso la propria sinistra. Quando si gira il drone a destra, quello si sposta verso la propria destra, indipendentemente alla direzione della parte anteriore del drone. Questa modalità cui è essere utile quando si sta imparando a far volare il drone o se il drone è troppo lontano e non è possibile vedere chiaramente il suo orientamento.
Per attivare la modalità headless, premere il pulsante modalità headless (2). Il telecomando emette un segnale acustico e le lui sul drone lampeggiano. Per disattivare la modalità headless, premere nuovamente il pulsante della modalità headless.


Questa funzione non è disponibile in modalità hovercraft.
i) Ritorno a tocco singolo
Per riportare facilmente il drone al punto di partenza, premere e tenere premuto il pulsante di ritorno a tocco singolo (2).
Per disattivare esta funzione, spingere la leva dello sterzo (11) in qualsiasi direzione.
Note: Il drone non atterra automaticamente. è sempre necessario controllare l'altezza del drone quando si utilizeszza但这a funzione.
La funzione di ritorno a tocco singolo non è disponibile in modalità hovercraft.
j) Bassa e alta velocità
La funzione a bassa e alta velocità consente di aumento o diminuire rapidamente la velocità con un solo tocco.
Premere il pulsante bassa/alta velocità (1) per modificare il livello di velocità. Viene emesso un segnale acustico per indicare la velocità selezionata.
1 bip = velocità Bassa
2 bip = alta velocità
La funzione Bassa e alta velocità non è disponibile in modalità Hovercraft.
Una volta acquisita familiarità con le nozioni di base del volo, si cui provare a far fare le capriole e dei tonneau al drone.
Assicurarsi che il drone si trovi ad almeno 3 metri dal suolo. Quindi premere il pulsante capriole (5) e premere rapidamente la leva dello sterzo (11) a sinistra o a destra per far fare delle capriole o tonneau al drone. Una volta completata la manovra, stabilizzare il drone.

10. Scattare foto e video

Il drone è dotato di una videocamera Wi-Fi integrata. Le funzioni video e foto funzionano solo con smartphone e tablet abilitati Wi-Fi.
Scaricare l'app su uno smartphone o un tablet per visualizzare le riprese dei droni e scattare fotodal vivo. L'app consente inoltre di accedere a un'ampia gamma di funzioni di modifica e a controlli sullo schermo facili dautilizzare. Per scaricare e installare l'applicazione, procedere come segue:


Eseguir la scansione del codice QR o accedere a iOS App Store/Android Google Play Store e cercare "FHDFPV".
Selezionare "INSTALLA" per scaricare l'app. Seguire le istruzioni sullo schermo per completare l'installazione.
Accendere il drone inserendo la batteria e assicurarsi che il telecomando sia spento.
Accedere a "Impostazioni" sullo smartphone o sul tablet e attivare la funzione Wi-Fi e hotspot.
Connettersi all'hotspot Wi-Fi "KY720P...".
Una volta effettuata la connessione, après l'app "FHDFPV" e toccare l'icona "PLAY" per accedere all'interfaccia di controlo.
Le fot e i file video vengono memorizzati automaticamente sullo smartphone o sul tablet.
Per informazioni su come utilizzare l'applicazione, toccare l'icona Help nell'angolo inferiore sinistro dello schermo.
Questo prodotto non supporta le modalità Track, Sound, Gesture e Altitude Hold.
Una volta scaricata l'applicazione, è possibile utilizzarla per scattare fot o registrar video.
Il pulsante foto/video (4) sul telecomando funzione solo con droni che dispongono di telecamere essere funzione Wi-Fi.
11. Supporto smartphone
Il supporto per smartphone consente di utilizzare il telecomando durante la visione di video dal vivo dal drone o la registrazione di fot o video.
Collegare il supporto dello smartphone facendo passare l'estremita con la vite atraverso il centro del telecomando. Far scorrere il supporto dello smartphone nella fessura sulla parte superiore del telecomando. Serrare la vite per fissarlo in posizione. Fissare lo smartphone o il tablet nel supporto con orientamento orizzontale.
12. Impostazione dell'hovercraft
Il drone può essere rapidamente convertito in un Hovercraft. Ciò consente di imparare alcune funzioni di base del telecomando, riducendo al contempo il rischio di danneggiare il drone.
Modalità drone

Con la batteria inserta nel drone, sollevare delicatamente i 2 rotori posteriori in posizione verticale. Fissare il drone nella base hovercraft.
L'hovercraft è gestito allo stesso modo del drone. Ad esempio, è possible utilizzato la leva dell'acceleratore (8) per controllare la velocità, la leva sinistra/destra per controllare l'orientamento e la leva dello sterzo (11) per controllare la direzione. I seguenti pulsanti e le relative funzioni non possono essere utilizzati in modalità hovercraft:
- Modalità headless e pulsante di ritorno a tocco singolo (2).
- Pulsante capriole (5)
- Pulsante alta/bassa velocità (1).
13. Manutenzione e pulizia

Non utilizzato detergenti aggressivi, alcol o altre soluzioni chimiche in quanto possono danneggiare l'alloggiamento e causare malfunzionamenti.
- Scollegare il caricabatteria USB prima di qualunque intervento di pulizia.
- Pulire il drone e il telecomando con un panno asciutto e primo di pelucchi.
Sostituzione dei rotori
Se un rotore è danneggiato, a seconda del rotore da sostituire, utilizzare il rotore di tipo C o di tipo D fornito con il prodotto. La lettera C o D viene stampata sul rotore perindicare il tipo di rotore.
Estrarre il rotore blu e separarlo dal tubo in argento. Fare attenzione a non tirareccessivamente e a non staccare accidentalmente i fili del rotore. Prendere il rotore nuovo e premerlo sul mandrino metallico fino a fissarlo saldamente in posizione. Quindi inseire il tubo in argento nel contentatore in plastica.

14. Dichiarazione di conformità
La Società, Conrad Electronic SE, Klaus-Conrad-Straße 1, D-92240 Hirschau, dichiara che il prodotto è conforme alla direttiva 2014/53/CE.

Cliccare sul seguente link per leggere il testo integrale della dichiarazione di conformità UE:
Scegliere la lingua facendo clic sulla bandiera corrispondente e insere il codice componente del prodotto nel Campo di ricerca. É inoltre possibile scaricare la dichiarazione di conformità UE in formato PDF.
15. Smaltimento
a) Prodotto

I dispositivi elettronici sono rifiuti riciclabili e non devono essere smaltiti assieme ai rifiuti domestici. Al termine del ciclo di vita, smaltire il prodotto in conformità alle relative disposizioni di legge.
overve eventuali batterie e smaltirle separatamente dal prodotto.
b) Batterie

L'utente finale è tenuto per legge (ordinanza sulle batterie) a riconsegnare tutte le batterie usate. É vietato smaltirle assieme ai rifuti domestici.
Le batterie contaminate sono etichettate con quello significato, aindicare il divieto di smaltire le stesse assiememe ai rifiuti domestici. Le denominazioni principali per i metalli pesanti sono: Cd = cadmium, Hg = mercury, Pb = piombo (nome indicato sulle batterie, ad esempio sotto licona del cassetto a sinistra).
Le batterie usate possono essere restituite presso puniti di raccolta locali, presso i nostri puniti vendita o presso un qualiasi alimento negozio di batterie.
In quello modo, si rispettano gli obblighi di legge e si contribuisce alla tutela dell'ambiente.
16. Dati tecnici
a) Dati tecnici
Tensione/corrente in ingresso. 6 V/CC (4 batterie AA)
Frequenza Da 2,405 a 2,475 GHz
Potenza di trasmissione 3 dBm
Distanza di trasmissione. 30 metri
Dimensioni (L× A× H) 165x98x67mm
Peso 119 g (senza batterie)
b) Drone
Dimensioni (L× A× H) . 85 x 82 x 46 mm
Peso 22,2 g (senza batteria)
Telecamera. Wi-Fi FPV 720 P
Risoluzione telecamera/video. 1280 x 720
Portata di trasmissione dell'app del Telefono.....ca. 20m
Compatibilità del software dello smartphone....Android: Da 4,0 a 10
iOS: Da 6.0 a 13
c) Battery drone
Tempo di ricarica 40 minuti
Tempo di utilizzo 5 minuti
Tensione/corrente in ingresso. .Polimeri di litio 3,7 V 200 mAh, 0,74 Wh
Peso 5,7g
d) Base hovercraft
Dimensioni (L x A x H) 144 x 93 x 60 mm
Peso .56g
Strona
Questa e una pubblicazione da Conrad Electronic SE, Klaus-Conrad-Str. 1, D-92240 Hirschau (www.conrad.com).
Tutti i diritti, compresa la traduzione sono riservati. è vietata la riproduzione di qualsvoglia genere, quali fotocopie, microfilm o memorizzazione in attrezzature per l'elaborazione elettronica dei dati, nella permesso scritto dell'editore. è altesi vietata la riproduzione sommaria. La pubblicazione corrisponde allo stato tecnico al momento della stampa.
ManualeFacile