TR70 - Tapis de course Cardiostrong - Notice d'utilisation et mode d'emploi gratuit
Retrouvez gratuitement la notice de l'appareil TR70 Cardiostrong au format PDF.
| Caractéristiques techniques | Tapis de course Cardiostrong TR70 avec moteur de 2,5 CV, vitesse maximale de 20 km/h, inclinaison électrique jusqu'à 15%. |
|---|---|
| Dimensions | Dimensions de la surface de course : 140 x 50 cm, dimensions totales : 175 x 75 x 135 cm. |
| Poids maximal utilisateur | 120 kg. |
| Fonctionnalités d'utilisation | Écran LCD avec affichage des données de course, 12 programmes d'entraînement préenregistrés, connexion Bluetooth pour applications de fitness. |
| Maintenance | Lubrification régulière de la bande de course recommandée, vérification des vis et boulons tous les 3 mois. |
| Sécurité | Système d'arrêt d'urgence, protection contre la surchauffe du moteur, poignées avec capteurs de fréquence cardiaque. |
| Informations générales | Garantie de 2 ans sur le cadre, 1 an sur les pièces, assemblage partiel requis à la livraison. |
FOIRE AUX QUESTIONS - TR70 Cardiostrong
Questions des utilisateurs sur TR70 Cardiostrong
0 question sur cet appareil. Repondez a celles que vous connaissez ou posez la votre.
Poser une nouvelle question sur cet appareil
Téléchargez la notice de votre Tapis de course au format PDF gratuitement ! Retrouvez votre notice TR70 - Cardiostrong et reprennez votre appareil électronique en main. Sur cette page sont publiés tous les documents nécessaires à l'utilisation de votre appareil TR70 de la marque Cardiostrong.
MODE D'EMPLOI TR70 Cardiostrong
Notice de montage et mode d'emploi




N^o d'article
Tapis de course TR70i
TABLE DES MATIÈRES
1 INFORMATIONS GÉNÉRALES 7
1.1 Notes techniques 7
1.2 Sécurité personnelle 8
1.3 Sécurité électrique 9
1.4 Emplacement 10
2 MONTAGE 11
2.1 Instructions generales 11
2.2 Contenu de la livraison 12
2.3 Montage 14
3 MODE D'EMPLOI 18
3.1 Affichage de la console 19
3.2 Fonctions des touches 22
3.3 Réglages système 23
3.4Programmes 24
3.4.1Programme basé sur la fréquence cardiaque 24
3.4.2 Vidéos de parcours virtuels 25
3.4.3 Challenge 26
3.4.4Programmes prédéfinis 27
3.4.5Programmesdefinisparl'utilisateur 31
4.1 Instructions generales 32
4.2 Roulettes de déplacement 32
4.3 Mecanismede piage 32
4.3.1 Repliage du tapis de course 33
4.3.2 Dépliage du tapis de course 34
5 DEPANNAGE, ENTRETIEN ET MAINTENANCE 35
5.1 Instructions generales 35
5.2 Defaute s et diagnostic des pannes 35
5.3 Codes de defaults et dépannage 36
5.4 Entretien et maintenance 37
5.4.1 Ajustement du tapis de course 37
5.4.2 Resserrage du tapis de course 38
5.4.3 Lubrification du tapis de course 38
5.5 Calendrier d'entretien et de maintenance 39
6 LIMINATION
39
7 ACCESSOIREs RECOMMANDES 40
8 COMMANDES DE PIECES DE RECHANGE 41
8.1 Numéro de série et désignation du modele 41
8.2 Listedespieces 42
8.3Vue eclatede 47
9 GARANTIE
49
10 CONTACT 51
Nous vous remercions d'avoir opté pour un apparéil d'entrainment de qualité de la marque cardiostrong. cardiostrong propose des apparéils de sport et de fitness haut de gamme conçus pour une utilisation à domicile ou destinés à éoperator les salles de gym et les établissements commerciaux. Les apparéils de fitness de cardiostrong poursuivient l'objectif premier des sportifs, celui d'atteindre un niveau de performance maximal! Les apparéils sont ainsi développés en étroite concertation avec des sportifs et des experts en sciences du sport. Les sportifs sont en effet les dernis places pour juger de la perfection d'un apparéil de fitness.
Pour de plus amples informations, veuillez consulter le site www.sport-tiedje.com.
Utilisation conforme
L'appareil doit être utilisé uniquement aux fins auxquelles il est destiné.
L'appareil est destiné exclusivement à une utilisation à domicile. L'appareil n'est pas adapté à un usage semi-professionnel (par ex. hôpitaux, clubs, hotels, établissements scolaires etc.) ni à une application commerciale ou professionnelle (par ex. salle de gym).
MENTIONS LÉGALES
Sport-Tiedje GmbH
N°1 du fitness à domicile en Europe
Tribunal d'instance de Flensburg
N°d'identification de TVA : DE813211547
EXCLUSION DE RESPONSABILITÉ

©2011 cardiostrong est une marque déposée de la société Sport-Tiedje GmbH. Tous droits réservés. Toute'utilisation de cette marque sans l'autorisation écrite de Sport-Tiedje est interdite.
Le produit et le manuel peuvent faire l'objet de modifications. Les données techniques sont sujettes à changement sans préavis.
À PROPOS DE CE MODE D'EMPLOI
Veuillez tire attentivement leprésent mode d'emploi dans son intégralité avant le montage de l'appareil et sa première utilisation. Le spécifique mode d'emploi est là pour vous aider à monterrapidement l'employé et à le manipuler en toute sécurité. Veillez impérativement à ce que tous lesutilisateurs de l'employé (notamment les enfants et les personnes représentant un handicap physique, sensoriel, mental ou moteur) aient préalablement pris connaissance du besoin mode d'emploi et de son contenu. En cas de doute, l'employé doit être utilisé sous la surveillance d'une personne responsable.

Cet apparéil a été concu conformément aux dernières avances en matière de sécurité. Il est protégé au moins de toute source de danger susceptible de provoquer des blessures. Assurez-vous que l' apparéil a bien été monté conformément aux instructions fournies et que toutes les pieces de l' apparéil sont correctement fixées. Si nécessaire, remédiez aux défauts eventuels en vous reportant au mode d'emploi.
Veuillez respecter scrupuleusement les consignes de sécurité et de maintenance indiquées. Toute autre utilisation peut cause des blessures, endommager l'appareil et provoquer des accidents dont le fabricant et le distributeur ne peuvent assumer aucune responsabilité.
Lors de votre lecture, vous serez améné à rencontres les notes de sécurité suivantes :
- ATTENTION
Ce symbole indique des situations dans lesquelles le non-respect des consignes peut entrainer des dommages matériels.
PRUDENCE
Ce symbole indique des situations dans lesquelles le non-respect des consignes peut entrainer des blessures legères!
A VERTISSEMENT
Ce symbole indique des situations dans lesquelles le non-respect des consignes peut entrainer des blessures graves, voir mortelles!
DANGER
Ce symbole indique des situations dans lesquelles le non-respect des consignes peut entrainer des blessures très graves, voir mortelles!
① REMARQUE
Voutrouverez ici d'autres informations utiles.
Conserve soigneusement ce mode d'emploi de sorte qu'il soit accessible pour toute information sur les travaux de maintenance et les commandes de pieces de rechanges.
- Vitesse en km/h ou mph
+Durée del'entrainement - Parcours
- Caloriesbrulées
- Fréquence cardiaque (à partir des capteurs cardiaques tactiles ou d'une ceinture pectorale)
+Inclinaisonen% - Profil de programme
Puisance du moteur : moteur DC avec puissance continue de 3,0 CV
Plage de vitesse: 0.8 - 20 km/h
Touches de selection directe de la vitesse : 6
Plage d'inclinaison: 0-15
Touches de selection directe de l'inclinaison: 6
Programmes d'entraînement (au total): 58
Programmes manuels: 1
Programmes prédéfinis : 17
Programmes de compétition: 12
Programmes basés sur la fréquence cardiaque : 2
Parcours virtues: 6
Programmes definis par l'utilisateur: 20
Dimensions de la surface de course (L× l):152× 51cm
Poids et dimensions :
Poids de l'article (brut, emballage inclus) : 105,5 kg
Poids de l'article (net, sans emballage) : 95,2 kg
Dimensions de I'emballage (L× I× h) : env. 2000mm× 870mm× 370mm
Dimensions dinstallation (L× I× h) :env. 1890mm× 840mm× 1370mm
Dimensions repliees (L× I× h) : env. 1070mm× 840mm× 1680mm
Poids maximal d'utilisateur: 159 kg
1.2 Sécurité personnelle
DANGER
-
Avant la première utilisation de l'appareil, nous vous recommendons de demander l'avis d'un médecin afin qu'il juge de la possibilité ou non de vous entraîner avec cet apparéil. Ces dispositions sont particulièrement applicables aux personnes qui ont une prédisposition génétique à l'hypertension ou aux maladies cardiaques, sont âgées de plus de 45 ans, fument,présentent un taux de cholestérine élevé, sont en surpoids et/ou n'ont pas pratique régulièrement de sport au cours de l'année passée. Si vous prenez un traitement médicamentieux susceptible de générer des troubles du rythme cardiaque, l'avais d'un médecin est impératif.
-
Nous vous rappelons qu'un entrainment excessif peut sérieusement comprometter votre santé. Veuillez notes égalément que les systèmes de surveillance de la fréquence cardiaque ne sont pas toujours précis. Dès que vous percevez des sensations de faiblesse, de nausee, de vertiges, de douleurs, d'essoufflement ou d'autres symptômes anormaux, interrompez votre entrainment et consultez votre médecin en cas d'urgence.
A VERTISSEMENT
- Cet apparéil n'est pas concu pour une utilisation par les enfants de moins de 14 ans.
-
Les enfants ne doivent pas etre laisses sans surveillance a proximite de l'appareil.
-
Les personnes handicapées doivent bénéficier d'une autorisation Médicale et rester sous étroite surveillance lors de l'utilisation de tout apparéil d'entrainment.
-
L'appareil ne doit pas etre utilise simultanement par plusieurs personnes.
-
Si vous appeareil dispose d'une clé de sécurité, attachez le clip sur vos vêtements avant chaque entrainement. La fonction d'arrêt d'urgence de l'appareil peut ainsi se déclencher en cas de chute.
- Maintenez eloignes les mains, les pieds et autres parties du corps ainsi que les cheveux, vêtements, bijoux et autres objets des pieces mobiles.
- Evitez de porter des vêtements amples ou volants pendant l'entrainment. Préférez une tenue de sport adaptée. Portez des chaussures de sport adaptées, de préférence avec des semelles en caoutchouc ou autre matériel antidéraptant. Evitez de porter des chaussures à talon, avec semelles en cuir, à clous ou à crampons. Ne vous entraîné jamais pieds nus.
PRUDENCE
- Si vous doivent branchier toute fois l'acid et la glycine, ne s'est pas faissé?
- Durant l'entrainment, assurez-vous que personne ne se trouve dans la zone de mouvement de l'appareil.
- ATTENTION
- Ne placez�除 un objet dans les ouvertures de I'appareil.
1.3 Sécurité électrique
DANGER
- Pour limiter les risques d'électrocution, débranchez toujours le cable de l'appareil de la prise de courant des que vous avez terminé l'entrainment, avant d'assembler ou de désassembler l'appareil ainsi qu'avant de procesder à une maintenance ou à un nettoyage de l'appareil. Ne tirez pas sur le cable.
A VERTISSEMENT
- Ne laissez pas l'appareil sans surveillance tant que le cordon d'alimentation reste branché dans la prise murale. Débranche le cable d'alimentation pendant votre absence afin d'éviter toute utilisation impropre de l'appareil par des tiers ou des enfants.
- Si le cable d'alimentation ou le cordon d'alimentation est endommagé ou défectueux, adressez-vous à votre revendeur. En attendant, l'appareil ne doit pas être utilisé.
- ATTENTION
- L'appareil doit être branché sur une prise électrique de 220 - -230V à une fréquence de 50 Hertz
- L'appareil doit toujours être branché directement sur une prise de terre avec le cable d'alimentation fourni. Les rallonges doivent être conformes aux directives VDE. Déroulez toujours entièrement le cable d'alimentation.
- La prise de courant doit être protégée par un fusible à action retardée de 16 ampères au minimum.
- N'effectuez aucune modification sur le cable d'alimentation ni sur le cordon d'alimentation.
- Protégez le cable d'alimentation de l'eau, de la chaleur, de l'huile et des arêtes vives. Ne laissez pas le cable d'alimentation passer sous l'appareil ou sous un tapis et ne posez aucun objet dessus.
1.4 Emplacement
A VERTISSEMENT
- Evitez de placer l'appareil dans un passage principal ou sur une échappée.
PRUDENCE
- Assurez-vous que la salle d'entrainment soit correctement aérée pendant l'entrainment et qu'elle ne soit pas exposée aux courants d'air.
- Choisissez l'emplacement de maniere à disposer d'un espace libre suffisant (zone de sécurité) à l'avant, à l'arrière et sur les cots de l'appareil.
- L'appareil doit se couver sur une surface plane, résistante et solide.
- ATTENTION
-
L'appareil doit être utilisé uniquement dans un local suffisamment aéré et sec (température ambiente entre 10^ et 35^ ). L'utilisation de l'appareil est interdite en plein air ou dans des locaux représentant un taux d'humidité élevé (plus de 70% ) tels que les piscines.
-
Utiliser un tapis de protection pour ne pas endommager les sols de qualite supérieure (parquet, stratifie, lieges, tapis) par des marques de pression ou des taches de transpiration et pour compenser les legeres inegalités du sol.

2.1 Instructions generales
DANGER
- Ne laissez pas les outils ainsi que les matériaux d'emballage, comme les films de protection, sans surveillance: ils représentent un danger pour les enfants (risque d'étouffement). Tenez les enfants éloignés de l'appareil pendant le montage.
A VERTISSEMENT
-
Le tapis de course dispose d'amortisseurs haute pression qui risquent d'entrainer un dépliage soudain de l'appareil en cas de mauvaise manipulation. Pour éviter tout risque de blessures, ne tirez jamais aux emplacements du tapis de course indiqués sur la figure. N'essayez jamais de soulever ou de déplacer l'appareil aux endroits indiqués.
-
Respectez les consignes apposées sur l'appareil pour réduire les risques de blessures.

PRUDENCE
-
N'ouvrez pas l'emballage sur le cote.
-
Pendant l'assemblage, veilles à dispose r d'un espace suffisant pour vous déplacer tout autour de l'appareil.
- L'assemblage de l'appareil doit être effectué par au moins deux femmes. En cas de doute, demandez l'aide supplémentaire d'une personne ayant de bonnes connaissances techniques.
- ATTENTION
- Pour éviter tout endommagement de l'appareil et du sol, procédez au montage de l'appareil sur un tapis de sol ou sur le carton d'emballage.
① REMARQUE
- Pour facilitier le montage, des vis et des écrous peuvent être prémontés.
- Assemblez l'appareil si possible sur l'emplacement qui lui est réservé.
2.2 Contenu de la livraison

AVERTISSEMENT
Le tapis de course est entouré d'une bande de cerclage qui empêche l'appareil de se déplier pendant le transport. Cette bande de cerclage doit être retiree avant le montage de l'appareil.
L'emballage comprend les pieces représentées ci-après. Vérifie que l'ensemble des pieces et outils appartenant à l'appareil sont compris dans la livraison et assurez-vous que l'appareil n'a pas été endommaged pendant le transport. En cas de réclamation, veuillez contacter immédiatement votre contractant.

PRUDENCE
Si le contenu de la livraison est incomplet ou si des pieces sont endommagées, ne montez pas l'appareil.

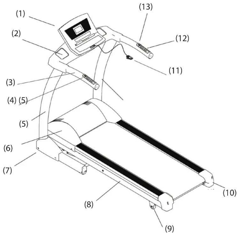
| 1 Console 8 Cadre | ||
| 2 Porte-gourde 9 Roulette de transport arrière | ||
| 3 Poignée 10 Revêtement arrière | ||
| 4 Touche de sélection rapide (inclinaison) 11 Clé de sécurité | ||
| 5 Mât de console 12 Poignée avec capteur de pouls tactile | ||
| 6 Revêtement du moteur 13 Touche de sélection rapide (vitesse) | ||
| 7ompensateur de niveaux |
Outils etieux de vis

Vis prémontées

2.3 Montage
Avant de proceder à l'assemblage de l'appareil, observez bien attentivement les étapes de montage représentées et effectuez-les dans l'ordre indiqué.
① REMARQUE
Vissez d'abord toutes les pieces sans les serrer et vérifie qu'elles sont correctement ajustées. Lorsque vous y serez invite, serrez les vis à l'aide de l'outil correspondant.
Étape 1: Montage des mâts de console
- Relevez le mát de console (1-1).
- Fixez deux vis M10x60L avec écrou (1-2)
- Fixez deux vis M10x60L avec écrou (1-3)
- Mettez en place le revêtement et fixez-le à l'aide de quatre vis M4x10L (1-4)

Étape 2: Montage des mains courantes
- Ajustez les mains courantes.
- Fixez les mains courantes au moyen de deux vis M8x70L.
- Fixez le logement de console des deux cots sur les mats de console à l'aide respectivement de deux vis M8x15L et de deux rondelles M8.

Étape 3: Branchement de la console
- Reliez les fiches de la console à celles du mât de console.
- Poussez avec précaution les excédents de cables dans la tige transversale du mât de console.

Étape 4: Fixation des consoles
- Mettez en place les porte-bidons sur la console principale (4-1).
- Mettez en place l'ensemble du cockpit sur le compartment de rangement prévu à cet effet, appuyez si nécessaire légèrement sur les côtes des revêtements de sorte qu'ils soient correctement positionnés (4-2).
- Prenez les vis 6x #8x0,625"L et 4x M4x10L et vissez-les dans les trou s prevus a cet effet (4-3).

Étape 5: Ajustement des pieds
Si le sol presente des inégalités, vous pouvez stabiliser le tapis de course en tournant les deux vis de réglage situées sous le cadre principal.

AVERTISSEMENT
Le tapis de course dispose d'amortisseurs haute pression qui risquent d'entrainer un dépliage soudain de l'appareil en cas de mauvaise manipulation. Pour plus d'informations, veuillez vous reporter aux consignes générales de montage.
- Soulevez le tapis de course du côte souhaite et tournez la vis de réglage sous le cadre principal.
- Tournez la vis dans le sens des aiguilles d'une montre pour la desserrer et relever la surface de course.
- Tournez la vis dans le sens inverse des aiguilles d'une montre pour abaiser la surface de course.

Étape 6: Branchement de l'appareil
- ATTENTION
Ne branche pas l'appareil sur une multiprise ; il risque sinon de ne pas etre suffisamment alimenté en courant. Cela risque de provoquer des dysfonctionnements.
Branchez le codon d'alimentation dans une prise conforme aux prescriptions indiquées dans le chapitre Sécurité électrique.
① REMARQUE
Avant de commencer l'entraînement, familiarisez-vous avec toutes les fonctions et possibités de réglage de l'appareil. Pour savoir comment utiliser correctement ce produit, demandez les conseils d'un spécialiste.
CLÉ DE SECURITE (SAFETY KEY)
AVERTISSEMENT
- Pour votre sécurité, l'appareil dispose d'une fonction d'arrêt d'urgence. L'appareil ne peut alors fonctionner que si la clé de sécurité est correctement branchée sur le point de contact du cockpit. L'appareil s'arrête automatiquement des que la clé de sécurité est débranchée du point de contact. Attachez par conséquent avant chaque entrainment le cordon de la clé de sécurité sur vos vêtements à l'aide du clip. Retirez la clé de sécurité du cockpit à l'aide du cordon si vous souhaitez arrêterrapidément le tapis de course, si vous ne maitrises plus la vitesse de l'appareil ou dans tout autre cas d'urgence.
- Attachez correctement le clip de la clé de sécurité sur vos vêtements afin que la clé puisse se débrancher du point de contact du cockpit en cas de chute!
- Laissez la clé de sécurité hors de la portée des enfants.
3.1 Affichage de la console

Le grand écran couleur affiche clairément les principales données d'entrainment. Des icones d'information apparaissent en haut à droite de l'écran:
Volume sonore
Statut Wi-Fi - apparait lorsque l'appareil est connecté
Statut USB - apparait lorsqu'une clé USB est branchée
Lorsque l'appareil n'est pas utilisé, l'écran principal affiche les différents points de menu. Vous pouvez selectionner l'un des points de menu en glissant le doigt sur l'écran tactile jusqu'à ce que le point de menu souhaité apparaisse au milieu. Vous pouvez ensuite valider votre sélection à l'aide du symbole Retour situé en bas à droite de l'écran puis naviguer dans les réglages du système ou des programmes.
Différentes vues sont affichées pendant l'entrainment. En mode programmes prédéfinis, l'écran affiche par exemple le profil des programmes; en mode programmes virtuels, la vente du parcours apparait.
Les données d'entrainment apparaissent dans la barre inférieure : Incline / inclinaison, Heart Rate / fréquence cardiaque, Time / durée d'entrainment, Steps / pas, Distance / distance, Calories / calories et Speed / vitesse.

La plupart des fonctions sont accessibles directement en appuyant sur l'écran. Aperçu des options de menu et des affichages.
| Affichage des données d'entrainment | Dans le menu principal, vous pouvez naviguer dans les programmes et options de réglage sur cette « page d'accueil » |
| Affichage des programmes et écran video | Au centre de l'écran apparaissent lesVIDEOS d'entrainment ou les profils de programmes. La vitesse ou l'inclinaison par unité de temps est affichée sous forme de barres. |
| Music/Movies | En branchant une clé USB, vous pouvez restituer des fichiers MP3/WAV ainsi que des fichiers MP4/WKV/MOV/AVI/FLV sur l'écran/via les haut-parleurs. |
| HRC | La console dispose de deux programmes HRC : HRC 1 comme programme constant et HRC 2 comme programme fractionné. L'utilisation de ces programmes nécessite un contrôle permanent du pouls pendant toute la durée de l'entrainment. Voir Mesure de la fréquence. |
| Parcours virtuels | La console dispose de 6 VIDEOS de parcours. La vitesse de lecture de la réserve est adaptée à la vitesse du tapis de course. |
| Challenge | 12 programmes de compétition sont disponibles pour vous mesurer à des adversaires virtuels. |
| Workout | You pouvezCHOISIR entre 17 programmes prédéfinis basés sur différents objectifs. |
| User Programm | 20 programmes sont personnalisables : vous pouvez affecter une inclinaison et une vitesse de votrechoix à chaque intervalle de temps. |
| Réglages système | séléction du réseau Wi-Fi, réglage des unités, de la luminosité de l'écran ou des images de fond. |
| Online | Surfez sur Internet ou utilisez les applications de réseaux sociaux tout en vous entrainant. Cette fonction nécessite une connexion à Internet. |
3.2 Fonctions des touches

| A - Inclinaison (Incline) : vers le haut/vers le bas et touches de scélection rapide | Augmentation/réduction de l'inclinaison et accès rapide aux niveau d'inclinaison 2, 4, 6, 8, 10 ou 12 %. |
| B - Vol+/- augmentation ou | réduction du volume sonore |
| C - Play/Pause | pour lancer ou interrompre la lecture média de la clé USB. |
| D - Previous/Next lecture ou | qu titre précédent ou suivant |
| E - Vitesse (Speed) | vers le haut/vers le bas ou augmentation/réduction de la vitesse à l'aide des touches de scélection rapide et accès rapide aux niveaux 3, 5, 7, 9, 11 ou 13 km/h. |
| F - Stop/Start pour démarrer ou terminer l'entrainment | ou terminer l'entrainment |
| G - Pause interruption de l'entrainment |
3.3 Réglages système
Selectionnez le point Reglages système / System sur l'écran tactile pour modifier les réglages. L'écran affiche 6 points de menu que vous pouvez modifier.

| WiFi Setting sélectionnez | WiFi Setting pour connecter l'appareil à un réseau. |
| Wallpaper | choisissez parmi haut image de fond disponibles sous le point Wallpaper. |
| Metric Setting Choisissez le système d'unités métriques ou anglo-saxonnes. | |
| Backlight permet de régler la luminosité de l'écran. | |
| Software Settings cette fonction ne peut être utilisé que par le technicien SAV. | |
| System Reset | cette fonction permet de réinitialiser tous les régles sur les régles usine. |
3.4 Programmes
Pour désirir un programme, glissez le doigt dans la fenêtre principale de l'écran tactile vers la gauche et vers la droite jusqu'à ce que le programme souhaité apparaissé au milieu. Validatez votre sélection à de la touche / Return située en bas à droite de l'écran.
3.4.1 Programme basé sur la fréquence cardiaque

AVERTISSEMENT
Votre appeareil d'entrainment n'est pas un dispositif medicaI. La mesure de la frquence cardiaque n'est pas always precise. La precision de la frquence cardiaque indiquee peut etre alteree par differents facteurs. L'affichage de la frquence cardiaque sert uniquement de reference pour voire entrainement.
Le programme HRC nécessite la saisie d'une fréquence cardiaque que la console maintain constante pendant toute la durée de l'entrainment. Le programme HRC fractionné nécessite la saisie d'une fréquence cardiaque BASSE et d'une fréquence cardiaque élevée. Les programmes HRC requirement le port d'une ceinture pectorale pendant toute la durée de l'entrainment.

Saisie du type HRC: Deux modes sont disponibles pour les programmes HRC: HRC1 - constant et HRC2 - fractionné. Reglez le mode HRC souhaité à l'aide des touches.
Saisie du mode: Reglez la vitesse ou l'inclinaison à l'aide des touches.
Saisie de l'âge : Entrez votre âge à l'aide des touches.
Saisie de la fréquence cardiaque ciblée : Entrez votre fréquence cardiaque ciblée à l'aide des touches.
Saisie du temps ciblé: Reglez la durée de votre entrainement à l'aide des touches.
3.4.2 Vidéos de parcours virtuels
Six videos de parcours virtuels sont déjà préinstallées sur la console et peuvent être visionnées à l'écran pendant l'entrainment. Sélectionnez à cet effet « Virtual Simulations » dans le menu principal et confirmez à l'aide de la touche Enter. Six aperçus visuels apparaissent, correspondant respectivement aux parcours suivants:

Snow mountain Road: Route asphaltée traversant une vaste plaine, avec montagnes en arrêté-plan. Sur les côtes de la route, des vaches broutent l'herbe et de petites rivières traversent le paysage.
Across the Valley: Route de montagne sinueuse à double sens.
Kajun Village of Tibet: Route traversant un relief vallonne.
Anjiulashan Lake : Itinétaire traversant de petites localités rurales.
Across the Canyon: Route traversant un relief valonné, avec Ponts et murs d'enceinte.
Xiamen huandao road: Zone intermédiaire ballonnée
Appuyez sur les touches fléchées pour selectionner la video souhaïée et démarrez l'entrainment à l'aide de la touche Start.
Pendant votre entrainment, vous pouvez modifier à tout moment la vitesse ou l'inclinaison du tapis à l'aide des touches fléchéées ou des touches de selection rapide. Les videos de parcours réagissant aux valeurs que vous avez saisies. Lorsque vous modifiez la vitesse du tapis de course, la vitesse de lecture des videos varie en conséquence. Une modification de l'inclinaison n'a aucune incidence sur la video. Sur certaines videos, des vehicules en circulation apparaisent. Vous pouvez les annorer car ils vous évitent automatiquement.

3.4.3 Challenge
Le tapis de course dispose de 12 programmes de compétition pendant lesquels la vitesse est ajustée en fonction du niveau. Ces programmes relevant des quatre domaines Special Forces, Olympics Game, Professional Game et Outdoor Running et sont disponibles respectivement dans trois niveaux différents.
3.4.4 Programmes prédéfinis
L'appareil dispose de 17 programmes prédéfinis qui se distinguent par leur durée, leur intense et les variations de leur intensité. Selon le programme que vous avez besoin, l'appareil varie l'intensité de l'entrainment en agissant soit sur l'inclinaison soit sur la vitesse.
P-01 : Longue distance lente
(40 minutes par défaut)

Cet entrainment fera la joie de chacun. Les débutants commencent par un entrainment léger et intégrant ce programme dans leur entrainment hebdomadaire afin d'améliorer leur endurance cardiovascularaire. Ce programme est également idéal pour les utilisateurs chevronnés qui souhaitent récapérer au lendemain d'un entrainment dur et intense. Une fois le programme regle, passez à U-1 ou U-2 et appuyez sur START.
(20 minutes par défaut)

Les intervalles courts convenient idealement pour les débutants qui souhaitent tirer profit de l'entrainment fractionné sans recourir à un niveau d'intensité trop élevé. Les utilisateurs experimentés profiteront de ce programme pour augmenter la vitesse et développer leurs capacités anacrobies. Pensez à varier l'intensité et la durée de l'entrainment afin d'optimiser votre condition physique. Intégrez par consécut un certain nombre d'exercices fractionnés dans votre programme d'entrainment hebdomadaire.
P-03 :Intervallesmodérés
(30 minutes par défaut)

À partir du moment où vous给您 entrainez régulièrement et disposez d'une meilleure condition physique, vous étés disposé à effectuer un entrainment fractionné d'intensité modérée. Cet entrainment alterne les simples phases de récapération et les phases de grande intensité. Sentez-vous à l'aise, la prochaine phase de récapération vous attend. Ce programme permet d'améliorer votre endurance aérobie tout en optimisant le développement de vos capacités anaerobies.
Programmes avancés
P-04:Intervals longs
(40 minutes par défaut)

Ces exercices sont parfaitement adaptés pour brûler un maximum de calories et améliorer les capacités anaerobies. comme dans le programme à intervalles modérés, cet entrainment prévoit des phases de récapération après chaque effort de haute intensité – pour des exigences toujours plus grandes en termes d'intensité d'entrainment.
P-05:Intervallenégatif1
(30 minutes par défaut)

Ce programme présente tous les avantages d'un entrainment à un rythme régulier. Il vous motive à augmenter progressivement votre intensité d'effort jusqu'à un niveau constant, puis à le réduire lentement. En améliorant votre santé générale et votre condition physique, cet entrainment vous permet d'augmenter petit à petit l'intensité de l'effort.
P-06:Intervalnégatif2
(30 minutes par défaut)

Cet entrainment demarre avec une légere augmentation et se termine par une diminution progressive de l'intensité d'effort. Un entrainment avec augmentation et diminution de l'intensité d'effort est idéal pour améliorer l'endurance aérobie et cardiovasculaire. Un entrainment avec réduction de l'intensité de l'effort permet également de brûler un maximum de calories, à condition toutefois qu'il soit maintainu pendant une durée prolongée (par ex. 40 ou 50 minutes).
P-07:Fartlek
(30 minutes par défaut)

Exercice à intensité variable qui alterne constamment les phases calmes et les phases modérées/intenses. Ce programme varie lesCLSIS et presente des avantages incomparables en termes de condition physique.Varier en permanence l'intensité apporte des bienfaits importants sur la santé cerebrale.
P-08:Montee en cote
(30 minutes par défaut)

Cet entrainment permet d'augmenter progressivement l'intensité de l'effort. Son objectif est de stimuler l'amélioration de l'endurance cardiovascularaire et la croissance cellulaire des muscles sollicités. La dépense calorique est maximisé lors des pics d'intensité. Vote corps supporte un entrainment plus long et tire profit d'un niveau d'intensité élevé, même dans les phases de ralentissement et de retard au niveau initial.
P-09: Montée de pyramide
(30 minutes par défaut)

L'augmentation progressive de l'intensité est idéale pour améliorer l'endurance cardiovascularie et favoriser la croissance cellulaire des muscles sollicités. La dépense calorique est maximisé lors des pics d'intensité. Notre corps supporte un entrainment plus long et tire profit des niveaux d'intensité élevés, même au cours de la phase de ralentissement.
P-10: Montée sur haut plateau
(40 minutes par défaut)

Ce programme présente tous les avantages des autres entrainements uniformes et vous motive à十年er une intensité plus élevée. Voitre santé et Your condition physique s'en trouvent améliorées et vous maintenez un haut niveau d'intensité pendant une longue durée.
P-11:Échelle
(30 minutes par défaut)

L'un des avantages majorés de ce programme est le bienfait direct qu'il apporte au cœur et au système cardiovascularaire. Cet entrainment a été spécialement concu pour solliciter votre cœur et votre système cardiovascularaire par une série d'efforts d'intensité croissant, ce qui améliore votre endurance aérobie et stimule votre endurance anaérobie.
P-12 Intervalles en côte
(20 minutes par défaut)

Cet entrainment est unique car il allie les avantages d'un entrainment fractionné aux bénéfices d'une augmentation progressive de l'intensité. Démarrez à un niveau comfortable pour augmenter progressivement l'intensité pendant chaque intervalle maxi et fixez-vous chaque fois une intense plus élevée. Pendant les phases d'intensité élevée, vous dépensesz un maximum de calories tout en améliorant votre endurance anaérobie.
P-13:Rythme régulier
(40 minutes par défaut)

AméliorezVote condition physique et stimulez votrecorps pour bruler encore plus de calories.Ce programme est idéal pour vous aider à améliorer votre endurance.La plupart des exercices de ce type reposent sur le maintain d'un niveau de résistance pendant toute la durée de l'entrainment. Notre objectif est de vous entrainer pendant toute la durée du programme a un niveau d'intensité faible,modérépuis haut.
P-14: Longue distance lente
(40 minutes par défaut)

Un entrainment idéal pour tous! Un démarrage facile pour les débutants qui ont tout intérêt à effectuer cet entrainment une fois par这段时间 pour optimiser leur endurance cardiovaculaire. Il convient également parfaitement pour les utilisateurs experimentés qui souhaitent recupérer au lendemain d'un entrainment dur et intense.
P-15:Entrainement cardio
(20 minutes par défaut)

Entrainement à un rythme uniforme mais avec un niveau d'intensité plus élevé que le programme « Longue distance lente ». Il s'agit d'un programme avancé dont l'objectif est d'atteindre un rythme soutenu et régulier et de le maintainir pendant toute la durée de l'entrainment. Il est idéal pour se préparer à un événement particulier.
(20 minutes par défaut)

Diverses études ont provené que cet entrainment est idéal pour les utilisateurs qui souhaitent perdre davantage de poids et améliorer leur santé cardiovascularaire. L'alternance et la récurrence des niveaux d'intensité de modération lent à élevé pendant plusieurs intervalles permettent de maximiser le nombre total de calories brûlées pendant toute la durée de l'entrainment. Autre avantage de ce programme : c'est à vous de decide r si vous souhaiter maintainir le haut niveau d'intensité pendant la seance d'entrainment. Les courtes phases de récapération permettent au corps de surmonter plus facilement les phases à intensité élevée pendant toute la durée d'une seance d'entrainment.
P-17:Montee en cote
(30 minutes par défaut)

AméliorezVote condition physique et stimulez votrecorps pour bruler encore plus de calories.Ce programme est idéal pour vous aider à améliorer votre endurance.La plupart des exercices de ce type reposent sur le maintain d'un niveau de résistance pendant toute la durée de l'entrainment. Notre objectif est de vous entrainer pendant toute la durée du programme a un niveau d'intensité faible,modérépuis haut.
3.4.5 Programmes définis par l'utilisateur
Le tapis de course dispose de 20 programmes que vous pouze personnaliser selon vos envies. Vous doivent définir la durée du programme d'entrainment, puis affecter une vitesse et une inclinaison de votrechioix à chacun des 20 intervalles. Contrairement aux programmes à profil préinstallés, vous avez ici la possibilité de modifier à tout moment la vitesse ET l'inclinaison. C'est pourquoi la vitesse et l'inclinaison sont affichées séparément pour ces programmes. L'inclinaison est indiquée du cote gauche de l'écran et la vitesse du cote droit.
4.1 Instructions generales
- ATTENTION
- Veillez à ce que l'appareil soit protégé contre l'humidité, la saleté et la poussière. Le lieu de stockage doit être sec, correctement aéré etprésenter une température ambiente entre 5^ et 45^ .
A VERTISSEMENT
-
Stockez l'appareil dans un lieu où il reste hors de portee de tiers ou d'enfants.
-
Si vous appeareil ne dispose pas de roulettes de déplacement, il convient de le démonter avant son transport.
4.2 Roublettes de déplacement
- ATTENTION
Si vous devez déplacer votre apparéil sur un revêtement de sol particulièrement sensible et souse (parquet, stratifié ou planchers), recouvre le sol de carton ou d'un matériel siamaire afin d'eviter tout risque d'endommagement.
- Placez-vous derrière l'appareil et soulevez-le jusqu'à ce que son poids soit reporté sur les roulettes de déplacement. Vous pouvez ensuite déplacer facilement l'appareil vers l'endroit souhaité. Si vous nevez déplacer l'appareil sur une plus longue distance, veuillez démonter l'appareil et l'emballer en toute sécurité.
- Choisissez le nouvel emplacement de l'appareil en respectant les consignes mentionnées dans le chapitre 1.4 du mode d'emploi.
4.3 Mécanisme de piage
A VERTISSEMENT
- Le tapis de course dispose d'amortisseurs haute pression qui risquent d'entrainer un dépliage soudain de l'appareil en cas de mauvaise manipulation. Pour plus d'informations, veuillez vous reporter aux consignes générales de montage.
- Ne soulevez pas la bande de roulement par le tapis de course ou par les roulettes de transport arrêté. Ces pieces ne se bloquent pas et sont difficiles à saisir.
① REMARQUE
Le tapis de course est repliable de sorte qu'il puisse etre range sans prendre trop de place. Cela facile etalement son transport.
4.3.1 Repliage du tapis de course
A VERTISSEMENT
- Ne branchez pas l'appareil lorsque celui-ci est replié. N'essayez pas de mettre en marche l'appareil lorsque celui-ci est replié.
- Avant d'être replié, le tapis de course doit être complètement arrêté.
4 PRUDENCE
- Ne vous appuyez pas contre l'appareil lorsqu'il est plie et ne posez pas d'objet susceptible de comprometter la stabilité de l'appareil et de le faire tomber.
- ATTENTION
-
Avant de replier le tapis de course, retirez tous les objets susceptibles d'être renversés ou d'empêcher le repliage de l'appareil.
-
Éteignez l'appareil et débranchez la fiche de la prise de courant.
- Saisissez des deux mains la bequille située directement sous la partie arrêté du tapis de course de manière à avoir un point de levage stable.
- Vérifiez que le frein hydraulique est correctement verrouillé et souvevez l'appareil vers l'avant.
- Assurez-vous d'être en position debout stable et vérifie que le mecanisme de verrouillage est correctement enclenché en tirant l'appareil vers l'arrière (l'appareil ne doit alors pas bouger).

4.3.2 Dépliage du tapis de course
- ATTENTION
-
Avant de déplier le tapis de course, retirez tous les objets susceptibles d'être renversés ou d'empêcher le dépliage de l'appareil.
-
Placez-vous derrière le tapis de course et poussez l'appareil légarement vers l'avant en direction de l'écran.
- Pour déverrouiller le frein hydraulique, poussez légerement la partie supérieure du frein hydraulique vers l'avant avec le pied gauche, jusqu'à ce que le tapis de course se déverrouille et puisse être tiré vers l'arrière.
- Continuez de tener le tapis de course.
Le frein hydraulique s'abaisse tout doucement de lui-même.
- Dés que le tapis de course s'est abaisé de 32 , vous pouvez relâcher l'appareil.

5.1 Instructions generales
A VERTISSEMENT
- Ne procedez à aucune modification non conforme sur l'appareil.
PRUDENCE
- Toute piece endommagée ou usée peut compromètreVote sérurité et affercter la durée de vie de l'appareil. Remplacez par consequènt immédiatement les composants endommages ou usés.Adressez-vous à cet effet à votre contractant.N'utilise pas l'appareil tant qu'il n'est pas remis en état.Si vous nevez remplacer des pièces,utilisez exclusivement des pieces de rechange d'origine.
- ATTENTION
- Outre les instructions et recommendations de maintenance et d'entretien mentionnées dans leprésent mode d'emploi, des prestation de service et/ou de réparation peuvent être nécessaires; ces opérations ne doivent être effectuées que par des techniciens SAVabilités.
5.2 Défauts et diagnostic des pannes
L'objet a fait l'objet de contrôle des qualités réguliers tout au long de sa production. Il peut toute fois arriver que l'objet présente des defaults ou des dysfonctionnements. Les pieces détachées sont souvent à l'origine de ces défaillances, auquel cas un remplacement de ces pieces est suffisant. Vous trouverez ci-après un aperçu des defaults les plus famuents ainsi que les solutions de dépannage déequates. Si l'objet ne fonctionne toute fois toujours pas correctement, veuillez vous adresser à votre contractant.
| Défaut Cause Remède | ||
| La console n'affiche que des traits | La clé de sécurité n'est pas branchée | Vérifiez que la clé de sécurité est insérée et mettez-la en place le cas échéant |
| Tapis de course oblique | Tapis de course mal centré | Centrez le tapis de course conformément aux instructions |
| Le tapis de course dérape/s'arrête | Tension/lubrification du tapis incorrecte | Contrôlez la tension du tapis/la lubrification conformément aux instructions |
| Bruits de frottement | Frottements dus à un centrage incorrect du tapis de course | Centrez le tapis de course conformément aux instructions |
| Absence d'affichage à l'écran | Contrôlez les connexions (câbles) | Allumez l'appareil, vérifiez que la clé de sécurité est en place |
| La fréquence cardiaque ne s'affiche pas | + Sources de parasites dans la pièce + Ceinture pectorale inappropriée + Ceinture pectorale mal positionnée + Piles usées | + Éliminez les sources de parasites (par ex. téléphone portable, haut-parleur...) + Utilisez une ceinture pectorale ajustée (voir accessoires commandés) + Réajustez la ceinture pectorale et/ou mouillez les électrodes + Remplacez les piles |
5.3 Codes de defaults et dépannage
Le système électronique de l'appareil procède à des tests en continu. En cas d'écarts, un code de défaut apparait à l'écran et le fonctionnement normal de l'appareil est arrêté pour votre sécurité.
Veuillez vous adresser à votre contractant pour prendre contact avec l'assistance technique.
ERR1
- Contrôlez le cablage entre l'unité de contrôle du moteur et l'écran.
- Éteignez pendant quelques secondes le tapis de course. Si le défaut persiste, contactez votre contractant pour procéder au remplacement des cables.
ERR2
- Vitesse irrégulière - Contrôlez tous les cablages de la console et vérifie qu'ils sont correctement branchés.
- Contrôlez la liaison entre les câbles de console et les cable du moteur.
- Éteignez pendant quelques secondes le tapis de course. Si le défaut persiste, contactez votre contractant.
ERR4/ERR9
- Défaut du moteur d'inclinaison - Contrôlez tous les cablages menant au moteur d'inclinaison et vérifie qu'ils sont correctement branchés.
- Éteignez pendant quelques secondes le tapis de course. Si le défaut persististe, contactez votre contractant.
ERR5/ERR6
- Surcharge - Éteignez pendant quelques secondes le tapis de course puis rallumez-le.
- Si le défaut persiste, lubrifiez le tapis de course.
- Éteignez pendant quelques secondes le tapis de course. Si le défaut persiste, contactez votre contractant.
ERR7
- Paramètres système non valides - Éteignez pendant quelques secondes le tapis de course puis rallumez-le.
- Si le problème persiste, contactez votre contractant.
ERR8
- Contrólez la puce IC de la console (EPROM) et vérifie qu'elle est correctement positionné.
- Vérifiez que les broches de la puce IC ne sont pas tordues. Positionnez correctement la puce IC.
- Éteignez pendant quelques secondes le tapis de course. Si le défaut persiste, contactez votre contractant.
5.4 Entretien et maintenance
La principale intervention de maintenance est l'entretien du tapis de course. Cette opération prévoit l'ajustement, le réglage de la tension et la lubrification du tapis de course. Les dommages imputables à un entretien insuffisant ou manquant ne sont pas couverts par la garantie. Il est par conséquent recommandé de procéder à des contrôle des maintenance réguliers. L'ajustement et la tension de la bande doivent être effectuels avec le plus grand soin. L'appareil risque en effet d'être endommagé en cas de surtension ou de sous-tension trop importante. Avant la livraison, le tapis de course est régèle en usine conformément aux réglementations en vigueur. Il peut toutefois arriver que le tapis de course glisse pendant le transport.
5.4.1 Ajustement du tapis de course
Pendant l'entrainment, le tapis de course doit rester centré et suivre un mouvement rectiligne. La sollicitation du tapis de course et la charge qu'il supporte peuvent modifier son orientation. De même, le positionnement de l'appareil sur une surface irrégulière peut influencer l'orientation du tapis.

PRUDENCE
Lors de l'opération de maintenance suivante, personne ne doit se couver sur le tapis de course!
-
Faites fonctionner l'appareil à une vitesse de 5km / h
-
Si le tapis de course devie vers la gauche, tournez la vis de réglage gauche située à l'extrémité arrêté de l'appareil d'un quart de tour maxi dans le sens des aiguilles d'une montre et la vis de réglage droite d'un quart de tour maxi dans le sens inverse des aiguilles d'une montre.
-
Si le tapis de course devie vers la droite, tournez la vis de réglage droite située à l'extrémité arrêté de l'appareil d'un quart de tour maxi dans le sens des aiguilles d'une montre et la vis de réglage gauche d'un quart de tour maxi dans le sens inverse des aiguilles d'une montre.
-
Observez ensuite le mouvement du tapis

pendant environ 30 secondes, car les effets du réglage ne sont pas immédiatement perceptibles.
- Repetez l'opération jusqu'à ce que le tapis de course suive de nouveau un mouvement rectiligne.
S'il n'est pas possible d'ajuster le tapis de course, veuilles contacter votre contractant.
5.4.2 Resserrage du tapis de course
Si le tapis de course dérape par dessus les roulettes pendant l'entrainment (un à-coup est alors perceptible pendant la course), il est nécessaire de tendre davantage le tapis de course.
Dans la plupart des cas, le tapis s'est eté ré du fait de son utilisation, le faisant ainsi glisser. Ce phénomène est tout à fait normal.
① REMARQUE
Le resserrage du tapis s'effectue avec les mêmes vis de réglage que celles employées pour l'ajustage.
- Faites fonctionner l'appareil à une vitesse de 5km / h
- Tournez successivement les vis de réglage gauche et droite d'un quart de tour maxi dans le sens des aiguilles d'une montre.
- Vérifiez ensuite si le glissement du tapis de course persiste. Si tel est le cas, repêze l'opération décrite.
5.4.3 Lubrification du tapis de course
Une lubrication insuffisante du tapis de course augmente les frottements, ce qui provoque une usure prematurée de la bande sans fin, de la plaque de base, du moteur de la platine. Si vous percevez des bruits de frottement accrus, le tapis a besoin d'être lubrifié. Nous recommendons toute fois de lubrifier le tapis au moins tous les trois mois ou toutes les 50 heures de fonctionnement, selon la première eventualité.
① REMARQUE
Si vous tapis de course est équipé d'un mécanisme de pliage, vous pouvez également le lubrifier lorsqu'il est replié.
- Soulevez légèrement le tapis.
- Appliquez une petite quantite d'huile lubrifiante ou pulverisez du silicone à l'aide d'un spray sur la bande de roulement et répartissez-le uniformément sur toute la surface.
- Continuez de tournier la bande à la main de sorte que toute la surface entre la bande sans fin et la plaque de base soit lubrifiée.
- Essuyez l'excedent d'huile lubricifique ou de silicone.
① REMARQUE
Cette mesure d'entretien est également nécessaire en cas de non-utilisation de l'appareil pendant une période prolongée.

5.5 Calendrier d'entretien et de maintenance
Pour éviter tout endommagement de l'appareil causé par la transpiration, il convient de nettoyer le cockpit, les boîtiers, les mains courantes et l'ensemble du cadre avec une serviette humide
(sans solvant!) après chaque séance d'entrainment. Au bout de 150 heures de fonctionnement, un symbole d'entretien vous rappelle de nettoyer entièrement le tapis de course. Àpres avoir nettoyé le tapis de course et contrôle toutes les pieces, éteignez le symbole en appuyant simultanément sur les touches INCLINE (inclinaison) du haut et du bas.
| distance | Calories | Speed |
| 0.00 | 0 | 0.0 |
| km | kcal | 2 km/h |
Les opérations d'entretien suivantes sont à effectuer dans les intervalles de temps indiqués :
| Pièce | Une fois parSEAme | Une foispar mois | Tous les troismois | Tous les sixmois | Une foispar an |
| Écran de console | N | I | |||
| Tension de la bande | I | ||||
| Lubrification de labande | I | ||||
| Revêtements enplastique | N | I | |||
| Vis et câbles | I | ||||
| Légende : N = nettoyage ; I = inspection | |||||
6 ELIMINATION
À la fin de sa durée de vie, l'appareil ne doit pas être éliminé avec les déchets menagers. Il doit être confié à un centre de collecte spécialisé dans le recyclage des appareils ELECTriques et Electroniques. Pour de plus amples informations, contactez le centre compétent d'élimination des déchets le plus proche de chez vous.

Les matériaux sont recyclables, conformément à leur marquage. Par le recyclage des matières, la réutilisation ou d'autres formes de valorisation des anciens appeareils, vous prenez activivement part à la protection de notre environnement.
7 ACCESSOIRES RECOMMANDÉS
Pour rendre votre entrainement encore plus/agreable et efficace, nous vous recommendons de compléter votre apparéil de fitness par des accessoires déquats. Un tapis de sol vous permettra de poser votre apparéil de fitness en toute sécurité, tout en protégéant votre sol des taches de transpiration. Vous pouvez également vous procurer des mains courantes supplémentaires pour votre tapis de course ou un spray à base de silicone pour entrenir les pièces mobiles.
Si vous appeareil de fitness propos un entrainement basé sur la fréquence cardiaque, nous vous recommendons vivement l'utilisation d'une ceinture pectorale compatible afin de garantir une transmission optimale de votre fréquence cardiaque. Vous pouvez également compléter votre apparéil de musculation par des poignées de traction ou des poids supplémentaires.
Notre gamme d'accessoires offre une qualite optimale pour rendre votre entrainement encore plus efficace. Pour toute information sur nos accessoires compatibles, rendez-vous sur notre boutique en ligne et consultez le descriptif détaillé de nos produits. Il suffit a cet effet de saisir le numero d'article correspondant en haut dans le champ de recherche. Vous serez alors dirigé vers les accessoires recommandés. Vous pouvez également utiliser le code QR mis à disposition. Vous avez bien sur également la possibilité de contacter notre service clientèle par téléphone, par mail, dans l'un de nos magasins ou via les reseaux sociaux. C'est avec plaisir que nous vous conseillerons!

8.1 Numéro de série et désignation du modele
Afin de vous assurer le meilleur service possible, nous devons connaître la désignation du modele, le numero d'article, le numero de série, la vue éclatée et la liste des pieces. Vous trouvez les données de contact correspondantes au chapitre 10 du mode d'emploi.
① REMARQUE
Le numero de série de votre apparéil est unique. Il se trouve sur un autocollant blanc. La position exacte de l'autocollant est indiquée sur la figure ci-après.

Entrez le numero de série dans le champ correspondant.
Numéro de série :
Marque / catégorie :
cardiostrong / tapis de course
Désignation du modele :
TR70-3
Référence article :
CST-TR70-3
8.2 Listes des pieces
| N° Référence piece fab. Désignation (ENG) | ||
| (01) 8000003240 Main Frame | ||
| (02) 81TB32000201A21 Frame Base | ||
| (03) 8000003241 Incline Bracket set | ||
| 1 8000003242 Incline Bracket | ||
| 2 511212006200134 Hexagonal socket screw | ||
| 3 205112081806001 Sleeve | ||
| 4 541113026200114 Washer | ||
| 5 531212001200114 Nylon Nut | ||
| (04) 8000003243 Incline Base set | ||
| 1 8000003244 Incline Base | ||
| 2 205112081806001 Sleeve | ||
| 3 331410002003301 Pulley | ||
| 4 530010001000112 Nut | ||
| 5 511212003200134 Hexagonal socket screw | ||
| 6 541113026200114 Washer | ||
| 7 531212001200114 Nylon Nut | ||
| (05) 8000003222 Supporting post set | ||
| 1 8000003223 Supporting post-L | ||
| 2 8000003224 Supporting post-R | ||
| 3 511410006000114 Socket Screw | ||
| 4 531210001000114 Nylon Nut | ||
| (06) 8000003235 Handrail set | ||
| 1 8000003236 Handrail-Left | ||
| 2 8000003237 Handrail-Right | ||
| 3 83T061105004 Incline Set | ||
| 4 83T061205004 Speed Set | ||
| 5 7000000339 Foam | ||
| 6 326213006001004 Handrail end cap | ||
| (07) 8000003238 Console bracket set | ||
| 1 8000003239 Console bracket | ||
| 3 542108016150114 Wave washer | ||
| 2 511408001500114 Screw | ||
| (08) 8000003245 Folding Shock set | |
| 1 2000001111 Folding Shock | |
| 2 2000002790 Folding fixed tube | |
| 3 550140240390115 Twin Spring | |
| 4 511208009500114 Hexagonal socket screw | |
| 5 541108016150114 Washer | |
| 6 542108016150114 Wave washer | |
| 7 531208000800114 Nut | |
| (09) 8000001812 Running Deck Set | |
| 1 206225065313151 Running deck | |
| 2 511408003500114 Socket Screw | |
| 3 541108016150114 Washer | |
| 4 511608003500114 Screw | |
| 5 5000000208 Nut | |
| (10) 80TA32000802000 Incline motor set | |
| 1 401240101204401 Incline Motor-220V | |
| 2 511610004500114 Hexagonal cap screw | |
| 3 511610006200114 Hexagonal Cap Screw | |
| 4 541110020150114 Washer | |
| 5 531210001000114 Nylon Nut | |
| (12) 8000003018 Main frame attachment set | |
| 1 342008003002001 Rubber Cushion | |
| 2 342008003002501 Rubber cushion | |
| 3 341305202202001 Space Pad | |
| 4 521205501900114 Screw | |
| 5 331808205602301 Wheel | |
| 6 511408004000114 Screw | |
| 7 541108016150114 Washer | |
| 8 531208000800114 Nut | |
| 9 312TA2150011004 Incline Lower Cover | |
| 10 521204101000114 Socket | |
| 11 592400000000001 Power Cord Buckle | |
| 12 592200000000002 Wire clipper | |
| (13) 80TA11109002004 Base Frame Attachment Set | |
| 1 341306402601001 Space Pad | |
| 2 521205501200114 Screw | |
| 3 351706403001101 DESK BASE FOOT, ASJUSTABLE | |
| 4 325214008001004 End Cap | |
| 5 331808205603601 Wheel | |
| 6 511408005000114 Screw | |
| 7 541108016150114 Washer | |
| 8 531208000800114 Nut | |
| (14) 80TA11109003000 Side Handrail Attachment Set | |
| 1 511908007000124 Socket Screw | |
| 2 511408005000114 Screw | |
| 3 522504115900114 Screw | |
| 4 521204105000114 Screw | |
| 5 541108016150114 Washer | |
| 6 531208000800114 Nut | |
| (15) 8000003248 Motor set | |
| 1 2000002793 Motor Bracket | |
| 2 401122504703501 Motor-220V | |
| 4 205213828628501 Core | |
| 5 511810010000111 Carriage Screw | |
| 6 541210020200114 Rubber Washer | |
| 7 551350220450111 Tension spring | |
| 8 341001102500701 Washer | |
| 9 341001102501101 Washer | |
| 10 541110026200114 Washer | |
| 11 531210001000114 Nylon Nut | |
| 12 511208001500115 Hexagonal socket screw | |
| 13 544182016200115 Spring Washer | |
| 14 512607913000111 Screw | |
| 15 541108016150114 Washer | |
| 16 532207900800111 Nylon Nut | |
| (17) 8000003137 MCB set | |
| 1 4000000700 MCB-220V | |
| 2 407101250120001 Overload Switch | |
| 3 407302250160001 Switch-AC Power | |
| 4 407202250150001 POWER SOCKET | |
| 5 405301010201001 Black Cable | |
| 6 405301010201502 White Cable | |
| 7 405301010202502 White Cable | |
| 8 405301010201503 Cable-Yellow-Green | |
| 9 511505002500111 Screw | |
| 10 511505005500113 Flat Head Corss Screw | |
| 11 531205000500111 Nylon Nut | |
| 12 541105010100211 Flat Washer | |
| 13 531105000400111 Nut | |
| 14 543105010060111 Washer | |
| 15 4000000130 Choke | |
| 16 4000000389 "filter" | |
| 17 511504001000113 Screw | |
| 18 541105010100111 Washer | |
| 19 531204000500111 Hexagonal nut | |
| 20 205234620812701 Core | |
| (18) 8000003297 Console set (w. overlay) | |
| (20) 83T200101007 Safety key | |
| 1 204TB2100190B01 Conducting Foil | |
| (22) 80TA32001001B05 Roller Set | |
| 1 207117063306001 Front Roller Set | |
| 2 207217050006001 Rear Roller Set | |
| 3 512207906400115 Hexagonal socket screw | |
| 4 541108014150114 Washer | |
| (23) 2000002832 Running Belt | |
| (24) 2000001540 Siderail Set | |
| (25) 80TB32002501003 Motor cover set | |
| (24) 2000001462 Side rail | |
| (25) STB32002501003 Motor cover set | |
| 1 311TB3200031003 "MOTOR COVER - LEFT " | |
| 2 311TB3200021003 MOTOR COVER - RIGHT | |
| 3 311TB3200011003 MOTOR COVER - MIDDLE | |
| 4 521204112700114 Screw | |
| 5 512506401300114 Screw | |
| (26) 8000001808 End Cap Set | |
| 1 3000000539 End Cap-Left | |
| 2 3000000540 End Cap-Right | |
| 3 521204112700114 Screw | |
| 4 591210150050011 Adhesive tape | |
| (27) 80TB32002701003 Side Cover Set | |
| 1 311TB3200111003 Side Cover-Left | |
| 2 311TB3200101003 Side Cover-Right | |
| 3 511504001000114 Screw | |
| (29) 8000001068 Bottle holder set | |
| 1 3000000373 Bottle holder-Left | |
| 2 3000000374 Bottle holder-Right | |
| 3 521204115900114 Screw | |
| (31) 8000002876 Power Cord | |
| (32) 2000000952 Drive belt | |
8.3 Vue éclatée


















Les apparêls d'entrainment de cardiostrong® sont soumis à un contrôle de qualité rigoureux. Si malgré les soins apportés, votre apparéil de fitness ne fonctionnait pas de manière irréprochable, nous le regrettons vivement et nous vous invitons à prendre contact avec notre service clientèle. Notre ligne d'assistance technique se tient volontiers à votre disposition par téléphone.
Descriptions de défauts
Votre apparéil d'entrainment a été concu pour vous garantir en permanence un entrainment de haut niveau. Toutefois, en cas de problème, veuilles d'abord dire le mode d'emploi. Si vous ne parvenez pas à résoudre vous-même le problème, adressez-vous à votre contractant ou à notre ligne d'assistance gratuite. Pour pouvoir résoudre vos problèmes dans les autres périés déliés, veuilles déscrie le défaut le plus précisément possible.
Outre la garantie legale, nous accordons une garantie sur tous les apparciels de fitness achetés chez nous dans la mesure des dispositions suivantes.
Cela n'aftee en aucune facon vos droits legaux.
Bénécicaire de la garantie
Le bénéficiaire de la garantie est le premier acheteur ou toute personne ayant reçu en cadeau un produit neuf acheté d'un premier acheteur.
Délays de garantie
Les délais de garantie, valables à compter de la remise de l'appareil d'entrainment, sont les suivants.
| Modèle Utilisation | Ion Garantie totale Cadre Moteur | ||
| TR70-3 Utilisation | n à domicile 24 mois 30 ans 10 ans |
Frais de remise en état
L'indemnisation garantie se fait selon notre choix par réparation, par échange des pieces endommagées ou par échange de l'intégrality de l'appareil. Les pieces de rechange à monter soimème lors de l'assemblage de l'appareil doivent être remplacées par le bénéficiaire de la garantie lui-même et ne sont pas prévues dans la remise en état. Àpres expiration de la période de garantie pour les frais de remise en état, une garantie sur les pieces est accordée mais elle n'inclut pas les frais de réparation, de montage et d'expédition.
Les périodes d'utilisation sont définies comme suit :
- Utilisation à domicile : exclusivement usage privé à domicile jusqu'à 3 heures par jour
- Usage semi-professionnel : jusqu'à 6 heures par jour (par ex. centres de rééducation, hôtels, clubs, salle de fitness en entreprise)
- Usage professionnel : plus de 6 heures par jour (par ex. en salle de gym)
Service Garantie
Durant la période de garantie, les apparciels presentant des dysfonctionnement dus à des defaults du matériel utilisé ou des defaults de fabrication seront, à notre apppreciation, réparés ou replacés. Les pieces ou apparciels échangés deviennent notre propriété. Les prestations de la garantie n'entrainment ni une prolongation ni un renouvellement du-delai de garantie.
Conditions de garantie
Pour pouvoir faire usage de la garantie, il convient de proceder comme suit :
Prenez contact par courriel ou par téléphone avec le service clientèle. Si le produit sous garantie doit être envoyé pour réparation, les frais encourus sont à la charge du vendeur. Àpres expiration de la garantie, les frais de transport et d'assurance sont à la charge de l'acheteur. Si le défaut entre dans le cadre de notre prestation de garantie, un apparéil réparé ou un apparéil neuf vous sera envoyé.
Les droits à la garantie sont exclus dans le cas de dommages causés par :
- une utilisation incorrecte ou non conforme
- les influences environnementales (humidité, chaleur, poussière etc.)
- le non-respect des consignes de sécurité applicables à l'appareil
- le non-respect des consignes figurant dans le mode d'emploi
+desviolences (par ex.chocs,coups,chutes) - des interventions effectuees par un service après-vente autre que ceux agreés
- des tentatives de réparation effectuees par l'acheteur
Justificatif d'achat et numero de série
Assurez-vous d'être en mesure deprésenter la facture correspondante en cas de recours à la garantie. Afin de pouvoir identifier clairément la version de votre modèle et pour notre contrôle de qualité, nous devons connaître, pour toute intervention S.A.V, le numéro de série de votre apparéil. Notez si possible le numéro de série ainsi que votre número client avant d'appeler notre ligne d'assistance. Cela facilititera le traitement de votre demande.
Si vous avez des difficultés à tracer le numéro de série de votre apparéil d'entrainment, demandez de l'aide auprès de nos collaborateurs du service après-vente.
Service hors garantie
En cas de défectuosity de votre apparéil d'entrainment après expiration de la garantie ou si le défaut n'entre pas dans le cadre de la prestation de garantie (par ex. dommages dus à une usure normale), nous nous tenons à votre disposition pour vous proposer une offre personalisée. Veuillez vous adresser à notre service clientèle afin de tracer une solution rapide et économique à votre problème. Dans ce cas, les frais d'envoi seront à votre charge.
Communication
Un entretien avec nos spécialistes suffit dans de nombreux cas à remédier à vos problèmes. Nous savons combien il est important pour vous que les problèmes soient résolusrapidement et simplement afin que vous puissiez profiter des joies de l'entrainment sans subir de longues périodes d'interruption. Il est également dans notre intérêt de追寻 une solution rapide et non budacratique à votre demande. Gardez donc à portée de main votre numéro client ainsi que le numéro de série de l'appareil défectueux.
DEDKFR
TECHNIQUE TECHNIQUE &

+4946214210-900

+4946214210-698

technik@sport-tiedje.de

Lu-ve 08h00-18h00
Sa
h00-18h00
SERVICE

0800 20 20 277
(gra
it)

info@sport-tiedje.de

Lu-ve 08h00-21:00
Sa C
h00-21:00
Dim
10h00-18h00
SERVICE TECHNIQUE & SERVICE

80901650
+4946214210-945

info@fitshop.dk

Lu-ve 08h00-18h00
Sa
9h00-18h00
PL
TECHNIQUE & SERVICE TECHNIQUE & SERVICE

223074321
+4946214210-948

info@fitshop.pl

Lu-ve 08h00-18h00
Sa
9h00-18h00

+33 (0) 172 770033
+49 4621 4210-933

Voutrouvrez sur cette page web une liste détaillée de tous les magasins du Groupe Sport-Tiedje en France et à l'étranger, avec leur adresse et leurs horaires d'ouverture.
BOUTIQUE EN LIGNE ET RÉSEaux SOCIAUX
Avec 80 succursales, Fitshop est le plus grand marché spécialisé d'appareils de fitness à domicile en Europe et compte parmi les sociétés de vente en ligne les plus renommées dans le domaine de l'équipment de fitness. Plus de 25 boutiques en ligne sont disponibles pour les particuliers dans la langue de leur pays. Des magasins vous accueillent également pour composer l'appareil de votre choix. La société fournit également les salles de gym, hotels, clubs de sports, entreprises et cabinets de kinésithérapie en-appareils d'endurance et de musculation concus pour un usage professionnel.
Fitshop offre une large gamme d'appareils de fitness de fabricants renommés, ainsi que ses propres produits et des prestations de service complètes (service de montage et conseils de professionnels avant et après l'achat de votre apparêils). L'entreprise emploie à cet effet de nombreux spécialistes scientifiques du sport, entraineurs de fitness et athletes de compétition.
N'hésitez pas à nous rendre visite sur les réseaux sociaux ou sur notre blog!

Notes
Notes

Notice Facile