DHG577XP1 - Hotte DE DIETRICH - Notice d'utilisation et mode d'emploi gratuit
Retrouvez gratuitement la notice de l'appareil DHG577XP1 DE DIETRICH au format PDF.
| Intitulé | Description |
|---|---|
| Type de produit | Four encastrable à gaz |
| Caractéristiques techniques principales | Capacité de 70 litres, classe énergétique A |
| Alimentation électrique | 230 V, 50 Hz |
| Dimensions approximatives | Largeur : 59.5 cm, Hauteur : 59.5 cm, Profondeur : 56.7 cm |
| Poids | Environ 35 kg |
| Compatibilités | Compatible avec les cuisines encastrables standards |
| Type de batterie | Non applicable |
| Tension | 230 V |
| Puissance | Max 3000 W |
| Fonctions principales | Cuisson à gaz, grill, chaleur tournante |
| Entretien et nettoyage | Nettoyage facile avec un revêtement émaillé |
| Pièces détachées et réparabilité | Disponibilité de pièces détachées sur demande |
| Sécurité | Système de sécurité gaz, verrouillage de porte |
| Informations générales utiles | Installation par un professionnel recommandée |
FOIRE AUX QUESTIONS - DHG577XP1 DE DIETRICH
Questions des utilisateurs sur DHG577XP1 DE DIETRICH
0 question sur cet appareil. Repondez a celles que vous connaissez ou posez la votre.
Poser une nouvelle question sur cet appareil
Téléchargez la notice de votre Hotte au format PDF gratuitement ! Retrouvez votre notice DHG577XP1 - DE DIETRICH et reprennez votre appareil électronique en main. Sur cette page sont publiés tous les documents nécessaires à l'utilisation de votre appareil DHG577XP1 de la marque DE DIETRICH.
MODE D'EMPLOI DHG577XP1 DE DIETRICH
Voues venez d'acquérir une hotte DE DIETRICH et nous vous en remercions.
Nos équipes de recherche ont concu pour vous une nouvelle generation d'appareils, qui par leur qualité, leur design et leurs évolutions technologiques en font des produits d'exception et révèle un savoir-faire unique.
Avec des lignes modernes et raffinées, votre nouvelle hotte DE DIETRICH s'intègre harmonieusement dans votre cuisine et allie parfaitement la maitrise technologique, les performances d'aspiration, et leUXe esthetique.
Vous trouvez également dans la gamme des produits DE DIETRICH, un vaste choix de fours encastrables, tables de cuisson, de lave-vaisselle, de jours micro-ondes et de réfrigérateurs intégrables, que vous pourrezCOORDner à votre nouvelle hotte DE DIETRICH.
Bien entendu, dans un souci permanent de satisfaire au besoin vos exigences vis à vis de nos produits, notre service consommateurs est à votre disposition et à votre écoute pour répondre à toutes vos questions ou suggestions (coordonnées à la fin de ce livre).
Grçé à ces “nouveaux objets de valeurs” qui nous servent de repère dans nos vies de tous les jours, DE DIETRICH, réference de l'excellence, est unevrable invitation à un nouvel art de vivre.
La Marque DE DIETRICH.
IMPORTANT; AVANT Toute OPERATION D'INSTALLATION ET UTILISATION, VEUILLEZ PRENDRE BONNE NOTE DES INSTRUCTIONS SUIVANTES
- Sécurité et précautions importantes
Cette notice est également disponible sur le site internet de la marque. Merci de prendre connaissance de ces conseils avant d'incller et d'utiliser votre apparéil. Ils ont été rédigés pour leur sécurité et celle d'autrui. Conservez cette notice d'utilisation avec votre apparéil. Si l' apparéil avait été vendu ou cédé à une autre personne, assurez-vous que la notice d'utilisation l'accompagne.
- Dans le souci d'une amélioration constante de nos produits, nous nous réservons le droit d'apporter à leurs caractéristiques techniques, fonctionnelles ou esthétiques toutes modifications de leurs caractéristiques liées à l'évolutionte chnique.
- Afin de retrouver aisément les références de votre apparéil, nous vous conseillons de les noter en page "Service et Relations Consommateurs".
Précautions importantes
Cet appeareil a ete concu pour etre utilise par des particuliers dans leur lieud'habitation. Ne l'utilise pas a des fins commerciales ou industrielles ou pourd'autres buts que celui pour lequel il a ete concu.
- A la réception de l'appareil, déballez-le ou faites le déballer immédiatement. Vérifiez son aspect général. Faites les évientuelles réserves par écrit sur le bonde livraison dont vous gardez un exemplaire.
- Cet apparéil peut être utilisé par des enfants d'au moins 8 ans et par des personnes ayant des capacité physiques, sensorielles, ou mentales réduites oudénuees d'expérience ou de connaissance, s'ils (si elles) sont correctement surveillé(e)s ou si des instructions relatives à l'utilisation de l' apparéil en toute sécurité leur ont été données et si les risques encourus ont été appréhendés. Les enfants ne doivent pas jour avec l' apparéil. Le nettoyage et l'entretien par l'usager ne doivent pas été effectuels par les enfants sans surveillance.
- Attention: Les parties accessibles de cet apparéil peuvent devenir chaudes lorsqu'il est utilisé avec des apparéils de cuisson.
Risques electriques
- Avant d'acceder aux bornes de raccordement, tous les circuits d'alimentation doivent être déconnectés. Si le cable d'alimentation est endomagé, il doit être remplaçé par le fabricant, son service après-vente ou une personne de qualificaction similaire afin d'eviter un danger.
- La déconnexion peut être obtenue en prévoyant une fiche de prise de courant accessible ou en incorporent un interrupteur dans les canalisations fixes conformément aux règles d'installation.
- Ne modifiez pas ou n'essayer pas de modifier les caractéristiques de cet apparéil. Cela représentait un danger pour vous.
- Les réparations doivent être exclusivement effectuées par un spécialiste/agréé.
- Débranche toujours la hotte avant de procéder à son nettoyage ou à son entretien.
- N'utilisez jamais d'appareils à vapeur ou à haute pression pour nettoyer votre apparéil (exigences relatives à la sécurité électrique).
- Ne modifie pas ou n'essayer pas de modifier les caractéristiques de cet apparéil. Cela représentait un danger pour vous.
- Les réparations doivent être exclusivement effectuées par un spécialiste/agréé.
Risques d'asphyxie
- Les reglementations concernant l'évacuation de l'air doivent être respectées. L'air ne doit pas être envoyé dans un conduit utilisé pour évacuer les fumées d'appareils utilisant du gaz ou un autre combustible (ne s'applique pas aux apparciels qui renvoie uniquement l'air dans la piece).
- Une ventilation convenable de la pierce doit etre prévue lorsqu'une hotte decuisine est utilisée simultanément avec des
appareils utilisant du gaz ou une autre combustible (ne s'applique pas aux apparciels qui renvoient uniquement air dans la piece).
Risques d'incendie
- Il est interdit de flamber des alimentes ou de faire fonctionner des foyer gazsans réciements de cuisson, au dessous de la hotte (les flammes aspirées risqueraient de déterminer l'appareil).
- Les fritures effectues sous l'appareil doivent faire l'objet d'une surveillanceconstante. Les huiles et graisses portées à très haute température peuvent prendre feu.
Respectez la fréquence de nettoyage et de remplacement des filtres. L'accumulation de dépôts de graisse risque d'occasionner un incendie. - Le fonctionnement au dessus d'un foyer à combustible (bois, charbon...) n'est pas autorisé.
- Lorsque la hotte de cuisine est placée au dessus d'un apparéil à gaz, la distance minimale entre le dessus de la table et le dessous de la hotte doit être d'au moins 70 cm. Si les instructions de la table de cuisson installée sous lahotte spécifique une distance plus grande que 70 cm, celle-ci doit être prise en compte.
DESCRIPTION DES APPAREILS
Les descriptions et caractéristiques figurant sur ce document sont données à titre d'information et non d'engagements. En effet, socieux de la qualité de nos produits, nous nous réservons le droit d'effectuer, sans préavis, toutes modifications ou améliorations.
La hotte pourra etre installee en version Recyclage ou Evacuation, selon le modele que vous achetez.
Ces modèles peuvent être installés en version Recyclage ou Evacuation, selon vos besoin.
Dans la version Recyclage (Fig. 1), l'air et les vapeurs convoyés par l'appareil sont épures par le filtré à charbon et remis en circulation dans la pièce. ATTENTION: Pour la version Recyclage vous doivent utiliser le filtré à charbon qui purifie l'air qui est remis en circulation dans la pièce.
Dans la version Evacuation (Fig. 2), les vapeurs et les odeurs de la cuisine sont convoyées directement à l'extérieur par un tuyau d'évacuation à travers la paroi/plafond. Il n'est donc pas nécessaire d'utiliser le filtré à charbon.
Cet apparéil est conforme à l'arrêté du 16.08.89 relatif à la limitation des perturbations radioélectriques (Directive CEE n. 76.889 modifiée par la Directive CEE 87.308).

Fig. 1

Fig. 2
INSTALLATION
Il est conseilé de confier les opérations d'installation à des spécialistes.
Lire attentissement les indications au paragraphe "IMPORTANT" de la page n.3 de la notice d'utilisation.
Avant de proceder aux opérations de montage, pour manoeuvrer plus aisément l'appareil, demontez les filtres àGRAISSÉ: à l'aide de la poignée, pousser l'arrêt vers l'intérieur et tirer le filtre vers le bas (Fig. 3).

Fig. 3
Faites le trou nécessaire afin d'insérer l'appareil (Fig. 4). La base inférieure du meuble doit avoir une épaisseur de 16 mm.
Contrer que les ailettes de fixation (Fig. 5) au meuble suspendu sont placées à une hauteur appropriée à l'épaissur du bas de ce dernier. Si cette distance est inférieure à l'épaissur, il faut l'augmenter en dévisant les 2 vis correspondantes à l'intérieur de l'appareil.
INSTALLATION EN VERSION RECYCLAGE
Prévoyez l'alimentation électrique. Insérez l'appareil dans le trou effectué (Fig. 4).
Prévoyez le trou d'évacuation de l'air au sommet de votre placard (Fig.1).
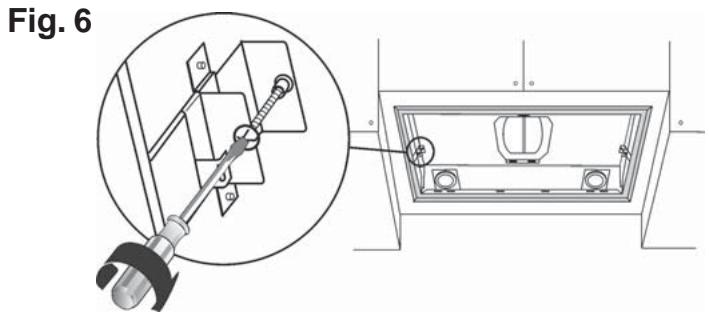
Serrez les deux vis qui se trouvent à l'intérieur de l'appareil (Fig. 6), jusqu'à ce que celui ci soit parfaitement intégré. Eviter de serrer trop fort les vis de manière
à ce que les petits étriers métalliques restent en bonne position.
Raccordez le tuyau de raccordement à la bride de sortie de l'appareil (le tuyau n'est pas fourni).
Effectuez le raccordement électrique de la hotte au moyen du cable d'alimentation.

Fig. 5
EPAISSEUR 16mm
| MODELS | A |
| DHG556XP | 490mm |
| DHG576XP | |
| DHG589XP | |
| DHG577XP | 690mm |

Fig. 4
EPAISSEUR 16mm

INSTALLATION EN VERSION EVACUATION
Prévoyez l'alimentation électrique et le trou d'évacuation de l'air (Fig. 2).
Insérez l'appareil dans le trou effectué (Fig. 4).
Serrez les deux vis qui se trouvent à l'intérieur de l'appareil (Fig. 6), jusqu'à ce que celui ci soit parfaitement intégré. Eviter de serrer trop fort les vis de manière à ce que les petits étriers métalliques restent en bonne position.
Pour obtenir des conditions optimes, vous devez employer un tuyau d'évacuation qui ait une longueur suffisante avec le moins de courbes possible (l'angle maximum des courbes ne doit pas dépasser 90^ ). Sa matière doit être conforme à la réglementation en vigueur. La partie interne doit être le plus lisse possible.
De plus, nous vous conseillons d'éviter des changements brusques de section du tuyau (diamètre conseillé: 150 mm). L'appareil est livré avec un réducteur 150-125cm.
Raccordez le tuyau pour l'évacuation de l'air à la bride de sortie de l'air de la hotte (Fig. 2): utilisez un tuyau couple et bloquez le sur la sortie de l'air à l'aide d'un collier métallique (le tuyau et le collier ne sont pas fournis).
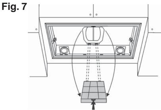
Enlevez le filtré à charbon, en appuyant sur l'arrêt vers l'intérieur et en le faisant pivoter jusqu'à ce que les deux languettes sortent de leurs logements (Fig.7).

Effectuez le raccordement électrique de la hotte au moyen du cable d'alimentation.
DEMONTAGE DE L'APPAREIL
Retirer le ou les filtres antigraissse.
Pendant les opérations suivantes veuillez toujours soutenir
l'appareil. Devisser les deux vis situées à l'intérieur de
l'appareil (Fig. 6); déplacer les 2 languettes vers l'intérieur
de l'appareil en utilisant les entailles appropriées (Fig. 8);
extraire l'appareil de son siège.

FONCTIONNEMENT DE L'APPAREIL
Selon les modèles, l'appareil est muni des types suivants de commandes:
DHG556XP, DHG576XP, DHG577XP
COMMANDES - Fig. 9:
A) ON/OFF lampes. Cette touche s'utilise également pour la fonction alarme filtres àGRAisse et filtres à charbon.
Alarme filtres : Avres 30h de fonctionnement, le temoin lumineux L1 s'allume et reste allumé (c'est le moment de nettoyer les filtres à graisse). Avres 120h de fonctionnement, le temoin lumineux L1 s'allume et reste allumé (c'est le moment de remplacer les filtres à charbon si la hotte en est equipée). L'alarme des filtres s'active UNIQUEMENT avec le moteur ARRETE. L'alarme des filtres s'annule (remise à zéro du compteur HORAIRE) en maintainant la touche A enforcée pendant 2". B) Appuyer sur la touche B pour actionner le moteur à la première vitesse. La vitesse est signalée par le temoin lumineux L2 allumé. En la maintainant enforcée pendant 2" le moteur s'arrête. En appuyant une seule fois, avec le temoin lumineux allumé, on active la fonction "Arrêt temporisé" (le moteur de l'appareil s'arrête après 5 minutes) signalée par le temoin lumineux qui clignote. Pour désactiver la fonction "Arrêt temporisé" appuyer encore une seule fois. C) Appuyer sur la touche C pour actionner le moteur en deuxieme vitesse. La vitesse est signalée par le temoin lumineux L3 allumé. En appuyant une seule fois, avec le temoin lumineux allumé, on active la fonction "Arrêt temporisé" (le moteur de l'appareil s'arrête après 5 minutes) signalée par le temoin lumineux qui clignote. Pour désactiver la fonction "Arrêt temporisé" appuyer encore une seule fois. D) Appuyer sur la touche D pour actionner le moteur en troisieme vitesse. La vitesse est signalée par le temoin lumineux L4 allumé. En appuyant une seule fois, avec le temoin lumineux allumé, on active la fonction "Arrêt temporisé" (le moteur de l'appareil s'arrête après 5 minutes) signalée par le temoin lumineux qui clignote. Pour désactiver la fonction "Arrêt temporisé" appuyer encore une seule fois. E) Appuyer sur la touche E pour actionner le moteur en quatrième vitesse (B = Booster). La vitesse est signalée par le temoin lumineux L5 allumé. En appuyant une seule fois, avec le temoin lumineux allumé, on active la fonction "Arrêt temporisé" (le moteur de l'appareil s'arrête après 5 minutes) signalée par le temoin lumineux qui clignote. Pour désactiver la fonction "Arrêt temporisé" appuyer encore une seule fois.
ATTENTION : EN ACTIONNANT LA FONCTION “ARRÉT TEMPORISÉ”, LE MOTEUR S'ETEINT APRès 5 MINUTES. ATTENTION : QUAND LE TEMOIN LUMINEUX L1 S'ALLUME IL EST NECESSAIRE DE NETTOYER LES FILTRES ANTIGRAISSE OU DE REMPLACER LE FILTRÉ CHARBON.
DHG589XP
COMMANDES - Fig. 10:
A) ON/OFF lampes. Cette touche s'utilise également pour la fonction alarme filtres à graisse et filtres à charbon.
Alarme filtres : ÀpRES 30h de fonctionnement, le témoin lumineux L1 s'allume et resté allumé pendant 30" (c'est le moment de nettoyer les filtres àGRAISE).ÀpreS 120h de fonctionnement, le témoin lumineux L1 s'allume et resté allumé pendant 30" (c'est le moment de replacer les filtres à charbon si la hotte en est équipée).L'alarme des filtres s'active UNIQUEMENT avec le moteur ARRETE. L'alarme des filtres s'annule (remise à zéro du compteur HORAIRE) en Maintenant la touche A enfoncée pendant 2".
B) La touche B permet d'activer ou de désactiver la fonction automatique (une fois le capteur activé, le témoin L2 s'allume).
C) Appuyer sur la touche C pour actionner le moteur à la première vitesse. La vitesse est signalée par le témoin lumineux L3 allumé. En la maintainant enforcée pendant 2" le moteur s'arrête. D) Appuyer sur la touche D pour actionner le moteur en deuxieme vitesse. La vitesse est signalée par le témoin lumineux L4 allumé. E) Appuyer sur la touche E pour actionner le moteur en troisieme vitesse. La vitesse est signalée par le témoin lumineux L5 allumé. F) Appuyer sur la touche F pour actionner le moteur en quatreieme vitesse (B = Booster). La vitesse est signalée par le témoin lumineux L6 allumé.
SENSIBILITE DU CAPTEUR : la sensibilité du AUTO peut être adaptée aux exigences propres.
Modifier la sensibilité, en appuyant en même temps sur les touches A et B. La sensibilité préfixée grâce aux 4 tímoins L3, L4, L5, L6 clignotants s'affiche. Fixez la sensibilité désirée, en utilisant les touches C, D, E ou F (touche C sensibilité minimale, touche F sensibilité maximale). Fixez une sensibilité minimale pour une table gaz, moyen pour la vente, Maxi pour l'Induction.
ATTENTION : LORSQUE LE TEMOIN LUMINEUX L1 S'ALLUME, IL EST NECESSAIRE DE NETTOYER LES FILTRES ANTIGRAISSE OU DE REMPLACER LE FILTRE CHARBON.
FONCTION AUTOMATIQUE (elle s'active grâce à la touche B) : cet apparéil est équipé d'un système complètement automatisé (ICS) qui permet de:gérer toutes les fonctions de la hotte. Grace au système ICS, l'air reste toujours propre et sans mauvaises odeurs dans la cuisine et ce, sans nécessiter aucune intervention de la part de l'utilisateur. Les capteurs très sophistiqués réussissant à capter tous types d'odeur, vapeur, fumée ou chaleur dus à la cuisson. L'ICS capte également la présence anormale de gas dans l'atmosphère.
Lorsque la fonction capteur est activée, les touches C D, E, F n'activent que momentanément les vitesses, puis c'est au tour du AUTO d'imposer automatiquement les vitesses.

Fig. 9

Fig. 10
La 4e vitesse (B = Booster - intensive) diminue automatiquement à la 3e vitesse après 5 minutes de fonctionnement pour optimiser les consommations énergétiques.
- Si la hotte est laissée mise en marche (éclairage et/ou moteur), après 10 heures de fonctionnement, en cas d'absence d'autres commandes par l'utilisateur, elle passera automatiquement en mode OFF, tous les voyants étant désactivées.
- Chaque fois qu'une commande est donnée au clavier ou depuis la télécommande (option), une sonnerie émet un signal sonore « bip ».
- Si pendant la marche de la hotte une coupure d'alimentation électrique se produit, la hotte se met automatiquement hors circuit, et sa touche passé en position OFF. Il faut donc remettre le moteur en marche en mode manuel.
. Characteristiques techniques - DHG556XP:
- 1 Moteur puissance 155W
- Tension réseau : 230-240V monophasé
- Eclairage 2 ampoules halogènes de 20W
- Livré avec cordon de 150 cm. avec prise de courant
- Poids brut:Kg.11
- Poids net: Kg.8,5
- 2 litres antigraissse métalliques
Characteristiques techniques - DHG576XP:
- 1 Moteur puissance 250W
- Tension réseau : 230-240V monophasé
- Eclairage 2 ampoules halogènes de 20W
- Livré avec cordon de 150 cm. avec prise de courant
- Poids brut:Kg.11
- Poids net: Kq.8,5
- 2 litres antigraissse métalliques
Characteristiques techniques - DHG589XP:
- 1 Moteur puissance 260W
- Tension réseau : 230-240V monophasé
- Eclairage 2 ampoules halogènes de 20W
- Livré avec cordon de 150 cm. avec prise de courant
- Poids brut:Kg.12
- Poids net: Kg.9,5
- 2 litres antigraissse métalliques
Characteristiques techniques - DHG577XP:
- 1 Moteur puissance 250W
- Tension réseau : 230-240V monophasé
- Eclairage 2 ampoules halogènes de 20W
- Livré avec cordon de 150 cm. avec prise de courant
- Poids brut:Kg.13,5
- Poids net:Kg.10
- 2 litres antigraissse métalliques
Characteristiques dimensionnelles


BRANCHEMENT ELECTRIQUE
Lors du branchement electrique, s'assurer que la tension correspond bien a cette indiquee sur la plaque signaletique.
Avant de proceder aux opérations de nettoyage ou d'entretien couper le courant. Le branchement au réseau doit être réalisé par un installateur/agéré, en se conformant à la norme en vigueur. Cet apparéil est construit de façon a appartenir à la classe d'iso1ation I.
ATTENTION: ces apparèils doivent être reliés à la terre.
Lors du raccordement electrique assurez-vous que les valeurs de tension correspondant a celles qui sont indiquees sur la plaque des caractéristiques de l'appareil, qui se trouve a l'intérieur de celui-ci. Si vous appareil, n'a pas de cable flexible qui ne peut pas etre séparé ni de prise, ou bien d'autre dispositif qui garantisse le débranchement de tous les pôles du réseau, avec une distance d'ouverture entre les contacts permettant la déconnexion complète en termes de catégorie de surtension III, ces dispositsifs de séparation du réseau doivent alors etre prevus dans l'alimentation electrique en conformité avec les règles de l'installation. Si vous appliceil est muni d'un cable d'alimentation, positionner l'applieil de maniere à ce que la fiche soit accessible.
ENTRETIEN
AVANT Toute INTERVENTION, IL FAUT COUPER L'ALIMENTATION DE LA HOTTE (PRISE DE COURANT ou INTERRUPEUR).
Un entretien soigné assure un bon fonctionnement et un bon rendement dans le temps.
ATTENTION: LE MODELE DHG589XP EST EQUIRE D'UN CAPTEUR. EVITEZ DONC D'UTILISER DES PRODUITS SILICONES A PROXIMATE DE LA HOTTE POUR NE PAS ENDOMMAGER LE CAPTEUR.
-Entretien de la carrosserie:
Pour le nettoyage de la carrosserie de l'appareil, éviter l'emploi de produits contenant des abrasifs.
-Entretien des filtres antigraisse:
Les filtres antigraissè nécessitant un entretien régulier et il faut donc les nettoyer périodiquement en moyenne tous les deux mois. Démontez les filtres antigraissè:
À l'aide de la poignée, pousser l'arrêt vers l'intérieur et tirer les filtres vers le bas (Fig.11).
Lavez-les avec avec un nettoyant menager du commerce puis rincer abondamment et secher. Ce nettoyage peut etre effectue dans un lave-vaiselle en prenant soin de ne pas metre les filtres en contact avec de la vaiselle sale ou avec des couverts en argent.

Fig. 11
-Entretien du filtré à charbon:
Si vous utilisez votre apparéil en version récyclage, il sera nécessaire de replacer le filtré à charbon en moyenne tous les six mois, selon l'emploi. Code filtré à charbon: AH4063U1.
Pour enlever le filtré à charbon, il faut d'abord demonter les filtres antigraissse (Fig.11). Puis, enlevez le filtré à charbon, en appuyant sur l'arrêt vers l'intérieur et en le faisant pivoter jusqu'à ce que les deux languettes sortent de leurs logements (Fig.12). Remplacez le filtré à charbon et rémontez les filtres antigraissse.

Fig. 12
-Remplacement des lampes halogenes:
Pour remplacer les lampes halogenes, commencez par enlever les filtres antigraissse (Fig. 11). Otez les hublot (Fig.13). Remplacez les lampes par des halogenes ayant les mêmes caractéristiques. ATTENTION: Ne pas toucher l'ampoule à main nue.

Fig. 13
IMPORTANT; BEFORE ANY OPERATION OF INSTALLATION AND USE, TAKE NOTE OF THE FOLLOWING INSTRUCTIONS:
| MODELS | A |
| DHG556XP | 490mm |
| DHG576XP | |
| DHG589XP | |
| DHG577XP | 690mm |

Fig. 4

Fig. 6
DHG556XP, DHG576XP, DHG577XP
CONTROLS - Fig. 9:
| MODELS | A |
| DHG556XP | 490mm |
| DHG576XP | |
| DHG589XP | |
| DHG577XP | 690mm |

Fig. 4
ESPESOR 16mm

Fig. 6
INSTALACION DE LA VERSION ASPIRANTE
DHG556XP, DHG576XP, DHG577XP
MANDOS - Fig. 9:
| MODELS | A |
| DHG556XP | 490mm |
| DHG576XP | |
| DHG589XP | |
| DHG577XP | 690mm |

Fig. 4

Fig. 6
DHG556XP, DHG576XP, DHG577XP
COMANDOS - Fig. 9:
| MODELS | A |
| DHG556XP | 490mm |
| DHG576XP | |
| DHG589XP | |
| DHG577XP | 690mm |

Fig. 4

INSTALLATION MIT ABLUFTVERSION
DHG556XP, DHG576XP, DHG577XP
Bedienung - Abb. 9:
| MODELS | A |
| DHG556XP | 490mm |
| DHG576XP | |
| DHG589XP | |
| DHG577XP | 690mm |
Afb. 4

DIKTE 16mm

Afb. 6
INSTALLATIE IN DE ZUIGVERSIE
DHG556XP, DHG576XP, DHG577XP
| MODELS | A |
| DHG556XP | 490mm |
| DHG576XP | |
| DHG589XP | |
| DHG577XP | 690mm |

Fig. 4

Fig. 6
DHG556XP, DHG576XP, DHG577XP
COMANDI - Fig. 9:
Tout dépannage doit être effectué par un technicien qualifié.
Seul les distributeurs de notre marque :
Connaissent parfaitement votre apparéil et son fonctionnement.
Applicant intégralement nos méthodes de réglage, d'entretien et de réparation.
Utilisent exclusivement les pieces d'origine.
Pour toute commande à votre distributeur, précisez-lui la reférence complète de votre apparéil (type de l' apparéil et numéro de série)
Ces renseignements figurent sur la plaque signalétique fixée à l'intérieur de l'appareil.
Les descriptions et les caractéristiques apportées dans ce livre sont donnéesse单独ement à titre d'information et non d'engagement. En effet, socieux de la qualite de nos produits, nous nous réservons le droit d'effectuer, sans préavis, toutes modifications ou améliorations nécessaires.
PIÉCES D'ORIGINE : demandez à votre vendeur que, lors d'une intervention d'entretien, seules des PIÉCES DETACHÉES CERTIFIÉES D'ORIGINE soient utilisées.

Relations consommateurs
Numero de téléphone du service consommateurs Brandt :

(0,34 euros par minute) *
- Service fourni par Brandt Customer Service société par actions simplifiée au capital de 2.500.000 euros 5/7 Avenue des Béthunes, 95310 Saint Ouen l'Aumône RCS Pontoise 440 303 303
Notice Facile