HDCC32560 - Alarme de sécurité ABUS - Notice d'utilisation et mode d'emploi gratuit
Retrouvez gratuitement la notice de l'appareil HDCC32560 ABUS au format PDF.
| Caractéristiques | Détails |
|---|---|
| Type de produit | Verrou de sécurité |
| Dimensions | Non spécifiées |
| Matériau | Acier |
| Poids | Non spécifié |
| Utilisation | Convient pour les portes et fenêtres |
| Installation | Montage sur surface |
| Maintenance | Vérifier régulièrement le mécanisme |
| Sécurité | Résistant aux tentatives d'effraction |
| Garantie | Non spécifiée |
| Informations supplémentaires | Consulter le manuel d'utilisation pour des instructions détaillées |
FOIRE AUX QUESTIONS - HDCC32560 ABUS
Questions des utilisateurs sur HDCC32560 ABUS
0 question sur cet appareil. Repondez a celles que vous connaissez ou posez la votre.
Poser une nouvelle question sur cet appareil
Téléchargez la notice de votre Alarme de sécurité au format PDF gratuitement ! Retrouvez votre notice HDCC32560 - ABUS et reprennez votre appareil électronique en main. Sur cette page sont publiés tous les documents nécessaires à l'utilisation de votre appareil HDCC32560 de la marque ABUS.
MODE D'EMPLOI HDCC32560 ABUS
F Notice d'utilisation
Vous trouverez les questions les plus fréquemment posées (FAQ) et des remarques importantes sur ce produit ainsi que d'autres produits sur notre site Internet
www.abus.com
Version 1.0
Introduction
Chère cliente, cher client,
Nous vous remercions d'avoir choisi ce produit.
La société ABUS Security-Center déclare que les caméras HDCC32560 et HDCC42560 sont conformes aux exigences des directives européennes suivantes : directive CEM 2014/30/UE et directive RoHS 2011/65/UE. Le texte complet de la déclaration de conformité UE est disponible aux adresses Internet suivantes :
Lorsque vous utilisez ce produit, respectez les consignes du manuel d'utilisation afin de ne pas altérer la conformité du produit et sa sécurité de fonctionnement.
Avant la mise en service du produit, veuillez lire le manuel d'utilisation dans son intégralité et respecter toutes les consignes d'utilisation et de sécurité.
Tous les noms de sociétés et de produits mentionnés dans ce manuel sont des marques déposées de leurs propriétaires respectifs. Tous droits réservés.
Pour toute question, adressez-vous à votre installateur ou revendeur spécialisé.

L'enregistrement de données est soumis à la réglementation sur la protection des données en vigueur dans le pays correspondant.

Clause de non-responsabilité
Ce manuel d'utilisation a été rédigé avec le plus grand soin. Si vous constatez malgré tout des omissions ou autres imprécisions, nous vous prions de bien vouloir nous les signaler par écrit à l'adresse indiquée ci-dessus.
La société ABUS Security-Center GmbH décline toute responsabilité pour les erreurs techniques ou typographiques et se réserve le droit de modifier à tout moment le produit et les manuels d'utilisation sans préavis.
ABUS Security-Center ne peut être tenu responsable des dommages consécutifs, directs ou indirects, liés à l'équipement, aux performances et à l'utilisation de ce produit. Le contenu de ce document ne fait l'objet d'aucune garantie.
Signification des pictogrammes
![]() | Le pictogramme représentant un éclair dans un triangle indique un danger pour la santé, par exemple une décharge électrique. |
![]() | Le pictogramme représentant un point d'exclamation dans un triangle indique la présence, dans ce manuel d'utilisation, d'instructions importantes devant être impérativement respectées. |
![]() | Ce pictogramme indique la présence de conseils et de remarques spécifiques relatives à l'utilisation. |
Énumérations
| 1. ...2. ... | Énumérations avec ordre particulier dans le texte ou dans l'avertissement. |
| ... ... | Énumérations sans ordre particulier dans le texte ou dans l'avertissement. |
Utilisation conforme
Utilisez l'appareil exclusivement aux fins pour lesquelles il a été construit et conçu ! Toute autre utilisation est considérée comme non conforme !
Consignes de sécurité importantes
Généralités
Avant la première utilisation du matériel, lisez attentivement les indications, et plus particulièrement les avertissements, même si vous êtes autorisé à utiliser des appareils électroniques.
![]() | En cas de dommages consécutifs au non-respect de ce manuel d’utilisation, la garantie devient caduque. Nous déclinons toute responsabilité pour les dommages consécutifs ! |
![]() | Nous déclinons toute responsabilité pour les dommages matériels et/ou corporels résultant d’une manipulation non conforme ou du non-respect des consignes de sécurité. Dans de tels cas, la garantie devient caduque ! |
Conservez ce manuel en lieu sûr pour pouvoir vous y référer ultérieurement.
Si vous revendez ou donnez l'appareil, remettez également le présent manuel.
Les consignes de sécurité et les mises en garde suivantes sont destinées à vous protéger ainsi que l'appareil. Veuillez lire attentivement les points suivants :
Alimentation électrique
- N'utilisez cet appareil qu'avec une source de courant fournissant la tension secteur indiquée sur la plaque signalétique. Si vous ne savez pas exactement de quelle alimentation électrique vous disposez, veuillez vous adresser à votre fournisseur d'électricité.
- Déconnectez l'appareil du réseau électrique avant toute intervention de maintenance ou d'installation.
L'appareil n'est intégralement déconnecté du réseau électrique qu'une fois l'alimentation retirée. - Afin de complètement débrancher l'appareil du réseau, la fiche doit être retirée de la prise.
- Afin de prévenir tout danger d'incendie, il convient de débrancher la fiche de l'appareil de la prise en cas de non-utilisation prolongée.
- Avant une tempête et/ou un orage avec risque d'éclair, débranchez l'appareil du réseau électrique ou branchez l'appareil à une ASI.
- Évitez toute surcharge des prises secteur, des rallonges de câble et des adaptateurs, ceci pouvant entraîner un risque d'électrocution ou d'incendie.
Câbles
- Saisissez tous les câbles toujours au niveau de la fiche et ne tirez jamais sur le câble.
- Ne saisissez jamais le câble électrique avec des mains mouillées, car vous risqueriez un court-circuit ou une décharge électrique.
- Ne posez ni appareil, ni partie de meuble ou autres objets lourds sur les câbles et veillez à ce que ceux-ci ne soient pas pliés, surtout au niveau de la fiche et des broches de raccordement.
- Ne faites jamais de nœud avec un câble et ne l'attachez jamais à d'autres câbles.
- Tous les câbles doivent être installés de façon à ce qu'ils ne gênent personne et que personne ne marche dessus.
- Un câble électrique peut engendrer un incendie ou une électrocution. Contrôlez de temps à autre le câble électrique.
- Ne modifiez pas et ne manipulez pas le câble électrique ni la prise secteur.
- N'utilisez pas d'adaptateur ou de rallonge qui ne satisfont pas aux normes de sécurité en vigueur et n'intervenez pas au niveau du câble électrique ou réseau.
À propos des enfants
- Ne laissez pas les appareils électriques entre les mains des enfants ! Ne laissez jamais les enfants utiliser des appareils électriques sans surveillance. Les enfants ne peuvent pas toujours identifier les dangers. Les petites parties peuvent mettre leur vie en danger si elles sont ingérées.
- Veuillez aussi garder les enfants à l'écart de l'emballage. Risque d'asphyxie !
- Cet appareil n'est pas conçu pour les enfants. En cas d'utilisation non conforme, les ressorts peuvent sauter et provoquer des blessures chez les enfants (par ex. au niveau des yeux).
Surveillance
Il se peut que, dans certains pays, la mise en service de systèmes de surveillance soit interdite par la loi ou réglementée.
- Préalablement à la mise en service du système, l'utilisateur est tenu de s'assurer que la surveillance a lieu dans le respect des dispositions légales applicables.
Lieu d'installation/Environnement d'exploitation
Ne posez aucun objet lourd sur l'appareil.
L'appareil est uniquement conçu pour le fonctionnement dans des pièces à température ou humidité de l'air correspondantes (par ex. les salles de bain), ou encore dans des locaux soumis à une quantité importante de poussières. Pour une indication précise, consultez les caractéristiques techniques de l'appareil.
Veillez aux points suivants :
- toujours garantir une aération suffisante (ne pas poser l'appareil sur des étagères, sur un tapis épais, sur un lit ou là où les fentes d'aération sont bouchées et garder un écart de 10 cm minimum de tous les côtés) ;
- ne jamais directement exposer l'appareil à des sources de chaleur (par ex. les chauffages) ;
- éviter l'exposition directe aux rayons du soleil ou à une source de lumière artificielle puissante pour les appareils destinés à une utilisation en intérieur ;
- ne pas poser l'appareil à proximité de champs magnétiques (par ex. des haut-parleurs) ;
- ne pas poser sur ou à côté de l'appareil des sources d'inflammation non protégées (par ex. des bougies) ;
- éviter les éclaboussures, le contact avec des gouttes d'eau ou des liquides agressifs sur les appareils destinés à une utilisation en intérieur ;
- ne pas utiliser l'appareil à proximité d'eau et, surtout, ne jamais plonger l'appareil dans l'eau (ne pas poser de récipients remplis de liquide, tels que des vases ou des boissons sur ou à côté de l'appareil) ;
- ne pas insérer de corps étrangers dans l'appareil ;
- ne pas exposer l'appareil à d'importantes fluctuations de températures, sinon l'humidité peut se condenser et provoquer des courts-circuits ;
- ne pas exposer à des secousses ou des vibrations importantes.
Déballage
Veuillez manipuler l'appareil avec la plus grande précaution lorsque vous le retirez de l'emballage.
Les emballages et les accessoires liés sont recyclables et doivent toujours être confiés au recyclage.
Nous vous recommandons ce qui suit :
jeter les parties d'emballage en papier, carton, carton ondulé ou plastique dans les collecteurs prévus à cet effet.
S'il n'y en a pas dans votre zone de résidence, vous pouvez jeter ces matériaux avec les déchets ménagers.

Avertissement
Si l'emballage d'origine est endommagé, examinez tout d'abord l'appareil. Si ce dernier a subi des dommages, veuillez le renvoyer avec son emballage et en informer le service de livraison.
Mise en service
- Avant la première mise en service, respectez toutes les consignes de sécurité et d'utilisation !
![]() | AvertissementAvant d’installer l’appareil dans un système de vidéosurveillance existant, veillez à ce que tous les appareils soient déconnectés du réseau et du circuit basse tension. |
![]() | AvertissementToute intervention mal exécutée et réalisée par un non-professionnel sur le réseau électrique ou sur les installations domestiques peut être dangereuse, pour vous-même et pour autrui.Les installations doivent être câblées de façon à ce que le circuit secteur et le circuit basse tension soient toujours séparés. Ils ne doivent en aucun cas être reliés ou pouvoir être reliés suite à un défaut. |
Maintenance et entretien
Des travaux de maintenance sont nécessaires lorsque l'appareil est endommagé (par exemple lorsque la fiche, le câble électrique ou le boîtier est endommagé, en cas de pénétration de liquide ou d'objets à l'intérieur de l'appareil, d'exposition à la pluie ou à l'humidité, ou s'il ne fonctionne pas correctement, ou encore après une chute).
Maintenance
Si vous constatez un dégagement de fumée, des bruits ou une odeur inhabituels, éteignez immédiatement l'appareil et débranchez la prise secteur. Dans ces cas, l'appareil ne doit plus être utilisé tant qu'un spécialiste n'a pas procédé à un contrôle.
- Confiez tous les travaux de maintenance à un spécialiste qualifié.
- N'ouvrez jamais le boîtier de l'appareil ou des accessoires lorsque cela n'est pas nécessaire. Un boîtier ouvert comporte toujours un danger de mort par électrocution. Par conséquent, ouvrez le boîtier uniquement lorsque l'appareil est hors tension.
Pour la plupart des appareils, l'ouverture est indispensable et autorisée pour les opérations suivantes :
• montage de l'appareil ;
- insertion d'un support d'enregistrement (carte SD ou disque dur) ;
- accès aux fonctions essentielles (bouton Reset ou touche WPS).
Nettoyage
- Nettoyez le boîtier de l'appareil uniquement à l'aide d'un chiffon humide.
- N'utilisez pas de solvants, d'alcool, de diluants, etc., ni aucune des substances suivantes : eau salée, insecticides, solvants à base de chlore ou d'acides, ammoniac, poudre à récurer.
- Frottez doucement avec un chiffon en coton sur la surface, jusqu'à ce que cette dernière soit entièrement sèche.

L'appareil fonctionne sous une tension dangereuse. Débranchez l'appareil du réseau pour effectuer les travaux de maintenance ou le nettoyage de l'appareil !
Sommaire
- Étendue de la livraison....8
- Description de l'équipement 9
2.1. HDCC32560 9
2.2. HDCC42560 9
3.1. HDCC32560 10
3.2. HDCC42560 11
3.3. Installation du câble vidéo 11
1. Étendue de la livraison
HDCC32560
- Mini caméra dôme extérieure analogique HD 1 080p
■ Alimentation, 12 V CC/1 A (UE, R-U., AU) - Gabarit de perçage
- Câble combiné de 30 m
- Matériel de montage
- Instructions
HDCC42560
- Mini caméra extérieure analogique HD 1 080p
■ Alimentation, 12 V CC/1 A (UE, R-U., AU) - Gabarit de perçage
■ Câble combiné de 30 m - Matériel de montage
- Instructions
2. Description de l'équipement
2.1. HDCC32560

| 1 Socle de la caméra 2 Anneau d'arrêt | ||
| 3 Clapet de la caméra 4 Caméra | ||
| 5 Sortie vidéo HD-TVI (BNC) | 6 | Raccordement électrique (5,5 x 2,1 mm, fiche creuse) |
2.2. HDCC42560

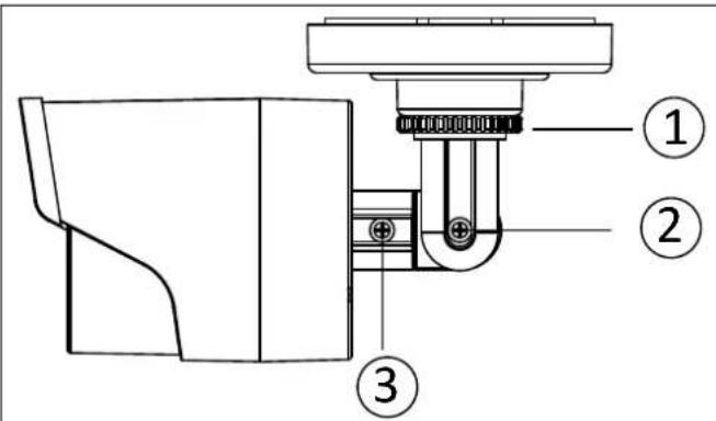
| 1 | Fixation murale de la caméra | 2 | Sortie vidéo HD-TVI (BNC) |
| 3 | Raccordement électrique(5,5 x 2,1 mm, fiche creuse) | 4 | Pare-soleil |
| 5 | Objectif 6 LED IR |
Pendant le montage, la caméra doit être coupée de l'alimentation secteur.
3.1. HDCC32560

Collez le gabarit de perçage fourni à l'endroit d'installation souhaité pour la caméra. Percez les trous nécessaires.
Faites pivoter l'anneau d'arrêt dans le sens inverse des aiguilles d'une montre. Utilisez les deux points d'ancrage sur la face inférieure du socle de la caméra afin d'exercer un contrepoids.
Pour fixer le socle de la caméra, utilisez les vis et chevilles fournies.

Si les câbles doivent être posés latéralement, ne fixez pas complètement le socle de la caméra avant que la caméra et le clapet de la caméra ne soient à leur position.
Posez la caméra sur le socle et introduisez les câbles dans le mur ou de manière latérale. Clipsez le clapet de la caméra et orientez-le ainsi que la caméra.
Dévisser l'anneau d'arrêt dans le sens des aiguilles d'une montre pour fixer la caméra dans sa position.
Direction

- Inclinaison : 0-75°
- Pivotement : 0-360°
- Rotation : 0-360°
3.2. HDCC42560

Collez le gabarit de perçage fourni à l'endroit d'installation souhaité pour la caméra. Percez les trous nécessaires.
Pour fixer la caméra, utilisez les vis et chevilles fournies.
Direction

- Pivotement : 0-360°
- Inclinaison : 0-180°
- Rotation : 0-360°
3.3. Installation du câble vidéo
Pour transmettre le signal vidéo HD-TVI de la caméra à un enregistreur HD-TVI, un câble coaxial de type RG59 à connecteur BNC (mâle) doit être branché au connecteur « TVI ». La longueur du câble jusqu'au prochain appareil ne doit pas dépasser 500 m (RG6) ou 300 m (RG59).
![]() | Veuillez noter que la transmission d'images de la caméra peut être perturbée si vous posez les câbles à proximité de câbles électriques ou d'autres matériaux conducteurs.Recommandation :Utilisez les filtres antiparasites TVAC25220 ou TVAC25210 pour minimiser les perturbations. |
Notice Facile







