HDCC32560 - Sicherheitsalarm ABUS - Kostenlose Bedienungsanleitung
Finden Sie kostenlos die Bedienungsanleitung des Geräts HDCC32560 ABUS als PDF.
Benutzerfragen zu HDCC32560 ABUS
0 Frage zu diesem Gerät. Beantworten Sie die, die Sie kennen, oder stellen Sie Ihre eigene.
Eine neue Frage zu diesem Gerät stellen
Laden Sie die Anleitung für Ihr Sicherheitsalarm kostenlos im PDF-Format! Finden Sie Ihr Handbuch HDCC32560 - ABUS und nehmen Sie Ihr elektronisches Gerät wieder in die Hand. Auf dieser Seite sind alle Dokumente veröffentlicht, die für die Verwendung Ihres Geräts notwendig sind. HDCC32560 von der Marke ABUS.
BEDIENUNGSANLEITUNG HDCC32560 ABUS
HDCC32560 / HDCC42560
D Bedienungsanleitung
GB User guide
Wichtige Hinweise und FAQs zu diesem Produkt und weiteren
Produkten finden Sie auf der Internetseite
www.abus.com
Version 1.0
Originalbedienungsanleitung in deutscher Sprache.
Für künftige Verwendung aufbewahren!
Einführung
Sehr geehrte Kundin, sehr geehrter Kunde,
Wir bedanken uns für den Kauf dieses Produkts.
Hiermit erklärt ABUS Security-Center, dass die Kameras HDCC32560 und HDCC42560 die Anforderungen der folgenden EU-Richtlinien erfüllen: EMV Richtlinie 2014/30/EU sowie RoHS Richtlinie 2011/65/EU. Der vollständige Text der EU-Konformitätserklärung ist unter den folgenden Internetadressen verfügbar:
Um diesen Zustand zu erhalten und einen gefahrenlosen Betrieb sicherzustellen, müssen Sie als Anwender diese Bedienungsanleitung beachten!
Lesen Sie sich vor Inbetriebnahme des Produkts die komplette Bedienungsanleitung durch, beachten Sie alle Bedienungs- und Sicherheitshinweise!
Alle enthaltenen Firmennamen und Produktbezeichnungen sind Warenzeichen der jeweiligen Inhaber. Alle Rechte vorbehalten.
Bei Fragen wenden Sie sich an ihren Facherrichter oder Fachhandelspartner!

Die Datenspeicherung unterliegt länderspezifischen Datenschutzrichtlinien.

Haftungsausschluss
Diese Bedienungsanleitung wurde mit größter Sorgfalt erstellt. Sollten Ihnen dennoch Auslassungen oder Ungenauigkeiten auffallen, so teilen Sie uns dies bitte schriftlich unter oben angegebenen Adresse mit.
Die ABUS Security-Center GmbH übernimmt keinerlei Haftung für technische und typographische Fehler und behält sich das Recht vor, jederzeit ohne vorherige Ankündigung Änderungen am Produkt und an den Bedienungsanleitungen vorzunehmen.
ABUS Security-Center ist nicht für direkte und indirekte Folgeschäden haftbar oder verantwortlich, die in Verbindung mit der Ausstattung, der Leistung und dem Einsatz dieses Produkts entstehen. Es wird keinerlei Garantie für den Inhalt dieses Dokuments übernommen.
Symbolerklärung
![]() | Das Symbol mit dem Blitz im Dreieck wird verwendet, wenn Gefahr für die Gesundheit besteht, z.B. durch elektrischen Schlag. |
![]() | Ein im Dreieck befindliches Ausrufezeichen weist auf wichtige Hinweise in dieser Bedienungsanleitung hin, die unbedingt zu beachten sind. |
![]() | Dieses Symbol ist zu finden, wenn Ihnen besondere Tipps und Hinweise zur Bedienung gegeben werden sollen. |
Aufzählungen
| 1. ...2. ... | Aufzählungen mit festgelegter Reihenfolge im Text bzw. Warnhinweis. |
| • ...• ... | Aufzählungen ohne festgelegter Reihenfolge im Text bzw. Warnhinweis. |
Bestimmungsgemäße Verwendung
Verwenden Sie das Gerät ausschließlich für den Zweck für den es gebaut und konzipiert wurde! Jede andere Verwendung gilt als nicht bestimmungsgemäß!
Wichtige Sicherheitshinweise
Allgemein
Vor der ersten Verwendung des Gerätes lesen Sie bitte die folgenden Anweisungen genau durch und beachten Sie alle Warnhinweise, selbst wenn Ihnen der Umgang mit elektronischen Geräten vertraut ist.
![]() | Bei Schäden die durch Nichtbeachten dieser Bedienungsanleitung verursacht werden, erlischt der Garantieanspruch. Für Folgeschäden übernehmen wir keine Haftung! |
![]() | Bei Sach- oder Personenschäden, die durch unsachgemäße Handhabung oder Nichtbeachten der Sicherheitshinweise verursacht werden, übernehmen wir keine Haftung. In solchen Fällen erlischt jeder Garantieanspruch! |
Bewahren Sie dieses Handbuch sorgfältig als zukünftige Referenz auf.
Wenn Sie das Gerät verkaufen oder weitergeben, händigen Sie unbedingt auch diese Anleitung aus. Die folgenden Sicherheits- und Gefahrenhinweise dienen nicht nur zum Schutz Ihrer Gesundheit, sondern auch zum Schutz des Geräts. Lesen Sie sich bitte die folgenden Punkte aufmerksam durch:
Stromversorgung
- Betreiben Sie dieses Gerät nur an einer Stromquelle, die die auf dem Typenschild angegebene Netzspannung liefert. Falls Sie nicht sicher sind, welche Stromversorgung bei Ihnen vorliegt, wenden Sie sich an Ihr Energieversorgungsunternehmen.
- Trennen Sie das Gerät von der Netzstromversorgung, bevor Sie Wartungs- oder Installationsarbeiten durchführen
Das Gerät wird nur vollständig vom Stromnetz getrennt, wenn das Netzteil entfernt wird. - Um das Gerät vollständig vom Netz zu trennen, muss der Netzstecker aus der Netzsteckdose gezogen werden.
- Um Brandgefahr auszuschließen, sollte der Netzstecker des Gerätes grundsätzlich von der Netzsteckdose getrennt werden, wenn das Gerät längere Zeit nicht gebraucht wird.
Überlastung / Überspannung
- Vor einem Sturm und / oder Gewitter mit Blitzschlaggefahr trennen Sie das Gerät bitte vom Stromnetz oder schließen Sie das Gerät an eine USV an.
- Vermeiden Sie die Überlastung von Netzsteckdosen, Verlängerungskabeln und Adaptern, da dies zu einem Brand oder einem Stromschlag führen kann.
Kabel
■ Fassen Sie alle Kabel immer am Stecker und ziehen Sie nicht am Kabel selbst
- Fassen Sie das Netzkabel niemals mit nassen Händen an, da dies einen Kurzschluss oder elektrischen Schlag verursachen kann.
- Stellen Sie weder das Gerät, Möbelstücke oder andere schwere Gegenstände auf die Kabel und achten Sie darauf, dass diese nicht geknickt werden, insbesondere am Stecker und an den Anschlussbuchsen
- Machen Sie niemals einen Knoten in ein Kabel, und binden Sie es nicht mit anderen Kabeln zusammen.
■ Alle Kabel sollten so gelegt werden, dass niemand darauf tritt oder behindert wird.
- Ein beschädigtes Netzkabel kann einen Brand oder elektrischen Schlag verursachen. Prüfen Sie das Netzkabel von Zeit zu Zeit.
- Verändern oder manipulieren Sie Netzkabel und Netzstecker nicht.
- Verwenden Sie keine Adapterstecker oder Verlängerungskabel, die nicht den geltenden Sicherheitsnormen entsprechen und nehmen Sie auch keine Eingriffe an den Strom und Netzkabeln vor.
Kinder
- Elektrische Geräte nicht in Kinderhände gelangen lassen! Lassen Sie Kinder niemals unbeaufsichtigt elektrische Geräte benutzen. Kinder können mögliche Gefahren nicht immer richtig erkennen. Kleinteile können bei Verschlucken lebensgefährlich sein.
- Halten Sie auch die Verpackungsfolien von Kindern fern. Es besteht Erstickungsgefahr!
- Dieses Gerät gehört nicht in Kinderhände. Federnde Teile können bei unsachgemäßer Benutzung herausspringen und Verletzungen (z.B. Augen) bei Kindern verursachen.
Überwachung
- Die Inbetriebnahme von Überwachungsanlagen kann in bestimmten Ländern per Gesetz verboten, bzw. reglementiert sein.
- Der Betreiber hat vor Inbetriebnahme der Anlage sicherzustellen, dass sich die Überwachung innerhalb der rechtlichen Rahmenbedingungen befindet.
Aufstellort / Betriebsumgebung
Stellen Sie keine schweren Gegenstände auf das Gerät.
Das Gerät ist nur für den Betrieb in Räumen mit entsprechender Temperatur oder Luftfeuchtigkeit (z. B. Badezimmer) oder übermäßigem Staubaufkommen ausgelegt. Für eine genaue Angabe prüfen Sie die technischen Daten der einzelnen Geräte.
Achten Sie darauf, dass
- immer eine ausreichende Belüftung gewährleistet ist (stellen Sie das Gerät nicht in Regale, auf einem dicken Teppich, auf ein Bett oder dorthin, wo Belüftungsschlitze verdeckt werden, und lassen Sie mindestens 10 cm Abstand zu allen Seiten);
- keine direkten Wärmequellen (z. B. Heizungen) auf das Gerät wirken;
- kein direktes Sonnenlicht oder starkes Kunstlicht auf Geräte für den Innenbereich trifft;
- das Gerät nicht in unmittelbarer Nähe von Magnetfeldern (z. B. Lautsprechern) steht;
- keine offenen Brandquellen (z. B. brennende Kerzen) auf oder neben dem Gerät stehen;
- der Kontakt mit Spritz- und Tropfwasser auf Geräte für den Innenbereich und aggressiven Flüssigkeiten vermieden wird,
- das Gerät nicht in der Nähe von Wasser betrieben wird, insbesondere darf das Gerät niemals untergetaucht werden (stellen Sie keine mit Flüssigkeiten gefüllten Gegenstände, z. B. Vasen oder Getränke auf oder neben das Gerät);
- keine Fremdkörper eindringen;
- das Gerät keinen starken Temperaturschwankungen ausgesetzt wird, da sonst Luftfeuchtigkeit kondensieren und zu elektrischen Kurzschlüssen führen kann;
- das Gerät keinen übermäßigen Erschütterungen und Vibrationen ausgesetzt wird.
Auspacken
Während Sie das Gerät auspacken, handhaben sie dieses mit äußerster Sorgfalt.
Verpackungen und Packhilfsmittel sind recyclingfähig und sollen grundsätzlich der Wiederverwertung zugeführt werden.
Wir empfehlen Ihnen:
Papier-, Pappe und Wellpappe bzw. Kunststoffverpackungsteile sollten in die jeweils dafür vorgesehenen Sammelbehälter gegeben werden.
Solange solche in Ihrem Wohngebiet noch nicht vorhanden sind, können Sie diese Materialien zum Hausmüll geben.

Warnung
Bei einer eventuellen Beschädigung der Originalverpackung, prüfen Sie zunächst das Gerät. Falls das Gerät Beschädigungen aufweist, senden Sie dieses mit Verpackung zurück und informieren Sie den Lieferdienst.
Inbetriebnahme
- Vor der ersten Inbetriebnahme alle Sicherheits- und Bedienhinweise beachten!
![]() | WarnungVergewissern Sie sich bei Installation in einer vorhandenen Videoüberwachungsanlage, dass all Geräte vom Netz und Niederspannungsstromkreis getrennt sind! |
![]() | WarnungUnsachgemäße und laienhafte Arbeiten am Stromnetz oder an den Hausinstallationen stellen nicht nur Gefahr für Sie selbst dar, sondern auch für andere Personen.Verkabeln Sie die Installationen so, dass Netz- und Niederspannungskreise stets getrennt verlaufen und an keiner Stelle miteinander verbunden sind oder durch einen Defekt verbunden werden können. |
Wartung und Pflege
Wartungsarbeiten sind erforderlich, wenn das Gerät beschädigt wurde, z. B. wenn Netzstecker, Netzkabel oder Gehäuse beschädigt sind, Flüssigkeit oder Gegenstände ins Innere des Gerätes gelangt sind, es Regen oder Feuchtigkeit ausgesetzt wurde, oder wenn es nicht einwandfrei funktioniert oder heruntergefallen ist.
Wartung
- Falls Sie Rauchentwicklung, ungewöhnliche Geräusche oder Gerüche feststellen, schalten Sie das Gerät sofort aus und ziehen Sie den Netzstecker aus der Steckdose. In diesen Fällen darf das Gerät nicht weiter verwendet werden, bevor eine Überprüfung durch einen Fachmann durchgeführt wurde.
- Lassen Sie alle Wartungsarbeiten nur von qualifiziertem Fachpersonal durchführen.
- Öffnen Sie niemals das Gehäuse des Gerätes oder des Zubehörs, wenn dies nicht gefordert ist. Da bei geöffnetem Gehäuse stets Lebensgefahr durch einen elektrischen Schlag besteht, öffnen Sie das Gehäuse nur, wenn das Gerät spannungslos ist.
Bei manchen Geräten ist das Öffnen des Gerätes unabdingbar und erlaubt für folgende Anwendungen:
• Montage des Gerätes
- Einlegen eines Speichermediums (SD-Karte oder Festplatte)
- Zugriff auf wesentliche Funktionen (Reset-Taste oder WPS-Taste)
Reinigung
Das Gehäuse des Gerätes nur mit einem feuchten Tuch reinigen.
- Keine Lösungsmittel, Spiritus, Verdünnungen usw. verwenden und keine der folgenden Substanzen verwenden:
Salzwasser, Insektenvernichtungsmittel, chlor- oder säurehaltige Lösungsmittel (Salmiak), Scheuerpulver.
- Mit dem Baumwolltuch sanft über die Oberfläche reiben, bis diese vollständig trocken ist.

Das Gerät arbeitet mit gefährlicher Spannung. Trennen Sie das Gerät für Wartungsarbeiten oder Reinigung vom Netz!
Inhalt
- Lieferumfang 8
- Beschreibung der Hardware....9
2.1. HDCC32560 9
2.2. HDCC42560 9
- Montage / Installation 10
3.1. HDCC32560 10
3.2. HDCC42560 11
3.3. Anbringung des Video Kabels 11
1. Lieferumfang
HDCC32560
■ Analog HD 1080p Mini Außen-Domekamera
■ Netzteil, 12V DC / 1A (EU, UK, AU)
- Bohrschablone
■ 30m Kombikabel
- Montagematerial
■ Anleitung
HDCC42560
■ Analog HD 1080p Mini Außenkamera
■ Netzteil, 12V DC / 1A (EU, UK, AU)
- Bohrschablone
■ 30m Kombikabel
■ Montagematerial
- Anleitung
2. Beschreibung der Hardware
2.1. HDCC32560

| 1 | Kamera-Bodenplatte | 2 | Arretier-Ring |
| 3 | Kamera-Kappe 4 Kamera | ||
| 5 | HD-TVI Videoausgang (BNC) | 6 | Spannungsanschluss (5,5x2,1mm, Hohlstecker) |
2.2. HDCC42560

| 1 | Kamera-Wandhalterung | 2 | HD-TVI Videoausgang (BNC) |
| 3 | Spannungsanschluss(5,5x2,1mm, Hohlstecker) | 4 | Sonnendach |
| 5 | Objektiv 6 IR LEDs |
3. Montage / Installation

ACHTUNG!
Während der Montage muss die Kamera von der Netzspannung getrennt sein.
3.1. HDCC32560

Kleben Sie die beiliegende Bohrschablone an den gewünschten Installationsort der Kamera. Bohen Sie die benötigten Löcher.
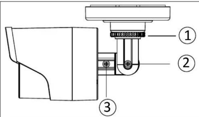
Drehen Sie den Arretier-Ring gegen den Uhrzeigersinn von der Kamera. Verwenden Sie die zwei Anker auf der Unterseite der Kamera-Bodenplatte, um eine Gegenkraft auszuüben.
Verwenden Sie die beiliegenden Dübel und Schrauben, um die Kamera-Bodenplatte zu befestigen.

Falls die Kabelverlegung seitlich erfolgen soll, befestigen Sie die Kamera-Bodenplatte nicht vollständig bis die Kamera und die Kamera-Kappe an Ihrem Platz sind.
Legen Sie die Kamera auf die Kamera-Bodenplatte und verlegen Sie die Kabel durch die Wand oder seitlich. Klipsen Sie die Kamera-Kappe auf und richten Sie die Kamera und Kamera-Kappe aus.
Drehen Sie den Arretier-Ring im Uhrzeigersinn auf, um die Kamera in der Position zu fixieren.
Ausrichtung

Kleben Sie die beiliegende Bohrschablone an den gewünschten Installationsort der Kamera. Bohen Sie die benötigten Löcher.
Verwenden Sie die beiliegenden Dübel und Schrauben, um die Kamera zu befestigen.
Ausrichtung

Um das HD-TVI Videosignal der Kamera an einen HD-TVI Rekorder zu übertragen, muss ein Koaxialkabel vom Typ RG59 mit BNC-Stecker (male, männlich) an den Anschluss mit dem Aufdruck „TVI“ angeschlossen werden. Die Kabellänge bis zum nächsten Gerät darf 500 Meter (RG6) bzw. 300 Meter (RG59) nicht übersteigen.
![]() | Bitte beachten Sie, dass es bei dem Verlegen der Kabel neben Stromleitungen oder sonstigen leitenden Materialien dazu kommen kann, dass die Bildübertragung der Kamera gestört werden kann.Empfehlung:Verwendung von Entstör Filter TVAC25220 oder TVAC25210, um die Störungen zu minimieren. |
EinfachAnleitung







