HMESPMSw1PIDNR2 - Maison intelligente Homematic IP - Notice d'utilisation et mode d'emploi gratuit
Retrouvez gratuitement la notice de l'appareil HMESPMSw1PIDNR2 Homematic IP au format PDF.
| Caractéristiques techniques | Capteur de température et d'humidité, connectivité sans fil, compatible avec Homematic IP |
|---|---|
| Utilisation | Idéal pour la surveillance de la température et de l'humidité dans les maisons intelligentes |
| Maintenance et réparation | Vérifier régulièrement les piles, nettoyer le capteur avec un chiffon doux |
| Sécurité | Cryptage des données pour une communication sécurisée, conforme aux normes de sécurité |
| Informations générales | Facile à installer, nécessite une application Homematic IP pour le fonctionnement |
FOIRE AUX QUESTIONS - HMESPMSw1PIDNR2 Homematic IP
Questions des utilisateurs sur HMESPMSw1PIDNR2 Homematic IP
0 question sur cet appareil. Repondez a celles que vous connaissez ou posez la votre.
Poser une nouvelle question sur cet appareil
Téléchargez la notice de votre Maison intelligente au format PDF gratuitement ! Retrouvez votre notice HMESPMSw1PIDNR2 - Homematic IP et reprennez votre appareil électronique en main. Sur cette page sont publiés tous les documents nécessaires à l'utilisation de votre appareil HMESPMSw1PIDNR2 de la marque Homematic IP.
MODE D'EMPLOI HMESPMSw1PIDNR2 Homematic IP
Actionneur de commutation sans fil à 1 canal avec mesure de la puissance, adaptateur type E
Contenu de la livraison
Nombre Articles
1x Actionneur de commutation sans fil HomeMatic à 1 canal avec mesure de la puissance, adaptateur type E
1x Mode d'emploi
1ère édition française 10/2014
Documentation © 2014 eQ-3 AG, l'Allemagne
Tous droits réservés. Le présent manuel ne peut être reproduit (en totalité ou sous forme d'extraits) de manière quelconque sans l'accord écrit de l'éditeur, ni copié ou modifié par procédés électroniques, mécaniques ou chimiques.
Il est possible que le présent manuel contienne des défauts typographiques ou des erreurs d'impression. Les indications du présent manuel sont régulièrement vérifiées et les corrections effectuées dans les éditions suivantes. Notre responsabilité ne saurait être engagée en cas d'erreur technique ou typographique et pour les conséquences en découlant.
Tous les sigles et droits protégés sont reconnus.
Imprimé à Hong Kong
Les modifications en vue d'amélioration technique peuvent être effectuées sans avertissement préalable.
141165 / V 1.1
Table des matières
1 Remarques sur la présente notice....4
2 Mises en garde....4
3 Fonction et aperçu de l'appareil....7
4 Informations générales sur le système HomeMatic....8
5 Mise en service 9
5.1 Fonctions d'utilisation simples sur l'appareil .....9
5.2 Apprentissage 9
5.2.1 Apprentissage avec les appareils HomeMatic....10
5.2.2 Enregistrement dans une centrale HomeMatic .....11
6 Commutation sous condition ..... 14
7 Restaurer les réglages d'usine....15
8 Signaux d'erreur et de confirmation de la DEL de l'appareil ..16
8.1 Codes de clignotement.....16
8.2 Duty Cycle 18
9 Comportement après le retour de la tension .....18
10 Entretien et nettoyage ....19
11 Remarques générales au sujet du fonctionnement radio....19
12 Caractéristiques techniques....20
1 Remarques sur la présente notice
Lisez attentivement la présente notice avant de mettre les composants HomeMatic en service. Conservez la notice pour pouvoir vous y référer ultérieurement ! Si vous laissez d'autres personnes utiliser l'appareil, n'oubliez pas de leur remettre également cette notice d'utilisation.
Symboles utilisés :

Attention ! Ce symbole indique un danger.

Remarque : Cette section contient d'autres informations importantes !

Remarque : Cette section contient d'autres informations importantes concernant l'utilisation de l'appareil avec la centrale HomeMatic.
2 Mises en garde

Notre responsabilité ne saurait être engagée en cas de dommages matériels ou de dommages aux personnes dus au maniement inapproprié ou au non-respect des consignes de sécurité. Dans de tels cas, tout droit à la garantie est annulé ! Nous ne pouvons être tenus responsables des dommages indirects occasionnés !

N'ouvrez pas l'appareil. Aucune pièce requérant un entretien de la part de l'utilisateur ne se trouve à l'intérieur. L'ouverture de l'appareil peut provoquer un court-circuit. En cas de dysfonctionnement, renvoyez l'appareil au service après-vente.

N'utilisez pas l'appareil s'il présente des dommages extérieurs visibles, par exemple sur le boîtier, les éléments de commande ou sur les connecteurs, ni s'il présente un dysfonctionnement. En cas de doute, faites vérifier l'appareil par du personnel spécialisé ou par notre service.

Pour des raisons de sécurité et d'autorisation (CE), les transformations et/ou modifications arbitraires du produit ne sont pas autorisées.

Utilisez l'appareil uniquement dans les pièces intérieures. Ne l'exposez pas aux influences de l'humidité, des vibrations, d'une exposition constante au soleil ou à tout autre rayonnement de chaleur, du froid ni d'aucune charge mécanique.

L'appareil n'est pas un jouet, ne permettez pas à des enfants de jouer avec lui. Ne laissez pas traîner le matériel d'emballage sans surveillance : les sachets/feuilles en plastique, éléments en polystyrène peuvent constituer des jouets dangereux pour les enfants.

Avant de brancher un consommateur, respectez les données techniques, y compris la puissance de commutation maximale du relais et le type de consommateur à brancher ! Toutes les indications de charges se réfèrent aux charges ohmiques ! Ne sollicitez l'appareil que jusqu'à la limite de puissance indiquée. Une surcharge peut détruire l'appareil, provoquer un incendie ou un accident électrique.

L'appareil est conçu pour une charge de courant permanente de 14 A. 16 A sont admis pour un maximum de 30 minutes!

L'appareil peut uniquement être branché à une prise secteur facilement accessible. En cas de danger, l'appareil doit être débranché de la prise secteur.

Utilisez l'adaptateur HomeMatic uniquement dans les prises fixes avec contact de protection et non dans les blocs multiprises ou les prolongateurs.

Ne branchez pas de terminaux dans l'adaptateur HomeMatic dont la mise en marche sans surveillance pourrait provoquer des
incendies ou d'autres détériorations (fer à repasser, par exemple).

De manière générale, retirez la prise du terminal de l'adaptateur HomeMatic avant de procéder à toute modification du terminal (pour changer une ampoule, par exemple).

Rangez toujours le câble de sorte à ce qu'il ne mette pas en danger les personnes et les animaux.

L'appareil ne convient pas pour la déconnexion. La charge n'est pas séparée de façon galvanique du réseau.

Nettoyez l'appareil uniquement après l'avoir débranché de la prise avec un chiffon en lin sec. En cas de saletés plus importantes, il peut être légèrement humidifié. Pour le nettoyage n'utilisez pas de produit à base de solvant. Veillez à ce qu'aucune humidité ne pénètre dans l'appareil.

Toute application autre que celle décrite dans la notice d'utilisation n'est pas conforme et entraîne l'exclusion de la garantie et de la responsabilité. Il en va de même pour les modifications et les transformations. L'appareil est destiné exclusivement à une utilisation privée.

Les adaptateurs HomeMatic ne doivent pas être branchés les uns après les autres.

Les appareils disposant de blocs d'alimentation électroniques (comme les téléviseurs ou les lampes DEL à haute tension, par exemple) ne représentent pas de charges ohmiques. Vous pouvez générer des courants de démarrage de plus de 100 A. L'allumage de ces consommateurs provoque cependant une usure prématurée de l'actionneur.

L'appareil convient uniquement pour l'utilisation dans des environnements d'habitat.
3 Fonction et aperçu de l'appareil
L'actionneur de commutation sans fil HomeMatic à 1 canal avec mesure de la puissance dans un boîtier adaptateur vous permet d'allumer ou d'éteindre les consommateurs branchés (votre sèche-linge, par exemple) ou d'autres appareils HomeMatic enregistrés (des action-neurs de variateur, par exemple) et de mesurer la consommation d'énergie des consommateurs branchés (jusqu'à 3680 Watt (16 A)).
L'actionneur de commutation sans fil HomeMatic avec mesure de la puissance allie deux domaines de fonctions dans un seul appareil :
- Il allume les consommateurs raccordés.
- Il mesure la tension, l'électricité, la puissance réelle, la fréquence et la consommation d'énergie.
Le canal de commutation vous permet d'allumer ou d'éteindre les consommateurs branchés. Les canaux de détection vous offrent également la possibilité d'allumer ou d'éteindre des appareils HomeMatic enregistrés et des consommateurs branchés.
Le canal de mesure dispose d'une fonction de mesure et d'une possibilité de transfert des données de mesure (telles que la tension, l'électricité, la puissance réelle, la fréquence et la consommation d'énergie) vers la centrale HomeMatic. Les valeurs de mesure peuvent être transférées de manière cyclique à la centrale HomeMatic et s'afficher de manière graphique dans l'interface utilisateur WebUI de CCU2. Aucune donnée de mesure n'est enregistrée sur l'appareil.

Toutes les fonctions de l'appareil peuvent être configurées en liaison avec CCU2 par l'intermédiaire de l'interface utilisateur WebUI HomeMatic. L'installation et la configuration de l'appareil est également possible avec l'adaptateur de configuration HomeMatic.

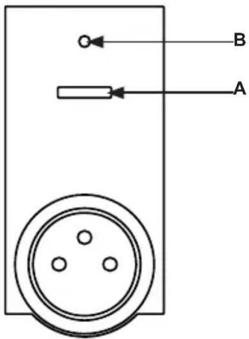
text_image
B A(A) - Touche canal
(B) - DEL de l'appareil
4 Informations générales sur le système HomeMatic
Cet appareil fait partie du système de commande de la maison Home-Matic et travaille avec le protocole radio bidirectionnel BidCoS®.
Tous les appareils sont livrés avec une configuration standard. De plus, la fonction de l'appareil peut être configurée par l'intermédiaire d'un programmateur et d'un logiciel. Pour en savoir plus sur l'étendue des fonctionnalités en découlant et sur les fonctionnalités supplémentaires possibles dans le système HomeMatic avec d'autres composants, merci de vous référer au manuel HomeMatic WebUI.
Vous trouverez tous les documents techniques et mises à jour actuels dans l'espace de téléchargement sur www.homematic.com.
5 Mise en service
5.1 Fonctions d'utilisation simples sur l'appareil
- Branchez l'actionneur de commutation sans fil avec mesure de la puissance dans la prise.
L'appareil est immédiatement prêt à l'emploi et peut être enregistré dans une centrale HomeMatic (ou dans d'autres appareils HomeMatic).
L'appareil dispose d'une touche canal (A) pouvant être utilisée par les consommateurs branchés en exerçant une courte pression (pour allumer ou éteindre).
Pour pouvoir utiliser et configurer l'appareil dans toute l'étendue de sa fonctionnalité dans votre
système HomeMatic et commander les consommateurs ou les appareils HomeMatic par radio, vous devez d'abord procéder à un apprentissage „5.2 Apprentissage“ à la page 9.
5.2 Apprentissage

Merci de lire attentivement cette section avant de procéder à l'apprentissage.
Pour que l'actionneur de commutation sans fil avec mesure de la puissance puisse être intégré dans votre système HomeMatic et puisse communiquer avec d'autres composants HomeMatic (une télécommande radio HomeMatic, par exemple), il faut d'abord procéder à l'apprentissage de l'appareil. Vous pouvez procéder à l'apprentissage de l'actionneur de commutation sans fil avec d'autres appareils HomeMatic ou avec la centrale HomeMatic.

Pour l'actionneur de commutation sans fil avec mesure de la puissance, les liaisons directes de l'appareil sont possibles uniquement avec le canal de commutation („5.2.1 Apprentissage avec les appareils HomeMatic“ à la page 10). Les
liaisons avec le canal de mesure doivent être établies par l'intermédiaire d'une centrale ou d'un adaptateur de configuration („5.2.2 Enregistrement dans une centrale HomeMatic“ à la page 11).
5.2.1 Apprentissage avec les appareils HomeMatic
Si vous voulez procéder à l'apprentissage de l'actionneur de commutation sans fil avec mesure de la puissance avec un ou plusieurs appareils, les deux appareils à connecter doivent être mis en mode d'apprentissage. Pour ce faire, procédez de la manière suivante :

Lors de l'apprentissage, gardez une distance minimale de 50 cm entre les appareils HomeMatic.
Activez d'abord le mode d'apprentissage sur l'actionneur de commutation sans fil avec mesure de la puissance.
- Maintenez la touche du canal (A) enfoncée pendant au moins 4 secondes. Le clignotement orange lent de la DEL de l'appareil (B) indique l'entrée en mode d'apprentissage. Le temps d'apprentissage est de 20 secondes max.

text_image
> 4 s- Faites ensuite entrer en apprentissage l'appareil que vous voulez enregistrer dans l'actionneur de commutation sans fil avec
mesure de la puissance (une télécommande radio HomeMatic, par exemple, voir illustration ci-dessous). Retirez le couvercle du compartiment à batterie puis, à l'aide d'un objet pointu, enfoncez brièvement la touche d'apprentissage.

Si le processus d'apprentissage a été correctement effectué, la DEL de l'appareil (B) de l'actionneur de commutation sans fil brille d'une lumière verte pendant une seconde. Si l'apprentissage des appareils n'a pas été correctement effectué, la DEL de l'appareil brille d'une lumière rouge pendant deux secondes. Réessayez une fois.
Une fois l'apprentissage réussi, vous pouvez allumer/éteindre les consommateurs branchés sur l'actionneur de commutation sans fil avec mesure de la puissance avec une télécommande radio HomeMatic, par exemple.

En l'absence d'apprentissage, le processus d'apprentissage se désactive automatiquement au bout de 20 secondes. Si d'autres appareils se trouvent en mode d'apprentissage, ils seront enregistrés.
5.2.2 Enregistrement dans une centrale HomeMatic Pour pouvoir commander et configurer confortablement
- votre appareil assisté par logiciel,
• le relier directement à d'autres appareils ou
- l'utiliser dans des programmes de centrale,
vous devez tout d'abord procéder à son apprentissage avec la centrale HomeMatic. L'apprentissage de nouveaux appareils avec la centrale s'effectue par l'intermédiaire de l'interface utilisateur HomeMatic « WebUI ».

Dès qu'un appareil est enregistré dans la centrale, il ne peut plus être relié à d'autres appareils que par l'intermédiaire de celle-ci.

Chaque appareil peut être enregistré dans une seule centrale.

Lors de l'apprentissage, gardez une distance minimale de 50 cm entre les appareils HomeMatic et la centrale.
Pour procéder à l'apprentissage de votre appareil à la centrale, procédez comme suit :
- Ouvrez l'interface utilisateur WebUI dans votre navigateur. Cliquez sur le bouton « Teach-in devices » (Enregistrer l'appareil) dans la partie droite de l'écran.

- Pour activer le mode d'apprentissage, cliquez sur « Start teach-in mode » (mode d'apprentissage BidCoS-RF) dans la fenêtre suivante.

- Le mode d'apprentissage reste actif pendant 60 secondes. La zone d'information indique la durée d'apprentissage restante.
- Durant cette période d'apprentissage, mettez également l'actionneur de commutation sans fil avec mesure de la puissance en mode d'apprentissage. Maintenez la touche du canal (A) enfoncée pendant au moins 4 secondes. Le clignotement orange lent de la DEL de l'appareil (B) indique l'entrée en mode d'apprentissage.

text_image
> 4 s- Après quelques instants, l'appareil nouvellement enregistré apparaît dans la boîte de réception de votre interface utilisateur. Le bouton « Boîte de réception » indique combien de nouveaux appareils ont été correctement enregistrés.
- Le cas échéant, procédez à l'apprentissage d'autres appareils en répétant pour chaque appareil les étapes précédemment décrites.
- Configurez désormais les nouveaux appareils enregistrés dans la boîte de réception, comme indiqué dans la section « Configurer les nouveaux appareils enregistrés ».
Configurer les nouveaux appareils enregistrés
Une fois que vous avez procédé à l'apprentissage dans la centrale HomeMatic, votre appareil est déplacé dans la boîte de réception. Ici, votre appareil et les canaux correspondants doivent tout d'abord être configurés pour être disponibles pour les tâches opérationnelles et de configuration. Attribuez un nom à votre appareil et affectez-le et/ou affectez les canaux à une pièce. Vous avez également la possibilité de procéder à différents réglages de paramètres.
Vous pouvez ensuite commander et configurer votre appareil par l'intermédiaire de l'interface WebUI, le relier directement avec d'autres appareils, l'utiliser dans les programmes de la centrale et afficher les valeurs de mesure des consommateurs branchés. Vous trouverez de plus amples informations à ce sujet dans le manuel WebUI HomeMatic (disponible dans l'espace de téléchargement du site Internet www.homematic.com).
6 Commutation sous condition
La fonction « Commutation sous condition » vous permet d'allumer les consommateurs branchés ou d'autres appareils HomeMatic lorsqu'une certaine condition est remplie.
Exemple : Vous avez branché votre sèche-linge dans la cave avec l'actionneur de commutation sans fil avec mesure de la puissance et vous voudriez qu'un signal sonore indique lorsque le cycle est terminé. Pour ce faire, vous pouvez relier l'actionneur de commutation sans fil avec mesure de la puissance à un gong radio MP3 HomeMatic par l'intermédiaire de la centrale.
Dès que le sèche-linge consomme moins de 100 W, par exemple, il doit
être éteint. De plus, un signal audio doit être émis avec le gong radio MP3. Si le seuil de performance réglé descend en dessous de la limite (< 100 W, par exemple), l'actionneur de commutation sans fil avec mesure de la puissance envoie un ordre de commutation sous condition au gong radio MP3 et les valeurs de mesure du sèche-linge à la centrale. Le gong MP3 émet un signal souhaité et vous savez quand votre sèche-linge a terminé.

flowchart
graph TD
A["Douloir Signal audio"] -->|ordre de commutation sous condition| B["Cave"]
C["Cuisine"] -->|Valeur de mesure| D["< 100 W"]
B --> E["Induction device"]
D --> E
7 Restaurer les réglages d'usine
Les réglages d'usine de l'actionneur de commutation sans fil avec mesure de la puissance peuvent éventuellement être restaurés manuellement. Tous les réglages et informations seront alors perdus.

Avant de restaurer les réglages d'usine de l'appareil, supprimez-le d'abord de l'interface utilisateur WebUI HomeMatic.
Procédez comme suit:
- Maintenez la touche canal (A) enfoncée pendant au moins quatre secondes jusqu'à ce que la DEL de l'appareil (B) commence à clignoter lentement d'une lumière orange.
- Relâchez la touche.

text_image
> 4 s- Maintenez ensuite à nouveau la touche canal (A) enfoncée pendant quatre secondes jusqu'à ce que la DEL de l'appareil (B) commence à clignoter rapidement d'une lumière rouge.
- Relâchez la touche.
• La DEL de l'appareil s'éteint. - Les paramètres d'usine de l'appareil sont désormais restaurés.
8 Signaux d'erreur et de confirmation de la DEL de l'appareil
8.1 Codes de clignotement
| Séquence de cli-gnotement | Signification Solution | |
| Clignotement orange lent | Mode d'apprentis-sage actif | Mettez l'appareil partenaire en mode d'apprentissage. |
| Clignotement orange rapide | Échange de données avec le partenaire d'apprentissage | Attendez la confirmation de la DEL de l'appareil. |
| Clignotement vert d'1 sec. | Processus d'apprentissage correctement effectué | Vous pouvez poursuivre l'utilisation. |
| Clignotement rouge de 2 sec. | Processus d'apprentissage erroné. | Réessayez une fois. |
| Clignotement orange lent | Première étape de réinitialisation des réglages d'usine | L'appareil attend une longue pression sur la touche de canal pour réinitialiser ou une courte pression pour terminer. |
| Clignotement rouge rouge | Les paramètres d'usine de l'appareil sont en cours de réinitialisation. | / |
| Clignotement court rouge, vert et orange | Affichage de test de la DEL après le retour de la tension | Attendez que la DEL de l'appareil s'éteigne. |
| 1 clignotement long, 2 clignotements courts rouge | Duty Cycle atteint voir | chapitre „5.1 Fonctions d'utilisation simples sur l'appareil“ à la page 9 |
| 1 clignotement long, 2 clignotements courts rouge | Appareil défectueux | Contactez votre reven-deur. |
8.2 Duty Cycle
Le Duty Cycle décrit une limite légale réglée de la durée d'émission des appareils dans la bande de fréquence des 868 MHz. L'objectif de cette règle est de garantir la fonction de tous les appareils travaillant dans la bande de fréquence 868 MHz.
Dans la bande de fréquence de 868 MHz que nous utilisons, la durée d'émission de chaque appareil s'élève à 1 % d'une heure (soit 36 secondes par heure). Une fois la limite de 1 % atteinte, ces appareils ne peuvent plus émettre jusqu'à ce que cette limite de temps soit écoulée. Conformément à cette directive, les appareils HomeMatic sont développés et fabriqués à 100 % en conformité avec les normes.
En règle générale, en fonctionnement normal, le Duty Cycle n'est jamais atteint. Dans des cas exceptionnels, lors de la mise en service ou de la première installation d'un système, ce peut être le cas en raison des processus d'apprentissage multipliés sollicitant fort la radio. Un dépassement de la limite du Duty Cycle est affiché par un clignotement long et un clignotement court de la DEL de l'appareil et peut s'exprimer par l'absence temporaire de fonction de l'appareil. Après quelques instants (1 heure max.), la fonction de l'appareil est restaurée.
9 Comportement après le retour de la tension
Après le branchement de l'appareil dans une prise ou après le retour de la tension du secteur, l'actionneur de commutation effectue un autotest/ un redémarrage (env. 2 secondes). La DEL de l'appareil clignote rapidement d'une lumière rouge, verte et orange (affichage de test de la DEL). Si un défaut est constaté, il sera indiqué par un clignotement de la DEL de l'appareil (voir chapitre „8.1 Codes de clignotement“ à la page 16). Cette opération se répète continuellement et l'appareil ne reprend pas sa fonction habituelle.
Si le test s'effectue sans erreur, l'actionneur de commutation envoie un radiogramme informant de son statut. Lors du retour de la tension (après une panne d'électricité ou un arrêt), pour que tous les actionneurs Home-Matic n'émettent pas en même temps, l'actionneur de commutation émet en décalé après un temps de retard aléatoire. Pendant ce temps, la DEL
de l'appareil clignote lentement d'une lumière orange. Si le temps de retard est très court, il est possible que le clignotement ne soit pas perceptible.
10 Entretien et nettoyage
Le produit ne requiert aucun entretien. Les réparations doivent être effectuées par un spécialiste. Nettoyez le produit avec un chiffon doux, propre, sec et non pelucheux. Pour enlever des salissures plus conséquentes, le chiffon peut être légèrement humidifié avec de l'eau tiède. N'utilisez pas de produits nettoyants contenant des solvants susceptibles d'attaquer le boîtier et les inscriptions.
11 Remarques générales au sujet du fonctionnement radio
La transmission radio est réalisée par une voie non exclusive, ce qui peut provoquer des interférences. D'autres perturbations peuvent être provoquées par des opérations d'allumage, des moteurs électriques ou les appareils électriques défectueux.

La portée à l'intérieur des bâtiments peut être très différente de celle en champ libre. En-dehors des performances d'émission et des propriétés de réception des récepteurs, les influences environnementales comme l'hygrométrie et les données structurelles du site jouent un rôle important.

Si le « transfert sécurisé » (AES) est activé pour l'actionneur de commutation sans fil avec mesure de la puissance, cela signifie :
- un volume de communication plus élevé,
- que les groupes d'acteurs ne peuvent plus exécuter de commandes en même temps.
Vous trouverez de plus amples informations sur le transfert sécurisé (AES) sur le manuel WebIU HomeMatic sur www.homematic.com. La eQ-3 AG déclare par la présente que cet appareil est conforme aux exigences fondamentales et autres dispositions importantes de la directive 1999/5/CE. Vous trouverez la déclaration de conformité intégrale sous www.homematic.com.
12 Caractéristiques techniques
Désignation synthétique de l'appareil : HM-ES-PMSw1-PI-DN-R2
Tension d'alimentation : 230 V/50 Hz
Courant absorbé : 14 A max. (16 A pour 30 min)
Puissance absorbée en mode veille : < 0,6 W
Type de protection : IP20
Température ambiante : -10 à +35 °C
Degré d'encrassement : 2
Catégorie de mesure : CAT II
Fréquence radio : 868,3 MHz
Catégorie de récepteur : SRD catégorie 2
Type portée radio en champ libre : 300 m
Duty Cycle : < 1 % par h
Puissance de commutation max. : 3220 W en permanence
3680 W pour 30 min
Type de charge : charge ohmique
Espérance de vie du relais/
cycles de manœuvre : 40000 (16 A, charge ohmique)
Relais : contact de travail, 1 pôle, μ-contact
Type de commutateur : commutateur monté individuellement
Mode de fonctionnement : S1
Tension de tenue aux chocs : 2500 V
Classe de protection :
Mode d'action : Type 1 B
Dimensions (l x h x p) : 59 x 122 x 40 mm (sans fiche de secteur)
Poids : 179 g
| Plage de mesure Résolution Précision | ||
| Puissance 0 à | 3680 W 0,01 W 1 % | |
| Courant 0 à 16 | A 1 mA 1 % | |
| Tension 200 à | 255 V 0,1 V 0,5 % | |
| Fréquence 48,7 | 72 à 51,27 Hz 0,01 Hz | 0,1 % |
* Plage de fréquence : 2 Hz à 2 kHz
Sous réserve de modifications techniques.

Consignes pour l'élimination
L'appareil ne doit pas être éliminé avec les ordures ménagères ! Les appareils électroniques sont à éliminer conformément à la directive relative aux appareils électriques et électroniques usagés par les points de collecte locaux d'appareils usagés!

Informations de conformité
Le sigle CE est un sigle de libre circulation destiné uniquement aux administrations ; il ne constitue pas une garantie de caractéristiques.

Pour toute question technique concernant l'appareil, merci de contacter votre revendeur.
Notice Facile