HMESPMSw1PIDNR2 - Inteligentny dom Homematic IP - Bezpłatna instrukcja obsługi
Znajdź bezpłatnie instrukcję urządzenia HMESPMSw1PIDNR2 Homematic IP w formacie PDF.
| Specyfikacje techniczne | Czujnik temperatury i wilgotności, łączność bezprzewodowa, kompatybilny z Homematic IP |
|---|---|
| Zastosowanie | Idealny do monitorowania temperatury i wilgotności w inteligentnych domach |
| Konserwacja i naprawa | Regularnie sprawdzaj baterie, czyść czujnik miękką szmatką |
| Bezpieczeństwo | Szyfrowanie danych dla bezpiecznej komunikacji, zgodny z normami bezpieczeństwa |
| Informacje ogólne | Łatwy w instalacji, wymaga aplikacji Homematic IP do działania |
Często zadawane pytania - HMESPMSw1PIDNR2 Homematic IP
Pytania użytkowników dotyczące HMESPMSw1PIDNR2 Homematic IP
0 pytanie dotyczące tego urządzenia. Odpowiedz na te, które znasz, lub zadaj własne.
Zadaj nowe pytanie dotyczące tego urządzenia
Pobierz instrukcję dla swojego Inteligentny dom w formacie PDF za darmo! Znajdź swoją instrukcję HMESPMSw1PIDNR2 - Homematic IP i weź swoje urządzenie elektroniczne z powrotem w ręce. Na tej stronie opublikowane są wszystkie dokumenty niezbędne do korzystania z urządzenia. HMESPMSw1PIDNR2 marki Homematic IP.
INSTRUKCJA OBSŁUGI HMESPMSw1PIDNR2 Homematic IP
Instrukcją obsługi p. 22
Handleiding p. 42
Radiowy nastawnik załączający pojedynczy z pomiarem mocy, wtyczka typu E
Draadloze schakelactor 1-voudig
1x Radiowy nastawnik załączający HomeMatic pojedynczy z pomiarem mocy, wtyczka typu E
1x Instrukcja obsługi
- wydanie po polsku 10/2014
Dokumentacja © 2014 eQ-3 AG, Niemcy
Wszelkie prawa zastrzeżone. Bez pisemnej zgody wydawcy niniejszego podręcznika nie wolno reprodukować również we fragmentach w jakiejkolwiek formie ani powielać lub przetwarzać metodami elektro-nicznymi, mechanicznymi, czy też chemicznymi.
W niniejszym podręczniku nie można wykluczyć braków uwarunkowa- nych techniką druku lub błędów drukarskich. Jednak informacje za- mieszczone w niniejszym podręczniku podlegają regularnej weryfikacji, a ich korekty wprowadzane są w następnym wydaniu. Nie ponosimy odpowiedzialności za błędy natury technicznej ani drukarskiej i ich skutki.
Wszystkie znaki towarowe i prawa ochronne są uznawane.
Zmiany wynikające z postępu technicznego mogą być wprowadzane bez wcześniejjszego powiadamiania.
141165 / V 1.1
Spis treści
1 Informacje o niniejszej instrukcji....24
2 Ostrzeżenia 24
3 Funkcja i widok urządzenia .....27
4 Ogólne informacje o systemie HomeMatic....28
5 Uruchomienie 29
5.1 Zwykłe funkcje obsługowe przy urządzeniu....29
5.2 Przyuczanie 29
5.2.1 Przyuczanie w urządzeniach HomeMatic....30
5.2.2 Przyuczanie w centrali HomeMatic .....31
6 Załączenie warunkowe....34
7 Przywracanie ustawień fabrycznych .....35
8 Komunikaty błędu i sygnalizacyjne diody LED urządzenia . . .36
8.1 Kody błyskowe 36
8.2 Duty Cycle 37
9 Procedura po przywróceniu napięcia....38
10 Konserwacja i czyszczenie. 39
11 Informacje ogólne na temat sygnałów radiowych....39
12 Dane techniczne....40
1 Informacje o niniejszej instrukcji
Przed uruchomieniem elementów HomeMatic należy dokładnie zapoznać się z niniejszą instrukcją. Prosimy zachować niniejszą instrukcję do późniejszego wykorzystania! W chwili przekazywania urządzenia innym osobom prosimy również dołączyć niniejszą instrukcję obsługi.
Użyte symbole:

Uwaga! Informuje się tu o występującym niebezpieczeństwie.

Wskazówka Niniejszy rozdział zawiera dodatkowe, ważne informacje!

Wskazówka Ten rozdział zawiera ważne informacje dotyczące użytkowania urządzenia w połączeniu w centralną HomeMatic.
2 Ostrzeżenia

Nie przejmujemy odpowiedzialności w przypadku szkód materialnych i osobowych powstałych w następstwie nieprawidłowej obsługi lub nieprzestrzegania ostrzeżeń. W takich przypadkach prawa z tytułu gwarancji przestają obowiązywać! Nie przejmujemy odpowiedzialności za szkody następcze!

Nie otwierać urządzenia. Wewnątrz nie znajdują się żadne elementy przeznaczone do konserwacji przez użytkownika. Otwarcie urządzenia grozi porażeniem prądem elektrycznym. W razie usterki prosimy wysłać urządzenie do serwisu.

Nie korzystać z urządzenia, jeśli z zewnątrz widoczne są uszkodzenia, np. na obudowie, elementach obsługowych, czy też gniazdach, bądź występuje usterka. W razie wątpliwości zlecić kontrolę urządzenia specjaliście lub naszemu serwisowi.

Ze względów bezpieczeństwa i atestu (CE) samowolne przebudowy i/lub zmiany w produkcie są niedozwolone.

Urządzenie użytkować tylko w pomieszczeniach i nie wystawiać go na działanie wilgoci, wstrząsów, ciągłego promieniowania słonecznego ani innego promieniowania cieplnego, zimna i żadnych obciążzeń mechanicznym.

Urządzenie nie jest zabawką; prosimy nie dawać urządzenia dzieciom do zabawy. Nie pozostawiać materiału opakowaniowego bez nadzoru, folie/torebki plastikowe, elementy ze styropianu itd. w rękach dzieci mogą stać się niebezpieczną zabawką.

Przed podłączeniem odbiornika zapoznać się z danymi technicznymi, w szczególności z maksymalną dopuszczalną mocą załączaną przekaźnika i rodzajem podłączanego odbiornika! Wszystkie dane dotyczące obciążenia odnoszą się do obciążenia omowego. Urządzenie wolno obciążać tylko do podanej granicy mocy. Przeciążenie może prowadzić do zniszczenia urządzenia, pożaru lub wypadku spowodowanego prądem elektrycznym.

Urządzenie jest zaprojektowane dla obciążenia prądem trwałym wynoszącym 14 A. 16 A dopuszcza się maksymalnie na 30 minut!

Urządzenie wolno podłączać tylko do łatwo dostępnego gniazda sieciowego. W sytuacji zagrożenia odłączyć urządzenie do gniazda sieciowego.

Adapter HomeMatic stosować tylko w gniazdach z uziemie- niem zainstalowanych na stałe; nie podłączać do listew zasilających ani przedłużaczy.

Do gniazda HomeMatic nie podłączać żadnych urządzeń końcowych, których przypadkowe uruchomienie mogłoby spowodować pożar lub inne skody (np. żelazko).

Przed wprowadzeniem zmiany w urządzeniu końcowym (np. wymiana żarówki), koniecznie odłączyć wtyczkę urządzenia końcowego od gniazda HomeMatic.

Kable ułożyć w taki sposób, aby nie mogły stanowić zagrożenia dla ludzi i zwierząt domowych.

Urządzenie nie nadaje się do odłączania od źródła napięcia. Obciążenie nie jest galwanicznie odseparowane od sieci.

Urządzenie czyścić wyłącznie po wyjęciu z gniazda sieciowego przy pomocy suchej szmatki Inianej, którą przy znacznym zabrudzeniu urządzenia można lekko zwilżyć. Do czyszczenia nie używać żadnych środków czyszczących zawierających rozpuszczalniki. Uważać, aby do wnętrza urządzenia nie przedostała się wilgoć.

Każde inne użytkowanie niż opisane w instrukcji obsługi jest użytkowaniem niezgodnym z przeznaczeniem i prowadzi do utraty uprawnień gwarancyjnych. To samo dotyczy przypadków przebudowy lub zmian konstrukcji. Urządzenie zostało zaprojektowane wyłącznie do użytku prywatnego.


Gniazda HomeMatic nie mogą być podłączane jedno w drugie.

Urządzenia z zasilaczami elektronicznymi (np. telewizory lub wysokonapięciowe żarówki diodowe) nie stanowią obciążeń omowych. Mogą one wytwarzać prądy włączeniowe przekraczające 100 A. Załączanie takich odbiorników prowadzi do przedwczesnego zużycia nastawnika.

Urządzenie jest przeznaczone wyłącznie do użytkowania w otoczeniu zbliżonym do warunków mieszkalnych.
3 Funkcja i widok urządzenia
Przy pomocy radiowego nastawnika załączającego HomeMatic pojedynczego z pomiarem mocy w obudowie wtyczkowej można włączać lub wyłącać podłączone odbiorniki (np. osuszacz) lub inne przyuczone urządzenia HomeMatic (np. ściemniacze) i zmierzyć zużycie energii podłączonych odbiorników (do 3680 watów (16 A)).
Radiowy nastawnik załączający HomeMatic z pomiarem mocy łączy dwie funkcje w jednym urządzeniu:
- załączanie podłączonych odbiorników
- pomiar napięcia, prądu, mocy czynnej, częstotliwości i zużycia energii
Za pomocą kanału załączającego można włączać lub wyłączać podłączone odbiorniki. Dodatkowo za pomocą kanałów czujnikowych istnieje możliwość włączania lub wyłączania przyuczonych urządzeń HomeMatic i podłączonych odbiorników.
Kanał pomiarowy posiada funkcję pomiarową i możliwość przenoszenia danych pomiarowych (np. napięcia, prądu, mocy czynnej, często-tliwości i zużycia energii) do centrali HomeMatic. Wartości pomiarów w systemie HomeMatic mogą być cyklicznie przenoszone do centrali HomeMatic i można je wyświetlić graficznie w interfejsie obsługi WebUI CCU2. W urządzeniu nie są zapisywane żadne dane pomiarowe.

Wszystkie funkcje urządzenia można skonfigurować w połączeniu z CCU2 za pośrednictwem interfejsu obsługi HomeMatic WebUI. Urządzenie można również zainstalować i skonfigurować za pomocą adaptera konfiguracyjnego HomeMatic.

text_image
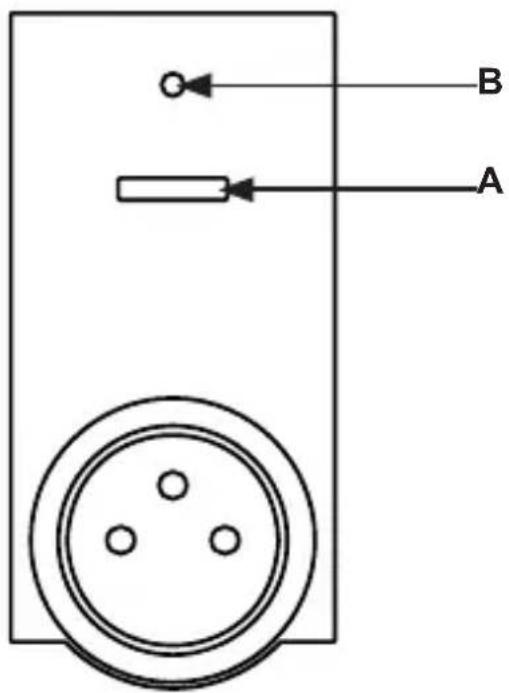
B A(A) - przycisk kanału
(B) - Dioda LED urządzenia
4 Ogólne informacje o systemie HomeMatic
Niniejsze urządzenie jest częścią systemu sterowania domem Home-Matic i korzysta z dwukierunkowego protokołu radiowego BidCoS®. Wszystkie urządzenia dostarczane są z konfiguracją standardową.
Dodatkowo istnieje możliwość konfigurowania funkcji urządzenia przy pomocy programatora i oprogramowania. Zakres funkcji wynikający z takiego układu oraz funkcje dodatkowe dostępne w systemie Home-Matic w połączeniu z innymi elementami opisane są w podręczniku HomeMatic WebUI.
Wszystkie aktualne dokumenty i aktualizacje można znaleźć w sekcji pobierania na stronie www.homematic.com.
5 Uruchomienie
5.1 Zwykłe funkcje obsługowe przy urządzeniu
- Do gniazda należy podłączyć radiowy nastawnik załączający z pomiarem mocy.
Urządzenie jest od razu gotowe do pracy i może zostać przyuczone w centrali HomeMatic (lub w innych urządzeniach HomeMatic).
Urządzenie wyposażone jest w przycisk kanału (A), który poprzez krótkie naciśnięcie może być wykorzystywany do obsługi (włączania i wyłączania) podłączonych odbiorników.
Aby móc korzystać ze wszystkich funkcji urządzenia w systemie HomeMatic i skonfigurować je oraz sterować odbiornikami lub urządzeniami HomeMatic za pomocą radia, najpierw należy je przyuczyć (por. rozdział „5.2 Przyuczanie“ na stronie 29).
5.2 Przyuczanie

Przed przystąpieniem do przyuczania należy zapoznać się z całym zamieszczonym w tym miejscu rozdziałem.
Aby radiowy nastawnik załączający mógł zostać zintegrowany w po-siadanym systemie HomeMatic i komunikował się z innymi elementami HomeMatic (np. pilotem na fale radiowe HomeMatic), wymagane jest w pierwszej kolejności przyuczenie urządzenia. Radiowy nastawnik za-łączający można przyuczyć w innych urządzeniach HomeMatic lub w centrali HomeMatic:

W przypadku radiowego nastawnika załączającego z pomia- rem mocy bezpośrednie powiązania urządzeń są możliwe tylko przy pomocy kanału załączającego (por. rozdział „5.2.1
Przyuczanie w urządzeniach HomeMatic" na stronie 30).
Powiązania z kanałem pomiarowym należy wykonać przy pomocy centrali lub adaptera konfiguracyjnego (por. rozdział
„5.2.2 Przyuczanie w centrali HomeMatic“ na stronie 31).
5.2.1 Przyuczanie w urządzeniach HomeMatic
Chcąc przyuczyć radiowy nastawnik przełączający w jednym lub większej liczbie urządzeń, konieczne jest przełączenie obu zestawianych urządzeń w tryb przyuczania. W tym celu należy wykonać następujące czynności:

Podczas przyuczania między urządzeniami HomeMatic należy zachować minimalny odstęp wynoszący 50 cm.
Najpierw uaktywnić tryb przyuczania w radiowym nastawniku załączającym.
- Przytrzymać przycisk kanału (A) przez co najmniej 4 sekundy. Powolne miganie diody LED urządzenia (B) sygnalizuje tryb przyuczania. Czas przyuczania wynosi maks. 20 sekund.

text_image
> 4 s- Przełączyć teraz urządzenie, które będzie przyuczane w radiowym nastawniku załączającym (np. pilot na fale radiowe HomeMatic, zob. poniższy rysunek), w tryb przyuczania. Zdejmij pokrywę baterii i, używając ostro zakończonego przedmiotu, naciśnij krótko przy-cisk przyuczania.

Jeżeli proces przyuczania zakończył się pomyślnie, na sekundę za- świeci się na zielono dioda LED urządzenia (B) radiowego nastawnika załączającego. Jeżeli urządzenia nie mogły zostać do siebie przyuczo- ne, dioda LED urządzenia zaświeci się na dwie sekundy na czerwono. Należy spróbować jeszcze raz.
Po pomyślnym przyuczeniu można włączać i wyłączać podłączone odbiorniki za pośrednictwem radiowego nastawnika załączającego z pomiarem mocy, np. korzystając z pilota na fale radiowe HomeMatic.

Jeśli przyuczanie nie rozpocznie się, tryb przyuczania zostanie automatycznie zakończony po upływie 20 sekund. Jeśli inne urządzenia przełączone są na tryb przyuczania, zostaną one przyuczone.
5.2.2 Przyuczanie w centrali HomeMatic
Chcąc wygodnie sterować i konfigurować
- urządzenie z poziomu oprogramowania,
- połączyć je bezpośrednio z innym urządzeniami lub
- korzystać z niego w centralnych programach,
w pierwszej kolejności należy przyuczyć je w centrali HomeMatic. Przy-uczanie nowych urządzeń w centrali odbywa się za pośrednictwem interfejsu obsługi „WebUI” HomeMatic.

Po przyuczeniu w centrali urządzenie może zostać powiązane z innymi urządzeniami tylko przez centrale.

Jedno urządzenie może zostać przyuczone tylko w jednej centrali.

Podczas przyuczania między urządzeniami HomeMatic a centralą należy zachować minimalny odstęp wynoszący 50 cm.
W celu przyuczenia urządzenia w centrali należy wykonać następujące czynności:
- Otworzyć interfejs obsługi WebUI w przeglądarce. Kliknąć przycisk „Teach-in devices” (Przyucz urządzenia) w prawej części ekranu.

- Aby uaktywnić tryb przyuczania, kliknąć „Start teach-in mode” (Tryb przyuczania BidCoS-RF) w następnym oknie.

- Tryb przyuczania pozostaje aktywny przez 60 sekund. W polu informacyjnym wyświetlany jest pozostały czas przyuczania.
- Przed upływem czasu przyuczania przełączyć również radiowy na-stawnik załączający w tryb przyuczania. Przytrzymać przycisk ka-nału (A) przez co najmniej 4 sekundy. Powolne miganie diody LED urządzenia (B) sygnalizuje tryb przyuczania.

text_image
> 4 s- Po krótkim czasie nowe, przyuczone urządzenie jest wyświetlane w skrzynce odbiorczej (Posteingang) interfejsu obsługi. Przycisk „Po- steingang” (Skrzynka odbiorcza) wskazuje również liczbę nowych, pomyślnie przyuczonych urządzeń.
- Przyuczyć ew. pozostałe urządzenia, powtarzając wyżej opisane czynności przy każdym urządzeniu.
- Skonfigurować nowe, przyuczone urządzenia w skrzynce odbiorczej w sposób opisany w rozdziale „Neu angelernte Geräte konfigurieren“.
Konfigurowane nowo przyuczonych urządzeń
Po przyuczeniu radiowego nastawnika załączającego w centrali Home-Matic nastawnik jest przenoszony do skrzynki „Posteingang” (Skrzynka odbiorcza). W tym miejscu najpierw należy skonfigurować urządzenie i przynależne kanały, aby stało się ono dostępne w celu wykonywania zadań związanych z obsługą i konfiguracją. Nadać nazwę i przypisać urządzenie bądź kanały do pomieszczenia. Dodatkowo istnieje możliwość ustawienia poszczególnych parametrów.
Następnie, z poziomu interfejsu WebUI, można sterować urządze- niem i konfigurować je, powiązać bezpośrednio z innymi urządzenia- mi, korzystać z niego w centralnych programach i wyświetlać wartości pomiarów podłączonych odbiorników. Szczegółowe informacje na ten temat podane są w podręczniku WebUI HomeMatic (dostępny w sekcji pobierania na stronie www.homematic.com).
6 Załączenie warunkowe
Za pomocą funkcji „Załączenie warunkowe” można załączyć podłączone odbiorniki lub inne urządzenia HomeMatic, jeśli zostanie spełniony określony warunek.
Przykład: Osuszacz został podłączony w piwnicy w połączeniu z radiowym nastawnikiem załączającym z pomiarem mocy i użytkownik chciałby dowiedzieć się za pomocą sygnału audio, kiedy osuszacz będzie gotowy. W tym celu za pomocą centrali można powiązać radiowy nastawnik załączający z pomiarem mocy z radiowym gongiem MP3 HomeMatic:
gdy tylko osuszacz będzie zużywać poniżej 100 W, powinien zostać wyłączony. Dodatkowo za pośrednictwem radiowego gongu MP3 powinien zabrzmieć sygnał audio. Jeżeli ustawiony próg mocy nie zostanie osią-
gnięty (np. <100 W), radiowy nastawnik załączający z pomiarem mocy wyśle do radiowego gongu MP3 warunkowy rozkaz załączenia i wartości pomiarów osuszacza do centrali. Radiowy gong MP3 wyda oczekiwany sygnał, co umożliwia rozpoznanie, kiedy osuszacz będzie gotowy.

flowchart
graph TD
A["Korytarz sygnał audio"] -->|warunkowy rozkaz załączenia| B["Piwnica washing machine"]
C["Kuchnia washing machine"] -->|wartość pomiarów| D["< 100 W washing machine"]
7 Przywracanie ustawień fabrycznych
Ustawienia fabryczne radiowego nastawnika załączającego można przywrócić ręcznie. W trakcie tej czynności wszystkie ustawienia i informacje zostaną utracone.

Zanim ustawienia fabryczne urządzenia zostaną ponownie przywrócone, należy usunąć je najpierw z interfejsu obsługi WebUI HomeMatic.
Prosimy postępować jak niżej:
- Przytrzymać przycisk kanału (A) naciśnięty przez przynajmniej cztery sekundy, aż dioda LED urządzenia pomarańczowo (B) zacznie wolno migać.
- Zwolnić klapkę.

text_image
> 4 s- Ponownie nacisnąć przycisk kanału (A) przez cztery sekundy, aż dioda LED urządzenia (B) zacznie szybko migać na czerwono.
- Zwolnić klapkę.
- Dioda LED urządzenia gaśnie.
- Ustawienia fabryczne zostały przywrócone.
8 Komunikaty błędu i sygnalizacyjne diody LED urządzenia
8.1 Kody błyskowe
| Ciąg sygnałów świetlnych | Znaczenie Rozwiązanie | |
| Powolne miganie na pomarańczowo | Tryb przyuczania aktywny | Przełączyć synchro-nizowany element na tryb przyuczania. |
| Szybkie miganie na pomarańczowo | Wymiana danych z synchronizowanym elementem | Poczekać na potwier-dzenie diody LED urządzenia |
| Zaświecenie na zielono przez 1 s | Proces przyuczania zakończony po-myślnie | Można kontynuować obsługę. |
| Zaświecenie na czerwono przez 2 s | Proces przyuczania nie zakończył się pomyślnie | Należy spróbować jeszcze raz. |
| Powolne miganie na pomarańczowo | Etap wstępny przy-wracania ustawień fabrycznych | Urządzenie czeka na długie przytrzymanie przycisku kanału w celu przywrócenia lub krótkie przytrzymanie przycisku w celu za-kończenia. |
| Szybkie miganie na czerwono Impuls świetlny | Ustawienia fabryczne urządzenia są przywracane. | / |
| Krótkie miganie na czerwono, zielono i pomarańczowo | Wskazanie testowe diody LED po przy-wróceniu napięcia | Odczekać, aż dioda LED urządzenia zga-śnie. |
| 1 x długie, 1 x krótkie mignięcie na czerwo-no impuls świetlny | Duty Cycle osiągnięty | por. rozdział „8.2 Duty Cycle“ na stronie 37 |
| 1 x długie, 2 x krótkie mignięcie na czerwo-no impuls świetlny | Awaria urządzenia Zwrócić się do dystry-butora. | |
8.2 Duty Cycle
Duty Cycle opisuje prawnie określone ograniczenie czasu nadawania urządzeń w zakresie częstotliwości 868 MHz. Przepis ten ma na celu zagwarantowanie pracy wszystkich urządzeń korzystających z częstotliwości 868 MHz.
W zakresie częstotliwości 868 MHz, z którego korzystają nasze urządzenia, maksymalny czas nadawania jednego urządzenia wynosi 1% godziny (a więc 36 sekund w ciągu godziny). Po osiągnięciu limitu 1% urządzenia nie mogą już nadawać sygnałów do chwili zakończenia czasowego ograniczenia. W myśl tej dyrektywy urządzenia HomeMatic są projektowane i produkowane w 100% zgodnie z normami.
Podczas normalnej pracy limit Duty Cycle z reguły nie jest osiągany. Może to jednak nastąpić w sporadycznych przypadkach podczas uruchamiania lub pierwszej instalacji systemu wskutek wielokrotnych procesów przyuczania wymagających częstego nadawania sygnałów radio- wych. Przekroczenie limitu Duty Cycle sygnalizowane jest jednokrotnym długim i jednokrotnym krótkim mignięciem diody LED urządzenia i może przejawiać się w przejściowym braku funkcji urządzenia. Po krótkim czasie (maks. 1 godzina) funkcja urządzenia jest przywracana.
9 Procedura po przywróceniu napięcia
Po podłączeniu urządzenia do gniazda sieciowego lub po przywróceniu napięcia sieciowego radiowy nastawnik załączający przeprowadza autotest. Dioda LED urządzenia miga krótko na czerwono, zielono i pomarańczowo (wskazanie testowe diody LED). Ewentualne błędy wykryte w trakcie tej czynności sygnalizuje dioda LED urządzenia, generując kody błyskowe (zob. rozdział „8.2 Duty Cycle“ na stronie 18).
Kody generowane są ciągle i urządzenie nie podejmuje swojej właściwej funkcji.
Jeśli test zakończy się bez błędów, radiowy nastawnik załączający prze- śle pakiet radiowy z informacjami o swoim stanie. Aby po przywróceniu napięcia (na przykład po zaniku napięcia sieciowego lub wyłączeniu) wszystkie nastawniki HomeMatic nie nadawały równocześnie, radiowy nastawnik załączający przed rozpoczęciem nadawania oczekuje przez przypadkowo wyznaczony czas opóźnienia. W tym czasie dioda LED urządzenia miga powoli na pomarańczowo. Jeśli opóźnienie jest bardzo krótkie, może się zdarzyć, że miganie nie zostanie dostrzeżone.
10 Konserwacja i czyszczenie
Produkt jest bezobsługowy. Naprawy należy zlecać specjaliście. Produkt czyścić miękką, czystą, suchą i niestrzępiącą się ściereczką. W celu usunięcia większych zabrudzeń ściereczkę można zwilżyć letnią wodą. Nie stosować żadnych środków czyszczących zawierających rozpuszczalniki, ponieważ mogą one uszkodzić obudowę z tworzywa sztucznego i napisy.
11 Informacje ogólne na temat sygnałów radi- owych
Transmisja radiowa odbywa się drogą radiową, z której mogą korzystać inne urządzenia, dlatego nie można wykluczyć zakłóceń. Innym źródłem zakłóceń mogą być m.in. cykle przełączania, silniki elektryczne lub niesprawne urządzenia elektryczne.

Zasięg w budynkach może znacznie się różnić od zasięgu na otwartej przestrzeni. Oprócz mocy nadawczej i charakterystyki odbiorczej odbiornika ważną rolę obok uwarunkowań budowlanych odgrywają czynniki środowiskowe, takie jak wilgotność powietrza.

Jeśli w radiowym nastawniku załączającym włączona jest „zabezpieczona transmisja” (AES), oznacza to:
- większe natężenie komunikacji,
- grupy nastawników nie mogą równocześnie wykonywać poleceń. Bliższe informacje na temat zabezpieczonej transmisji (AES) można znaleźć w podręczniku WebUI HomeMatic na stronie www.homematic.com.
Niniejszym dział rozwoju eQ-3 AG oświadcza, że opisane urządzenie spełnia podstawowe wymagania i inne istotne przepisy określone w dyrektywie 1999/5/WE. Z treścią pełnej deklaracji zgodności można zapoznać się na stronie www.homematic.com.
12 Dane techniczne
Skrócone oznakowanie urządzenia: HM-ES-PMSw1-PI-DN-R2
Napięcie zasilania: 230 V / 50 Hz
Pobór prądu: 14 A maks. (16 A na 30 min)
Pobór mocy w trybie spoczynkowym: < 0,6 W
Stopień ochrony: IP20
Temperatura otoczenia: -10 do +35 °C.
Stopień zanieczyszczenia: 2
Kategoria pomiarowa: CAT II
Częstotliwość radiowa: 868,3 MHz
Kategoria odbiornika: SRD category 2
Typ. zasięg radiowy na otwartym terenie: 300 m
Duty Cycle: < 1% na h
Maksymalna moc załączana: 3220 W trwale
3680 W na 30 min
Rodzaj obciążenia: obciążenie omowe
Przewidywany czas funkcjonowania przekaźnika/
cykle przełączeń: 40000 (16 A, obciążenie omowe)
Przekaźnik: Zestyk zwierny, 1-stykowy, mikrostyk
Typ łącznika: łącznik montowany niezależnie
Tryb pracy: S1
Udarowe napięcie wytrzymywane: 2500 V
Klasa ochrony:
Sposób działania: Typ 1.B
Wymiary (szer. x wys. x gł.): 59 x 122 x 40 mm (bez wtyczki)
Masa: 179 g
| Zakres pomia-rowy | Rozdziel-czość | Dokładność | |
| Moc 0 do 3680 W | 0,01 W 1 % | ± 0,03 W* | |
| Prąd 0 do 16 A 1 | mA 1 % | ± 1 mA* | |
| Napięcie 200 do | 255 V 0,1 V 0,5 % | ± 0,1 V | |
| Częstotliwość 48 | 72 do 51,27 Hz 0,01 | Hz 0,1 % | ± 0,01 Hz |
* Zakres częstotliwości: 2 Hz do 2 kHz
Zastrzega się zmiany techniczne.

Informacje na temat utylizacji
Urządzenia nie wolno wrzucać do śmieci domowych! Urządzenia elektroniczne należy usuwać zgodnie z dyrektywami o zużytym sprzęcie elektrycznym i elektronicznym i przekazywać je do przeznaczonych do tego punktów zbiórki!

Informacje na temat zgodności
Znak CE jest znakiem dobrowolnie pozyskiwanym przez producenta i jest on skierowany raczej do urzędów i nie stanowi on gwarancji określonych właściwości.

W razie pytań technicznych dotyczących urządzenia prosimy zwracać się do dystrybutora.
ProstaInstrukcja