GW90815 - Dispositif de contrôle électrique Gewiss - Notice d'utilisation et mode d'emploi gratuit
Retrouvez gratuitement la notice de l'appareil GW90815 Gewiss au format PDF.
| Caractéristiques Techniques | Non spécifiées |
|---|---|
| Utilisation | Non spécifiée |
| Maintenance et Réparation | Non spécifiée |
| Sécurité | Non spécifiée |
| Informations Générales | Non spécifiées |
FOIRE AUX QUESTIONS - GW90815 Gewiss
Questions des utilisateurs sur GW90815 Gewiss
0 question sur cet appareil. Repondez a celles que vous connaissez ou posez la votre.
Poser une nouvelle question sur cet appareil
Téléchargez la notice de votre Dispositif de contrôle électrique au format PDF gratuitement ! Retrouvez votre notice GW90815 - Gewiss et reprennez votre appareil électronique en main. Sur cette page sont publiés tous les documents nécessaires à l'utilisation de votre appareil GW90815 de la marque Gewiss.
MODE D'EMPLOI GW90815 Gewiss
Avertissements pour l'installation du KNX/EIB ....60
Avertissements pour l'installation ....60
Vérification de la couverture GSM 60
SIM 61
Montage sur rail DIN 61
Connexions électriques ....62
Exemples de connexion 63
Insertion SIM 64
PROGRAMMATION
Positionnement et connexion de l'antenne ....65
Mise en service ....65
Programmation adresse physique ....65
Modalités de configuration....66
Mot de passe ....66
Configuration avec PC ....66
Interaction et configuration via SMS 67
Configuration de base ....68
Configurations via SMS 68
Essai 72
EN SERVICE
Gestion à distance via SMS 73
Indications locales ....75
Fonctionnement en cas de black out ....75
Nettoyage du dispositif de contrôle à distance ....75
Remplacement des piles ....76
Recharge SIM 76
DONNÉES TECHNIQUES ....77
Valeurs préréglées 77
AVERTISSEMENTS GÉNÉRAUX
Attention ! La sécurité de l'appareil n'est garantie que si les instructions indiquées ici sont respectées. Il est donc nécessaire de bien les lire et les conserver. Les produits de la gamme Chorus doivent être installés conformément aux dispositions de la norme CEI 64-8 pour les appareils à usage ménager et similaires, dans des environnements non poussiéreux et là où il n'est pas nécessaire de mettre en place une protection spéciale contre la pénétration de l'eau.
L'organisation de vente de la Société GEWISS est à votre disposition pour tous éclaircissements et toutes informations techniques.
Gewiss SpA se réserve le droit de faire des modifications sur le produit décrit dans ce manuel à n'importe quel moment et sans aucun préavis.
Contenu de la confection
n. 1 Dispositif de contrôle à distance GSM EIB - sur rail DIN
n. 1 Antenne
n. 1 Câble rallonge pour antenne 1,5 m
n. 1 Borne bus
n. 1 Couvercle avec vis
n. 2 Rubans adhésifs double face
n. 1 Manuel d'installation et d'emploi
En bref
Le Dispositif de contrôle à distance GSM - sur rail DIN permet de commander des actionneurs et de demander l'état des dispositifs commandés, ou des dispositifs d'entrée connectés au système Building Automation KNX/EIB, directement avec un téléphone mobile en envoyant des messages SMS.
Par conséquent on peut envoyer au dispositif de contrôle à distance, via le réseau GSM, des commandes d'allumage et d'extinction de dispositifs pour le contrôle de charges électriques (par exemple des lampes, moteurs de volets, variateurs), ou des commandes pour le contrôle de la régulation thermique. A chaque commande exécutée, le dispositif de contrôle à distance envoie un SMS de confirmation au numéro de téléphone qu'on a prédéfini en phase de configuration.
De façon analogue, le dispositif de contrôle à distance peut envoyer, autonomement, des messages en cas d'événement.
Le dispositif de contrôle à distance est muni de piles de back-up rechargeables, pour l'alimenter en cas d'absence de la tension de secteur: de cette façon il est toujours possible de signaler la présence d'un blackout.
Le dispositif de contrôle à distance est monté sur un rail DIN de 35 mm, à l'intérieur de tableaux électriques ou de boîtes de dérivation.

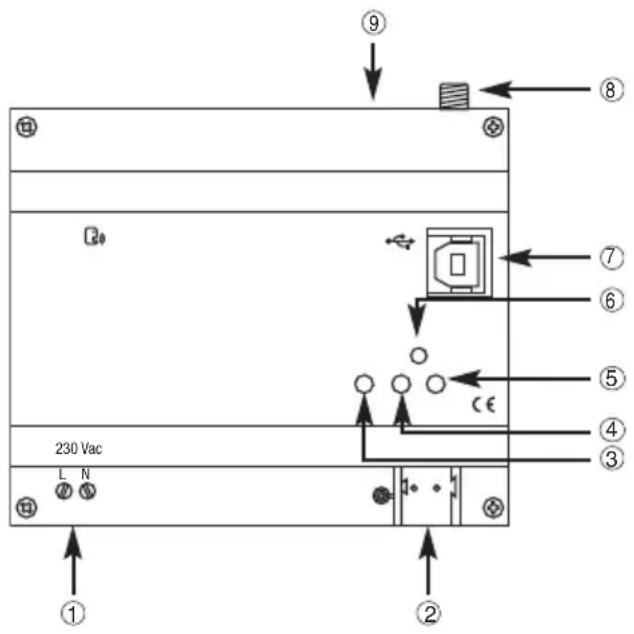
text_image
⑨ ⑧ ⑦ ⑥ ⑤ ④ ③ 230 Vac L N ① ②① Alimentation 230 Vca
② Borniers bus
③ LED de programmation adresse physique
④ LED pour signaler l'état du dispositif
⑤ LED multifonctions de signalisation de l'état du module GSM
⑥ Bouton de programmation adresse physique
⑦ Port USB (type B)
⑧ Connexion antenne externe
⑨ Petit tiroir pour SIM
Fonctions
Le dispositif est configuré avec le logiciel ETS pour réaliser les fonctions suivantes:
Commande 8 sorties d'emploi général
Chaque sortie peut être configurée pour:
- envoi de commande MARCHE/ARRET (vers des actionneurs ou variateurs)
- envoi de commandes de mouvement de rideaux / volets (HAUT/BAS)
- envoi de contrôles prioritaires
- envoi de commandes d'activation et d'apprentissage de scénarios.
Les 5 premières sorties peuvent être configurées, dans l'ordre suivant, pour envoyer les commandes suivantes vers l'installation antivol (par l'interface GW 20 476)
- branchement / débranchement total
- branchement partiel 1
- branchement partiel 2
- demande état alarme
- demande activation au branchement.
DESCRIPTION GENERALE
Envoi valeurs 8 bit
4 objets de communication à 8 bit en sortie sont disponibles. Pour chaque objet il est possible de programmer un couple de valeurs à transmettre sur bus dans les formats:
Envoi valeurs 16 bit
2 objets de communication à 16 bit en sortie sont disponibles. Pour chaque objet il est possible de programmer un couple de valeurs à transmettre sur bus dans les formats:
- unsigned [0 .. 65535]
• signed [-32768.. +32767] - floating point avec des valeurs prédéfinies comprises dans l'intervalle [-100 .. +100].
Gestion des entrées à 1 bit
16 objets de communication à 1 bit (MARCHE/ARRET) en entrée sont disponibles; on peut associer à chacun d'eux:
- envoi SMS sur réception MARCHE
- envoi SMS sur réception ARRET
- envoi SMS sur réception « MARCHE » et « ARRET »
- envoi de SMS seulement sur demande.
Gestion des entrées à 8 bit
4 objets de communication à 8 bit en entrée sont disponibles dans les formats:
A chaque objet on peut associer:
- envoi de SMS sur réception d'une valeur
- envoi de SMS seulement sur demande.
Gestion des entrées à 16 bit
2 objets de communication à 16 bit en entrée sont disponibles dans les formats:
A chaque objet on peut associer:
- envoi de SMS sur réception d'une valeur
- envoi de SMS seulement sur demande.
Régulation thermique
Via SMS on peut:
- programmer et demander la modalité (Auto/Eco/Préconfort/Confort/ARRET) et le type (Chauff./Clim.) de fonctionnement de l'installation de régulation thermique;
- demander la température mesurée par un chronothermostat/thermostat;
- programmer les set points de température.
MESSAGES ENVOYÉS PAR LE DISPOSITIF DE CONTRÔLE À DISTANCE
Suite à une demande directe, ou en réponse à une commande reçue, ou comme signalisation d'un événement qui s'est produit - le dispositif de contrôle à distance envoie des messages, selon les modes suivants:
| Envoi à no. téléphone appelants | Envoi à no. téléphone prédéfinis | Texte prédéfini | Texte personnalisable | |
| Confirmation d'exécution de commande suite à l'envoi d'une demande | ||||
| Commande MARCHE/ARRET actionneur général | ■ | ▲ | ■ | |
| Commande volet/persienne | ■▲■ | |||
| Commande MARCHE/ARRET variateur | ■▲■ | |||
| Commande activation/désactivation d'un contrôle prioritaire | ■▲■ | |||
| Commande activation/apprentissage scénarios | ■▲■ | |||
| Programmation du type de fonctionnement de la régulation thermique | ■▲■ | |||
| Programmation du mode de fonctionnement de la régulation thermique | ■▲■ | |||
| Programmation du set-point de la régulation thermique | ■▲■ | |||
| Branchement (total ou partiel) et débranchement de l'installation antivol | ■ | ■ | ||
| Signalisations d'état envoyées automatiquement | ||||
| Variation d'état des entrées | ■ | ■ | ||
| Signalisation d'alarme de l'installation antivol | ■ | ■ | ||
| Signalisation d'état en réponse à une demande | ||||
| Demande d'état pour tous les dispositifs gérés | ■▲■ | |||
| Demande d'état pour tous les I/O | ■▲■ | |||
| Demande d'état pour le chronothermostat ou le thermostat (1) | ■▲■ | |||
| Demande d'état pour l'installation antivol (2) | ■▲■ | |||
▲ La réponse est envoyée au numéro de téléphone prédéfini si le numéro de téléphone qui appelle est caché.
(1) La réponse inclut le type et le mode de fonctionnement actuel et la température ambiante.
(2) La réponse inclut l'état de l'installation (branchée/débranchée), l'état de la centrale (prête/pas prête pour le branchement) et la mémoire de l'alarme antivol (MARCHE/ARRET).
Les SMS de confirmation de l'exécution d'une commande, et ceux de signalisation d'état, que le dispositif de contrôle à distance émet après avoir reçu la demande relative, sont envoyés au numéro de téléphone de l'appelant, quel qu'il soit (sauf insertion du mot de passe). Cela ne vaut pas pour les commandes d'activation (partielle ou totale) ou de désactivation de l'installation antivol, qui doivent être envoyées à partir d'un des numéros de téléphone enregistrés dans la SIM en tant que numéros prédéfinis pour le contrôle de l'installation antivol.
Les SMS de signalisation d'état que le dispositif de contrôle à distance émet automatiquement sont envoyés aux numéros de téléphone définis pendant la configuration ou bien, s'ils n'ont pas été définis, au numéro de téléphone par défaut. Cela ne vaut pas pour la signalisation d'alarme antivol, qui est envoyée aux numéros de téléphone mémorisés dans la SIM comme numéros prédéfinis pour le contrôle de l'installation antivol.

ATTENTION: l'installation du dispositif ne doit être effectuée que par du personnel qualifié, conformément à la réglementation en vigueur et aux lignes directrices pour les installations KNX/EIB.
Avertissements pour l'installation du KNX/EIB
- La longueur de la ligne bus entre le dispositif de contrôle à distance EIB et l'alimentateur ne doit pas dépasser 350 mètres.
- La longueur de la ligne bus entre le dispositif de contrôle à distance EIB et le dispositif KNX/EIB à commander le plus éloigné ne doit pas dépasser 700 mètres.
- Pour éviter tous signaux et surtensions non désirés, ne pas créer, si possible, de circuits en boucle.
- Maintenir une distance d'au moins 4 mm entre les câbles isolés un par un de la ligne bus, et les câbles de la ligne électrique.

text_image
Bus ≥ 4 mm 230 V- Ne pas endommager le conducteur de continuité électrique du blindage.

① Câble bus
② Conducteur de continuité électrique
③ Blindage

ATTENTION: les câbles de signal du bus non utilisés et le conducteur de continuité électrique ne doivent jamais toucher des éléments sous tension ni le conducteur de terre!
Avertissements pour l'installation
Le dispositif de contrôle à distance utilise des connexions en radiofréquence pour la connexion à distance grâce au réseau GSM. Il est donc nécessaire de prendre les précautions suivantes:
- placer l'antenne du dispositif de contrôle à distance loin de toute source éventuelle de perturbation électromagnétique, comme par exemple des compteurs électriques, moteurs électriques, variateurs, lampes fluorescentes ;
- NE PAS insérer l'antenne du dispositif de contrôle à distance dans des tableaux électriques ni dans des armoires métalliques;
- NE PAS poser l'antenne du dispositif de contrôle à distance devant ni derrière des panneaux métalliques ;
Nous vous conseillons d'installer en amont du dispositif de contrôle à distance un dispositif de protection contre les courts-circuits (par exemple un disjoncteur magnétothermique), qui pourra être utile pour sectionner la ligne en cas d'entretien ou de modification des connexions du dispositif de contrôle à distance.
Vérification de la couverture GSM
Le dispositif de contrôle à distance fonctionne comme tout autre opérateur de téléphonie mobile GSM. Cependant il faut que le réseau GSM de l'opérateur préféré couvre la zone d'installation choisie, et que le niveau du signal GSM soit adéquatement fort. Pour vérifier qu'il en est ainsi, utiliser un téléphone mobile avec la SIM du même opérateur, et vérifier le niveau de signal dans le poste d'installation choisi. Si le signal est absent ou très faible, faire ce qui suit:
- Essayer d'autres positions, jusqu'à ce qu'on obtienne un signal satisfaisant.
- Essayer de replacer l'antenne, ou de la remplacer par une antenne compatible (voir le paragraphe Positionnement et connexion de l'antenne).
- Essayer avec la SIM d'un autre opérateur (l'efficacité de la couverture GSM peut varier d'un opérateur à un autre).
On peut aussi vérifier si le niveau de signal est acceptable en regardant la LED multifonctions de signalisation de l'état du module GSM: verte fixe, veut dire que le niveau est bon, rouge veut dire que le réseau GSM est absent.

ATTENTION: en cas d'absence du signal GSM, le dispositif ne peut ni recevoir ni envoyer des SMS.
SIM
Le dispositif de contrôle à distance accepte aussi bien les SIM avec abonnement que les SIM prépayées. Si l'on utilise une SIM prépayée, il faut faire attention à certains aspects, qui pourraient compromettre le fonctionnement normal.
- Recharge SIM: quand la SIM prépayée épuise son crédit, le dispositif de contrôle à distance ne peut plus envoyer de messages. Le dispositif de contrôle à distance n'envoie pas d'avis de « crédit SIM épuisé », il faut donc s'assurer qu'il y ait toujours suffisamment de crédit pour les exigences de la communication à distance.
- Péremption SIM: la plupart des gestionnaires de téléphonie mobile désactivent la SIM prépayée 11/12 mois à compter de la dernière recharge, indépendamment du crédit restant. On peut résoudre ce problème en activant le service de recharge automatique de la SIM prépayée, que la plupart des gestionnaires de téléphonie mobile mettent à disposition.
- Déblocage SIM: si l'on utilise une SIM neuve, il pourrait être nécessaire d'effectuer un appel pour activer la SIM. Pour cela il faut insérer la SIM dans un téléphone mobile, et effectuer l'appel.
- Désactivation du code PIN: sur la SIM qui sera insérée dans le dispositif de contrôle à distance, il faut désactiver la demande du code PIN au moment de l'activation du GSM. Pour cela, il faut insérer la SIM dans un téléphone mobile, et suivre les instructions fournies par le téléphone mobile.
Nous vous conseillons d'essayer le fonctionnement des opérations de base, comme par exemple l'envoi d'un SMS, afin de vérifier si les programmations de la SIM (numéro de centre SMS, etc.) sont correctes.
Montage sur rail DIN
INSERTION DES PILES
Avant de monter le dispositif de contrôle à distance sur le rail DIN, insérer les piles rechargeables de back-up de la façon suivante:
- Dévisser les quatre vis frontales du dispositif de contrôle à distance, et appuyer sur les dents de tenue supérieures ou inférieures, pour décrocher le couvercle.

- Insérer 3 piles rechargeables NiMh - AAA, en respectant les polarités indiquées. Nous vous conseillons d'utiliser des piles ayant une capacité de 800 mAh ou plus.

- Remettre le couvercle sur le dispositif de contrôle à distance, et le fixer avec ses vis.
FIXATION SUR RAIL DIN
Monter le dispositif de contrôle à distance sur le rail DIN de 35 mm de la façon suivante:
- Insérer l'accrochage supérieur du dispositif dans le rail DIN.
- Faire tourner le dispositif jusqu'à ce qu'on entende un « clack » qui signale le blocage sur le rail DIN.

Connexions électriques

ATTENTION: débrancher la tension de secteur avant de connecter le dispositif au secteur !
Pour les schémas des connexions électriques voir les exemples qui suivent.
- Connecter le fil rouge du câble bus à la borne rouge (+) du terminal, et le fil noir à la borne noire (-). On peut relier au terminal bus jusqu'à 4 lignes bus (fils de la même couleur dans la même borne).

① Connexion dispositif bus
② Connexion câble bus
- Isoler l'écran, le conducteur de continuité électrique et les fils restants blanc et jaune du câble bus (au cas où l'on utilise un câble bus à 4 conducteurs), qui ne sont pas nécessaires.
- Brancher la borne bus dans les pieds du dispositif prévus. Le sens correct d'insertion est déterminé par les guides de fixation. Isoler la borne bus en utilisant le petit couvercle prévu, qui doit être fixé au dispositif avec sa vis. Le petit couvercle garantit la séparation minimale de 4 mm entre les câbles de puissance et les câbles bus.

text_image
les de puissance et les cables bus.Exemples de connexions
SYSTÈME DE BUILDING AUTOMATION

flowchart
graph TD
A["Mobile Phone"] -->|RESEAU DE TELEPHONE| B["Antenna"]
B --> C["Système de contrôle à distance GSM EIB"]
C --> D["230 Vac"]
D --> E["bus KNX/EIB"]
E --> F["GW 14 763 / GW 14 793"]
E --> G["GW 14 761 / GW 14 791"]
E --> H["GW 14 767 / GW 14 797"]
E --> I["GW 14 752 / GW 14 782"]
E --> J["GW 14 766 / GW 14 796"]
E --> K["FWG 90 740 / GW 90 836"]
style A fill:#f9f,stroke:#333
style B fill:#ccf,stroke:#333
style C fill:#cfc,stroke:#333
style D fill:#fcc,stroke:#333
style E fill:#cff,stroke:#333
style F fill:#ffc,stroke:#333
style G fill:#ffc,stroke:#333
style H fill:#ffc,stroke:#333
style I fill:#ffc,stroke:#333
style J fill:#ffc,stroke:#333
style K fill:#ffc,stroke:#333
INSTALLATION
Insertion SIM
Pour insérer la SIM dans le logement prévu du dispositif de contrôle à distance:
- Appuyer, avec la pointe d'un crayon ou d'un stylo à bille, sur le petit bouton jaune de décrochage situé à côté du petit tiroir porte-SIM.
- Ouvrir le petit tiroir porte-SIM.
- Insérer la SIM dans le petit tiroir en faisant bien attention que le coin émoussé se trouve en haut à droite, et que les contacts dorés soient visibles sur le devant.
- Refermer le petit tiroir porte-SIM.

Décrochage du petit tiroir SIM. Positionnement et connexion de la SIM
Positionnement et connexion de l'antenne
Veiller à positionner l'antenne du dispositif de contrôle à distance:
- loin de toute source éventuelle de perturbation électromagnétique, comme par exemple des compteurs électriques, moteurs électriques, variateurs, lampes fluorescentes;
- à l'extérieur de tout tableau électrique ou armoire métallique;
- non couverte de panneaux métalliques, ni à proximité de panneaux métalliques;
- dans une zone bien sèche (le conteneur de l'antenne n'est pas étanche);
- dans un endroit protégé, pour éviter qu'elle ne puisse être endommagée accidentellement ou intentionnellement.
On peut fixer l'antenne sur un mur ou sur un support lisse, en utilisant les rubans adhésifs double face qui sont inclus dans l'emballage. Pour faciliter le positionnement de l'antenne, on a fourni le dispositif de contrôle à distance d'une rallonge d'antenne de 1,5 m. Cette rallonge ne doit être utilisée que si nécessaire.
Connector l'antenne, en vissant son câble au connecteur SMA situé dans la partie supérieure du dispositif de contrôle à distance. Visser à la main, sans utiliser d'instruments, pour éviter d'endommager le connecteur.

Dès qu'on a alimenté le dispositif, la LED de signalisation de l'état du dispositif commence à clignoter, ce qui indique que la phase d'initialisation du module GSM est en cours.
Après environ 30 secondes, la LED reste allumée verte fixe: cela signale que le dispositif est correctement initialisé.
Si la LED de signalisation de l'état du module GSM s'allume en vert, cela veut dire que le réseau GSM de l'opérateur est disponible; si elle s'allume en rouge fixe, cela signifie que le signal GSM n'est pas suffisant.
Programmation adresse physique
- Alimenter le dispositif avec le bus.
- Appuyer sur le bouton de programmation pour préparer le dispositif de contrôle à distance au chargement par ETS de l'adresse physique.
Pour pouvoir configurer le dispositif via ETS il faut avoir aussi bien l'alimentation 230V que l'alimentation bus.
PROGRAMMATION
Modalités de configuration
Le dispositif de contrôle à distance peut être configuré avec un PC relié au dispositif par un câble USB et muni du logiciel de configuration, ou bien avec un téléphone mobile grâce à l'envoi d'un SMS.
La première modalité de configuration est conseillée durant la première installation et configuration ; tandis que la deuxième modalité est particulièrement utile quand on doit modifier à distance la configuration du dispositif de contrôle.
Pour que le dispositif de contrôle à distance fonctionne correctement, il faut configurer:
- Mot de passe d'accès.
- Numéro de téléphone utilisé par défaut pour la réponse.
- Numéros de téléphone (facultatifs) autorisés pour la commande de l'installation antivol ou pour la modification des paramètres.
- Activation interface (si présente).
- Entrées: événement d'activation, texte du message relatif à l'événement, numéro de téléphone du destinataire SMS (seulement s'il est différent du numéro utilisé par défaut).
- Notification état des sorties: utilisation générale ou antivol, événement d'activation, texte du message relatif à l'événement, numéro de téléphone du destinataire SMS (seulement s'il est différent du numéro utilisé par défaut).
- Sorties: texte du message de confirmation.
Mot de passe
Le mot de passe sert pour que le dispositif de contrôle à distance puisse identifier qui appelle avant d'exécuter les instructions reçues via SMS. Le mot de passe est constitué de 4 caractères alphanumériques, choisis par l'utilisateur à son gré entre 0...9, a...z, A...Z. Le dispositif de contrôle à distance reconnaît la différence entre les lettres majuscules et les lettres minuscules, par conséquent « ab12 » est différent de « AB12 ».
Pour l'enregistrement du mot de passe en mémoire, voir le paragraphe Configuration de base.
Configuration avec PC

Pendant la phase de configuration avec PC, le dispositif de contrôle à distance doit être alimenté par le réseau.
UTILISATION DU LOGICIEL DE CONFIGURATION
Vous pouvez télécharger le logiciel pour la configuration du dispositif, avec un PC, du site Internet www.gewiss.com, à l'intérieur de la page du Dispositif de contrôle à distance GSM EIB GW 90 815.
La notice d'emploi de ce logiciel est disponible avec ledit logiciel.
Interaction et configuration via SMS
Le dispositif de contrôle à distance accepte des commandes et des interrogations via SMS vers le dispositif ou vers les systèmes qui y sont connectés. Les commandes sont toujours reçues par le dispositif de contrôle à distance à condition qu'on insère le mot de passe, indépendamment du numéro appelant et indépendamment du fait que le numéro appelant soit visible ou caché. A l'exception des commandes de configuration et de celles sur l'installation antivol, qui requièrent que le numéro appelant soit visible et appartienne à la liste des numéros de téléphone mémorisés dans la SIM dans les positions de mémoire prédéfinies (voir le paragraphe Configuration de base). Voici les principales règles à suivre pour composer les SMS:
MAJUSCULES ET MINUSCULES
Le dispositif de contrôle à distance reconnaît la différence entre les lettres majuscules et les lettres minuscules dans les SMS (écrire « p » est différent d'écrire « P »). Les lettres de toutes les commandes et programmations doivent être en majuscules.
STRUCTURE DE L'SMS ENVOYÉ
Les SMS commencent avec un point (« . »), suivi du mot de passe (voir le paragraphe Mot de passe), puis un point, puis la commande et ensuite un autre point. Aucun espace n'est admis entre les points et le mot de passe ou la commande.
Syntaxe: .mot de passe.commande.
Exemples de SMS corrects: .AB01.SGE00-0.
.AB01.P401-Pompe d'eau arrêtée.
Exemples de SMS erronés: .AB01. SGE00-0.
.AB01.SGE00-0.
COMMANDES MULTIPLES
Avec un seul SMS on peut envoyer plusieurs commandes séparées entre elles par un point (« . »). Le SMS ne doit pas dépasser 480 caractères.
Syntaxe: .mot de passe.commande1.commande2.commande3.commande4.
Exemple: .AB01.COE01-1.COE06-3.CCE01-1.
TEXTES PERSONNALISÉS
Les textes personnalisés des messages de réponse ne doivent pas dépasser 20 caractères, espaces compris, et ne doivent pas contenir de points (« . »). Les autres caractères de ponctuation sont permis.
Exemples de texte correct: Chronothermostat mer
Exemples de texte erroné: Chronothermostat villa mer (texte trop long), Chronotherm. villa mer (il y a un point dans le texte)
NUMÉROS DE TÉLÉPHONE
ATTENTION: Les numéros de téléphone doivent être insérés sans espaces ni traits de séparation. Il faut faire précéder le numéro du préfixe international dans la forme +préfixe (pour l'Italie +39).
Le téléphone correspondant au numéro inséré doit être en mesure de recevoir des SMS.
Les numéros mémorisés dans le dispositif de contrôle à distance pour l'envoi de SMS doivent être dans le format international correspondant au Pays où le dispositif de contrôle à distance est installé.
Le dispositif de contrôle à distance reconnaît le numéro de l'émetteur du SMS seulement s'il est dans le même format que le numéro mémorisé dans la carte SIM.
Exemples de numéros erronés: +39 035 94611 (espaces), 338-55523 (trait de séparation et absence du préfixe international)
Exemples de numéros corrects: +3903594611, +3933855523
Dans l'envoi des SMS de réponse, le dispositif de contrôle à distance suit ces règles:
- Les réponses aux commandes et aux interrogations d'état sont envoyées au numéro appelant, s'il est visible, ou bien au numéro par défaut (voir Configuration de base) s'il est caché.
- Les SMS envoyés de manière autonome par le dispositif de contrôle à distance, par exemple les alarmes et la commutation d'entrées, sont envoyés au numéro programmé pour l'événement spécifique ou, s'il n'y en a pas, au numéro par défaut.
Configuration de base
Pour des raisons de sécurité, certaines programmations ne peuvent pas être effectuées via SMS mais doivent être exécutées avec un téléphone mobile directement sur la SIM qui sera installée dans le dispositif de contrôle à distance, ou bien programmées avec le logiciel.
Pour programmer ces paramètres avec votre téléphone mobile, faire ce qui suit:
- Insérer dans un téléphone mobile la SIM qui sera utilisée, éventuellement après l'avoir enlevée du dispositif de contrôle à distance. Pour plus de détails sur l'opération, consulter la notice d'emploi du téléphone mobile.
- Mémoriser dans le répertoire de la SIM, en utilisant le clavier et l'afficheur du téléphone mobile, les paramètres énumérés sur le tableau suivant
| Position mémoire SIM | Description | Nom contact sur SIM | Numéro contact sur SIM (1) |
| 1 Mot de passe (4 caractères alphanumériques) Mot de passe (2) | |||
| 2 | Numéro de téléphone utilisé par défaut pour la réponse | (2) | n. téléphone |
| 3 | Numéro 1 pour contrôle antivol et modification de la configuration via SMS | (2) | n. téléphone |
| 4 | Numéro 2 pour contrôle antivol et modification de la configuration via SMS | (2) | n. téléphone |
| 5 | Numéro 3 pour contrôle antivol et modification de la configuration via SMS | (2) | n. téléphone |
| 6 | Numéro 4 pour contrôle antivol et modification de la configuration via SMS | (2) | n. téléphone |
| 7 | Numéro 5 pour contrôle antivol et modification de la configuration via SMS | (2) | n. téléphone |
(1) Pour le format d'insertion des numéros de téléphone dans la carte SIM, voir le paragraphe Numéros de téléphone.
(2) Laisser le champ vide.
Sur tous les numéros programmés pour le contrôle de l'installation antivol, les messages de signalisation d'alarme seront envoyés.
Pour enregistrer les données dans la mémoire de la SIM, faire de la façon suivante:
a) sélectionner la position de mémoire nécessaire ;
b) laisser vide le « nom contact », sauf dans le cas du mot de passe, où il faut insérer le mot de passe choisi ;
c) insérer le numéro de téléphone dans le « numéro contact » (le mot de passe ne demande aucun numéro de téléphone ; les éventuels numéros de téléphone sont ignorés).
Avant de procéder à la mémorisation des numéros et du mot de passe dans la SIM, nous vous conseillons d'effacer tous les contacts présents dans la carte, pour être sûrs que les numéros insérés soient mémorisés dans les cellules de mémoire énumérées.
Avant de modifier les numéros de téléphone mémorisés dans la SIM ou le mot de passe, il est nécessaire de couper l'alimentation au dispositif de contrôle à distance, pour faire en sorte qu'à la remise en marche, les nouvelles données soient transférées dans la mémoire interne du dispositif.
- Enlever la SIM du téléphone mobile, et l'insérer dans le dispositif de contrôle à distance, comme illustré dans le paragraphe Insertion de la SIM.
ATTENTION: Si la configuration est exécutée par logiciel, les données sont automatiquement mémorisées dans les positions énumérées sur le tableau, en écrasant les informations éventuellement présentes dans la SIM.
Configurations via SMS
Les paramètres qui suivent doivent être configurés via SMS. Le SMS n'est accepté que s'il provient d'un numéro appelant visible qui correspond à un des numéros mémorisés dans la SIM activés au moment de la configuration des paramètres.
CONFIGURATION GÉNÉRALE
| Commande Description | |
| P200-1 Envoie copie des | messages aussi sur le numéro de téléphone par défaut |
| P200-0 N'envoie pas copie des messages aussi sur le numéro de téléphone par défaut | |
| P201-1 | Inutilisé |
| P201-0 Inutilisé | |
| P204-texte | Texte de confirmation commande sorties |
| P205-texte | Texte de notification absence tension d'alimentation |
| P206-texte | Texte de notification rétablissement tension d'alimentation |
| P207-texte | Texte de demande de remplacement des piles |
REMARQUE: Le caractère ∅ représente le chiffre zéro.
CONFIGURATION ENTRÉES KNX 1 BIT
| Commande Description | |
| P400-0 Entrée 1 : condition | envoi SMS réception « MARCHE » |
| P400-1 Entrée 1 : condition | envoi SMS réception « ARRET » |
| P400-2 Entrée 1 : condition | envoi SMS réception « MARCHE » et « ARRET » |
| P400-3 Entrée 1 : envoi SMS | seulement sur demande |
| P401-texte | Entrée 1 : texte du message SMS pour réception « MARCHE » |
| P402-texte | Entrée 1 : texte du message SMS pour réception « ARRET » |
| P403-numéro de téléphone | Entrée 1 : numéro de téléphone du destinataire SMS |
| P405-0 Entrée 2 : condition | envoi SMS réception « MARCHE » |
| P405-1 Entrée 2 : condition | envoi SMS réception « ARRET » |
| P405-2 Entrée 2 : condition | envoi SMS réception « MARCHE » et « ARRET » |
| P405-3 Entrée 2 : envoi SMS | seulement sur demande |
| P406-texte | Entrée 2 : texte du message SMS pour réception « MARCHE » |
| P407-texte | Entrée 2 : texte du message SMS pour réception « ARRET » |
| P408-numéro de téléphone | Entrée 2 : numéro de téléphone du destinataire SMS |
| P410-0 Entrée 3 : condition | envoi SMS réception « MARCHE » |
| P410-1 Entrée 3 : condition | envoi SMS réception « ARRET » |
| P410-2 Entrée 3 : condition | envoi SMS réception « MARCHE » et « ARRET » |
| P410-3 Entrée 3 : envoi SMS | seulement sur demande |
| P411-texte | Entrée 3 : texte du message SMS pour réception « MARCHE » |
| P412-texte | Entrée 3 : texte du message SMS pour réception « ARRET » |
| P413-numéro de téléphone | Entrée 3 : numéro de téléphone du destinataire SMS |
| P415-0 Entrée 4 : condition | envoi SMS réception « MARCHE » |
| P415-1 Entrée 4 : condition | envoi SMS réception « ARRET » |
| P415-2 Entrée 4 : condition | envoi SMS réception « MARCHE » et « ARRET » |
| P415-3 Entrée 4 : envoi SMS | seulement sur demande |
| P416-texte | Entrée 4 : texte du message SMS pour réception « MARCHE » |
| P417-texte | Entrée 4 : texte du message SMS pour réception « ARRET » |
| P418-numéro de téléphone | Entrée 4 : numéro de téléphone du destinataire SMS |
| P420-0 Entrée 5 : condition | envoi SMS réception « MARCHE » |
| P420-1 Entrée 5 : condition | envoi SMS réception « ARRET » |
| P420-2 Entrée 5 : condition | envoi SMS réception « MARCHE » et « ARRET » |
| P420-3 Entrée 5 : envoi SMS | seulement sur demande |
| P421-texte | Entrée 5 : texte du message SMS pour réception « MARCHE » |
| P422-texte | Entrée 5 : texte du message SMS pour réception « ARRET » |
| P423-numéro de téléphone | Entrée 5 : numéro de téléphone du destinataire SMS |
| P425-0 Entrée 6 : condition | envoi SMS réception « MARCHE » |
| P425-1 Entrée 6 : condition | envoi SMS réception « ARRET » |
| P425-2 Entrée 6 : condition | envoi SMS réception « MARCHE » et « ARRET » |
| P425-3 Entrée 6 : envoi SMS | seulement sur demande |
| P426-texte | Entrée 6 : texte du message SMS pour réception « MARCHE » |
| P427-texte | Entrée 6 : texte du message SMS pour réception « ARRET » |
| P428-numéro de téléphone | Entrée 6 : numéro de téléphone du destinataire SMS |
| P430-0 Entrée 7 : condition | envoi SMS réception « MARCHE » |
| P430-1 Entrée 7 : condition | envoi SMS réception « ARRET » |
| P430-2 Entrée 7 : condition | envoi SMS réception « MARCHE » et « ARRET » |
| P430-3 Entrée 7 : envoi SMS | seulement sur demande |
| P431-testo | Entrée 7 : texte du message SMS pour réception « MARCHE » |
| P432-testo | Entrée 7 : texte du message SMS pour réception « ARRET » |
| P433-numéro de téléphone | Entrée 7 : numéro de téléphone du destinataire SMS |
REMARQUE: Le caractère ∅ représente le chiffre zéro.
| Commande Description | |
| P435-0 Entrée 8 : condition | envoi SMS réception « MARCHE » |
| P435-1 Entrée 8 : condition | envoi SMS réception « ARRET » |
| P435-2 Entrée 8 : condition | envoi SMS réception « MARCHE » et « ARRET » |
| P435-3 Entrée 8 : envoi SMS | seulement sur demande |
| P436-texte | Entrée 8 : texte du message SMS pour réception « MARCHE » |
| P437-texte | Entrée 8 : texte du message SMS pour réception « ARRET » |
| P438-numéro de téléphone | Entrée 8 : numéro de téléphone du destinataire SMS |
| P440-0 Entrée 9 : condition | envoi SMS réception « MARCHE » |
| P440-1 Entrée 9 : condition | envoi SMS réception « ARRET » |
| P440-2 Entrée 9 : condition | envoi SMS réception « MARCHE » et « ARRET » |
| P440-3 Entrée 9 : envoi SMS | seulement sur demande |
| P441-texte | Entrée 9 : texte du message SMS pour réception « MARCHE » |
| P442-texte | Entrée 9 : texte du message SMS pour réception « ARRET » |
| P443-numéro de téléphone | Entrée 9 : numéro de téléphone du destinataire SMS |
| P445-0 Entrée 10 : condition | envoi SMS réception « MARCHE » |
| P445-1 Entrée 10 : condition | envoi SMS réception « ARRET » |
| P445-2 Entrée 10 : condition | envoi SMS réception « MARCHE » et « ARRET » |
| P445-3 Entrée 10 : envoi SMS | seulement sur demande |
| P446-texte | Entrée 10 : texte du message SMS pour réception « MARCHE » |
| P447-texte | Entrée 10 : texte du message SMS pour réception « ARRET » |
| P448-numéro de téléphone | Entrée 10 : numéro de téléphone du destinataire SMS |
| P450-0 Entrée 11 : condition | envoi SMS réception « MARCHE » |
| P450-1 Entrée 11 : condition | envoi SMS réception « ARRET » |
| P450-2 Entrée 11 : condition | envoi SMS réception « MARCHE » et « ARRET » |
| P450-3 Entrée 11 : envoi SMS | seulement sur demande |
| P451-texte | Entrée 11 : texte du message SMS pour réception « MARCHE » |
| P452-texte | Entrée 11 : texte du message SMS pour réception « ARRET » |
| P453-numéro de téléphone | Entrée 11 : numéro de téléphone du destinataire SMS |
| P455-0 Entrée 12 : condition | envoi SMS réception « MARCHE » |
| P455-1 Entrée 12 : condition | envoi SMS réception « ARRET » |
| P455-2 Entrée 12 : condition | envoi SMS réception « MARCHE » et « ARRET » |
| P455-3 Entrée 12 : envoi SMS | seulement sur demande |
| P456-texte | Entrée 12 : texte du message SMS pour réception « MARCHE » |
| P457-texte | Entrée 12 : texte du message SMS pour réception « ARRET » |
| P458-numéro de téléphone | Entrée 12 : numéro de téléphone du destinataire SMS |
| P460-0 Entrée 13 : condition | envoi SMS réception « MARCHE » |
| P460-1 Entrée 13 : condition | envoi SMS réception « ARRET » |
| P460-2 Entrée 13 : condition | envoi SMS réception « MARCHE » et « ARRET » |
| P460-3 Entrée 13 : envoi SMS | seulement sur demande |
| P461-texte | Entrée 13 : texte du message SMS pour réception « MARCHE » |
| P462-texte | Entrée 13 : texte du message SMS pour réception « ARRET » |
| P463-numéro de téléphone | Entrée 13 : numéro de téléphone du destinataire SMS |
| P465-0 Entrée 14 : condition | envoi SMS réception « MARCHE » |
| P465-1 Entrée 14 : condition | envoi SMS réception « ARRET » |
| P465-2 Entrée 14 : condition | envoi SMS réception « MARCHE » et « ARRET » |
| P465-3 Entrée 14 : envoi SMS | seulement sur demande |
| P466-texte | Entrée 14 : texte du message SMS pour réception « MARCHE » |
| P467-texte | Entrée 14 : texte du message SMS pour réception « ARRET » |
| P468-numéro de téléphone | Entrée 14 : numéro de téléphone du destinataire SMS |
REMARQUE: Le caractère ∅ représente le chiffre zéro.
| Commande Description | |
| P470-0 Entrée 15 : condition | envoi SMS réception « MARCHE » |
| P470-1 Entrée 15 : condition | envoi SMS réception « ARRET » |
| P470-2 Entrée 15 : condition | envoi SMS réception « MARCHE » et « ARRET» |
| P470-3 Entrée 15 : envoi SMS | seulement sur demande |
| P471-texte | Entrée 15 : texte du message SMS pour réception « MARCHE » |
| P472-texte | Entrée 15 : texte du message SMS pour réception « ARRET» |
| P473-numéro de téléphone | Entrée 15 : numéro de téléphone du destinataire SMS |
| P475-0 Entrée 16 : condition | envoi SMS réception « MARCHE » |
| P475-1 Entrée 16 : condition | envoi SMS réception « ARRET » |
| P475-2 Entrée 16 : condition | envoi SMS réception « MARCHE » et « ARRET» |
| P475-3 Entrée 16 : envoi SMS | seulement sur demande |
| P476-texte | Entrée 16 : texte du message SMS pour réception « MARCHE » |
| P477-texte | Entrée 16 : texte du message SMS pour réception « ARRET » |
| P478-numero telefono | Entrée 16 : numéro de téléphone du destinataire SMS |
REMARQUE : Le caractère ∅ représente le chiffre zéro.
CONFIGURATION ENTRÉES KNX 8 BIT
| Commande Description | |
| P480-∅ Entrée 1 : condition | envoi SMS réception valeur |
| P480-3 Entrée 1 : envoi SMS | seulement sur demande |
| P481-texte Entrée 1 : texte du message SMS pour réception valeur | |
| P483-numéro de téléphone | Entrée 1 : numéro de téléphone du destinataire SMS |
| P485-∅ Entrée 2 : condition | envoi SMS réception valeur |
| P485-3 Entrée 2 : envoi SMS | seulement sur demande |
| P486-texte Entrée 2 : texte du message SMS pour réception valeur | |
| P488-numéro de téléphone | Entrée 2 : numéro de téléphone du destinataire SMS |
| P490-∅ Entrée 3 : condition | envoi SMS réception valeur |
| P490-3 Entrée 3 : envoi SMS | seulement sur demande |
| P491-texte Entrée 3 : texte du message SMS pour réception valeur | |
| P493-numéro de téléphone | Entrée 3 : numéro de téléphone du destinataire SMS |
| P495-∅ Entrée 4 : condition | envoi SMS réception valeur |
| P495-3 Entrée 4 : envoi SMS | seulement sur demande |
| P496-texte Entrée 4 : texte du message SMS pour réception valeur | |
| P498-numéro de téléphone | Entrée 4 : numéro de téléphone du destinataire SMS |
REMARQUE : Le caractère ∅ représente le chiffre zéro.
CONFIGURATION ENTRÉES KNX 16 BIT
| Commande Description | |
| P500-0 Entrée 1 : condition | envoi SMS réception valeur |
| P500-3 Entrée 1 : envoi SMS | seulement sur demande |
| P501-texte Entrée 1 : texte du message SMS pour réception valeur | |
| P503-numéro de téléphone | Entrée 1 : numéro de téléphone du destinataire SMS |
| P505-0 Entrée 2 : condition | envoi SMS réception valeur |
| P505-3 Entrée 2 : envoi SMS | seulement sur demande |
| P506-texte Entrée 2 : texte du message SMS pour réception valeur | |
| P508-numéro de téléphone | Entrée 2 : numéro de téléphone du destinataire SMS |
REMARQUE : Le caractère ∅ représente le chiffre zéro.
CONFIGURATION DES SORTIES KNX
Le message de "confirmation d'envoi de la commande" est composé par le champ texte de la configuration de la sortie KNK avec l'ajout du champ texte de la configuration générale texte de confirmation commande sorties.
Exemple: avec les valeurs programmées le message se compose de la manière suivante: OUT_KNK_1=EXECUTE
| Commande Description | |
| P600-texte | Texte du message SMS de confirmation envoi commande sortie emploi général 1 |
| P605-texte | Texte du message SMS de confirmation envoi commande sortie emploi général 2 |
| P610-texte | Texte du message SMS de confirmation envoi commande sortie emploi général 3 |
| P615-texte | Texte du message SMS de confirmation envoi commande sortie emploi général 4 |
| P620-texte | Texte du message SMS de confirmation envoi commande sortie emploi général 5 |
| P625-texte | Texte du message SMS de confirmation envoi commande sortie emploi général 6 |
| P630-texte | Texte du message SMS de confirmation envoi commande sortie emploi général 7 |
| P635-texte | Texte du message SMS de confirmation envoi commande sortie emploi général 8 |
| P640-texte | Texte du message SMS de confirmation envoi objet 8 bit 1 |
| P645-texte | Texte du message SMS de confirmation envoi objet 8 bit 2 |
| P650-texte | Texte du message SMS de confirmation envoi objet 8 bit 3 |
| P655-texte | Texte du message SMS de confirmation envoi objet 8 bit 4 |
| P660-texte | Texte du message SMS de confirmation envoi objet 16 bit 1 |
| P665-texte | Texte du message SMS de confirmation envoi objet 16 bit 2 |
REMARQUE: Le caractère ∅ représente le chiffre zéro.
CONFIGURATION DE LA RÉGULATION THERMIQUE KNX
| Commande Description | |
| P730-texte | Dénomination du dispositif de régulation thermique KNX EIB connecté |
REMARQUE : Le caractère ∅ représente le chiffre zéro.
DEMANDE DE CONFIGURATION
| Commande Description | |
| R200 Envoyer SMS avec | les programmations générales |
| R220 Inutilisé | |
| R400 Envoyer SMS avec | les programmations des entrées KNX à 1 bit (de 1 à 4) |
| R420 Envoyer SMS avec | les programmations des entrées KNX à 1 bit (de 5 à 8) |
| R440 Envoyer SMS avec | les programmations des entrées KNX à 1 bit (de 9 à 12) |
| R460 Envoyer SMS avec | les programmations des entrées KNX à 1 bit (de 13 à 16) |
| R480 Envoyer SMS avec | les programmations des entrées KNX à 8 bit |
| R500 Envoyer SMS avec | les programmations des entrées KNX à 16 bit |
| R600 Envoyer SMS avec | les programmations des sorties KNX |
| R700 Envoyer SMS avec | les programmations de la régulation thermique |
REMARQUE : Le caractère ∅ représente le chiffre zéro.
Essai
A la fin de l'installation et de la configuration du dispositif de contrôle à distance, essayer les principales fonctions implémentées, pour vérifier que le dispositif de contrôle à distance fonctionne correctement.
Gestion à distance via SMS
Les commandes pour interagir à distance, via SMS, avec les différentes entrées, sorties et systèmes connectés sont énumérées sur les tableaux qui suivent.
La commande qui est envoyée sur le bus à la réception du SMS dépend de la configuration ETS du canal de sortie comme décrite au paragraphe Fonctions.
COMMANDES SORTIES D'EMPLOI GÉNÉRAL
| Commande Description | |
| COE01-1 Sortie | 1 : MARCHE / Active forçage / Active scénario B / Volet BAS |
| COE01-0 Sortie | 1 : ARRET / Désactive forçage / Active scénario A / Volet HAUT |
| COE01-2 Sortie | 1 : Apprentissage scénario A |
| COE01-3 Sortie | 1 : Apprentissage scénario B |
| COE02-1 Sortie | 2 : MARCHE / Active forçage / Active scénario B / Volet BAS |
| COE02-0 Sortie | 2 : ARRET / Désactive forçage / Active scénario A / Volet HAUT |
| COE02-2 Sortie | 2 : Apprentissage scénario A |
| COE02-3 Sortie | 2 : Apprentissage scénario B |
| COE03-1 Sortie | 3 : MARCHE / Active forçage / Active scénario B / Volet BAS |
| COE03-0 Sortie | 3 : ARRET / Désactive forçage / Active scénario A / Volet HAUT |
| COE03-2 Sortie | 3 : Apprentissage scénario A |
| COE03-3 Sortie | 3 : Apprentissage scénario B |
| COE04-1 Sortie | 4 : MARCHE / Active forçage / Active scénario B / Volet BAS |
| COE04-0 Sortie | 4 : ARRET / Désactive forçage / Active scénario A / Volet HAUT |
| COE04-2 Sortie | 4 : Apprentissage scénario A |
| COE04-3 Sortie | 4 : Apprentissage scénario B |
| COE05-1 Sortie | 5 : MARCHE / Active forçage / Active scénario B / Volet BAS |
| COE05-0 Sortie | 5 : ARRET / Désactive forçage / Active scénario A / Volet HAUT |
| COE05-2 Sortie | 5 : Apprentissage scénario A |
| COE05-3 Sortie | 5 : Apprentissage scénario B |
| COE06-1 Sortie | 6 : MARCHE / Active forçage / Active scénario B / Volet BAS |
| COE06-0 Sortie | 6 : ARRET / Désactive forçage / Active scénario A / Volet HAUT |
| COE06-2 Sortie | 6 : Apprentissage scénario A |
| COE06-3 Sortie | 6 : Apprentissage scénario B |
| COE07-1 Sortie | 7 : MARCHE / Active forçage / Active scénario B / Volet BAS |
| COE07-0 Sortie | 7 : ARRET / Désactive forçage / Active scénario A / Volet HAUT |
| COE07-2 Sortie | 7 : Apprentissage scénario A |
| COE07-3 Sortie | 7 : Apprentissage scénario B |
| COE08-1 Sortie | 8 : MARCHE / Active forçage / Active scénario B / Volet BAS |
| COE08-0 Sortie | 8 : ARRET / Désactive forçage / Active scénario A / Volet HAUT |
| COE08-2 Sortie | 8 : Apprentissage scénario A |
| COE08-3 Sortie | 8 : Apprentissage scénario B |
REMARQUE : Le caractère ∅ représente le chiffre zéro.
COMMANDES ANTIVOL
Les sorties d'emploi général de 1 à 5 peuvent être configurées pour la commande de l'antivol. Il est possible d'envoyer les commandes suivantes :
| Commande Description | |
| COE01-0 Débranchement antivol | |
| COE01-1 Branchement total antivol | |
| COE02-1 Branchement partiel 1 antivol | |
| COE03-1 Branchement partiel 2 antivol | |
| COE04-0 | Demande état activation branchement |
| COE04-1 | Demande état activation branchement |
| COE05-0 | Demande état alarme |
| COE05-1 | Demande état alarme |
REMARQUE : Le caractère ∅ représente le chiffre zéro.
COMMANDES SORTIES À 8 BIT
| Commande Description |
| CVE01-1 Objet 8 bit 1: envoi de valeur 1 |
| CVE01-2 Objet 8 bit 1: envoi de valeur 2 |
| CVE02-1 Objet 8 bit 2: envoi de valeur 1 |
| CVE02-2 Objet 8 bit 2: envoi de valeur 2 |
| CVE03-1 Objet 8 bit 3: envoi de valeur 1 |
| CVE03-2 Objet 8 bit 3: envoi de valeur 2 |
| CVE04-1 Objet 8 bit 4: envoi de valeur 1 |
| CVE04-2 Objet 8 bit 4: envoi de valeur 2 |
REMARQUE : Le caractère ∅ représente le chiffre zéro.
COMMANDES SORTIES À 16 BIT
| Commande Description |
| CVE05-1 Objet 16 bit 1: envoi de valeur 1 |
| CVE05-2 Objet 16 bit 1: envoi de valeur 2 |
| CVE06-1 Objet 16 bit 2: envoi de valeur 1 |
| CVE06-2 Objet 16 bit 2: envoi de valeur 2 |
REMARQUE : Le caractère ∅ représente le chiffre zéro.
REMARQUE : Le caractère ∅ représente le chiffre zéro.
Pour programmer la valeur de température utiliser la virgule pour séparer les chiffres décimaux, par exemple 21,5 ou bien 18,2.
COMMANDES DE DEMANDE D'ÉTAT
| Commande Description | |
| SGE00-0 Demande d’état pour | toutes les entrées KNX et les dispositifs gérés |
| SGE00-1 Demande d’état pour | les entrées KNX |
| SGE00-2 Demande d’état pour | les dispositifs pour la régulation thermique |
| SGE00-3 Demande d’état pour | l’installation antivol |
REMARQUE : Le caractère ∅ représente le chiffre zéro.
Indications locales
Sur le devant du dispositif de contrôle à distance se trouvent 2 LED pour signaler l'état de fonctionnement du dispositif et 1 LED rouge de programmation
LED verte pour signaler l'état du dispositif
| LED allumée fixe aucune anomalie |
| LED clignotante • configuration du dispositif en cours• anomalie (SIM pas prête, SIM protégée par code PIN...) |
LED signalisation de l'état du module GSM
| LED allumée (verte) réseau GSM présent |
| LED allumée (rouge) réseau GSM absent |
| LED allumée (jaune) élaboration d’un SMS reçu |
Fonctionnement en cas de black out
En cas de black-out, le dispositif de contrôle à distance envoie un SMS pour signaler l'absence de tension de réseau, et en envoie un autre quand il retourne pour en signaler le rétablissement.
Nettoyage du dispositif de contrôle à distance
Pour l'éventuel nettoyage, utiliser un chiffon sec.
Remplacement des piles
Les piles de back-up n'ont pas besoin d'être remplacées. Au cas où il serait nécessaire de les remplacer, voir le paragraphe Insertion des piles. Les nouvelles piles rechargeables doivent être du type NiMh, format AAA.

ATTENTION
- Le remplacement des piles doit être fait exclusivement par l'installateur, après avoir coupé la tension de secteur. L'interruption de l'alimentation de secteur efface aussi la signalisation « REMPLACER BATTERIES ».
- Remplacer en même temps les 3 piles.
- Ne pas utiliser ensemble des piles vieilles et des piles neuves.
- Utiliser des piles du même type (ne pas mélanger des piles ayant des capacités différentes).
- Ne pas jeter les piles au feu.

- Les piles sont des déchets spéciaux, dont l'élimination est réglementée par des prédispositions légales précises, et elles doivent être apportées dans les centres de collecte prévus à cet effet.
Recharge SIM
Au cas où l'on utilise une SIM prépayée, il faut garantir qu'il y ait toujours un crédit suffisant pour que le dispositif de contrôle à distance puisse envoyer des messages d'alarme et de réponse.
Pour le rechargement, le contrôle du crédit restant, et pour éventuellement activer le service d'auto-rechargement, suivre les procédures adoptées par le gestionnaire de téléphonie mobile préchoisi.
DONNÉES TECHNIQUES
Communication à distance Par réseau GSM
Éléments de communication 1 module GSM quadband
Alimentation 230 Vca + 3 piles rechargeables NiMh AAA de backup
(capacité conseillée 800 mAh ou plus)
Puissance absorbée 2 W
Absorption du courant par le bus 1,5 mA
Éléments de commande 1 touche miniature de programmation de l'adresse physique
Eléments d'affichage
1 LED multifonctions rouge/vert/jaune pour la signalisation de l'état du module GSM
1 LED verte pour signaler l'état du dispositif
1 LED rouge de programmation adresse physique
Milieu d'utilisation
Température de fonctionnement
Température de stockage
Humidité relative
Connexion PC
Connexion au bus
Connexions électriques
Degré de protection
Dimension
Normes de référence
A l'intérieur, lieux secs
-5 ÷ +45 °C
-25 ÷ +70 °C
1 Port USB du type B
borne à fiche, 2 pin ∅ 1 mm
Bornes à vis, section max. câbles : 2,5 mm²
IP20
6 modules DIN
Directive basse tension 72/23/CE
Directives compatibilité électromagnétique 89/336/CEE EN50428, EN50090
ETSI EN301 489-7, ETSI EN301 511
Valeurs préréglées
Activation fonction message copie = aucun dispositif connecté
REMARQUE : Le caractère ∅ représente le chiffre zéro.
OPTIONS DE BASE
| Texte de confirmation commande sorties EXECUTE | |
| Texte de notification absence d'alimentation ABSENCE TENSION 230V | |
| Texte de notification rétablissement de l'alimentation RESEAU 230V OK | |
| Texte de demande de remplacement des piles REMPLACER BATTERIES |
SIM
| Mot de passe (4 caractères alphanumériques) 0000 |
REMARQUE : Le caractère ∅ représente le chiffre zéro.
ENTRÉES KNX À 1 BIT
| Entrée 1 : Texte du message SMS pour réception « MARCHE » INP_KNX_1=MARCHE |
| Entrée 1 : Texte du message SMS pour réception « ARRET » INP_KNX_1=ARRET |
| Entrée 2 : Texte du message SMS pour réception « MARCHE » INP_KNX_2=MARCHE |
| Entrée 2 : Texte du message SMS pour réception « ARRET » INP_KNX_2=ARRET |
| Entrée 3 : Texte du message SMS pour réception « MARCHE » INP_KNX_3=MARCHE |
| Entrée 3 : Texte du message SMS pour réception « ARRET » INP_KNX_3=ARRET |
| Entrée 4 : Texte du message SMS pour réception « MARCHE » INP_KNX_4=MARCHE |
| Entrée 4 : Texte du message SMS pour réception « ARRET » INP_KNX_4=ARRET |
| Entrée 5 : Texte du message SMS pour réception « MARCHE » INP_KNX_5=MARCHE |
| Entrée 5 : Texte du message SMS pour réception « ARRET » INP_KNX_5=ARRET |
| Entrée 6 : Texte du message SMS pour réception « MARCHE » INP_KNX_6=MARCHE |
| Entrée 6 : Texte du message SMS pour réception « ARRET » INP_KNX_6=ARRET |
| Entrée 7 : Texte du message SMS pour réception « MARCHE » INP_KNX_7=MARCHE |
| Entrée 7 : Texte du message SMS pour réception « ARRET » INP_KNX_7=ARRET |
| Entrée 8 : Texte du message SMS pour réception « MARCHE » INP_KNX_8=MARCHE |
| Entrée 8 : Texte du message SMS pour réception « ARRET » INP_KNX_8=ARRET |
| Entrée 9 : Texte du message SMS pour réception « MARCHE » INP_KNX_9=MARCHE |
| Entrée 9 : Texte du message SMS pour réception « ARRET » INP_KNX_9=ARRET |
| Entrée 10 : Texte du message SMS pour réception « MARCHE » INP_KNX_10=MARCHE |
| Entrée 10 : Texte du message SMS pour réception « ARRET » INP_KNX_10=ARRET |
| Entrée 11 : Texte du message SMS pour réception « MARCHE » INP_KNX_11=MARCHE |
| Entrée 11 : Texte du message SMS pour réception « ARRET » INP_KNX_11=ARRET |
| Entrée 12 : Texte du message SMS pour réception « MARCHE » INP_KNX_12=MARCHE |
| Entrée 12 : Texte du message SMS pour réception « ARRET » INP_KNX_12=ARRET |
| Entrée 13 : Texte du message SMS pour réception « MARCHE » INP_KNX_13=MARCHE |
| Entrée 13 : Texte du message SMS pour réception « ARRET » INP_KNX_13=ARRET |
| Entrée 14 : Texte du message SMS pour réception « MARCHE » INP_KNX_14=MARCHE |
| Entrée 14 : Texte du message SMS pour réception « ARRET » INP_KNX_14=ARRET |
| Entrée 15 : Texte du message SMS pour réception « MARCHE » INP_KNX_15=MARCHE |
| Entrée 15 : Texte du message SMS pour réception « ARRET » INP_KNX_15=ARRET |
| Entrée 16 : Texte du message SMS pour réception « MARCHE » INP_KNX_16=MARCHE |
| Entrée 16 : Texte du message SMS pour réception « ARRET » INP_KNX_16=ARRET |
REMARQUE : Le caractère ∅ représente le chiffre zéro.
ENTRÉES KNX À 8 BIT
| Entrée 1 : Texte du message SMS pour réception valeur INP_VAL8_KNK_1 | |
| Entrée 2 : Texte du message SMS pour réception valeur INP_VAL8_KNK_2 | |
| Entrée 3 : Texte du message SMS pour réception valeur INP_VAL8_KNK_3 | |
| Entrée 4 : Texte du message SMS pour réception valeur INP_VAL8_KNK_4 |
ENTRÉES KNX À 16 BIT
| Entrée 1 : Texte du message SMS pour réception valeur INP_VAL16_KNK_1 | |
| Entrée 2 : Texte du message SMS pour réception valeur INP_VAL16_KNK_2 |
DONNÉES TECHNIQUES
SORTIES GÉNÉRALES
| Texte du message SMS de confirmation exécution commande sur la sortie 1 OU | T_KNK_1 |
| Texte du message SMS de confirmation exécution commande sur la sortie 2 OU | T_KNK_2 |
| Texte du message SMS de confirmation exécution commande sur la sortie 3 OU | T_KNK_3 |
| Texte du message SMS de confirmation exécution commande sur la sortie 4 OU | T_KNK_4 |
| Texte du message SMS de confirmation exécution commande sur la sortie 5 OU | T_KNK_5 |
| Texte du message SMS de confirmation exécution commande sur la sortie 6 OU | T_KNK_6 |
| Texte du message SMS de confirmation exécution commande sur la sortie 7 OU | T_KNK_7 |
| Texte du message SMS de confirmation exécution commande sur la sortie 8 OU | T_KNK_8 |
SORTIES À 8 BIT
| Texte du message SMS de confirmation exécution commande sur la sortie 1 OUT | T_VAL8_KNK_1 |
| Texte du message SMS de confirmation exécution commande sur la sortie 2 OUT | T_VAL8_KNK_2 |
| Texte du message SMS de confirmation exécution commande sur la sortie 3 OUT | T_VAL8_KNK_3 |
| Texte du message SMS de confirmation exécution commande sur la sortie 4 OUT | T_VAL8_KNK_4 |
SORTIES À 16 BIT
| Texte du message SMS de confirmation exécution commande sur la sortie 1 OUT_VAL16_KNK_1 |
| Texte du message SMS de confirmation exécution commande sur la sortie 2 OUT_VAL16_KNK_2 |
RÉGULATIONS THERMIQUES
| Dénomination du dispositif de régulation thermique KNX EIB connecté CHRONOTHERMOSTAT |
ÍNDICE
Format de SMS à envoyer
.mot de passe.commande.
Pour envoyer plusieurs commandes, il faut les mettre l'une après l'autre, avec un point de séparation.
.mot de passe.commande1.commande2.commande3.
Attention : tous les SMS doivent commencer et se terminer par un point (« . »).
Remarque : Sur les tableaux le caractère ∅ représente le chiffre zéro.
Commandes SMS
| P200-1 Envoie copie des messages aussi sur le numéro de téléphone par défaut | |
| P200-0 | N'envoie pas copie des mess. aussi sur le numéro de téléphone par défaut |
| P403-téléphone | Numéro de téléphone auquel sont envoyés les SMS de l'entrée 1 à 1 bit |
| P408-téléphone | Numéro de téléphone auquel sont envoyés les SMS de l'entrée 2 à 1 bit |
| P413-téléphone | Numéro de téléphone auquel sont envoyés les SMS de l'entrée 3 à 1 bit |
| P418-téléphone | Numéro de téléphone auquel sont envoyés les SMS de l'entrée 4 à 1 bit |
| P423-téléphone | Numéro de téléphone auquel sont envoyés les SMS de l'entrée 5 à 1 bit |
| P428-téléphone | Numéro de téléphone auquel sont envoyés les SMS de l'entrée 6 à 1 bit |
| P433-téléphone | Numéro de téléphone auquel sont envoyés les SMS de l'entrée 7 à 1 bit |
| P438-téléphone | Numéro de téléphone auquel sont envoyés les SMS de l'entrée 8 à 1 bit |
| P443-téléphone | Numéro de téléphone auquel sont envoyés les SMS de l'entrée 9 à 1 bit |
| P448-téléphone | Numéro de téléphone auquel sont envoyés les SMS de l'entrée 10 à 1 bit |
| P453-téléphone | Numéro de téléphone auquel sont envoyés les SMS de l'entrée 11 à 1 bit |

text_image
Remotrizzature GSM EIB Easy GSM 80001 www.nmtpaDécouper et replier en quatre le présent guide, pour pouvoir avoir toujours avec soi la liste des commandes les plus utilisées.
GUIDE RAPIDE
Gw 90815 Système de contrôle a distance GSM EIB

text_image
GEMED Chorus| Comma de Description | Commande | Descrition | Comma ndes pour chronotérmostats ou thermostats KXK | Programmations via SMS (continuation) | ||
| CEC01-H Programme le type de fonctionnement CHAUFFACE | CEC01-C Programme le type de fonctionnement CLIMATTISATION | CEC01-O Programme la modaïte ARRET | CEC01-1 Programme la modaïte ECONOMIE | |||
| CEC01-2 Programme la modaïte ECONOMIE | CEC01-3 Programme la modaïte CONOFT | CEC01-2 Programme la modaïte AUTO | CEC01-3 Programme la modaïte AUETO | |||
| CEC01-A Programme la modaïte CONOFT | CEC01-2 Programme la modaïte AUTO | CEC01-3 Programme la modaïte AUETO | CEC01-2 Programme la modaïte AUTO | |||
| CEC02-0 Programme set point ahiqel | CEC02-1 Programme set point ECONOMIE (chaufage) | CEC02-3 Programme set point ECONOFT (chaufage) | CEC02-2 Programme set point PECOONORT (chaufage) | CEC02-3 Programme set point ECONOMIE (climatisation) | CEC03-2 Programme set point PECOONORT (climatisation) | |
| CEC03-0 Programme set point Protection hautes temperatures | CEC03-1 Programme set point ECONOMIE (climatisation) | CEC03-2 Programme set point PECOONORT (climatisation) | CEC03-3 Programme set point ECONOMIE (climatisation) | CEC03-4 Programme set point ECONOMIE (climatisation) | CEC03-5 Programme set point ECONOMIE (climatisation) | |
| CEC02-3 Programme set point CONOFT (chaufage) | CEC02-2 Programme set point PECOONORT (chaufage) | CEC02-3 Programme set point ECONOMIE (chaufage) | CEC02-1 Programme set point Protection hautes temperatures | CEC02-2 Programme set point ECONOMIE (chaufage) | CEC03-1 Programme set point ECONOMIE (climatisation) | |
| CEC03-0 Programme set point ECONOMIE (chaufage) | CEC03-1 Programme set point Protection hautes temperatures | CEC03-2 Programme set point PECOONORT (climatisation) | CEC03-3 Programme set point CONOFT (climatisation) | CEC03-4 Programme set point ECONOMIE (climatisation) | CEC03-5 Programme set point CONOFT (climatisation) | |
| CEC02-1 Programme set point PECOONORT (a/violet HAUT) | CEC02-2 Programme set point PECOONORT (chaufage) | CEC02-3 Programme set point CONOFT (chaufage) | CEC02-1 Programme set point ECONOMIE (a/violet HAUT) | CEC02-1 - Banchement local aniovl | CEC02-1 - Banchement local aniovl | |
| CEC02-1 Programme branchement patité 1 aniovl | CEC02-1 - Banchement patité 2 aniovl | CEC02-1 - Banchement patité 2 aniovl | CEC02-1 - Décanchement aniovl | CEC02-1 - Décanchement aniovl | CEC02-1 - Décanchement aniovl | |
| CEC02-1 Programme activation branchement | CEC02-1 - Décanchement branchement | CEC02-1 - Décanchement branchement | CEC02-1 - Décanchement branchement | CEC02-1 - Décanchement branchement | CEC02-1 - Décanchement branchement | |
| CEC02-0 Programme branchement | CEC02-0 - Décanchement branchement | CEC02-0 - Décanchement branchement | CEC02-0 - Décanchement branchement | CEC02-0 - Décanchement branchement | CEC02-0 - Décanchement branchement | |
| CEC02-1 Programme activation branchement | CEC02-1 - Décanchement branchement | CEC02-1 - Décanchement branchement | CEC02-1 - Décanchement branchement | CEC02-1 - Décanchement branchement | CEC02-1 - Décanchement branchement | |
| CEC02-1 Programme activation branchement | CEC02-1 - Décanchement branchement | CEC02-1 - Décanchement branchement | CEC02-1 - Décanchement branchement | CEC02-1 - Décanchement branchement | CEC02-1 - Décanchement branchement | |
| CEC02-1 - Décanchement branchement | CEC02-1 - Décanchement branchement | CEC02-1 - Décanchement branchement | CEC02-1 - Décanchement branchement | CEC02-1 - Décanchement branchement | CEC02-1 - Décanchement branchement | |
| CEC02-1 - Décanchement branchement | CEC02-1 - Décanchement branchement | CEC02-1 - Décanchement branchement | CEC02-1 - Décanchement branchement | CEC02-1 - Décanchement branchement | CEC02-1 - Décanchement branchement | |
| CEC1-0 Programme activation branchement | CEC1-0 - Décanchement branchement | CEC1-0 - Décanchement branchement | CEC1-0 - Décanchement branchement | CEC1-0 - Décanchement branchement | CEC1-0 - Décanchement branchement | |
| CEC01-1 Programme activation branchement | CEC01-1 - Décanchement branchement | CEC01-1 - Décanchement branchement | CEC01-1 - Décanchement branchement | CEC01-1 - Décanchement branchement | CEC01-1 - Décanchement branchement | |
| CEC02-1 Programme activation branchement | CEC02-1 - Décanchement branchement | CEC02-1 - Décanchement branchement | CEC02-1 - Décanchement branchement | CEC02-1 - Décanchement branchement | CEC02-1 - Décanchement branchement | |
| CEC02-1 Programme activation branchement | CEC02-1 - Décanchement branchement | CEC02-1 - Décanchement branchement | CEC02-1 - Décanchement branchement | CEC02-1 - Décanchement branchement | CEC02-1 - Décanchement branchements | |
| CEC02-1 Programme activation branchement | CEC02-1 - Décanchement branchement | CEC02-1 - Décanchement branchement | CEC02-1 - Décanchement branchement | CEC02-1 - Décanchement branchement | CEC02-1 - Décanchement branchements | |
| CEC02-1 - Décanchement branchement | CEC02-1 - Décanchement branchement | CEC02-1 - Décanchement branchement | CEC02-1 - Décanchement branchement | CEC02-1 - Décanchement branchement | CEC02-1 - Décanchement branchements | |
| CEC02-1 - Décanchement branchement | CEC02 - Décanchement branchement | CEC02-1 - Décanchement branchement | CEC02-1 - Décanchement branchement | CEC02-1 - Décanchement branchement | CEC02-1 - Décanchement branchements | |
| CEC02-1 - Décanchement branchement | CEC02-1 - Décanchement brancement | CEC02-1 - Décanchement brancement | CEC02-1 - Décanchement brancement | CEC02-1 - Décanchement brancement | CEC02-1 - Décanchement brancements | |
| CEC02-1 - Décanchement brancement | CEC02-1 - Décanchement brancement | CEC02-1 - Décanchement brancement | CEC02-1 - Décanchement brancement | CEC02-1 - Décanchement brancement | CEC02-1 - Décanchement brancements | |
| CEC02-1 - Décanchement brancement | CEC02 - Décanchement brancement | CEC02-1 - Décanchement brancement | CEC02-1 - Décanchement brancement | CEC02-1 - Décanchement brancement | CEC02-1 - Décanchement brancements | |
| CEC02-1 - Décanchement brancement | CEC02-1 - Décanchement branzement | CEC02-1 - Décanchement branzement | CEC02-1 - Décanchement branzement | CEC02-1 - Décanchement branzement | CEC02-1 - Décanchement branzements | |
| CEC02-1 - Décanchement branzement | CEC02-1 - Décanchement branzement | CEC02-1 - Décanchement branzement | CEC02-1 - Décanchement branzement | CEC02-1 - Décanchement branzement | CEC02-1 - Décanchement branzements | |
| CEC02-1 - Décanchement branzement | CEC02 - Décanchement branzement | CEC02-1 - Décanchement branzement | CEC02-1 - Décanchement branzement | CEC02-1 - Décanchement branzement | CEC02-1 - Décanchement branzements | |
| CEC02-1 - Décanchement branzement | CEC02 - Décanchement branzement | |||||
Notice Facile