APEX XTX (2011) - Motoneige YAMAHA - Notice d'utilisation et mode d'emploi gratuit
Retrouvez gratuitement la notice de l'appareil APEX XTX (2011) YAMAHA au format PDF.
| Caractéristiques techniques | Type de moteur : 4 temps, cylindrée : 1049 cm³, puissance : 130 ch, transmission : CVT, système de refroidissement : liquide |
|---|---|
| Dimensions | Longueur : 3 080 mm, largeur : 1 200 mm, hauteur : 1 200 mm, poids : 270 kg |
| Capacité du réservoir | Réservoir de carburant : 40 litres, réservoir d'huile : 3,5 litres |
| Utilisation | Conçue pour la randonnée et les performances sur neige, adaptée aux conditions hivernales extrêmes |
| Maintenance et réparation | Entretien régulier recommandé tous les 1 000 km, vérification des bougies, filtres et huile moteur |
| Sécurité | Équipement standard : freins à disque, éclairage LED, système de sécurité antidémarrage |
| Informations générales | Garantie constructeur : 2 ans, disponibilité des pièces de rechange : bonne, communauté d'utilisateurs active pour conseils et assistance |
FOIRE AUX QUESTIONS - APEX XTX (2011) YAMAHA
Questions des utilisateurs sur APEX XTX (2011) YAMAHA
0 question sur cet appareil. Repondez a celles que vous connaissez ou posez la votre.
Poser une nouvelle question sur cet appareil
Téléchargez la notice de votre Motoneige au format PDF gratuitement ! Retrouvez votre notice APEX XTX (2011) - YAMAHA et reprennez votre appareil électronique en main. Sur cette page sont publiés tous les documents nécessaires à l'utilisation de votre appareil APEX XTX (2011) de la marque YAMAHA.
MODE D'EMPLOI APEX XTX (2011) YAMAHA
F Il convient de lire attentivement ce manuel avant la première utilisation du véhicule.
Il convient de lire attentive- nt ce manuel avant la première isation du véhicule.

text_image
APEXRX10PA
RX10PSA
RX10PXTA

Il convient de lire attentivement ce manuel avant la première utilisation du icule. Le manuel doit être remis avec le véhicule en cas de vente de ce der-
Déclaration de conformité CE
Conformément aux Directives 2006/42/CE
Nous, la YAMAHA MOTOR CO., LTD. 2500 Shingai, Iwata, Japon, déclarons sous notre seule responsabilité, que le produit
RX10GT2 (RX10PS) (JYE8JC00*BA000001-)
RX10ST2 (RX10PXT) (JYE8HN00*BA000001-)
(Marque, modèle)
faisant l'objet de cette déclaration, est conforme aux prescriptions fondamentales en matière de santé et aux prescriptions en matière de sécurité des Directives 2006/42/CE
(Le cas échéant)
ainsi qu'aux prescriptions des autres Directives de la CEE établies dans ce domaine :
2004/108/CE
(Titre et/ou numéro et date de promulgation d'autres directives CEE)
(Le cas échéant)
Pour mettre en pratique dans les règles les prescriptions en matière de sécurité et de santé stipulées dans les Directives de la CEE, il a été tenu compte des normes et/ou des caractéristiques techniques suivantes :
(Titre et/ou numéro et date d'établissement de normes et/ou de caractéristiques)
Délégué autorisé
YAMAHA MOTOR EUROPE N.V.
Koolhovenlaan 101, 1119 NC Schiphol-Rijk, Pays-Bas
Signature
S.5Shimada
Shinya Shimada
Directeur général
Date de délivrance 17 décembre, 2009
FSU10131
Nous remercions le propriétaire pour son achat d'une motoneige Yamaha. Ce modèle de qualité représente le fruit de nombreuses années d'expérience dans la production de motoneiges de sport et de randonnée. Le nouveau propriétaire pourra apprécier pleinement la perfection technique et la fiabilité qui ont fait de Yamaha un leader dans ce domaine.
Ce manuel contient la description du fonctionnement de cette motoneige, ainsi que les instructions pour son entretien de base et les points de contrôle à effectuer. Au moindre doute concernant le fonctionnement ou l'entretien de la motoneige, ne pas hésiter à consulter un concessionnaire Yamaha.
Yamaha travaille constamment au perfectionnement de la conception et de la qualité de sa gamme de produits. Par conséquent, bien que ce manuel contienne les informations les plus récentes disponibles au moment de la mise sous presse, il peut ne pas refléter de petites modifications apportées ultérieurement à ce modèle. Au moindre doute concernant une information de ce manuel, il convient de consulter un concessionnaire Yamaha.
FWS00670
AVERTISSEMENT
Il convient de lire attentivement ce manuel avant l'utilisation de la motoneige. Ne pas utiliser cette motoneige avant de s'être bien familiarisé avec ses commandes et ses particularités.
Un contrôle régulier, un entretien soigneux ainsi que de bonnes techniques de conduite permettront de pleinement jouir des capacités de cette motoneige et cela en toute sécurité.
RX10PA
RX10PSA
RX10PXTA
MANUEL DU PROPRIÉTAIRE
©2010 par Yamaha Motor Co., Ltd.
1 ^re édition, mai 2010
Tous droits réservés
Toute réimpression ou utilisation
non autorisée sans la permission écrite
de la Yamaha Motor Co., Ltd.
est formellement interdite.
Imprimé au Japon
FSU10151
Les informations particulièrement importantes sont repérées par les notations suivantes.
Il s'agit du symbole de danger. Il est destiné à alerter d'un danger potentiel de blessures. Se conformer à toutes les instructions de sécurité suivant ce symbole afin d'éviter tout risque de blessures, voire de mort.
FWS00021
AVERTISSEMENT
Un AVERTISSEMENT signale une situation dangereuse qui, si elle n'est pas évitée, peut provoquer des blessures graves, voire la mort.
FCS00011
ATTENTION
La mention ATTENTION indique les précautions particulières à prendre pour éviter d'endommager la motoneige ou d'autres biens.
N.B.
Un N.B. fournit les renseignements nécessaires à la clarification et la simplification des divers travaux.
Emplacement des étiquettes de renseignements importants .....1
Consignes de sécurité .... 15
Description 18
Fonctions des commandes......20
Contacteur à clé 20
Levier des gaz 20
Système d'arrêt du moteur prioritaire T.O.R.S. 20
Bloc de compteurs multifonctions ...... 21
Témoin de feu de route 24
Témoin de température basse du liquide de refroidissement ..... 25
Afficheur du niveau du carburant et indicateur de chaleur des poignées chauffantes et du chauffe-pouce 25
Indicateur d'alerte du niveau de carburant 27
Indicateur d'alerte de niveau/ pression d'huile 27
Indicateur d'alerte de température du liquide de refroidissement .... 28
Indicateur d'alerte de direction assistée "EPS" 28
Dispositif embarqué de diagnostic de pannes 29
Bouton coupe-circuit du moteur ... 29
Commutateur d'éclairage "LIGHTS" 29
Bouton de réglage des poignées chauffantes et du chauffe-pouce 30
Prise pour accessoire CC ..... 30
Prise de visière chauffante (CANADA) 31
Levier de frein 31
Levier de frein de stationnement 32
Sélecteur 32
Carter de protection de la courroie .... 33
Porte-courroie 34
Compartiment de rangement ..... 35
Carburant 35
Suspension 37
Système EXUP 47
Contrôles avant utilisation...... 48
Points à contrôler avant chaque utilisation 48
Conduite 50
Mise en marche du moteur ..... 50
Rodage 51
Conduite de la motoneige ..... 51
Optimisation de la durée de service de la chenille 55
Conduite 56
Arrêt du moteur 57
Transport 58
Entretiens et réglages
périodiques.... 59
Entretiens périodiques du système antipollution 59
Tableau des entretiens et graissages périodiques .... 61
Trousse de réparation 64
Dépose et repose du capot et des caches 64
Contrôle des bougies 67
Réglage de la garde du levier des gaz 68
Contrôle du système d'arrêt du moteur prioritaire T.O.R.S. ..... 69
Contrôle du filtre à air 70
Réglages de haute altitude ..... 71
Jeu des soupapes 72
Huile moteur et cartouche du filtre à huile 72
Circuit de refroidissement 76
Courroie trapézoïdale 78
Carter de chaîne de transmission 81
Frein et frein de stationnement .... 82
Pignon menant à glissement réduit 85
Skis et lisses de ski 85
Direction 86
Chenille et glissières 87
Lubrification 91
Remplacement d'une ampoule de phare 92
Réglage du faisceau des phares 94
Visserie 95
Batterie 95
Remplacement d'un fusible ..... 96
Diagnostic de pannes .....99
Remisage 104
Caractéristiques ....106
Renseignements
complémentaires...... 109
Numéros d'identification ..... 109
Étiquette de renseignements relatifs au système antipollution du véhicule (CANADA) ..... 110
GARANTIE.... 110
Emplacement des étiquettes de renseignements importants
FSU12678
Lire attentivement et veiller à comprendre toutes les étiquettes apposées sur le véhicule. Elles contiennent des informations importantes pour la sécurité et le bon fonctionnement du véhicule. Ne jamais décoller d'étiquette apposée sur le véhicule. Si une étiquette devient difficile à lire ou se décolle, s'adresser à un concessionnaire Yamaha qui en fournira une autre.
CANADA

text_image
1 2 3 4 5 6 7 8RX10P/RX10PS

text_image
9 11 12 1310 14RX10PXT

text_image
9 11 12 1310 141
WARNING
- Avant d'utiliser ce véhicule, lire le manuel du propriétaire et toutes les étiquettes.
- Ce véhicule est une machine à haute performance.
Elle doit être conduite par un conducteur expérimenté. - Avant de démarrer le moteur, vérifier l'opération du frein, de l'accélérateur et de la direction.
- Le frein de sécurité doit être appliqué lors du démarrage. Ne pas rouler avec le frein de sécurité actionné.
- En cas d'urgence, utiliser l'interrupteur d'arrêt du moteur.
- Ne pas laisser tourner le moteur sans la courrole ou sans son garde.
• Sassurer que le bouchon du réservoir soit bien refermé après le remplissage. - Afin d'éviter tout risque de collision, ne pas rouler sur un chemin public.
- Ce véhicule est conçu pour un conducteur seul - aucun passager.
- Vérifier la position du levier (marche avant ou arrière) avant d'être en marche.
- Toujours porter un casque approuvé et un habillement de motoneigiste.
Prévoir une protection pour les yeux
8FR-77761-E0
2
- PREMIUM UNLEADED GASOLINE.
MIN. OCTANE (PUMP : 91 RON : 95)
• ESSENCE SUPER SANS PLOMB.
INDICE D'OCTANE MIN. (POMPE : 91 RON : 95)
8GC-2415E-E0
3
ATTENTION
- Eviter de nettoyer le pare-brise avec une solution alcaline
ou acide ainsi qu'avec de l'essence ou un diluant. - Utiliser un détergent neutre.
8ET-2815K-10
4
NOTICE
- Shift only with the machine stopped and the engine at idle speed.
- Pull the shift lever out, then slide it to the forward (FWD) or reverse (REV) position until it stops. Release the lever.
PASSAGE DES RAPPORTS - Ne changer de rapport que lorsque le véhicule est à l'arrêt et que le moteur tourne au ralenti.
- Tirer le sélecteur, puis le pousser à fond vers l'avant (position de marche avant "FWD") ou le tirer à fond vers l'arrière (position de marche arrière "REV"). Relâcher le sélecteur.

text_image
8FR-77763-E0 PULL
AUCUN PASSAGER OU MARCHANDISE SUR LE PROTECTEUR DE CHENILLE. Ce protecteur n'a pas été conçu pour supporter un poids. Il pourrait s'incurver ou se briser sous la charge. Tout objet ou personne placé à cet endroit pourrait bloquer la vue des feux d'arrêt/arrière et ainsi causer un accident.
SHA-77762-ED
10

Ce système d'allumage par étincelle de véhicule respecte toutes les exigences du Règlement sur le matériel brouilleur du Canada.
3JK-82377-10
11
CE MODÈLE A ÉTÉ ÉVALUÉ PAR UN LABORATOIRE D'ESSAIS INDEPENDANT ET SATISFAIT TOUTES LES NORMES DE SÉCURITE DU SSCC EN VIGUEUR À LA DATE DE FABRICATION. PARRAINE PAR LE COMITÉ DE SECURITE ET DE CERTIFICATION DE LA MOTONEIGE, INC.

text_image
CERTIFIED PRINTED IN U.S.A. SALADIS + SDC + NOVA HOTCHINI LING SUPPLY + NOVA CERTIFIÉ- Effectuer le branchement des câbles de démarrage conformément aux instructions du Manuel du propriétaire.
8FA-2389C-E0
RX10P/RX10PXT
13,14
WARNING
Cette unité contient de l'azote à haute pression.
Une mauvaise manipulation peut entraîner d'explosion.
- Voir le manuel d'utilisateur pour les instructions.
- Ne pas brûler ni perforer ni ouvrir.
4AA-22259-70
RX10PS
13
WARNING
Cette unité contient de l'azote à haute pression.
Une mauvaise manipulation peut entraîner d'explosion.
• Voir le manuel d'utilisateur pour les instructions.
- Ne pas brûler ni perforer ni ouvrir.
警告
• Your le manuel d'utilisateur pour les instructions. • Une mauvaise manipulation peut entraîner déposition. • Ceite unite contient de l'azote à haute pression.
AVERITISSEMENT
&JC-22259-00
EUROPE

text_image
1 2 3 4 5 6RX10PS

text_image
7 9 10 118 12RX10PXT

text_image
7 8 9 10 11 121

WARNING

VAROITUS
FÖR DIN SÄKERHET OCH UNDVIKANDE AV SKADA BER VI DIG IAKTTA FÖLJANDE:
Cette unité contient de l'azote à haute pression.
Une mauvaise manipulation peut entraîner d'explosion.
- Voir le manuel d'utilisateur pour les instructions.
- Ne pas brûler ni perforer ni ouvrir.
警告
高圧窒素ガス入りです。
取扱いを誤ると爆発する恐れがあります。
・取扱説明書をよく読んでください。
• Ne pas brûler ni perorer ni ouvirk.
• Your le manuel d'utilisateur pour les instructions.
Une mauvaise manipulation peut entraîner déposition.
Cette unité contient de Fazote a haute pression.
AVERTISSEMENT

BJC-22259-DD
RX10PXT
11,12

Se familiariser avec les pictogrammes suivants et lire le texte explicatif.
![]() | Lire le Manuel du propriétaire. |
![]() | Cette pièce contient de l’azote sous haute pression. Une mauvaise manipulation peut la faire exploser. Ne pas incinérer, perforer ni ouvrir. |
![]() | Ce pictogramme représente le poids de remorquage maximum (poids total du traîneau et de son chargement). Une surcharge peut provoquer une perte de contrôle. Une perte de contrôle peut entraîner des blessures graves, voire la mort. |
![]() | Ce pictogramme représente le poids en flèche maximum (poids sur la flèche d’attelage). Une surcharge peut provoquer une perte de contrôle. Une perte de contrôle peut entraîner des blessures graves, voire la mort. |
![]() | 1 Nom de modèle2 Puissance maximum3 Poids en ordre de marche |
![]() | 1 Année de construction |
Emplacement des étiquettes de renseignements importants
RUSSIE

text_image
1 2 3 4 5 6
text_image
7 108 9 11 12 131
A ОСТОРОЖНО
La responsabilité du fonctionnement correct et en toute sécurité de la motoneige incombe à son propriétaire. Il est indispensable de connaître les points suivants, et de les respecter, lors de la conduite de cette motoneige. Le non-respect des instructions suivantes peut entraîner des blessures graves, voire la mort.
Préalables à l'utilisation de la moto-neige
- Lire le Manuel du propriétaire et toutes les étiquettes. Bien se familiariser avec toutes les commandes et leurs fonctions. En cas de doute concernant une commande ou fonction, ne pas hésiter à contacter un concessionnaire Yamaha.
- Toujours porter une tenue de protection. Porter un casque homologué équipé d'une visière ou porter des lunettes. Porter également une bonne combinaison de motoneige et des bottes, ainsi qu'une paire de gants ou de moufles qui ne gênent pas la manipulation des commandes.

- Ne jamais consommer d'alcool, certains médicaments ou de la drogue avant ou pendant la conduite d'une motoneige. Ces substances réduisent la faculté de conduire.
Préparation de la motoneige
- Effectuer les contrôles avant utilisation à chaque utilisation du véhicule pour assurer son bon état de fonctionnement. Le manquement au contrôle et à l'entretien du véhicule augmente les risques de son endommagement, ainsi que les risques d'accident. La liste des contrôles à effectuer avant l'utilisation se trouve à la page 48.
- Toujours serrer le frein de stationnement avant de mettre le moteur en marche. Ne jamais oublier de le relâcher avant de démarrer. La surchauffe du disque de frein qu'un oubli provoquerait réduirait fortement la puissance de freinage.
Pendant la conduite de la motoneige
- Ce véhicule n'est pas conçu pour la circulation sur la voie publique. Une telle utilisation est non seulement interdite par la loi, mais présente un risque de collision avec un autre véhicule.
- Cette motoneige est conçue pour le transport du PILOTE UNIQUEMENT. Les passagers sont interdits. Un passager risque, en effet, de faire perdre le contrôle du véhicule.

- Choisir son parcours avec soin. La neige peut cacher des obstacles. Suivre les pistes existantes afin de minimiser les risques. Conduire particulièrement lentement et prudemment dès que l'on quitte une piste établie. Un accident pourrait se produire en
cas de heurt d'un rocher ou d'une souche, ou d'accrochage des skis à des fils métalliques.
- Cette motoneige est conçue exclusivement pour la conduite sur neige et sur glace. La conduite sur de la terre, du sable, de l'herbe, de la pierraille ou une chaussée déblayée risque de faire perdre le contrôle du véhicule ou d'endommager ce dernier.
- Ne jamais partir seul en randonnée. En effet, l'on pourrait tomber en panne ou à court de carburant ou être blessé dans un accident et avoir besoin d'aide.
- Sur certaines surfaces telles que de la glace et de la neige tassée, la distance de freinage est nettement plus longue. Être donc attentif et anticiper les freinages en décélérant suffisamment tôt. La méthode de freinage la plus efficace sur la plupart des surfaces est de lâcher les gaz, puis de freiner en souplesse et non brusquement.
Prévenir les intoxications au monoxyde de carbone
Tous les gaz d'échappement contiennent du monoxyde de carbone, un gaz mortel. L'inhalation de monoxyde de carbone peut provoquer céphalées, étourdissements, somnolence, nausées, confusion mentale, et finalement la mort. Le monoxyde de carbone est un gaz incolore, inodore et insipide, qui peut être présent bien que l'on n'ait pas détecté ni de fumée ni d'odeur de gaz d'échappement. Un niveau mortel de monoxyde de carbone peut s'accumuler rapidement, et l'on risque de succomber rapidement sans pouvoir réagir. De plus, des niveaux mortels de monoxyde de carbone peuvent persister pendant des heures, voire des jours, dans des endroits clos ou peu ventilés. En présence de symptôme d'empoisonnement au monoxyde de carbone, quitter immédiatement les lieux, prendre l'air, et CONSULTER UN MÉDECIN.
- Ne pas faire tourner le moteur dans un bâtiment. Même en dissipant les gaz d'échappement à l'aide de ventilateurs ou en ouvrant portes et fenêtres, le monoxyde de carbone peut rapidement atteindre des niveaux élevés.
- Ne pas faire tourner le moteur dans des endroits mal ventilés ou partiellement clos, tels que granges, garages ou abris voitures.
- Ne pas faire tourner un moteur à l'extérieur, à un endroit où les gaz d'échappement pourraient être aspirés dans un bâtiment par des ouvertures comme portes ou fenêtres.
Accessoires Yamaha d'origine
Le choix d'accessoires pour la motoneige est une décision importante. Des accessoires Yamaha d'origine, disponibles uniquement chez les concessionnaires Yamaha, ont été conçus, testés et approuvés par Yamaha pour l'utilisation sur cette motoneige. De nombreuses entreprises n'ayant aucun lien avec Yamaha produisent des pièces et accessoires, ou mettent à disposition d'autres modifications pour les véhicules Yamaha. Yamaha n'est pas en mesure de tester les produits disponibles sur le marché secondaire. Yamaha ne peut dès lors ni approuver ni recommander l'utilisation d'accessoires vendus par des tiers ou les modifications autres que celles recommandées spécialement par Yamaha, même si ces pièces sont vendues ou montées par un concessionnaire Yamaha.
Entretien et entreposage
- Pour les entretiens nécessitant de poser la motoneige sur son flanc, veiller à recourir à un support qui la maintienne de façon stable à niveau.
- S'il est nécessaire de basculer la motoneige sur son côté gauche, ne pas la maintenir trop longtemps dans cette position. Du carburant risque de s'échapper par la durée de mise à l'air du réservoir de carburant.
- Ne jamais permettre à quiconque de se placer derrière la motoneige lors du démarrage, de l'entretien ou de la réparation de celle-ci. Une chenille cassée, des raccords de chenille ou des fragments projetés par la chenille pourraient blesser quelqu'un.
- Des modifications apportées à la motoneige sans l'approbation de Yamaha ou le retrait de pièces d'origine, peuvent rendre l'utilisation de la motoneige dangereuse et être la cause de blessures graves. Certaines modifications rendent d'ailleurs l'utilisation de la motoneige illicite.
- Ne jamais remiser la motoneige sans faire d'abord la vidange du carburant si celle-ci doit être entreposée dans un bâtiment où sont présentes des sources d'inflammation comme des flammes nues, des étincelles, des appareils de chauffage, des chauffe-eau, des appareils tels les sèche-linge, etc. Laisser le moteur refroidir avant de remiser la motoneige.
FSU10261
RX10P/RX10PS

text_image
1,2,3,4,5 6 7,8,9 10,11 12 13141516RX10PXT

text_image
1,2,3,4,5 6 7,8,9 10,11 12 131516- Batterie
- Fusible principal
- Fusible EPS
- Fusible du système d'injection de carburant
- Filtre à air
- Bouchon de remplissage d'huile
- Boîtier à fusibles
- Vase d'expansion
- Réservoir de récupération du liquide de refroidissement
- Trousse de réparation
- Compartiment de rangement
-
Feu arrière/stop
-
Suspension à glissières
- Molette de réglage à distance de la force d'amortissement d'amortisseur arrière (RX10P)
- Chenille
- Porte-courroie

text_image
1 6 72 3 4 5 12 11 10 9 8- Levier de frein
- Levier de frein de stationnement
- Bouton de réglage des poignées chauffantes
- Bloc de compteurs multifonctions
- Bouton coupe-circuit du moteur
-
Bouton de réglage du chauffe-pouce
-
Levier des gaz
- Sélecteur
- Contacteur à clé
- Prise pour accessoire CC
- Prise de visière chauffante (CANADA)
- Commutateur d'éclairage
N.B.
- Les illustrations de ce manuel peuvent légèrement différer du modèle réel.
- L'aspect et les caractéristiques peuvent être modifiés sans préavis.
FSU10292
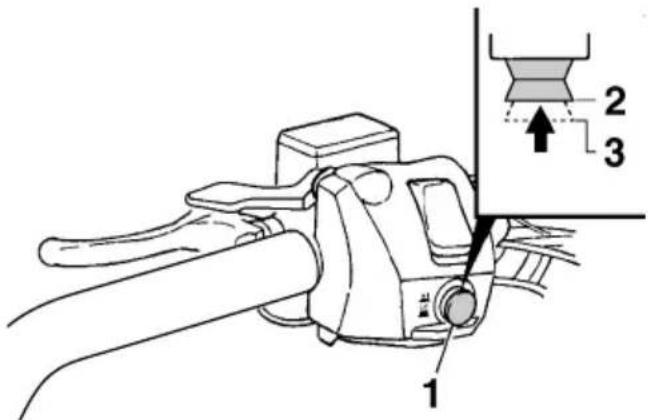
Contacteur à clé
Le contacteur à clé commande les systèmes d'allumage et d'éclairage. Les diverses positions sont décrites ci-après.

text_image
1 2 3- Pas de contact
- Contact
- Mise en marche
Pas de contact
Le circuit d'allumage est coupé.
La clé ne peut être retirée que dans cette position-ci.
Contact
Le circuit d'allumage est allumé.
Mise en marche
Le circuit de démarrage est allumé.
Le démarreur lance le moteur. ATTENTION :
Relâcher le contacteur dès que le moteur tourne. [FCS00021]
N.B.
Les phares et les feux arrière s'allument dès la mise en marche du moteur.
FSU10312
Levier des gaz
Dès que le moteur tourne régulièrement, il suffit d'actionner le levier des gaz. Le régime augmente, et la transmission automatique embraye le moteur. La vitesse de la motoneige se règle en faisant varier l'ouverture des gaz. Comme le levier est muni d'un ressort, la motoneige ralentit et le moteur retourne au régime de ralenti dès que le levier est relâché.

Système d'arrêt du moteur prioritaire T.O.R.S.
FWS00041
AVERTISSEMENT
Quand le système T.O.R.S. est activé, il faut corriger le problème et s'assurer que la motoneige peut être utilisée sans danger avant de remettre le moteur en marche. Le manquement à cette consigne risque de provoquer une perte de contrôle ou un endommagement.
Le système T.O.R.S. s'active dès le relâchement du levier des gaz en cas de mauvais fonctionnement du câble des gaz ou des papillons pendant la conduite.
Le système T.O.R.S. est conçu pour interrompre l'injection de carburant de façon à réduire le régime moteur et à le maintenir en dessous du régime d'embrayage quand les papillons ne retournent pas à leur position de ralenti alors que le levier des gaz est relâché. (Voir page 106 pour connaître le régime d'embrayage.)
| Ralenti Conduite | Mauvais fonctionnement | ||
| Levier des gaz | Relâché | Actionné | Relâché |
| Papillon Fermé Ouvert | Ouvert | ||
| T.O.R.S. | Le moteur tourne correctement. | Le moteur tourne correctement. | Le T.O.R.S. s'active. |
N.B.
Lorsque le système T.O.R.S. s'enclenche, le témoin d'alerte et l'indicateur d'alerte du système de panne moteur clignotent, et le code à deux chiffres "84" s'affiche à l'écran du compteur. Dans ce cas, faire contrôler le système le plus rapidement possible par un concessionnaire Yamaha.

text_image
2 F E 84 1 3 7 km/h- Témoin d'alerte "⚠️"
- Indicateur d'alerte de panne moteur "☐"
- Code à deux chiffres "84"
FSU10367
Bloc de compteurs multifonctions
Le bloc de compteurs multifonctions est composé des éléments suivants :
- un compteur de vitesse numérique
●un compte-tours - un compteur kilométrique
-
deux totalisateurs journaliers (affichant la distance parcourue depuis leur dernière remise à zéro)
-
un totalisateur de la réserve (affichant la distance parcourue depuis que l'indicateur d'alerte du niveau de carburant et le témoin d'alerte se sont allumés)
- un compteur de changement d'huile (affichant la distance parcourue depuis que l'échéance de changement d'huile a été atteinte)
- un baromètre (affichant la pression barométrique)
- une montre
- des indicateurs d'alerte (pannes moteur, température du liquide de refroidissement, niveau de carburant, niveau d'huile et pression d'huile)
- témoins (feu de route ou température basse du liquide de refroidissement)
- un témoin d'alerte (s'allume conjointement avec les indicateurs d'alerte)
- un afficheur du niveau de carburant (affichant la quantité de carburant restant dans le réservoir de carburant)
- un indicateur de chaleur des poignées chauffantes et du chauffe-pouce (affichant le niveau de chaleur de ces pièces)
- une fonction de réglage de la luminosité de l'écran
- un indicateur d'alerte de direction assistée Une fois le contact mis, l'aiguille du comptetours effectue un tour, le témoin de température basse du liquide de refroidissement, le témoin d'alerte ainsi que tous les segments de l'écran du compteur s'allument, puis s'éteignent.

text_image
1 2 3 5 4 7 8 9 10 11 12 13 14 15 16 17 18 19 20 21 22 23 24 25 26 27 28 29 30 31 32 33 34 35 36 37 38 39 40 41 42 43 44 45 46 47 48 49 50 51 52 53 54 55 56 57 58 59 60 61 62 63 64 65 66 67 68 69 70 71 72 73 74 75 76 77 78 79 80 81 82 83 84 85 86 87 88 89 90 91 92 93 94 95 96 97 98 99 100- Bouton "MODE"
- Bouton "RESET"
- Bouton "SELECT"
- Compte-tours
- Indicateurs d'alerte
- Montre
- Témoin de température basse du liquide de refroidissement "F"
- Témoin de feu de route "≡D"
- Témoin d'alerte "⚠️"
- Indicateur d'alerte de direction assistée "EPS"
- Écran du compteur
Le niveau de chaleur des poignées chauffantes s'affiche pendant 5 secondes, puis l'écran passe à l'affichage du niveau de carburant.
N.B.
- Il est possible de régler l'affichage du compteur de vitesse, du compteur kilométrique et des totalisateurs en kilomètres ou en milles. Pour modifier l'unité de mesure, afficher le compteur de vitesse "ODO", puis appuyer sur le bouton "SELECT" pendant au moins 10 secondes alors que la motoneige est à l'arrêt.
- Il est possible de régler l'affichage du baromètre en hectopascals "hPa" ou en pouces de mercure "inHg". Pour modifier l'unité de mesure, afficher le baromètre "BARO", puis appuyer sur le bouton "SELECT" pendant au moins 3 secondes alors que la motoneige est à l'arrêt.
Compteur kilométrique, totalisateurs et baromètre

text_image
ESLO 28.8 km/h MPH ODO BARO TRIP AB 888.8.8 hPa inHg 1- Compteur kilométrique/totalisateur journalier/baromètre
Appuyer sur le bouton de sélection "SELECT" pour modifier l'affichage des compteurs (compteur kilométrique "ODO", totalisateurs journaliers "TRIP A" et "TRIP B" et baromètre "BARO") dans l'ordre suivant :
ODO → TRIP A → TRIP B → BARO → ODO Quand l'indicateur d'alerte du niveau de carburant et le témoin d'alerte s'allument (voir page 25), le compteur kilométrique passe automatiquement en mode d'affichage de la réserve "F-TRIP" et affiche la distance parcourue à partir de cet instant. Dans ce cas, appuyer sur le bouton "SELECT" pour modifier l'affichage des compteurs (compteur kilométrique et totalisateurs) dans l'ordre suivant :
$$ \begin{array}{l}\text {F - TRIP} \rightarrow \text {ODO} \rightarrow \text {TRIP A} \rightarrow \text {TRIP B} \rightarrow\\text {BARO} \rightarrow \text {F - TRIP}\end{array} $$
Pour remettre un totalisateur à zéro, le sélectionner en appuyant sur le bouton de sélection "SELECT" puis appuyer pendant au moins 1 seconde sur le bouton de remise à zéro "RESET". Si, une fois le plein de carburant effectué, la remise à zéro du totalisateur de la réserve n'est pas effectuée manuellement, elle s'effectue automatiquement et l'af-
fichage retourne au mode affiché précédemment après que la motoneige a parcouru une distance d'environ 5 km (3 mi).
Compteur de changement d'huile
Lorsque l'échéance du changement d'huile est atteinte, c.-à-d. aux premiers 800 km (500 mi), puis tous les 4000 km (2500 mi) par la suite, le compteur de changement d'huile et "OIL" clignotent en alternance à l'écran du compteur kilométrique, et le totalisateur journalier affiche la distance parcourue à partir de cet instant. Il convient alors de changer l'huile moteur dès que possible. (Les explications concernant le changement d'huile sont à la page 72.)

- Le compteur de changement d'huile ne clignote que lorsque la motoneige est à l'arrêt.
- Pour retourner au mode d'affichage précédent, appuyer sur le bouton "SELECT". Pour afficher une nouvelle fois le compteur de changement d'huile, couper le contact, puis remettre le contact.
Une fois le changement d'huile effectué, réinitialiser le compteur de changement d'huile comme suit.
Réinitialisation du compteur de changement d'huile (après une vidange d'huile suivant l'apparition du compteur de changement d'huile)
- Pour afficher le compteur de changement d'huile, mettre le contact.
- Appuyer sur le bouton "RESET" pendant au moins 1 seconde alors que le compteur de changement d'huile et "OIL" clignotent en alternance à l'écran du compteur kilométrique. La distance effectuée depuis le dernier changement d'huile moteur et "OIL" clignotent alors en alternance.
- Appuyer pendant environ 3 secondes sur le bouton "RESET". "00000" et "OIL" cli-gnotent 3 fois en alternance à l'écran du compteur kilométrique, puis l'écran re-tourne à l'affichage précédent.
Si le changement d'huile moteur est effectué avant que le compteur de changement d'huile ne s'affiche (c.-à-d. avant d'avoir atteint l'échéance recommandée), ne pas oublier de réinitialiser le compteur après avoir effectué le changement d'huile afin qu'il signale correctement la prochaine échéance.
Dans ce cas, il convient de réinitialiser le compteur de changement d'huile comme suit. Réinitialisation du compteur de changement d'huile (après une vidange d'huile précédant l'apparition du compteur de changement d'huile)
-
Appuyer sur le bouton "SELECT" jusqu'à ce que "ODO" s'affiche, puis appuyer pendant au moins 1 seconde sur le bouton "RESET". La distance effectuée depuis le dernier changement d'huile moteur et "OIL" clignotent alors en alternance.
-
Appuyer pendant environ 3 secondes sur le bouton "RESET". "00000" et "OIL" cli-gnotent 3 fois en alternance à l'écran du compteur kilométrique, puis l'écran re-tourne à l'affichage précédent.
Montre
Réglage de la montre
- Appuyer simultanément sur les boutons "SELECT" et "RESET" jusqu'à ce que l'affichage des heures clignote.

text_image
1 2 3 1:38 x1000 r/min- Bouton "SELECT"
- Bouton "RESET"
-
Montre
-
Appuyer sur le bouton "RESET" pour modifier le réglage des heures, puis appuyer sur le bouton "SELECT". L'affichage des minutes se met à clignoter.
- Appuyer sur le bouton "RESET" pour modifier le réglage des minutes, puis appuyer sur le bouton "SELECT". La montre se met en marche dès le relâchement du bouton "SELECT".
N.B.
Le réglage de l'heure est perdu en cas de débranchement de la batterie.
Commande de la luminosité de l'écran
Cette fonction permet de régler la luminosité de l'écran du compteur et de l'adapter à la clarté ambiante.
Réglage de la luminosité de l'écran
-
Couper le contact.
-
Appuyer sur le bouton "SELECT" et le maintenir enfoncé.

text_image
1 2 3- Bouton "SELECT"
- Bouton "RESET"
-
Niveau de luminosité de l'écran
-
Mettre le contact, puis relâcher le bouton "SELECT" 5 secondes plus tard.
- Appuyer sur le bouton "RESET" pour sélectionner la luminosité désirée, puis appuyer sur le bouton "SELECT". L'écran retourne à l'affichage précédent dès le relâchement du bouton "SELECT".
FSU10411
Témoin de feu de route “D”
Le témoin de feu de route s'allume lorsque l'on allume les feux de route. (Le fonctionnement du commutateur d'éclairage est expliqué à la page 29.)

text_image
F 1:38 E 1- Témoin de feu de route "≡D"
FSU10473
Témoin de température basse du liquide de
refroidissement “丿”
Le témoin de température basse du liquide de refroidissement s'allume lorsque la température du liquide est basse, afin de prévenir le pilote que le moteur de la motoneige doit être chauffé. Une fois le moteur mis en marche, le chauffer jusqu'à ce que ce témoin s'éteigne. Une fois le témoin éteint, la motoneige peut être pilotée normalement.

- Témoin de température basse du liquide de refroidissement “〒”
N.B.
Piloter lentement lorsque le témoin de température basse du liquide de refroidissement est allumé. Lorsque le régime du moteur est trop élevé, le régime moteur maximum est réduit afin de protéger le moteur.
FSU10425
Afficheur du niveau du carbu- rant et indicateur de chaleur des poignées chauffantes et du chauffe-pouce
L'afficheur du niveau de carburant et l'indicateur de chaleur des poignées chauffantes et du chauffe-pouce sont composés de huit segments affichant la quantité de carburant restant dans le réservoir ou le niveau de chaleur des poignées chauffantes ou du chauffe-pouce.

text_image
1 F E 1:38- Afficheur du niveau du carburant et indicateur de chaleur des poignées chauffantes et du chauffe-pouce
Afficheur du niveau de carburant
Les segments de l'afficheur du niveau de carburant s'éteignent dans la direction de "E" (vide) au fur et à mesure que le niveau de carburant diminue. Lorsqu'il ne reste plus qu'un seul segment près de "E", l'indicateur d'alerte du niveau de carburant et le témoin d'alerte s'allument.

text_image
1 2 F 1:38 E- Indicateur d'alerte du niveau de carburant "☐"
- Témoin d'alerte "⚠️"
Quand l'indicateur d'alerte du niveau de carburant et le témoin d'alerte s'allument, faire le plein de carburant à la première occasion.
N.B.
Un affichage précis et correct ne peut être obtenu que lorsque le véhicule est à l'arrêt complet sur une surface de niveau, car le niveau affiché varie en fonction de l'inclinaison et du mouvement du véhicule.
Indicateur de chaleur des poignées chauffantes et du chauffe-pouce
Lorsque le bouton de réglage des poignées chauffantes est actionné, l'indicateur des poignées chauffantes s'allume et l'affichage passe en mode de niveau de chaleur des poignées chauffantes.
Lorsque le bouton de réglage du chauffe-pouce est actionné, l'indicateur du chauffe-pouce s'allume et l'affichage passe en mode de niveau de chaleur du chauffe-pouce.
Se reporter à "Bouton de réglage des poignées chauffantes et du chauffe-pouce" à la page 30 pour plus de détails.

text_image
HI 1 2 1:38 LO- Indicateur des poignées chauffantes "###"
- Indicateur du chauffe-pouce "

text_image
1 HI LO- Bouton de réglage des poignées chauffantes

text_image
5Ω 1- Bouton de réglage du chauffe-pouce
N.B.
- Le niveau de chaleur des poignées chauffantes ou du chauffe-pouce s'affiche pendant 5 secondes après que le bouton de réglage des poignées chauffantes et du chauffe-pouce est relâché, puis l'écran passe à l'affichage du niveau de carburant.
- Le segment supérieur de l'indicateur de chaleur des poignées chauffantes et du chauffe-pouce clignote une fois lorsque le niveau de réglage maximum est atteint. Le segment inférieur de l'indicateur de chaleur des poignées chauffantes et du chauffe-pouce clignote une fois lorsque le niveau de réglage minimum est atteint.
- Le réglage du niveau de chaleur des poignées et du chauffe-pouce est conservé jusqu'à la prochaine modification.
FSU13252
Indicateur d'alerte du niveau de carburant "☐"
L'indicateur d'alerte du niveau de carburant et le témoin d'alerte s'allument lorsque le niveau de carburant est bas. (Pour plus d'explications, se reporter à la page 25.)
L'indicateur d'alerte de niveau de carburant, le témoin d'alerte, l'indicateur de carburant et tous les segments de l'afficheur du niveau de carburant se mettent à clignoter pour avertir le pilote lorsque le dispositif embarqué de diagnostic de pannes décèle un mauvais fonctionnement d'un capteur, un coupleur débranché, un fil cassé ou un court-circuit.
Dans ce cas, faire contrôler la motoneige le plus rapidement possible par un concessionnaire Yamaha.

text_image
3 1 F 1:38 E- Indicateur d'alerte du niveau de carburant "☐"
- Témoin d'alerte "⚠️"
- Afficheur du niveau de carburant
- Indicateur du carburant "F"
FSU13990
Indicateur d'alerte de ni- veau/pression d'huile "→"
L'indicateur d'alerte de niveau/de pression a deux fonctions. L'indicateur d'alerte s'allume quand le niveau d'huile moteur est bas et quand la pression d'huile moteur est basse. Les fonctions sont expliquées dans les sections suivantes.
Alerte niveau d'huile
L'indicateur d'alerte et le témoin d'alerte s'allument lorsque le niveau d'huile moteur est bas.

text_image
1 2 F 1:30 E- Indicateur d'alerte de niveau/pression d'huile "☐"
- Témoin d'alerte "⚠️"
Si l'indicateur d'alerte et le témoin d'alerte s'allument, garer la motoneige sur une sur-2ace de niveau et la laisser tourner au ralenti pendant une minute.
Si l'indicateur d'alerte et le témoin d'alerte s'éteignent, le niveau d'huile moteur est suffisant, mais a toutefois beaucoup baissé. Faire l'appoint d'huile moteur dès que possible.
Si l'indicateur d'alerte et le témoin d'alerte ne s'éteignent pas, contrôler le niveau d'huile moteur dans le réservoir d'huile (voir les instructions de contrôle du niveau d'huile à la page 72), puis ajouter de l'huile moteur si nécessaire.
Si l'indicateur d'alerte et le témoin d'alerte ne s'éteignent toujours pas, faire contrôler la motoneige par un concessionnaire Yamaha.
Alerte pression d'huile
L'indicateur d'alerte s'allume et "OP-LO" (pression d'huile basse) s'affiche à l'écran du compteur kilométrique si le niveau d'huile moteur est bas au moment de la mise en marche du moteur. De plus, le régime du moteur est alors limité à une vitesse en dessous de celle nécessaire à l'embrayage du moteur, et ce jusqu'à ce que l'indicateur d'alerte s'éteigne.
Si la pression d'huile moteur reste faible pendant une minute, le moteur se coupe. Dans ce cas, il convient de faire vérifier la motoneige par un concessionnaire Yamaha.

text_image
F 1:38 E 1 2 OP-LO-
Indicateur d'alerte de niveau/pression d'huile "→"
-
"OP-LO" (pression d'huile basse)
N.B.
Si les passages d'huile sont vides au moment de la mise en marche du moteur, comme par exemple à la suite d'une vidange, l'indicateur d'alerte peut s'allumer et "OP-LO" peut s'afficher quelques secondes à l'écran du compteur kilométrique, et ce jusqu'à ce que l'huile circule dans le moteur. La motoneige peut être pilotée normalement une fois l'indicateur d'alerte éteint.
FSU10513
Indicateur d'alerte de tempéra- ture du liquide de refroidissement "
En cas de surchauffe du moteur, l'indicateur d'alerte de température du liquide de refroidissement et le témoin d'alerte s'allument. Dans ce cas, couper immédiatement le moteur et le laisser refroidir, puis contrôler le niveau du liquide de refroidissement dans le vase d'expansion. (Voir les explications de ce contrôle à la page 76.)

text_image
1 2 F 1:38 E-
Indicateur d'alerte de température du liquide de refroidissement "E"
-
Témoin d'alerte "⚠️"
FCS00041
ATTENTION
Ne pas laisser tourner le moteur en cas de surchauffe.
FSU13811
Indicateur d'alerte de direction assistée "EPS"
L'indicateur d'alerte de direction assistée s'allume quand le contact est mis, puis s'éteint une fois que le moteur est mis en marche. Si l'indicateur d'alerte s'allume ou reste allumé après la mise en marche du moteur, il se peut que la direction assistée ne fonctionne pas correctement. Dans ce cas, il convient de faire vérifier le système de la direction assistée par un concessionnaire Yamaha.

text_image
F 1:33 E EPS- Indicateur d'alerte de direction assistée "EPS"
N.B.
Lorsque la sollicitation de la direction est trop importante (c.-à-d. braquage trop important alors que la motoneige roule très lentement), l'assistance électrique de la direction est réduite afin de prévenir la surchauffe de son moteur.
FSU13365
Dispositif embarqué de diagnostic de pannes
Ce modèle est équipé d'un dispositif embar- qué de diagnostic de pannes surveillant di- vers circuits électriques.
Lorsqu'un problème est détecté dans un de ces circuits, le témoin d'alerte et l'indicateur d'alerte de panne moteur se mettent à clignoter et un code d'anomalie s'affiche à l'écran du compteur. Prendre note du code d'anomalie et faire contrôler la motoneige le plus rapidement possible par un concessionnaire Yamaha. ATTENTION : Ne pas laisser tourner le moteur plus longtemps que nécessaire en cas d'erreur de code afin d'éviter le risque de l'endommager. [FCS00820]

- Témoin d'alerte "⚠️"
- Indicateur d'alerte de panne moteur "☐"
- Affichage du code d'erreur
FSU10531
Bouton coupe-circuit du moteur “×”
Ce bouton permet de couper le moteur en cas d'urgence. Il suffit d'appuyer sur le bouton pour que le moteur se coupe. Il convient de tirer sur le bouton coupe-circuit pour pouvoir mettre le moteur en marche. (Voir les explications de mise en marche du moteur à la page 50.)

text_image
1- Bouton coupe-circuit du moteur " ✉"
S'entraîner à actionner le bouton coupe-circuit du moteur pendant les premiers essais avec la motoneige, afin de pouvoir réagir rapidement dans une situation critique.
FSU10661
Commutateur d'éclairage "LIGHTS"
Appuyer sur le commutateur d'éclairage pour passer du feu de route "HI" au feu de croisement "LO" ou inversement.

- Commutateur d'éclairage "LIGHTS"
- Feu de route "HI"
- Feu de croisement "LO"
FSU12653
Bouton de réglage des poignées chauffantes et du chauffe-pouce
Le bouton de réglage des poignées chauffantes et le bouton de réglage du chauffe-pouce commandent respectivement le chauffage électrique des poignées et du levier des gaz.

text_image
1 HI LO- Bouton de réglage des poignées chauffantes

text_image
1- Bouton de réglage du chauffe-pouce
Pour augmenter la température, pousser le contacteur de la fonction désirée à la position "HI". Pour réduire la température, pousser le contacteur à la position "LO". (Pour plus d'explications, se reporter à la page 25.)
FSU10696
Prise pour accessoire CC
La prise pour accessoire CC est située sur le cache avant.
N.B.
La prise pour accessoires ne peut être utilisée que lorsque le moteur est coupé.
Utilisation de la prise pour accessoires CC
- Mettre le moteur en marche.
- Retirer la protection de la prise, puis brancher la fiche de l'accessoire dans la prise.

- Protection de prise pour accessoire CC
-
Prise pour accessoire CC
-
Après l'utilisation de l'accessoire, bien veiller à le débrancher et à remettre correctement la protection de la prise en place.
FCS00122
ATTENTION
- Ne pas brancher d'accessoire dépassant la capacité maximum de la prise pour accessoire afin d'éviter la surcharge du circuit, voire le grillage d'un fusible. (Voir page 96 pour connaître l'intensité nominale du fusible.)
- Ne pas brancher d'allume-cigare ni aucun autre accessoire dont la fiche chauffe, sous peine de risquer d'endommager la prise.
Capacité maximale : CC 12 V, 2.5 A (30 W)
FSU13264
Prise de visière chauffante (CANADA)
La prise de la visière chauffante est située au côté gauche du guidon.
N.B.
La prise de la visière chauffante ne peut être utilisée que lorsque le moteur tourne.
Utilisation de la prise de la visière chauffante
- Mettre le moteur en marche.
- Retirer la protection de la prise, puis brancher la fiche de la visière chauffante dans la prise.

- Protection de prise de visière chauffante
-
Prise de visière chauffante
-
Après l'utilisation de la visière chauffante, bien veiller à la débrancher et à remettre correctement la protection de la prise en place.
FCS00892
ATTENTION
Ne pas brancher de visière chauffante dépassant la capacité maximum de la prise de visière chauffante afin d'éviter la surcharge du circuit, voire le grillage d'un fusible. (Voir page 96 pour connaître l'intensité nominale du fusible.)
Capacité maximale : CC 12 V, 1.5 A (18 W)
FSU13523
Levier de frein
Le freinage est exercé au niveau de toute la transmission.
Actionner le levier de frein pour arrêter la motoneige.

Lorsque le levier de frein est actionné, le feu stop s'allume.
Ce levier de frein est équipé d'un dispositif de réglage de position.
Réglage de la position du levier de frein
- Desserrer le contre-écrou.
- Tout en poussant quelque peu le levier de frein dans le sens (a), ajuster le levier à la position voulue en tournant la vis de réglage.

text_image
(a) 1 2- Contre-écrou
-
Vis de réglage
-
Serrer fermement le contre-écrou après avoir effectué le réglage.
FSU10581
Levier de frein de stationnement
Pour se garer ou avant de mettre le moteur en marche, serrer le frein de stationnement en déplaçant ce levier vers la gauche.

text_image
1- Levier de frein de stationnement
Pour desserrer le frein de stationnement, déplacer le levier vers la droite.

Le sélecteur permet de sélectionner la marche avant et la marche arrière. Une fois à l'arrêt complet, tirer sur le sélecteur, le faire glisser à fond vers "FWD" (marche avant) ou "REV" (marche arrière), puis le relâcher.

- Tirer.
- Déplacer vers "FWD" (marche avant).
- Relâcher.

- Tirer.
- Déplacer vers "REV" (marche arrière).
- Relâcher.
FCS00072
ATTENTION
Ne pas changer de rapport alors que la motoneige est en mouvement, sous peine de risquer d'endommager la transmission.
FSU13314
Carter de protection de la cour-roie
FWS00402
AVERTISSEMENT
- Tout contact avec la courroie trapézoïdale ou les pièces de l'embrayage en mouvement peut provoquer des blessures graves, voire la mort. Ne jamais faire tourner le moteur tant que le carter de protection de la courroie n'est pas en place.
- Toujours s'assurer que le carter de protection est correctement monté avant d'utiliser la motoneige, afin d'éviter tout risque de blessures graves, voire de mort, que la projection d'une courroie brisée ou d'une pièce pourrait poser.
FCS00930
ATTENTION
- Ne jamais faire tourner le moteur tant que la courroie est retirée. Il y a risque d'endommagement de pièces mécaniques de l'embrayage.
- Bien veiller à ne pas griffer le pare-brise lors de la dépose ou la repose du carter de protection de la courroie.
Le carter de protection de la courroie protège la courroie trapézoïdale et son embrayage des pièces qui casseraient ou se détache-raient.
Le carter de protection de la courroie se trouve derrière le cache latéral gauche. (Voir les explications relatives à la dépose à la page 64.)
Dépose du carter de protection de la courroie
- Retirer la goupille d'arrêt du support arrière du carter de protection de la courroie.

-
Carter de protection de la courroie
-
Goupille d'arrêt de carter de protection de la courroie
-
Soulever l'arrière du carter de protection de la courroie comme illustré, puis tirer le carter de protection vers l'arrière afin de le déposer.

Repose du carter de protection de la courroie
- Insérer les fentes à l'avant du carter de protection de la courroie dans les ergots du support avant du carter de protection.

text_image
1-
Carter de protection de la courroie
-
Aligner les fentes à l'arrière du carter de protection de la courroie et les ergots du support arrière de carter de protection, puis insérer la goupille d'arrêt dans le support comme illustré.

-
Carter de protection de la courroie
-
Goupille d'arrêt de carter de protection de la courroie
FSU10761
Porte-courroie
Toujours veiller à avoir une courroie trapézoïdale de rechange et à l'attacher aux fixations du porte-courroie.

Veiller à bloquer correctement la courroie dans les fixations.
FSU10811
Compartiment de rangement
Le compartiment de rangement se trouve derrière le siège. Ce compartiment de rangement permet le rangement de la trousse de réparation, de manuels, de pièces de rechange, et d'autres objets de petite taille.
Ouverture du compartiment de rangement
Tourner l'attache de 1/2 tour dans un sens ou l'autre, puis relever le cache du compartiment de rangement.

Fermeture du compartiment de rangement
Remettre le cache du compartiment de rangement en place, puis tourner l'attache à sa position d'origine.
FSU10635
Carburant
FWS00071
AVERTISSEMENT
L'essence et les vapeurs d'essence sont extrêmement inflammables. Suivre les instructions ci-après afin d'éviter incendies et explosions, et afin de réduire le risques de blessures lors du ravitaillement en carburant.
S'assurer qu'il y a suffisamment d'essence dans le réservoir.
- Avant de faire le plein de carburant, couper le moteur et s'assurer que personne n'est assis sur la motoneige. Ne jamais faire le plein en fumant, ni à proximité d'étincelles, de flammes nues ou de toute autre source d'allumage, comme les veilleuses de chauffe-eaux ou les sèchelinge.
- Ne pas remplir le réservoir de carburant à excès. S'arrêter de remplir lorsque le carburant atteint le fond du tube de remplissage. En effet, vu que le carburant se dilate en se réchauffant, du carburant risque de s'échapper sous l'effet de la chaleur du moteur ou du soleil.

- Tube de remplissage
-
Niveau de carburant maximum
-
Essuyer immédiatement toute coulure de carburant.
- Veiller à ce que le bouchon du réservoir de carburant soit fermé hermétiquement en le tournant dans le sens des aiguilles d'une montre.

L'essence est délétère et peut provoquer blessures ou la mort. Manipuler l'essence avec soin. Ne jamais siphonner de l'essence avec la bouche. Consulter immédia-tement un médecin en cas d'ingestion d'essence, d'inhalation d'une grande quantité de vapeurs d'essence ou d'écla-boussure d'essence dans les yeux. En cas d'éclaboussures la peau, se laver à l'eau et au savon. En cas d'éclaboussures sur les vêtements, changer au plus vite de vête-ments.
Carburant recommandé : RX10P ESSENCE SUPER SANS PLOMB UNIQUEMENT RX10PS ESSENCE SUPER SANS PLOMB UNIQUEMENT (CAN) RX10PS UNIQUEMENT ESSENCE SANS PLOMB IOR 95 MIN. (FIN)(SWE) RX10PXT ESSENCE SUPER SANS PLOMB UNIQUEMENT (CAN) RX10PXT UNIQUEMENT ESSENCE SANS PLOMB IOR 95 MIN. (FIN)(RUS)(SWE)
Capacité du réservoir de carburant : 34.6 L (9.14 US gal, 7.61 Imp.gal)
Ce moteur Yamaha fonctionne à l'essence sans plomb d'un indice d'octane recherche de 95 minimum. (Au Canada, recourir à de l'essence super sans plomb d'un indice d'octane à la pompe [(R+M)/2] de 91 minimum, ou d'un indice d'octane recherche de 95 minimum.) L'utilisation d'un autre type d'essence risque de modifier le rendement du moteur.
FCS00093
ATTENTION
- Veiller à ce que ni neige ni glace ne pénètrent dans le réservoir lors du ravitaillement en carburant.
- Remplir le réservoir de carburant exclusivement avec de l'essence du type spécifié. L'utilisation d'essence d'un autre type endommagerait gravement certains organes du moteur, tels que les soupapes, les segments, ainsi que le système d'échappement.
CANADA
- Les carburant oxygénés (essence-alcool) contenant jusqu'à 10 % d'éthanol (E10) peuvent être utilisés, mais la mise en place de gicleurs plus riches pourrait s'avérer nécessaire afin de prévenir l'endommagement du moteur. Consulter un
concessionnaire Yamaha. L'utilisation d'essence-alcool au méthanol est dé-conseillée.
- Ne pas utiliser de dégivreur contenant de l'alcool ni des additifs absorbeurs d'eau lors de l'utilisation de carburant oxygéné.
FSU14001
Suspension
La suspension de cette motoneige peut être adaptée aux préférences du conducteur. Une suspension plus souple rend la motoneige plus confortable, alors qu'un réglage plus dur favorise la maniabilité, par exemple dans des conditions de conduite plus difficiles.
Confier le réglage de la suspension à un concessionnaire Yamaha si l'on ne possède pas l'expérience nécessaire pour l'effectuer.
FWS00151
AVERTISSEMENT
Lire attentivement les informations ci-dessous avant de manipuler des amortisseurs contenant de l'azote sous haute pression.
- Ne pas modifier ni essayer de démonter les bonbonnes.
- Ne pas soumettre les amortisseurs à une flamme ou une autre source de chaleur intense. L'élévation de pression qui en résulterait pourrait faire exploser la pièce.
- Ne déformer ni endommager les cylindres de quelque façon que ce soit. Le moindre endommagement de la bonbonne risque de réduire les performances d'amortissement.
- Ne pas jeter soi-même un amortisseur endommagé ou usé. Tout entretien de l'amortisseur doit être confié à un concessionnaire Yamaha.
N.B.
Effectuer le réglage de la suspension à l'aide de la clé spéciale fournie dans la trousse de réparation. Si la trousse de réparation livrée avec le véhicule ne contient pas de clé spéciale, il convient de se la procurer chez son concessionnaire Yamaha.
FSU10894
Réglage de la précontrainte de ressort des amortisseurs avant (RX10P / RX10PXT)
FWS00720
AVERTISSEMENT
Il convient de régler la précontrainte du ressort des amortisseurs gauche et droite à la même position. Un réglage inégal peut se traduire par une maniabilité et un équilibre réduits.
La précontrainte de ressort se règle en tournant les écrous de réglage.
Régler la précontrainte de ressort en procédant comme suit.
- Desserrer le contre-écrou.
- Pour augmenter la précontrainte de ressort et donc durcir la suspension, tourner l'écrou de réglage dans le sens (a). Pour réduire la précontrainte de ressort et donc adoucir la suspension, tourner l'écrou de réglage dans le sens (b).

text_image
1 2 3 (a) (b)- Contre-écrou
- Distance A
- Écrou de réglage de précontrainte du ressort
N.B.
Le réglage de la précontrainte de ressort est déterminé en effectuant la mesure A (voir illustration). Plus la distance A est grande, plus la précontrainte de ressort est élevée ; plus la distance A est courte, plus la précontrainte de ressort est réduite.
Réglage de la précontrainte de ressort* :
Minimum (réglage souple) :
RX10P 122.5 mm (4.82 in)
RX10PXT 130.0 mm (5.12 in)
Standard :
RX10P 134.5 mm (5.30 in)
RX10PXT 130.0 mm (5.12 in)
Maximum (réglage dur) :
RX10P 144.5 mm (5.69 in)
RX10PXT 140.0 mm (5.51 in)
* La distance A se modifie de 1.5 mm (0.06 in) à chaque tour complet de l'écrou de réglage.
- Serrer le contre-écrou au couple spécifié. ATTENTION : Toujours d'abord serrer le contre-écrou jusque contre l'écrou de réglage, puis le serrer au couple spécifié. [FCS00860]
Couple de serrage :
Contre-écrou :
42 Nm (4.2 m·kgf, 30 ft·lbf)
FSU13622
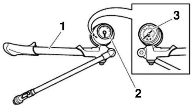
Réglage de la pression d'air des amortisseurs avant (RX10PS)
FWS00730
AVERTISSEMENT
Il convient de régler la pression d'air des amortisseurs gauche et droite à la même position. Un réglage inégal peut se traduire par une maniabilité et un équilibre réduits.
Une pompe spéciale, livrée avec la moto-neige, permet de régler la pression d'air des amortisseurs. Cette pompe est équipée d'un manomètre. Une face du manomètre permet de mesurer la basse pression, et l'autre face la haute pression. Ajuster la pression des amortisseurs avant à l'aide de la face basse pression du manomètre.

- Pompe d'amortisseur
- Manomètre (face à basse pression)
- Manomètre (face à haute pression)
Réglage de la pression d'air
FWS00621
AVERTISSEMENT
Placer un support solide et stable sous la motoneige avant d'effectuer tout réglage des amortisseurs. Ceci afin de prévenir la chute du véhicule, qui risquerait de provoquer des blessures.
FCS00710
ATTENTION
S'assurer qu'aucune charge ne pèse sur les amortisseurs et qu'ils sont parfaitement étendus avant de procéder à tout réglage de la pression d'air.
- Disposer la motoneige sur une surface de niveau, puis serrer le frein de stationnement.
- Placer l'avant de la motoneige sur un support adéquat, de façon à ce que les skis ne touchent plus le sol.
- Retirer le capuchon de la valve de l'amortisseur.

text_image
1-
Capuchon de valve
-
Monter le connecteur de durite de la pompe spéciale sur la valve de l'amortisseur, et le serrer d'environ six tours de sorte que la pression s'affiche à la jauge de la pompe, puis relever le levier de verrouillage du connecteur de durite. ATTENTION : Veiller à ne pas serrer le connecteur à l'excès sous peine d'endommager son joint. [FCS00721]

- Valve
- Connecteur de durite
- Levier de verrouillage du connecteur de durée

text_image
3N.B.
En cas d'absence de pression d'air dans l'amortisseur, la jauge affiche une pression de zéro.
- Pour augmenter la pression d'air, actionner quelques fois la pompe. La pression devrait augmenter lentement. Si la pression augmente rapidement, vérifier si la pompe est connectée correctement et serrée contre la valve. Pour réduire la pression d'air, appuyer sur le bouton de valve de purge noir. ATTENTION : Ne pas dépasser 1034 kPa (10.3 kgf/cm², 150 psi). [FCS00733]

- Manomètre (face à basse pression)

Plage de réglage de la pression d'air : 448–1034 kPa (4.5–10.3 kgf/cm², 65–150 psi)
Pression d'air recommandée : 586 kPa (5.9 kgf/cm², 85 psi)
N.B.
Afin que l'air s'échappe de la pompe et de l'amortisseur, enfoncer à moitié le bouton et le maintenir à cette position. Afin de ne laisser s'échapper qu'une petite quantité d'air, enfoncer tout à fait le bouton, et le relâcher rapidement.
- Abaisser le levier de verrouillage du connecteur de durite, puis retirer le connecteur de durite de la valve.
N.B.
L'air que l'on entendrait s'échapper au moment du retrait du connecteur provient de la durée de la pompe et non de l'amortisseur.
- Remettre le capuchon de la valve en place.
N.B.
Si l'amortisseur avant talonne trop facilement ou a trop de roulis lors des virages, il convient d'augmenter la pression d'air de 34 kPa (0.3 kgf/cm², 5 psi). Si l'amortisseur est trop ferme
et que l'on préfère une conduite plus souple, réduire la pression d'air de 34 kPa (0.3 kgf/cm², 5 psi).
FSU10975
Réglage de la précontrainte de ressort de l'amortisseur central et des ressorts de torsion arrière (RX10PXT), ou de l'amortisseur arrière (RX10P)
La précontrainte de ressort se règle en tournant l'écrou de réglage de l'amortisseur central et les dispositifs de réglage des ressorts de torsion arrière (RX10PXT), ou la bague de réglage (RX10P) de l'amortisseur arrière. Régler la précontrainte de ressort en procédant comme suit.
Amortisseur central (RX10PXT)
- Desserrer le contre-écrou.
- Pour augmenter la précontrainte de ressort et donc durcir la suspension, tourner l'écrou de réglage dans le sens (a). Pour réduire la précontrainte de ressort et donc adoucir la suspension, tourner l'écrou de réglage dans le sens (b).

text_image
(a) (b) 1 2 3- Écrou de réglage de précontrainte du ressort
- Distance A
- Contre-écrou
N.B.
Le réglage de la précontrainte de ressort est déterminé en effectuant la mesure A (voir il- lustration). Plus la distance A est grande, plus
la précontrainte de ressort est élevée ; plus la distance A est courte, plus la précontrainte de ressort est réduite.
Réglage de la précontrainte de ressort* :
Minimum (réglage souple) :
106.1 mm (4.18 in)
Standard :
122.1 mm (4.81 in)
Maximum (réglage dur) :
132.1 mm (5.20 in)
* La distance A se modifie de 1.5 mm (0.06 in) à chaque tour complet de l'écrou de réglage.
- Serrer le contre-écrou au couple spécifié.
ATTENTION : Toujours d'abord serrer le contre-écrou jusque contre l'écrou de réglage, puis le serrer au couple spécifié. [FCS00860]
Couple de serrage :
Contre-écrou :
42 Nm (4.2 m·kgf, 30 ft·lbf)
Ressorts de torsion arrière (RX10PXT)
FWS00750
AVERTISSEMENT
Le réglage de la précontrainte de ressort doit être identique pour les côtés gauche et droit. Un réglage inégal peut se traduire par une maniabilité et un équilibre réduits.
Pour augmenter la précontrainte de ressort et donc durcir la suspension, tourner le dispositif de réglage dans le sens (a). Pour réduire la précontrainte de ressort et donc adoucir la suspension, tourner le dispositif de réglage dans le sens (b).

text_image
(a) (b) 1- Dispositif de réglage de la précontrainte du ressort
Réglage de la précontrainte de ressort :
Minimum (réglage souple) :
S
Standard :
M
Maximum (réglage dur) :
H
Amortisseur arrière (RX10P)
Pour augmenter la précontrainte de ressort et donc durcir la suspension, tourner la bague de réglage dans le sens (a). Pour réduire la précontrainte de ressort et donc adoucir la suspension, tourner la bague de réglage dans le sens (b).

text_image
(a) (b) 1 7 6 5 4 3 2 1- Bague de réglage de précontrainte du ressort
Réglage de la précontrainte de ressort :
Minimum (réglage souple) : 1
Standard : 4
Maximum (réglage dur) : 7
N.B.
Un réglage plus précis de la précontrainte de ressort peut être effectué en modifiant la position du siège du ressort.
Confier ce réglage à un concessionnaire Yamaha, car il s'effectue à l'aide d'outils spéciaux.
FSU13831
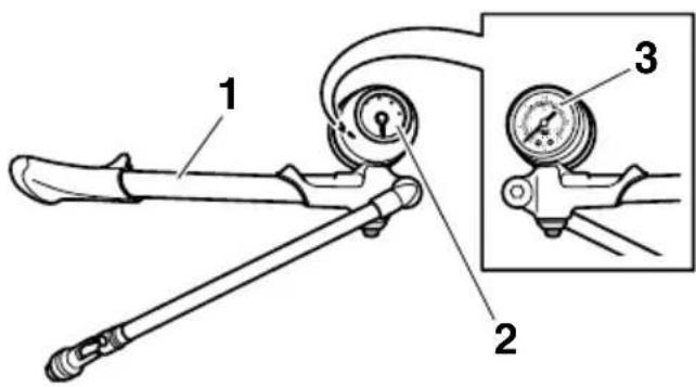
Réglage de la pression d'air de l'amortisseur arrière (RX10PS)
Une pompe spéciale, livrée avec la moto-neige, permet de régler la pression d'air de l'amortisseur. Cette pompe est équipée d'un manomètre. Une face du manomètre permet de mesurer la basse pression, et l'autre face la haute pression. Ajuster la pression de l'amortisseur arrière à l'aide de la face haute pression du manomètre.

- Pompe d'amortisseur
- Manomètre (face à basse pression)
- Manomètre (face à haute pression)
FWS00800
AVERTISSEMENT
Placer un support solide et stable sous la motoneige avant d'effectuer tout réglage de l'amortisseur. Ceci afin de prévenir la chute du véhicule, qui risquerait de provoquer des blessures.
FCS01030
ATTENTION
S'assurer qu'aucune charge ne pèse sur l'amortisseur et qu'il est parfaitement détendu avant de procéder à tout réglage de la pression d'air.
Réglage de la pression d'air
- Disposer la motoneige sur une surface de niveau, puis serrer le frein de stationnement.
- Placer l'arrière de la motoneige sur un support adéquat, de façon à ce que la chenille ne touche plus le sol.
- Retirer le capuchon de la valve de l'amortisseur.

-
Capuchon de valve
-
Monter le connecteur de durite de la pompe spéciale sur la valve de l'amortisseur, et le serrer d'environ six tours de sorte que la pression s'affiche à la jauge de la pompe, puis relever le levier de verrouillage du connecteur de durite.
ATTENTION : Veiller à ne pas serrer le connecteur à l'excès sous peine d'en-dommager son joint. [FCS00721]

- Valve
- Connecteur de durite
- Levier de verrouillage du connecteur de durée
N.B.
En cas d'absence de pression d'air dans l'amortisseur, la jauge affiche une pression de zéro.
- Pour augmenter la pression d'air, actionner quelques fois la pompe. La pression devrait augmenter lentement. Si la pression augmente rapidement, vérifier si la pompe est connectée correctement et serrée contre la valve. Pour réduire la pression d'air, appuyer sur le bouton de valve de purge noir. ATTENTION : Ne pas dépasser 1551 kPa (15.5 kgf/cm², 225 psi). [FCS00981]

- Manomètre (face à haute pression)

Plage de réglage de la pression d'air : 965–1551 kPa (9.7–15.5 kgf/cm², 140–225 psi)
Pression d'air recommandée : 1138 kPa (11.4 kgf/cm², 165 psi) (CAN) 1178 kPa (11.8 kgf/cm², 170 psi) (FIN)(SWE)
N.B.
Afin que l'air s'échappe de la pompe et de l'amortisseur, enfoncer à moitié le bouton et le maintenir à cette position. Afin de ne laisser s'échapper qu'une petite quantité d'air, enfoncer tout à fait le bouton, et le relâcher rapidement.
- Abaisser le levier de verrouillage du connecteur de durite, puis retirer le connecteur de durite de la valve.
N.B.
L'air que l'on entendrait s'échapper au moment du retrait du connecteur provient de la durée de la pompe et non de l'amortisseur.
- Remettre le capuchon de la valve en place.
N.B.
Si l'amortisseur talonne trop facilement ou a trop de roulis lors des virages, il convient d'augmenter la pression d'air de 34 kPa (0.3 kgf/cm², 5 psi). Si l'amortisseur est trop ferme et que l'on préfère une conduite plus souple, réduire la pression d'air de 34 kPa (0.3 kgf/cm², 5 psi).
FSU14010
Réglage de la force d'amortissement à la détente de l'amortisseur arrière (RX10P)
FWS00161
AVERTISSEMENT
Ne pas ajuster la molette de réglage à distance tant que la motoneige est en mouvement, sous peine de risquer de provoquer une perte de contrôle, un accident et des blessures.
FCS00291
ATTENTION
Veiller à arrêter la molette de réglage à distance sur un des repères figurant autour de la molette et identifiée par un déclic.
La force d'amortissement à la détente se règle en tournant la molette de réglage à distance de la force d'amortissement de l'amortisseur arrière.
Pour augmenter la force d'amortissement à la détente, tourner la molette de réglage dans le sens (a). Pour réduire la force d'amortissement à la détente, tourner la molette de réglage dans le sens (b).

text_image
(b) 1 2 (a)-
Molette de réglage à distance de la force d'amortissement d'amortisseur arrière
-
Position standard
Réglage d'amortissement à la détente :
Minimum (réglage souple) : 11 déclic(s) dans le sens (b)*
Standard :
Molette de réglage alignée sur le repère d'alignement de la position standard
Maximum (réglage dur) :
11 déclic(s) dans le sens (a)*
* La molette de réglage étant à la position standard.
FSU13290
Réglage de la force d'amortissement à la compression de l'amortisseur arrière (RX10PXT)
La force d'amortissement à la compression se règle en tournant le bouton de réglage.
Pour augmenter la force d'amortissement à la compression, tourner le bouton de réglage dans le sens (a). Pour réduire la force d'amortissement à la compression, tourner le bouton de réglage dans le sens (b). ATTENTION : Une fois que le bouton de réglage s'arrête, ne pas le tourner davantage dans le sens (a). L'amortisseur risque d'être endommagé et les réglages de force d'amortissement pourraient ne plus pouvoir être effectués. Ne pas tourner le bouton de réglage de plus de 12 déclic(s) dans le sens (b). Tourner le bouton de réglage au-
delà de 12 déclic(s) n'aura plus aucune incidence sur la force d'amortissement. S'assurer d'arrêter le bouton de réglage à une position où un déclic se produit.
[FCS00910]

text_image
(b) (a) 1- Bouton de réglage de la force d'amortissement à la compression
Réglage de la force d'amortissement à la compression :
Minimum (réglage souple) :
12 déclic(s) dans le sens (b)*
Standard :
6 déclic(s) dans le sens (b)*
Maximum (réglage dur) :
2 déclic(s) dans le sens (b)*
* Le bouton de réglage étant tourné à fond dans le sens (a).
FSU11046
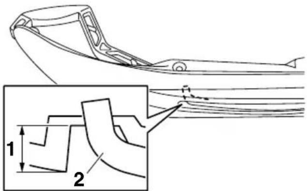
Réglage des tiges de réglage
Le transfert de charge peut être ajusté en tournant le dispositif de réglage de la tige de réglage (RX10P / RX10PS) ou en tournant l'écrou de réglage de chaque tige de réglage (RX10PXT).
RX10P / RX10PS
- Contrôler, comme illustré, la longueur de la tige de réglage à l'aide de l'échelle figurant sur la clé spéciale.
N.B.
Afin d'obtenir une mesure précise, disposer le coin de la clé spéciale contre le dispositif de réglage de la tige de réglage et veiller à ce
que le contre-écrou soit tourné de sorte qu'un de ses enfoncements coïncide avec la clé pour que celle-ci s'ajuste bien à l'horizontale sur la tige de réglage.

text_image
1 3 4 Min Max 2 5- Coin de clé spéciale
- Dispositif de réglage de tige de réglage
- Plage de l'échelle
- Clé spéciale
- Longueur de tige de réglage
N.B.
Effectuer ce réglage à l'aide de la clé spéciale fournie dans la trousse de réparation.
- Desserrer le contre-écrou.
- Pour augmenter le transfert de charge, tourner le dispositif de réglage dans le sens (a), et pour le réduire, dans le sens (b). AVERTISSEMENT ! Ne jamais régler la tige de réglage au-delà de la plage de réglage de la clé spéciale, sous peine de risquer de l'endommager, ce qui pourrait provoquer un accident et des blessures. [FWS00181]

text_image
(a) (b)- Contre-écrou
- Dispositif de réglage de tige de réglage
- Serrer le contre-écrou tout en immobilisant le dispositif de réglage.
N.B.
S'assurer que la clé spéciale s'ajuste correctement sur le contre-écrou.

Couple de serrage de contre-écrou : 35 Nm (3.5 m·kgf, 25 ft·lbf)
RX10PXT
FWS00770
AVERTISSEMENT
Le réglage de l'écrou des deux tiges de réglage doit être identique. Un réglage inégal peut se traduire par une maniabilité et un équilibre réduits.
- Desserrer le contre-écrou tout en immobilisant l'écrou de réglage.

text_image
(a) (b) 1 2- Contre-écrou
-
Écrou de réglage de tige de réglage
-
Pour augmenter le transfert de charge, tourner l'écrou de réglage dans le sens (a), et pour le réduire, dans le sens (b). AVERTISSEMENT ! Ne jamais régler les tiges de réglage au-delà du réglage maximal, c.-à-d. dans la plage signalée en rouge sur les tiges, sous peine de risquer de les endommager, ce qui pourrait provoquer un accident et des blessures. [FWS00173]

text_image
1 3 2- Zone en rouge
- Plage de réglage
- Position standard
- Serrer le contre-écrou tout en immobilisant l'écrou de réglage. ATTENTION : Toujours d'abord serrer le contre-écrou jusque contre l'écrou de réglage, puis le serrer au couple spécifié. [FCS00860]
Couple de serrage de contre-écrou : 25 Nm (2.5 m·kgf, 18 ft·lbf)
FSU13820
Système EXUP
Le véhicule est équipé du système EXUP (système de valve à l'échappement) de Yamaha. Le système EXUP, grâce à sa valve de réglage du flux des gaz d'échappement, permet d'accroître le rendement du moteur. Un servomoteur commandé électroniquement règle en permanence la valve en fonction du régime du moteur.
FCS01020
ATTENTION
Le système EXUP a été réglé à l'usine Yamaha après de nombreux essais. Toute modification des réglages effectuée par une personne ne possédant pas les connaissances techniques requises pourrait provoquer une baisse du rendement du moteur, voire son endommagement.
FSU11071
Inspector son véhicule avant chaque utilisation pour s'assurer de son bon état de fonctionnement. Toujours respecter les procédés et intervalles de contrôle et d'entretien figurant dans ce manuel.
FWS00191
AVERTISSEMENT
Le manquement au contrôle et à l'entretien du véhicule augmente les risques de son endommagement, ainsi que les risques d'accident. Ne pas utiliser le véhicule en cas de détection du moindre problème. Si les explications données dans ce manuel ne permettent pas de réparer un problème, il faut confier le contrôle du véhicule à un concessionnaire Yamaha.
FSU11081
Points à contrôler avant chaque utilisation
| ÉLÉMENTS CONTRÔLES PAGES | ||
| Carburant | Contrôler le niveau de carburant.Refaire le plein de carburant si nécessaire.S'assurer de l'absence de fuite au niveau des durites d'alimentation. | 35 |
| Huile moteur | Contrôler le niveau d'huile dans le moteur.Si nécessaire, ajouter de l'huile du type recommandé jusqu'au niveau spécifié.S'assurer de l'absence de toute fuite d'huile. | 72 |
| Liquide de refroidissement | Contrôler le niveau de liquide de refroidissement.Faire l'appoint si nécessaire. | 76 |
| Courroie trapézoïdale | Contrôler l'état et l'usure.Remplacer si c'est nécessaire. | 78 |
| Carter de protection de la courroie | S'assurer de la mise en place correcte du carter de protection de la courroie.S'assurer du bon état des montures du carter de protection. | 33 |
| Frein | Contrôler le fonctionnement.Si mou ou spongieux, faire purger le circuit hydraulique par un concessionnaire Yamaha.Contrôler l'usure des plaquettes de frein.Remplacer si c'est nécessaire.Contrôler le niveau du liquide dans le maître-cylin-dre.Si nécessaire, ajouter du liquide de frein du type recommandé jusqu'au niveau spécifié.S'assurer de l'absence de toute fuite au niveau du circuit hydraulique. | 82 |
| Filtre à air | S'assurer de l'absence de neige sous l'élément du filtre à air.Si nécessaire, enlever la neige à la brosse. | 70 |
| Trousse de réparation et équipement recommandé | S'assurer de leur présence. | 64 |
| Capot et caches | S'assurer que le capot et les caches sont mis en place correctement. | 64 |
| Skis et lisses de ski | Contrôler l'état et l'usure.Si nécessaire, faire remplacer les skis et les lisses par un concessionnaire Yamaha. | 85 |
| Amortisseurs (RX10PS) | Contrôler la pression d'air.Régler si c'est nécessaire. | 38, 42 |
| Chenille | Contrôler la tension.Régler si c'est nécessaire.Contrôler l'état et l'usure.Si nécessaire, faire remplacer la chenille par un concessionnaire Yamaha. | 87 |
| Glissières | Contrôler l'état et l'usure.Si nécessaire, faire remplacer les glissières par un concessionnaire Yamaha. | 87 |
| Direction | S'assurer que le jeu n'est pas excessif. | 86 |
| Éclairage, signalisation et contacteurs | Contrôler le fonctionnement.Corriger si nécessaire. | 29, 92, 94 |
| Levier des gaz | S'assurer de l'actionnement en souplesse et du retour en position de ralenti dès le relâchement. | 20 |
| Système d'arrêt du moteur prioritaire T.O.R.S. | S'assurer du bon fonctionnement du système T.O.R.S.En cas de problème de fonctionnement, faire contrôler le véhicule par un concessionnaire Yamaha. | 69 |
FSU13500
Lire attentivement ce manuel afin de se familiariser avec toutes les commandes. En cas de doute concernant une commande ou fonction, ne pas hésiter à contacter un concessionnaire Yamaha.
FWS00201
AVERTISSEMENT
Une familiarisation insuffisante avec les commandes peut conduire à une perte de contrôle, qui pourrait se traduire par un accident et des blessures.
FSU13212
N.B.
Ce modèle est équipé de :
- un contacteur de pression d'huile coupant le moteur en cas de détection d'une chute de la pression d'huile moteur. Pour mettre le moteur en marche après un arrêt effectué par ce système, s'assurer que la motoneige se trouve sur une surface de niveau, et tourner la clé de contact à la position d'arrêt, puis la tourner à la position d'allumage. En cas d'omission de cette étape, le moteur se lance mais ne se met pas en marche lorsque la clé est tournée à la position de mise en marche. Si le moteur ne se met pas en marche ou s'il se coupe à nouveau, faire contrôler la motoneige par un concessionnaire Yamaha.
- un système empêchant la surchauffe du moteur lorsque celui-ci tourne au ralenti. Lorsque le moteur a tourné au ralenti pendant au moins 3 minutes et que la température du liquide de refroidissement a dépassé 100 °C (212 °F), le moteur se coupe automatiquement afin d'empêcher une surchauffe. Le moteur peut être mis en marche après avoir été coupé.
FSU11303
Mise en marche du moteur
- Serrer le frein de stationnement.

- S'assurer que le bouton coupe-circuit du moteur est à la position de marche. Le démarreur est inopérant lorsque le bouton coupe-circuit du moteur est à la position d'arrêt.

- Position de marche
-
Position contact coupé
-
Tourner la clé de contact à la position de mise en marche, et la relâcher dès que le moteur s'est mis en marche.
ATTENTION : Relâcher le contacteur dès que le moteur tourne. Si le moteur ne se met pas en marche, relâcher la clé, attendre quelques secondes, puis effectuer une nouvelle tentative. Chaque essai doit être le plus court possible afin de ménager la batterie. Ne ja-
mais actionner le démarreur pendant plus de 10 secondes d'affilée par essai. [FCS00331]

-
Mise en marche
-
Faire chauffer le moteur jusqu'à ce qu'il tourne régulièrement.
- Bien s'assurer que le témoin de température basse du liquide de refroidissement s'est éteint avant de se mettre en route. (Voir page 25 pour plus de détails au sujet du témoin.)
FSU11310
Rodage
Les premiers 500 km (300 mi) constituent la période la plus importante pour le moteur de la motoneige. Il convient dès lors de lire très attentivement les renseignements suivants.
Comme le moteur est neuf, il convient de ne pas le soumettre à une charge excessive pendant les premiers 500 km (300 mi). De nombreuses pièces du moteur s'usent et se polissent d'elles-mêmes aux bonnes positions de fonctionnement. Pendant cette période, éviter de conduire à pleins gaz de façon prolongée et éviter tout excès susceptible de provoquer la surchauffe du moteur.
Première utilisation de la motoneige
Mettre le moteur en marche et le laisser tourner au ralenti pendant 15 minutes.
0–160 km (0–100 mi)
Éviter l'utilisation prolongée au-delà de 6000 tr/mn.
160–500 km (100–300 mi)
Éviter l'utilisation prolongée au-delà de 8000 tr/mn.
500 km (300 mi) et au-delà
Le rodage est terminé et la motoneige peut être conduite normalement.
FCS00340
ATTENTION
- Après les premiers 800 km (500 mi), il convient de changer l'huile moteur et la cartouche du filtre à huile.
- En cas de problème au moteur pendant sa période de rodage, faire contrôler immédiatement la motoneige par un concessionnaire Yamaha.
FSU12624
Conduite de la motoneige Se familiariser avec sa motoneige
FWS00211
AVERTISSEMENT
Pour éviter blessures graves ou la mort :
- Toujours maintenir le guidon des deux mains.
- Toujours maintenir les pieds sur les marchepieds.
- Éviter les vitesses plus élevées ou les manœuvres plus difficiles avant de s'être parfaitement familiarisé avec les commandes et le comportement de la motoneige.
La conduite d'une motoneige exige la participation active du pilote, faisant de sa position et de son équilibre deux facteurs essentiels.
L'adresse qu'exige la maîtrise de cet engin ne s'acquiert qu'avec le temps et l'expérience. Veiller à bien maîtriser les techniques de base avant d'aborder les manœuvres plus difficiles. La conduite de cette motoneige neuve est une activité très agréable qui assurera de nombreuses heures de plaisir. Mais il est indispensable de se familiariser avec son fonc-
tionnement afin d'acquérir l'expérience nécessaire permettant d'apprécier sa conduite en toute sécurité. Avant la première utilisation, il convient de lire ce manuel dans son intégralité et de s'assurer d'avoir bien compris le fonctionnement des commandes.
Prêter une attention particulière aux consignes de sécurité à la page 15.
Veiller également à lire attentivement toutes les étiquettes de sécurité qui sont apposées sur la motoneige.
Il convient en outre de lire le livret sur la sécurité du pilote de motoneige qui est fourni avec la motoneige (au Canada).
Apprentissage de la conduite de sa motoneige
Avant chaque départ, toujours effectuer les contrôles décrits à la page 48. Les quelques minutes consacrées à cette inspection sont largement compensées par le gain de sécurité et de fiabilité de la motoneige. Une autre mesure préventive importante est de s'assurer de porter des vêtements de protection contre le froid, mais aussi contre les chutes en cas d'accident.
Même un pilote expérimenté doit se familiariser avec cette motoneige neuve en la conduisant lentement. Ne pas brûler les étapes et ne pas rechercher les performances à tout prix tant que l'on ne maîtrise pas parfaitement les commandes et le comportement de sa motoneige.
Le pilote novice doit se familiariser avec la motoneige sur un grand terrain plat. S'assurer que ce terrain ne présente pas d'obstacle et n'est pas fréquenté par d'autres véhicules. Il convient de s'exercer à contrôler la commande des gaz et les freins, ainsi que d'apprendre à maîtriser la prise de virages avant de s'aventurer sur des terrains plus difficiles. Serrer le frein de stationnement, puis suivre les instructions de mise en marche du moteur à la page 50. Une fois le moteur chaud, la motoneige est prête pour une randonnée.
Démarrage et accélération
-
Le moteur étant au ralenti, desserrer le frein de stationnement.
-
Actionner progressivement et en douceur le levier des gaz. L'embrayage de la courroie trapézoïdale embraye le moteur et le véhicule accélère.
AVERTISSEMENT ! Ne jamais permettre la présence de quiconque derrière la motoneige au moment de la mise en marche du moteur. Une chenille cassée, des raccords de chenille ou des fragments projetés par la chenille pourraient blesser des tiers. [FWS00690]
Freinage
FWS00220
AVERTISSEMENT
- Sur certaines surfaces telles que de la glace et de la neige tassée, la distance de freinage est nettement plus longue. Être donc attentif et anticiper les freina-ges en réduisant les gaz suffisamment tôt.
- Un freinage brutal peut provoquer le dérapage de la chenille, une réduction du contrôle et une augmentation des risques d'accident.
Réduire la vitesse ou immobiliser la motoneige en relâchant le levier des gaz, et en actionnant progressivement le frein. Ne pas freiner brusquement !
Prise de virages
Pour la plupart des surfaces enneigées, la clé d'un virage efficace réside dans la position du pilote.
À l'approche d'un virage, réduire sa vitesse et tourner quelque peu le guidon dans la direction souhaitée. Ce faisant, prendre appui sur le marchepied côté intérieur du virage et se pencher du même côté.

Cette technique doit être pratiquée de nombreuses fois à vitesse réduite et sur un terrain facile et sans obstacles. Une fois cette technique maîtrisée à vitesse lente, il est alors possible de passer à des vitesses plus élevées ou de prendre des virages plus serrés. Plus le virage est serré ou la vitesse est élevée, plus il faut se pencher vers l'intérieur du virage.
Une technique de conduite inadéquate, telle que des accélérations ou décélérations brusques, des freinages secs, une mauvaise position du corps, ou une vitesse trop élevée pour un virage donné peuvent faire basculer la motoneige.
Si la motoneige se met à basculer, se pencher encore plus vers l'intérieur du virage pour la redresser. Si nécessaire, relâcher très progressivement le levier des gaz, et diriger le véhicule dans le sens opposé.
Ne pas oublier :
Éviter les vitesses excessives avant de s'être entièrement familiarisé avec le fonctionnement de la motoneige.
Montée de pentes
FWS00231
AVERTISSEMENT
La conduite sur les côtes pose un risque de perte de contrôle si les techniques adéquates ne sont pas utilisées. Suivre les instructions suivantes afin de réduire le risque d'accident. Ne s'attaquer à des pentes plus raides ou plus difficiles qu'après avoir acquis la technique nécessaire sur des pentes plus douces.
Au début, s'entraîner sur une pente douce. Ne s'attaquer à des pentes plus raides qu'après avoir acquis la technique nécessaire. À l'approche d'une colline, prendre de la vitesse, puis réduire les gaz pour éviter que la chenille ne patine dans la montée. Toujours veiller à maintenir son poids du côté de la montée. Pour ce faire, se pencher vers l'avant et, dans les côtes plus raides, se tenir debout sur les marchepieds et se pencher sur le guidon. (Voir également les explications sous "Traversée de flancs de collines".)

Ne pas se laisser surprendre par un obstacle invisible du pied de la côte. Ralentir à l'approche de la crête, et se préparer à éviter un obstacle, à négocier un virage ou à entamer une descente. Si la pente devient trop raide et qu'il n'est pas possible de la franchir, ne pas laisser patiner la chenille. Couper le moteur et mettre le frein de stationnement. Tourner la motoneige vers la descente, en tirant sur l'ar-
rière du véhicule. Une fois la motoneige dirigée vers la descente, l'enfourcher par le côté amont. Remettre le moteur en marche, relâcher le frein de stationnement, puis entamer la descente.
Descente de pentes
FWS00240
AVERTISSEMENT
Être particulièrement prudent quand l'on freine dans une descente. Un freinage trop sec peut bloquer la chenille et rendre la motoneige incontrôlable.
En descente, toujours limiter au maximum sa vitesse. Il faut toutefois donner suffisamment de gaz pour maintenir le moteur embrayé. En effet, la compression du moteur constitue le meilleur frein et empêche ainsi la motoneige d'être emportée par son propre poids. Actionner le frein fréquemment, mais en douceur.

Traversée de flancs de collines
FWS00251
AVERTISSEMENT
La traversée à flanc de pentes pose un risque de capotage ou de perte de contrôle si les techniques adéquates ne sont pas utilisées. Suivre les instructions suivantes afin de réduire le risque d'accident. Ne s'attaquer à des pentes plus raides ou plus difficiles qu'après avoir acquis la technique nécessaire sur des pentes plus douces.
Pour ne pas perdre l'équilibre, il est nécessaire d'adapter sa position lors de la traversée d'un flanc de colline. Déplacer le centre de gravité en se penchant du côté de la montée. Une position recommandée consiste à se caler sur le siège avec le genou côté aval et à prendre appui sur le marchepied côté amont. Cette technique permet de se déporter beaucoup plus loin sur le côté lorsque cela s'avère nécessaire.

Sur la neige et plus encore sur la glace, il faut s'attendre à glisser latéralement. Dans ce cas, diriger simplement la motoneige vers la descente, pour autant qu'il n'y ait pas d'obstacles. Après avoir retrouvé l'équilibre, reprendre progressivement la direction souhaitée. Si la motoneige se met à basculer, redresser le véhicule en le dirigeant vers la descente.
AVERTISSEMENT ! Si l'on sent la moto-neige basculer, et que l'on ne parvient pas à la redresser, sauter sans attendre du côté amont afin d'éviter d'être heurté ou coincé sous le véhicule en cas de capo-tage de celui-ci. [FWS00261]
Glace et verglas
FWS00270
AVERTISSEMENT
Lors de la conduite sur de la glace ou sur une surface verglacée, conduire lente-ment et avec beaucoup de prudence. Éviter toute accélération, freinage ou virage
brusques. Le contrôle est extrêmement réduit et le risque d'un dérapage ou d'un tête-à-queue est constant.
La conduite sur de la glace ou du verglas peut être très dangereuse. L'adhérence dans les virages, lors de freinages et au démarrage est beaucoup plus aléatoire que sur la neige.
Neige tassée
En raison de la traction réduite des skis et de la chenille, il peut être plus difficile de prendre un virage sur de la neige tassée que sur de la neige fraîche. Éviter toute accélération, freinage ou virage brusques.
Conduite sur des surfaces autres que la neige ou la glace
Il convient d'éviter de conduire la motoneige sur toute autre surface que la neige et la glace. Sinon, les lisses de ski, la chenille, les glissières et les pignons seront vite usés. Les surfaces à éviter à tout prix sont :
•Terre
●Sable
- Pierraille
●Herbe
- Routes dégagées
Pour assurer une durée de service normale à la chenille et aux glissières, il faut aussi éviter autant que possible les terrains suivants :
●Glace dure
●Neige salie de sable ou de boue
Toutes les surfaces mentionnées ont un point commun en ce qui concerne la chenille et les glissières : elles n'offrent que peu ou pas de lubrification. La chenille et toute suspension à glissières dépendent pour leur lubrification de l'infiltration d'eau ou de neige entre le plastique des glissières et les éléments métalliques de la chenille. Sans cette lubrification, les glissières seront vite usées. Dans les cas extrêmes, elles peuvent littéralement fondre, et la chenille sera endommagée ou ne fonctionnera pas correctement.
De plus, des aides de traction, comme des crampons ou des barres, peuvent aggraver l'endommagement ou le mauvais fonctionnement de la chenille.
FWS00280
AVERTISSEMENT
L'endommagement ou le mauvais fonctionnement de la chenille pourrait provoquer une perte de la puissance de freinage et une perte de contrôle de la motoneige, ce qui pourrait être la cause d'un accident.
- Toujours vérifier l'état et le réglage de la chenille avant d'utiliser la motoneige.
- Ne pas utiliser le véhicule si la chenille est en mauvais état.
FCS00350
ATTENTION
Conduire fréquemment sur de la neige fraîche. L'utilisation sur de la glace ou de la neige tassée entraîne une usure rapide des glissières.
FSU11350
Optimisation de la durée de service de la chenille
Recommendations
Tension de la chenille
Lors du rodage initial, la chenille neuve aura tendance à se détendre rapidement. Il convient dès lors de régler fréquemment la tension et l'alignement de la chenille. (Voir les explications du réglage à la page 87.) Une chenille détendue risque de glisser par à-coups, de sauter ou de se prendre dans les éléments de la suspension et de gravement endommager le véhicule. Ne pas serrer la chenille à l'excès sous peine d'accroître la friction entre la chenille et les glissières, ce qui entraînerait l'usure rapide de ces éléments. Un serrage excessif pourrait également sur-charger les éléments de la suspension, ce qui risque de provoquer leur défaillance.
Neige peu profonde
La chenille et les glissières sont lubrifiées et refroidies par la neige et l'eau. Afin d'éviter la surchauffe de ces éléments, il faut éviter l'utilisation prolongée à grande vitesse sur des surfaces peu enneigées, telles les pistes verglacées et les rivières et lacs gelés. Une surchauffe de la chenille fragilisera celle-ci, ce qui pourrait entraîner son endommagement et un mauvais fonctionnement.
Conduite hors-piste
Éviter la conduite hors-piste à moins d'avoir la certitude que la profondeur de neige est suffisante. Une profondeur de neige de plusieurs pieds est en effet nécessaire pour recouvrir adéquatement les grosses pierres, les rondins et autres obstacles. Si la couverture de neige est insuffisante, il convient de rester sur les pistes afin d'éviter tout risque d'impact qui risque d'endommager la chenille.
Chenille cloutée
En règle générale, la durée de service d'une chenille sera réduite par la mise en place de clous. Le forage de trous dans la chenille provoque la coupure de ses fibres internes, ce qui la fragilise. Éviter de tordre la chenille. Les clous pourraient accrocher un objet et être arrachés de la chenille, ce qui endommagerait encore davantage les zones déjà abîmées. Afin de limiter l'endommagement, il convient de suivre les recommandations du fabricant de clous en ce qui concerne la mise en place et l'emplacement corrects des clous.
Yamaha ne recommande pas l'utilisation de clous.
FSU11394
Conduite
FWS00300
AVERTISSEMENT
Lire attentivement la section “CONSIGNES DE SÉCURITÉ” à la page 15, ainsi que la section “Conduite de la motoneige” à la page 51 avant la première utilisation de la motoneige.
N.B.
S'assurer de faire chauffer suffisamment le moteur avant de démarrer.
FWS00310
AVERTISSEMENT
- Ne jamais changer de rapport tant que le levier des gaz n'est pas tout à fait relâché et que la motoneige n'est pas complètement à l'arrêt.
- Bien veiller à engager correctement le mode de marche en poussant le sélecteur à la position “FWD” ou “REV” jusqu’à la butée, et seulement quand le moteur tourne au ralenti.
- Toujours s'assurer que la voie est libre avant de démarrer en marche arrière. Regarder derrière soi.
-
En marche arrière, piloter lentement et éviter de prendre des virages serrés.
-
Pour sélectionner une direction de marche, tirer sur le sélecteur, puis le faire glisser tout à fait vers "FWD" pour engager la marche avant et vers "REV" pour engager la marche arrière, puis relâcher le sélecteur. ATTENTION : Ne jamais passer de la marche avant "FWD" à la marche arrière "REV" ou vice versa tant que la motoneige est en mouvement. [FCS00811]

text_image
1 2 3- Tirer.
- Déplacer vers "FWD" (marche avant).
- Relâcher.

- Tirer.
- Déplacer vers "REV" (marche arrière).
- Relâcher.
N.B.
Un avertisseur de recul retentit quand la marche arrière est engagée.
- Tout en actionnant le levier de frein, relâcher le frein de stationnement en déplaçant son levier vers la droite, puis relâcher le levier de frein.

- Actionner lentement le levier des gaz pour démarrer.
- Tourner le guidon dans la direction de conduite voulue.
- Actionner le levier de frein pour arrêter la motoneige.
- Serrer le frein de stationnement en déplaçant son levier vers la gauche.
FSU11411
Arrêt du moteur
- Arrêter le moteur en coupant le contact.

text_image
1- Pas de contact
- En cas d'urgence, couper le moteur en appuyant sur le bouton coupe-circuit du moteur.

Observer les recommandations suivantes pour assurer un transport sans problème et sans danger de la motoneige dans une remorque ou une benne ouverte :
- Couvrir la motoneige d'une housse bien ajustée en cas de son transport dans une remorque ou dans une benne ouverte. Une housse sur mesure constitue bien sûr la meilleure protection. De cette façon, crasses et objets ne pourront pénétrer dans les admissions d'air de refroidissement et la motoneige sera protégée des projections éventuelles.
●Lors du transport de la motoneige dans une remorque ou dans une benne ouverte sur des routes salées, enduire les surfaces métalliques des suspensions avec de la graisse ou un autre produit antirouille. Cette précaution protégera le véhicule de la corrosion. Dès l'arrivée à destination, nettoyer la motoneige à l'eau froide pour éliminer les traces de sels corrosifs.
FSU13181
La réalisation des contrôles et entretiens, réglages et lubrifications périodiques permet de garantir le meilleur rendement possible et contribue hautement à la sécurité de conduite. La sécurité du véhicule incombe à son propriétaire ou utilisateur. Les points de contrôle, réglage et lubrification principaux du véhicule sont expliqués aux pages suivantes.
FWS00341
AVERTISSEMENT
Le manquement à l'entretien adéquat de la motoneige ou le recours à des méthodes d'entretien incorrectes peut accroître les risques de blessures ou de mort lors d'un entretien ou lors de la conduite du véhicule. Si l'on ne maîtrise pas les techniques d'entretien des motoneiges, il faut confier ce travail à un concessionnaire Yamaha.
FWS00700
AVERTISSEMENT
Couper le moteur avant d'effectuer tout entretien, sauf quand autrement spécifié.
- Les pièces mobiles du moteur pourraient happer un vêtement ou des membres du corps et des éléments électriques peuvent provoquer des décharges ou déclencher des incendies.
- Faire tourner le moteur lors d'un entretien peut se traduire par blessures oculaires, brûlures, incendies ou empoisonnement par le monoxyde de carbone risquant de provoquer la mort. Voir page 15 pour plus d'informations au sujet du monoxyde de carbone.
FWS00790
AVERTISSEMENT
Les disques, étriers et garnitures de frein peuvent devenir très chauds lors de leur utilisation. Pour éviter tout risque de brûlures, laisser refroidir les éléments de frein avant de les toucher.
FSU11461
Entretiens périodiques du système antipollution
L'entretien des éléments signalés par un astérisque ne pouvant être mené à bien sans les données techniques, les connaissances et l'outillage adéquats, il doit être confié à un concessionnaire Yamaha.
| ÉLÉMENTS REMARQUES | INITIAL TOUS LES | PAGES | ||
| 1 mois ou 800 km (500 mi) (40 h) | Saison ou 4000 km (2500 mi) (200 h) | |||
| Bougies | Contrôler l’état.Régler l’écartement des électrodes et nettoyer.Remplacer si nécessaire. | 67 | ||
Entretiens et réglages périodiques
| ÉLÉMENTS REMARQUES | INITIAL TOUS LES | PAGES | ||
| 1 mois ou 800 km (500 mi) (40 h) | Saison ou 4000 km (2500 mi) (200 h) | |||
| * | Jeu des soupapes | Contrôler et régler le jeu des soupapes le moteur étant froid. | Tous les 40000 km (25000 mi) | 72 |
| * | Ventilation du carter moteur | S'assurer que la durite de mise à l'air n'est ni craquelée ni autrement endommagée.Remplacer si nécessaire. | — | |
| * | Canalisation de carburant | S'assurer que la durite de carburant n'est ni craquelée ni autrement endommagée.Remplacer si nécessaire. | — | |
| * | Injection de carburant | Contrôler la synchronisation.Régler si c'est nécessaire. | ● | — |
| * | Système d'échappement | Rechercher les fuites éventuelles.Serrer ou remplacer tout joint si nécessaire. | ● | — |
FSU11564
Tableau des entretiens et graissages périodiques
| ÉLÉMENTS REMARQUES | INITIAL CHAQUE | PAGES | ||
| 1 mois ou 800 km (500 mi) (40 h) | Saison ou 4000 km (2500 mi) (200 h) | |||
| Huile moteur | Changer (chauffer le moteur avant de faire la vidange). | ● | 72 | |
| * | Cartouche du filtre à huile moteur | Remplacer. | ● | Tous les 20000 km (12000 mi) |
| * | Circuit de refroidissement | Contrôler le niveau de liquide de refroidissement.Purger le circuit de refroidissement si nécessaire. | 76 | |
| *Système EXUP | Contrôler le fonctionnement, le jeu de câble des gaz et la position de la poulie. | ● | — | |
| * | Embrayage de pou-lies menante et me-née | Contrôler la vitesse d'em-brayage et le régime de varia-tion.Régler si c'est nécessaire. | — | |
| À chaque changement d'altitude. | ||||
| Contrôler l'état et l'usure des poulies.Contrôler l'usure des poids, des rouleaux et des entretoises de la poulie menante.Contrôler l'usure des mâchoi-res et entretoises de la poulie menée.Remplacer si nécessaire. | — | |||
| Lubrifier à l'aide de la graisse spécifiée. | — | |||
| * | Chaîne de transmis-sion | Contrôler la tension de la chaîne.Régler si c'est nécessaire. | Après les premiers 500 km (300 mi) puis tous les 800 km (500 mi) par la suite. | |
| * | Huile de chaîne de transmission | Contrôler le niveau de l'huile. | ● | 81 |
| Changer. 81 | ● | |||
| * | Frein et frein de sta-tionnement | Régler la garde et remplacer les plaquettes si nécessaire. | 82 | |
| Changer le liquide de frein. | Consulter le N.B. figu-rant à la suite de ce ta-bleau. | |||
| Câbles de commande | • S'assurer du fonctionnement en douceur.• Lubrifier si nécessaire. | 91 | ||
| * | Frein à disque | • Contrôler s'il y a un léger jeu.• Lubrifier l'axe avec la graisse spécifiée comme requis. | Tous les 1600 km (1000 mi) | — |
| * | Pignon menant à glissement réduit | • Contrôler l'état et l'usure.• Remplacer si nécessaire. | ● | 85 |
| * | Glissières | • Contrôler l'état et l'usure.• Remplacer si nécessaire. | 87 | |
| * | Skis et lisses de ski | • Contrôler l'état et l'usure.• Remplacer si nécessaire. | 85 | |
| * | Direction | • Contrôler l'ouverture des skis.• Régler si c'est nécessaire. | 86 | |
| * | Roulements de direction | • S'assurer qu'il n'y a pas de jeu.• Lubrifier à l'aide de la graisse spécifiée. | — | |
| * | Skis et amortisseurs avant | • Lubrifier à l'aide de la graisse spécifiée. | 91 | |
| * | Organes de la suspension | • Lubrifier à l'aide de la graisse spécifiée. | 91 | |
| * | Chenille | • Contrôler la tension.• Régler si c'est nécessaire. | Après les premiers 500 km (300 mi) puis tous les 800 km (500 mi) par la suite. | 87 |
| Visserie | • S'assurer que toutes les vis et tous les écrous sont correctement serrés.• Serrer si nécessaire. | ● | 95 | |
| * | Batterie | • Contrôler l'état.• Charger si nécessaire. | 95 | |
N.B.
Système de freinage :
- Toujours changer le liquide de frein après un démontage du maître-cylindre ou du cylindre d'étrier. Contrôler régulièrement le niveau du liquide de frein, et ajouter du liquide si nécessaire.
- Remplacer les bagues d'étanchéité du maître-cylindre et du cylindre d'étrier tous les deux ans.
Entretiens et réglages périodiques
- Remplacer la durée de frein tous les quatre ans ou lorsqu'elle est craquelée ou endommagée.
FSU11742
Trousse de réparation
Les informations données dans ce manuel et les outils de la trousse de réparation sont destinés à fournir au propriétaire les moyens nécessaires pour effectuer l'entretien préventif et les petites réparations. Cependant d'autres outils, comme une clé dynamométrique, peuvent être nécessaires pour effectuer correctement certains entretiens.

- Trousse de réparation
FCS00360
ATTENTION
Avant de mettre le moteur en marche, vérifier si la trousse de réparation est bien en place et si elle est correctement attachée.
N.B.
Si l'on ne dispose pas d'une clé dynamométrique pour un travail qui nécessite un serrage à un couple précis, confier la motoneige à un concessionnaire Yamaha pour faire contrôler le couple de serrage.
FSU12896
Dépose et repose du capot et des caches
FWS00091
AVERTISSEMENT
S'assurer que capot et caches sont correctement en place avant de démarrer. Un capot ou un cache mal attachés risquent de bouger et de provoquer une perte de contrôle.
Capot
Dépose du capot
Desserrer les fixations, soulever lentement le capot, puis le décrocher de son appui.

Accrocher l'extrémité du capot à son appui, l'abaisser lentement jusqu'à sa position d'origine, puis serrer les attaches.

Caches latéraux gauche et droit
Dépose d'un cache latéral
- Retirer le capot. (Se reporter aux explications ci-dessus.)
- Desserrer les fixations, puis tirer vers l'extérieur aux endroits indiqués, et faire ensuite glisser le cache latéral vers l'avant afin de le déposer.

- Fixation
- Cache latéral gauche
Repose d'un cache latéral
- Loger la saillie à l'arrière du cache latéral dans l'orifice du cache latéral du réservoir de carburant.

- Loger les saillies du cache latéral dans les fentes, comme illustré.

- Serrer les fixations.
- Remettre le capot en place.
Cache supérieur
Dépose du cache supérieur
- Retirer le capot ainsi que le cache latéral gauche. (Se reporter aux explications ci-dessus.)
- Retirer les vis, puis déposer le guide de câble.

- Vis
-
Guide de câble
-
Desserrer les vis à serrage rapide.

-
Vis à serrage rapide
-
Cache supérieur
-
Soulever l'arrière du cache supérieur, débrancher le coupleur du contacteur à clé et le coupleur de la prise pour accessoire CC, puis retirer le cache.

-
Cache supérieur
-
Coupleur de contacteur à clé

-
Cache supérieur
-
Coupleur de prise pour accessoire CC
Repose du cache supérieur
-
Brancher le coupleur du contacteur à clé et le coupleur de la prise pour accessoire CC.
-
Remettre le cache supérieur en place, en veillant à loger ses saillies dans les fentes de l'ensemble phares.

text_image
1-
Cache supérieur
-
Serrer les vis à serrage rapide.
-
Faire passer la durée de frein, le câble des gaz, le câble du frein de stationnement et le faisceau de fils par le guide de câble, remettre ce dernier en place, puis le fixer à l'aide des vis.

text_image
1-
Guide de câble
-
Remettre le cache latéral gauche et le capot en place.
FCS00372
ATTENTION
- Veiller à ce que tous les câbles, durites et fils soient correctement acheminés avant de remettre le capot et les caches en place.
- En reposant le capot et les caches, veiller à serrer correctement les fixations.
FSU11784
Contrôle des bougies
Les bougies sont des pièces importantes du moteur et leur contrôle est simple. L'état des bougies peut révéler l'état du moteur.
Contrôler la couleur de l'isolant autour de l'électrode. Pour une motoneige utilisée dans des conditions normales, la couleur idéale est une couleur café au lait clair ou légèrement foncé. Une couleur nettement différente même d'une seule bougie peut indiquer une anomalie. Une bougie très blanche par exemple, peut signaler une fissure dans l'arrivée d'air ou un mauvais réglage du carburateur pour le cylindre en question. Ne toutefois pas chercher à établir soi-même la cause du problème. Faire contrôler et, le cas échéant, réparer la motoneige par un concessionnaire Yamaha.
Les bougies doivent être dévissées et contrôlées régulièrement, car la chaleur et les dépôts finissent par les user. Consulter un concessionnaire Yamaha avant de changer de type de bougie.
Bougie spécifiée :
Fabricant :
NGK
Modèle :
CR9EB
FWS00710
AVERTISSEMENT
Il est important d'utiliser une bougie et un capuchon de bougie du type spécifié. En effet, le système T.O.R.S. pourrait ne pas fonctionner correctement.
Il existe plusieurs tailles de culot de bougies d'allumage. La longueur du culot se mesure entre le plan du joint et l'extrémité de la partie filetée. Un culot trop long provoque une surchauffe et, par conséquent, l'endommagement du moteur. Un culot trop court provoque l'encrassement de la bougie et une perte de rendement. De plus, quand le culot est trop court, des dépôts de calamine viendront encrasser les filets exposés et cela créera des points chauds dans la chambre de combustion, et provoquera l'endommagement du file-tage lui-même. Il est donc très important de toujours veiller à monter une bougie ayant la bonne taille de culot.
Taille du culot de bougie : 19.0 mm (0.75 in)

text_image
1 2- Écartement des électrodes
- Taille du culot de bougie
Avant de revisser une bougie, mesurer l'écartement des électrodes avec un calibre d'épaisseur et le régler comme spécifié.
Écartement des électrodes :
Entretiens et réglages périodiques
Toujours nettoyer le joint de la bougie avant de monter la bougie. Nettoyer le filetage et serrer la bougie au couple de serrage indiqué.
Couple de serrage de la bougie : 13 Nm (1.3 m·kgf, 9.4 ft·lbf)
FCS00382
ATTENTION
Toujours veiller à remettre correctement les capuchons de bougie en place. Sinon, ceux-ci risquent d'être endommagés par les vibrations du moteur.
FSU11838
Réglage de la garde du levier des gaz
- Disposer la motoneige sur une surface de niveau, puis serrer le frein de stationnement.
- Retirer le capot, les caches latéraux gauche et droit, ainsi que le cache supérieur. (Voir les explications relatives à la dépose à la page 64.)
- Déposer la vis d'ensemble phares des deux côtés du véhicule.

-
Vis d'optique de phare
-
Décrocher l'ensemble phares comme illustré, puis le soulever et le déplacer vers l'avant, de sorte à l'éloigner du couvercle du boîtier de filtre à air. ATTENTION :
Bien veiller à ne pas griffer la moto-neige en déplaçant l'ensemble phares.
[FCS00920]

text_image
1 Z Z-
Ensemble phares
-
Desserrer le contre-écrou.
-
Pour augmenter la garde du levier des gaz, tourner la vis de réglage dans le sens (a). Pour réduire la garde du levier des gaz, tourner la vis de réglage dans le sens (b).

text_image
1 2 (a) (b) 3- Contre-écrou
- Vis de réglage de la garde du levier des gaz
- Garde du levier des gaz
Garde du levier des gaz : 2.0–3.0 mm (0.08–0.12 in)
- Serrer le contre-écrou.
- Remonter l'ensemble phares, en veillant à glisser les fentes à sa base sur les saillies de son appui.

text_image
1 2- Fente
-
Saillie
-
Loger le profil d'étanchéité de l'ensemble phares dans l'échancrure au sommet du couvercle du boîtier de filtre à air.

- Profil d'étanchéité
- Remettre les vis de l'ensemble phares en place, puis les serrer au couple spécifié.
Couple de serrage de vis d'ensemble phares :
3.0 Nm (0.30 m·kgf, 2.2 ft·lbf)
- Remettre en place le cache supérieur, les caches latéraux gauche et droit, ainsi que le capot.
FSU11863
Contrôle du système d'arrêt du moteur prioritaire T.O.R.S.
FWS00352
AVERTISSEMENT
Lors du contrôle du système T.O.R.S., bien veiller à prendre les précautions suivantes afin d'empêcher tout mouvement inopiné de la motoneige et de prévenir un accident :
- Avant de procéder au contrôle du T.O.R.S., s'assurer que le levier des gaz fonctionne correctement le moteur à l'arrêt.
- S'assurer que le frein de stationnement est serré.
- Ne pas accélérer jusqu'au régime d'embrayage.

S'assurer du bon fonctionnement du système T.O.R.S.
- Mettre le moteur en marche.
N.B.
Se reporter à la section "Mise en marche du moteur" à la page 50.
- Empêcher que le pivot du levier des gaz ne touche le contacteur des gaz en plaçant le pouce (au-dessus) et l'index (en dessous) entre le pivot du levier et le logement du coupe-circuit du moteur. Tout en maintenant cette position, actionner progressivement le levier des gaz.

- Pivot de levier des gaz
- Logement du coupe-circuit du moteur
- Levier des gaz
Le système T.O.R.S. s'active de façon à réduire le régime moteur et à le maintenir en dessous du régime d'embrayage. (Voir page 106 pour connaître le régime d'embrayage.) AVERTISSEMENT ! Si le moteur ne descend pas en dessous du régime d'embrayage, couper le moteur en coupant le contact et consulter un concessionnaire Yamaha. La conduite de la motoneige avec un T.O.R.S. défaillant pose un risque de perte de contrôle. [FWS00362]
FSU11887
Contrôle du filtre à air
S'assurer de l'absence de neige sous l'élément du filtre à air après chaque utilisation. En fonction des conditions, il peut également s'avérer nécessaire de retirer la neige pendant une randonnée.
- Disposer la motoneige sur une surface de niveau, puis serrer le frein de stationnement.
- Retirer le capot, les caches latéraux gauche et droit, ainsi que le cache supérieur. (Voir les explications relatives à la dépose à la page 64.)
- Déposer la vis d'ensemble phares des deux côtés de la motoneige, puis décrocher l'ensemble phares. (Voir page 68.)
- Déposer le couvercle du boîtier de filtre à air en décrochant les fixations.

text_image
1 1 2- Fixation de couvercle du boîtier de filtre à air
- Couvercle du boîtier de filtre à air
- Soulever l'armature de l'élément du filtre à air et vérifier l'élément. En cas de présence de neige sur l'élément, il convient de le retirer et d'éliminer la neige à la brosse, puis de le remettre en place.

text_image
1- Armature d'élément de filtre à air

- Remonter l'armature de l'élément en place, puis mettre le couvercle du boîtier de filtre à air en place en accrochant les fixations.
- Monter l'ensemble phares en place.
- Remettre en place le cache supérieur, les caches latéraux gauche et droit, ainsi que le capot.
FSU11931
Réglages de haute altitude
En altitude, l'air, et par conséquent, l'oxygène nécessaire à la combustion, se raréfie. Pour un moteur à essence, ceci signifie une perte de rendement de 3 % tous les 305 m (1000 ft) d'élévation.
Cette motoneige est équipée d'un système d'injection électronique permettant de délivrer le taux air/carburant optimal requis par le moteur. Le système d'injection électronique ne requiert donc aucun réglage, même lors de la conduite en haute altitude.
Ne pas oublier :
Même un taux air/carburant optimal ne parviendra pas à compenser la raréfaction de l'air. En altitude, il n'y a rien à faire, le moteur a moins de puissance. Il faut donc s'attendre à des accélérations et une vitesse maximum légèrement réduites.
Pour compenser la perte de puissance, il peut aussi être utile de modifier le réglage de l'embrayage de la courroie et des pignons de la chaîne de transmission afin d'améliorer les
performances, mais aussi afin d'éviter leur usure prématurée. Si la motoneige est utilisée dans une région d'une altitude différente de celle où elle a été vendue, consulter un concessionnaire Yamaha afin de s'informer des réglages requis pour l'altitude en question.
ATTENTION : Les pignons de la chaîne de transmission et l'embrayage de la courroie trapézoïdale doivent être réglés lorsque la motoneige est utilisée en haute altitude, c.-à-d. à plus de 900 m (3000 ft). Consulter un concessionnaire Yamaha.
[FCS00431]
FSU11950
Jeu des soupapes
À la longue, le jeu aux soupapes se modifie, ce qui provoque un mauvais mélange carburant-air ou produit un bruit anormal. Pour éviter ce problème, il faut faire régler le jeu aux soupapes par un concessionnaire Yamaha aux fréquences spécifiées dans le tableau des entretiens et graissages périodiques.
FSU1196A
Huile moteur et cartouche du filtre à huile
Contrôler le niveau d'huile moteur avant chaque utilisation du véhicule. Il convient en outre de changer l'huile et de remplacer la cartouche du filtre à huile aux fréquences spécifiées dans le tableau des entretiens et graissages périodiques.
FWS00370
AVERTISSEMENT
L'huile moteur est extrêmement chaude immédiatement après la coupure du moteur. Tout contact direct ou toute éclaboussure d'huile moteur sur les vêtements risque de provoquer des brûlures.
FCS00441
ATTENTION
- Ne pas faire tourner le moteur lorsque le niveau d'huile est trop élevé ou trop bas. De l'huile risque de gicler ou le moteur pourrait être endommagé.
- Bien veiller à changer l'huile moteur après les premiers 800 km (500 mi) d'utilisation, puis tous les 4000 km (2500 mi) par la suite, ou en début de chaque saison, sinon, le moteur s'usera rapidement.
- Il convient de remplacer la cartouche du filtre à huile après les premiers 800 km (500 mi) de fonctionnement, puis tous les 20000 km (12000 mi) par la suite. Faire remplacer la cartouche du filtre à huile par un concessionnaire Yamaha.
Contrôle du niveau d'huile moteur
- Disposer la motoneige sur une surface de niveau, puis serrer le frein de stationnement.

- Mettre le moteur en marche, le faire chauffer pendant 10–15 minutes, puis le couper.
N.B.
- Le moteur peut également être mis en température en conduisant la motoneige pendant 10–15 minutes.
- Après avoir utilisé la motoneige, laisser le moteur tourner au ralenti pendant au moins 10 secondes avant de le couper.
-
Retirer le capot ainsi que le cache latéral droit. (Voir les explications relatives à la dépose à la page 64.)
-
Débrancher le coupleur de la jauge de niveau d'huile. ATTENTION : Débrancher le coupleur de la jauge de niveau d'huile avant de retirer le bouchon de remplissage d'huile. En effet, le fil risque de se tordre et de se rompre.
[FCS00452]

-
Coupleur de la jauge de niveau d'huile
-
Bouchon de remplissage d'huile
-
Retirer le bouchon de remplissage d'huile, essuyer la jauge, puis l'introduire à nouveau dans l'orifice de remplissage (sans la serrer), et la retirer à nouveau afin de vérifier le niveau d'huile.

text_image
1 2-
Bouchon de remplissage d'huile
-
Jauge
N.B.
L'huile moteur doit se situer entre les repères de niveau "H" et "L" de la jauge.

-
Repère de niveau "H"
-
Repère de niveau "L"
-
Si l'huile moteur se situe sous le repère de niveau minimum "L", ajouter suffisamment d'huile du type recommandé de sorte qu'elle atteigne le repère de niveau maximum "H". (L'huile recommandée est mentionnée à la page 106.)
ATTENTION : En faisant l'appoint d'huile moteur, bien veiller à ce que le niveau d'huile ne dépasse pas le repère de niveau maximum "H" de la jauge. Utiliser exclusivement l'huile recommandée. (Voir page 106.) S'assurer qu'aucun corps étranger ne pénètre dans le réservoir d'huile moteur.
[FCS00462]
-
Insérer la jauge dans l'orifice de remplissage, puis serrer le bouchon de remplissage d'huile.
-
Brancher le coupleur de la jauge de niveau d'huile.
-
Remettre le cache latéral droit et le capot en place.
Changement de l'huile moteur
-
Disposer la motoneige sur une surface de niveau, puis serrer le frein de stationnement.
-
Mettre le moteur en marche, le faire chauffer pendant quelques minutes, puis le couper.
- Retirer le capot ainsi que le cache latéral droit. (Voir les explications relatives à la dépose à la page 64.)
- Déposer les vis, puis tirer vers soi le cache inférieur droit pour le retirer.

- Vis
- Vis
-
Cache inférieur droit
-
Déposer le cache du fond après avoir retiré les vis.

- Vis
-
Cache du fond
-
Disposer un bac à vidange sous le réservoir d'huile afin d'y recueillir l'huile usagée.
- Débrancher le coupleur de la jauge de niveau d'huile.

- Coupleur de la jauge de niveau d'huile
-
Bouchon de remplissage d'huile
-
Retirer le bouchon de remplissage d'huile, puis la vis de vidange et son joint afin de vidanger l'huile du réservoir d'huile.

- Vis de vidange de l'huile moteur (réservoir d'huile)
-
Joint
-
Disposer un bac à vidange sous le moteur afin d'y recueillir l'huile usagée.
- Retirer la vis de vidange de l'huile moteur et son joint afin de vidanger l'huile du car-ter moteur.

text_image
1 2-
Vis de vidange de l'huile moteur (carter moteur)
-
Joint
N.B.
Se débarrasser de l'huile usagée conformément à la législation en vigueur.
- Monter les vis de vidange de l'huile moteur et leur joint neuf, puis serrer les vis à leur couple spécifique.
Couples de serrage :
Vis de vidange de l'huile moteur (car-ter moteur) :
30 Nm (3.0 m·kgf, 22 ft·lbf)
Vis de vidange de l'huile moteur (ré- servoir d'huile) :
16 Nm (1.6 m·kgf, 12 ft·lbf)
-
Verser 2.0 L (2.11 US qt, 1.76 Imp.qt) d'huile moteur du type recommandé dans le réservoir d'huile, puis remettre le bouchon de remplissage d'huile en place et le serrer.
-
Mettre le moteur en marche, le faire chauffer pendant quelques minutes, puis le couper.
-
Retirer le bouchon de remplissage d'huile, puis ajouter de l'huile du type recommandé jusqu'au repère de niveau maximum "H" de la jauge. (Voir ci-avant pour les explications concernant le contrôle.) ATTENTION : En faisant l'appoint d'huile moteur, bien veiller à ce
que le niveau d'huile ne dépasse pas le repère de niveau maximum "H" de la jauge. Utiliser exclusivement l'huile recommandée. (Voir page 106.) S'assurer qu'aucun corps étranger ne pénètre dans le réservoir d'huile moteur.
[FCS00462]

-
Repère de niveau "H"
-
Repère de niveau "L"
Huile moteur recommandée : Voir page 106.
Quantité d'huile :
Avec remplacement de la cartouche du filtre à huile :
3.0 L (3.17 US qt, 2.64 Imp.qt)
Sans remplacement de la cartouche du filtre à huile :
2.8 L (2.96 US qt, 2.46 Imp.qt)
Quantité totale :
3.8 L (4.02 US qt, 3.34 Imp.qt)
-
Remettre le bouchon de remplissage d'huile en place, puis le serrer.
-
Mettre le moteur en marche, puis le laisser tourner au ralenti pendant plusieurs minutes afin de contrôler s'il y a des fuites d'huile. Si une fuite d'huile est détectée, couper immédiatement le moteur et contrôler le montage correct de la vis de vidange de l'huile moteur, de la vis de vidange du réservoir d'huile moteur et du bouchon de remplissage d'huile.
-
Couper le moteur, puis brancher le coupleur de la jauge de niveau d'huile.
-
Remettre le cache du fond et le cache inférieur droit en place, puis remonter le cache latéral droit et le capot. ATTENTION : Si de l'huile fuit ou si l'indicateur d'alerte de niveau d'huile s'allume quand le moteur tourne, couper immédiatement le moteur et faire contrôler la motoneige par un concessionnaire Yamaha. Le manquement à cette consigne risque de gravement endommager le moteur. [FCS00471]
FSU13871
Circuit de refroidissement
Contrôler le niveau du liquide de refroidissement avant chaque utilisation du véhicule. Il convient en outre de purger le circuit de refroidissement aux fréquences spécifiées dans le tableau des entretiens et graissages périodiques.
FWS00380
AVERTISSEMENT
Ne jamais retirer le bouchon du vase d'expansion tant que le moteur est chaud. De l'eau bouillante et de la vapeur sous pression pourraient jaillir et provoquer des brûlures.
Laisser refroidir le moteur, puis placer un gros chiffon ou une serviette sur le bouchon du vase d'expansion et tourner lentement jusqu'à l'arrêt dans le sens inverse des aiguilles d'une montre. Le sifflement est provoqué par la pression résiduelle ainsi relâchée. Attendre que le sifflement s'arrête avant d'appuyer sur le bouchon, puis de le tourner, toujours dans le même sens, et de le retirer.

text_image
1- Bouchon du vase d'expansion
Contrôle du niveau du liquide de refroidissement
- Disposer la motoneige sur une surface de niveau, puis serrer le frein de stationnement.
- Retirer le cache latéral droit. (Voir les explications relatives à la dépose à la page 64.)
- Vérifier le niveau du liquide de refroidissement dans le réservoir de récupération lorsque le moteur est froid. Si le niveau de liquide de refroidissement se trouve en dessous du repère "COLD LEVEL", ajouter du liquide de refroidissement jusqu'au repère "COLD LEVEL". (Se reporter à la section suivante "Mise à niveau du liquide de refroidissement" pour plus de détails.) ATTENTION : Si l'on ne peut se procurer du liquide de refroidissement, utiliser de l'eau distillée ou de l'eau du robinet douce. L'eau dure ou salée est préjudiciable au moteur. Si l'on a utilisé de l'eau au lieu de liquide de refroidissement, il faut la remplacer par du liquide de refroidissement dès que possible afin de protéger le circuit de refroidissement du gel et de la corrosion. Si on a ajouté de l'eau au liquide de refroidissement, il convient de faire contrôler le plus rapidement possible le taux d'antigel par
un concessionnaire Yamaha, afin de rendre toutes ses propriétés au liquide de refroidissement. [FCS00492]

text_image
1 COOLANT COLD LEVEL 2-
Réservoir de récupération du liquide de refroidissement
-
Repère "COLD LEVEL"
-
Remonter le cache latéral droit.
Purge du circuit de refroidissement
L'air du circuit de refroidissement doit être purgé si le vase d'expansion s'est complètement vidé, si des bulles d'air apparaissent dans le liquide ou si une fuite a été détectée. Consulter un concessionnaire Yamaha.
FCS00500
ATTENTION
Un circuit de refroidissement mal purgé peut provoquer la surchauffe du moteur et gravement endommager celui-ci.
Mise à niveau du liquide de refroidissement
-
Disposer la motoneige sur une surface de niveau, puis serrer le frein de stationnement.
-
Retirer le capot, les caches latéraux gauche et droit, ainsi que le cache supérieur. (Voir les explications relatives à la dépose à la page 64.)
-
Retirer le bouchon du vase d'expansion, puis remplir le vase d'expansion de liquide de refroidissement du type recommandé, et remettre ensuite le bouchon en place.

-
Bouchon du vase d'expansion
-
Bouchon du réservoir de récupération du liquide de refroidissement
-
Retirer le bouchon du réservoir de récupération, puis remplir le réservoir de liquide de refroidissement du type recommandé jusqu'au repère "COLD LEVEL", et remettre ensuite le bouchon en place.

Antigel recommandé : Antigel de haute qualité à l'éthylène glycol, contenant des inhibiteurs de corrosion
Rapport eau/antigel : 3:2
Quantité totale : RX10P 6.20 L (6.55 US qt, 5.46 Imp.qt) RX10PS 6.20 L (6.55 US qt, 5.46 Imp.qt) RX10PXT 6.30 L (6.66 US qt, 5.54 Imp.qt)
- Mettre le moteur en marche, le faire tourner pendant quelques minutes au ralenti, puis le couper.
- Contrôler le circuit de refroidissement afin de détecter toute fuite éventuelle. Si une fuite de liquide de refroidissement est détectée, il faut en rechercher la cause.
N.B.
Si une fuite est détectée, faire appel à un concessionnaire Yamaha.
- Vérifier le niveau du liquide de refroidissement dans le vase d'expansion. S'il n'est pas rempli, retirer le bouchon du vase d'expansion, puis remplir le vase d'expansion de liquide de refroidissement du type recommandé, et remettre ensuite le bouchon en place.
- Remettre en place le cache supérieur, les caches latéraux gauche et droit, ainsi que le capot.
FSU12067
Courroie trapézoïdale
FWS00402

AVERTISSEMENT
- Tout contact avec la courroie trapézoïdale ou les pièces de l'embrayage en mouvement peut provoquer des blessures graves, voire la mort. Ne jamais faire
tourner le moteur tant que le carter de protection de la courroie n'est pas en place.
- Toujours s'assurer que le carter de protection est correctement monté avant d'utiliser la motoneige, afin d'éviter tout risque de blessures graves, voire de mort, que la projection d'une courroie brisée ou d'une pièce pourrait poser.
FCS00830
ATTENTION
Ne jamais faire tourner le moteur tant que la courroie est retirée. Il y a risque d'endommagement de pièces mécaniques de l'embrayage.
Contrôler la courroie trapézoïdale avant chaque utilisation du véhicule.
Contrôle de la courroie trapézoïdale
- Retirer le capot et le cache latéral gauche, puis retirer le carter de protection de la courroie. (Voir les explications relatives à la dépose aux pages 33 et 64.)
- Vérifier l'état et l'usure de la courroie. Remplacer si nécessaire.

text_image
1- Limite d'usure de la courroie
Largeur de courroie neuve : 34.5 mm (1.36 in)
Usure limite en largeur de la courroie : 32.5 mm (1.28 in)
- Monter le carter de protection de la cour-roie, puis reposer le cache latéral gauche et le capot.
Remplacement et réglage de la cour-roie trapézoïdale
FWS00411
AVERTISSEMENT
Toujours veiller à monter correctement une courroie neuve. Si cette consigne n'est pas respectée, la vitesse d'engagement de l'embrayage sera modifiée, et la motoneige risque d'avancer de façon inopinée lors de la mise en marche du moteur, ce qui pourrait être la cause d'un accident.
FCS00511
ATTENTION
La position de la courroie trapézoïdale change au fur et à mesure qu'elle s'use. Si la position de la courroie trapézoïdale dépasse la limite spécifiée, elle doit être ajustée afin d'assurer le bon fonctionnement de l'embrayage.
Confier ce réglage à un concessionnaire Yamaha.
- Disposer la motoneige sur une surface de niveau, puis serrer le frein de stationnement.
- Retirer le capot et le cache latéral gauche, puis retirer le carter de protection de la courroie. (Voir les explications relatives à la dépose aux pages 33 et 64.)
- Tourner le flasque mobile mené dans le sens des aiguilles d'une montre tout en le poussant pour qu'il se désolidarise du flasque fixe.

- Flasque mobile mené
-
Flasque fixe mené
-
Tirer la courroie par-dessus le flasque fixe mené.

- Courroie trapézoïdale
- Retirer la courroie des poulies menante et menée.
- Remonter provisoirement la courroie trapezoïdale neuve sur la poulie menée uniquement, puis mesurer la position de la courroie. Ne pas forcer la courroie entre les flasques ; le flasque mobile et le flasque fixe doivent se toucher.

- Bord de la poulie menée
- Position standard de la courroie trapézoïdale
Position standard de la courroie trapézoïdale :
De 1.5 mm (0.06 in) au-dessus à 0.5 mm (0.02 in) en dessous du bord de la poulie menée
- Si la position de la courroie trapézoïdale est incorrecte, la régler en ajoutant ou retirant une rondelle à chaque vis de réglage de la courroie.

- Vis de réglage de la position de la courroie trapézoïdale
- Entretoise
| Position de la cour-roie trapézoïdale | Réglage |
| Plus de 1.5 mm (0.06 in) au-dessus du bord | Retirer une rondelle. |
| De 1.5 mm (0.06 in) au-dessus à 0.5 mm (0.02 in) en dessous du bord | Inutile (position correcte) |
| Plus de 0.5 mm (0.02 in) en dessous du bord | Ajouter une rondelle. |
- Serrer les vis de réglage de position de la courroie trapézoïdale.
Couple de serrage de vis de réglage de position de courroie trapézoïdale : 10 Nm (1.0 m·kgf, 7.2 ft·lbf)
-
Passer la courroie par-dessus la poulie menante.
-
Tourner le flasque mobile mené dans le sens des aiguilles d'une montre tout en le poussant pour qu'il se désolidarise du flasque fixe.

-
Flasque mobile mené
-
Flasque fixe mené
-
Placer la courroie entre les flasques mobile et fixe.

-
Courroie trapézoïdale
-
Monter le carter de protection de la cour-roie, puis reposer le cache latéral gauche et le capot.
FSU12106
Carter de chaîne de transmis- sion
Contrôle du niveau d'huile de chaîne de transmission
-
Disposer la motoneige sur une surface de niveau, puis serrer le frein de stationnement.
-
Retirer le capot ainsi que le cache latéral droit. (Voir les explications relatives à la dépose à la page 64.)
-
Retirer la jauge de niveau d'huile, l'essuyer avec un chiffon propre, puis l'introduire à nouveau dans l'orifice de remplissage.

-
Jauge
-
Retirer la jauge et vérifier si le niveau d'huile se trouve entre les repères de niveau minimum et maximum se trouvant au côté marqué de "REVERSE" (envers). Si l'huile n'atteint pas le repère du niveau minimum, ajouter suffisamment d'huile du type recommandé de sorte qu'elle atteigne le repère du niveau maximum.
ATTENTION : S'assurer qu'aucun corps étranger ne pénètre dans le carter de la chaîne. [FCS00531]

-
Repère de niveau maximum
-
Repère de niveau minimum

Huile de chaîne de transmission recommandée :
Huile pour engrenages SAE 75W ou 80W API GL-3
- Remettre la jauge en place en veillant à aligner l'encoche de sa poignée et la saillie du carter de la chaîne.

text_image
1 2-
Encoche
-
Saillie
-
Remettre le cache latéral droit et le capot en place.
Réglage de la tension de la chaîne
-
Retirer le capot ainsi que le cache latéral droit. (Voir les explications relatives à la dépose à la page 64.)
-
Desserrer le contre-écrou.
-
Serrer à la main la vis de réglage de la tension de la chaîne dans le sens des aiguilles d'une montre, puis la desserrer de 1/4 de tour.

-
Contre-écrou
-
Vis de réglage de la tension de la chaîne
-
Serrer le contre-écrou au couple spécifié tout en immobilisant la vis de réglage à l'aide d'une clé.
Couple de serrage :
Contre-écrou :
25 Nm (2.5 m·kgf, 18 ft·lbf)
- Remettre le cache latéral droit et le capot en place.
FSU13540
Frein et frein de stationnement
FWS00440
AVERTISSEMENT
- Une sensation de mollesse dans le levier de frein indique une défaillance du circuit de freinage.
- Ne jamais conduire une motoneige dont le système de frein est défaillant. Si les freins lâchent au mauvais moment, un accident grave pourrait s'ensuivre. Faire contrôler et réparer sans délai le système de freinage par un concessionnaire Yamaha.
Tester le frein au démarrage, en roulant lente- ment, et s'assurer de son bon fonctionne- ment. Si le freinage n'est pas efficace, contrô- ler l'usure du frein et vérifier l'étanchéité du circuit. (Pour plus d'explications, se reporter à la section suivante.)
Contrôle des plaquettes de frein
Contrôler l'usure des plaquettes de frein en procédant comme suit.
- Disposer la motoneige sur une surface de niveau, puis serrer le frein de stationnement.
- Retirer le capot ainsi que le cache latéral droit. (Voir les explications relatives à la dépose à la page 64.)
- Contrôler l'usure des plaquettes de frein. Si leur limite d'usure est atteinte, les faire remplacer par un concessionnaire Yamaha.

- Limite d'usure de plaquette de frein
Limite d'usure de plaquette : 4.7 mm (0.19 in)
- Remettre le cache latéral droit et le capot en place.
Contrôle des plaquettes de frein de stationnement
Contrôler l'usure des plaquettes de frein de stationnement en procédant comme suit.
- Retirer le capot ainsi que le cache latéral droit. (Voir les explications relatives à la dépose à la page 64.)
- Contrôler l'usure des plaquettes de frein en mesurant leur épaisseur. Si leur limite d'usure est atteinte, les faire remplacer par un concessionnaire Yamaha.

text_image
1 1- Limite d'usure de plaquette de frein de stationnement
Limite d'usure de plaquette de frein de stationnement : 1.2 mm (0.047 in)
- Remettre le cache latéral droit et le capot en place.
Réglage du frein de stationnement
Au fur et à mesure que les plaquettes du frein de stationnement s'usent, un réglage peut s'avérer nécessaire afin d'assurer des performances de freinage optimales.
- Retirer le capot ainsi que le cache latéral droit. (Voir les explications relatives à la dépose à la page 64.)
- Desserrer le contre-écrou et la vis de réglage des plaquettes de frein de stationnement.
- Desserrer le contre-écrou du câble de frein de stationnement.
- Tourner la vis de réglage du câble de frein de stationnement dans un sens ou l'autre pour régler la longueur du câble.

- Contre-écrou de vis de réglage de plaquette de frein de stationnement
- Vis de réglage de plaquette de frein de stationnement
- Contre-écrou du câble de frein de stationnement
- Vis de réglage du câble de frein de stationnement
- Longueur du câble de frein de stationnement
Longueur du câble de frein de stationnement : 43.5–46.5 mm (1.713–1.831 in)
- Serrer le contre-écrou du câble de frein de stationnement.
- Visser ou dévisser la vis de réglage des plaquettes de frein de stationnement afin de régler l'écart entre les plaquettes et le disque de frein.

text_image
(a) (b) 1 2 3 4- Plaquette de frein de stationnement
- Disque de frein
- Vis de réglage de plaquette de frein de stationnement
- Contre-écrou de vis de réglage de plaquette de frein de stationnement
Écart entre les plaquettes et le disque de frein de stationnement (a) + (b) : 1.5–2.0 mm (0.059–0.079 in)
- Serrer le contre-écrou de vis de réglage des plaquettes de frein de stationnement.
- Remettre le cache latéral droit et le capot en place.
Contrôle du niveau de liquide de frein
FWS00460
AVERTISSEMENT
Bien veiller à ne pas laisser pénétrer d'eau dans le maître-cylindre lors du remplissage. La présence d'eau abaisserait nettement le point d'ébullition du liquide et risquerait de provoquer un bouchon de vapeur (ou "vapor lock").
Si le niveau du liquide de frein diminue soudainement, consulter un concessionnaire Yamaha.
FCS00550
ATTENTION
Le liquide de frein risque d'attaquer les surfaces peintes et le plastique. Manipuler le liquide avec soin. Essuyer toujours soigneusement toute trace de liquide renversé.
Disposer la motoneige sur une surface de niveau, puis serrer le frein de stationnement. S'assurer que le niveau du liquide de frein arrive au-delà du repère de niveau minimum, et faire l'appoint si nécessaire.

text_image
1 LWP1- Niveau minimum
Liquide de frein spécifié : DOT 4
Changement du liquide de frein
FWS00471
AVERTISSEMENT
S'assurer de confier le changement du liquide de frein et le remplacement des pièces suivantes à un concessionnaire Yamaha.
Il convient de changer le liquide de frein en cas de remplacement des pièces suivantes, que ce soit lors d'un entretien ou lorsqu'elles sont endommagées ou si elles fuient.
- Tous les joints en caoutchouc du maître-cylindre et du cylindre d'étrier
●La durite de frein
FSU13612
Pignon menant à glissement réduit
Contrôler l'état et l'usure du pignon menant à glissement réduit. Remplacer si nécessaire.
Mesure de l'usure de pignon menant
- Mesurer une hauteur de 20 mm (0.79 in) depuis la base d'une dent du pignon menant.
- Mesurer la largeur de la dent de pignon menant à la hauteur mesurée au point 1. Si la largeur est inférieure à 13 mm (0.51 in), il convient de remplacer le pignon menant.

- Dent de pignon menant
- Hauteur du point de mesure : 20 mm (0.79 in)
- Largeur de dent de pignon menant
FSU12144
Skis et lisses de ski
Vérifier l'état et l'usure des skis et des lisses de ski. Remplacer si nécessaire.

- Limite d'usure de lisse de ski

- Limite d'usure de ski
- Lisse de ski
Limite d'usure de lisse de ski : 8.0 mm (0.31 in)
Limite d'usure de ski : RX10P 13 mm (0.5 in) RX10PS 13 mm (0.5 in) RX10PXT 13 mm (0.5 in) (CAN) RX10PXT 24 mm (0.9 in) (FIN)(RUS)(SWE)
FCS00560
ATTENTION
Éviter de griffer les skis lors du chargement et du déchargement de la motoneige. Éviter la conduite sur des terrains recouverts de peu ou pas de neige, sur des surfaces telles que du ciment ou des obstacles tels que les bords de trottoir, etc. Conduire la motoneige sur de telles surfaces usera ou endommagera les skis.
Alignement des skis
- Tourner le guidon de façon à ce que les skis pointent droit devant.
-
Contrôler les points suivants :
-
Les skis doivent pointer vers l'avant.
- L'ouverture des skis (distance A – distance B) est conforme.

text_image
1 2Ouverture des skis (distance A – distance B) :
Diriger la pointe des skis le plus possible vers l'intérieur avant de procéder à la mesure et l'alignement.
- Si l'alignement n'est pas correct, contacter un concessionnaire Yamaha.
FSU12152
Direction
S'assurer que le guidon ne présente pas un jeu excessif.
Contrôle du guidon
- Pousser le guidon d'avant en arrière et de haut en bas.
- Tourner le guidon quelque peu vers la gauche et la droite.

Si le jeu est excessif, consulter un concessionnaire Yamaha.
FSU13702
Chenille et glissières
Chenille
FWS00481

AVERTISSEMENT
Une chenille cassée, des raccords de chenille ou des fragments projetés par la chenille pourraient blesser quelqu'un. Prendre les précautions suivantes :
- Ne jamais permettre la présence de quiconque derrière la motoneige quand le moteur tourne. - Si pour tester sur place le mouvement de la chenille, il est nécessaire de soulever l'arrière de la motoneige, toujours veiller à recourir à un support solide et stable. Ne jamais laisser quiconque soulever l'arrière de la motoneige pour faire tourner la chenille. Ne jamais laisser quiconque s'approcher d'une chenille en mouvement.
- Contrôler fréquemment l'état de la chenille. Remplacer tout longeron métallique endommagé. Remplacer la chenille si elle est endommagée ou au plus tard quand les fibres de renforcement sont visibles ou que les tiges de support sont brisées. L'endommagement ou le mauvais fonctionnement de la chenille pourrait provoquer une perte de la puissance de freinage et une perte de contrôle de la motoneige et être la cause d'un accident.
Contrôle de la chenille
FWS00490

AVERTISSEMENT
Ne pas utiliser la motoneige si la chenille est en mauvais état ou si elle est mal ajustée. L'endommagement ou le mauvais fonctionnement de la chenille pourrait
provoquer une perte de la puissance de freinage et une perte de contrôle de la motoneige, ce qui pourrait être la cause d'un accident.
Contrôler la tension, l'alignement, l'état et l'usure de la chenille.
Régler ou remplacer si nécessaire. (Pour plus d'explications, se reporter à la section suivante.)

Contrôle de l'alignement de la chenille
- Placer l'arrière de la motoneige sur un support adéquat, de façon à ce que la chenille ne touche plus le sol.
- Mettre le moteur en marche et laisser tourner la chenille d'un ou deux tours. Couper le moteur.
- Vérifier l'alignement de la chenille et des glissières. Régler l'alignement de la chenille si elle n'est pas conforme.

Mesure de la tension de la chenille
- Coucher la motoneige sur le flanc.
- Mesurer la tension de la chenille à l'aide d'un dynamomètre. Accrocher celui-ci au milieu de la chenille et y exercer une force de 100 N (10 kgf, 22 lbf).

N.B. Mesurer sur les deux côtés l'écart entre la glissière et l'arête du hublot de chenille.

text_image
1 2- Tension de la chenille
- Glissière
Tension standard de la chenille : 30.0–35.0 mm (1.18–1.38 in)
- Régler la tension de la chenille si elle n'est pas conforme.
Réglage de la tension et de l'alignement de la chenille (RX10P / RX10PS)
- Desserrer l'écrou de l'axe arrière.

-
Écrou d'axe arrière
-
Placer l'arrière de la motoneige sur un support adéquat, de façon à ce que la chenille ne touche plus le sol.
- Mettre le moteur en marche et laisser tourner la chenille d'un ou deux tours. Couper le moteur.
- Desserrer le contre-écrou des deux côtés de la motoneige, puis aligner la chenille en tournant la vis de réglage de chaque côté.
| Alignement de la chenille | Tend vers la droite | Tend vers la gauche |
| Vis de ré-glage gauche | Dévisser Visser | |
| Vis de ré-glage droite | Visser Dévisser |

- Vis de réglage gauche
- Vis de réglage droite
- Contre-écrou
Entretiens et réglages périodiques
Tend vers la droite

text_image
1 3 2 4 5- Avant
- Écart
- Glissière
- Chenille
- Longeron métallique
Tend vers la gauche

text_image
1 3 4 2 5- Avant
- Écart
- Glissière
- Chenille
-
Longeron métallique
-
Régler la tension de la chenille comme spécifié. ATTENTION : Toujours tourner les vis de réglage gauche et droite du même nombre de tours.[FCS00970]
| Tension de la chenille | Au-delà des spécifications | En deçà des spécifications |
| Vis de ré-glage gauche | Visser Dévisser | |
| Vis de ré-glage droite | Visser Dévisser |
- Serrer les contre-écrous au couple spécifié.
Couple de serrage de contre-écrou : 59 Nm (5.9 m·kgf, 43 ft·lbf)
- Vérifier une nouvelle fois l'alignement et la tension. Si c'est nécessaire, répéter les étapes 3 à 6 jusqu'à ce que l'alignement soit correct.
- Abaisser la motoneige.
- Serrer l'écrou de l'axe arrière.
Couple de serrage de l'écrou d'axe arrière : 75 Nm (7.5 m·kgf, 54 ft·lbf)
Réglage de la tension et de l'alignement de la chenille (RX10PXT)
- Desserrer l'écrou de l'axe arrière.

-
Écrou d'axe arrière
-
Placer l'arrière de la motoneige sur un support adéquat, de façon à ce que la chenille ne touche plus le sol.
- Mettre le moteur en marche et laisser tourner la chenille d'un ou deux tours. Couper le moteur.
- Aligner la chenille en tournant les écrous de réglage de gauche et de droite.
| Alignement de la chenille | Tend vers la droite | Tend vers la gauche |
| Écrou de réglage gauche | Dévisser Visser | |
| Écrou de réglage droit | Visser Dévisser |

text_image
1 2- Écrou de réglage gauche
- Écrou de réglage droit
Tend vers la droite

text_image
1 3 2 4 5- Avant
- Écart
- Glissière
- Chenille
- Longeron métallique
Tend vers la gauche

text_image
1 3 2 4 5- Avant
- Écart
- Glissière
- Chenille
-
Longeron métallique
-
Régler la tension de la chenille comme spécifié. ATTENTION : Toujours tourner les écrous de réglage gauche et droit du même nombre de tours.
[FCS00592]
| Tension de la chenille | Au-delà des spécifications | En deçà des spécifications |
| Écrou de réglage gauche | Visser Dévisser | |
| Écrou de réglage droit | Visser Dévisser |
- Vérifier une nouvelle fois l'alignement et la tension. Si c'est nécessaire, répéter les étapes 3 à 5 jusqu'à ce que l'alignement soit correct.
- Abaisser la motoneige.
- Serrer l'écrou de l'axe arrière.
Couple de serrage de l'écrou d'axe arrière :
75 Nm (7.5 m·kgf, 54 ft·lbf)
Glissières
Contrôler l'état et l'usure des glissières.
Remplacer les glissières si elles ont atteint la limite d'usure.

text_image
1 2- Glissière
- Hauteur de limite d'usure
Limite d'usure en hauteur de glissière : 10.5 mm (0.41 in)
FCS00350
ATTENTION
Conduire fréquemment sur de la neige fraîche. L'utilisation sur de la glace ou de la neige tassée entraîne une usure rapide des glissières.
FSU12198
Lubrification
Lubrifier les points suivants à l'aide de la graisse spécifiée.
FWS00511
AVERTISSEMENT
Le câble lui-même ne doit pas être lubrifié. En gelant, la graisse pourrait le rendre complètement raide et provoquer ainsi une perte de contrôle. Veiller à ne graisser légèrement que l'extrémité du câble.
N.B.
Recourir à une pompe à graisse en cas de présence d'un graisseur.
Lubrifiants :
Levier de frein :
Graisse silicone
Autres points de graissage :
Graisse basse température

- Extrémité de câble des gaz

Remplacement d'une ampoule de phare
-
Retirer le capot, les caches latéraux gauche et droit, ainsi que le cache supérieur. (Voir les explications relatives à la dépose à la page 64.)
-
Déposer la vis d'ensemble phares des deux côtés du véhicule.

-
Vis d'optique de phare
-
Décrocher l'ensemble phares comme illustré, puis le soulever et le déplacer vers l'avant. ATTENTION : Bien veiller à ne pas griffer la motoneige en déplaçant l'ensemble phares.[FCS00920]

text_image
1 Z Z-
Ensemble phares
-
Retirer le collier réutilisable, puis débrancher les coupleurs d'ensemble phares.

text_image
1 2-
Coupleur d'ensemble phares
-
Collier réutilisable
-
Retirer les vis, puis déposer le cache d'accès aux phares.

text_image
1 2- Vis

-
Vis
-
Cache d'accès au phare
-
Débrancher le coupleur du phare.
-
Enlever le cache du porte-ampoule.

-
Coupleur de phare
-
Cache du porte-ampoule
-
Décrocher le porte-ampoule, puis déposer l'ampoule grillée.

-
Porte-ampoule
-
Mettre une ampoule neuve en place, puis accrocher le porte-ampoule à l'ensemble phares. ATTENTION : Ne jamais toucher le verre d'une ampoule afin de ne pas laisser de résidus graisseux, sinon le verre se ternira et la puissance d'éclairage et la durée de service s'en trouvera diminuée. Si des traces d'huile sont visibles sur l'ampoule, nettoyer soigneusement le verre avec un chiffon imbibé d'alcool ou de dissolvant pour peinture. [FCS00621]

- Ne pas toucher le verre de l'ampoule.
Type d'ampoule : Ampoule halogène
- Monter le cache du porte-ampoule, puis brancher le coupleur du phare.
- Remettre en place le cache d'accès aux phares en place.
- Brancher les coupleurs d'ensemble phares, puis remettre le collier réutilisable en place.
- Remonter l'ensemble phares, en veillant à glisser les fentes à sa base sur les saillies de son appui.

text_image
1 2-
Fente
-
Saillie
-
Loger le profil d'étanchéité de l'ensemble phares dans l'échancrure au sommet du couvercle du boîtier de filtre à air.

-
Profil d'étanchéité
-
Remettre les vis de l'ensemble phares en place, puis les serrer au couple spécifié.
Couple de serrage : Vis d'ensemble phares : 3.0 Nm (0.30 m·kgf, 2.2 ft·lbf)
- Remettre en place le cache supérieur, les caches latéraux gauche et droit, ainsi que le capot.
FSU12270
Réglage du faisceau des pha- res
- Déposer le cache supérieur. (Voir les explications relatives à la dépose à la page 64.)
- Tourner la vis de réglage du faisceau des phares à l'aide d'un tournevis cruciforme afin de régler le faisceau des phares. Abaisser le faisceau des phares en tournant la vis de réglage dans le sens (a). Relever le faisceau des phares en tournant la vis de réglage dans le sens (b).

text_image
(b) (a) 1- Vis de réglage de faisceau de phare
- Remettre le cache supérieur en place.
FSU12290
Visserie
Contrôler le serrage de la visserie.
Le cas échéant, serrer les pièces dans l'ordre et au couple recommandé.
FSU14020
Batterie
La batterie est située sous le boîtier de filtre à air. (Voir page 96.)
La batterie de ce véhicule est de type plombacide à régulation par soupape (VRLA). Il n'est pas nécessaire de contrôler le niveau d'électrolyte ni d'ajouter de l'eau distillée. Il convient toutefois de contrôler la connexion des câbles de batterie et de resserrer, si nécessaire.
FWS00540
AVERTISSEMENT
L'électrolyte de batterie est toxique et dangereux. Il contient de l'acide sulfurique qui peut provoquer des brûlures graves. Éviter tout contact avec les yeux, la peau et les vêtements.
ANTIDOTE :
- EXTERNE : rincer abondamment à l'eau.
- INTERNE : boire de grandes quantités de lait ou d'eau, puis du lait de magnésie, un œuf battu ou de l'huile végétale. Appeler ou consulter au plus vite un médecin.
- YEUX : rincer à l'eau courante pendant 15 minutes et consulter au plus vite un médecin.
Les batteries produisent des gaz explosifs. Veiller donc à tenir la batterie éloignée de toute source d'étincelles, de flammes ou de cigarettes. Ne charger et n'utiliser la batterie que dans des endroits bien aérés. Toujours se protéger les yeux lors de travaux à proximité de batteries. CONSERVER HORS DE PORTÉE DES ENFANTS.
Charger ou confier la charge de la batterie à un concessionnaire Yamaha dès que possible si elle semble être déchargée. Ne pas oublier qu'une batterie se décharge plus rapidement si la motoneige est équipée d'accessoires électriques.
FWS00610
AVERTISSEMENT
- Ne jamais fumer à proximité d'une batterie en train d'être rechargée. Des étincelles risquent d'enflammer le gaz hydrogène produit par la batterie.
- Débrancher d'abord le câble négatif, puis le câble positif de la batterie.
- Lors de la repose de la batterie, brancher d'abord le câble positif, puis le câble négatif.
- Ne jamais brancher la batterie à la motoneige ni la débrancher de la motoneige pendant sa charge. Des étincelles risquent d'enflammer le gaz hydrogène produit par la batterie.
- Veiller à ce que les bornes de la batterie soient bien serrées.
FCS00843
ATTENTION
- Recourir à un chargeur spécial à tension constante pour charger les batteries de type plomb-acide à régulation par sou-
Entretiens et réglages périodiques
pape (VRLA). L'utilisation d'un chargeur de batterie conventionnel va endommager la batterie.
- Ne pas effectuer une charge rapide de la batterie.
FSU12338
Remplacement d'un fusible
FWS00550

AVERTISSEMENT
Utiliser impérativement un fusible du type spécifié. Un fusible d'une intensité incorrecte pourrait endommager le système électrique ou poser un RISQUE D'INCENDIE.
FCS00631
ATTENTION
Bien veiller à couper le contact et à débrancher le câble négatif de la batterie afin d'éviter tout risque de court-circuit.
Le fusible principal, le fusible d'EPS et le fusible du système d'injection sont situés sous le boîtier de filtre à air. Le boîtier à fusibles se trouve derrière le cache latéral droit. Celui-ci contient les fusibles protégeant les circuits individuels.
-
Retirer le capot, les caches latéraux gauche et droit, ainsi que le cache supérieur. (Voir les explications relatives à la dépose à la page 64.)
-
Déposer l'ensemble phares. (Voir page 92.)
-
Desserrer les vis de collier du conduit.

text_image
1-
Vis de collier du conduit
-
Décrocher l'attache du boîtier de filtre à air et déconnecter le coupleur du capteur de température d'air.

-
Fixation du boîtier de filtre à air
-
Coupleur du capteur de température d'air
-
Débrancher la durée de mise à l'air du carter moteur et la durée de dérivation d'air.

text_image
1- Durite de dérivation d'air

text_image
1-
Durite de mise à l'air du carter moteur
-
Déposer le boîtier de filtre à air.
- Décrocher la sangle de la batterie, puis retirer le cache de la batterie.

- Cache de batterie
-
Sangle de batterie
-
Débrancher le câble négatif de batterie en retirant la vis.

- Câble négatif de la batterie
-
Vis
-
Remplacer le fusible grillé par un fusible de l'intensité requise.

text_image
1 2 3 4- Fusible du système d'injection de carburant
- Fusible de rechange
- Fusible principal
- Fusible EPS

text_image
1
text_image
2 3 4 5 6 7 8- Boîtier à fusibles
- Fusible de phare "HEAD"
- Fusible des circuits de signalisation "SIG"
- Fusible de prise pour accessoire CC "DC TERM"
- Fusible de prise de visière chauffante "S/H" (CANADA)
- Fusible d'allumage "IGN"
- Fusible du ventilateur "FAN"
- Fusible de rechange
Fusibles spécifiés :
Fusible principal: 40.0 A
Fusible du système EPS: 40.0 A
Fusible du système d'injection de carburant: 10.0 A
Fusible de phare: 20.0 A
Fusible des circuits de signalisation: 3.0 A
Fusible de prise pour accessoire: 3.0 A
Fusible de prise de visière chauffante: RX10P 3.0 A RX10PS 3.0 A (CAN) RX10PXT 3.0 A (CAN)
Fusible d'allumage: 20.0 A
Fusible de ventilateur: 5.0 A
Fusibles de rechange : 20.0 A, 10.0 A, 5.0 A, 3.0 A
- Brancher le câble négatif de batterie en remontant la vis.
- Remettre le cache de la batterie en place, puis accrocher la sangle de la batterie au support.
- Reposer le boîtier de filtre à air en effectuant les étapes 3–6 en sens inverse.
- Monter l'ensemble phares en place.
- Remettre en place le cache supérieur, les caches latéraux gauche et droit, ainsi que le capot.
N.B.
Si le fusible remplacé grille immédiatement, faire contrôler la motoneige par un concessionnaire Yamaha.
FSU12384
Le moteur tourne mais ne démarre pas
1. Circuit du carburant
- Le carburant ne parvient pas à la chambre de combustion.
- Pas de carburant dans le réservoir : Faire le plein. ↓
- Canalisation de carburant bouchée : Nettoyer. ↓
- Injecteur bouché : Faire contrôler par un concession- naire Yamaha.
- Le carburant parvient à la chambre de combustion.
• Moteur noyé : Lancer le moteur ou sécher les bougies.
2. Circuit électrique
- Pas d'étincelle ou étincelle faible
- Les bougies sont calaminées ou sont mouillées : Décalaminer ou sécher les bougies. Remplacer si nécessaire. ↓
- Système d'allumage défectueux : Faire contrôler par un concessionnaire Yamaha. ↓
- Panne du T.O.R.S. : Débrancher les connecteurs du contacteur des gaz et relier les connecteurs de faisceau de fils pour mettre hors circuit le T.O.R.S.
AVERTISSEMENT ! Avant de mettre le T.O.R.S. hors circuit, s'assurer que le levier des gaz revienne correctement à sa position de départ. Le T.O.R.S. est un dispositif de sécurité important. S'il ne fonc-
tionne pas correctement, le faire réparer sans tarder par un concessionnaire Yamaha. [FWS00561]

- Écrous de culasse desserrés : Serrer correctement les écrous.
- Joint usé ou endommagé : Remplacer le joint. ↓
- Piston ou cylindre usés ou endommagés : Faire contrôler par un concessionnaire Yamaha.
Batterie déchargée
Si la batterie est déchargée, celle-ci peut être mise en marche à l'aide d'une batterie de renfort de 12 V complètement chargée et de câbles de démarrage. La batterie est équipée de deux câbles de connexion destinés à la re-
charge de secours de la batterie. Le cadre de la motoneige ne convient pas comme prise de masse pour le démarrage du moteur par câbles, car les supports de moteur sont en caoutchouc.
FWS00570
AVERTISSEMENT
- Brancher les câbles de démarrage exclusivement aux câbles de connexion de la batterie. Ne pas les brancher au cadre ni à tout autre câble ou fil.
- Lors du branchement des câbles de démarrage, ceux-ci, ainsi que les bornes des câbles de connexion, ne peuvent se toucher, ni toucher le cadre ou toute autre pièce métallique de la motoneige. Cela pourrait endommager le système électrique, voire poser un RISQUE D'INCENDIE.
- Bien veiller à remettre correctement les caches en place sur les bornes de câble. Si les bornes sont partiellement exposées, elles risquent de toucher le cadre ou une autre pièce métallique de la motoneige et cela pourrait endommager le système électrique ou poser un RISQUE D'INCENDIE.
FCS00650
ATTENTION
Les câbles de connexion sont destinés exclusivement au démarrage par câbles. Ne jamais les utiliser à d'autres fins.
Mise en marche du moteur avec une batterie de renfort
- Serrer le frein de stationnement et couper le contact.
-
Retirer le capot ainsi que le cache latéral droit. (Voir les explications relatives à la dépose à la page 64.)
-
Débrancher le câble de connexion rouge (+) de sa patte de fixation, puis l'éloigner du câble de connexion noir (-). ATTENTION : S'assurer de brancher le câble de démarrage rouge (+) au câble de connexion rouge (+) et le câble de démarrage noir (-) au câble de connexion noir (-). Surtout ne pas inverser les branchements. [FCS00661]

- Tirer sur le cache du câble de connexion rouge (+) de sorte à faire apparaître la borne par la fente du cache, puis brancher le câble de démarrage rouge (+) au câble de connexion rouge (+).

- Brancher l'autre extrémité du câble de démarrage rouge (+) à la borne positive (+) de la batterie de renfort.
- Brancher le câble de démarrage noir (−) à la borne négative (−) de la batterie de renfort.
-
Tirer sur le cache du câble de connexion noir (−) de sorte à faire apparaître la borne par la fente du cache, puis brancher le câble de démarrage noir (−) au câble de connexion noir (−).
-
Mettre le moteur en marche.
- Débrancher le câble de démarrage noir (−) de la borne du câble de connexion noir (−), puis remettre le cache en place sur la borne en veillant à la recouvrir parfaitement.
- Débrancher le câble de démarrage noir (−) de la borne négative (−) de la batterie de renfort.
- Débrancher le câble de démarrage rouge (+) de la borne positive (+) de la batterie de renfort.
- Débrancher le câble de démarrage rouge (+) de la borne du câble de connexion rouge (+), puis remettre le cache en place sur la borne en veillant à la recouvrir parfaitement.
- Loger le câble de connexion rouge (+) dans la patte de fixation du câble.
- Remettre le cache latéral droit et le capot en place.
N.B.
S'assurer que le câble de connexion rouge (+) et le câble de connexion noir (−) sont logés correctement dans leur patte de fixation.
Le démarreur électrique ne fonctionne pas ou fonctionne trop lente-ment
- Bouton coupe-circuit du moteur enfoncé : Le relever.
- Fils mal connectés ou déconnectés : Contrôler les connexions ou voir un concessionnaire Yamaha.
- Batterie déchargée : Charger la batterie ou se reporter à “Batterie déchargée” ci-dessus.
- Moteur grippé : Le grippage peut être dû à une lubrification insuffisante, un carburant inapproprié ou une prise d'air dans le moteur. Faire contrôler par un concessionnaire Yamaha.
Le moteur ne délivre pas assez de puissance
- Le témoin de température basse du liquide de refroidissement clignote : Faire chauffer le moteur.
- Bougies défectueuses : Nettoyer ou remplacer les bougies.
- Problème d'alimentation de carburant : Voir "Le moteur tourne mais ne démarre pas – Circuit du carburant" ci-dessus.
- Réglage de l'embrayage de courroie trapézoïdale inadapté aux conditions d'utilisation ou à l'altitude : Faire contrôler par un concessionnaire Yamaha.
Le moteur a constamment des ratés
- Bougies défectueuses : Remplacer les bougies.
- Circuit de carburant bouché : Voir “Le moteur tourne mais ne démarre pas – Circuit du carburant” ci-dessus.
- Mauvais fonctionnement du T.O.R.S. : Voir "Le moteur tourne mais ne démarre pas – Circuit électrique" ci-dessus.
Surchauffe du moteur
- Niveau du liquide de refroidissement insuffisant : Ajouter du liquide.
- Poches d'air dans le circuit de refroidissement : Purger le circuit de refroidissement ou faire contrôler par un concessionnaire Yamaha.
- Fuites de liquide de refroidissement : Faire contrôler par un concessionnaire Yamaha.
La motoneige ne se met pas en route
- Problème d'embrayage de la courroie trapézoïdale : Faire contrôler par un concessionnaire Yamaha.
- La chenille ne bouge pas : Objet coincé dans la chenille ou glissière de chenille sou-dée au longeron métallique par manque de lubrification.
- Chaîne de transmission trop ou trop peu serrée, ou cassée : Faire contrôler par un concessionnaire Yamaha.
La courroie trapézoïdale se tord
- Courroie trapézoïdale inadéquate : Remplacer par une courroie adéquate.
- Réglage d'embrayage de la courroie trapézoïdale incorrect : Faire contrôler par un concessionnaire Yamaha.
- Support(s) du moteur cassé(s) ou desserré(s) : Faire contrôler par un concessionnaire Yamaha.
La courroie de transmission glisse ou devient extrêmement chaude
- La courroie ou les poulies sont huileuses ou sales : Nettoyer.
- Problème de transmission : Voir “La cour-roie trapézoïdale se tord” ci-dessus.
Les rapports ne changent pas correctement et/ou l'embrayage est brutal
- Courroie trapézoïdale usée ou endommagée : Remplacer la courroie trapézoïdale ou faire contrôler par un concessionnaire Yamaha.
- Réglage de l'embrayage de courroie trapézoïdale inadapté aux conditions d'utilisation ou à l'altitude : Faire contrôler par un concessionnaire Yamaha.
- Poulie menante usée ou grippée : Faire contrôler par un concessionnaire Yamaha.
- Poulie menée usée ou grippée : Faire contrôler par un concessionnaire Yamaha.
Vibrations ou bruit excessif de la chaîne de transmission et des pignons
- Organes d'embrayage de la courroie trapézoïdale brisés : Faire contrôler par un concessionnaire Yamaha.
- Roulements usés ou endommagés : Faire contrôler par un concessionnaire Yamaha.
- Courroie trapézoïdale usée ou endommagée et présentant des points plats : Remplacer.
- Galets fous ou axes endommagés : Faire contrôler par un concessionnaire Yamaha.
- Chenille usée ou endommagée : Faire contrôler par un concessionnaire Yamaha.
FSU12443
Si la motoneige doit être remisée pour une période relativement longue, certaines précautions devront être observées pour la maintenir en parfait état.
Moteur
Procéder comme suit afin de protéger cylindres, segments, etc. de la rouille.
- Retirer les capuchons de bougie et les bougies.
- Verser une cuillerée d'huile moteur dans chaque trou de bougie.
- Monter les capuchons de bougie sur les bougies, puis monter les bougies sur la culasse, de sorte que les électrodes soient mises à la masse. (Ceci permettra de limiter la production d'étincelles à l'étape suivante.)
- Faire tourner le moteur à plusieurs repri- ses à l'aide du démarreur. (Ceci répartira de l'huile sur les parois de cylindre.) AVERTISSEMENT ! Avant de faire tourner le moteur, veiller à mettre les électrodes de bougie à la masse afin d'éviter la production d'étincelles, car celles-ci pourraient être à l'origine de dégâts et de brûlures. [FWS00601]
- Retirer le capuchon des bougies, puis remettre ensuite les bougies et leur capuchon en place.
Carburant
Verser un stabilisateur dans le réservoir de carburant afin de limiter la dégradation du carburant et les dépôts de gomme et de vernis, et afin de prévenir la rouille du circuit de carburant et des injecteurs. En cas d'utilisation d'essence oxygénée (essence-alcool), prière de consulter son concessionnaire Yamaha.
Châssis
-
Lubrifier tous les points spécifiés avec de la graisse. (Voir page 91 pour plus de détails au sujet des points de graissage.)
-
Desserrer la chenille et faire reposer le châssis sur des blocs de manière à ce que la chenille ne touche pas le sol.
- Nettoyer l'extérieur de la motoneige et l'enduire d'un produit antirouille.
- Remiser la motoneige dans un endroit sec et bien aéré, sans oublier de la recouvrir d'une housse non étanche.
- La motoneige doit rester droite, tant pendant le remisage que pendant le transport et l'utilisation.
FCS00870
ATTENTION
- Un nettoyage inadéquat risque d'endommager les pièces en plastique, telles que capot, caches et carénages, pare-brise, optiques de phare, cadrans d'instruments, etc. ainsi que les pots d'échappement. Se servir exclusivement d'un chiffon ou d'une éponge propre et d'eau savonneuse.
- Ne pas nettoyer les pièces en plastique avec des produits chimiques mordants. Ne pas utiliser des éponges ou chiffons imbibés de produits nettoyants abrasifs, de dissolvant ou diluant, d'essence, de dérouilleur, d'antirouille, d'antigel ou d'électrolyte.
- Ne pas utiliser des portiques de lavage à haute pression ou au jet de vapeur. Cela provoquerait des infiltrations d'eau qui endommageraient les pièces suivantes : joints (suspension à glissière, suspension avant et freins), composants électriques (coupleurs, connecteurs, instruments, contacteurs et feux) et les mises à l'air.
- Pour les motoneiges équipées d'un pare-brise : Ne pas utiliser de produits de nettoyage abrasifs ni des éponges dures afin d'éviter de griffer ou de ternir. Certains produits de nettoyage pour
plastique risquent de griffer le pare-brise. Faire un essai sur une zone en de-hors du champ de vision afin de s'assurer que le produit ne laisse pas de trace. Si le pare-brise est griffé, utiliser un bon agent de polissage pour plastiques après le nettoyage.
Batterie
Déposer la batterie. La remiser dans un endroit frais et sec à une température supérieure à 0 °C (32 °F) et inférieure à 30 °C (90 °F). Contrôler une fois par mois l'état de la batterie, et la charger si nécessaire. ATTENTION : Toujours veiller à ce que la batterie soit chargée. L'entreposage d'une batterie déchargée risque de l'endommager irrémédiablement. [FCS00691]
N.B.
Faire contrôler et effectuer la charge complète de la batterie par un concessionnaire Yamaha avant de la remettre en place.
FSU1246B
Dimensions:
Longueur hors tout:
RX10P 2835 mm (111.6 in)
RX10PS 2835 mm (111.6 in)
RX10PXT 3000 mm (118.1 in)
Largeur hors tout:
RX10P 1230 mm (48.4 in)
RX10PS 1230 mm (48.4 in)
RX10PXT 1230 mm (48.4 in) (CAN)
RX10PXT 1275 mm (50.2 in)
(FIN)(RUS)(SWE)
Hauteur hors tout:
1210 mm (47.6 in)
Poids:
Avec huile et carburant:
RX10P 313.0 kg (690 lb)
Masse en ordre de marche:
Écartement des skis:
1086 mm (42.8 in)
Moteur:
Type:
Refroidissement par liquide, 4 temps, 20
soupapes
Disposition de cylindre:
4 cylindres parallèles inclinés vers l'arrière
Cylindrée:
998 cm ^3
Alésage × course:
74.0×58.0 mm (2.91×2.28 in)
Régime de ralenti:
1550–1650 tr/mn
Huile moteur:
Classe recommandée:
API service de type SG minimum, JASO
standard MA
Marque recommandée:
YAMALUBE
Type:
SAE 0W-30
Injection de carburant:
Repère d'identification:
8HG1 00
Carburant:
Type:
RX10P ESSENCE SUPER SANS PLOMB
UNIQUEMENT
Indice d'octane à la pompe [(R+M)/2]
minimum:
RX10P 91
RX10PS 91 (CAN)
RX10PXT 91 (CAN)
Octane de recherche minimum:
RX10PS 95 (FIN)(SWE)
RX10PXT 95 (FIN)(RUS)(SWE)
Système de démarrage:
Démarreur électrique
Niveau de bruit et niveau de vibration:
Niveau sonore (77/311/CEE):
RX10PS 95.1 dB(A)à5250 tr/mn
(FIN)(SWE)
RX10PXT 97.5 dB(A)à5250 tr/mn
(FIN)(SWE)
Niveau de bruit SAE J1161 (procédure de
mesure du niveau sonore produit par les
véhicules d'hiver):
RX10PS 63.0 dB(A) (FIN)(SWE)
RX10PXT 63.0 dB(A) (FIN)(SWE)
Niveau de bruit SAE J192 (niveau sonore
produit par les motoneiges):
RX10PS 76.0 dB(A) (FIN)(SWE)
RX10PXT 77.0 dB(A) (FIN)(SWE)
Vibrations au niveau du siège (EN1032, ISO 5008):
RX10PS N'excède pas 0.5 m/s².
(FIN)(SWE)
RX10PXT N'excède pas 0.5 m/s².
(FIN)(SWE)
Vibrations au niveau du guidon (EN1032, ISO 5008):
RX10PS N'excède pas 2.5 m/s².
(FIN)(SWE)
RX10PXT N'excède pas 2.5 m/s².
(FIN)(SWE)
Châssis:
Chenille:
Matériau:
Caoutchouc moulé, renforcé par tiges en fibre de verre
Type:
Chenille à entraînement interne
Largeur:
381 mm (15.0 in)
Tension:
Suspension à glissières
Pignon de chenille:
Matériau:
Polyéthylène
Nombre de dents: 9
Transmission:
Type d'embrayage:
Embrayage centrifuge automatique
Rapport de réduction final:
RX10P 5.86-1.54:1
RX10PS 5.86-1.54:1
RX10PXT 6.11-1.61:1
Distance entre les poulies:
267.0–270.0 mm (10.51–10.63 in)
Décalage des poulies:
Régime d'embrayage (Peut varier en fonction des réglages d'altitude.):
3200–3600 tr/mn
Régime de variation [Peut varier en fonction des réglages d'altitude. En général, s'effectue
après environ 800 m (0.5 mi) de distance
parcourue.]:
10000–10750 tr/mn
Type de chaîne de transmission:
Chaîne silencieuse en bain d'huile
Huile du carter de chaîne de transmission:
Type:
Huile pour engrenages SAE 75W ou 80W API GL-3
Capacité:
0.25 L (0.26 US qt, 0.22 Imp.qt)
Système de marche arrière:
Oui
Rapport de réduction primaire:
3.80-1.00:1
Rapport de réduction secondaire:
RX10P 37/24 (1.54)
RX10PS 37/24 (1.54)
RX10PXT 37/23 (1.61)
Rapport de réduction secondaire [R]:
RX10P 2.080
RX10PS 2.080
RX10PXT 2.170
Capacité du réservoir de carburant:
34.6 L (9.14 US gal, 7.61 Imp.gal)
Quantité d'huile moteur:
Avec remplacement de la cartouche du filtre à
huile:
3.0 L (3.17 US qt, 2.64 Imp.qt)
Sans remplacement de la cartouche du filtre
à huile:
2.8 L (2.96 US qt, 2.46 Imp.qt)
Quantité totale:
3.8 L (4.02 US qt, 3.34 Imp.qt)
Frein:
Type:
Type à disque hydraulique (disque ventilé)
Commande:
Levier à la poignée, commande à la main gauche
Accélérateur:
Commande:
Levier à la poignée, commande à la main droite
Installation électrique:
Allumage:
Allumage électronique (TCI)
Bougie:
Fabricant:
NGK
Modèle:
CR9EB
Écartement:
Intensité sur 10 heures:
1.2 A
Tension d'ampoule, puissance × quantité:
Phare:
12 V, 60/55 W × 2
Type d'ampoule de phare:
Ampoule halogène
Feu arrière/stop:
LED
Éclairage des instruments:
LED
Témoin de feu de route:
LED
Témoin d'alerte:
LED
Témoin de température basse du liquide de
refroidissement:
LED
FSU12481
Numéros d'identification
Inscrire le numéro de série du cadre, du moteur (numéro principal) et de la clé dans les cases prévues à cet effet. Cela facilitera la commande éventuelle de pièces de rechange auprès d'un concessionnaire Yamaha.
Nous conseillons de noter ces numéros d'identification sur un feuillet séparé et de les conserver dans un endroit sûr de sorte qu'ils soient en votre possession en cas de vol du véhicule.
Numéro de série du cadre
Le numéro de série du cadre est composé de dix-sept chiffres et il est poinçonné sur le cadre de la motoneige.

text_image
1 1000m- Numéro de série du cadre

Numéro de série du moteur (numéro principal)
Le numéro de série du moteur est poinçonné à l'emplacement illustré.

- Numéro de série du moteur

Numéro d'identification de la clé
Le numéro d'identification de la clé est poin- çonné à l'emplacement illustré.

text_image
1- Numéro d'identification de la clé

Étiquette de renseignements relatifs au système antipollution du véhicule (CANADA)

- Étiquette de renseignements relatifs au système antipollution du véhicule
L'étiquette de renseignements relatifs au système antipollution du véhicule est collée à l'endroit illustré. Cette étiquette contient les données techniques liées aux gaz d'échappement, comme prescrit par la loi fédérale, la loi d'États et par Environnement Canada.
FSU12491
GARANTIE
En cas de doute quant à la cause ou la solution d'un problème concernant la motoneige, prière de contacter un concessionnaire de motoneiges Yamaha. Ceci est particulièrement important durant la période couverte par la garantie, étant donné que tout défaut résultant d'une réparation effectuée de façon incorrecte ou à l'aveuglette par une personne non autorisée peut entraîner l'annulation de la garantie. Garder à l'esprit que le concessionnaire Yamaha possède l'expérience et dispose des outils spéciaux et des pièces de rechange nécessaires à la réparation correcte de cette motoneige.
Ne jamais hésiter à consulter son concessionnaire Yamaha en cas de doute concernant des caractéristiques techniques ou des travaux d'entretien. Le manuel n'est en effet pas
à l'abri de coquilles, et il se peut aussi parfois que des modifications de dernière minute n'aient pu être insérées dans le texte.
Tant que l'on n'a pas acquis une connaissance suffisante de son véhicule, il est préférable de demander conseil à un concessionnaire Yamaha avant d'effectuer soi-même un quelconque entretien. Les propriétaires désireux de se documenter plus amplement au sujet de l'entretien et des réparations peuvent acquérir un manuel d'atelier chez un concessionnaire de motoneiges Yamaha.
A
Afficheur du niveau du carburant et indicateur de chaleur des poignées chauffantes et du chauffe-pouce .... 25
Altitudes élevées, réglages 71
Amortisseur arrière, réglage d'amortissement à la compression (RX10PXT) 44
Amortisseur arrière, réglage d'amortissement à la détente (RX10P).... 44
Amortisseur arrière, réglage de la pression d'air (RX10PS) 42
Amortisseur central et ressorts de torsion arrière, ou amortisseur arrière, réglage de la précontrainte du ressort...... 40
Amortisseurs avant, réglage de la précontrainte de ressort (RX10P / RX10PXT).... 37
Amortisseurs avant, réglage de la pression d'air (RX10PS) 38
Ampoule de phare, remplacement...... 92
B
Batterie.... 95
Bougies, contrôle 67
Bouton de réglage des poignées chauffantes et du chauffe-pouce .... 30
C
Capot et caches, dépose et repose ..... 64
Caractéristiques .... 106
Carburant 35
Carburant, indicateur d'alerte du niveau 27
Carter de protection de la courroie...... 33
Chaîne de transmission, carter 81
Chenille, durée de service.... 55
Chenille et glissières 87
Compartiment de rangement .... 35
Compteurs multifonctions.... 21
Conduite.... 56
Conduite de la motoneige 51
Contacteur à clé....20
Contrôles avant utilisation.... 48
Coupe-circuit du moteur.... 29
Courroie trapézoïdale....78
D
Direction....86
Dispositif embarqué de diagnostic de pannes....29
E
Éclairage, commutateur .....29
Entretiens et graissages périodiques, tableau....61
Entretiens périodiques du système antipollution.... 59
Étiquette de renseignements système antipollution (CANADA) 110
Étiquettes de renseignements importants, emplacement ....1
F
Feu de route, témoin 24
Filtre à air, contrôle 70
Frein de stationnement, levier.... 32
Frein et frein de stationnement 82
Frein, levier 31
Fusible, remplacement.... 96
H
Huile, indicateur d'alerte de niveau/de pression 27
Huile moteur et cartouche du filtre à huile ....72
|
Indicateur d'alerte EPS ...... 28
L
Levier des gaz....20
Levier des gaz, réglage de la garde......68
Liquide de refroidissement, indicateur de température ....28
Liquide de refroidissement, témoin de température basse....25
Lubrification....91
M
Moteur, arrêt....57
Moteur, mise en marche 50
N
Numéros d'identification....109
P
Pannes, diagnostic.... 99
Phares, réglage du faisceau ....94
Pièces, emplacement.... 18
Pignon menant à glissement réduit...... 85
Porte-courroie 34
Prise de visière chauffante (CANADA) .... 31
Prise pour accessoire CC 30
R
Refroidissement 76
Remisage.... 104
Rodage....51
S
Sécurité.... 15
Sélecteur.... 32
Skis et lisses de ski.... 85
Soupapes....72
Suspension 37
Système EXUP 47
T
Tiges de réglage 45
T.O.R.S. 20
T.O.R.S., contrôle du système 69
Transport.... 58
Trousse de réparation.... 64
V
Visserie 95
Notice Facile





