Navigator (2004) - Voiture Lincoln - Notice d'utilisation et mode d'emploi gratuit
Retrouvez gratuitement la notice de l'appareil Navigator (2004) Lincoln au format PDF.
| Type de véhicule | Automobile |
| Système audio | AM/FM stéréo avec lecteur de cassettes et CD |
| Commandes de sièges | Sièges arrière avec commandes électriques |
| Système de navigation | Intégré |
| Climatisation | Chauffage et climatisation arrière |
| Dégivreur | Dégivreur de lunette arrière |
| Éclairage | Commutateur d'éclairage, clignotants, ampoules remplaçables |
| Essuie-glace | Commande essuie-glace/lave-glace |
| Rétroviseurs | Rétroviseurs électriques |
| Programmateur de vitesse | Présent |
| Afficheur multifonction | Présent |
| Serrures | Clés et serrures avec alarme antivol |
| Nombre de portes | Non précisé |
| Nombre de places | Non précisé |
| Transmission | Non précisé |
| Type de carburant | Non précisé |
FOIRE AUX QUESTIONS - Navigator (2004) Lincoln
Questions des utilisateurs sur Navigator (2004) Lincoln
0 question sur cet appareil. Repondez a celles que vous connaissez ou posez la votre.
Poser une nouvelle question sur cet appareil
Téléchargez la notice de votre Voiture au format PDF gratuitement ! Retrouvez votre notice Navigator (2004) - Lincoln et reprennez votre appareil électronique en main. Sur cette page sont publiés tous les documents nécessaires à l'utilisation de votre appareil Navigator (2004) de la marque Lincoln.
MODE D'EMPLOI Navigator (2004) Lincoln
Chaine audio AM/FM stéreo avec lecteur de cassettes et
lecteur de disques compacts 17
Chaine audio AM/FM stéreo avec lecteur de disques compacts 23
Commandes des sièges arrêté 29
Système audiovisuel pour passagers arrêté 35
Système de navigation 48
Bloc de commande du chauffage et de la climatisation 106
Commandes de chauffage et de climatisation arrête 110
Dégivreur de lunette arrête 111
Eclairage et phares 112
Commutateur d'éclairage 112
Commandedesclignotants 116
Remplacement des ampôules 117
Commandes du conducteur 126
Commandedessuie-glace/lave-glace 126
Glaces à commande électriche 133
Retroviseurs 136
Programmateur de vitesse 140
Afficheur multimessage 151
Serrures et sécurité 170
Clés 170
Serrures 170
Alarme antivol 171
Table des matieres
Sièges et dispositifs de retenue 188
Sièges 188
Dispositifs de retenue 202
Sacs gonflables 217
Dispositifs de retenue pour enfant 226
Conduite 241
Demarrage 241
Freins 245
Suspension pneumatique 249
Fonctionnement de la boite de vitesses 256
Chargement du vehicule 280
Traction d'une remorque 283
Dépannage 292
Service de dépannage 292
Feux de détresse 293
Interrupteur de pompe d'alimentation en carburant 294
Fusibles et relais 296
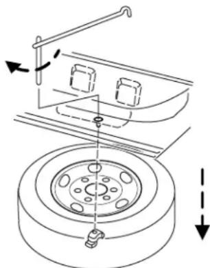
Changement d'un pneu 309
Demarrage-secours 316
Remorquage du vehicule 322
Assistance à la clientèle 324
Défauts compromettant la sécurité (É.-U. seulement) 334
Nettoyage 335
Entretien et caractéristiques 342
Compartmentmoteur 344
Huile moteur 346
Batterie 349
Renseignements sur les carburants automobiles 358
Filtre(s) à air 374
Pièces de rechange 391
Contenances 391
Lubrifiants prescrits 395
Table des matieres
Accessoires 404
Index 406
Tous droits réservés. Toute reproduction, électronique ou mécanique, y compris la photocopie, l'enregistrement, tout système de mise en mémoire et de récapération de l'information, ainsi que la traduction, en tout ou en partie, est interdite sans avoir obtenu au prétable l'autorisation écrite de Ford Motor Company. Ford peut changer le contenu des informations représentées dans ce guide sans préavis ni aucune obligation de sa part.
Nous vous félicitons pour l'achat de votre nouvelle Lincoln. Veuillez prendre le temps de bien vous renseigner sur votre vehicule en lisant ce guide. Plus vous en saurez sur votre vehicule, plus vous prendrez plaisir à le conduire, et ce, en toute sécurité.
Pour obtenir de plus amples renseignements à propos de Ford et de ses produits, visitez le site Web suivant :
aux Etats-Unis:www.ford.com
Au Canada: www.ford.ca
Au Mexique: www.ford.com.mx
En Australie: www.ford.com.au
Voutrouvrez des renseignements supplémentaires dans d'autres publications distinctes.
Ce Guide du propriété fournit une description de chaque option et de chaque variante de modele disponibles; par conséquent, certains des articles décrits peuvent ne pas s'appliquer à votre vehicule en particulier. De plus, à cause des cycles d'impression, il est possible que certaines options soient décrites dans le guide avant qu'elle ne soient disponibles.
Rappelez-vous de remettre le Guide du propriétaire au futur propriété si vous decide de vendre votre vehicule puisqu'il est partie intégrante du vehicule.
Interrupteur automatique de pompe d'alimentation En cas d'accident, l'interrupteur coupera automatiquement l'alimentation en essence qui se rend au moteur. L'interrupteur peut également être activé par une vibration soudaine (par exemple, une collision en garant le vehicule). Pour réenclencher l'interrupteur, consultez la rubrique Interrupteur automatique de pompe d'alimentation du chapitre Dépannage.
SECURITE ET PROTECTION DE L'ENVIRONNEMENT

Symboles d'advertissement dans ce guide
Comment réduire au minimum les risques de blessures et léasons corporelles? Comment éviter les dommages à la propriété d'autrui, à votre vehicule et à son équipement? Dans ce guide, vous trouvez des réponses à ce genre de questions sous forme de directives mises en évidence par le symbole d'ajretissement triangulaire. Ces directives doivent être lues et respectées.

Symboles d'advertisement de votre vehicule
Lorsque you apercevez ce symbole, il est primordial que vous consultiez la section correspondante du guide avant de toucher ou de tenter de régler quoi que ce soit.

Protection de l'environnement
Nous devons tous contribuer à la protection de l'environnement. Un usage approprié du vehicule ainsi que le respect des normes relatives à la récapération et à l'élimination

des liquides de vidange, des lubrifiants et des produits de nettoyage sont des facteurs importants dans la poursuite de cet objectif. L'information relative à ce sujet dans ce guide est mise en évidence par le symbole de l'arbre.
RODAGE DE VOTRE VEHICULE
Votre vehicule n'a pas besoin d'un rodage tres pousse. Dans la mesure du possible, ne conduisez pas pendant de longues periodes a une meme vitesse pendant les premiers 1 600 km (1 000 mi) d'utilisation du vehicule neuf. Conduisez a des vitesses variees pour permettre aux pieces de s'ajuster les ones aux autres.
Ne tractez pas de remorque avant que votre vehicule ait parcouru au moins 800km (500 mi).
N'ajoutez pas de composés modifieurs de friction ni d'huile spéciale pour rodage pendant les quelques premiers milliers de kilomètres (milles) d'utilisation; de tels additifs peuvent nuir à l'étanchéité des segments de piston. Consultez la rubrique Huile moteur du chapitre Entretien et caractéristiques pour obtenir de plus amples renseignements sur l'huile à utiliser.
Introduction
AVIS SPECIAUX
Garanties offertes
La Garantie limite de vehicule neuf comprend une garantie integrale, une couverture des dispositifs de retenue des occupants, une couverture contre la corrosion et une couverture du moteur diesel 6.0L Power Stroke. De plus, votre vehicule peut etre couvert contre les defaults des dispositifs antipollution et le mauvais rendement de ceux-ci. Pour savoir exactement ce qui est couvert et ce qui ne l'est pas, consultez le Livret de garantie qui vous a ete remis avec votre Guide du proprieteire.
Enregistrement de données
Des ordinateurs dans votre vehicule sont en mesure d'enregistrer des données détaillées qui peuvent inclure l'information suivante, sans s'y limiter :
- l'utilisation des dispositifs de protection, incluant les ceintures de sécurité, par le conducteur et les passagers;
- le rendissement des divers systèmes et modules du vehicule; et
- l'information reliée au statut du moteur, de l'accélérateur, de la direction, des freins ou d'autres systèmes.
Cette information peut eventuèlement indiquer la façon dont le conducteur manœuvre le vehicule, ce qui peut inclure, sans s'y limiter, des critères tels que la vitesse du vehicule, le serrage des freins, l'usage de l'accélérateur ou les manœuvres associées à la direction. Cette information peut être sauvegardée pendant l'utilisation normale du vehicule, de même qu'en cas d'accident ou d'accident évité de justesse.
Cette information ainsi sauvegardee peut etre lue etutilise par:
Ford Motor Company;
des ateliers de service et de réparation;
- les autorités policières ou les organismes gouvernementsaux;
- toute autre personne qui peut avoir le droit d'accès à cette information ou qui obtient leur consentement pour le faire.
Directives speciales
Dans le but d'assurer votre sécurité, votre vehicule est doté de commandes électroniques perfectionnées.
Introduction
Veuillez dire la rubrique Dispositifs de protection supplémentaires du chapitre Sièges et dispositifs de retenue. Si ces avertissements et ces directives ne sont pas respectés, les risques de blessures seront accrus.
NE placez JAMAIS un siège d'enfant ou un porte-bébe orienté vers l'arrière devant le sac gonflable du passager avant à moins qu'il soit possible de désactiver le sac gonflable.
Utilisation de votre vehicule comme chasse-neige
N'utilisez pas ce vehicule pour le déneigement.
Votre vehicule n'est pas equipe de l'ensemble de déneigement.
Avis aux propriétaires de camionnettes et de vehicules tout terrain

Les vehicules utilisaires ont tendance à se renverser nettement plus souvent que les autres types de vehicules.
Avant de prendre le volant, veuillez lire attentivement le present Guide du propriétaire. Voiture vehicule n'est pas une voiture de tourisme. Comme c'est le cas avec ce type de vehicules, le fait de conduire de façon imprudente peut entraîner la perte de la maitrise du vehicule, son renversement, des blessures ou la mort.
Assurez-vous de dire attentivement la rubrique Conduite hors route du chapitre Conduite.
RENSEIGNEMENTS SPECIFIQUES POUR LE MOYEN-ORIENT ET L'AFRIQUE DU NORD
Dans toute région du monde, il se peut que vous type de vehicule soit disposé de fonctions et d'options qui sont différentes de celles décrites dans le present Guide du propriétaire; c'est pourquoit un supplément vous est fourni. En consultant les pages du supplément, vous pourrez identifier les fonctions, les recommendations et les specifications qui sont propres à votre vehicule. Consultez ce Guide du propriétaire pour obtenir des renseignements supplémentaires ainsi que des averissements concernant la sécurité.
Introduction
Voici quelques pictogrammes que vous pourriez trouver sur votre vehicule.
Glossaire de symboles automobiles
Avertissement de sécurité

Consultez le Guide du propriete

Bouclage de la ceinture de sécurité

Sac gonflable - avant

Sac gonflable -lateral Siège d'ant
Avertissement de pose de siege d'enfant

Point d'ancrage inférieur pour siège d'enfant

Patte d'ancrage pour siège d'enfant

Circuit de freinage

Freinage antiblocage

Liquide de frein - sans produits petróliers

Fonction antipatinage Dispositantilacet
Commutateur combiné d'éclairage

Feux de détresse

Phares antibrouillards - avant

Porte-fusibles

Réenclenchement de la pompe d'alimentation

Dégivrage/désembuage de la lunette arrête


Introduction
Glossaire de symboles automobiles
Glaces electriques avant et arrière

Condamnation des Ive-glaces electriques
Dispositif de sécurité enfants

Déverrouillage du coffre à bagages depuis l'intérieur du coffre
Alarme de détresse Huile r

Liquide de refroidissement du moteur

Température du liquide de refroidissement du moteur
Laissez refroidir avant d'ouvrir

Batterie
Tenez eloignedutabac allumé,desflammest desétincelles

Électrolyte
Gaz explosif

Avertissement concernant le ventilateur
Liquide de direction assistee

Maintenez un niveau approprié
Système antipollution Filtré à air du moteur
Filtre à air de l'habitacle Cri

Témoin du bouchon de réservoir de carburant

Témoin de basse pression des pneus











Instruments
TÉMOINS ET CARILLONS

Les témoins et les indicateurs peuvent vous avertir de la présence d'un problème dans l'un des circuits de votre vehicule, qui peut s'aggraver au point de nécessiter des réparations couteuses. Un témoin peut s'allumer lorsqu'une des fonctions de votre vehicule pose problème. Plusieurs témoins s'allument lorsque vous démarrez votre vehicule, pour vérifier que les ampoules fonctionnent. Si l'un des témoins demeure allumé après le démarrage du vehicule, faites vérifier le système correspondant immédiatement.
Témoin d'anomalie du moteur :
le témoin s'allume lorsque le contact est établi à allumage pour vérifier l'ampoule. Si le témoin ne

s'eteint pas une fois le moteur en marche, cela indique que le circuit d'autodiagnostic embarqué (OBD-II) a déteçu une défaillance. Consultez la rubrique Autodiagnostics embarqués (OBD-II) dans le chapitre Entretien et caractéristiques. Si le témoin clignote, c'est que le moteur produit des ratés pouvant endommager le reacteur catalytique. Conduisez en souplesse (evitez les accelérations et les décélérations brusques) et faites réparer votre vehicule immédiatement.

Si le moteur a des ratés, des températures excessives à l'échéppement risquent d'endommager le reacteur catalytique, le t d'alimentation, le revêtement du plancher du vehicule ou es éléments, et peuvent entrainer des risques d'incendie.
Instruments
Témoin du circuit de freinage :
s'il est fonctionnel, ce témoin s'allume brievement dans les situations suivantes : lorsque le commutateur d'allumage est placé à
BRAKE

la position Contact alors que le moteur ne tourne pas; lorsque le commutateur d'allumage passe de la position Contact à la position Demarrage; ou lorsque le frein de stationnement est serré alors que le commutateur d'allumage est à la position Contact. Si, dans l'une ou l'autre de ces situations, le témoin du circuit de freinage ne s'allume pas, faites vérifier immédiatement votre vehicule chez votre concessionnaire. Si ce témoin reste allumé une fois le frein de stationnement desseré, cela indique que le niveau de liquide de frein est insuffisant et que le circuit de freinage doit être immédiatement inspecté chez votre concessionnaire.

Il peut s'avérer dangereux de conduire le vehicule alors que le témoin du circuit de freinage est allumé. Une diminution qu'ee du rendement des freins peut survenir et se traduire par une longue distance de freinage. Faites immédiatement vérifier le tule chez votre concessionnaire.
Témoin de défaillance du freinage antiblocage : si c
témoin demeure allumé ou clignote continuèlement, ceci indique la présence d'une défectuosité du
système antiblocage; faites réparer celui-ci immédiatement. Le circuit de freinage régulier continue de fonctionner normalement, à moins que le témoin de frein ne soit également allumé.
Témoin des sacs gonflables : si
ce témoin ne s'allume pas lorsque le contact est établi, s'il clignote continuèlement ou demeure allumé
faites immédiatement réparer le circuit des sacs gonflables. Un carillon retentit également lorsqu'une défaillance est décelée parmi les dispositifs de protection supplémentaires.

ABS

Instruments
Témoin de ceinture de sécurité : ce témoin s'allume pour vous rappeler de boucler votre ceinture de sécurité. Un carillon retentit pour vous rappeler de boucler toute ceinture de sécurité.
Témoin du circuit de charge: ce t'émoin s'allume lorsque la batterie ne se charge pas correctement.
Témoin de pression d'huile
moteur : s'allume lorsque la pression d'huile chute sous la plage normale de fonctionnement.
Consultez la rubrique Huile moteur du chapitre Entretien et caractéristiques.
Témoin de température du liquide de refroidissement : ce
témoin s'allume lorsque la
température du liquide de refroidissement devient excessivement élevé. Arrétez le vehicule des qu'il est possible et prudent de le faire, coupez le contact et laissez le moteur refroidir. Consultez la rubrique Liquide de refroidissement du moteur du chapitre Entretien et caractéristiques.




Ne retirez jamais le bouchon du vase d'expansion lorsque le moteur tourne ou est encore chaud.
Témoin de sous-gonflage des
pneus : ce témoin s'allume lorsque le dispositif de détction desous-gonflage des pneus est activé. Si le témoin reste allumé pendant la
conduite, vérifie la pression des pneus. Pour obtenir plus de détails sur cette opération, consultez la rubrique Témoin de sous-gonflage des pneus du chapitre Entretien et caractéristiques. Si ce témoin ne s'allume pas lorsque le contact est établi, s'il clignote continulement ou demeure allumé, faites immédiatement réparer le système.

Instruments
| Affichage du témoin Action de l'utilisateur | |
| Le témoin demeure allumé • Vérifiez la pression des pneus et assurez-vous qu'elle est appropriée. • Si la pression des pneus correspond aux recommandations du fabricant et que le témoin demeure allumé, veuillez faire vérifier le système immédiatement par votre concessionnaire réparateur. | |
| Le témoin clignote (pendant 20 secondes après le démarriage ou pendant la conduite) | • Une roue de secours est installée sur votre vehicule. RépAREZ le pneu de votre roue standard pour rétablier le fonctionnement du système. • Si la pression des pneus correspond aux recommandations et qu'une roue de secours n'est pas installée, veuillez faire vérifier le système immédiatement par votre concessionnaire réparateur. |
Témoin d'annulation de la
surmultipliee:ce témoin s'allume
lorsque la fonction de surmultiplie de la boite de vitesses est hors
fonction. Consultez le chapitre Conduite. Si le témoin clignote ou ne s'allume pas, faites réparer la boîte de vitesses dés que possible; sinon, elle pourrait subir des dommages.
Témoin du dispositif antilacet AdvanceTrac (selon
I'equipement):ce témoin s'allume lorsqué le dispositif antilacet AdvanceTrac est en fonction. Si ce témoin reste allumé,le dispositif requiert une intervention immediate


Instruments
Témoin du programmateur de vitesse : ce témoin s'allume lorsque le programmateur de vitesse est activé. Il s'éteint lorsque le programmateur est désactivé.

4x4
LOW
Témoin du mode quatre roues
motrices de gamme basse ( selon
l'équipement) : ce sémoin s'allume
lorsque le mode quatre roues
motrices de gamme basse est engagé
4x4
HIGH
Témoin du mode quatre roues motrices de gamme haute ( selon l'équipment): ce témoin s'allume lorsque le mode 4 roues motrices de gamme haute est engagé.
Témoins des clignotants: ce témoin s'allume lorsque le clignotant croit ou gauche ou les feu des détresse sont mis en fonction. Si ces clignotent rapidement, il est possible Témoin des faux de route: ce témoin s'allume lorsque les phares sont allumés en position faux de route.


Carillon avertisseur de la clé dans le commutateur d'allumage : ce carillon avertisseur retentit lorsque la clé est laissée dans le commutateur d'allumage avec ce dernier en position Arrêt, Antivol ou Accessoires et que la porte du conducteur est ouverte.

Carillon de rappel des phares allumés : ce carillon retentit lorsque les phares ou les feuels de position sont allumés alors que le contact est coupé (lorsque la clé n'est pas dans le commutateur) et que la porte du conducteur est ouverte.
Carillon averâtisseur de porte ouverte : ce carillon se fait entendre lorsqu'une porte, le hayon ou la glace de hayon est ouvert (ou mal fermé).
Instruments
INDICATEURS

Indicateur de vitesse : indique la vitesse actuelle du vehicule.

Thermometre du liquide de refroidissement: indique la température du liquide de refroidissement. À la température normale de fonctionnement, l'aiguille reste dans la plage normale comprise entre « H » et « C » . Si elle entre dans la plage rouge, c'est l'indice d'une surchauffe du moteur.

Arrétez le vehicule des qu'il est possible et prudent de le faire, coupez le contact et laisserez le moteur refroidir. Consultez la rubrique Liquide de refroidissement du moteur du chapitre Entretien et caractéristiques.

Ne retirez jamais le bouchon du vase d'expansion lorsque le moteur tourne ou est encore chaud.
Compteur kilométrique : indique le kilométrage (ou millage) total parcouru par votre vehicule.
Consultez la rubrique Afficheur multimessage du chapitre
Commandes du conducteur pour obtenir des renseignements relatifs à la méthode de passage des unités métriques aux unités anglo-saxones.
MESSAGE CENTER

Instruments
Compteur journalier : indique le kilométrage (ou millage) parcourupendant un trajet particulier.
Enoncez et relâchéz la touche INFO de l'afficheur multimessage jusqu'à ce que la mention « TRIP » (trajet) apparaïssé au guichet (çala
représenté le mode compteur journalier). Pour remettre le compteur à zéro, maintenez la touche RESET (réinitialiser) enforcée pendant trois secondes.
Compte-tours : indique le régime mateur en tours par minute. Le fait de conduire votre vehicule alors que l'aiguille du compte-tours reste continuèlement dans la zone rouge risque d'endommager le moteur.

MESSAGE CENTER


Jauge de carburant : indique le niveau approximatif du carburant dans le réservoir (lorsque le contact est établi à l'allumage). L'indication du niveau de carburant peut varier légèrement lorsque le vehicule se déplace ou roule dans une côte.
Coupez le contact avant de faire le plein de carburant. Lorsque la jauge
de carburant indique que le réservoir est vide, il reste encore une petite quantité de carburant en réserve. Lorsque vous faites le plein de carburant alors que la jauge indique un réservoir vide, la quantité de carburant requise pour replir le réservoir est inférieure à la contenance publiée en raison d'une réserve de carburant.
Le pictogramme du carburant et la flèche indiquent dequel côte du vehicule est située la trappe de carburant.
Consultez la rubrique Remplissage du réserve de carburant du chapitre Entretien et caractéristiques pour obtenir plus de renseignements à ce sujet.

Chaines audio
CHAINE AUDIO AM/FM STÉRÉO HAUT DE GAMME AVEC LECTEUR DE CASSETTES ET LECTEUR DE DISQUES COMPACTS (SELON L'ÉQUIPEMENT)

- Touche d'éjection: appuyez sur cette touche pour interrompre la lecture de la cassette et l'éjecter.

- Touche d'éjection: appuyez sur cette touche pour interrompre la lecture d'un disque compact et l'éjecter.

- Touche BASS (réglage des graves) : vous permet d'augmenter ou de diminuer les tonalités graves

de votre chaine audio. Appuyez sur BASS puis sur SEL pour réduire ou augmenter ▷sortie des tonalités graves.
Chaines audio
Touche TReB (reglage des
aigus) : vous permet d'augmenter
ou de diminuier les tonalités aiguës
de votre chaîne audio. Appuyez sur TREB puis sur SEL pour réduire
ou augmenter sortie des tonalités aigués.
gauche-droite) : vous permet
d'équilibrer le son entre les
haut-parleurs gauche et droit. Appuyez sur BAL puis sur SEL pour faire
passer le son a gauche ou adroite
Touche FADE (équilibrage
avant-anniere des
haut-parleurs) : vous permet
d'équilibrer le son entre les haut-parleurs avant et arrière. Appuyez sur
FADE puis sur SEL pour faire passer le son à l'arrière ou à
I'avant
5. Touche COMP (compression) :
en mode lecteur de disques
compacts, appuyez sur cette touche
pour diminuier l'ecart de volume entre les passages doux et les passages
forts, et obtenir ainsi une écoute plus harmonieuse du disque compact.
Appuyez de nouveau pour lesmettre hors fonction.
aléatoire) : appuyez sur cette
touche pour faire jouer les pistes du
disque compact dans un ordre aléatoire. Appuyez de nouveau sur cette
touche pour annuler la fonction de lecture aléatoire.
6. Touches de présélection : pour
mémoriser une station
préselectionnée, syntonisez la
station voulue et maintenez la
touche de préselection enforcée jusqu'au rétablissement du son.
appuyez sur cette touche pour
effectuer le réglage des graves, des
aigus, de I'équilibrage gauche-droite et de I'équilibrage avant-àrrière.








Chaines audio
- Touche SIDE (face de la cassette) : appuyez sur cette touche pour dire l'autre face de la cassette.

Touche Dolby: (réducteur de
bruit Dolby®): ce dispositif réduit les bruits et le souffle; appuyez sur cette touche pour l'activer ou le désactiver.

Le réducteur de bruit est exploité sous licence accordée par la société Dolby Laboratories Licensing Corporation. Dolby® et le symbole double « D » sont des marques déposées de Dolby Laboratories Licensing Corporation.
- Touche REW (rebobinage) :
fonctionne en mode lecteur de cassettes et lecteur de disques compacts.

En mode lecteur de cassettes, la radio continue à jourer jusqu'à ce que le rebobinage soit interrompu (en appuyant sur la touche TAPE) ou jusqu'à ce que le début de la cassette soit atteint.
En mode lecteur de disques compacts, la touche REW commande le retard en arrêté dans la piste en cours de lecture.
Touche FF (avance rapide) :
fonctionne en mode lecteur de cassettes et lecteur de disques compacts.

En mode lecteur de cassettes, le lecteur inverse automatiquement les sens de défilament de la cassette lorsque la fin de la cassette est atteinte.
En mode lecteur de disques compacts, la touche FF commande l'avance rapide dans la piste en cours de lecture.
- Touche MUTE (mise en
sourdine) : appuyez sur cette touche pourmettre le media er

cours d'ecoute en sourdine. Appuyez de nouveau sur cette touche pour rétablier le son du média.
Remarque: Si vous vechicule est équipé d'un sonar de recul, le volume sonore (s'il est supérieur à un seuil particulier) s'abaisse à une valeur prérégée lorsque le signal du sonar de recul retentit.
Chaines audio
Touche RDS (système de radiocommunication de données) : appuyez sur la touche RDS pour désirir le mode de la montre et les fonctions RDS.
Le mode RDS doit être activé pour que vous puissiez acceder aux informations sur la circulation routière, la recherche de type d'émission et l'affichage de l'information. Pour activer le mode RDS, Sélectionnez le mode FM de la radio et appuyez sur la touche RDS jusqu'à ce que la mention RDS OFF (RDS hors fonction) s'affiche à l'écran; appuyez sur la touche SEL (seLECTION) pour activer la fonction.
- Fonction TRAFFIC (Informations sur la circulation routière):
- cette fonction vous permet d'écouter des bulletins de circulation routière. Une fois la fonction RDS activée, appuyez sur la touche SEEK ou SCAN pour rechercher une station diffusant des informations sur la circulation routière (si la station est dotée du système RDS). Les bulletins sur la circulation, routière ne sont pas disponibles dans la plupart des régions des États-Unis. Pour activer cette fonction, appuyez sur la touche RDS jusqu'à ce que la mention TRAFFIC OFF (informations sur la circulation routière hors fonction) s'affiche à l'écran; appuyez sur la touche SEL (selection) pour activer la fonction.
- Fonction FIND PROGRAM TYPE (recherche d'un type d'émission): cette fonction vous permet de rechercher les stations dotées du système RDS pour cibler certains genres radiophoniques: musique classique, country, informations, jazz,ieux succès, rhythm and blues, émissions religieuses, musique rock, soft rock, palmarès. Appuyez sur la touche RDS jusqu'à ce que la mention FIND (recherche) s'affiche à l'écran et utilisez la touche SEL pour faire defiler le type d'émission souhaite. Appuyez sur la touche SEEK ou SCAN pour rechercher le type d'émission.
- Fonction SHOW TYPE (affichage du type d'émission): permet d'afficher l'indicatif ou l'identification de la station de radio. Pour activer cette fonction, appuyez sur la touche RDS jusqu'à ce que la mention TRAFFIC OFF (bulletins sur la circulation routière hors fonction) s'affiche à l'écran; appuyez sur la touche SEL (selection) pour activer la fonction.
Le Conseil de la radiodiffusion et des télécommunications canadiennes (CRTC) et, aux États-Unis, la Federal Communications Commission (FCC) recommend that les stations FM utilisent la technologie RDS pour la transmission de l'information. Les stations FM sont toutes exploitées de manière indépendante et demeurent donc libres d'adopter ou non l'utilisation de la technologie RDS pour identifier leur station et le type d'émission qu'elle diffusent.
Chaines audio
Fonction de réglage de la montre : votre vehicule est équipé d'une montre analogique séparée. Consultez la rubrique Réglage de la montre au chapitre Commandes du conducteur.
11. Touche AUTOSET (programmation provisoire) :

appuyez sur cette touche pour
programmer les six stations les plus
puissantes sur les touches de preselection des bandes AM, FM1 ou FM2;
appuyez de nouveau sur cette touche pour revenir au mode d'utilisation normal des touches. S'il y a moins de six stations suffisamment
puissantes pour etre captees,les touches non utilisées sont toutes
programmées avec la derniere station decelée dans cette bande de
frequences.
12. Touche SCAN balayage

automatique : fonctionne en mode radio, lecteur de cassettes et lecteur de disques compacts. Appuyez sur SCAN pour entendre un bref échantillon de chacune des stations captées ou de chacune des pistes de la cassette ou du disque compact. Appuyez de nouveau sur cette touche pour désactiver le mode de balayage.
13. Touche SEEK (recherche
automatique) : fonctionne en mode radio, lecteur de cassettes et lecteur de disques compacts. Appuyez sur pour passer à la station précédente sur la bande de fréquences ou à la piste précédente sur la cassette ou le disque compact, et sur pour passer à la station suivante sur la bande de fréquences ou à la piste suivante sur la cassette ou le disque compact.
14. Touche TUNE (recherche

manuelle): cette touche ne fonctionne qu'en mode radio. Appuyez sur les flèches ou pour yntoniser manuellement les stations précédentes ou suivantes de la bande de fréquences.
- AM/FM/CD:appuyez sur AM/FM pour selectionner une frquence radio.Lorsque la chaine audio est en mode lecteur de cassettes ou lecteur de disques compacts, appuyez sur cette touche pour revenir en mode radio.Appuyez sur CD pour passer en mode lecteur de disques compacts et écouter un disque compact déjà chargedans I'appareil.Appuyez sur la touche AM/FM pour
Chaines audio
choisir entre les stations présélectionnées sur les bandes AM, FM1 ou FM2. Appuyez sur la touche CD pour passer de la lecture d'un disque compact à celle d'un DVD et vice-versa (salon l'équipement).
16. Touche de mise sous tension et commande du volume :
appuyez sur ce bouton pour allumer ou eteindre la chaine audio.Tournez le bouton pour augmenter ou diminuier le volume.

Si le volume est reglé au-dessus d'un certain niveau et que vous coupez le contact sans éteindre la chaine audio, celle-ci reprendra son fonctionnement à un niveau sonore normal lorsque le contact sera rétabli à l'allumage. La radio peut également être allumée en appuyant sur la touche de可以选择 de bande AM/FM ou sur la touche de passage entre les modes lecteur de cassettes et lecteur de disques compacts.
Volume asservi à la vitesse ( selon l'equipement) : le volume de la radio varie automatiquement pour compenser les bruits générés par la route et le vent. Le niveau recommendé est de 1 à 3 . L e niveau 0 désactive le volume asservi à la vitesse et le niveau 7 constitue le réglage maximal.
Pour activer cette fonction, maintenez la commande du volume sonore enfoncée pendant cinq secondes (lorsque la radio est en fonction).
Appuyez sur la touche SEL pour augmenter ou pour diminuer les valeurs de compensation de volume. Le niveau sélectionné s'affiche à l'écran.
17. Touche TAPE (cassette):

appuyez sur cette touche pour demarrer la lecture d'une cassette.
Pendant l'avance rapide ou le reboinage, appuyez sur cette touche pour arreter ces fonctions.
- Volet de chargement de disque compact : insérez le disque avec le côté imprimé vers le haut.
Les lecteurs de disques compacts sont conçus pour faire la lecture des disques compacts audio commerciaux de 12 cm (4,75 po) seulement. En raison d'incompatibilités techniques, certains disques compacts enregistrables et réenregistrables peuvent ne pas fonctionner correctement lorsqu'ils sont insérés dans les lecteurs de disques compacts Ford. Les disques compacts de forme irrégulière, les disques compacts recouverts d'un film contre les égratignures et les disques compacts avec étiquettes
Chaines audio
en papier ne doit pas etre insere dans le lecteur de disques compacts. L'etiquette pourrait se decoller et coincer le disque compact dans le lecteur. Il est recommande d'identifier les disques compacts faits maison avec un feutre indelébile au lieu d'une étiquette. Les stylos a bille peuvent endommager les disques compacts.Consultez voitre concessionnaire pour obtenir de plus amples renseignements a ce sujet.
- Volet du lecteur de cassette: inséréz la cassette avec la bande orientée vers la droite.

CHAINE AUDIO AUDIOPHILE AM/FM STÉRÉO PRÉTE POUR LA RECEPTION SATELLITAIRE AVEC CHARGEUR À SIX DISQUES COMPACTS MONTE DANS LA PLANCHE DE BORD (SELON L'ÉQUIPEMENT)
1. Touche SEEK (recherche
automatique): enforcez et
relâchez la touche SEEK « ou ▲

pour passer à la première station audible vers le haut ou le bas de la bande de féquences, ou à la prochaine sélection ou piste dans un ordre croissant ou décroissant.
2. Touche REW (retour en
arrière): en mode lecteur de
disques compacts, maintenez cette
touche enfoncée jusqu'à ce que la piste désirée soit atteinte.

Chaines audio
Touche FF (avance rapide) : en mode lecteur de disques compacts, maintenez cette touche enfoncée jusqu'à ce que la piste désirée soit atteinte.
Touche TEXT (texte) : la fonction TEXT est uniquement réservée à la radio satellite. Voiture chaîne « Audiophile » est préequipée pour l'option radio satellite. La trousse permettant d'activer la réception satellitaire est disponible auprès de votre concessionnaire Lincoln. Ce kit, installé par le concessionnaire, comprend également des directives détaillées sur la réception satellite.
numérique du signal):appuyez sur la touche DSP pour acceder au menu Ambiance.L'option Ambiance donne l'impression d'être devant I'orchestre; en effet, cette option augmente la clarté du son et produit une nouvelle dimension d'ecoute. Appuyez sur la touche SEL pour activer ou désactiver cette fonction. Tournez la commande de volume pour augmenter ou pour diminuer I'effet d'ambiance.
Mode de distribution du son: appuyez de nouveau sur la touche DSP pour optimiser le son pour tous les sièges (ALL SEATS), le siège du conducteur (DRIVER SEAT) ou les sièges arrêté (REAR SEATS). Appuyez sur la touche SEL pour faire défiler les différents réglages.
4. Touche MUTE (mise en
sourdine):appuyez sur cette touche pourmettrele媒介 en sourdine;appuyez de nouveau sur la touche pour rétablir le son.
- Touche EJ (ejection) : appuyez sur cette touche pour ejecter un disque compact. Appuyez sur la touche et maintenez-la enforcée pour ejecter tous les disqu
6. Touche BASS (réglage des
graves) : appuyez sur la partie BASS de la touche, puis sur SEL ou pour augmenter ou réduire les tonalités graves.
Touche TREB (réglage des aigus) : appuyez sur la touche TREB, puis sur SEL pour augmenter ou réduire les tonalités aigués.
Chaines audio
- Touche SEL (selection): Utilisez les touches BASS, TREB, BAL et FADE pour régler ces valeurs ainsi que celles de la montre.

- Touche BAL (balance gauche-droite des
haut-parleurs) : appuyez sur la partie BAL de la touche, puis sur

SEL ou pour faire passer le son des haut-parleurs de gauche à deux de droite et vice-versa.
Touche FADE (balance avant-arrête des

haut-parleurs) : appuyez sur la partie FADE de la touche, puis sur
SEL ou pour faire passer le son des haut-parleurs avant aux haut-parleurs arrirée et vice-versa.
- Touche MENU: appuyez sur les touches MENU et SEL pour acceder aux modes d'activation et de désactivation du système RDS.

d'informations sur la circulation, de type d'émission et de lecture aléatoire.
Le Conseil de la radiodiffusion et des télécommunications canadiennes (CRTC) et, aux États-Unis, la Federal Communications Commission (FCC) recommendant que les stations FM utilisent la technologie RDS pour la transmission de l'information. Les stations FM sont toutes exploitées de manière indépendante et demeurent donc libres d'adopter ou non l'utilisation de la technologie RDS pour identifier leur station et le type d'émission qu'elle diffusent.
Fonction TRAFFIC (informations sur la circulation routière): cette fonction vous permet d'éçouter des bulletins de circulation routière. Une fois la fonction activée, appuyez sur la touche SEEK (recherche automatique) ou SCAN (balayage automatique) pour rechercher une station diffusant des renseignements sur la circulation routière (si la station est dotée du système RDS). Aux États-Unis, la majorité des stations n'émettent pas de renseignements sur la circulation routière.
Chaines audio
Fonction FIND PROGRAM TYPE (recherche d'un type
d'émission): cette fonction vous permet de rechercher les stations dotées du système RDS pour cibler certains genres radiophoniques: classique, country, éducatif, jazz,ieuxsucces, R&B, religieux, rock, détente, palmares.
Fonction SHOW TYPE (affichage du type d'émission) : affiche
I'indicatif de la station et son type de programmation.
Touché SHUF (lecture aléatoire) : appuyez sur cette touche pour liè les pistes de façon aléatoire. Appuyez sur la touche MENU jusqu'à ce que la mention SHUF s'affiche à l'écran. Utilisez la touche SEL pour sélectionner les fonctions SHUF DISC (lecture aléatoire des disques), SHUF TRAC (lecture aléatoire des pistes) ou SHUF OFF (lecture aléatoire désactivée).
Fonction de compression : la fonction de compression permet de diminuer l'écart de volume entre les passages doux et les passages forts, et d'obtenir ainsi une écoute plus harmonieuse. Appuyez sur la touche MENU jusqu'à ce que le niveau de compression s'affiche. Lorsque le message COMP OFF s'affiche, appuyez sur la touche SEL pour activer la fonction de compression. Pour désactiver la fonction de compression, appuyez de nouveau sur la touche SEL lorsque le message COMP est affché.
Fonction de réglage de la montre : votre vehicule est équipé d'une montre intégrée à la planche de bord. Consultez la rubrique Réglage de la montre du chapitre Commandes du conducteur pour obtenir des directives concernant le réglage de la montre.
10. Touches de préselection :
pourmettreunestationen
mémoire : sélectionnez la bande de
fréquences AM ou FM; symtonisez
une station puis appuyez sur une touche de présélection et maintenez-la
enfoncée jusqu'à ce que le son revienne.
11. Touche SAT (satellite) (selon
I'equipement) :voitrchaine
« Audiophile » est préequipée pour
l'option radio satellite. Laroussespermettantd'activer la reception satellitaire est disponible aupres devoire concessionnaire Lincoln.Ce kit, instalé par le concessionnaire, comprend également des directives détaillées sur la réception satellite.


Chaines audio
- Touche AM/FM: appuyez sur cette touche pour selectionner la bande AM ou FM.

Fonction AUTOSTORE (mise en mémoire automatique des stations): cette fonction permet de sélectionner les stations locales les plus puissantes, sans pour autant effacer les stations mises en mémoire manuellement, pour les bandes AM, FM1 et FM2. Enforcez la touche AM/FM et maintenez-la,enforcéequelques instants.La mention AUTOSTORE clignote au guichet. Lorsque les six stations les plus puissantes sont programmées, la station correspondant à la touche 1 est syntonisee.S'il y a moins de six stations assez puissantes,la derniere station mise en mémoire sera assignée a toutes les touches de préselection restantes. Appuyez de nouveau pour annuler.
- Touche de mise sous tension et commande du volume:
appuyez sur cette touche pour allumer ou eteindre la chaine audio; tournez la commande pour augmenter le volume ou le reduire.

Volume asservi à la vitesse cette fonction permet la variation automatique et progressive du volume de la radio pour compenser les bruits extérieurs générés par la route et par le vent lorsque le vehicule accélère ou roule à grande vitesse. Le niveau recommendé est de 1 à 3. Le niveau 0 désactive le volume asservi à la vitesse et le niveau 7 constitue le réglage maximal. Maintenez la commande du volume enfonnée pendant cinq secondes. Appuyez ensuite sur la touche SEL pour augmenter le volume ou sur pour le diminuer. Le niveau est alors affché au guichet.
appuyez sur cette touche pour charger un disque compact.
Appuyez sur la touche et maintenez-la enfoncée pour charger jusqu'à six disques.
- Touche CD AUX (disque compact/source auxiliaire) :
appuyez sur la touche CD pour
passer de la lecture d'un disque compact a celle d'un DVD (selon
I'equipement).
Chaines audio
Les lecteurs de disques compacts sont concus pour faire la lecture des disques compacts audio commerciaux de 12 cm (4,75 po) seulement. En raison d'incompatibilités techniques, certains disques compacts enregistrables et reenregistrables peuvent ne pas fonctionner correctement lorsqu'ils sont insérés dans les lecteurs de disques compacts Ford. Les disques compacts de forme irrégulière, les disques compacts recouverts d'un film contre les égratignures et les disques compacts avec étiquettes en papier ne doivent pas être insérés dans le lecteur de disques compacts. L'étiquette pourrait se decoller et coincer le disque compact dans le lecteur. Il est recommendé d'identifier les disques compacts faits maison avec un ≠etre indéléble au lieu d'une étiquette. Les stylos à bille peuvent endommager les disques compacts. Consultez votre concessionnaire pour obtenir de plus amples renseignements à ce sujet.
16. Touche SCAN (balayage
automatique) : appuyez sur la
touche SCÁN pour écouter un bref
échantillon de chaque station reçue ou de chacune des pistes du disque compact. Appuyez de nouveau sur la touche pour annuler cette fonction.
17. Touche DISC/TUNE (disques compacts/syntonisation) :

appuyez sur ou leur
syntoniser manuellement les stations precedentes ou suivantes sur la bande de fréquences, ou pour生存 les pistes precedentes ou suivantes d'un disque compact.
Touche CAT (recherche par catégorie) : la fonction CAT est uniquement réservée à la radio satellite. Voitre chaîne « Audiophile » est prééquipée pour l'option radio satellite. Larouse permettant d'activer la réception satellitaire est disponible auprès de votre concessionnaire Lincoln. Ce kit, installé par le concessionnaire, comprend également des directives détaillées sur la réception satellite.
Pour tout renseignement concernant la radio satellite SIRIUS, veuillez composer sans frais le 888 539 SIRIUS (888 539 7474) ou visitez notre site SIRIUS à l'adresse suivante: www.siriusradio.com
COMMANDES RADIO DES SIÉGES ARRIÈRE (SELON L'ÉQUIPEMENT)
Si vous vécicule est équipé d'une console au premier rang, il est également muni de commandes radio pour les sièges arrrière. Cette fonction permet aux occupants des sièges avant et du deuxième rang d'apprécié simultanément des sources mediaières (radio, cassette, disques compacts ou DVD). (Toutefois, les occupants des sièges avant et du第二种e rang ne

peuvent pas écouter deux stations de radio différentes au même moment.)
Lorsque les commandes des sièges arrêtè sont en fonction, les occupants de ces sièges peuvent utiliser les commandes pour selectionner une autre source Média pour tous les occupants (mode média unique). Dans ce mode, tous les haut-parleurs diffusent à partir de la même source Média, pour tous les occupants. Pourmettre en fonction les commandes radio des sièges arrêtè :
- Appuyez simultanément sur les touches de programmation 3 et 5. Le pictogramme du casque

d'écoute (®) s'affiche à l'écran, indiquant que les commandes radio des sièges arrêtés sont en fonction.
- Appuyez sur les touches de programmation 3 et 5 une seconde fois pourmettre hors fonction les commandes radio des sièges arrière.Lepictogramme du casque d'ecoute ( )disparait du guichet de la radio.
En cas de conflit d'écoute entre les occupants avant et les occupants arrirée (lorsque les deux essaient d'utiliser le même média), la priorité est donnée aux commandes avant.
Chaines audio
Pourmettre en fonction le mode double媒介 les occupants des siègesarrié ecoutent un媒介 différent de celui choisi par les occupatns des sièges avant) :
- appuyez sur la touche haut-parleurs/casque d'écoute;
- appuyez sur la touche MODE pour changer de source audio (en mode casque d'écoute seulement);
- utilisez les touches SEEK, VOLUME et MEMORY pour effectuer les réglages de la fonction audio可以选择;
- le mode double media peut également être mis en fonction en appuyant simultanément sur les touches de programmation 2 et 4 d

Les haut-parleurs arrirée sont mis hors fonction et les occupants des sièges arrirée peuvent écouter leur propre média à l'aide d'un casque d'écoute.
Réglagedu volume
La commande de volume permet aux passagers arrêté de régler le volume sonore de la châne audio.
Appuyez sur la touche (+) pour augmenter le volume sonore.
Appuyez sur la touche (-) pour diminuer le volume sonore.

La commande de volume du siege arrête permet de régler le volume sonore à un niveau supérieur au réglage du bloc avant, mais uniquement lorsque les haut-parleurs sont mis hors fonction.
Mise en fonction et hors fonction des haut-parleurs arriere
Appuyez sur la touche haut-parleur/casque d'ecoute pourmettre les haut-parleurs arriere enfonction (mode media unique) ou horsfonction (mode double media).

Utilisation des casques écouteurs/mode double media
Branchez un casque d'écoute à fiche de 3,5 mm (non compris) dans la prise. Appuyez sur la touche de mise en fonction des haut-parleurs pourmettre le casque d'écoute en fonction.La mention DUAL PLAY (double media)s affiche a I'écran de la radio et la touche de balance est mise hors fonction,confirmant I'activation du mode double media. Les haut-parleurs arrirere sont mis hors fonction lorsque la touche marche/arrêt des haut-parleurs est enfoncée.Les haut-parleurs avant demeurent en fonction pour les passagers avant.Appuyez de nouveau sur la touche pourmettre le casque d'écoute hors fonction. SINGLE PLAY (media unique)s'affiche a I'écran de la radio et la touche de balance est mise en fonction,confirmant la déactivation du mode double media.
Pour permettre la mise en fonction du mode double media, les commandes des sièges arrêté doivent être activées, et le pictogramme doit être affiché au guichet de la radio.
Sélecteur de mode
Appuyez sur la touche MODE pour altermner entre les modes AM, FM1, FM2, lecteur de cassettes (selon l'equipement), lecteur ou chargeur de disques compacts (selon l'equipement) ou lecteur DVD (selon l'equipement). Si le mode double media est en fonction, la mention « SHARED » (partagé) s'affiche à l'écran de la radio pour indiquer que les modes avant et arrrière sont régles sur le même media.

Chaines audio
Touché de préselection des stations
Appuyez sur la touche MEMORY pour permettre aux passagers arrriere de faire defiler les six stations mises en memoire sur chacune des bandes AM, FM1 et FM2.
Appuyez sur la touche MEMORY (mémoire) (selon l'équipement) en mode lecteur de disques compacts (selon l'équipement) pour passer à la lecture du disque suivant.

Touches de recherche automatique
- En mode radio, appuyez sur pour trouver la première station audible vers le bas de la bande de fréquences.
- En mode radio, appuyez sur pour trouver la première station audible vers le haut de la bande de fréquences.
- En mode lecteur de cassettes (selon l'équipement), appuyez sur la touche SEEK (recherche) pour passer à la piste suivante ou à la piste précédente.
- En mode lecteur de disques compacts (selon l'équipment), appuyez sur la touche SEEK pour passer à la piste suivant o u à la piste « précédente.
Contrôle parental
Appuyez simultanément sur les touches de programmation 3 et 5 des commandes audio avant pour désactiver les commandes des sièges arrêté. Elles resteront désactivées jusqu'à ce qu'un passager avant les remette en fonction en appuyant simultanément sur les touches de programmation 3 et 5. Les réglages des commandes avant ont toujours la priorité sur ceux des commandes arrêté.
FREQUENCES RADIO
Les fréquences radio AM et FM sont déterminées par le Conseil de la radiodiffusion et des télécommunications canadiennes (CRTC) et, aux États-Unis, par la « Federal Communications Commission » (FCC). Ces fréquences sont :
AM—530;540a1700;1710kHz;
FM—87,7;87,9 à 107,7;107,9 MHz.
FACTEURS POUVANT INFLUENCER LA RECEPTION RADIO
Trois facteurs peuvent avoir un impact sur la réception radio :
- distance et puissance de l'émetteur : plus vous vous éloignez d'une station FM, plus le signal, et conséquement la réception, sont faibles;
- relief : les collines, les immeubles, les lignes de transport d'électricité, les clôtures électriques, les frais de signalisation et les orages peuvent nuir à la réception;
- réception de signaux puissants avec surcharge : lorsque vous roulez dans le voisinage immédiat d'un pylène émetteur, il peut arriver qu'un signal plus puissant interfère avec le signal de la station que vous écoutez; vous entendrez cette féquence plus puissante, alors que sera affichée la féquence de la station la plus faible.
SOINS A APPORTER AU LECTEUR DE CASSETTES ET AUX CASSETTES
Àfaire:
- n'utilisez que des cassettes de 90 minutes ou moins;
- si la bande est détendue, engagez le doigt ou un crayon dans un des trous et tournez jusqu'à ce que la bande soit bien tendue;
- enlevez toute étiquette partiellement decollée avant d'insérer la cassette;
- laisser les cassettes qui ont eté soumises à des températures extrêmes et à l'humidité atteindre une température moderation avant la lecture;
- afin d'assurer le meilleur fonctionnement et la meilleure qualité de reproduction sonore, nettoyez la tête magnétique du lecteur de cassettes à l'aide d'une cassette de nettoyage à toutes les dix ou douze heures de fonctionnement.
Anepasfaire:
- exposer les cassettes au soleil, à l'humidité ou à des températures extrêmes;
- laisser une cassette à l'intérieur du lecteur pendant de longues périodes lorsque le lecteur est à l'arrêt.
Chaines audio
SOINS A APPORTER AU LECTEUR DE DISQUES COMPACTS ET AUX DISQUES COMPACTS
A faire :
- ne saisissez les disques que par leur pourtour. Ne touche jamais leur surface d'enregistrement;
- inspector les disques avant la lecture; n'utiliser qu'un produit approuve pour nettoyer le disque; essuyer le disque du centre vers le bord.
A ne pas faire :
- laisser les disques exposés pendant une longue période à la lumière directe du soleil ou à la chaleur;
- introduire plus d'un disque dans chaque porte-disque du magasin du chargeur de disques compacts;
- nettoyer le disque par un mouvement circulaire.
Les lecteurs de disques compacts sont conçus pour faire la lecture des disques compacts audio commerciaux de 12 cm (4,75 po) seulement. En raison d'incompatibilités techniques, certains disques compacts enregistrables et réenregistrables peuvent ne pas fonctionner correctement lorsqu'ils sont insérés dans les lecteurs de disques compacts Ford. Les disques compacts de forme irrégulière, les disques compacts recouverts d'un film contre les égratignures et les disques compacts avec étiquettes en papier ne doivent pas être insérés dans le lecteur de disques compacts. L'étiquette pourrait se décoller et coincer le disque compact dans le lecteur. Il est recommendé d'identifier les disques compacts faits maison avec un feuitre indéléblé au lieu d'une étiquette. Les stylos à bille peuvent endommager les disques compacts. Consultez votre concessionnaire pour obtenir de plus amples renseignements à ce sujet.
GARANTIE ET SERVICE APRES-VENTE
Consultez le Guide de garantie pour obtenir de plus amples renseignements sur la garantie de votre chaine audio. Si une intervention s'impose, adressez-vous à votre concessionnaire ou à un technicien qualifié.
Lorsque le signal du sonar retentit, le volume de la radio s'abaisse suffisamment pour que les avertissements soient audible. Le volume de la radio reprend sa valeur initiale lorsque le signal du sonar cette de retentir.
SYSTÉME AUDIOVISUEL AVEC LECTEUR DVD POUR PASSAGERS ARRÈRE (SELEN L'ÉQUIPEMENT)
Votre vehicule peut etre muni d'un systeme audiovisuel avec lecteur DVD pour les passagers arriere, grace auquel il est possible de dire des disques compacts ou de visionner des films sur DVD, en plus de pouvoir jourer a divers yeux video.Prenez le temps de vous familiariser avec les caractéristiques et directives de sécurité de votre systeme.

Commandes du lecteur de DVD
1. Touche MAIN
- NEXT - appuyez pour passer à la piste suivante du disque compact, au chapitre suivant du DVD ou pour monter en mode curseur.
- PREV - appuyez pour passer à la piste précédente du disque compact, au chapitre précédent du DVD ou pour descendre en mode curseur.
- REV - appuyez pour revenir en arrière en mode lecteur de disques compacts ou de DVD ou pour déplacer le curseur vers la gauche, en mode menu.
- FWD - appuyez pour avancer en mode lecteur de disques compacts ou de DVD ou pour déplacer le curseur vers la droite, en mode menu.
2. Touche PLAY/PAUSE
Appuyez pour visionner le DVD ou pour en suspendre la lecture temporairement.
3. Touche DIM
Pour augmenter (+) ou réduire (-) la luminosité de l'écran.
Chaines audio
4. Touche ENTER
Appuyez sur cette touche pour selectionner la fonction可以选择 dans le menu activé. Cette touche peut aussi être utilisée pendant la lecture de certains disques interactifs.
5. Touche MENU
Appuyez pour obtenir le menu du disque.
6. Touche AUX
Appuyez sur cette touche pour faire passer le lecteur de DVD du mode lecture au mode auxiliaire.
7. Prises auxiliaires
Entrées pour quelques video standard.
8. Touche STOP/EJECT
Appuyez sur cette touche pour arrêté la lecture du DVD. Appuyez de nouveau pour éjecter le DVD.
9. Touche DISPLAY (DISP)
Appuyez pour obtenir l'affichage à l'écran du menu de jeu et des réglages de l'utilisateur.
Fonctions des touches du lecteur de DVD
Touche MENU
Appuyez sur la touche MENU pour entrer en mode menu. Cela vous permet de naviguer dans les menus du lecteur de DVD. Une fois en mode menu :
- Appuyez sur la touche NEXT pour déplacer le curseur d'une position vers le haut.

- Appuyez sur la touche PREV pour déplacer le curseur d'une position vers le bas.


Chaines audio
- Appuyez sur la touche REV pour déplacer le curseur d'une position vers la gauche.

- Appuyez sur la touche FWD pour déplacer le curseur d'une position vers la droite.

Touche NEXT/PREV
Les touches NEXT (vers le haut) et PREV (vers le bas) vous permettent d'acceder à la piste suivante ou précédente d'un CD ou à la section suivante ou précédent d'un DVD.

Lorsque vous appuyez sur cette
touché, la lecture audio est interrompue momentanément pendant que le système passé à la piste suivante. Maintenez cette touche enforcée pour avancer ou reculer de plusieurs pistes à la fois.
Touche REV/FWD
Appuyez sur la touche REV/FWD pendant la lecture pour reculer ou avancer à vitesse normale. Appuyez de nouveau sur la touche REV/FWD pour désactiver la fonction reculer/avancer et revenir en mode normal de lecture.

Touche ENTER
La touche ENTER vous permet de selectionner des éléments en mode menu.

Appuyez sur la touche ENTER pour selectionner l'élément mis en surbrillance.
Chaines audio
Mode lecteur de disques compacts
Appuyez sur NEXT pendant la lecture d'un disque compact pour passer à la piste suivante. Si vous appuyez sur NEXT pendant la lecture de la dernière piste, la lecture reprendra à la première piste.

Mode lecture lente
Pour passer en mode lecture lente, appuyez sur la touche PLAY/PAUSE.

Une fois la lecture suspendue,
appuyez sur la touche FWD ou REV pour une lecture au ralenti. Il existe trois vitesses de lecture, selon le temps pendant lequel la touche est maintainue enfoncée. Appuyez sur la touche pour une lecture au ralenti.
Appuyez de nouveau sur la touche pour désactiver la lecture au ralenti.
Appuyez sur la touche PLAY/PAUSE pour revenir au mode normal de lecture.
Mode menu de l'utilisateur
Pour régler l'affichage de l'écran, appuyez une fois sur la touche DISP

(affichage) et le menu du lecteur apparait. Appuyez de nouveau sur la touche DISP pour régler l'affichage de l'écran. Utilisez les flèches et la touche ENTER pour sélectionner les divers réglages d'écran. (Réglages d'écran disponibles: 16 x 9, Normal, 4 x 3 et Zoom.)
Le lecteur de DVD vérifie le type de disque et configure l'écran en conséquence. Certains films ont un format grand angle convenant à un écran normal 4 × 3 . L'ec a s'échéant, vous verrez des bandes noires dans le haut et dans le bas de l'écran. On peut avoir l'impression qu'il s'agit d'un petit écran à l'intérieur d'un plus grand. Il peut être préférable de visionner ce type de film en mode Zoom. Pour acceder au mode Zoom, appuyez une fois sur la touche DISP pour acceder au menu du lecteur et pour régler de nouveau l'affichage de l'écran. Sélectionnez Zoom parmi les réglages de l'écran en utilisant la touche fléchée de même que la touche ENTER.
Commande à distance

1. Touche REWIND
Appuyez sur cette touche pour inverser la direction de lecture du film sur DVD.
2. Touche FAST FORWARD
Appuyez sur cette touche pour faire avancer la lecture du film sur DVD.
3. Touche PLAY/STOP
Appuyez sur cette touche pour commencer ou arreter la lecture du film sur DVD.
4. Touche SEEK
Appuyez pour reculer ou avancer dans les sections du DVD ou dans les pistes du disque compact.
5. Touche DISPLAY (DISP)
Appuyez pour obtenir l'affichage à l'écran du menu de jeu et des réglages de l'utilisateur. Une fois l'écran acté, utilisez la fonction SEEK (recherche) pour désirir le réglage d'écran souhaïte.
6. Touche ENTER (ENT) MEMORY
En mode lecteur DVD, appuyez sur cette touche pour sélectionner un élément désigné en mode menu.
En mode arrêt, appuyez sur la touche pour aller à la préselection radio suivante.
Chaines audio
7. Touche MNU/MODE
En mode lecteur DVD, appuyez sur cette touche pour acceder au menu du disque.
En mode d'arrêt, appuyez sur la touche pour passer à une autre source média (AM, FM, CD...
8. Touche VOLUME
Appuyez sur (+) pour monter le volume et sur (-) pour le baisser.
Remplacement des piles
Des piles sont fournies avec la télécommande. Étant donné que toutes les piles ont une durée de vie utile limite, remplacez-les lorsque vous n'arrivez plus à faire fonctionner le lecteur de DVD avec la télécommande. Un的身影 in diode electroluminescente se trouvant sur la télécommande s'allume lorsque vous appuyez sur une touche.

Ouvrez le couvercle de la télécommande en le faisant glisser comme illustré pour acceder aux piles.
La télécommande requiert deux piles AAA.
Contrôle parental
Pour activer ou désactiver le système audiovisuel pour passagers arrrière, appuyez simultanément sur les touches de préselection 3 et 5 à l'avant de la radio.

Pour obtenir plus de détails concernant les commandes des sièges arrêté, consultez la rubrique Commandes des sièges arrêté du present chapitre.
Casque d'écoute sans fil
Votre système comporte deux casques d'écoute sans fil. (Les casques d'écoute nécessient deux piles AAA.) Les piles ne sont pas inclues.

Pour poser les piles, appuyez légèrement sur la partie supérieure de l'écouteur gauche et faites glisser le couvercle pour le prisoner.
Quand you remplacez les piles, utilisez deux piles neuves (piles alcalines recommandees) et placez-les dans le sens de polarité (+) et (-) .

Utilisation d'un casque d'écoute sans fil
Pour faire fonctionner les casques d'écoute sans fil :
- Appuyez sur le bouton ON/OFF situé sur l'écouteur gauche. Le témoin DEL sur l'écouteur droit s'allume. Appuyez de nouveau pour désactiver cette fonction.
- Ajustez le casque d'écoute sur votre tête pour votre comfort.
- Reglez la commande de volume à un niveau sonore/agréable.

Remarque: La molette est l'unique moyen de régler le volume des casques d'écoute sans fil. La télécommande ou les commandes des sièges arrêté n'ontaucun effet sur le volume des casques d'écoute sans fil.
Chaines audio
Arrétez le casque d'écoute lorsqu'il n'est pas utilisé, pour éviter de décharger les piles. Le casque d'écoute s'arrête automatiquement après cinq minutes s'il n'a pas reçu de signal audio infrarouge du panneau de commande de la console au pavillon.
Assurez-vous que la ligne de visée entre le casque d'écoute et l'émetteur infrarouge (situé sur le boitier du lecteur DVD) n'est pas obstruée.

Écran d'affichage relevable à cristaux liquides

L'écran bascule vers le bas pour le visionnement et vers le haut pour le rangement. Veiliez à bien verrouiller l'écran en position de rangement.

- Écran de 17,8 cm (7 po) (en diagonale) à cristaux liquides à matrice active
- Logement de l'écran
Chaines audio
- Reglage de luminosité. Appuyez sur +/- pour augmenter ou réduire la luminosité de l'écran.
Lecture et format
- Le lecteur DVD de votre système audiovisuel pour passagers arrêt ne peut être utilisé qu'en mode de lecture. (Le lecteur de DVD n'a pas de fonction d'enregistrement.)
- Le système peut dire les disques compacts ou les DVD standard.
- Le lecteur de DVD peut dire uniquement les DVD et les disques compacts. Il n'est pas compatible avec les disques compacts réenregistrables.
Circuits de protection du système audiovisuel pour passagers arrêté
Circuit du capteur de haute température
- Des températures excessives peuvent endommager le lecteur de DVD.
- Lorsque la température du lecteur de DVD devient trop élevé, le circuit du capteur de haute température arrête le fonctionnement de l'appareil. La mention DVD/CD HOT (chaud) s'affiche à l'écran de la radio.
- Le lecteur de DVD demeure hors fonction jusqu'à ce que sa température de fonctionnement redevienne normale. La durée de la période de refroidissement varie selon les conditions ambiantes.
Conseils généraux d'utilisation
- Lorsque le moteur ne fonctionne pas, utilisez le système avec parcimonie pour ne pas décharger la batterie.
- Lorsque le contact est coupé, le système audiovisuel pour passagers arrrière est également mis hors fonction. Àpres avoir établi le contact, lorsque vous appuyez sur la touche de lecture du système, la lecture se fait à partir de la dernière source selectionnée.
- PourmettrelelecteurDVDhorsfonction,appuyezsimultanement sur les touches de preselection3et5de la radio.Pour remetre en fonction le lecteur DVD,appuyez simultanement sur les touches de preselection 3 et 5.
- Le lecteur de DVD peut dire qu'un face inférieure d'un disque. Au moment d'insérer un disque enregistré d'un seul côté, l'étiquette doit se couver vers le haut. Dans le cas d'un disque enregistré sur plus d'un côté, la face de lecture selectionnée doit être orientée vers le bas au moment d'insérer le disque dans le lecteur.
Chaines audio
- Le lecteur de DVD peut dire uniquement les DVD et les disques compacts. Il n'est pas compatible avec les disques compacts réenregistrables.
- Le formatage des DVD varie d'une région à une autre. Ce lecteur DVD peut dire uniquement les DVD de la région 1 (DVD fabriqués au Canada et aux États-Unis).
Ce lecteur est concu pour faire la lecture des disques compacts audio et DVD commerciaux de 12 cm (4,75 po) seulement. En raison d'incompatibilité techniques, certains disques compacts enregistrables et reenregistrables peuvent ne pas fonctionner correctement lorsqu'utilisés dans des lecteurs de disques compacts/DVD Ford. Les disques de forme irrégulière, les disques recouverts d'un film contre les égratignures et les disques avec étiquettes maison en papier (autoadhésives) ne doivent pas être insérés dans le lecteur. L'étiquette pourrait se décoller et coincer le disque dans le lecteur. Il est recommendé d'identifier les disques faits maison à l'aide d'un marqueur indéléblie au lieu d'une étiquette. Les stylos à bille peuvent endomager les disques. Consultez votre concessionnaire pour obtenir de plus amples renseignements à ce sujet.
Pour insérer un CD ou un DVD
Lorsqu'un disque compact ou un DVD est introduit dans le lecteur de DVD, l'appareil est automatiquement mis en fonction et la lecture devrait commencer.
Le compteur se remet automatiquement à 0:00:00.
Pour retirer un disque compact ou un DVD
- Appuyez sur la touche STOP/EJECT pour arreter la lecture.
- Appuyez de nouveau sur la touche STOP/EJECT pour éjecter le disque compact ou le DVD.
Pour des raisons de sécurité, si le disque compact ou le DVD n'est pas terminé dans le temps alloué, il est automatiquement réintroduit dans l'appareil. Si le disque compact ou le DVD ne s'éjecte pas de l'appareil, sauf maintenance la touche EJECT enforcée pendant environ deux secondes. Le disque devrait être éjecté, que le contact soit établi ou coupé.
Utilisation d'un jeu video/appareil auxiliaire
- Branchez la sortie video de votre apparéil de jeu à la prise d'entrée auxiliaire JAUNE.
-
Branchez respectivement les cables audio gauche et droit aux prises d'entrée auxiliaires BLANCHE et ROUGE.
-
Appuyez sur la touche MODE jusqu'à ce que la mention DVD/CD AUX (aucun disque dans le lecteur) ou DVD/CD play (disque dans le lecteur) s'affiche dans l'écran de la radio. Si un disque se trouve dans le système, la lecture devrait commencer. Pour activer les entrées auxiliaires, appuyez sur la touche STOP ou AUX du lecteur de DVD.
Indicateurs à l'écran

Chaque fois que vous appuyez sur une touche, l'etat de fonctionnement du lecteur de DVD s'affiche à l'écran. Les indicateurs suivants peuvent s'afficher :
- CD track
- DVD chapter
- SYSTEM COUNTER - affiche le temps de visionnement courant de la source souhaitee. (HEURES:MINUTES:SECONDES)
4.DVD/CD STATUS (PLAY/FF/REW/PAUSE) - AUDIO OUTPUT (ne peut pas être modifié)
- Sous-titres (langue可以选择 - français ou espagnol, selon les capacités du disque et la mise en/hors fonction).
- Angle deamera (pour l'image) - régliable avec les curseurs et la touche ENTER.
Conseils de sécurité
Lisez entiement les conseils de sécurité et les consignes d'utilisation avant de faire fonctionner le système et conservez-les pour pouvoir vous y reférer à l'avenir.
Chaines audio
N'essayez jamais de démonter, de réparer ou de modifier le système audiovisuel pour passagers arrêté. Consultez cette concessionnaire Ford ou Lincoln.
N'insérez que des disques dans le lecteur de DVD.
Le verre de l'écran d'affichage relevable à cristaux liquides peut se briser s'il est heures par un objet dur. Si cela se produit, ne touche pas au liquide. En cas de contact avec la peau, lavez immédiatement la partie touchée avec de l'eau et du savon.
N'exposez pas directement l'écran d'affichage relevable à cristaux liquides au soleil ni à des rayons ultraviolets puissants pendant une trop longue période. Les rayons ultraviolets alterent les cristaux liquides.
Veuillez dire attentivement les guides d'utilisateur relatifs aux produits et à l'équipment avant de les utilisier comme apparciels auxiliaires avec la méthode audiovisuel pour passagers arrêté.
N'utilise aucun jeu ou apparéil video dont les câbles ou cordons d'alimentation sont fendus, entaillés ou endommages. Placez les cordons et câbles de manière à ce que personne ne risque de poser les pieds dessus. Assurez-vous qu'ils ne génent ni le réglage des sièges ni l'utilisation des compartments de rangement du vehicule.
Débranche les cordons ou cables d'alimentation des yeux et de l'equipement video après usage.
Évitez de toucher les prises d'entrée auxiliaires avec les doigts. Ne soufflez pas sur ces prises et gardez-les propres et sèches.
N'utilisez pas de benzène, de diluant pour peinture ni aucun autre solvant pour nettoyer les éléments du lecteur DVD.
Lorsque le signal du sonar retentit, le volume de la radio s'abaisse suffisamment pour que les averisations soient audible. Le volume de la radio reprend sa valeur initiale lorsque le signal du sonar cette de retentir.
Homologation auprès de la « Federal Communication Commission » (FCC)
Des modifications apportées au système sans l'autorisation expresse de Ford Lincoln pourraient en annuler le droit d'utilisation par l'acheteur. Cet apparéil a été vérifié et s'est révélé conforme aux normes applicables aux apparéils numériques de catégorie B, en vertu de la section 15 des règlements de la FCC. Ces normes sont définies pour fournir une
Chaines audio
protection raisonnable contre les interférences nuisibles dans les installations résidentielles. Cet apparéil génére, utilise et peut émettre des radiofréquences et, s'il n'est pas installé et utilisé conformément aux normes, peut cause un brouillage radioélectrique nuisible aux communications radio.
Il n'est cependant pas garanti qu'un brouillage ne se produit pas avec certains types d'installation. Si cet appeareil brouille les signaux radio ou de télévision, ce qui peut etre déterminé en éteignant puis en rallumant le système, l'utiliseur est invite a consulter le concessionnaire ou un technicien qualifie dans le domaine de l'audiovisuel.
Soins et entretien à apporter au lecteur de DVD
Conditions ambiantes extremes
Les lecteurs de DVD soumis à des conditions ambantes rigoureuses peuvent être endommages et ne pas donner leur rendement optimal. Pour éviter de tels inconveniens, si possible, n'exposez pas votre apparéil aux conditions suivantes :
- chaleur ou froid intenses;
exposition directe au soleil; - humidité élevée;
poussiere; - champs magnétiques importants.
Temperatures extremes
Lorsque le vehicule a eté stationné pendant longtemps directement au soleil ou dans un endroit très froid, attendez que la température de l'habitacle du vehicule revienne à la normale avant de faire fonctionner le lecteur de DVD.
Humidité et condensation
L'humidité de l'air se condensera dans le lecteur de DVD lors de conditions très humides ou lorsque le vehicule passé d'un endroit froid à un endroit chaud. En présence de condensation, n'inséréz pas de CD ni de DVD dans l'appareil. S'il y en a déjà un dans l'appareil, retirez-le. Mettez le lecteur de DVD en fonction pour en chasser l'humidité avant d'y insérer un DVD. Il peut être nécessaire d'attendre une heures ou même plus.
Chaines audio
Nettoyage de I'écran d'affichage relevable à cristaux liquides
Nettoyez l'écran d'affichage en appliquant une petite quantité d'eau ou d'un produit d'entretien menager à base d'ammoniaque directement sur un chiffon doux. Frottez delicatement l'écran jusqu'à ce que la poussière, la saleté ou les marques de doigs soient effacées. Ne vaporisez pas d'eau ni de nettoyant pour vitres directement sur l'écran. Ces liquides pourrait atteindre les composants électroniques internes de l'écran et causer des dommages. N'exercez pas de pression excessive lors du nettoyage de l'écran.
Corps étrangers
Évitez que de la poussière et des corps étrangers ne pénètrent dans l'appareil. En cas de renversement accidentel de liquide à l'intérieur du système, éteignez immédiatement l'appareil et consultez un technicien qualifié.
Nettoyage des disques compacts
Avant d'introduire un disque, assurez-vous de sa propre. Au besoin, nettoyez le disque uniquement avec un produit approuve en essuyant du centre vers les bords. Ne nettoyez pas par mouvements circulaires.
Nettoyage du lecteur de DVD
Nettoyez l'extérieur du lecteur de DVD avec un chiffon humide. N'utilise pas de trousse de nettoyage pour disque compact ni de disque compact prévu à cet effet pour nettoyer l'intérieur de votre lecteur de DVD. L'utilisation de ces produits pourrait endommager votre système.
DISPOSITIF D'AIDE À LA NAVIGATION LINCOLN (SELON L'ÉQUIPEMENT)
Il est possible que vous vehicule soit équipé d'un dispositif d'aide à la navigation Lincoln vous permettant d'écouter la radio, de faire jour des disques compacts et de planifier l'itinétaire du vehicule à l'aide d'un DVD d'assistance à la navigation.
Bien que ce dispositif offre une gamme etendue de fonctions, il reste facile a utiliser. Des directives apparaissent sur I'ecran d'affichage et sont accompanies de messages-guides vocaux. L'ecran d'affichage vous fournit, au moyen de menus, de textes et de cartes routieres, tous les renseignements dont vous pouze avoir besoin pour utiliser le dispositif. Pour selectionner parmi les fonctions affichées, il vous suffit de toucher l'option désirée sur I'ecran tactile.

- VOL-PUSH (volume et bouton-poussoir) : appuyez sur ce bouton pourmettre le dispositif en fonction ou hors fonction.Tournez-le pour regler le volume sonore.
- AUDIO (chaine audio) : appuyez sur cette touche pour passer en mode audio et avoir accès aux réglages de la radio, du lecteur de disques compacts, du chargeur de disques compacts et du lecteur de DVD (selon l'équipement).
- MAP (carte): appuyez sur cette touche pour passer en mode carte et afficher la position courante du vehicule sur la carte. Appuyez sur cette touche et maintenez-la enforcée pour obtenir des renseignements supplémentaires sur la position du vehicule.
- DEST (destination): appuyez sur cette touche pour passer en mode d'entrée de destination. Cela vous permet d'enter une destination et d'en définir l'itinétaire. Une fois un itinétaire établi, vous pouvez appuyer sur DEST pour demander un détour, afficher l'itinétaire complet, sélectionner vos préférences d'itinétaire et modifier ou annuler la destination préalablement choisisie.
- MENU : appuyez sur cette touche pour avoir accès aux réglages du dispositif tels que l'affichage, la luminosité, les options de l'horloge, etc.
- CD OPEN CLOSE (ouverture-fermeture du lecteur de disques compacts) : appuyez sur cette touche pour ouvrir ou fermer l'écran d'affichage et avoir accès au lecteur de disques compacts.
Chaines audio
Avertissement concernant les températures froides
Lorsque le système est mis en fonction alors que la température est inférieure à 0 °Celsius (32 °Fahrenheit), l'écran d'affichage requiert une période de rechauffement de 20 à 30 minutes pour atteindre sa luminosité maximale. Assurez-vous que le paramètre de l'écran du système est régé au mode DAY (jour) jusqu'à ce que la luminosité maximale soit atteinte (consultez la rubrique Mode Menu). Une fois la luminosité maximale atteinte, rétabliesse le paramètre de mode d'affichage AUTO (automatique).
Premier affichage en mode carte
Après avoir appuyé sur la mention AGREE (j'accepte) de l'affichage WARNING (mise en garde) du début, vous passez au premier affichage de carte, qui indique la position courante du vehicule. Appuyez sur l'icone en forme de globe pour avoir accès aux paramétres d'utiliser : messages sonores, unités d'aide à la navigation, langue et horloge.

Petit guide rapide — pour commencer
Pour écouter une station de radio :
- Assurez-vous que le commutateur d'allumage du vehicule est en position de marche.
- Appuyez sur AUDIO.
Chaines audio

- Choisissez AM, FM1 ou FM2.
- Appuyez sur TUNE (syntoniser) pour proceder à une syntonisation manuelle vers le haut ou vers le bas sa la bande de fréquences.
- Appuyez sur SEEK (recherche) pour passer à la station audible suivante vers le haut ou vers le bas sa la bande de fréquences.
Remarque: Si PTY (type de programmation) est sélectionné, le besoin de stations est limité. Pour obtenir plus de détails, consultez la rubrique Type de programmation.
Pour faire jouer un disque compact déjà charge dans le lecteur :
- Assurez-vous que le commutateur d'allumage du vehicule est en position de marche.
- Appuyez sur AUDIO.
- Appuyez sur CD pour sélectionner un disque compact déjà charge dans le lecteur. (Le message « NO CD » [pas de disque] s'affiche à l'écran siaucun disque compact n'est charge dans le système.) Utilisez les touches 1 à 6 pour sélectionner le disque compact désire.
- La lecture du disque compact débute.
Pour charger des disques compacts :
- Appuyez sur la touche CD-OPEN CLOSE (disque compact - ouvertur fermetre) au bas de l'écran pour charger un disque compact. (L'écran

- Appuyez sur LOAD (charger) et choisissez le porte-disque désiré. Ou bien, appuyez sur LOAD et maintenez cette touche enforcée pour
Chaines audio
charger automatiquement tous les portes-disques disponibles. La fréquence de clignotement des témoin des portes-disques augmente lorsque le système est pré à receivevoir un disque. Appuyez sur CD OPEN CLOSE pour fermer l'écran. Une fois l'écran fermé, la lecture du disque compact débute.
- Utilisez les touches pour passer à une piste suivante, pour effectuer une recherche, pour interrompree la lecture, etc.
Pour utiliser le dispositif d'aide à la navigation :
- Assurez-vous le contact est établi à l'allumage et que le DVD cartographique est charge dans le lecteur du dispositif d'aide à la navigation.
Consultez la rubrique Chargement du DVD cartographique ou Dispositif d'aide à la navigation — emplacement du DVD de l'index pour connaître l'emplacement du DVD de navigation de votre vehicule.
- Appuyez sur DEST. L'écran de mise en garde apparait. ÀpRES avoir lu le message, appuyez sur AGREE. L'écran présente une carte indiquant votre emplacement courant. Appuyez de nouveau sur DEST.

- Sélectionnez le type d'entrée de destination désiré : Address (adresse), Point of Interest (point d'intérêt), Previous Dest (destination précédente), Special Memory Points (points mémorisés spéciaux), Select from Map (seLECTION depuis la carte), Memory Point (point mémorisé) et Freeway Ent/Exit (entree/sortie d'autoroute). Entrez les renseignements requis.
Chaines audio
-
Appuyez sur ENT. DEST (entre la destination) au bas de l'écran affichant la carte.
-
Choisissez l'itinétaire désire en appuyant sur la touche NEXT (suivant) si celle-ci apparait. Vous pouvez déterminer un maximum de trois itinéaires.
-
Appuyez sur START (débuter) pour lancer le mode d'aide à la navigation.

Pour régler le volume des messages-guides vocaux :
appuyez sur On/Off (marche/arrêt) pour activer ou désactiver la fonction de guidage vocal. Utilisez les touches numériques (1 à 7) pou
regler le volume des messages-guides vocaux.

Commandes vocales (selon l'equipement)
Le système de navigation de votre Lincoln peut-disposer de commandes vocalespermettantdidercertainesoptionsau systeme.Danscecas, vousdevezparlerelplusclairementpossible pourqueledispositifpuisse répondre àvoscommandes.Assurez-vous quelescommandes sont enoncéesenanglaiset non dansuneautorelangue.
La fonction de commandes vocales n'est pas disponible s'il n'y a pas de DVD cartographique chargé dans le dispositif d'aide à la navigation.
Pour changer de mode, vous pouvez adresser ces commandes vocales au dispositif en tout temps :
Radio
Audio on (activier la sortie audio)
AM
Audio off (déspectiver la sortie audio)
FM1
- Power off (mettre le dispositif hors fonction)
FM2
- CD Changer (chargeur de disques compacts) (selon I'equipement)
Chaines audio
- CD (lecteur de disques compacts)
DVD (lecteur de DVD) (selon I'equipement)
- Power on (mettre le dispositif en fonction)
Dans le cours du fonctionnement normal de la radio, vous pouvez dire :
-
Seek up (recherche vers l'avant)
-
Seek down (recherche vers l'arrière)
Vou puez adresser les commandes suivantes lorsque vous utilisez un lecteur de DVD équipé d'une fonction destinée aux sièges arrêté ( selon l'équipement):
- Track up (piste suivante) - Track down (piste precedente)
- Previous track (piste precedente)
- Disc up (disque suivant)
- Disc down (disque précédent) - Next disc (disque suivant)
- Previous disc (disque précédent)
Pendant l'utilisation d'un chargeur de disques compacts ou d'un lecteur de disques compact monté dans la planche de bord, vous pouvez dire :
- Track up (piste suivante) - Track down (piste precedente)
- Previous track (piste precedente)
- Disc up (disque suivant)
- Next disc (disque suivant) - Disc down (disque précédent)
- Previous disc (disque précédent)
Pour modifier l'affichage de l'écran, vous pouvez énoncer les commandes suivantes :
-
Screen off (eteindre l'écran)
-
Screen day mode (écran en mode de jour)
Day mode on (activer le mode de jour)
- Screen night mode (écran en mode de nuit)
Night mode on (activier le mode de nuit)
-
Screen auto mode (écran en mode automatique)
-
Auto mode on (activer le mode automatique)
Chaines audio
Les commandes suivantes permettent de parcourir les écrans :
- Current position (position actuelle)
- Current location (emplacement actuel)
Map (carte)
En mode de navigation « affichage de carte », vous pouvez utiliser les commandes vocales suivantes :
- Zoom in (zoom avant) - Zoom out (zoom arrêté)
Minimum scale (echelle minimum)
Maximum scale (echelle maximum)
-
North up (direction nord dans le haut de l'écran)
-
Change North up (modifier la position de la direction nord)
-
Heading up (direction du vehicule dans le haut de l'écran)
-
Change heading up (modifier la position de la direction du vehicule)
-
Map direction (direction de la carte)
-
Change map direction (modifier la direction de la carte)
-
Mark this point (marquer ce point)
Mark (marquer)
En mode de navigation « points d'intérêt», vous pouvez utiliser les commandes vocales suivantes:
Automobile club (club automobile)
-
AAA (Triple A)
-
Auto service & maintenance (service-auto et entretien)
-
Auto service (service-auto)
-
Parking garage (garage de stationnement)
-
Parking lot (parc de stationnement)
ATM (guichet automatique) Bank (banque)
-
City hall (hôtel de ville) - Civic center (centre municipal)
-
Community center (centre d'activités communautaires)
Convention center (centre des congrès)
-
Exhibition center (centre d'exposition)
-
Court house (palais de justice)
Chaines audio
Higher education (enseignement supérieur) University (université)
- College (college) - Hospital (hospital)
- Library (bibliothèque) - Police station (poste de police)
School (ecole) Amusement park (parc d'attractions)
- Casino - Golf course (terrain de golf)
- Marina - Museum (musee)
- Park & recreation (parc et activités récreatives)
- Performing arts (spectacles) - Ski resort (center de ski)
- Skiing (ski)
Stadium (stade)
- Winery (établissement vinicole) - Restaurant
I'm hungry (j'ai faim)
American food (cuisine américaine)
- Chinese food (cuisine chinoise)
- Continental food (cuisine, continentale)
- French food (cuisine française)
Italian food (cuisine italienne)
- Japanese food (cuisine japonaise)
Mexican food (cuisine mexicaine)
Seafood (fruits de mer)
Chaines audio
- Other food (autres types de cuisine)
- Shopping mall (centre commercial)
- Airport (aéroport) - Bus station (terminus d'autobus)
Ferry terminal (traversier)
Hotel (hotel) - Rental car agency (agency de- location de voitures)
- Rest stop (restoroute)
- Train station (gare)
- City Center (centre-ville)
- Commuter rail station (station de trains de banlieue)
En mode de navigation « destination (DEST)», vous pouvez utiliser les commandes vocales suivantes:
Home (point d'arrivée)
- Previous starting point (point de départ précédent)
- Next way point map (carte du prochain point)
Second way point (deuxieme point)
Fourth way point (quatrième point)
- Destination map (carte de destination)
- Go home (aller au point d'arrivée)
- Go starting point (aller au point de départ)
- First way point map (carte du premier point)
Third way point (troisieme point) - Fifth way point (cinquième point)
- Delete destination (supprimer la destination)
Chaines audio
En mode de navigation « guidage », vous pouvez utiliser les commandes vocales suivantes :
-
Repeat guidance (répéter le guidage)
-
Repeat voice (répéter le guidage vocal)
-
Louder (plus fort) - Softer (moins fort)
Voice guidance off (désactiver le guidage vocal)
-
Open guidance screen (ouvrin l'écran de guidage)
-
Close guidance screen (fermer l'écran de guidage)
-
Arrow guidance (guidage par flèches)
-
Arrow guide (guidage par flèches)
-
Change to arrow guidance (passer au guidage par flèches)
-
Change to arrow guide (passer au guidage par flèches)
-
Turn list guidance (guidage par liste des changements de direction)
-
Turn list guide (guidage par liste des changements de direction)
-
Change to turn list guidance (passer au guidage par liste des changements de direction)
-
Change to turn list guide (passer au guidage par liste des changements de direction)
-
Entire route map (carte de l'itinérale complet)
-
Entire route (itinéraire complet)
-
Route overview (aperçu de l'itinérale)
-
Reroute (refaire l'itinétaire)
-
Detour (detour)
-
Detour entire route (détour de l'itinétaire complet)
Les commandes d'aide à la navigation suivantes peuvent être adressées en tout temps :
-
Help (aide) - Map (carte)
-
Destination - Guidance (guidage)
Radio · Disc (disque)
Map help (aide relative à la carte)
- Destination help (aide relative à la destination)
Chaines audio
-
Radio help (aide relative à la radio)
-
Disc help (aide relative au disque)
Mode audio

Votre système d'aide à la navigation Lincoln vous offre de nombreuses fonctions, dont une gamme complète de fonctions audio. Pour avoir accès à ces fonctions, appuyez sur la touche AUDIO dans l'encadrement principal. Cela vous fait passer en mode audio.
Touche marche/arrêt et commande du volume sonore
Appuyez sur ce bouton pour allumer ou eteindre la chaine audio.Tournez le bouton pour augmenter ou diminuer le volume. Les niveaux de volume s'affichent a I'ecran.

Pour passer en mode d'aide à la navigation, appuyez sur MAP ou sur DEST.
Pour régler le volume sonore des messages-guides de navigation, selectionner la touche NAV MENU (menu de navigation) à partir de l'écran affichant la carte.
Compensation du volume en fonction de la vitesse (SCV)
Cette fonction permet la variation automatique et progressive du volume de la radio pour compenser les bruits extérieurs générés par la route et
Chaines audio
le vent lorsque le vehicule accelere ou roule à grande vitesse. Pour activer la fonction de compensation du volume :

- Appuyez sur AUDIO.
- Appuyez sur SOUND (son).
| SEEK | TUNE | ||
| SCAN | PRESET SCAN | AUTO SET | |
| RDS | TRAFFIC | INFO TY | SET PTY |
| 87.9 | 89.9 | 98.1 | 98.5 06.3 10.7 9 |
- SCV (compensation du volume) est situé au milieu de l'écran. Appuyez sur cette touche pour activer la fonction.
- Sélectionnéz l'une des positions de réglage (1 à 7) ou la mise hors fonction.

Le niveau de compensation du volume recommendé se situe entre 1 et 3. Lorsque la compensation est activée, le niveau 1 constitue le paramètre le plus bas et le niveau 7 constitue le paramètre le plus élevé.
Choix de bande AM/FM
La touche AM/FM fonctionne en mode radio, en mode lecteur de disques compacts et en mode navigation.
Touche AM/FM en mode radio
Appuyez sur la touche AM/FM1/FM2 pour désir entre les stations préseLECTIONnées sur les bandes AM, FM1 ou FM2.
Touche AM/FM en mode lecteur de disques compacts
Appuyez sur cette touche pour arrêté la lecture d'un disque compact etCOMMencer l'écoute de la radio.
Touche AM/FM en mode navigation
La radio peut continuer à jourer pendant l'affichage des écrans de navigation. Pour y avoir accès, appuyez sur AUDIO puis sur AM/FM/FM2.
Fonctions de réglage du son
Pour avoir accès aux fonctions de réglage des graves, des aigus, de l'équilibrage gauche-droite, de l'équilibrage avant-arrête, du traitement numérique du signal (DSP), de la compensation du volume en fonction de la vitesse (SCV) et des modes d'occupation des sièges du vehicule :

- Appuyez sur AUDIO.
- Appuyez sur SOUND (son).
- Choisissez l'une de ces fonctions : BASS/TREBLE, BAL/FADE et DSP/SCV.
- Appuyez sur + / - pour augmenter ou diminuer les niveaux.
Chaines audio
Touche BASS (graves) : vous permet d'augmenter ou de diminuer les tonalités graves de votre chaine audio.
Touche TREBLE (aigus): vous permet d'augmenter ou de diminuer les tonalités aiguées de votre chaine audio.

Touche FADE (équilibrage avant-àrrière) : vous permet de répartir le son entre les haut-parleurs avant et arrière.
Touche BALANCE (équilibrage gauche-droite): vous permet de répartir le son entre les haut-parleurs gauche et droit.

Touche SCV (volume asservi à la vitesse) : Le volume de la radio varie automatiquement pour compenser les bruits généres par la route et le vent. Consultez la section Compensation du volume en fonction de la vitesse dans les pages precedentes de ce chapitre.

Touche DSP (traitement numérique du signal, mode de distribution du son): utilisez cette fonction pour optimier le son en fonction des occupants du vehicule. Choisissez entre ALL SEATS (tous les sièges), REAR SEATS (sièges arrêté) et DRIVER SEAT (siège du conducteur).
Si vous vécuicide est équipé de commandes à l'arrière, les mentions DISABLE HEADPHONES (déactiver les casques d'écoute) et DISABLE REAR CONTROLS (déactiver les commandes à l'arrière) apparaissent à titre d'options au bas de l'écran. Ces options vous permettent de déactiver les casques d'écoute et les commandes à l'arrière. Appuyez sur le bouton approprié pour déactiver les casques d'écoute ou les
commandes à l'arrière. Le bouton est mis en surbrillance lorsque la fonction est désactivée. Un bouton qui n'est pas mis en surbrillance indique que la fonction est activée (les casques d'écoute et les commandes à l'arrière fonctionnent et peuvent être contrôlés par les passagers arrière).
Programmation des stations
Votre radio est dotée de six touches de programmation des stations. Ces touches vous permettent demettre en mémoire jusqu'à six stations AM et douze stations FM (six sur la bande FM1 et six sur la bande FM2).
- Choisissez la bande de fréquences désirée à l'aide de la touche AM/FM1/FM2.
- Choisissez une station.
- Appuyez sur une touche de programmation et maintenez-la enforcée jusqu'à ce que le son revienne. La fréquence apparait sur la touche de programmation.
SEEK (touche de recherche automatique) :
Appuyez sur pour passer à la station audible suivante vers la droite ou ve. gauche de la bande de fréquences.
Appuyez sur ou pour passer à la piste suivante ou précédente d'un disque compact.
Recherche manuelle
Appuyez sur TUNE pour faire parcourir manuellement la bande de fréquences vers la gauche ou vers la droite (▲▶).
En mode lecteur de disques compacts, appuyez sur TRACK (piste) pour selectionner la piste precedente ou la piste suivant () .


Chaines audio
Programmation provisoire automatique
Cette fonction permet de garder en mémoire les stations locales les plus puissantes, sans pour autant effacer les stations programmesées manuellement. Cette fonction est particulièrement utile pour tracer rapidement les stations locales lorsque vous voyagez d'une ville à l'autre.
Utilisation de la programmation provisoire automatique
- Sélectionnez une bande de fréquences à l'aide de AM/FM1/FM2.

- Appuyez sur AUTO SET (programmation automatique).
- Une fois les six premières stations les plus puissantes programmes, la station correspondant à la touche 1 est synthonisee.

S'il y a moins de six stations suffisamment puissantes pour etre captees, les touches non utilisées sont toutes programmées avec la derniere station decelée dans cette bande de fréquences.
Pour désactiver le mode de programmation automatique et revenir aux stations programmées manuellement avec les touches de mise en mémoire, il suffit d'appuyer de nouveau sur AUTO SET.
Touché de balayage automatique
Appuyez sur la touche SCAN pour entendre un court échantillon de toutes les stations captées ou de toutes les pistes du disque compact. Appuyez de nouveau sur cette touche pour interrompre le balayage et demeurer à la sélection en cours d'écoute.

Chaines audio
Balayage des stations programmes
Appuyez sur la touche PRESET SCAN (balayage des stations programmes) pour effectuer un balayage des stations programmes.

Système RDS
Cette fonction permet à votre chaine audio de receivevoir de l'information sous forme de texte, tel que l'indicatif de fréquence, le type de programmation, etc., par le biais des stations de radio FM possédant la fonctionnalité RDS. Appuyez sur la touche RDS lorsque vous étes en mode FM pour activer ou désactiver la fonction.

Fonction bulletins de circulation
Appuyez sur TRAFFIC (circulation) pour selectionner les bulletins de circulation routiere diffusés par certaines stations; cette option interrupt automatique l'émission radio ou la lecture du disque compact, et les bulletins de circulation sont diffusés à un niveau de volume prédéterminé.

Les bulletins de circulation routière ne sont pas disponibles dans la plupart des régions des États-Unis.
Chaines audio
Fonction informations
Appuyez sur INFO pour afficher la fréquence, l'indicatif et la catégorie de programmation de la station FM selectionnée.
| SEEK | TUNE | ||
| SCAN | PRESET SCAN | AUTO SET | |
| RDS | TRAFFIC | INFO TY | SET PTY |
| 87.9 | 89.9 | 98.1 | 96.5 06.3 10.7 9 |
Type de programmation (PTY)
Cette fonction vous permet de rechercher les stations RDS selon leur type de programmation.
Assurez-vous que la fonction RDS est activée. Appuyez sur la touche PTY (type de programmation) pour activer ou désactiver cette fonction.
| SEEK | TUNE | ||
| SCAN | PRESET SCAN | AUTO SET | |
| RDS | TRAFFIC | INFO | PTY |
| 87.9 | 89.9 | 98.1 | 98.5 |
| 106.3 | 107.9 | ||
Pour configurer ou modifier le type de programmation :
Assurez-vous que la fonction RDS est activée. Appuyez sur SET PTY (configurer la programmation) pour selectionner l'un des types d'émissions suivants :
| SEEK | TUNE | ||
| SCAN | PRESET SCAN | AUTO SET | |
| RDS | TRAFFIC | INFO | TY |
| SET PTY | |||
| 87.9 | 89.9 | 98.1 | 96.5 06.3 10.7 9 |
tous
- musique classique
- musique country
nouvelles
- jazz
- religieux
- rock
detente
palmarès
Chaines audio
Une fois la programmation effectuee, appuyez sur SEEK ( ou u SCAN pour lancer une recherche vers la droite ou vers la gauche de la bande de fréquences. Les fonctions PRESET SCAN (balayage des stations programmes) et AUTO SET (programmation automatique) peuvent également lancer une recherche par type de
programmation. La recherche cesse lorsque le type de programmation désiré a été atteint. Si le système ne trouve aucune émission du type choisi, un message s'affiche à l'écran.

Fonction de réception satellitaire (selon l'équipement)
La chaine audio de votre vehicule Lincoln peut etre equipee de la fonction de reception satellitaire. La trousse permettant d'activer la reception satellitaire est disponible aupres de suaure concessionnaire Lincoln. Cette trousse, installee par le concessionnaire, comprend egalement des directives detaillees sur la reception satellite.

Mode lecteur de disques compacts
Les lecteurs de disques compacts sont conçus pour faire la lecture des disques compacts audio commerciaux de 12 cm (4,75 po) seulement. En raison d'incompatibilités techniques, certains disques compacts enregistrables et réenregistrables peuvent ne pas fonctionner correctement lorsqu'ils sont insérés dans les lecteurs de disques compacts Ford. Les disques compacts de forme irrégulière, les disques compacts recouverts d'un film contre les égratignures et les disques compacts avec étiquettes en papier ne doivent pas être insérés dans le lecteur de disques compacts. L'étiquette pourrait se décoller et coincer le disque compact dans le lecteur. Il est recommendé d'identifier les disques compacts faits maison avec un feuatre indéléblie au lieu d'une étiquette. Les stylos à bille peuvent endommager les
Chaines audio
disques compacts. Consultez votre concessionnaire pour obtenir de plus amples renseignements à ce sujet.
Pour faire jouer un disque compact déjà charge dans le lecteur :
pour démarrer la lecture d'un disque compact (avec un disque inséré), appuyez sur la touche non programmable AUDIO puis sur la touche CD.

Appuyez sur CD. La lecture reprendra à l'endetroit où elle avait été interrompue.
Pour charger un disque compact :

- Appuyez sur CD OPEN CLOSE (ouverture-fermeture du lecteur de disques compact) sur l'encadrement.


- L'écran de navigation pivote vers le bas, vous donnant accès au chargeur de disques compacts, intégré au tableau de bord et pouvant conténir six disques.
Chaines audio
- Appuyez sur LOAD (charger) et sur le numero de porte-disque désiré. Le témoin clignote lentement au début et plus rapidement par la suite pour vous indiquer que le système est prét.
- Insérer un disque.
- Pour charger plusieurs disques, appuyez sur la touche LOAD et maintenez-la enfonnée. Cela a pour effet de lancer le mode de chargement automatique pour vous permettre d'insérer un disque dans tous les portes-disques ouverts.
Après une certaine période, l'écran se ferme automatique. Vous pouvez également appuyer de nouveau sur la touche CD OPEN CLOSE dans l'encadrement.
- Une fois l'écran fermé, la lecture du dernier disque compact chargede boute.
Piste
Appuyez sur la touche
pour passer à la piste precedente/suivante.


Retour en arrêt et avance rapide en mode lecteur de disques compacts
Appuyez sur cette touche pour effectuer un retour en arrêté ou une avance rapiè ( « / » dans la piste du disque compact en cours de lecture.

Chaines audio
Fonction de recherche en mode lecture de disques compacts
Appuyez sur la touche SCAN pour entendre un court échantillon de chacune des pistes du disque compact. Appuyez de nouveau sur cette touche pour interrompre le balayage et demeurer à la piste en cours d'écoute.

Lecture aléatoire en mode lecteur de disques compacts
En mode lecteur de disque compact (ou chargeur de disques compacts), appuyez sur SHUFFLE (lecture aléatoire) pour activer la fonction de lecture aléatoire. Sélectionnez la lecture aléatoire des pistes du disque compact en cours d'écoute (SHUFFLE TRACK) ou la lecture

aléatoire des pistes de tous les disques compacts (SHUFFLE DISK). Toutes les pistes sont lues dans un ordre aléatoire. Appuyez de nouveau pour désactiver la fonction.
Fonction de compression
La fonction de compression s'utilise en mode de lecture de disque compact pour diminuer I'ecart de volume entre les passages doux et les passages forts, de façon a réduire au minimum la nécessité d'ajuster le niveau sonore.

En mode lecteur ou chargeur de disques compacts, appuyez sur COMPRESS (compression) pour activer ou désactiver la fonction de compression.
Chaines audio
Pause
En mode lecteur de disque compact, appuyez sur PAUSE pour cesser momentanément la lecture de la piste en cours. Appuyez de nouveau pour reprendre la lecture.

Mode affichage de carte
Information relative à l'affichage de la carte

Pour avoir accès à l'affichage de carte, appuyez sur MAP (carte) dans l'encadrement.
La carte qui s'affiche alors à l'écran montre l'emplacement courant du vehicule.

Chaines audio
Commande de zoom
Lorsque vous appuyez sur la commande « Zoom», l'indicateur d'échelle apparait à l'écran. Les échelles disponibles sont : 1/32, 1/16, 1/4, 1/8, 1/2, 1, 2, 4, 8, 16, 32, 64 et 128 milles. Vous pouvez utiliser la commande de plusieurs manières :
- maintenez l'une des touches fléchéées enforcée pour faire en sorte que la carte s'affiche successivement à chaque niveau de zoom;
- appuyez sur l'une des touches fléchées de manière répétée pour faire en sorte que la carte s'affiche au zoom final;
- appuyez sur l'un des segments de l'indicateur d'échelle pour que la carte s'affiche à l'écran selon l'ordre de grandeur de zoom sélectionné.
Autres boutons de fonction de la carte routière
Pour afficher les autres boutons de fonction de la carte routière, touche la carte en un point quelconque de l'écran. Les boutons suivants apparaisent :

- STORE (enregistrement) - enregistrre la position courante du vehicule en tant que point méorisé. Pour obtenir plus de détails, consultez la rubrique Points méorisés.
- POI (points d'intérêt) - affiche un menu rapide des points d'intérêt qui propose deux fonctions à l'utilisateur : affichage de pictogrammes de points d'intérêt sur la carte pour une des catégories;
sLECTION des points d'intérêt sur la carte locale comme destination ou points de visite. La liste des points d'intérêt locaux peut être classée par distance, nom ou pictogramme. Pour obtenir plus de détails, consultez la rubrique Points d'intérêt.
- NEXT (suivant) - appuyez sur cette touche pour consulter la liste des points d'intérêt demandés et l'affichage de ceux-ci sur la carte.
- INFO - appuyez sur cette touche pour obtenir l'adresse et le numéro de téléphone d'un point d'intérêt sélectionné.
Chaines audio
Lorsque le domicile a eté préalablement programme dans le « Nav Menu », le pictogramme du domicile apparait à l'écran et peut être sélectionné en tant que destination.
Pour effacer des pictogrammes de points d'intérêt de la carte, touche la carte de nouveau et appuyez sur la touche de suppression des points d'intérêt.
Pictogrammes apparaisant à l'écran
Pictogramme de navigation — indique la position actuelle du vehicule et la direction dans laquelle il se déplace.

Pictogramme de destination — indique la destination courante.

Pictogramme de prochain virage -indique la prochaine manqueevre qui devra etre executee dans le cadre del'itinereaire courant.

Bouton de nord — indique que la carte est affichée avec la direction nord au haut de l'écran. Appuyez sur cette touche pour basculer entre les affichages de carte « Nord en haut » et « Direction nord »,

Bouton de direction du vehicule
indique que la carte est affichee avec le vehicule se deplacant vers le haut de I'ecran. La position du pointeur indique le nord sur la

carte. Appuyez sur cette touche pour basculer entre les affichages de carte « Nord en haut » et « Direction nord »
Pictogramme d'evitement de certains secteurs ou points—le
pictogramme de gauche indique un secteur a eviter dans le calcul de

I'itinéraire. Le pictogramme de droite indique un point à éviter.
Chaines audio
Si le point à éviter est agrandi dans une zone d'évitement, il s'affiche à l'écran dans une case ombrée.

Pictogramme de point — indique l'emplacement d'un point (emplacement que vous désirez visitor au cours de l'itinéraire vers la destination finale) sur la carte.

Pictogramme de point d'arrivée — indique l'emplacement sur la carte considéré comme étant le point d'arrivée.

Pictogramme d'emplacement
méorisé — indique l'emplacement
d'un point méorisé. C'est le

pictogramme par défaut que le dispositif utilise lorsqu'un point est mémorisé. (Si vous le désirez, vous pouvez en sélectionner un autre parmi les 15 pictogrammes qui vous sont offerts.) Consultez Sélection depuis la liste de pictogrammes.
Pictogramme GPS — indique que les signaux satellite reçus sont insuffisants pour que le dispositif puisse effectuer un positionnement précis du vehicule sur la carte. Ce p le dispositif fonctionne normalemen

Pictogramme de haut-parleur appuyez sur cette touche pour activer ou désactiver les messages-guides vocaux.

Menu Navigation
Pour avoir accès au menu de navigation, appuyez sur NAV MENU au bas de l'affichage d'écran.

Chaines audio
Une fois la touche enforcée, le menu de navigation apparait et vous presente les options suivantes :
- Route Options/Preferences (options/preférences d'itinéraire)
- Navigation Set Up (configuration de la navigation)
- Options d'affichage
- Stored Locations (emplacements mémorisés)
- On Route Scroll (défilament sur itinéraire)
Voice Guidance/Volume (messages-guides vocaux/volume)
Le fait qu'un itinétaire soit ou non actif permettra de déterminer si les options/preférences de l'itinétaire sont incluses dans le menu de navigation.
Options d'itinéraire (destination enregistrée)
Lorsque le mode de navigation est actif ainsi qu'un itinétaire, appuyez sur « Chng. route » (changer d'itinétaire) pour acceder à l'écran ROUTE OPTIONS (options d'itinétaire). Choisissez parmi les sélections suivantes :
- Detour (detour) : appuyez sur cette touche pour selectionner un detour associé à l'itinétaire courant. Consultez la rubrique
Options de détour plus loin dans ce chapitre pour obtenir plus d'information. - Route Preferences (préférences d'itinéraire) : lors de la création d'une destination, faites vous librechois parmi les options suivantes : Minimize Time/Distance (minimiser la durée du trajet/distance), Use Major Roads (utiliser les routes principales), Use Toll Roads (utiliser les routes à péages), Use Ferries (utiliser les traversiers).
- Display Whole Route (afficher tout l'itinétaire) : l'écran passes en mode carte et affiche l'itinétaire complet que vous avez choisi.
Remarque: En l'absence de destination, les préférences d'itinéraire s'affichent au menu de navigation.


Chaines audio
Tout en conduisant avec l'assistance du dispositif d'aide à la navigation, suivez les instructions seulement après vous est assure qu'il est sécurité de vous y conformer, car le dispositif n'est pas en mesure de tener compte des conditions changeantes. Utilisez les messages-guides vocaux le plus possible et ne jetez un coup d'eil à l'affichage que lorsque les conditions routières s'y seront.
Assurez-vous de respecter toutes les restrictions du Code de la route et ne prenez aucun risque. Par exemple, si vous ne pouvez pas faire demi-tour, poursuivez votre route. Le trajet que vous devrez effectuer pour vous rendre à une route qui vous mène vers toute destination sera recalculé par le dispositif d'aide à la navigation.
Preférences d'itinétaire
Une fois la destination entree, les options d'itinéaire apparaisent à l'écran montrant ce qui est couramment sélectionné. Vous pouvez désirir d'activer ou de désactiver des options dont le dispositif tiendra compte dans le calcul de votre itinéaire. Ces options sont :

- Minimize Time/Distance (minimiser la durée du trajet/distance)
- Use Major Roads (utiliser les routes principales)
- Use Toll Roads (utiliser les routes à péages)
- Use Ferries (utiliser les traversiers)

Chaines audio
Configuration de la navigation
L'écran NAVIGATION SET UP vous permet de modifier les affichages de navigation.

Average speed (réglage de vitesse moyenne)
Permet de déterminer les vitesses approximatives du vehicule. Trois vitesses différentes sont utilisées par le dispositif d'aide à la navigation afin de calculer l'itinéraire.

Quick POI (menu rapide des points d'intérêt)
Permet de changer les paramètres du menu des points d'intérêt rapides. Sélectionnez le point d'intérêt rapide désiré (essence, guichet automatique, etc.), puis appuyez sur « List Categories » (liste des catégories) pour afficher des catégories additionnelles ou sur « Map Area POIs » (points d'intérêt de la carte) pour afficher les points d'intérêt désirsés sur la carte actuelle.

Chaines audio
System defaults (rétablissement des paramétres par défaut)
Rétablit automatiquement les paramètres par défaut de toutes les options de l'utilisateur (par exemple, guidage d'itinéraire, guidage vocal, zones de recherche et préférences d'itinéraire).

Calibration (étalonnage)
Cette option est utile si le vehicule a ete remorqué ou si sa position est incorrecte sur la carte.
Appuyez sur « Position » pour repositionner l'emplacement du vehicule. Touchez I'ecran pour faire defiler la carte jusqu'à
I'emplacement voulu et appuyez sur OK pour confirmer.
Appuyez sur « Distance » pour étabonnner par la distance et améliorer la précision de navigation. Il est conseilé d'activer cette fonction chaque fois que vous remplacez les pneus. Lorsque le bouton est en surbrillance, le processus d'étabonnage est en cours et s'arrête automatiquement une fois terminé.

Map version (version du DVD cartographique)
Affiche la version du DVD cartographique utilisé. Pour obtenir plus de détails, consultez la rubrique Commande de DVD de cartes routières supplémentaires.

Chaines audio
Options d'affichage
L'écran DISPLAY OPTIONS you permit de modifier l'affichage de l'écran de navigation. Vous pouvez désir parmi les modes suivants :
Map Mode (Dual ou Full) (mode carte - double ou complet)
Guidance Mode (Arrows ou Turn list) (mode de guidage - flèches ou liste des changements de direction)
Guidance Display (On ou Off) (affichage du guidage - en fonction/hors fonction)
Time to destination (Show ou Hide) (temps restant avant l'arrivée à destination - afficher ou cacher)


Emplacements méorises
L'écran STORED LOCATIONS vous permet de sélectionner des destinations préalablement sauvégardées dans le dispositif d'aide à la navigation.

Chaines audio
Dans cet écran, vous pouvez
selectionner les options Memory
Points (points méorises),Special
Memory Points (points méorises
speciaux),Home (point d'arrivée),
Avoid Area (secteur a éviter)
Destination et Way Point (point de
cheminement), ou Previous
Destination (destination
précedente). Pour obtenir une
description détaillée de toutes les fonctions, consultez la rubrique Menu destination.

On Route Scrooll (défilément sur itinétaire)
Le dispositif fait automatiquement défilier tout le trajet de l'itinéraire planifié,autant vers l'avant ou vers l'arrière. Pour activer cette fonction, appuyez sur les touches fléchées situées dans le coin inférieur gauche de l'affichage de carte.

Messages-guides vocaux/volume
Vous permet d'activer ou de désactiver la fonction de messages-guides vocaux (Voice Guidance) et d'en régler le volume sonore.

Menu destination

Appuyez sur DEST (destination) dans l'encadrement principal pour avoir accès au mode de navigation.
Premier affichage en mode carte
Après avoir appuyé sur la mention AGREE (j'accepte) de l'affichage WARNING (mise en garde) du début, vous passez au premier affichage de carte, qui indique la position courante du vehicule. Appuyez sur l'icone en forme de globe pour avoir accès aux paramétres d'utilisateur : messages sonores, unités d'aide à la navigation, langue et horloge.

Remarque : Il peut se produit un court délié de réponse entre les fonctions de touches tactiles et les fonctions de touches « dures »
Chaines audio
Options d'itinéraire
Une fois que le mode de navigation est activé et qu'un itinéraire a été choisi, l'écran ROUTE OPTIONS (options d'itinéraire) apparait et vous permet de selectionner les options suivantes :

- Detour (détour) — Appuyez sur cette touche pour sélectionner un détour associé à l'itinéraire courant.
- Route Preferences (préférences d'itinéraire) — Lors de la création d'une destination,CHOISSEZ les options suivantes s'il y a lieu : Minimize Time/Distance (minimiser la durée du trajet/distance), Use Major Roads (utiliser les routes principales), Use Toll Roads (utiliser les routes à péages), Use Ferries (utiliser les traversiers).
- Display Whole Route (afficher tout l'itinétaire) — l'écran passer en mode carte et affiche l'itinétaire complèt que vous avez choisi.
- Destination Entry (entree de la destination) — Vous permet d'entrer une nouvelle destination ou de selectionner d'autres entrees selon les criteres suivants: Address book (carnet d'adresse), Points of Interest (points d'intérêt), Previous Destinations (destinations precedentes) et Intersections.
Tout en conduisant avec l'assistance du dispositif d'aide à la navigation, suivez les instructions seulement après vous est assure qu'il est sécurité de vous y conformer car le dispositif n'est pas en mesure de tener compte des conditions changeantes. Utilisez les messages-guides vocaux le plus possible et ne jetez un coup d'oeil à l'affichage que lorsque les conditions routières s'y seront.
Assurez-vous de respecter toutes les restrictions du Code de la route et ne prenez aucun risque. Par exemple, si vous ne pouvez pas faire demi-tour, poursuivez votre route. Le trajet que vous devrez effectuer pour vous rendre à une route qui vous mene vers notre destination sera recalculé par le dispositif d'aide à la navigation.
Entree de la destination (ecran DESTINATION ENTRY)
Selection d'une destination
Appuyez sur la touche DEST pour configurer une destination. Vous pouvez désir les options suivantes dans ce menu :
- Address (adresse) - utilisez cette option pour sélectionner une destination à partir d'une rue, d'une adresse ou d'une intersection connue.

- Point of interest (point d'intérêt) - utilisez cette option pour sélectionner une destination qui correspond à un point d'intérêt particulier (p. ex., aéroport, restaurant, hôpital).
- Select from map (seLECTION depuis la carte) — utilisez cette option pour selectionner un emplacement sur la carte.
- Previous destination (destination précédente) — utilisez cette option pour sélectionner une destination à partir d'une liste des 20 dernières destinations enregistrées.
Appuyez sur Next Page (page suivante) pour acceder aux sélections supplémentaires suivantes :
- Memory point (point mémorisé) — utilisez cette option pour sélectionner une destination depuis un point mémorisé.

- Freeway exit/entrance (entree/sortie d'autoroute) — utilisez cette fonction pour selectionner une entree ou une sortie d'autoroute particuliere.
- Special Memory Points (points mémorisés spéciaux) — utilisez cette option pour sélectionner une destination à partir des entrées enregistrées antérieurement.
Chaines audio
Zone régionale de recherche
Les zones de carte couvertes par voiture DVD cartographique sont indiquees dans la zone regionale de recherche qui s'affiche dans l'ecran Destination entry (entree de la destination).Votre dispositif d'aide a la navigation fait appel a un systeme de recherche regional. Cette zone

constitue la région en fonction de laquelle le dispositif de navigation établit les itinéraires. Pour vérifier votre région ou réinitialiser le dispositif, appuyez sur CHANGE (modifier) sous la liste des zones de recherche régionales. La carte s'ouvre et vous permet de selectionner une autre zone régionale. Assurez-vous que vous étés bien dans la bonne zone de recherche avant de configurer votre destination.
Points d'intérêt (PDI)
Choisissez « Point of Interest » (point d'intérêt) du menu Destination Entry. Les options suivantes sont disponibles dans ce menu :

- Par nom — entrez le nom du point d'intérêt sur le clavier. Appuyez sur « List » pour afficher la liste des points d'intérêt correspondants. S'il y a trop d' éléments correspondants
qui apparaisent, essayez d'entre le nom de la ville en premier.
- Par catégorie — appuyez sur « Category ». Faites défilier la liste pour sélectionner la catégorie, puis la sous-catégorieie désirée. Une fois la catégorie sélectionnée, la recherche du point d'intérêt se limite à cette catégorie.
Chaines audio
Appuyez sur « Previous Destination » (destination precedente) sur le menu Destination Entry.
- Sélectionnez l'objet désiré depuis la liste des destinations définies antérieurement (en appuyant dessus). Les détails sur l'objet s'afficht.
- Confirmez les détails de la destination.

Suppression d'une destination antérieure.
- Appuyez sur « Delete » (supprimer). La liste des destinations antérieures apparaît avec « Delete Previous Destination » (supprimer destination antérieure) apparaisant au haut de l'écran.
- Sélectionnez l'entrée à supprimer (en appuyant dessus). Les détails sur l'objet s'affichent.
- Appuyez sur YES (oui) pour confirmer la suppression.
- Appuyez sur DELETE ALL (effacer tout) pour supprimer toutes les destinations antérieures.

Point méorisé
Votre disposifit d'aide à la navigation
vous permet d'enregister des
destinations speciales que vous
désirez visiter de nouveau.
Selectionnez «Memory Point »
(point méorisé) depuis le menu
Destination Entry.

Chaines audio
- Sélectionnez l'élement désire depuis la liste des points méorisés enregistrés.
- Confirmez les détails de la destination.

Remarque : Vous pouvez trier la liste par date, par nom ou par pictogramme en appuyant sur la touche appropriée.
Ajout d'un point méorisé
- Une fois dans le menu STORE MEMORY POINT (enregistrer un point méorisé), appuyez sur ADD (ajouter).
- Sélectionnez l'objet de menu désiré (en appuyant dessus).
- Entrez ou selectionnez tous les détails requis. Le nouveau point est ajoute à la liste de points mémorisés.
Pour attribuer un nom au nouveau point méorisé :
- sélectionnez-le depuis la liste;
- appuyez sur NAME (nom);
- entrez le nom désiré.
Pour avoir accès aux listes de points méorisés
- Appuyez sur LIST (liste).

- Sélectionnez l'entrée désirée pour afficher les détails concernant son emplacement.

Chaines audio
Tri des listes de points méorisés
- Accedez à la liste désirée.
- Appuyez sur la touche correspondant au type de tri que vous pouze effectuer (par exemple : par date, par nom ou par pictogramme).
Lorsque you effectuez un tri en fonction de la distance, les points sont ordonnés par distance à partir

de l'emplacement courant du vehicule. Lorsque vous effectuez un tri par pictogramme, les pictogrammes apparaissent dans l'ordre établi sur l'écran de sélection des pictogrammes.
Selection d'un pictogramme depuis la liste de pictogrammes
Une fois que vous avez besoin la fonction ICON (pictogramme) à modifier, quinze pictogrammes normaux et trois pictogrammes sonores s'affichent à l'écran. Appuyez sur le pictogramme que vous pouze utiliser.
Les pictogrammes normaux s'affichent à l'emplacement qu'ils représentent sur la carte. Les pictogrammes sonores font retentir

un carillon distinctif lorsque le vehicule approche du point ménorisé associé à ce pictogramme.
Suppression d'un point méorisé
- Dans le menu Memory Point (point mémorisé), appuyez sur DELETE (supprimer).
- Sélectionnez l'entrée à supprimer.
- Le dispositif vous demande de confirmer la suppression. Appuyez sur YES (oui) pour confirmer.

Chaines audio
Sur l'écran, le message « Memory Point Deleted » (point méorisé supprimé) apparait brievement.
Suppression de tous les points méorises
- Dans le menu Memory Point, appuyez sur DELETE ALL (supprimer tout).
Del. All
- Le dispositif vous demande de confirmer la suppression. Appuyez sur YES (oui) pour confirmer.
Sur l'écran, le message « All Memory Point Deleted » (tous les points mémorisés ont été supprimés) apparait brièvement.
Home (point d'arrivée)
Réglage initial du domicile :

- appuyez sur MAP (carte);
- appuyez sur « Nav Menu » (menu de navigation);
- appuyez sur « Stored Locations » (emplacements mémorisés);
Nav Menu
Chaines audio
- appuyez sur « Home » (domicile);
- appuyez sur « Add » (ajouter). Définisse le domicile en sclectionnant l'adresse exacte, le point d'intérêt, la destination précédente ou simplement à partir de la carte.

Pour voir le domicile, appuyez sur le pictogramme du domicile (maison) à l'écran Destination Entry (entrez la destination).
Une fois vous domicile enregistré, vous pouvez le selectionner comme destination ou point d'arrivée.
Ajout d'un point d'arrivee
- Sélectionnez l'article de menu désiré que vous poulez définir en tant que point d'acciviée (Address/adresse, Memory Point/point méorisé, Point of Interest/point d'intérêt, Previous Destination/destination précédente).
- Entrez les détails requis.
- Appuyez sur OK pour configurer la position du point d'arrivée.


Pour afficher la position du point d'arrivée défin :
depuis le menu d'emplacements mémorisés, et après avoir sélectionné le domicile, appuyez sur LIST (liste) pour afficher l'emplacement du domicile enregistré.
Chaines audio
Suppression d'un point d'arrivee
- Dans le menu d'emplacements enregistrés ou le pictogramme de point d'arrivée est sélection, appuyez sur DELETE (supprimer).
- Le dispositif vous demande de confirmer la suppression.
Appuyez sur YES (oui) pour confirmer.

Entrée/sortie d'autoroute
Selectionnez « Freeway
Entrance/Exit » (entree/sortie
d'autoroute) depuis la deuxième
page du menu Destination Entry.
Suivez ces étapes :

- Entrez un nom d'autoroute—entrez le nom de l'autoroute à l'aide du clavier. Appuyez sur « List » (liste) pour selectionner une autoroute à partir de celles qui sont affichées.
Pour entrer des numeros dans le champ de denomination de l'autoroute, appuyez sur « Sym »

Chaines audio
2. Sélectionnez Entrance/Exit (entree/sortie)—appuyez sur
« Entrance » (entree) si vous foulez prendre l'autoroute à cette intersection. Appuyez sur « Exit » si vous foulez quitter l'autoroute à cette intersection.
3. Sélectionnez Junction
(intersection) — l'écran affiche une liste d'intersections sur l'autoroute. Ces intersections

peuvent également s'afficher en fonction de la distance à parcourir (depuis l'emplacement courant du vehicule), en appuyant sur la touche « Dist » (distance) ou en procédant par ordre alphabetique en appuyant sur la touche « A-Z ». Sélectionnez l'entrée ou la sortie désirée.
Les détails de la destination s'affichent pour confirmation.
Points mémorisés spéciaux
Vous pouvez enregistrer jusqu'à cinq points méorises.

Enregistrement d'un point méorisé :
- Appuyez sur MAP (carte).
- Appuyez sur « Nav Menu » (menu de navigation).
- Appuyez sur « Stored Locations » (emplacements mémorisés).
- Appuyez sur « Special Memory Point » (points mémorisés spéciaux).
- Sélectionnéz « Add » (ajouter) et entrez le point d'arrivée.
- Appuyez sur OK pour confirmer.
Suppression d'un point méorisé :
- Appuyez sur « Delete » (supprimer). La liste s'affiche à l'écran.
- Sélectionnéz le point méorisé spécial que vous souhaitez supprimer.
- Appuyez sur « Del. all » (supprimer tout) pour supprimer tous les points mémorisés spéciaux enregistrés.
- Appuyez sur « Yes » (oui) pour confirmer.
Une fois que vous avez entre les cinq points mémorisés spéciaux, la touche « Add » (ajouter) affiche « Full » (complet). Vous devrez supprimer des points mémorisés avant de pouvoir en ajouter d'autres.
Chaines audio
Destination et points de cheminement
Le menu Store Dest. & Way Point (destination et point de cheminement) après l'entrée d'une destination ou d'un point de cheminement une première fois à l'aide du menu Destination Entry. Vous pouze enregistrer et supprimer des destinations et des points de cheminement (emplacements que vous foulez visiter en cours de route vers notre destination finale). Vous pouze egoit vous foulez visiter ces endroits.

Enregistrement d'une destination ou d'un point de cheminement
- Àpres avoir entre une destination, appuyez sur ADD (ajouter) pour en enregistrer l'emplacement. Le menu Store Dest. & Way Point s'affiche.
- Choisissez ce que vous pouze enregistrer : une adresse, un point d'intérêt ou une destination précédente.
- Entre les détails nécessaires pour votre sélection.
- Si vous avez entre une destination, elle est enregistrree en tant qu'emplacement de destination courant. Si vous avez entre un point de cheminement, il s'ajoute à la liste de points de cheminement.
Chaines audio
Établissement d'une liste de destinations et de points de cheminement
Appuyez sur LIST (liste) pour afficher les points de cheminement et de destination enregistrés (le cas échéant).
Le premier point de cheminement que vous allez croiser est situé au bas de la liste tandis que le point de destination apparait en haut de la liste.

Voupeuvez afficher I'emplacement de toutes les entrées sur la carte. Sur la carte, les détails de l'emplacement de I'entree s'affichent au haut de I'écran.
Pour modifier la position du point de cheminement (ou de la destination), faites defiler la carte tel que nécessaire.
Appuyez sur OK.
Modification de l'ordre des points de cheminement et de destination
Appuyez sur « Chg. Order » (modifier l'ordre) pour modifier l'ordre de parcours des points de cheminement. Les points sont enumeratedes chronologiquement sur la liste, de bas en haut, le point de destination apparaisant au sommet.
Appuyez sur la touche MAP (carte) pour modifier l'emplacement du point de cheminement sur I'affichage de la carte.
Appuyez sur OK pour confirmer.

Chaines audio
Suppression des points de cheminement et de destination
Après avoir appuyé sur DELETE (supprimer), la liste des points de cheminement et de destination (le cas échéant) s'affiche, représentant le menu « Delete Dest. & Way Pt. » (suppression de point de cheminement et de destination).
Selectionnez l'entrée à supprimer. Appuyez sur YES (oui) pour confirmer.

Appuyez sur DELETE ALL (effacer tout) pour supprimer tous les points de cheminement. Appuyez sur YES (oui) pour confirmer.
Selection d'un critère d'itinéraire
Après avoir sélectionné votre destination, vous pouvez modifier les critères de l'itinéraire en appuyant sur « Change » (modifier) à l'écran des préférences de l'itinéraire. Pour obtenir plus de détails, consultez la rubrique Préférences d'itinéraire.

Calcul de l'itinéraire
Une fois le critère d'itinétaireChoisi, le dispositif d'aide à la navigation calcule automatiquement l'itinétaire pour la destination selectionnée. L'itinétaire s'affiche a l'écran et un message-guide vous donne des directives.
Le système peut calculer jusqu'à quatre itinéaires pour une destination可以选择. Appuyez sur

« Next » (suivant) pour sélectionnner un itinétaire à partir de ceux qui sont affichés. Appuyez sur « Start » (démarrer) pour confirmer l'itinétaire choisi et démarrer le guidage d'itinétaire.
Chaines audio
Options de détour
Voupez activer l'option de detour pendant l'affichage de la carte en choisissant « Nav menu » (menu de navigation) et en selectionnant « Route Options » (options d'itinéraire).
Appuyez sur DETOUR pour activer la fonction. Utilisez les touches tactiles pour selectionner et entre le nombre de kilometres que le detour rajoutera à vous itinéaire.

Appuyez sur NEW ROUTE (nouvel itinétaire) si vous voulez que le dispositif planifie un itinétaire différent.

Appuyez sur DETOUR pour confirmer la seLECTION.
Interruptions d'itinéraire
Vous pouvez decide d'interrompre temporairement l'itinétaire prévu pour vous arrêté dans une station-service, dans un restaurant, etc. au cours du trajet. Si vous coupez le contact, l'options de poursuite du guidage s'affichera de nouveau à l'écran lorsque vous rétabliez le contact à l'allumage. Vous pouvez de nouveau avoir accès à l'itinétaire en appuyant sur « Agree » (j'accpe) sur l'écran de mise en garde.
Chaines audio
Modification ou annulation d'un itinéraire
Pour annuler ou modifier votre itinétaire courant sur la carte, appuyez sur DEST ou sélectionnez « Nav menu » et « Route Options ». Vous pouvez ensuite sélectionner les options de détour, d'affichage de tout l'itinétaire, de modification des préférences de l'itinétaire ou d'annulation du guidage d'itinétaire.

Éviter un secteur déjà configuré dans l'itinéraire
Pourquelquereaisonquecesoit,
vouspouvezdeciderd'eviterun
secteurmeme sice dernier figure
dansletrajetversvrotrendestination
finale.Pourselectionnerletrajeta eviter:
- depuis l'écran MAP (carte), appuyez sur Nav Menu;
- selectionnez Route Options(options d'itinéaire), puis Display Whole Route (afficher tout l'itinéaire);
- appuyez sur Turn List (liste des changements de direction);
- appuyez sur Avoid next (éviter suivant) correspondant à la rue à éviter;
choisissez OK pour confirmer; - appuyez sur Reroute (refaire l'itinéraire) pour activer la fonction.
Le nouveau secteur s'ajoute à la liste des secteurs à éviter déjà enregistrés.
Remarque: Dans certaines circonstances, il pourrait ne pas etre possible d'eviter tous les secteurs selectionnés.
Chaines audio
Établissement d'une liste des secteurs à évider
Vous pouvez dresser la liste de tous les secteurs qualifiés de « à évier »
- Appuyez sur « Nav Menu » (menu de navigation).
- Appuyez sur « Stored Locations » (emplacements mémorisés).
- Appuyez sur « Avoid area » (eviter le secteur).
- Appuyez sur LIST (liste) pour consulter toutes les sélections déjà enregistrées.
- Sélectionnéz le secteur désiré. La carte s'affiche à l'écran, indiquant l'emplacement et l'adresse du secteur sélectionné.
Appuyez sur Enlarge (agrandir) ou Reduce (réduire) pour régler la taille de la zone visible. Faites défiler la carte tel que nécessaire.
Suppression des secteurs à éviter
Pour supprimer une selection de la liste « Avoid area » (secteur à éviter):
- À partir du menu des emplacements mémorisés, sélection « Avoid area » (secteur à éviter).
- Appuyez sur DELETE (supprimer).
- Sélectionné le secteur que vous pouze supprimer.
- Appuyez sur DEL. ALL (effacer tout) pour supprimer tous les emplacements mémorisés.
- Appuyez sur YES (oui) pour confirmer.


Chaines audio

Pour avoir accès au mode menu, appuyez sur la touche « dure » MENU.
Le mode menu vous permet d'avoir accès à ces fonctions de paramétrage :
- Configuration du dispositif d'aide à la navigation
Information—fournit les renseignements du Centre d'assistance à la clientèle de Lincoln

- Brightness/Contrast (luminosite/contraste) — permet de régler la luminosité et le contraste de l'écran.

Chaines audio
- Screen Off (arrêt de l'écran) — permet d'etreindre l'écran de navigation.

Configuration du dispositif d'aide à la navigation
Le menu du dispositif comprend les options de configuration suivantes pour l'utilisateur :
Audible Feedback (retroaction sonore) Appuyez pourmettre les commandes de navigation vocales en fonction. Appuyez de nouveau pour lesmettre hors fonction.
- Unités de mesure pour la navigation — Appuyez pour passer des unités métriques aux unités anglaises et vice-versa.
Language (langue) appuyez sur cette touche pour alterner entre l'anglais, le français ou l'espagnol.


Interaction DVD (selon l'équipement)
Votre vehicule peut etre equiped'un lecteur de DVD.Vote dispositif d'aide a la navigation Lincoln interagit avec voire lecteur de DVD lorsque vous accedez au systeme et vous transmet des messages d'etat du systeme.
Chaines audio
- Appuyez sur AUDIO.
- Appuyez sur la touche DVD pour afficher l'écran DVD.

Vous pouvezCHOISIR entre differents chapitres,reculer ou avancer rapidement au sein d'un chapitre, arrer la lecture,la redemarrer ou marquer une pause sur le DVD. Vous pouvez egressement selectionner le mode DVD AUX (permet de brancher une console de jeu), pour activer/desactiver les casques d'ecoute, ou pour activer/desactiver les commandes des sièges arriere.Pour obtenir plus de détails,consultez les rubriques Commandes audio des sièges arrriere (selon l'équipment) et Système audio visuel familial avec lecteur de DVD (selon I'équipment) plus haut dans ce chapitre.
Généralités
Conseils de sécurité
Veuillez lui et respecter toutes les consignes de sécurité. Si vous omettez de suivre ces consignes, les risques de collision ou de blessures peuvent augmenter. Ford du Canada Limitée ne peut enaucun cas être tenue responsable de tout dommage decoulant d'un non-respect des consignes stipulées.
N'essayez jamais de démonter, de réparer ou de modifier le dispositif. Consultez votre concessionnaire Ford ou Lincoln.

Vou ne devez jamais tenter d'effectuer les taches détaillées du dispositif d'aide à la navigation pendant la conduite. Réservez votre attention à la conduite et à la route. Quitte la route et bilisez le vehicule dans un endroit sécuritaire avant d'effectuer taches détaillées.

Si vous utilisez le dispositif pendant une longue période lorsqu'que le vehicule est immobilisé, veillez à faire tourner le moteur éviter que la batterie ne se décharge.
Chaines audio
N'applique aucune pression sur I'écran d'affichage.
Le dispositif d'aide à la navigation ne peut pas replacer le bon jugement.
Les suggestions d'itinéaires ne doivent enaucun cas vous faire ignorer la réglementation de la circulation locale de même que les pratiques de conduite sécuritaires.
N'empruntez pas les itineraires suggerés s'ils impliquent des manoeuvres illégales ou dangereuses ou s'ils vous entrainent dans des situations dangereuses ou dans des endroits qui ne vous inspirepont pas confiance.
Ne fixez pas l'écran d'affichage pendant la conduite. Laissez la commande vocale vous guider. Si vous devez absolument visionner l'information qui s'affiche à l'écran, quitterz la route et immobilisez votre vehicule dans un endroit sécuritaire.
N'utilise pas le dispositif d'aide à la navigation pour localiser les services d'urgence.
Par mesure de sécurité, le conducteur ne doit programmermer le dispositif que lorsque le vehicule est immobile. C'est pourquoi certaines fonctions ne sont pas disponibles lorsque le vehicule est en mouvement.
Le disque compact de cartes routières ne contient pas de données relatives aux detours, aux fermétures, à la construction, de même qu'aux caractéristiques telles que les chaussées cahoteuses, les pentes, les restrictions de poids et de hauteur, les embouteillages, le temps ou toute autre condition routière du même type.
Procurez-vous la version DVD de cartes routières la plus récente dés sa mise en marché pour vous assurer d'utiliser le dispositif d'aide à la navigation de façon efficace et sécurité.
Réglez le volume à un niveau qui vous permet d'entendre clairément les directives.
N'essayez jamais de démonter ou de modifier le dispositif puisque vous pourriez l'endommager et ainsi annuler votre garantie. Si un problème survient, cessez immédiatement l'utilisation du dispositif et communique avec votre concessionnaire Ford ou Lincoln.
Homologation auprès de la « Federal Communication Commission » (FCC)
Des modifications apportées au système sans l'autorisation expresse de Ford Lincoln pourraient en annuler le droit d'utilisation par l'acheteur. Cet apparéil a été vérifié et s'est révélé conforme aux normes applicables aux apparèils numériques de catégorie B, en vertu de la section 15 des
Chaines audio
règlements de la FCC. Ces normes sont définies pour fournir une protection raisonnable contre les interférences nuisibles dans les installations résidentielles. Cet appeareil générale, utilise et peut émettre des ondes radioélectriques et, s'il n'est pas installé et utilisé conformément aux directives, peut cause un brouillage radioélectrique nuisible aux communications radio.
Il n'est cependant pas garanti qu'un brouillage ne se produit pas avec certains types d'installation. Si cet appeareil brouille les signaux radio ou de télévision, ce qui peut etre déterminé en eteignant puis en rallumant le système, l'utiliseur est invite a consulter le concessionnaire ou un technicien qualifie dans le domaine de I'audiovisuel.
Au moment de sa compilation, avant que vous la receiveviez, la base de données reflète le plus fidèlement possible le réseau routier dans son état réel et comprend également des renseignements gouvernementaux et de sources diverses pouvant composer des erreurs et des omissions. En conséquence, en raison du temps écoulé depuis sa publication, des situations changeantes et des sources utilisées, la base de données peut renfermer des renseignements incomplets ou imprecis. La base de données ne contientaucun renseignement ni aucune reférence concernant les aspects suivants: sécurité dans les quartiers, lois en vigueur, assistance d'urgenc, travaux de construction ou de voirie, interdictions d'acces à des routes ou à des emplacements, limites de vitesses ou les restrictions pouvant s'appliquer à certains vehicules, inclinaison ou angle d'escarpement des routes, hauteur libre sous les Ponts, charge maximale ou autres limites, conditions routières ou de circulation, événements spéciaux, congestion du traffic routier ou durée d'un trajet.
Facteurs pouvant influencer la réception radio
Certains facteurs peuvent avoir un impact sur la réception radio :
- distance et puissance de l'émetteur. La puissance du signal FM reçu est inversement proportionnelle à la distance de l'émetteur. La portée des signaux FM audible est d'environ 40 km (24 mi). Cette portée peut être augmentée grâce à la « modulation de fréquence », un procédé utilisé par les stations de radio pour augmenter la puissance de leur signal par rapport à celui d'autres stations;
- relief. Des collines, un immeuble ou une structure de grande dimension entre l'antenne réceptrice et le signal d'émission radiophonique peuvent avoir un impact sur la réception FM. De plus, des parasites sur la bande AM peuvent être dus à la présence de
Chaines audio
lignes à haute tension, de clôtures électriques, de panneaux de signalisation routière ou d'orages électriques. Il suffit de s'éloigner de la source d'interfERENCE pour que la réception radio redevienne normale;
- réception de signaux puissants avec surcharge. Un signal de faible puissance peut parfois être intercepté par un signal de plus forte puissance, notamment lors du passage pres d'une antenné d'émission. Il peut arrivier momentanément que vous entendiez le signal le plus puissant même si c'est la fréquence du signal le plus faible qui est affichée.
Principes de fonctionnement du système de reperte par satellites
Le dispositif d'aide à la navigation de votre vehicule vous dirige en se basant sur l'information recue des satellites, les cartes routières enregistrées sur le disque DVD, les capteurs de votre vehicule et la destination désirée. Le dispositif compile toute l'information nécessaire pour vous guider vers la destination sélectionnée. Les satellites déterminent l'emplacement actuel de votre vehicule et transmettent à celui-ci des signaux de position et de temps.
Si le vehicule a ete immobilisé pendant une longue période, le dispositif de navigation peut etre temporairement inopérant. Le dispositif d'aide à la navigation fonctionne de nouveau de façon fiable des que la reception du signal du système de reperteage par satellites devient disponible pour quelques minutes.
Limites de la réception du signal du système de repération par satellites
La performance du système de reperage par satellites peut etre compromise si la reception de son signal est interrompu ou si une interference se produit a plusieurs kilometres. Les conditions suivantes peuvent provoquer l'interruption de la reception du signal du système de reperage par satellites. Si le vehicule se trouve :
- dans un stationnement à plusieurs étages;
- dans un tunnel ou sous un pont;
- dans un édifice ou entre deux édifices;
- en forêt ou sur une avenue bords d'arbres;
- sous une pluie abondante ou durant un orage;
- dans une vallee ou une région montagneuse.
- sur les routes dominés par des falaises.
Chaines audio
Assurez-vous qu'aucun object metallique ne se trouve sur la plage arrirée du vehicule. Si les glaces de votre vehicule sont teintées, assurez-vous que le produit utilise pour les teinter est un produit non metallique platôt qu'un produit à l'oxyde metallique. Ces deux facteurs peuvent causer une interruption de la réception des signaux GPS.
Nettoyage de I'ecran
Ne vaporisez pas de liquide nettoyant sur l'écran. Vaporisez plutôt le liquide nettoyant sur un chiffon doux, puis essuyez l'écran. Seuls des produits recommendés doivent être utilisés.
- Produits recommandés - nettoyants à base d'alcool à friction (p. ex., methanol) ou chiffon propre et humide.
- Produits sans danger, mais non recommandés - nettoyants à base d'ammoniac, détersifs neutres.
- Produits pouvant endommager le dispositif et non recommandés - nettoyants à base d'acide, nettoyants à base d'alcali, nettoyants à base de benzène.
N'utilisez pas de benzène, de diluant pour peinture ni aucun autre solvant pour nettoyer les éléments de votre dispositif.
Aucun liquide ne doit être renversé sur le système.
Chargement du DVD cartographique
- Voiture dispositif d'aide à la navigation est situé dans la console centrale inférieure avant pres de l'espace où se trouvent les pieds du passager (porte d'accès).
Assurez-vous que le commutateur d'allumage du vehicule est en position de marche. - Si un disque DVD est déjà charge dans le dispositif d'aide à la navigation, appuyez sur la touche déjection.
- Insérez le disque DVD avec le côte imprimé orienté vers le haut. Faites en sorte qu'aucune humidité ou qu'aucun corps étranger ne puisse entrer dans la fente.
Le dispositif d'aide à la navigation utilise une base de données mise en mémoire sur un disque DVD selon un format spécial. Il est recommandé de plusieurs jours utiliser la dernière version du DVD de cartes routières.
- Le dispositif d'aide à la navigation fonctionne seulement avec les disques DVD spécifique concus à cet effet.
- Rangez toujours les disques DVD de cartes routières dans leur coffret lorsqu'ils ne sont pas utilisés.
Chaines audio
Commande de DVD de cartes routieres supplémentaires
Si vous souhaitez commander un disque cartographique de remplacement ou additionnel, veuillez composer le 1 888 NAV-MAPS (1 888 628-6277) ou consultez notre site Web à l'adresse suivante: www.navtech.com.
Disques DVD de cartes routières les plus récents
Le contenu des cartes routières du DVD change constamment en raison de la construction de nouvelles routes, des restrictions récentes concernant le traffic routier, etc. Par conséquent, il n'est pas toujours possible d'obtenir une correspondance parfaite entre l'état actuel des routes et les cartes du DVD. Pour deGXmeurs résultats, servez-vous plusieurs de la version la plus récende du DVD de cartes routières. Les renseignements sur les cartes sont constamment mis à jour, mais certains secteurs pourraient ne pas bénéficier d'un niveau aussi détaillé par rapport à l'ensemble. Certaines zones, les chemins privés en particulier, pourraient ne pas figurer dans la base de données. Pour vous assurer de l'exactitude des données, nous vous recommendons d'utiliser la dernière version du DVD de cartes routières dans votre dispositif d'aide à la navigation.
Service à la clientèle
Pour obtenir de l'assistance concernant le fonctionnement de votre dispositif d'aide à la navigation/audio, pour nous faire part d'une erreur dans la base de données du disque ou pour vous procurer un DVD cartographique, veuillez composer le 1 888 NAV-MAPS (1 888 628-6277) ou consultez notre site Web à l'adresse suivante: www.navtech.com.
Bloc de commande du chauffage et de la climatisation
RÉGULATION ÉLECTRONIQUE AUTOMATIQUE DE LA TEMPERATURE À DEUX ZONES

1. Touche A/C (commande du
climatiseur) : utilise l'air extérieur
pour refroidir l'habitacle. Appuyez
sur cette touche pour activer ou désactiver la fonction dans tous les
modes,sauf ou
2. Commande de recirculation de
I'air de I'habitacle : cette
commande permet de partager
manuellement en fonction ou hors fonction le recyclage de l'air à toutes les positions, sauf Dégivrage. Cette fonction refroidit le vehicule plusrapidement en faisant recirculer l'air dans l'habitacle au lieu de fairepénetrer l'air extérieur; en outre, la recirculation d'air permet d'éviterque les odeurs ou émanations déplaisantes de l'extérieur PENETRÉNT dansl'habitacle.En mode automatique,la commande de recirculation de l'airde l'habitacle fonctionne automatiquement pour atteindre la températureseLECTIONnée.
3. Reglage de la température du
côté passager : cette fonction
regulare la tempereature du cote
passager lorsqu'le système est en
mode à deux zones. Pour passer en mode de régulation automatique de la température à deux zones, appuyez sur la touche de réglage de température du côte passager ou sur la touche DUAL (deux zones). La température du côte passager apparait à l'écran d'affichage.



Bloc de commande du chauffage et de la climatisation
4. Commande de dégivrage
arrière : elimine la glace et la buee
de la lunette arriere. Appuyez sur
cette touche pourmettrele
dégivrage en fonction ou hors fonction.
5. DUAL (contrôle de
température électrique à une ou
deux zones): cette fonction
permét au conducteur de contrôle tous les réglages de température de l'habitacle (une zone) ou permet au passager de faire ses propres réglages de température (deux zones). Appuyez sur cette touche pour passer en mode deux zones et appuyez de nouveau sur la touche pour revenir en mode une zone.
- : répartit l'air extérieur entre les bouches de dégivrage du pare-brise.
- : répartit l'air extérieur entre les bouches de dégivrage du pare-brise et celles du plancher.
- : répartit l'air extérieur entre les bouches du plancher.
- : répartit l'air extérieur entre les bouches de la planche de bord et celles du plancher.
- : répartit l'air extérieur entre les bouches de la planche de bord.
11. OFF (Arrêt) : coupe
I'admission d'air extérieur et arrete
leventilatear.
12. Régulation automatique :
appuyez sur la touche AUTO et
choisissez la tempereut desiree.
Le système commande automatiquement la vitesse du ventilateur, le choix des bouches de répartition d'air, l'admission d'air extérieur ou la recirculation de l'air interieur afin de rechauffer ou de refroidir
I'habitacle à la température demandée.
13. Reglage de la températe du
cote conducteur: contrôle la
température pour le conducteur et
le passager. Cette commande
contrôle seulement le côte conducteur du vehicule lorsque le mode a deux zones est utilisé.



Bloc de commande du chauffage et de la climatisation
14. Commande de régime du
ventilateur : cette touche vous perméter de régler manuellement le ventilateur ainsi que sa mise en fonction ou hors fonction.

15. Température extérieure :
cette fonction affiche la température
de l'air extérieur. La température demeure affichée jusqu'à ce que

vous appuyiez de nouveau sur cette touche. La température extérieure est mésurée de façon plus précise lorsque le vehicule est en mouvement depuis un certain temps.
16. Conversion de la
température : appuyez sur cette
touchepourpasserdesdegrés
Fahrenheit aux degrés Celsius et
vice-versa sur I'ecran d'affichage du système à deux zones seulement.
Les températures de point de réglage en degrés Celsius seront affichées par demi-degrés.
Commandes manuelles : chacune
de ces touches vous permet de
selectionner manuellement les
bouches de répartition d'air. Pour rétablier le fonctionnement
automatique, appuyez sur la touche AUTO.

CONSEILS PRATIQUES
- Pour réduire la formation de buee par temps humide, placez le sélecteur de fonction à la position
- Pour réduire la formation d'humidité dans l'habitacle : ne conduise pas avec le sélecteur de fonction à la position Arrêt ou (par temps froid) MAX A/C.
- En conditions météorologiques normales, ne laissez pas le sélection de fonction à MAX A/C ou Arrêt lorsque vous stationnez votre vehicule. De cette façon, votre vehicule peut « respirer » par les bouches d'admission d'air extérieur.
- Ne placez pas, sous les sièges avant, des objets qui pouraient nuir à la circulation de l'air vers les sièges arrêté.
- Enlevez toute accumulation de neige, de glace ou de feuilles qui pourrait obstruer la prise d'air extérieure située à la base du pare-brise.
Bloc de commande du chauffage et de la climatisation
Pour facilitier le dégivrage ou le désembuage des glaces laterales par temps froid :
- Sélectionnez
- Enoncez la touche du climatiseur.
- Reglez la commande de température selon vos préférences.
- Reglez le ventilateur à haute vitesse (HI).
- Orientez les pouches d'air situées aux extrémités de la planche de bord vers les glaces laterales.
Pour augmenter le débit d'air dans les bouches d'air situées aux extrémites de la planche de bord, fermez les bouches d'air centrales.

Ne placez pas d'objets sur la planche de bord afin d'éviter qu'ils ne se transforment en projectiles en cas d'accident ou d'arrêt.
Bloc de commande du chauffage et de la climatisation
COMMANDES DE CHAUFFAGE-CLIMATISATION AUXILIAIRES (SELON L'ÉQUIPEMENT)
Votre vehicule peut etre equipe de commandes de chauffage-climatisation auxiliaires. Ces commandes permettent aux passagers des sièges avant ou arriere de contrôler la distribution de l'air, la température et la vitesse du ventilateur pour les sièges arriere afin de rechauffer ou de refroidirrapidement l'habitacle.
Les commandes de chauffage-climatisation auxiliaires sont situées dans la console au pavillon du premier rang et dans la console au plancher derrière la console du premier rang.
Les commandes auxiliaires ne fonctionnent pas lorsque le bloc de commande principal est hors fonction.
Le système auxiliaire peut être commandé soit à partir du siècle avant, au moyen de la commande auxiliaire avant, soit à partir du siècle arrière, au moyen de la commande auxiliaire arrière, mais non les deux à la fois. Pour que les passagers arrirè puissant régler le ventilateur auxiliaire au moyen de la commande arrière, la commande avant doit être à la position REAR (arrière).
Commandes auxiliaires avant :
- Selecteur de température :
permiet de déterminer la
température de l'air à l'arrière du
véhicule. Si le bloc de commande du
chauffage et de la climatisation
principal est en mode de
refroidissement à « MAX A/C »
ou , les commandes auxiliaires
ne fonctionnent pas, car le système
au complet est en mode de
refroidissement maximal.

- Sélecteur de fonction : utilisez cette commande pourCHOISIR la direction du débit d'air vers (plancher) ou (planche de bord).
dirige l'air vers le plancher de la banquette du troisième rang. dirige l'air vers les bouches de pavillon des banquettes des deuxième et troisième rangs. Le pictogramme du mode sélectionné s'allume sur le sélecteur de température. - Commande de vitesse du ventilateur : déterminé la vitesse du ventilateur dans le système auxiliaire. Placez la commande à la position
Bloc de commande du chauffage et de la climatisation
« REAR » (arrière) pour permettre aux passagers de la banquette arriere d'actionner eux-memes les commandes auxiliaires arriere. Autrement, les commandes auxiliaires avant déterminent les réglages du système de chauffage-climatisation auxiliaire. Si la commande est à la position « O » (arrêt), les commandes auxiliaires arriere ne fonctionnent pas.
Commandes auxiliaires arrêté (selon l'équipement) :
Lorsque la commande auxiliaire avant est à la position « REAR » (arrière), les passagers de la banquette arrêté peuvent utiliser les commandes auxiliaires arrêté dans la console au plancher pour activer les réglages désirés.
1. Sélecteur de température :
déterminé la température. Si le système de chauffage-climatisation principal est en mode de refroidissement à « MAX A/C » ou , les commandes auxiliaires ne fonctionnent pas car le système au complet est en mode de refroidissement maximal.

2. Sélecteur de fonction : utilisez
cette commande pourCHOISIR la direction du débit d'air vers (plancher) ou (planche de bord).
dirige l'air vers le plancher de la banquette du troisième rang. dirige l'air vers les bouches de pavillon des banquettes des deuxième et troisième rangs. Le pictogramme du mode sélectionné s'allume sur le sélecteur de température.
3. Commande de vitesse du ventilateur: règle la vitesse du ventilateur.
DEGIVREUR DE LUNETTE ARRIERE
Permet de mettre le dégivreur de lunette arrirée en fonction ou hors fonction manuellement,quelle que soit la fonction selectionnee. Le système

de commande de chauffage-climatisation met automatiquement le dégivreur de lunette arrière hors fonction au bout d'environ dix minutes. Au besoin, le dégivreur de lunette arrière peut être désactiver manuellement à l'aide du bouton du dégivreur de lunette arrière. Le témoin du dégivreur arrière s'allume lorsque ce dernier est en fonction.
Éclairage et phares
COMMUTATEUR D'ÉCLAIRAGE
Tournez le commutateur d'éclairage jusqu'à la première position P≤ pour allumer les yeux de position. Tournez-le jusqu'à la deuxième position D pour allumer les phares.

Commande des phares antibrouillards #0
Le commutateur d'éclairage sert également à allumer les phares antibrouillards. Pour allumer les phares antibrouillards, le commutateur d'éclairage doit être en position P+, et les D
feux de route doivent etre eteints. Pour allumer les phares antibrouillards, tirez le commutate d'eclairage vers vous. Le temoin de phares antibrouillards sallum

Commande automatique des phares
Le système de commande automatique des phares utilise un dispositif photosensible pour regler de façon automatique la mise en et hors fonction des phares normalement commandes par le commutateur d'éclairage.
Le système de commande automatique des phares maintain I'éclairage allumé pendant environ

20 secondes après la coupure du contact. Si vous disposez d'un afficheur multimessage, vous avez le besoin d'une temporisation qui peut s'échénonner entre 0 et 180 secondes suivant la coupure du contact.
Éclairage et phares
- Pourmettre en fonction la commande automatique des phares, tournez la commande dans le sens contraire des aiguilles d'une montre.
- Pourmettre hors fonction la commande automatique des phares, tournez la commande dans le sens des aiguilles d'une montre jusqu'à la position d'arrêt.
Feux de jour (selon l'équipement)
Allume les phares antibrouillards à leur intenseur maxime. Pour qu'ils fonctionnent :
- le commutateur d'allumage doit etre à la position de contact et
- le commutateur d'éclairage doit être en position d'arrêt ou de deux de stationnement.

N'oubliez pas d'allumer vos phares à la tombée de la nuit ou par mauvais temps. Le système des feuels de jour n'allume pas vos
feux arrière; de plus, il ne fournit pas nécessairement un éclairage d'intensité suffisante pour de telles conditions. Si les phares ne sont pas allumés dans de telles conditions, vous risquez un accident.
Feux deroute
Poussez le levier vers la planche de bord pour allumer. Tirez le levier vers vous pour eteindre.

Éclairage et phares
Avertisseur optique
Pour faire un appel de phares, tirez le levier légèrement vers vous. Relâchez-le pour désactiver.

RHEOSTAT D'ÉCLAIRAGE DE LA PLANCHÉ DE BORD
Utilisez cette commande pour régler l'intensité d'éclairage de la planche de bord et de tous les
commutateurs pertinents du vehicule lorsque les phares et les deux de position sont allumés.
Déplacez la molette à fond vers le haut, passé le cran, pour allumer l'éclairage interieur.
Tournez la molette à fond vers le bas, passé le cran, pour empêcher
I'éclairage interieur de s'allumer à l'ouverture des portes.

Au crépuscule et à l'aube, les diodes electroluminescentes augmentent leur intensité d'éclairage de six fois leur intense normale pour améliorer le contraste et la visibilité. L'affichage « s'attenue » automatiquement en fonction de la luminosité ambiante détectée par le capteur monté sur le tableau de bord.
L'éclairage des instruments de bord augmente progressivement en quatre étapes, jusqu'à ce que l'éclairage nocturne prenne la relève. Peu importe l'intensité d'éclairage propre à chaque étape, la luminosité peut être modifiée à l'aide de la molette située sur la planche de bord.
RéGLAGE VERTICAL
- Stationnez votre vehicule sur une surface plane à une distance d'environ 7,6 mètres (25 pieds) en face d'un mur ou d'une surface verticale.
(1) 2,4 metres (8 pieds)
(2) Distance du centre du phare au sol
Éclairage et phares
(3) 7,6 metres (25 pieds)
(4) Ligne de repère horizontalé
2. Mesurez la hauteur allant du sol au centre du phare (indiquée par un cercle de 3 mm sur la lentille) et tracez sur le mur ou sur la surface verticale (à l'aide d'une bande de ruban-cache, par exemple) un repère horizontal à cette hauteur, sur une largeur de 2,4 mètres (8 pieds).
3. Allumez les phares en mode feuels de croissement pour éclairer le mur ou la surface verticale et ouvrez le capot. Couvrez l'un des phares de maniere à ce qu'il ne puisse pas éclairer le mur.
4. Sur le mur ou sur la surface verticale, vous pouvez observer une bande lumineuse avec une cordure horizontalite distincte vers la droite.
Si cette cordure n'est pas à la même hauteur que le repère horizontal, le faisceau lumineux doit être régèle en conséquence.
- Repérez le régleur vertical sur chaque phare et, à l'aide d'une clé à douille de 4 mm, tournez le régleur soit dans le sens contraire des aiguilles d'une montre (pour régler vers le bas) ou dans le sens des aiguilles d'une montre (pour régler vers le haut), jusqu'à ce que la cordure supérieure de la bande lumineuse de haute intensité soit au même niveau que la ligne de repère horizontal.

- LE RÉGLAGE HORIZONTAL DES PHARES DE CE VÉHICULE N'EST PAS REQUIIS ET NE PEUT PAS ÉTRE EFFECTUÉ.
- Repetez les étapes 3 à 5 pour l'autre phare.
- Fermez le capot et éteignez les phares.
Éclairage et phares
COMMAND DES CLIGNOTANTS
Pour activer le clignotant de gauche, poussez le levier vers le bas.
Pour activer le clignotant de droite, poussez le levier vers le haut.

ÉCLAIRAGE INTÉRIEUR
Lampes de lecture des places avant (selon l'equipement)
Pour allumer les lampes de lecture, appuyez sur leur rebord arriere.

Plafonnier arrête
Le plafonnier s'allume lorsque :
- l'une des portes s'ouvre (l'interrupteur doit aussi être à sa position du milieu);
la molette du rheostat d'éclairage de la planche de bord est maintainue vers le haut jusqu'à ce que la lampe d'accueil s'allume; - l'une des touches de la télécommande d'entrée sans clé est enforcée alors que le commutateur d'allumage est en position Arrêt (l'interrupteur doit aussi être à sa position du milieu).
Lorsque la clé de contact se trouve en position Accessoires ou Contact, le plafonnier arrêté peut être allumé ou eteint en faisant glisser la commande.
Éclairage et phares
AMPOULES
Remplacement des ampoules extérieures
Vérifiez périodiquement le fonctionnement de toutes les ampôules.
Ampoules à utiliser
Les ampôules de rechange à utiliser sont indiquées dans le tableau ci-dessous. Les ampôules de phares doivent être identifiées par les lettres « D.O.T. » (Département of Transportation des États-Unis) afin d'assurer le rendement du phare, l'efficacité du faisceau lumineux et une belle visibilité. Les ampôules appropriées n'endommagent pas le bloc optique, ne risquant pas d'annuler la garantie de celui-ci et procurrent un éclairage ajusté de longue durée.
| Fonction Nombre | d'ampôules | Numéro commercial |
| Phares (feux de croissement) 2 9 006 | ||
| Phares (feux de route) 2 9 005 | ||
| Feux de position et clignotants avant | 2 3157 AK | (embre) |
| Feu de position latéral avant 2 194 AK (ambre) | ||
| Phares antibrouillards 2 800 | ||
| Plafonnier et lampes de lecture 2 579 | ||
| Clignotants,ieux arrêté et feuș stop | 2 3157K | |
| Lampes d'approche 2 906 | ||
| Clignotants sur rétroviseur 2 906 (a | ||
| Eclairage du hayon 2 916 | ||
| Phares de recul 2 3157K | ||
| Éclairage de la plaque d'immatriculation | 2 168 | |
| Troisième feu stop 5 W5W | ||
| Toutes les ampôules sont incolores sauf indication contraire. | ||
| Faites replacer toutes les ampôules de la planche de bord par votre concessionnaire. | ||
- Si vous possédez un vehicule équipé de phares avec lampe à décharge de haute intensité, faites remplacer les ampôules par votre concessionnaire.
Éclairage et phares
Remplacement des ampoules interieures
Vérifiez périodiquement le fonctionnement de toutes les ampoules.
Lampes de lecture
Procedez comme suit pour remplacer les ampoules de lampe de lecture :
- Retirez le verre de la lampe de lecture à l'aide d'un petit tournevis.
- Pour-retirer l'ampoule grillée, tournez l'ampoule en la tirant.
- Posez une ampoule neuve.
- Remettez le verre et vérifiez si la lampe de lecture s'allume.

Remplacement des ampoules de phare
- Assurez-vous que le commutateur d'éclairage est hors fonction.
- Ouvrez le capot.
- À l'arrière de la lentille de phare, enlevez les trois boulons de fixation du bloc optique.
-
Tirez légerement le bloc optique vers l'avant pour découvert les connecteurs électriques.
-
Tournez les couvercles de l'ampoule dans le sens contraire des aiguilles d'une montre et retirez-les.


Éclairage et phares
- Une fois les couvercles d'ampoule enlevés, vous pouvez-retirer les ampoules en les tournant dans le sens contraire des aiguilles d'une montre et en les tirant sans les tourner.


L'ampoule à halogène doit être gardée hors de la portée des enfants et maniee avec précaution. Ne saisissez l'ampoule que par sa base en plastique et ne touche pas a I'enveloppe de verre. Les empreintes grasses de doigts sur le verre pourraient provoquer le bris de I'ampoule au moment de I'allumage des phares.
- Engagez l'extrémité en verre de l'ampoule neue dans le bloc optique. Lorsque les encoches de la base en plastique sont alignées sur les languettes, pousez l'ampoule dans le bloc optique jusqu'à ce que la base en plastique touche l'arrière du bloc optique. Tournez l'ampoule dans le sens contraire des aiguilles d'une montre pour l'installer.
- Réinstallé le couvercle d'ampoule et fixez-le en position en le tournant dans le sens contraire des aiguilles d'une montre.
Remplacement des ampoules de phares avec lampes à décharge (selon l'équipement)
Les feu des croisements des phares sur votre vehicule utilisent une alimentation de type « décharge à haute intense ». Ces ampoules utilisent une tension élevée. L'ampoule NE POT PAS est remplaçée. Si l'ampoule est grillée, le bloc optique doit être remplaced au complet par votre concessionnaire ou par un technicien qualifié.
Remplacement des ampoules des yeux de position avant et des clignotants avant
- Assurez-vous que le commutateur d'éclairage est hors fonction.
- Ouvrez le capot.
Éclairage et phares
- À l'arrière de la lentille de phare, enlevez les trois boulons du bloc optique.
- Tirez légerement le bloc optique vers l'avant pour découvert les connecteurs électriques.
- Faites tourner la douille délicatement dans le sens contraire des aiguilles d'une montre et retirez-la.
- Retirez l'ampoule grillée de sa douille sans la tourner et insérez une nouvelle ampoule.
- Pour terminer la pose du feu de position et du clignotant, effectuez les opérations d'enlevement de l'ampoule dans le sens inverse.


Remplacement des ampôules des phares antibrouillards
L'ampoule à halogène doit être gardée hors de la portée des enfants et maniee avec précaution. Ne saisissez l'ampoule que par sa base en plastique et ne touche pas à l'enveloppe de verre. Les empreintes grasses de doigs sur le verre pourraient provoquer le bris de I'ampoule au moment de I'allumage des phares.
- Assurez-vous que le commutateur d'éclairage est à la position OFF (étéint).
- Debranchez le connecteur electrique de l'ampoule du phare antibrouillard.
- Tournez l'ampoule dans le sens contraire des aiguilles d'une montre et retirez-la (l'illustration montre le cote arrere du phare antibrouillard).

Éclairage et phares
- Posez l'ampoule neuve dans le phare antibrouillard en la tournant dans le sens des aiguilles d'une montre.
- Branchez le connecteur électrique sur l'ampoule de phare antibrouillard neuve.
Remplacement des ampoules de deux arrêté
- Assurez-vous que le commutateur d'éclairage est à la position OFF (étéint).
- Ouvrez le hayon pour acceder aux vis du bloc optique.
- Enlevez les deux vis de fixation du bloc optique.
- Exercez avec précaution un effet de levier sur le bloc optique et tirez-le directement vers l'extérieur du vehicule pour avoir accès à la do LE BLOC OPTIQUE SUR LE COTÉ
- Tournez la douille de l'ampoule dans le sens contraire des aiguilles d'une montre et retirez-la du bloc optique.
- Retirez l'ampoule de la douille et insérez une ampoule neue.
- Placez la douille de l'ampoule dans le bloc optique et faites-la tourner dans le sens des aiguilles d'une montre.
- Replacez le bloc optique dans le vehicule et fixez-le avec les deux vis.

Éclairage et phares
Remplacement des phares de recul
Les phares de recul sont situés à l'arrière des panneaux de garnissage du hayon.
Procedez comme suit pour remplacer les ampoules des phares de recul :
- Assurez-vous que le commutateur d'éclairage est à la position OFF (éteint).
- Retirez le panneau de garnissage du hayon en enlevant les écrous de fixation pour avoir accès à la douille de l'ampoule.
- Tournez la douille de l'ampouledans le sens contraire des aiguillesd'une montre et tirez-la hors du blocoptique du phare de recul.
- Retirez la vente ampoule de la douille et remplacez-la par une ampoule neuve.
- Branchez le connecteur en l'enfantant dans le bloc optique du phare de recul et tournez-le dans le sens des aiguilles d'une montre pour le fixer en position.
- Réinstallé le panneau de garnissage du hayon.
Remplacement de I'ampoule de hayon
- Assurez-vous que le commutateur d'éclairage est à la position OFF (éteint).
- Soulevez le hayon et enlevez les deux écrous de fixation sur le dessous du hayon.

Éclairage et phares
- Tirez le bloc optique vers l'extérieur sans le tourner (il se dégagera d'un œillet de fixation en plastique).

- Tournez le faisceau de cablage dans le sens contraire des aiguilles d'une montre et retirez-le du bloc optique.
- Retirez l'ampoule et remplacez-la par une ampoule neue.
- Tournez le faisceau de cablagedans le sens des aiguilles d'une montre pour Iinstaller.
- Enclenchez le bloc optique en position.
- Remettez les écrous de fixation en place.

Éclairage et phares
Troisième feu stop
Pour remplacer les ampoules du troisième feu stop :
- Enlevez les deux vis qui maintiennent le bloc optique en place.

- Tirez le bloc optique vers l'extérieur sans le tourner.
- Enlevez le faisceau de cablage.
- Enforcez les quatre pattes fixant le bloc optique, une a la fois, et écarte z le support d'ampoule noir du phare.
- Retirez la vente ampoule et remplacez-la par la neue.
- Enclenchez le support d'ampoule noir dans le bloc optique.
- Remettez le faisceau de cablage en place.
- Remettez le bloc optique en place.

Éclairage et phares
Remplacement des ampoules d'éclairage de la plaque d'immatriculation
Les ampôules d'éclairage de la plaque d'immatriculation sont situées dans le logement de la plaque d'immatriculation, sur le hayon. Pour replacer les ampôules d'éclairage de la plaque d'immatriculation :
- Assurez-vous que le commutateur d'éclairage est à la position OFF (étéint).
- Enlevez la vis du bloc optique de la plaque d'immatriculation.
- Tirez le bloc optique vers le bas et tournez la douille de l'ampoule dans le sens contraire des aiguilles d'une montre. Retirez la douille du bloc optique.
- Retirez la vente ampoule et installez la nouvelle.
- Installez la douille de l'ampoule dans le bloc optique en la tournant dans le sens des aiguilles d'une montre.
- Installes le bloc optique et immobilisez-le avec la vis de fixation.
Retrait de l'ampoule de clignotant des lampes d'approche et des rétroviseurs (selon l'équipement)
Pour changer les ampoules :
- Assurez-vous que le commutateur d'éclairage est en position Arrêt, puis relèiez le rétroviseur vers l'avant.
- Enlevez la vis à empreinte Torx au bas de la lentille de clignotant à l'aide d'un tournevis Torx T-10.
- Tirez la lentille de clignotant vers le bas pour la retireur du rétroviseur.
- Debranche la douille de la lentille.
- Enlevez l'ampoule et remplacez-la par une neue.
- Procedez dans l'ordre inverse pour réassembler la douille et la lentille.

Commandes du conducteur
LEVIER MULTIFONCTION
Essuie-glace: tournez l'extrémité de la commande vers la planche de bord pour augmenter la fréquence de balayage des essuie-glace; tournez-la vers vous pour réduire la fréquence de balayage.

Essuie-glace asservis à la vitesse du vehicule : lorsque la commande
des essuie-glace est activée, la vitesse des essuie-glace se règle automatiquement en fonction de la vitesse du vehicule. Plus cette vehicule se déplace rapidement, plus la vitesse des essuie-glace est élevée.
Lave-glace de pare-brise :enforcez l'extrémité du levier :
- brièvement : pour un seul balayage des essuie-glace, sans lave-glace;

- rapidement, puis maintenez le levier enforcé : pour obtenir trois balayages des essuie-glace avec du lave-glace;
- pendant un moment, puis maintenez l'extrémité du levier enforcé : pour actionner les essuie-glace et le lave-glace pendant dix secondes ou moins.
Commandes d'essuie-glace et de lave-glace de lunette arriere
Pour actionner l'essuie-glace de lunette arrière, tournez la commande à la position désirée. Touche de selection :
INT 2 - vitesse de balayage normal de l'essuie-glace de lunette arrête; INT 1 - balayage intermittent de l'essuie-glace de lunette arrête;

OFF - essuie-glace et lave-glace de lunette arrête hors fonction.
Pour laver la lunette arrirée, tournez la commande à l'une ou l'autre des positions et tenez-la en position aussi longtemps que nécessaire.
À partir de l'une ou l'autre des positions, la commande retournera automatiquement à la position INT 2 ou OFF.
Commandes du conducteur
Remplacement des balais d'essuie-glace
Il est conseilé de remplacer les balais d'essuie-glace avant l'hiver.
Pour remplacer les balais d'essuie-glace :
- Tirez le bras d'essuie-glace vers l'arrière et faites pivoter le balai d'essuie-glace pour qu'il se trouve a angle droit par rapport au bras d'essuie-glace.
- Appuyez sur l'agrafe de retenue (A) pour libérer le balai d'essuie-glace, puis tirez-le vers le bas (vers le pare-brise) pour le séparer du bras.
- Fixez le nouveau balai d'essuie-glace sur le bras d'essuie-glace et appuyez pour lemettre en place jusqu'à ce que vous entendiez un déclic.

Remplacement du balai d'essuie-glace de lunette arriere
Le bras d'essuie-glace de lunette arrêté ne compte pas de position d'entretien. Ceci réduit les risques que le balai soit endommagé dans un lave-auto.
Pour remplacer le balai d'essuie-glace :
- Soulevez le balai d'essuie-glace de la lunette et maintenez-le dans cette position.
- Appuyez sur la languette de déverrouillage pour détacher le balai d'essuie-glace du bras de l'essuie-glace.
- Tirez sur le balai d'essuie-glace (vers la base du bras d'essuie-glace) et séparez-le du bras d'essuie-glace.
- Fixez le nouvel essuie-glace sur le bras d'essuie-glace et appuyez pour lemettre en place jusqu'à ce que vous entendiez un clic.

Commandes du conducteur
VOLANT INCLINABLE
Pour déverrouiller la colonne de direction, poussez le levier vers le bas. Lorsque le levier est abaisé, inclinez la colonne de direction à la position de votrechoix.

Tout en maintainant le volant, tirez le levier vers le haut (à sa position initiale) pour verrouiller la colonne de direction en place.


Ne reglez jamais la colonne de direction pendant que conduisez.
ÉCLAIRAGE DU MIROIR DE PARE-SOLEIL (SELON L'ÉQUIPEMENT)
L'éclairage du miroir de courtoisie s'allume lorsque vous levez le volet du miroir.

CONSOLE AU PAVILLON
L'apparance de la console au pavillon de votre vehicule varie selon les options choses à l'achat.
Commandes du conducteur
Compartment de rangement avant et miroir panoramicque (selon l'équipement)
Le compartment de rangement peut etre utilise pour ranger deux paires de lunettes de soleil ou d'autres objets du meme type. Pour ouvrir ce compartment, appuyez sur le bouton de déverrouillage. Le couvercle s'entrouvre alors et peut ensuite etre ouvert complètement.
Le miroir panoramaque monté sur le couvercle permet au conducteur de voir les passagers assis aux places arrêté.


Ce rétroviseur n'est pas conçu pour replacer le viseur normal.

Toit ouvrant transparent à commande à impulsion (selon l'équipement)
Pour ouvrir le toit ouvrant transparent :
- pour ouvrir le toit ouvrant transparent, appuyez brievement sur la partie de la commande de toit;
- pour fermer le toit ouvrant transparent, appuyez sur la partie de la commande et maintenez-la enforcée jusqu'à ce que le toit atteigne la position voulue;
- pour interrompre l'ouverture du toit ouvrant, appuyez sur la commande une seconde fois.

Pour aérer :
- Pour ouvrir le toit ouvrant en position d'aération (lorsque le panneau de verre est fermé), appuyez sur la partie avant de la commande et
Commandes du conducteur
maintenez-la enfoncée. Pour fermer le toit ouvrant lorsqu'il est ouvert en position d'aération, appuyez sur la partie arrière de la touche de commande et maintenez-la enfoncée jusqu'à ce que le toit attigne la position voulue.
- Le toit ouvrant transparent est muni d'un pare-soleil coulissant que vous pouvez ouvrir ou fermer manuellement lorsque le panneau de verre est fermé ou en position d'aération.
Pour fermer le pare-soleil, faites-le glisser vers l'avant.

Ne laissez jamais les enfants manqueeur le toit ouvrant, car ils pourraient se blesser grièvement.
Glaces de custode à commande électrique
Sans toit ouvrant transparent

Avec toit ouvrant transparent

Pour ouvrir les glaces de custode à commande électrique, appuyez sur la partie ▲ de la commande VENT (aération).
Pour fermer les glaces de custode à commande électrique, appuyez sur la partie de la commande VENT.
Commandes du conducteur
Commande du hayon à commande électrique (selon l'équipement)
Sans toit ouvrant transparent

Avec toit ouvrant transparent
Pour ouvrir le hayon à commande électrique, appuyez brievement sur la partie supérieure de la commande du hayon.
Pour fermer le hayon à commande électrique, appuyez de nouveau brievement sur la partie supérieure de la commande du hayon.


Assurez-vous que personne ne se trouve à proximé du hayon avant d'utiliser la commande électrique.
MONTRE
Appuyez sur la touche de droite pour avancer l'heure affichée.
Appuyez sur la touche de gauche pour reculer l'heure affichée.

Commandes du conducteur
PRISE DE COURANT AUXILIAIRE 12V
Les prises de courant sont conçues uniquement pour le branchement d'accessoires. N'y suspendez pas d'accessoire ni de support d'accessoire. L'utilisation inadéquate d'une prise de courant peut provoquer des dommages non couverts par la garantie.
Une prise de courant auxiliaire est située aux pieds du passager, pres du plancher, dans le compartment de la console avant.
Ne branche pas d'accessoires électriques en option dans l'allume-cigares. Utilisez la prise de courant.
N'utilise pas la prise de courant pour actionner I'elément de l'allume-cigares.

L'alimentation maximale disponible à chaque prise de courant dépend de l'intensité du fusible. Par exemple, un fusible de 20 A devrait permettre une alimentation maximale de 240 watts, un fusible de 15 A, une alimentation maximaile de 180 watts et un fusible de 10 A, une alimentation maximaile de 120 watts. Une consommation excédant ces limites peut faire griller le fusible.
Gardez toujours les chapeaux des prises de courant fermés lorsque celles-ci ne sont pas utilisées.
Une seconde prise de courant auxiliaire se trouve derrière le volet du porte-gobelet, à l'arrière de la console centrale. Cette prise de courant est accessible à partir des sièges arrêté.

Commandes du conducteur
Une troisième prise de courant auxiliaire se trouve sur le panneau de custode arrêté droit. Cette prise de courant est accessible à partir du hayon.

GLACES A COMMANDÉ ELECTRIQUE
Lorsque vous fermez les glaces à commande électricque, veillez à ce que rien ne puisse entraver leur fonctionnement et assurez-vous qu'il n'y a pas d'enfants ou d'animaux à proximé de l'ouverture des glaces.
Les commutateurs des glaces à commande électricque situés sur la console centrale sont appelés commandes à pouvoir.
A. Côté conducteur
B. Verrouillage des glaces
C. Côté passager avant
D. Passagers arrirere gauche et droit

Commandes du conducteur
Les illustrations suivantes montrent les commandes cote conducteur :
Fonctionnement normal
- Appuyez (jusqu'au premier cran) sur la partie supérieure de la commande et maintenez celle-ci enforcée pour ouvrir.

Tirez (jusqu'au premier cran) sur la partie supérieure de la commande et maintenez-la dans cette position pour fermer.

L'illustration suivante montre la commande de glace electrique sur les panneaux de garnissage de porte arrriere.

Pour fermer ou ouvrir la glace, appuyez sur la partie supérieure ou inférieure de la commande et maintenez-la enfonnée.
Commande à impulsion pour l'ouverture ou la fermeture de la glace (selon l'équipement)
Cette fonction est disponible uniquement pour la glace du conducteur.
Commandes du conducteur
Fonctionnement de la COMMANDE À IMPULSION POUR L'OUVERTURE :
- appuyez à fond sur la commande jusqu'à second cran et relâchézrapidement. La glace du conducteur s'abaisse complètement. Pour arrêté le mouvement de la glace, appuyez brievement sur l'une des parties de la commande.

Si la commande est placée et maintainue en position de fermeture normale ou à IMPULSION pendant que la glace est en train de s'ouvrir par IMPULSION, la glace s'arrête. Si la commande est maintainue enforcée plus d'une demi-seconde, la glace se referte normalement ou obéit à une IMPULSION DE FERMETURE.
Pour utiliser la COMMANDE À IMPULSION POUR LA FERMETURE :
- tirez à fond sur la commande jusqu'àu second cran et relâchez rapidement. La glace du conducteur se ferme complètement. Pour arrêté le mouvement d'impulsion de fermetre de la glace, appuyez brievement sur l'une des parties de la commande.

Si la commande est enforcée et maintainue en position normale d'ouverture ou en IMPULSION D'OUVERTURE lorsque la glace est en mouvement d'IMPULSION DE FERMETURE, la glace s'arrête. Si la commande est maintainue enforcée plus d'une demi-seconde, la glace s'abaisse normalement ou obéit à une IMPULSION D'OUVERTURE.
Inversion en cas d'obstruction
Lorsque la glace détecte un obstacle en cours de fermeture, elle inverse automatiquement sa course et s'abaisse. C'est ce qu'on appelle « inversion en cas d'obstruction ». Si le contact est coupé (et que la temporisation des accessoires est hors fonction) en cours d'inversion, la glace s'abaisse jusqu'à sa position d'inversion en cas d'obstruction.
Commandes du conducteur
Annulation de la protection en cas d'obstruction
En cours d'inversion, si la commande de la glace est relachée à sa position neutre, puis maintainue à sa position d'impulsion de fermeture dans un délambda de deux secondes après que la glace a atteint sa position d'inversion, la glace remonte, sans protection d'inversion en cas d'obstruction. Si la commande est relachée avant que la glace soit complètement fermée ou que le contact soit coupé (et que la temporisation des accessoires est hors fonction), la glace s'arrête. La neutralisation de la protection est utile lorsque de la glace sur la vitre ou sur les joints d'étanchéité creée une obstruction.
Condamnation des lève-glaces
La condemnation des lève-glaces électriques permet au conducteur d'être le seul à pouvoir commander les lève-glaces arrêté.
Poussez sur la commande pour désactiver les commandes des glaces arrêté. Poussez sur la commande pour réactiver les

commandes des glaces arrêté. Un ressort ramène la commande en position neutre.
Temporisation des accessoires
La fonction de temporisation des accessoires permet d'utiliser la radio, les commandes de glaces et le toit ouvrant transparent jusqu'à dix minutes après avoir coupé le contact ou jusqu'à l'ouverture d'une des portes.
RETROVISEURS
Rétroviseur antiéblouissement à réglage automatique
Votre vehicule est equiped'unretroviseur antiéblouissement a réglage automatique interieur. Ce retroviseur électronique jour-nuit adopte automatiquement une position antireflet lorsqu'une lumière éblouissante frappe sa surface. Que la lumière éblouissante détectee provienne de I'avant ou de I'arriere du vehicule, la surface du retroviseur s'obscurcit pour en attenuer le reflet.
Évitez d'obstruer le champ de détction de la cellule photoélectrique située derrière le rétroviseur, car celui-ci pourrait alors ne pas fonctionner correctement.
Commandes du conducteur
Appuyez sur la touche pour activer ou désactiver le réglage automatique du rétroviseur.
Le rétroviseur reprend sa position normale lorsqu'la boîte de vitesses passée en marche arrière (lorsque le rétroviseur est en fonction), ce qui assure une bonne visibilité vers l'arrière pendant le recul.

Rétroviseurs extérieurs électriques
L'allumage peut se trouver à n'importe qu'elle position lors du réglage des rétroviseurs latéraux à commande électrique.
Pour régler vos rétroviseurs :
- Sélectionnez ↓ pour régler le rétroviseur gauche ou ▷ pour régler le rétroviseur droit.
- Déplacez la commande centrale pour orienter le rétroviseur à la position voulue.
- Revenez à la position centrale pour désactiver la fonction de réglage.

Retroviseurs extérieurs chauffants
Les deux rétroviseurs sont chauffés automatiquement pour éliminer la glace ou la buee lorsque le dégivreur de lunette arriere est mis en fonction.
Ne tentez pas d'éliminer la glace avec un gratoir ou encore, de régler le rétroviseur lorsqu'il est immobilisé par la glace. Cela pourrait endommager le verre et les rétroviseurs.

Commandes du conducteur
Rétroviseurs autoréglables en marche arrière
Les miroirs des rétroviseurs
extérieurs s'inclinent vers le bas
lorsque la marche arrrière (R) est
enclenchée. Consultez la rubrique
Afficheur multimessage du
chapitre Commandes du
conducteur pour activer ou
déactiver cette fonction.

Rétroviseurs-signaux
Lorsque le clignotant est en fonction, la partie inférieure du boîtier de rétroviseur clignote.

Rétroviseurs repliables à commande électrique
Appuyez sur la commande pour replier ou déplier les rétroviseurs extérieurs.
Si les rétroviseurs sont repliés ou dépliés manuellement, appuyez sur la commande pour replier les rétroviseurs extérieurs et attendez un court moment (huit secondes); dépliez ensuite les rétroviseurs à votre convenance.

Prenez les précautions qui s'imposent (par exemple, dans les lave-autos automatiques) pour éviter d'endommager les rétroviseurs.
Commandes du conducteur
PÉDALES À RÉGLAGE ÉLECTRIQUE
Les pédales d'accéléateur et de frein doivent être régées
uniquement lorsque le vehicule est immobilisé et que le levier de vitesse se trouve à la position de stationnement (P).
Appuyez sur la commande à bascule et maintenez-la enforcée pour régler les pédales d'accéléateur et de frein.

- Appuyez sur la partie inférieure de la commande pour ramener les pédales vers vous.
- Appuyez sur la partie supérieure de la commande pour éloigner les pédales de vous.
Le réglage peut se faire sur une distance maximale d'environ 76 mm (3 po).

Ne procédez jamais au réglage des pédales d'accéléateur ou de freinpendant que vos pieds y reposent et que le vehicule est en remèment.
MARCHEPIEDS ESCAMOTABLES A COMMANDE ELECTRIQUE (SELON L'ÉQUIPEMENT)
Les marchepieds escamtables à commande électricque s'actionnent automatiquement à l'ouverture des portes pour faciliter l'accès à l'habitacle de même que la sortie.
Déploissement automatique :
- les marchepieds se déploient à l'ouverture des portes.
Escamotage automatique : - les marchepieds s'escamotent à la fermeture des portes.
Déploiement manuel :
Pour actionner manuellement les marchepieds, consultez la rubrique
Afficheur multimessage dans ce chapitre.

Commandes du conducteur
- Cette fonction permet de déployer les marchepieds pour faciliter l'accès au toit du vehicule.
- Lorsque les marchepieds sont régles manuellement en position déployée ou escamotée, la position de réglage automatique se rétablit lorsque le vehicule roule à plus de 7 km/h (5 mi/h).
Mise en fonction ou hors fonction :
Pour activer ou désactiver la fonction de commande électrique des marchepieds, consultez la rubrique Afficheur multimessage dans ce chapitre.
- Lorsque cette fonction est désactivée, les marchepieds s'escamotent automatiquement, peu importe la position des portes.
- Lorsque cette fonction est activée, les marchepieds s'actionnent immeditatement selon la position des portes.
Inversion en cas d'obstruction :
- Lorsqu'un objet entrave le mouvement des marchepieds, leur course est automatiquement inversée et se poursuit jusqu'au bout dans la direction opposée.
Remarque: Il est possible que les marchepieds fonctionnent plus lentement par temps froid. Par mauvais temps, la boue, la gadoue, le sel et les autres débris routiers peuvent se coincer dans le mecanisme de marchepied et entraîner des bruits indésirables. Dans un tel cas, nettoyez le dessous des marchepieds dans un lave-auto à haute pression.

Par temps extrêmes, une couche de glace excessive peut se former et empêcher les marchepieds de se déployer.
Assurez-vous que les marchepieds ont fini de se déployer avant d'y poser le pied. Remarque : Les marchepieds fonctionneront normalement à nouveau une fois la cause de blocage retiree.

Mettez les marchepieds hors fonction avant de soulever le vehicule ou de placer des objets sous le vehicule. Ne mettez la main entre le marchepied déployé et la carroserie. S'il devait placer, le marchepied pourrait vous blesser.
TÉMOIN DE PROGRAMMATEUR DE VITESSE
Lorsque le programmateur de vitesse est en fonction, vous pouvez conserver une vitesse égale ou supérieure à 48 km/h (30 mi/h) sans avoir à laisser votre pied sur la pédale d'accéléateur. Le programmateur de vitesse ne fonctionne pas à des vittesses inférieures à 48 km/h (30 mi/h).
Commandes du conducteur

N'utilisez pas le programmateur de vitesse en circulation dense ou si vous roulez sur des routes sinueuses, glissantes ou non ues.
Réglage duprogrammateur de vitesse
Pour plus de commodité, les commandes de votre programmeur de vitesse sont situées sur le volant de direction.
- Appuyez sur la touche ON, puis relâchéz-la.
-
Accelérez à la vitesse désirée.
-
Appuyez sur la touche SET+, qui relâchez-la.
- Relâchez la pédale d'accélérateur.
- Le témoin s'allume au tableau de bord.


Remarque :
- La vitesse du vehicule peut varier momentanément lorsque vous roulez sur une pente raide.
- Si la vitesse du vehicule augmente au-delà de la vitesse programmée lorsque vous descendez la pente, serrez les freins pour réduire la vitesse.
- Si la vitesse de votre vehicule chute de plus de 16km/h (10 mi/h) sous la vitesse programmée lorsque vous montez la pente, le programmateur de vitesse se désactivera automatiquement.
Commandes du conducteur
Reprise de la vitesse programmée
Appuyez sur la touche RES, puis relâchéz-la pour ramener automatiquement le vehicule à la vitesse programmée précédemment. La touche RES ne fonctionne pas lorsque la vitesse du vehicule est inférieure à 48 km/h (30 mi/h).

Augmentation de la vitesse avec leprogrammateur de vitesse en fonction
Il existe deux façon de programmer une vitesse supérieure :
- maintenez la touche SET + jusqu'à la vitesse désirée, puis relâchéz-la; ou appuyez sur la touche SET + pour activer la fonction de « réglage instantané ». Appuyez sur cette touche et maintenez-la enforcée pour augmenter la vitesse programmée de 1,6 km/h (1 mi/h) à la fois, puis repêtré jusqu'à la vitesse désirée;

- accélrez à la vitesse désirée au moyen de la pédale d'accéléateur. Lorsque le vehicule atteint la vitesse désirée, appuyez et relâchez la touche SET +.
Réduction de la vitesse avec le programmeur de vitesse en fonction
Il existe deux façon de réduire une vitesse programme:
- maintenez la touche SET - enforcée jusqu'à la vitesse désirée, puis relâchéz-la; ou appuyez sur la touche SET - pour activer la fonction de « réglage instantané ». Appuyez sur cette touche et maintenez-la enforcée pour réduire la vitesse
programmée de 1,6 km/h (1 mi/h) à la fois, puis repêze jusqu'à la vitesse désirée;
- appuyez sur la pédale de frein ou sur la touche CNCL (annuler) jusqu'à ce que la vitesse désirée soit atteinte, puis appuyez sur la touche SET+.


Mise hors fonction du programmeur de vitesse
Il existe deux façon demettre leprogrammateur de vitesse hors fonction:
- appuyez sur la pédale de frein ou sur la touche CNCL (annuler). Ceci n'effacera pas la vitesse programmée précédemment;
- appuyez sur la touche OFF duprogrammateur de vitesse.
Remarque:Lorsque you mettez leprogrammateur de vitesse ou lecommutateur d'allumage horsfonction,la mémoire de voitréprogrammateur de vitesse est effacée.

Commandes du conducteur
COMMANDES DU VOLANT DE DIRECTION
Ces commandes vous permettent d'activer certaines fonctions de la radio et du système de chauffage et climatisation.
Fonctions des commandes audio
Appuyez sur la touche MEDIA pour désir parmi les sources suivantes :
AM.FM1,FM2
- TAPE (lecteur de cassettes)
CD

En mode AM, FM1 ou FM2 :
- appuyez sur MEM pour passer à la station programmée suivant sur la bande de fréquences可以选择.
En mode lecteur de cassettes :
- appuyez sur MEM pour passer à la piece suivante sur la bande.

En mode lecteur de disques compacts:
- appuyez sur MEM pour passer à la piste suivante du disque.
Dans tous les modes :
- appuyez sur la touche VOL + ou - pour régler le volume.

Commandes du conducteur
Bloc de commandes du système de chauffage-climatisation
Appuyez sur la partie + ou - de la touche TEMP (température) pour régler la température.

Appuyez sur la partie + ou - de la touche FAN (ventilateur) pour régler la vitesse du ventilateur.

Commandes de navigation du volant de direction (selon l'équipement)
Ces commandes, si le vehicule en est équipé, vous permettent d'utiliser certaines fonctions de la chaine audio et du système de navigation.
Fonctions des commandes audio
Appuyez sur pour désir parmi les sources suivantes :
AM, FM1, FM2, ou
CD
En mode AM, FM1 ou FM2 :
- appuyez sur la touche NEXT pour passer à la station programmée suivante sur la bande de fréquences chosesie.

Commandes du conducteur
En mode lecteur de disques compacts :
- appuyez sur la touche NEXT pour passer à la piste suivante du CD.
Dans tous les modes :
- appuyez sur la touche VOL + ou - pour régler le volume.

Fonctions des touches de navigation
Appuyez sur la touche VOICE (voix) et maintenez-la enforcée brievement jusqu'à ce que l'icone de guidage vocal s'affiche au guichet du dispositif d'aide à la navigation pour utiliser la fonction de commandes vocales.

Appuyez sur la touche RPT (répéter) pour réentendre les commandes du dispositif d'aide à la navigation.

Commandes du conducteur
Bloc de commandes du système de chauffage-climatisation
Appuyez sur la partie + ou - de la touche TEMP (température) pour régler la température.

SYSTÉME DE COMMANDE SANS FIL HOMELINK®
Le système de commande sans fil HomeLink®,itué sur le pare-soleil du conducteur, est un dispositif pratique qui combine trois télécommandes en une seule. Il peut êtreprogrammé pour retenir les codes de fréquence radio utilisés pour actionner l'ouverture de portes de garage et de portails,les systèmes d'alarme,le verrouillage des portes et le système d'éclairage de la maison ou du bureau.

Lors de la programmation du système de commande HomeLink®, vous devrez faire fonctionner la porte du garage ou du portail.
Pour éviter les risques de blessures ou de dommages, assurez-vous que rien ni personne ne se trouve dans la trajectory de fermeture de la porte.
N'utilise pas le système de commande HomeLink si vous possedez une télécommande pour porte de garage qui n'est pas munie des dispositifs d'arrêt automatique et de marche arrière tels que prescrites par les normes de sécurité fédérales américaines. (Cette recommendation concerne aussi les ouvre-portes de garage fabriqués avant le 1er avril 1982.) Une porte de garage qui n'est pas en mesure de détecter la présence d'un objet pour ensuite s'arrête et faire marche arrière ne répond pas aux normes de sécurité fédérales américaines. Pour obtenir de plus amples renseignements, contactez HomeLink aux coordonnées suivantes: www.homelink.com ou 1 800 355-3515.
Gardez la télécommande originale pour l'utiliser dans d'autres vehicules ou pour d'autres programmations (par exemple, si vous achetez un autre vehicule équipé de la fonction HomeLink®). Pour des raisons de sécurité, il est également recommendé d'effacer la programmation des boutons du système de commande HomeLink® lorsque le vehicule est vendu; consultez à ce sujet la rubrique Programmation de ce chapitre.
Commandes du conducteur
Programmation
Ne programmez pas le système de commande HomeLink® lorsque le vehicule est stationné dans un garage.
Remarque: Sur certains vehicules, il peut etre nécessaire de tourner la clé de contact à la position Accessoires pour proceder à la programmation ou à l'utilisation de la fonction HomeLink. Il est aussi recommandé d'installer une nouvelle pile dans la télécommande du dispositif programme sur le système HomeLink pour proceder à un apprentice plus rapide et précis des signaux.
- Maintenez les deux boutons extérieurs enfoncés et relâchéz-les seulement lorsque le témoin rouge se met à clignoter après vingt secondes. Ne repêtz pas l'étape 1 pour programmer d'autres télécommandes aux deux autres boutons HomeLink®. Ceci effacera les signaux de télécommande déjà programmes dans le système HomeLink®.

-
Placez l'extrémité de votre télécommande portative à une distance d e 2 à 8 c m (1 à 3 p o) d u système de commande HomeLink® (situé sur le pare-soleil), tout en observant le témoin rouge.
-
Appuyez et maintenez enfoncés simultanément le bouton HomeLink et le bouton de la télécommande. Ne relâchez la pression sur les deux boutons qu'après avoir terminé l'étape 4.

Certains portails et certains ouvre-portes de garage peuvent exiger le remplacement de l'etape 3 par la marche à suivre décrite à la rubrique « Ouvre-portail et programmation au Canada »
-
Levoyant rouge se met a clignoter, d'abord lentement, puis rapidement. Relachez les deux boutons lorsque levoyant rouge clignote rapidement.(Leclignotementrapide du temoin indique la reception des signaux de la telecommande.)
-
Enoncez et maintenez enforcé le bouton de la télécommande universelle HomeLink® qui vient d'êtreprogramme et surveillez le témoin rouge. Si le témoin reste allumé, la programmation est finie et le
Commandes du conducteur
dispositif devrait etre activé lorsque le bouton HomeLink est enforcé et relaché.Remarque:Pourprogrammerlesdeuxderniersboutons du systèmeHomeLink,commencceaI'etape2de la rubrique «Programmation»—ne repetez pasI'etape1.
Remarque: Si le témoin rouge clignote rapidement pendant deux secondes et qu'il demeure ensuite allumé, procédez aux étapes 6 à 8 pour compléter la programmation d'un dispositif avec fonction de code tournant.
- Sur le moteur de votre ouvre-porte de garage dans le garage, repérez le bouton « learn » ou « smart » (situé en général pres du fil de l'antenne sur le moteur).
- Enoncez et relâchéz le bouton « learn » ou « smart ». (Le nom et la couleur du bouton peuvent varier, selon le fabricant).
Remarque: Il faut commencer l'etape 8 dans les 30 secondes.
8. Revenez au vehicule et enoncez fermement puis maintenez enforcé pendant deux secondes le bouton HomeLink®. Relâchéz le bouton. Répétez la séquence enforcer/maintenir/relâcher de nouveau, et, suivant la marque de l'ouvre-porte de garage (ou du dispositif équipé d'une fonction de code tournant), répétez cette séquence une troisième fois pour finir la programmation.
La télécommande HomeLink® devrait maintainant commander votre dispositif avec fonction de code tournant. Pour programmer d'autres canaux HomeLink®, commencez par l'objet 2 de la section « Programmation ». Si vous avez des questions ou commentaires, contactez HomeLink sur leur site Web à l'objet www.homelink.com, ou par téléphone, au 1 800 355-3515.
Ouvre-portail et programmation au Canada
Lors de la programmation, vous
telecommande portative peut cesser
d'émettre automatiquement un
signal, ce qui peut ne pas laisser
suffisamment de temps à la
telecommande universelle
HomeLink® pour le recevoir.

Après avoir suivi les étapes 1 et 2
décrites dans la section « Programmation », remplacez l' étape 3 par la procédure suivante :
Remarque : Lors de la programmation d'un ouvre-porte de garage ou ouvre-portail, il est recommendé de débrancher le dispositifpendant la procédure de « programmeation de cycle » pour éviter qu'il surchauffe.
Commandes du conducteur
- Continue de maintainir le bouton HomeLink® enforcé (remarque de l' étape 3 de la section « Programmation ») tout en enforcant et en relachant, toutes les deux secondes (« cycle »), le bouton sur votre télécommande jusqu'à ce que le signal de fréquence soit accepté par le système HomeLink®. Le tímoin rouge se met à clignoter, d'abord lentement, puisrapidement une fois que le système HomeLink® a accepté le signal de fréquence radio.
- passes à l'étape 4 de la section « Programmation ».
Utilisation du système de commande sans fil HomeLink®
Pour commander un dispositif, appuyez et relâchéz le bouton HomeLink® approprié. L'activation du dispositif programme (ouverture de la porte de garage, de l'ouvre-portail, système d'alarme, verrouillage des portes ou système d'éclairage de la maison ou du

bureau, etc.) a lieu. Pour plus de commodité, la télécommande de chaque dispositif peut aussi être utilisée. Si les problèmes de programmation persistent, contactez HomeLink® sur leur site Web à l'adresse www.homelink.com ou par téléphone, au 1 800 355-3515.
Pour effacer la programmation des boutons HomeLink®
Pour effacer les codes des trois canaux programmes (un canal individuel ne peut pas etre efface) :
- maintenez les deux boutons HomeLink® extérieurs enforcés jusqu'à ce que le témoin rouge se mette à clignoter après vingt secondes. Relâchez les deux boutons. Ne maintenez pas les boutons enforcés plus de 30 secondes.

Le système HomeLink® est maintainant en mode d'apprentissage et peut êtreprogrammé en commencerant par l'étape 2 de la section «Programmation »
Commandes du conducteur
Reprogramming d'un seul bouton HomeLink®
Pour programmer un dispositif à un bouton HomeLink® déjà programmé, procédéz comme suit :
- Enforcez et maintenez enforcé le bouton du canal désiré de la télécommande universelle HomeLink®. NE relâchez PAS le bouton.
- Le témoin rouge commence à clignoter après vingt secondes. Sans relâcher le bouton HomeLink®, procédez à l'étape 2 de la section « Programmation »
Pour toute question ou commentaire, contactez HomeLink sur leur site Web à l'adresse www.homelink.com ou par téléphone au 1 800 355-3515.
AFFICHEUR MULTIMessage
Lorsque le contact est etabli à l'allumage, l'afficheur multimessage, situé sur le tableau de bord, surveille constamment les paramétres de fonctionnement
MESSAGE CENTER
WW 888888.8 MI
pour vous communiquer les
renseignements importants relatifs aux circuits de votre vehicule. Vous pouvez désir parmi les fonctions qui seront affichées après une brève tonalité. L'afficheur signale également les anomalies possibles par des messages d'advertissement suivis du détentissement prolongé d'un carillon.
Choix de fonctions
Touche de réinitialisation
Appuyez sur cette touche pourCHOISIR et remetre a zéro les fonctions des menus d'information INFO) et de reglages (SETUP).

Commandes du conducteur
Menu INFO
Cette touche permet d'afficher les paramétres suivants :
- compteur journalier, compteur kilométrique et boussole;
autonomie de carburant; - consommation moyenne de carburant;
- temps écoulé depuis le départ.

Compteur kilométrique et compteur journalier
Consultez la rubrique Indicateurs du chapitre Instruments.
Affichage de la boussole
La direction indiquée par la boussole peut être faissée lorsque vous conduissez à proximé de grands immeubles, de ponts, de lignes à haute tension et d'antennes radio de forte puissance. La lecture de la boussole peut être également modifiée par la présence d'objets magnétiques ou metalliques sur ou dans le vehicule, ou pres de celui-ci.
Dans la plupart des cas, si des circonstances faussen le cap relevé par la boussole, cette dernière se rectifiera d'elle-même après quelques jours de fonctionnement du vehicule en conditions normales. Dans le cas contraire, un étalonnage manuel peut être nécessaire. Consultez la rubrique Réglage de la déclinaison et étalonnage de la boussole.
La plupart des zones géographiques ont un nord magnétique quelque que peu différent du nord apparaisant sur les cartes géographiques. Cette variation est de quatre degrés entre des zones adjacentes et devient substantielle lorsque le vehicule traverse plusieurs zones. Un réglage de la declinaison éliminera cette erreur. Consultez la rubrique Réglage de la declinaison et étalonnage de la boussole.
Commandes du conducteur
Réglage de la declinaison et étalonnage de la boussole
- Détérminer la zone magnétique dans laquelle vous vous trouvez en consultant la carte de déclinaison.
- Tournez le commutateur d'allumage à la position de contact.
- Faites démarrer le moteur.
- Choisissez la fonction « Compass/Odometer » (boussole/compteur kilométrique) du menu d'information. (Ne choisissez pas Trip, DTE, ou AFE.
Aucun affichage ne doit apparaître dans la partie supérieure du guichet).
- Appuyez sur les touches SETUP et RESET (réglage et réinitialisation) et maintenez-les enforcées jusqu'à ce que le réglage courant de la zone (XX) apparaisse au guichet de l'afficheur multimess
- Appuyez sur la touche SETUP à plusieurs reprises jusqu'à ce que le réglage de la zone correspondant à votre situation géographique apparaisse sur l'afficheur
multimessage. La plage des valeurs de zone s'etend de 01 à 15 et revient à 01. - Pour quitter la fonction de réglage de zone, et pour verrouiller la zone de votre choix, appuyez sur la touche RESET puis relâchéz-la.
RESET FOR CAL INFO TO EXIT
Procedez à l'éthalonnage de la boussole dans un endroit bien dégagé, exempt de structures en acier et de lignes à haute tension. Pour obtenir un éthalonnage optimal, éteignez tous les accessoires ELECTriques (système de chauffage-climatisation, essuie-glace, etc.) et assurez-vous que toutes les portes du vehicule sont fermées.
Commandes du conducteur
- Appuyez sur la touche RESET
pour amorcer la fonction
d'etalonnage de la boussole.
- Conduisez lentement le vehicule
en rond (a une vitesse inférieure a
5 km/h [3 mi/h]) jusqu'à ce que la mention « CIRCLE SLOWLY TO
CALIBRATE » (tournez lentement en rond pour étalonnner) soit remplaçée par la mention « CALIBRATION COMPLETED » (étalonnage terminé). Cette manœuvre peut nécessiter jusqu'à cinq tours complets.
- L'étaconnage de la boussole est
terminé.
CIRCLE SLOWLY
TO CALIBRATE
CALIBRATION
COMPLETED
Fonction d'affichage de la consommation moyenne de carburant (AFE)
Cette fonction du menu INFO
permét d'afficher la consommation
moyenne en litres aux
100 kilomètres ou en milles au
gallon (US).
XX BVE MPG
NU 000000.0 MI
Si vous calculez votre consommation
moyenne en divisant le nombre de litres consommés aux 100 kilometres
de conduite (milles de conduite par gallon US consommé), le résultat
obtenu peut etre differenct de la consommation moyenne affichee pour
les raisons suivantes :
- votre vehicule n'était pas sur une surface parfaitement plane lors du remplissement;
- les seuils d'arrêt automatique des distributeurs d'essence différent d'une station-service à l'autre;
- les procédures varient d'un replissage à l'autre;
-
les valeurs affichées sont arrondies au dixieme de litre ou de gallon US.
-
Pour obtenir une consommation moyenne stabilisée, faites rouler votre vehicule sur une distance d'au moins 8 km (5 mi) avec leprogrammateur de vitesse en fonction.
- Notez la consommation moyenne sur autoroute pour pouvoir vous y référer plus tard.
Commandes du conducteur
Pour assurer la précision du calcul de la consommation sur autoroute, il est important d'appuyer sur la touche RESET après la mise en fonction duprogrammateur de vitesse.
Temps écoulé depuis le départ
Choisissez cette fonction au menu INFO pour afficher un chronomètre.
Pour utiliser la fonction « Temps écoué depuis le départ », procédez comme suit :
TIME XX:XX:XX
NU 000000.0M
- Appuyez sur le bouton RESET (réinitialisation) et relâchez-le pourmettre le chronomètre en marche.
- Appuyez sur le bouton RESET et relâchéz-le pour arrêté temporairement le chronomètre.
- Appuyez et maintenez le bouton RESET enfoncé pendant deux secondes pour réinitialiser le chronomètre.
Autonomie de carburant (DTE)
La selection de cette fonction dans le menu INFO vous indique le nombre approximatif de kilometres (milles) que vous vehicule peut parcourir avec le carburant qui reste dans le réservoir, dans des
XXX MILES TO E NJ 000000.0 MI
conditions normales de conduite. Assurez-vous de tourner le commutateur d'allumage à la position Arrêt lorsque vous faites le plein afin de permettre à cette fonction de détecter correctement le carburant ajouté.
La mention LOW FUEL LEVEL (bas niveau de carburant) est affichée par la fonction DTE (distance avant panne sèche) et un signal sonore se fait entendre pendant une seconde lorsque la contenance du réservoir vous permet de parcourir encore environ 80 km (50 mi). Si cet averissement est réinitialisé, la mention et le signal sonore se rétablissant dans un-delai de dix minutes.
La distance avant une panne sèche est calculée à l'aide de la consommation de carburant moyen courante, basée sur un historique de conduite récent de 800 km (500 mi). Cette valeur n'est pas la même que la consommation moyen de carburant affichée. La consommation de carburant moyen courante est réinitialisée à la valeur par défaut établie à l'usine si la batterie est débranchée.
Commandes du conducteur
Menu de réglages (SETUP)
Appuyez sur cette touche pour afficher les réglages suivants :
- verification des circuits;
- unités métriques ou anglo-saxonnés;
- verrouillage automatique;
recul automatique du siege à l'entrée et à la sortie; - REVERSE MIRRORS (réroviseurs autoréglables en marche arrêté);
- temporisation de la commande automatique des phares;
- hayon à commande électrique (selon l'équipement);
- marchepieds escamtables à commande électrique (selon l'équipment);
- langue.

Serrures à verrouillage automatique
Cette fonction verrouille automatiquement toutes les portes du vehicule lorsqu'un rapport de la boîte de vitesses est engagé et met le vehicule en mouvement.
- À partir de la commande SETUP, affichez la position de réglage courant dans le but demettre en fonction ou hors fonction le verrouillage automatique des portes
AUTO LOCKS
- Appuyez sur la touche RESET pour activer ou désactiver les serrures à verrouillage automatique.
Recul automatique du siège à l'entrée et à la sortie
Cette fonction déplace automatiquement le siège conducteur vers l'arrête pour faciliter la sortie du vehicule.
- À partir de la commande SETUP, affichez la position de réglage courant dans le but demettre en fonction ou hors fonction le recul automatique du siège à l'entrée et à la sortie.
ERSY EXIT SERT
Commandes du conducteur
- Appuyez sur la touche RESET pour activer ou désactiver le recul automatique du siècle à l'entrée et à la sortie.
REVERSE MIRRORS (retroviseurs autoreglables en marche arriere)
Cette fonction fait basculer les miroirs des rétroviseurs extérieurs vers le bas lorsqu'la marche arrrière (R) est enclenchée.
- À partir de la commande SETUP, affichez la position de réglage courant dans le but de mettre en fonction ou hors fonction les rétroviseurs autoréglables en marche arrière.
REVERSE MIRROR ON
- Appuyez sur la touche RESET pourmettre en fonction ou hors fonction les retroviseurs autorégables en marche arriere.
Temporisation de la commande automatique des phares
Cette fonction permet de garder les phares allumés jusqu'à trois minutes suivant la coupure du contact.
- À partir de la commande SETUP, affichez la position de réglage courant dans le but de mettre en fonction ou hors fonction la temporisation de la commande automatique des phares.
AUTOLAMP DELRY = XXX SEC
- Appuyez sur la touche RESET pourCHOISIR une nouvelle durée de temporisation de la commande automatique des phares.
Sonar de recul
Le sonar de recul déclenché un signal sonore pour avertir le conducteur de la présence d'un obstacle près du pare-chocs arrêté lorsque la marche arrière (R) est enclenchée.
- À partir de la commande SETUP, affichez la position de réglage courant dans le but demettre le sonar de recul en fonction ou hors fonction.
PARK ASSIST
- Appuyez sur la touche RESET pourmettre en fonction ou hors fonction les retroviseurs autorégiables en marche arriere.
Commandes du conducteur
Hayon à commande électrique (selon l'équipement)
Cette fonction permet d'ouvrir et de refermer le hayon électriquement.
- À partir de la commande SETUP, affichez la position de réglage courant dans le but de mettre en fonction ou hors fonction la commande électrique du hayon.
POWER LIFTGATE ON
- Appuyez sur la touche RESET pourmettre en fonction ou hors fonction le hayon a commande electrique.
Marchepieds escamtables à commande électrique (selon l'équipement)
Cette fonction permet de déployer ou d'escaloter les marchepieds à l'ouverture ou à la fermetre d'une des portes du vehicule.
- À partir de la commande SETUP, affichez la position de réglage courant dans le but de mettre en fonction ou hors fonction les marchepieds escamtables à commande électrique.
RUNNING BOARDS ON>OFF
- Appuyez sur la touche RESET pourmettre en fonction ou hors fonction les marchepieds escamtables a commande electrique.
La mention « RUNNING BOARDS MANUAL » (commande manuelle des marchepieds) s'affiche lorsque la fonction est désactivée.
- À partir de la commande SETUP, cette fonction permet d'afficher le mode courant.
RUNNING BOARDS
- Appuyez sur la touche RESET pour déployer manuellement les marchepieds escamotables à commande électrique (position OUT) lorsque les portes du vehicule sont fermées. Lorsque la position IN (escamotée) est selectionnée, le fonctionnement automatique des marchepieds est rétabli.
Commandes du conducteur
Langue
- Choisissez cette fonction au menu SETUP pour voir la langue d'affichage courante.
- Vous pouvez faire défilier à l'affichage les可以选择 de langues disponibles en appuyant sur la touche RESET.
- Appuyez sur la touche RESET et maintenez-la enforcée pourCHOISIR une des langues.
SET TO ENGLISH
Unités métriques ou anglo-saxonnés
- Choisissez cette fonction au menu SETUP pour afficher les unités utilisées.
- Appuyez sur la touche RESET pour alterner entre les unités métriques et anglo-saxonnés.
UNITS
Vérification des systèmes
Lorsque you choisissez cette fonction au menu SETUP, l'afficheur multimessage montre tour à tour à l'écran chaque circuit surveillé. Pour chacun de ces circuits, l'afficheur
multimessage indique pendant trois secondes soit le message de bon fonctionnement « OK » soit un message d'advertissement.
Une pression sur la touche RESET provoque l'affichage de chacun des circuits surveillés.
Les messages de vérification des circuits sont affichés dans l'ordre suivant :
- FUEL LEVEL (niveau d'essence)
- WASHER FLUID LEVEL (niveau de lave-glace)
- ENGINE TEMP (température du moteur)
Commandes du conducteur
- ADVANCETRAC (dispositif antilacet AdvanceTrac)
- OIL PRESSURE (pression de l'huile moteur)
- TIRE PRESSURE SYSTEM (système de surveillance de la pression des pneus)
- BRAKE FLUID LEVEL (niveau liquide de freins)
- CHARCHING SYSTEM (circuit de charge)
- SUSPENSION
Messages d'ajretissement
Les messages d'advertissement vous informant de la possibilité de problèmes ou d'anomalies dans le fonctionnement des circuits de votre vehicule.
Dans le cas où plusieurs messages d'advertissement s'appliqueraient en même temps, l'afficheur multimessage les affichera à tour de role durant quatre secondes chacun.
S'il n'existe aucun autre avertissement, l'afficheur multimessage indique la dernière fonction可以选择. Cette caractéristique vous permet d'utiliser toutes les ressources de l'afficheur multimessage après avoir pris connaissance de l'rapidement et l'avoir effacé au moyen de la touche RESET.
Les messages d'advertissement effacés sont classés en trois catégories :
- certains sont affichés de nouveau toutes les minutes à partir de leur effacement;
- certains sont affichés de nouveau après dix minutes;
- certains ne sont affichés de nouveau qu'une fois que le contact à l'allumage a été coupé puis rétabli.
Il s'agit d'un rappel que les conditions qui ont provoqué la mise en garde existent toujours.
| Affichage d'advertissement Fréquence d'affichage |
| CHECK PARK ASSIST Ce message ne devait-il d'ajustement s'affiche lorsque la marche arrêté (R) est enclenchée. |
| ADVTRAC ON Ce message s'affichtheendant quatre secondes. |
| ADVTRAC OFF |
| POWER LIFTGATE OFF |
Commandes du conducteur
| Affichage d'ajretissement Fréquence d'affichage | |
| DOOR AJAR Cet avertissement est réaffché après dix minutes. | |
| LIFTGATE AJAR | |
| WARNING-TIRE VERY LOW | |
| LOW FUEL LEVEL | |
| CHECK CHARGING SYSTEM | |
| LOW BRAKE FLUID LEVEL | |
| LOW OIL PRESSURE | |
| CHECK ENGINE TEMPERATURE | |
| REDUCED ENGINE POWER | |
| STOP ENGINE SAFELY | |
| CHECK TIRE PRESSURE Cet avertissement est réaffché lorsque le contact a été coupé et rétabli. | |
| TIRE PRESSURE SYSTEM FAULT | |
| TIRE PRESSURE SENSOR FAULT | |
| LOW WASHER FLUID LEVEL | |
| CHECK ADVTRAC | |
| ADVTRAC OFF T/C ON | |
| CHECK SUSPENSION | |
| SUSPENSION SWITCHED OFF | |
| CHECK FUEL CAP | |
CHECK PARK ASSIST (verifier le sonar de recul). Ce message s'affiche lorsque la marche arrête (R) est enclenchée.
PRNDL ERROR NO PARK ASSIST (erreur prndl, sonar de recul inopérant). Ce message s'affiche lorsque la marche arrêté (R) est enclenchée et que le sonar de recul est hors fonction. Consultez la rubrique Sonar de recul dans ce chapitre pour la mise en fonction.
ADVTRAC ON (AdvanceTrac en fonction). Ce message s'affiche lorsque le système AdvanceTrac est en fonction.
ADVTRAC OFF (AdvanceTrac hors fonction). Ce message s'affiche lorsque le système AdvanceTrac19 est hors fonction.
Commandes du conducteur
POWER LIFTGATE OFF (hayon à commande électrique hors fonction). Ce message s'affiche lorsque le hayon à commande électrique est hors fonction.
DOOR AJAR (porte mal fermée). Ce message s'affiche lorsqu'une des portes n'est pas complètement fermée.
LIFTGATE AJAR (hayon ouvert). Ce message s'affiche lorsque le hayon ou la glace de hayon est mal fermé.
CHECK ENGINE TEMPERATURE (température moteur elevée).
Ce message s'affiche lorsque le liquide de refroidissement du moteur surchauffe. Arrêtez le vehicule des qu'il est possible et prudent de le faire, foucez le contact et laissez refroidir le moteur. Vérifiez le liquide de refroidissement et son niveau. Consultez la rubrique Liquide de refroidissement du moteur du chapitre Entretien et caractéristiques. Si l'avertissement reste affiché ou apparait de nouveau, communique avec votre concessionnaire dans les plus brefs déliés.
REDUCED ENGINE POWER (puissance moteur réduite). Ce message s'affiche lorsque le moteur surchauffe. Arrêtez le vehicule des qu'il est possible et prudent de le faire et coupez le contact. Si l'avertissement reste affché ou apparait de nouveau, communique avec votre concessionnaire dans les plus brefs déliés.
STOP ENGINE SAFELY (arrêté le moteur de façon sécuritaire). Ce message s'affiche lorsque le moteur surchauffe. Arrêtez le vehicule dés qu'il est possible et prudent de le faire et coupez le contact. Si l'avertissement reste affché ou apparait de nouveau, communiquez avec votre concessionnaire dans les plus brefs déliés.
WARNING-TIRE VERY LOW (avertissement - très BASSE pression des pneus). Ce message s'affiche lorsque la pression d'un ou de plusieurs des pneus est très BASse. Lorsque cet avertissement est affché, un carillon aver剌seeur retentit pour vous rappeler d'arreter le vehicule des qu'il est possible et prudent de le faire. Verifiez alors la pression des pneus, ainsi que la presence de fuites d'air ou de dommages. Consultez la rubrique Entretien des pneus du chapitre Entretien et caractéristiques.
TIRE PRESSURE SYSTEM FAULT (anomalie du système de surveillance de la pression des pneus). Ce message s'affiche lorsque le système de surveillance de la pression des pneus ne fonctionne pas correctement. Si l'avertissement reste affché ou apparait de nouveau, faites vérifier le système par votre concessionnaire.
CHECK TIRE PRESSURE (verifier la pression des pneus). Ce message s'affiche lorsque la pression d'un des pneus est bajo. Consultez
Commandes du conducteur
la rubrique Verification de la pression de gonflage des pneus du chapitre Entretien et caractéristiques.
TIRE PRESSURE SENSOR FAULT (anomalie de capteur du système de surveillance de la pression des pneus). Ce message s'affiche lorsqu'un capteur de pression des pneus ne fonctionne pas correctement. Si l'avertissement reste affiché ou apparait de nouveau, faites vérifier le système par votre concessionnaire.
LOW FUEL LEVEL (niveau d'essence bas). Ce message s'affiche pour indiquer que le niveau de carburant est bas.
CHECK CHARGING SYSTEM (verifier circuit de charge). Ce message s'affiche lorsque le circuit de charge de la batterie ne fournit pas la tension voulue. Si vous faites fonctionner des accessoires electriques lorsque le moteur tourne au ralenti à bas régime, éteignez le maximum d'accessoires le plus rapidement possible. Si l'avertissement ne disparait pas ou s'affiche alors que le moteur tourne à son régime normal, faites vérifier le plus tout possible le circuit electrique de votre vehicule.
LOW BRAKE FLUID LEVEL (niveau de liquide de freins bas). Ce message indique que le niveau de liquide de frein est bas et que le circuit de freinage doit être inspecté immédiatement. Consultez la rubrique Vérification et ajout de liquide de frein du chapitre Entretien et caractéristiques.
LOW OIL PRESSURE (pression d'huile basse). Ce message s'affiche lorsque la pression d'huile moteur est basse. Si cet avertissement s'affiche, vérifie le niveau d'huile moteur. Consultez la rubrique Huile moteur dans le chapitre Entretien et caractéristiques pour obtenir des renseignements sur l'ajout d'huile moteur. Si le niveau d'huile moteur est ajustat et que le message d'advertissement persiste, coupez le contact des que possible et renseignez-vous après de votre établissement concessionnaire à ce propos.
LOW WASHER FLUID LEVEL (niveau de lave-glace bas). Ce message indique que le réserve de liquide de lave-glace est vide aux trois quarts. Vérifie le niveau du liquide de lave-glace. Consultez la rubrique Liquide de lave-glace du chapitre Entretien et caractéristiques.
CHECK ADVTRAC (verifier le dispositif antilacet
AdvanceTrac). Ce message s'affiche en cas d'anomalie du dispositif antilacet AdvanceTrac. Si ce message s'affiche à l'écran, le dispositif antilacet AdvanceTrac ne fonctionnera qu'en partie. Si cet averissement persiste pendant que le moteur tourne, faites réparer votre vehicule le
Commandes du conducteur
plus tout possible par votre concessionnaire. Pour obtenir de plus amples renseignements, consultez la rubrique Dispositif antilacet AdvanceTrac du chapitre Conduite.
ADVTRAC OFF T/C ON (AdvanceTrac hors fonction Control Trac en fonction). Ce message s'affiche sur les vehicules 4x4 seulement lorsque le mode 4 roues motrices de gamme basse est selectionné. Dans ce mode, la partie antilacet du dispositif AdvanceTrac50 est neutralisée, mais la fonction d'amélioration de l'adhérence demeure active. Pour obtenir de plus amples renseignements, consultez la rubrique Dispositif antilacet AdvanceTrac50 du chapitre Conduite.
CHECK SUSPENSION (verifier la suspension). Ce message s'affiche lorsque la suspension pneumatique ne fonctionne pas correctement. Si ce message s'affiche lorsque vous conduisez, arrêtez le vehicule des qu'il est prudent de le faire. Pour obtenir de plus amples renseignements, consultez la rubrique Suspension pneumatique du chapitre Conduite.
SUSPENSION SWITCHED OFF (suspension hors fonction). Ce message s'affiche lorsque l'interrupteur de la suspension pneumatique est hors fonction (OFF). Pour obtenir de plus amples renseignements, consultez la rubrique Suspension pneumatique du chapitre Conduite.
CHECK FUEL CAP (verifier le bouchon du réservoir de carburant). Ce message s'affiche lorsque le bouchon du réservoir de carburant n'est pas correctement installé. Vérifiez le bouchon du réservoir de carburant et reposez-le convenablement au besoin. Consultez la rubrique Bouchon du réservoir de carburant du chapitre Entretien et caractéristiques.
ERREURS DONNÉES. Ces messages indiquent la présence d'une anomalie de communication entre les divers modules électroniques du vehicule :
FUEL COMPUTER (ordinateur de voyage);
- CHARGING SYSTEM (circuit de charge);
- DOOR SENSOR (capteur de porte);
- WASHER FLUID (liquide de lave-glace);
- BRAKE FLUID (liquide de frein);
- COMPASS (boussole);
OUTSIDE TEMPERATURE (température extérieure);
- ENGINE SENSOR (capteur du moteur).
Consultez votre concessionnaireddsque possible sicas messages apparaissentregulierement.
Commandes du conducteur
CONSOLE CENTRALE
La console centrale de votre vehicule peut composer plusieurs caractéristiques utiles. Celles-ci comprendnent notamment :
- un compartment de rangement;
des portegobelets; - un range-monnaie;
- un support pour boite de mouchoirs;
des commandes audio à l'arrête; - une prise de courant.

- Ne placez que des gobelets en matière souple dans le porte-gobelet. Les objets durs peuvent provoquer des blessures, sds'accident.
Utilisation d'un téléphone cellulaire
L'utilisation des équipements de communication mobile dans le cadre des activités personnelles et commerciales a augmenté de façon significative. Toutefois, les conducteurs ne doivent pasmettre leur sécurité et celle des autres en jeu lorsqu'ilsutilisentde telsappareils.Ces appeareils peuvent être très avantageux du point de vue de la sécurité personnelle lorsqu'ils sont utilisés judicieusement, plus particulièrement en situation d'urgence.La sécurité doit être une priorite lors de l'utilisation de ces équipements de communication mobile afin de ne pas annuler les avantages qu'ilspresentent.
Les équipements de communication mobile complrennent, mais sans s'y limiter, les téléphones cellulaires, les télévertisseurs, les dispositifs de courriel portables, les systèmes de communication à l'intérieur du vehicule, les dispositifs télématiques et les radios bidirectionnelles portables.

La principale responsabilité du conducteur est de conduire son vehicule prudemment. La chose la plus importante à faire pour les accidents est d'éviter les distractions et de porter attention attention à la route. Attendez de vous trouver dans unoit où vous pouvez utiliser ces différents équipements de communication mobile en toute sécurité.
Commandes du conducteur
\section*{Caracteristiques de la console centrale arrêté (selon l'équipement)}
La console centrale arrêté offre les caractéristiques suivantes :
- compartment de rangement
- porte-gobelets
TAPIS DE SOL À FIXATION
Placez le tapis de sol du conducteur sur le plancher, avec l'oeillet sur l'extrémité pointue du goujon de fixation, et tournez-le vers l'avant pour le fixer. Assurez-vous que le tapis de sol n'entrave pas le fonctionnement des pédales d'accéléateur et de frein. Pour enlever le tapis de sol, effectuez les mêmes opérations dans l'ordre inverse.

HAYON A COMMANDE ÉLECTRIQUE (SELON L'ÉQUIPEMENT)
Le hayon peut être actionné de diverses façon :
au moyen du bouton de la console au pavillon;
au moyen du bouton de la télécommande;
- au moyen de la poignée extérieure du hayon.
Pour pouvoir actionner le hayon au moyen du bouton de la console au pavillon ou de celui de la télécommande, il faut que la boîte de vitesses se trouve en position de stationnement (P).

AVERTISSEMENT: Assurez-vous que personne ne se trouve à proximé du hayon avant d'utiliser la commande électrique.

Gardez les clés hors de portée des enfants. Ne laissez pas les enfants jouer à proximé d'un hayon à commande électrique et ou en mouvement.
N'ouvre pas le hayon dans un garage ou un local dont le plafond est bas, car il risquerait d'être endommagé enheitant le plafond.
Commandes du conducteur
Pour ouvrir le hayon à partir de la console au pavillon :
Consultez la rubrique Commandes au pavillon du present chapitre.
Pour ouvrir le hayon à partir de la télécommande :
Consultez la rubrique Systeme d'entrée sans clé à télécommande du chapitre Serrures et sécurité.
Pour ouvrir le hayon au moyen de la poignée de hayon extérieure (déclenchement manuel):
- Pour ouvrir le hayon, déverrouillez-le à l'aide de la télécommande ou de la commande de déverrouillage du hayon.

- Tirez sur la poignée de hayon puis relâchez-la pour activer la commande électrique.
Remarque: Si le hayon est tiré vers le haut après avoir été désencléché, la fonction de détction d'obstacles peut s'activer etmettre hors fonction la commande électrique. Pour un rendement optimal, après avoir relâché la poignée, laissez le système électrique ouvrir le hayon.
- Pour referrer le hayon, tirez-le vers le bas de quelques centimétres pour activer la commande électrique. Si le hayon est réfermé trop rapidement ou sur plus de quelques centimétres, la fonction de détéction d'obstacles peut s'activer etmettre hors fonction la commande électrique.
Remarque : Vous doivent attendre deux secondes après l'ouverture avant de commencer à referrer manuellement le hayon à commande électrique.
Detection d'obstacles
Le hayon à commande électrique est équipé d'un système de détction d'obstacles.
Le système est concu pour inverser sa course (jusqu'à pleine ouverture) s'il rencontres un obstacle pendant qu'il se referme. Une fois l'obstacle retire, le hayon peut être reféré au moyen du dispositif électrique.
Le système est concu pour inverser sa course s'il rencontre un obstacle pendant qu'il s'ouvre. Si le hayon s'arrête avant d'avoir atteint la moitié de sa course, vous devrez le reférer et l'enclencher manuellement. Son fonctionnement reviendra à la normale.
Commandes du conducteur
Réinitialisation du hayon à commande électrique
Il est possible que le hayon à commande électrique ne fonctionne pas dans les cas suivants : Dans chacun de ces cas, le hayon doit être réinitialisé.
- si la tension est trop bajo ou si la batterie est déchargeé;
- si la batterie est débranchée;
- si le hayon est demeure ouvert ou en position partiellement verrouillé pendant plus de six heures;
Dans ce cas :
- Fermez et enclenchez le hayon manuellement.
- Ouvrez le hayon electriquement au moyen de la télécommande ou du bouton de la console au pavillon.
- Une fois le hayon complètement ouvert, refermez-le au moyen de la télécommande ou du bouton de la console au pavillon.
Remarque: Si le hayon à commande électrique est mis hors fonction (OFF) dans l'afficheur multimessage, le système ne peut pas être activé à l'aide des commandes ou de la poignée. Le système doit être mis en fonction (ON) pour assurer le fonctionnement électrique.
Avertissement de hayon ouvert
Si la glace de hayon ou le hayon ne sont pas bien fermés, le message « LIFTGATE AJAR » (hayon ouvert) s'affiche au tableau de bord. Si ceci se produit, vérifie si la glace de hayon et le hayon sont tous deux bien fermés.

Fermez bien le hayon afin d'éviter que les gaz d'échéppement pénétre dans l'habitacle Si vous devez conduire avec le hayon, activer les bouches d'aération pour permettre à l'air frais sur dans le vehicule.
Commandes du conducteur
GALERIE PORTE-BAGAGES
La traverse arrière peut etre reglee selon la taille de I'objet a transporter. La traverser avant, quant a elle, ne peut etre deplacee.
Pour régler la traverse, procédez comme suit :
- Desserrez les vis molettes à chaque extrémité de la travers arrête.
- Gillesz la traverse à l'emplacement voulu.
- Reserrez les vis moletées à chaque extrémité de la travers.

Chargez les bagages sur la traverse avant et ajustez la traverse arrriere au besoin.
- Ne placez pas plus de 90,7 kg (200 lb) de bagages si le poids repose sur les traverses.
- Ne dépassez pas 68kg (150 lb) si la charge est placée directement sur le toit.
Serrures et sécurité
CLÉS
La clé fonctionne dans toutes les serrures du vehicule. En cas de perte, des clés de rechange sont disponibles chez vous concessionnaire.
Vous devriez toujours conserver une deuxième clé avec vous, dans un endroit sur, pour pouvoir l'utiliser en cas d'urgence.
Consultez la rubrique Systeme antidémarrage SecuriLockTM pour obtenir de plus amples renseignements.
SERRURESÀCOMMANDEÉLECTRIQUE
Si la porte ne se déverrouille pas alors que vous appuyez sur la commande, consultez la rubrique Fonction de désactivation du verrouillage électrique des portes de la section Systeme d'entrée sans clé du present chapitre.
Appuyez sur cette commande pour déverrouiller toutes les portes.

Appuyez sur cette commande pour verrouiller toutes les portes.

Sécurité enfants
Lorsque ces verrous sont en fonction, les portes arrirere ne peuvent etre ouvertes de I'intérieur. Elles peuvent cependant etre ouvertes de I'extérieur si elles ne sont pas verrouillées.
Les verrous sécurité enfants se trouvent sur le rebord arriere des portes arriere. Ils doivent etre activés séparément. Le fait d'activer le verrou d'une porte n'activera pas automatiquement celui de I'autre.

Déplacez la commande vers le haut pour activer le verrou sécurité enfants. Déplacez-la vers le bas pour désactiver le verrou sécurité enfants.
SYTÉME D'ENTREE SANS CLE À TÉLECOMMANDE
Ce dispositif est conforme aux normes de la section 15 des règlements de la FCC des États-Unis et aux normes RS-210 d'Industrie Canada. Son fonctionnement est soumis aux deux conditions suivantes : 1) ce dispositif ne doit pas causeur d'interférences nuisibles, et 2) il doit accepter toutes les interférences, même celles qui pouraient l'activer de façon inopportune.
Tout changement apporté au dispositif sans l'approbation expresse des autorités compétentes peut annuler l'autorisation de l'utiliser.
Le système d'entrée sans clé à télécommande vous permet de verrouiller ou de déverrouiller toutes les portes et le hayon, et d'ouvrir la glace du hayon sans avoir recours à une clé.
La fonction de verrouillage et de déverrouillage de l'entrée sans clé à télécommande fonctionne dans toutes les positions du commutateur d'allumage. Les fonctions de glace du hayon de la télécommande fonctionnement tant que la vitesse du vehicule ne dépasse pas 5km / h (3mi / h) . La fonction de détresse fonctionne lorsque la clé de contact se trouve en position Arrêt ou Accessoires.
En cas d'anomalie du système d'entrée sans clé de votre vehicule, assurez-vous d'apporter TOUTES les télécommandes chez votre concessionnaire pour que le problème puisse y être diagnóstique.
Serrures et sécurité
Déverrouillage des portes et du hayon
Appuyez sur cette touche pour déverrouiller la porte du conducteur. L'éclairage interieur s'allume lorsque le contact est coupé.
- Telecommande à quatre touches

- Telecommande à cinq touches

Appuyez une seconde fois sur la touche dans les trois secondes qui suivent pour déverrouiller toutes les portes et le hayon.
Verrouillage des portes et du hayon
Appuyez sur cette touche pour verrouiller toutes les portes et le hayon.
Appuyez une deuxieme fois sur la touche dans les trois secondes qui suivent; l'advertisseur sonore retenant pour confirmer la fermeture et le verrouillage de toutes les portes.
Serrures et sécurité
- Telekommande à quatre touches

- Telecommande à cinq touches

Si I'une des portes ou le hayon n'est pas bien fermé, l'advertisseur sonore retentit rapidement deux fois pour vous rappeler de tout bien fermer.
Déverrouillage de la glace du hayon
Pour déverrouiller la glace du hayon, appuyez sur cette touche.
- Telekommande à quatre touches

Serrures et sécurité
- Télécommande à cinq touches

Ouverture du hayon à commande électrique (selon l'équipement)
Appuyez deux fois sur la touche pour déverrouiller complètement le hayon et l'ouvrir.


Assurez-vous que personne ne se trouve à proximé du hayon avant d'utiliser la commande électrique.
Pour abaisser le hayon complètement et le verrouiller, appuyez deux fois sur la touche.
Si le hayon s'arrête à mi-chemin, c'est peut-être parce qu'un obstacle a été détecté. Dans un tel cas, assurez-vous que la zone de débutment du hayon est libre de toute obstruction et réinitialisez la fonction de commande électrique en fermant le hayon manuellement. Son fonctionnement reviendra à la normale.

Fermez bien le hayon afin d'éviter que les gaz d'échéappement ne pêntrent dans l'habitatcle et que les passagers et les bagages ne penta du vehicule. Si vous devez conduire avec le hayon ouvert,tz les bouches d'aération pour permettre à l'air frais d'entrer dans vehicule.
Serrures et sécurité
Déclenchement de l'alarme de détresse

Appuyez sur cette touche pour déclencher l'alarme.
L'alarme de détresse personnelle a pour effet demettre l'avertisseur sonore et les feu des positions sous tension et hors tension selon un cycle.
- Telekommande à quatre touches

- Telecommande à cinq touches

Pour désactiver l'alarme, appuyez de nouveau sur la touche ou place le commutateur d'allumage en position Contact ou Accessoires.
Fonction de rappel des réglages méorisés
La télécommande d'entrée sans clé permet également de commander la fonction de rappel des réglages méorisés.
Appuyez sur la touche une fois pour déverrouiller la porte côte conducteur. En appuyant sur la touche, vous pourrez déplacer automatiquement le siege, les rétroviseurs et les pédales réglables à la position méorisée désirée (laquelle correspond à la télécommande en cours d'utilisation).
Serrures et sécurité
- Telekommande à quatre touches

- Telecommande à cinq touches

Mise en service de la fonction de rappel des réglages méorisés
Pour activer cette fonction, procedez comme suit :
- Placez le siège, le rétroviseur et les pédales régibles à la position de votrechoix.
- Appuyez sur la touche SET située sur le panneau de la porte du conducteur.
- Dans les cinq secondes qui suivent, appuyez sur l'une des touches de la télécommande, puis appuyez sur la touche 1 ou 2 sur le panneau de la porte du conducteur pour memoriser ce réglage à associer aux positions Conducteur 1 ou Conducteur 2.
- Repetez au besoin ces opérations pour une autre télécommande.
Désactivation du réglage de siège méorisé
Pour désactiver cette fonction, procédez comme suit :
- Appuyez sur la touche SET située sur le panneau de la porte du conducteur.
- Dans les cinq secondes qui suivient, appuyez sur une touche de la télécommande que vous désirez désactiver, puis appuyez sur la touche SET du panneau de la porte cote conducteur.

- Répétez au besoin ces opérations pour une autre télécommande.
Remplacement de la pile
La télécommande d'entrée sans clé est alimentée par une pile plate au lithium CR2032 de 3 volts ou par une pile équivalente. La portée normale de votre télécommande est d'environ 10 metres (33 pieds). Une réduction de portée de la télécommande peut être occasionnée par :
- les conditions atmosphériques;
- la proximé d'une station émettrice de radio;
- la présence de structures à proximé du vehicule;
- la présence d'autres vehicules stationnés à proximé du-vous.
Procedez comme suit pour remplacer la pile :
- Engagez une piece de monnaie mince entre les deux moitiés du boîtier près de l'anneau porte-clés. NE RETIREZ PAS LE COUVERCLE EN CAOUTCHOUÇ N I LE CIRCUIT IMPRIME DU BOÀTIER AVANT DE LA TÉLÉCOMMANDE.

Serrures et sécurité
- N'essuyez pas laGRAISSES des bornes de la pile sur la surface arriere du circuit imprimé.

- Retirez la pile.
- Installez la pile neuve. Consultez le diagramme à l'intérieur de la télécommande pour installer la pile dans le bon sens. Appuyez sur la pile pour vous assurer qu'elle est bien enforcée dans la cavité du boitant de pile.
- Refermez le boitier.
Remarque: Le remplacement des piles n'efface pas la programmation de la télécommande d'entrée sans clé de votre vehicule. ÀpRES avoir changé les piles, la télécommande devrait fonctionner normalement.
Remplacement des télécommandes égarées
Si vous avez perdu une des télécommandes de votre vehicule et que vous désirez effacer sa programmation, ou si vous achetez des télécommandes supplémentaires et que vous désirez les faire programmer, procédez comme suit :
- apportez toutes vos télécommandes chez votre concessionnaire pour qu'il les reprogrammer ou
programmez-les vous-meme. - Telecommande à quatre touches

Serrures et sécurité
- Telecommande à cinq touches

Programmation des telecommandes
Il est nécessaire que vous ayez en main toutes vos télécommandes (jusqu'à quatre télécommandes anciennes et neuves peuvent être programmes) avant d'effectuer les opérations suivantes.
Pourprogrammervous-memelestelecommandes,procedez comme suit:
- déverrouillez toutes les portes à l'aide de la commande de verrouillage/déverrouillage électrique des portes. Introduisez la clé dans le commutateur d'allumage, tournez-la de la position Arrêt (1) à la position Contact (3) et faites-la alterner rapidement (dans les dix secondes qui suivent) huit fois de suite entre ces deux positions en t Les serrures se verrouillent et se confirmer le passage en mode de p

- dans les 20 secondes qui suivent, programmez une télécommande en appuyant sur n'importe laquelle de ses touches. Remarque: Si la touche n'est enforcée qu'après 20 secondes, le mode de programmation est désactifé et la procédure doit être répetée;
- repêtez les opérations précédentes pour programmer vos autres télécommandes;
- une fois la programmation des télécommandes terminée, mettez le commutateur d'allumage à la position ANTIVOL (1) ou attendez 20 secondes.
Serrures et sécurité
Éclairage à l'entrée
Les phares s'allument lorsque le système d'entrée sans clé à télécommande est utilisé pour déverrouiller les portes.
Cet éclairage s'éteint automatiquement après 25 secondes ou lorsque le contact est établi à l'allumage ou que le commutateur d'allumage est placé en position ACCESSOIRES. Pour que l'éclairage à l'entrée puisse fonctionner, le contacteur du plafonnier ne doit pas être placé à la position d'arrêt.
L'éclairage interieur ne s'éteint pas si :
- il a été allumé au moyen du rhéostat d'éclairage; ou
- l'une des portes est ouverte.
La protection antidécharge de la batterie éteint l'éclairage interieur 30 minutes après que le contact a été coupé.
Verrouillage automatique
Cette fonction verrouille automatiquement toutes les portes du vehicule lorsque :
- toutes les portes, le hayon et la glace du hayon sont fermés;
- le moteur tourne; et que
- vous placez le levier de vitesse à une position qui met le vehicule en mouvement.
Reverrouillage automatique
La fonction de verrouillage automatique se repete lorsque :
- une porte (autre que celle du conducteur) est ouverte puis fermée pendant que le moteur tourne; et que
- vous mettez le vehicule en mouvement.
Désactivation/activation de la fonction de verrouillage automatique
Pour les vehicules équipés d'un afficheur multimessage, le verrouillage automatique peut être activé/désactivé en selectionnant la fonction de verrouillage automatique (laquelle est accessible en appuyant sur la touche SETUP). Appuyez sur la touche RESET pour activer ou désactiver la fonction de verrouillage automatique. Consultez la rubrique Afficheur multimessage du chapitre Commandes du conducteur pour obtenir de l'information supplémentaire à ce sujet.
Dans le cas des vehicules qui ne sont pas équipés d'un afficheur multimessage, la fonction peut être désactivée par un concessionnaire Ford autorisé.
Neutralisation du verrouillage/déverrouillage des portes à commande électrique
Cette fonction protège votre vehicule contre les effractions.
Le déverrouillage des portes à commande électrique ne fonctionne pas lorsque le commutateur d'allumage se trouve à la position Arrêt, ni vingt secondes après que les portes ont été fermées et verrouilléeslectroniquement à l'aide de la télécommande, du clavier d'entrée sans clé ou de l'interrupteur des portes à commande électrique (s'il a été enforcé pendant que la porte était ouverte).
La fonction de déverrouillage fonctionne de nouveau après que le vehicule a été déverrouillé au moyen de la télécommande ou du clavier d'entrée sans clé, que le contact a été établi à l'allumage ou que la porte a été ouverte de l'intérieur du vehicule.
Activation/désactivation de la neutralisation du verrouillage/deverrouillage des portes à commande électrique
Cette fonction peut être activée/désactivée par un concessionnaire autorisé.
SYTÉME D'ENTRÉS SANS CLE à CLAVIER
Le système d'entrée sans clé à clavier vous permet :
- de verrouiller ou de déverrouiller les portes sans vous servir de la clé;
- de déverrouiller la glace du hayon;
- d'activer ou de désactiver la fonction de verrouillage automatique; et
- d'ajouter ou de-retirer un code d'utilisateur personnelisé à cinq chiffres.
Le système d'entrée sans clé de votre vehicule est commandé par un code à cinq chiffres établi à l'usine. Vous pouvez également programmer cette propre code d'entrée personnalisé à cinq chiffres. Le code établi à l'usine se trouve :
- sur la carte du propriétaire placée dans la boîte à gants;
- chez votre concessionnaire;
Serrures et sécurité
ou sur le module situé sous le cote droit de la planche de bord, pres du porte-fusibles de l'habitacle.

Remarque: Le code à cinq chiffres (ex. 12345) est inscrit en caractères GRAS de grande taille sur l'étiquette du module.

Lorsque vous vous servez du clavier d'entrée sans clé, appuyez au centre des touches pour établier un bon contact.
Programmation d'un code personalisé
Pour programmermezcodepersonnalise,procededez comme suit:
-
Composez le code établi à l'usine (le clavier s'allume lorsque vous appuyez sur les touches).
-
Appuyez sur la touche 1-2 dans les cinq secondes suivant l'etape 1.
-
Composez votre code d'entrée personnalisé à cinq chiffres. Appuyez sur chaque chiffre, en veillant à ne pas laisser plus de cinq secondes s'écouler après chacun d'eux.

- Une fois le code entre, les serrures se verrouilleront et se déverrouilleront, confirmant la programmation du code.
Ne choisissez pas un code consistant en cinq chiffres identiques ou consécutifs. Les voleurs peuvent facilement deviner ce genre de code.
Serrures et sécurité
Votre code personnelé ne remplace pas le code permanent qui vous a été fourni par votre établissement concessionnaire. Vous pouvez déverrouiller les portes de votre vehicule avec l'un ou l'autre code. Si vous programmez un nouveau code personnelé, l'ancien code personnelé sera effacé.
Pour effacer votre code personnelé, procédez comme suit :
- Composez le code établi à l'usine.
- Appuyez sur la commande 1-2 et relâchez-la.
Le déverrouillage des portes ne peut maintainant être effectué qu'avce le code établi à l'usine.
Fonction antibalayage
Si un code errone a ete entree 7 fois (35 pressions consecutives sur les touches), le clavier est desactive pendant une minute et le temoin sur le clavier clignote. Remarque: Une pression simultanee sur les touches 7 8 et 9 0 pendant cette periode verrouillera quand meme le vehicule.
La fonction d'antibalayage se met hors fonction après une minute d'inactivité du clavier d'entrée sans clé.
Déverrouillage et verrouillage des portes, du hayon et de la glace de hayon à l'aide de la fonction d'entrée sans clé
Pour déverrouiller la porte du conducteur, composez le code à cinq chiffres établi à l'usine ou votre code d'entrée personnalisé. Il ne faut pas dépasser un-delai de plus de cinq secondes entre chaque chiffre lors de la saisie du code personnalisé. L'éclairage interieur s'allume.
Pour déverrouiller toutes les portes et le hayon, appuyez sur la touche 3 • 4 dans les cinq secondes.
Pour ouvrir la glace du hayon, appuyez sur la touche 5 • 6 dans les cinq secondes.
Pour verrouiller toutes les portes, le hayon et la glace du hayon, appuyez simultanément sur les touches 7 8 et 9 0 .Remarque:Laporte du conducteur doit etre fermée.Vous n'avoz pas besoin de composer au préalable le code du clavier.
Serrures et sécurité
Mise en fonction et neutralisation du verrouillage automatique avec le système d'entrée sans clé à clavier
- Coupe le contact.
- Fermez toutes les portes, le hayon et la glace du hayon.
- Entrez le code d'entrée à cinq chiffres.
- Appuyez sur la touche 7 • 8 et maintenez-la enfoncée; en même temps, appuyez sur la touche 3 • 4.
- Relâchez la touche 3 • 4.
- Relâchez la touche 7 • 8.
Un retentissement bref d'avertisseur sonore vous avertit que le verrouillage automatique est désactiver, alors qu'un retentissement bref d'avertisseur sonore suivi par un retentissement plus long vous avertit qu'il est mis en fonction.
SYTÉME ANTIDÉMARRAGE SECURILOCK
Le système antidémarrage SecuriLock est un dispositif qui interdit le démarriage du moteur de votre vehicule. Ce système est conçu pour empêcher le démarriage du moteur en cas d'utilisation d'une clé autre qu'une clé à puce programme pour votre vehicule.
Le système antidémarrage SecuriLock n'est pas compatible avec les dispositifs de démarrage à distance de deuxieme monte qui ne sont pas distribués par Ford. L'emploi de ces télécommandes peut entraîner des difficultés de démarrage et la perte de toute protection contre le vol.
TÉMOIN DE L'ALARME ANTIVOL
Le témoin d'alarme antivol est le clignotant rouge situé sur le tableau de bord.
- Lorsque le contact est coupé, le témoin clignote à intervalles de deux secondes pour indiquer que le système SecuriLock® fonctionne comme dispositif antivol.
- Lorsque le contact est établi à l'allumage, le témoin s'allume pendant trois secondes pour indiquer que le système fonctionné normalement.
En cas de problème du système SecuriLock, le témoin clignote rapidement ou reste allumé lorsque le contact est établi à l'allumage. Si tel est le cas, faites réparer votre vehicule par un concessionnaire autorisé.
Mise en voille automatique
Le système antidémarrage du vehicule est immédiatement mis en voir là que le commutateur d'allumage est tourné à la position Arrêt (1).

Neutralisation automatique
Lorsque le commutateur d'allumage est tourné à la position CONTACT (3) avec une clé à puce, le système antidémarrage est désamorcé.
Clés à puce
Votre vehicule vous a eté livre avec deux clés à puce. Seule une clé à puce fait demarrer toute vehicule. Vous pouvez faire l'achat de clés à puce supplémentaires chez cette concessionnaire. Ces clés peuvent être programmées chez cette concessionnaire ou vous pouvez les programmes给您-même; pour ce faire, consultez la rubrique Programmation de clés supplémentaires.
Les éléments suivants peuvent empêcher le vehicule de démarrer :
- les gros objets metalliques;
- les dispositifs électroniques accrochés au porte-clés et utilisés pour l'achat de carburant ou autres objets similaires;
- une autre clé accrochée au même porte-clés que celui où se trouve la clé à puce.
Le cas échéant, vous devez empêcher ces objets d'entrée en contact avec la clé à puce lors du démarrage du moteur. Bien que ces objets et dispositifs ne puissant pas endommager la clé à puce, ils peuvent toute fois creer une condition-temporaire de « DEMARRAGE NON AutorISE » s'ils sont trop pres de la clé. Dans un tel cas, coupez le contact et remettez le moteur en marche, enPNANT SOIN DE tenir eloigné de la clé d'allumage tout autre object accroché au porteclés. Assurez-vous que la clé à puce que vous utilisez est un modele approvoué par Lincoln.
Serrures et sécurité
En cas de perte ou de vol des clés à puce de votre vehicule, précérez comme suit :
- mettez le moteur en marche en utilisant votre clé de rechange; ou
- faites remorquer votre vehicule chez votre concessionnaire ou chez un serrurier. Les codes de clés devront être effacés de la mémoire de votre vehicule et les clés à puce devront être reprogrammées.
Le remplacement des clés à puce étant très onereux, il est recommandé de garder une clé à puce supplémentaire dans un endroit sur pour l'utiliser en cas de perte ou de vol des autres clés.
La bonne clé à puce doit être utilisée pour votre vehicule. L'utilisation d'une clé à puce inadéquate peut entraîner une condition de « DEMARRAGE NON AUTORISE »
Une clé non programme introduite dans le commutateur d'allumage pourmettrele moteur en marche entraîne une condition de « DEMARRAGE NON AUTORISE »
Programmation de clés supplémentaires
Voussouspouceprogrammer jusqu'àhuitclés correspondant au système antidémarrage devoitréhicule;seulesdesclésSecuriLockpeuvent etreutilisées.Pourprogrammervous-memeune nouvelleclea puce, youdevrezvoir enmaindeuxclésa pucedéjaprogrammées desclés quifont demarrerle moteurdevoitréhicule)ainsquela oulesclés queyoussouhaitezprogrammer.
Si vous n'avez pas deux clés à puce déjà programmes à votre disposition, vous devrez vous rendre avec votre vehicule chez votre concessionnaire pour faire programmer de nouvelles clés.
Veuillez dire attentivement toute la procEDURE avant de commencer.
-
Insérez la première clé à puce déjà programmée dans le commutateur d'allumage et tournez-la de la position Arrêt (1) à la position Marche (3) (en la maintainant dans cette position pendant au moins trois secondes, mais pas plus de dix secondes).
-
Tournez le commutateur d'allumage de la position 3
(Contact) à la position 1 (Arrêt) pour-retirer la première clé àpuce.
- Dans les dix secondes suivant le retrait de la première clé à puce, insérez la deuxième clé à puce déjà programmée dans le commutateur

Serrures et sécurité
d'allumage et tournez-la de la position Arrêt (1) à la position Marche (3) (en la maintainant dans cette position pendant au moins trois secondes, mais pas plus de dix secondes).
- Tournez le commutateur d'allumage de la position 3 (Contact) à la position 1 (Arrêt) pour-retirer la deuxième clé à puce.
- Dans les dix secondes suivant le retrait de la deuxième clé à puce, insérez la nouvelle clé non programmee (cle principale ou voiturier) dans le commutateur d'allumage et tournez-la de la position Arrêt (1) à la position Marche (3) (en la maintainant dans cette position pendant au moins trois secondes, mais pas plus de dix secondes). Cette étape programme neuve nouvelle clé SecuriLock.
- Si vous désirez programmer des clés SecuriLock® supplémentaires, repêtez cette procédure à partir de l'étape 1.
Si la programmation a réussi, la nouvelle clé à puce fera démarrer le moteur de votre vehicule; le témoin antivol du tableau de bord s'allumera pendant trois secondes puis s'éteindra.
Si la programmation n'a pas réussi, la nouvelle clé à puce ne mettra pas le moteur du vehicule en marche et le témoin antivol clignotera; vous devrez alors repeter les étapes 1 à 5. E n c a s d'énewel échec, adressez-vous à votre établissement concessionnaire pour faire programmer de nouvelles clés supplémentaires.
Sièges et dispositifs de retenue
SIEGES
Appuis-tete régables des sièges avant
Les sièges de votre vehicule sont pourvus d'appuis-tête réglibres dans quatre directions. Les appuis-tête contribuient à protéger la tête et la nuque en cas de collision arrière. Pour régler correctement l'appui-tête, relevez-le pour le placer directement derrière votre tête ou aussi pres que possible de cette position. Consultez les illustrations suivantes pour connaître les procédures requises pour abaiser ou relever les appuis-tête.
Les appuis-tete peuvent etre déplaces vers I'avant et vers I'arriere, de meme que vers le haut et vers le bas.

Appuyez sur le bouton pour descendre l'appui-tete.

Utilisation du support lombaire à réglage électrique
La commande du support lombaire a réglage électrique est située sur le côte extérieur du siège.
Appuyez sur le cotoe avant de la commande pour augmenter le degrde de support.
Appuyez sur le cote arriere de la commande pour diminuer le degré de support.

Sièges et dispositifs de retenue
Réglage du siège avant à commande électrique

Ne reglez jamais le siege du conducteur ou son dossier quand le vehicule est en marche.

Pour éviter les blessures en cas de collision ou d'arrêt brusque, n'empilez pas de bagages ni d'autres objets à une hauteur faieure à celle du dossier des sièges.

Lorsque vous conduisiez ou prenez place dans un vehicule, assurez-vous que le dossier du siège est bien en position faie, et la sangle sous-abdominale bien serrée et aussi BASSE que ple autour des hanches.

Lorsque vous conduisiez ou prenez place dans un vehicule, assurez-vous que le dossier du siège est bien en position faie, et la sangle sous-abdominale bien serrée et aussi BASSE que le sole autour des hanches.
La commande est située sur le côte extérieur du coussin de siege.
Appuyez sur la partie avant ou arrrière de la commande pour incliner le siège.

Appuyez sur cette commande pour déplacer le siege vers l'avant, vers l'arrière, vers le haut ou vers le bas.

Sièges et dispositifs de retenue
Appuyez sur cette commande pour incliner le dossier du siège vers l'avant ou vers l'arrière.

Sièges, rétroviseurs et pédales à réglage ménorisé
Ce système permet le réglage automatique du siècle du conducteur, des rétroviseurs extérieurs et des pédales régables selon deux positions programmables.
La commande du siège à réglage mémorisé est située sur la porte conducteur.

Pour programmer la premiere position, placez le siege du conducteur, les retroviseurs et les pédales réglables à la position désirée. Appuyez sur la touche SET. Le témoin de la touche SET s'allume brièvement. Lorsque ce témoin s'allume, appuyez sur la touche 1.
- Mettez la deuxième position en mémoire en effectuant les mêmes opérations avec la touche 2.
Un réglage ne peut être rappelé que si le levier de vitesse est en position de stationnement (P). Vous pouvezmettre une position de siège en mémoire à n'importe quel moment.
Les positions en mémoire peuvent également être rappelées lorsque vous appuyez sur la touche de déverrouillage de votre télécommande d'entrée sans clé.
Pour effectuer une mise en mémoire associée à une télécommande spécifique d'entrée sans clé, consultez la rubrique Systeme d'entrée sans clé dans le chapitre Serrures et sécurité.
SIÉGES À RÉGULATION DE TEMPERATURE (selon l'équipement)
Les commandes des sièges à régulation de température sont situées sur la console centrale.
Sièges et dispositifs de retenue
Pour que les sièges à régulation de température puissant fonctionner, le moteur doit être en marche.
- Appuyez sur l'icone du bouton pour activer le refroidissement des sièges à régulation de température. Un témoin bleu s'allume sur le bouton. Appuyez de nouveauxur l'icone pour désactiver la fonction.


- Appuyez sur l'icone du bouton pour activer le chauffage des sièges à régulation de température. Un témoin rouge s'allume sur le bouton. Appuyez de nouveau sur l'icone pour désactiver la fonction.


En mode de chauffage,procedede comme suit:
- pour obtenir la chaleur voulue, tournez la molette de 1 (MIN) à 5 (MAX).


En mode de refroidissement, procédez comme suit :
- pour refroidir le siège à la température voulue, tournez la molette de 1 (MIN) à 5 (MAX). Lorsque la molette est tournée à la position 1, le siège ne fonctionne qu'en mode d'airation (la température est la même que celle de l'air de l'habitacle).
Il faut environ cinq minutes avant que la température se stabilise au niveau que vous avez choisi.
Les sièges à régulation de température se mettent hors fonction après environ 15 minutes en mode de rechauffement et après environ 30 minutes en mode de refroidissement. Ceci permet d'eviter de surcharger inutillement le système d'alimentation électrique du vehicule.
Remplacement du filtré à air des sièges à régulation de température
L'ensemble de sièges à régulation de température comprend des filtres à air qui doivent être changés à intervalles réguliers. Pour de plus amples renseignements, consultez le Guide d'entretien périodique.
Sièges et dispositifs de retenue
I ly a un filtré situé sous chacun des sièges avant.

L'accès se fait à partir des sièges de deuxieme rang. Déplacez le siege avant complètement vers l'avant afin de facilititer l'accès.

Pour-retirer le filtré à air du siècle à régulation de température :
retirez la clé du commutateur d'allumage;
poussez sur le bord rigide extérieur au centre du filtré à air et, une fois que la patte de retenue est désengageée, faites tournier le filtré vers le bas;
retirez le filtre.


Pour installer le filtré à air du siècle à régulation de température :
Sièges et dispositifs de retenue
- premièrement, placez le filtré dans son boitier en vous assurant que l'extrémité avant est au fond du boitier. Ensuite, poussez sur le centre du bord extérieur rigide du filtré et faites-le pivoter dans le boitier jusqu'à ce qu'il s'enclenché en position.

SIEGES ARRIERE
Sièges du deuxième rang
Les positions assises laterales du deuxième rang sont pourvues d'appuis-tete a reglage vertical. Les appuis-tete contribuent a proteger la tete et la nuque en cas de collision arriere. Pour regler correctement l'appui-tete, relevez-le pour le placer directement derriere votre tete ou aussi pres que possible de cette position.
Soulevez les appuis-tete pour les rehausser. Pour les abaisser, appuyez sur le bouton de dégagement.

Si l'appui-tete se detache complètement, remettez la barre encochée dans la collerette tout en maintainant le bouton de dégagement enfoncé.
Ensemble de sièges rabattables de deuxième rang
Assurez-vous, avant de rabattre les sièges, qu'il n'y aaucun objet tel que livre, sac à main ou porte-documents sur le plancher à l'avant des sièges du deuxieme rang, ni sur les coussins de siege. Veillez à ce que les appuis-tête soient abaissés.
Avancez le siège passager avant de telle sorte que l'appui-tè du siège du deuxième rang ne puisse toucher le siège avant.
Si vous avez besoin d'assistance, consultez l'étiquette située sur le cote du coussin de siege.
Sièges et dispositifs de retenue
Réglage du siècle extérieur du deuxième rang pour entrée facile (E-Z Entry)
Les sièges latéraux du deuxième rang sont conçus pour facilitier l'entrée et la sortie des passagers du troisièmerang.
Pour acceder aux places de la troisieme rangée, procedez comme suit :
- Repérez la poignée sur le côte de la banquette et levez-la pour déverrouiller le dossier.


- Tirez sur la poignée située à l'arrière du siège vers le haut. Le siège bascule vers l'avant.
Sièges et dispositifs de retenue
- Pour remettre le siège à sa position normale, poussez-le vers le bas jusqu'à ce qu'il se verrouille au plancher.

- Le siège étant en position de dossier rabattu, tirez le levier situé sur le côte du coussin de siège vers le haut. Cela vous permettra de verrouiller le dossier de siège en position verticale.
- Levez le dossier de siège en position verticale.

Assurez-vous que les pieds du siège sont fermement fixés au plancher, que le siège soitoccupé ou non. Si ce n'est pas le cas, ne peutrait occasionner des blessures en étant projeté lors d'un brasque.
Ensemble à banquette 40% entièrement rabatable en position horizontalie

Faites attention en rabattant le dossier du siège en position horizontal, car l'ensemble se déplace vers l'avant lorsque l'on ne va la poignée de déblocage.
Sièges et dispositifs de retenue
- Repérez la poignée sur le côte de la banquette et levez-la pour déverrouiller le dossier.
- Assurez-vous que le dossier est bien verrouillé à sa position la plus)basse en exerçant une pression sur le dossier de la banquette.

- Repérez la sangle de verrouillage à l'avant de la banquette et tirez-la pourmettrelesiege en position horizontale (au plancher).Un certain effort peut être requis pour déplacer lesiègeversl'avantetvers le bas.
Une fois la banquette de deuxieme rang repliee, les sièges avant peuvent etre ramen a leur position initiale.

Pour remetre en position verticale depuis la position horizontale.
Le dossier de siège ne peut être raméné à la position verticale tant que le siège est abaisse au plancher. Pour remettre la banquette en position verticale, procédez comme suit.
Depuis la position horizontale :
- Levez et tirez le siège vers l'arrière jusqu'à ce que le loquet se verrouille.
Ne tentez pas de déverrouiller les crochets de plancher arrêt alors que le siège est en position abaissee.

Sièges et dispositifs de retenue
Les crochets de loquet arrriere doivent etre bien engagements avec la gache du plancher. Positionnez les pattes arrriere du siege sur les gaches de plancher et engagez-les.
- Le siège étant en position de dossier rabattu, tirez le levier situé sur le côte du coussin de siège vers le haut. Cela vous permettra de verwrouiller le dossier de siège en position verticale.


Pour rabattre l'ensemble à banquette 20% (selon l'equipement)
- Reprez la sangle de déverrouillage située entre le coussin avant et le dossier de siège et tirez sur la sangle pour dégager le loquet du siège rabatable.

Pour prévenir tout dommage au siège ou aux ceintures de sécurité, voirlez à ce que les ceintures ne soient pas bouclées lorsque le siège est place en position horizontale.
Sièges et dispositifs de retenue
- Une fois le loquet dégagé, le dossier de la banquette peut être abaisse en position horizontale.

- Pour ramener le siège à la position verticale, levez le dossier de siège jusqu'à ce que le loquet soit complètement enclenché.

Réglage de la banquette 20 % du deuxième rang (selon l'équipement)
Soulevez la poignee pour déplacer le siège vers l'avant ou vers l'arrière.

Remarque: Ce siège peut être avancé pour installer un infant dans un siège d'enfant pres des occupants des sièges avant. Le siège doit être en position arrière complète lorsqu'il est occupé par des enfants plus valeurs ou des adults.
Sièges et dispositifs de retenue
Inclinaison du dossier de la banquette 40% du deuxieme rang.
Repérez la poignée de déverrouillage située sur le côte extérieur du coussin de siege et souveez-la délicatement pour faire en sorte que le dossier de siege puisse être réglé à la position désirée.

Lorsque vous conduisez ou prenez place dans un vehicule, assurez-vous que le dossier du siege est bien en position verticale, et la sangle sous-abdominale bien serrée et aussi BASSE que possible autour des hanches.
Sièges du troisième rang
Avant d'abaisser les dossiers, assurez-vous qu'il n'y a aucun object tel que livre, sac à main ou port-document sur le plancher, à l'avant des sièges du troisième rang, ou sur le coussin de siege. Veillez à ce que les appuis-tête soient abaisSES.
Appuis-tete reglables du troisieme rang
Les positions assises laterales du troisième rang sont pourvues d'appuis-tête à réglage vertical. Les appuis-tête contribuient à protéger la tête et la nuque en cas de collision arrêté. Pour régler correctement l'appui-tête, relevez-le pour le placer directement derrière votre tête ou aussi pres que possible de cette position.
Sièges et dispositifs de retenue
Les appuis-tete peuvent etre releves ou abaisSES.

Appuyez sur le bouton pour descendre l'appui-tete.

Rabattage de la banquette du troisième rang en position horizontale
Pour prévenir tout dommage au siège ou aux ceintures de sécurité, voirlez à ce que les ceintures ne soient pas bouclées lorsque le siège est place en position horizontale.
Sièges et dispositifs de retenue
Tirez vers le haut sur la poignee située à l'arrière du dossier de siège tout en poussant le dossier vers l'avant et vers le bas, dans le coussin de siège.

Pour ramener le dossier de siege dans sa position d'origine, relevez le dossier de siege jusqu'à ce qu'il se verrouille en place.

Banquette rabatable du troisième rang à commande électrique (selon l'équipement)
Les boutons de commande sont situés sur la garniture du panneau de custode droit (accessibles depuis le hayon).
Appuyez sur la partie inférieure du bouton de commande pour abaiser le dossier de siège désiré.

Sièges et dispositifs de retenue
Appuyez sur la partie supérieure du bouton de commande pour ramener le dossier de siege dans sa position d'origine.

Les sièges rabattables à commande électrique sont concus pour s'arrêté de 1 à 10 secondes s'il y a présence d'un obstacle ou d'une obstruction au moment de l'abaissement ou du relièvement. Si cela se produit, retirez ce qui cause obstruction et attendez environ de 1 à 4 minutes pour permettre au moteur du siege de se synchroniser de nouveau.
Les sièges rabattables à commande électrique peuvent fonctionner pendant encore 30 minutes après la mise du commutateur d'allumage en position Arrêt. La boîte de vitesses doit être en position de stationnement (P) et vous doivent avoir ouvert le hayon ou la glace de hayon. Un peu comme la fonction de protection antidécharge de la batterie, la banquette du troisième rang à commande électrique est désactivée 30 minutes après la coupure du contact. Si la banquette du troisièmerang à commande électrique est désactivée après 30 minutes, elle peut être remise en fonction si vous ouvrez une porte, si vous appuyez sur la touche de déverrouillage de la télécommande, si vous appuyez sur un bouton du clavier de télécommande d'entrée sans clé, ou si vous tournez la clé de contact.
DISPOSITIFS DE RETENUE
Système de sécurité personalisé
Le système de sécurité personnelé procure, dans son ensemble, un niveau supérieur de protection aux passagers avant lors de collisions frontales. Il est concu pour aider à réduire davantage les risques de blessures causées par les sacs gonflables. Ce système a la capacité d'analyser la situation des passagers et la gravité de la collision, avant d'activer les dispositifs de sécurité appropriés pour aider à moins protégérer un plus grand nombre de passagers lors de divers types de collision frontale.
Sièges et dispositifs de retenue
Le système de sécurité personnelé de votre vehicule se compose des éléments suivants :
- sacs gonflables à deux étapes pour le conducteur et le passager avant;
- ceintures de sécurité avant munies de prétendeurs, d'enrouleurs à absorption d'énergie et de capteurs de boucle de ceinture de sécurité;
- capteur de position du siège conducteur;
- capteur de gravité d'impact avant;
- module de commande des dispositifs de protection;
- témoin du dispositif de retenue des occupants et avertisseur de sécurité;
- cablage électric pour les sacs gonflables, capteurs d'impact, pretendeurs de ceinture de sécurité, capteurs de boucle des ceintures de sécurité avant, capteur de position du siège conducteur et témoins.
Fonctionnement du système de sécurité personnelé
Le système de sécurité personnelise peut adapter le déploiement des dispositifs de sécurité de votre vehicule selon la gravité de la collision et la situation des passagers. Un ensemble de capteurs de chic et de passagers fournit l'information au module de commande des dispositifs de retenue. En cas de collision, le module de commande des dispositifs de retenue active les pretendeurs de sécurité, ou une ou les deux étapes des sacs gonflables « intelligents », selon la gravité de l'impact et la situation des passagers.
Le fait que les pretendeurs de sécurité ou les sacs gonflables ne se mettent pas en fonction pour les occupants des deux sièges avant lors d'une collision n'indique pas nécessairement la présence d'une anomalie du système. Cela signifie plutôt que le système de sécurité personnelisé a déterminé que les conditions de l'accident (gravité de la collision, utilisation des ceintures de sécurité, etc.) n'exigeaient pas la mise en fonction de ces dispositifs de sécurité. Les sacs gonflables avant sont concus pour entraer en fonction en cas de collision frontale ou quasi frontale seulement, et non en cas de capotage ou de collision latérale ou arrrière, à moins que la collision ne cause une décelération suffisante de la course longitudinale du vehicule.
Sacs gonflables à deux étapes pour le conducteur et le passager avant
Les sacs gonflables à deux étapes permettent d'adapter le niveau d'énergie de développement des sacs gonflables. Un niveau d'énergie plus faible est utilisé pour les impacts courants d'intensité modérée. Un
Sièges et dispositifs de retenue
niveau d'énergie plus élevé est utilisé pour les impacts les plus violents. Consultez la rubrique Dispositifs de protection supplémentaires du present chapitre.
Capteur de gravité d'impact avant
Le capteur de gravité d'impact avant améliore l'évaluation de la gravité d'une collision. Place complètement à l'avant du vehicule, il fournitès le début de l'impact des renseignements essentiels relatifs à la gravité de la collision. Ceci permet au système de sécurité personnelé de faire la distinction entre différents niveaux de collision et de modifier en conséquence la stratégie d'activation des sacs gonflables à deux étapes et des prétendeurs de ceinture de sécurité.
Capteur de position du siège conducteur
Le capteur de position du siège conducteur permet au système de sécurité personnelé d'ajuster le niveau de déploiement du sac gonflable du conducteur en fonction de la position du siège. Le système protège les conducteurs de petite taille assis près du sac gonflable en réduisant le niveau de déploiement du sac gonflable.
Capteurs de boucle des ceintures de sécurité avant
Les capteurs de boucle des ceintures de sécurité avant déterminent si le conducteur et le passager ont bouclé leur ceinture de sécurité. Cette information permet au système de sécurité personnelé d'adapter le déploiement du sac gonflable et du prétendeur de ceinture de sécurité en fonction de l'utilisation de la ceinture de sécurité. Consultez les rubriques portant sur les ceintures de sécurité du present chapitre.
Prétendeurs de ceinture de sécurité avant
Les pretendeurs de ceinture de sécurité laterales avant sont conçus pour tendre les ceintures de sécurité fermement contre le corps du conducteur et du passager avant en cas de collision. Les pretendeurs augmentent l'efficacité des ceintures de sécurité et offrent une(Meilleure protection à l'occupant en le maintainant dans une position adaptée aux sacs gonflables. Les pretendeurs de ceinture de sécurité peuvent être activés seuls ou, si la collision est sévère, conjointement avec les sacs gonflables.
Enrouleurs à absorption d'énergie des ceintures de sécurité avant
Les enrouleurs à absorption d'énergie des ceintures de sécurité laterales avant permettant à la sangle de sortir progressivement et de manière contrôle de l'enrouleur selon le déplacement de l'occupant vers l'avant. Ceci aide à réduire les risques de blessures à la poitrine de l'occupant en
Sièges et dispositifs de retenue
limitant la force qui y est appliquée. Consultez les rubriques portant sur les ceintures de sécurité du present chapitre.
Évaluation du fonctionnement du système de sécurité personnelisé
Le système de sécurité personnelé compte un témoin au tableau de bord ou un avertisseur de sécurité servant à indiquer l'état du système. Consultez la rubrique Témoins du chapitre Instruments. Le système de sécurité personnelé n'exige aucun entretien périodique.
Le module de commande des dispositifs de retenue surveille ses propres circuits internes ainsi que les circuits des sacs gonflables, des capteurs d'impact, des pretendeurs de ceinture de sécurité, des capteurs de boucle des ceintures de sécurité avant et du capteur de position du siège conducteur. De plus, le module de commande des dispositifs de retenue surveille aussi le témoin d'avertissement des dispositifs de retenue et de protection du tableau de bord. Une anomalie des dispositifs de protection supplémentaires est indiquée par un ou plusieurs des signes suivants :
- le témoin des sacs gonflables clignote ou reste allumé;
- le témoin ne s'allume pas immédiatement après avoir établi le contact à l'allumage;
- une série de cinq bips retentit. Cet averissement sonore est repeteé périodiquement jusqu'à ce que l'anomalie soit corrigée et le témoin réparé.
Si l'une de ces situations se produit, même de manière intermittente, faites immédiatement vérifier le système de sécurité personnelisé chez votre concessionnaire ou par un technicien qualifié. Si la réparation n'est pas effectué, le dispositif peut ne pas fonctionner normalement en cas de collision.
Précautions concernant les dispositifs de retenue

Lorsque vous conduisez ou prenez place dans un vehicule, assurez-vous que le dossier du siège est bien en position
verticale, et la sangle sous-abdominale bien serrée et aussi basse que possible autour des hanches.

Afin de réduire tout risque de blessures, assurez-vous que les enfants sont assist à un endroit pourvu de dispositifs de retenue en cas.
Sièges et dispositifs de retenue

Ne laïsez jamais un passager tenir un enfant sur ses genoux, quand le vehicule est en marche. Un passager ne peut pas saiger un enfant des blessures en cas de collision.

Tous les occupants du vehicule, y compris le conducteur, doivent s'il tousiers boucler leur ceinture, meme lorsque la place quils neient est equipee d'un sac gonfable.

Il est extrémement dangereux pour un passager de prendre place dans l'espace de chargement interieur ou extérieur du tableau. Toutaine personne y prenant place court un plus grand risque pressures graves, voire mortelles, en cas de collision. Ne laissiezonne prendre place ailleurs que sur un siège muni d'une ceinture accrité. Assurez-vous que tous les passagers bouclent leur ceinture et sactionement.

En cas de renversement du vehicule, les risques de blessures mortelles sont beaucoup plus grands pour une personne qui ne pas sa ceinture de sécurité que pour une personne qui la porte.

Chaque siège du vehicule est muni d'une ceinture de sécurité, comportant une boucle et une languette qui sont conçues pour l'onner ensemble. 1) Ne placez le baudrier que sur l'épaule du portier. Ne portez jamais le baudrier sous le bras. 2) Ne jamais passer la ceinture de sécurité autour du cou, du côte our de l'épaule. 3) N'utilise jamais la même ceinture pour plus qu'elles personnes à la fois.

- Placez toujours les enfants de 12 ans ou moins sur le siège du arrêt en utilisant toujours les dispositifs de retenue pour enfants et mats.

Les ceintures et les sièges de sécurité peuvent devenir très chauds sous l'effet des rayons du soleil dans un vehicule fermé. Be ou un jeune infant pourrait s'y brûler. Vérifiez toujours le mention des sièges et les boucles des ceintures avant d'asseoir un t.
Sièges et dispositifs de retenue
Ceintures trois points
- Pour boucler la ceinture, insérez la languette dans la boucle correspondante (la plus proche de la direction d'ou provient la languette) jusqu'à ce qu'elle s'enclenché et que vous entendiez un déclic. Assurez-vous que la languette est fermement engagée dans la boucle.
Sièges avant et arrêté

- Pour déboucler la ceinture, appuyez sur le bouton de déblocage et retirez la languette de la boucle.
Sièges avant et arrêté

Tous les dispositifs de retenue du vehicule sont des ceintures trois points. Toutes les ceintures trois points des passagers sont munies d'un enrouleur bifonction dont le fonctionnement est expliqué ci-dessous.
Mode de blocage par inertie
Ce mode est le mode normal de fonctionnement qui permet le libre mouvement du baudrier mais qui se bloque en reaction aux mouvements du vehicule. Par exemple, en cas de freinage brutal, de virage brusque ou de collision a environ 8 km/h (5 mi/h) ou plus, les ceintures trois points se bloquent pour retenir les occupants.
Mode de blocage automatique
Dans ce mode, le baudrier est préverrouillé. La ceinture se rétracte tout de même afin d'éliminer tout jeu au niveau du baudrier.
Sièges et dispositifs de retenue
La ceinture du conducteur n'est pas dotée du mode de blocage automatique.
Utilisation du mode de blocage automatique
- Chaque fois qu'un siège d'enfant (sauf un rehausseur) est installé dans le vehicule. Les enfants de douze ans et moins doivent toujours prendre place sur la banquette arrière du vehicule et être convenablement retenus. Consultez la rubrique Dispositifs de retenue pour enfant ou Sièges de sécurité pour enfant plus loin dans ce chapitre.
Mode d'emploi du mode de blocage automatique
- Bouclez la ceinture trois points.

- Saisissez le baudrier et tirez-le vers le bas, jusqu'à ce que la sangle soit complètement sortie de l'enrouleur.

- Laissez la sangle se rétractor. Pendant que la sangle se rétracte, des déclics se font entendre. Ces déclics indiquent que l'enrouleur est en mode de blocage automatique.
Pour sortir du mode de blocage automatique
Déboucez la ceinture trois points et laissez-la se rétracter complètement pour sortir du mode de blocage automatique et activer le mode normal de blocage par inertie (mode d'urgence).
Sièges et dispositifs de retenue
Après toute collision, l'ensemble de ceinture trois points de chaque siège passager doit être vérifié par un technicien qualifié afin de s'assurer que l'enrouleur à blocage automatique prévu pour les sièges d'enfant fonctionné toujours convenablement. Ceci s'ajoute aux autres vérifications visant à s'assurer du bon fonctionnement de l'ensemble du système des ceintures de sécurité.
L'ENSEMBLE CEINTURE DE SECURITE ET ENROLLEUR DOIT ETRE REMPLACÉ si l'enrouleur à blocage automatique ou tout autre élément du système se révèle défectueux. En outre, il faut vérifier le fonctionnement de toutes les ceintures de sécurité. Si vous négligez de remplaner l'ensemble de la ceinture de sécurité et de l'enrouleur, les risques de blessures graves augmenteront en cas de collision.
Prétendeur de ceinture de sécurité
Les places du conducteur et du passager avant droit sont équipées de pretendeurs de ceintures de sécurité.
Le pretendeur de ceinture de sécurité enève le jeu présente dans l'ensemble de ceinture de sécurité en début de collision. Il utilise les mêmes détecteurs d'impact que les sacs gonflables avant et l'ensemble de sécurité du pavillon. Lorsque le pretendeur de ceinture de sécurité est déclenché, les ceintures sous-abdominales et les baudriers se reissernt sur l'occupant.
Lorsque l'ensemble de sécurité du pavillon et les sacs gonflables avant sont activés, les pretendeurs de ceinture de sécurité du conducteur et du passager avant droit se mettent en fonction des que leur ceinture de sécurité est correctement bouclée.
Les ceintures de sécurité du conducteur et du passager avant droit (y compris les enrouleurs, les boucles et les régleurs de hauteur) doivent être remplacées en cas de collision entraînant le déploiation des sacs gonflables avant ou du système de sécurité du pavillon et le déclenchement des pretendeurs de ceinture de sécurité.
Consultez la rubrique Entretien des ceintures de sécurité du present chapitre.
Sièges et dispositifs de retenue
Réglage de la hauteur des ceintures de sécurité des premier et deuxieme rangs
Les places du conducteur et du passager avant droit de votre vehicule ainsi que les places laterales du deuxieme rang sont dotées d'un regleur de hauteur de ceinture de sécurité. Reglez la hauteur du baudrier de telle sorte qu'il repose au milieu de l'épaule.
Pour abaiser le point d'attache du baudrier, appuyez sur le bouton du régleur et faites glisser ce dernier vers le bas. Pour relever le baudrier, appuyez sur le bouton du régleur et faites glisser le régleur vers le haut. Àpres le réglage, tirez le régleur vers le bas pour vous assurer qu'il est fermement verrouillé.

Placez le regleur du baudrier à la hauteur voulue de sorte que la sangle repose au centre de l'épaule. Si le baudrier n'est pas bien ajusté, l'efficacité de la ceinture diminuera et les risques de blessures graves seront accrus en cas de collision.
Témoin et carillon de ceinture de sécurité
Le témoin de ceinture de sécurité s'allume au tableau de bord et le carillon retentit pour rappeler aux occupants de boucler leur ceinture.
Sièges et dispositifs de retenue
Conditions de fonctionnement
| Si... Alors... | |
| La ceinture de sécurité du conducteur n'est pas bouclée avant d'établit le contact à l'allumage... | Le témoin s'allume pendant une à deux minutes et le carillon retentit pendant quatre à huit secondes. |
| La ceinture de sécurité du conducteur est bouclée pendant que le témoin est allumé et que le carillon avertisseur retentit... | Le témoin s'éteint et le carillon avertisseur cette de retentir. |
| La ceinture de sécurité du conducteur est bouclée avant d'établit le contact à l'allumage... | Le témoin reste éteint et le carillon ne retentit pas. |
Dispositif de rappel de bouclage de ceinture de sécurité BeltMinder
Le dispositif de rappel de bouclage de ceinture de sécurité BeltMinder est un averissement supplémentaire qui s'ajoute à la fonction d'advertissement du port de la ceinture de sécurité. Ce dispositif rappelle au conducteur que la ceinture est débouclée en faisant retentir le carillon par intermittence et en allumant le témoin des ceintures de sécurité au tableau de bord.
Sièges et dispositifs de retenue
| Si... Alors... | |
| La ceinture de sécurité du conducteur n'est pas bouclée dans les cinq secondes après que le témoin averitisseur de ceinture de sécurité s'est étéint... | Le dispositif de rappel de bouclage de ceinture de sécurité BeltMinder® se déclenché : le témoin des ceintures de sécurité s'allume et le carillon retentit pendant six secondes toutes les trente secondes, pour une durée d'environ cinq minutes, ou jusqu'à ce que la ceinture soit bouclée. |
| La ceinture du conducteur est bouclée pendant que le témoin des ceintures de sécurité est allumé et que le carillon averitisseur retentit... | Le dispositif de rappel de bouclage de ceinture de sécurité BeltMinder® ne s'active pas. |
| La ceinture du conducteur est bouclée avant d'étabir le contact à l'allumage... | Le dispositif de rappel de bouclage de ceinture de sécurité BeltMinder® ne s'active pas. |
Le rappel de bouclage des ceintures de sécurité BeltMinder a pour but de rappeler aux personnes qui ne portent leur ceinture que de temps à autre qu'elles doivent la porter en tout temps.
Les raisons les plus souvent données pour ne pas porter la ceinture de sécurité sont les suivantes (résultats d'enquêtes réalisées aux États-Unis):
Sièges et dispositifs de retenue
| Raisons données... Considéré | les faits suivants... |
| « Les accidents sont rares. » Que lque 36 700 accidents se produit chaque jour. Le risque d'être impliqué dans un accident augmente proportionnellement avec le temps passé au volant, même pour lesbons conducteurs. Un conducteur sur quatre sera grièvement blessé lors d'un accident au cours de sa vie. | |
| « Je ne vais pas loin. » Trois accidentss mortels sur quatre ont lieu dans un rayon de 40 kilométres (25 milles) du domicile. | |
| « Les ceintures sont inconnables. » Les ceintures de sécurité Ford sont conçues pour être comportables. Si elles ne sont pas comportables, essayez de changer la position du point d'ancrage supérieur de la ceinture de sécurité et de redresser le dossier du siège au maximum. Ceschangements de position peuvent améliorer le comfort. | |
| « J'étais pressé. » C'est à ce moient-là que les accidents se produit. Le rappel de bouclage des ceintures de sécurité BeltMinder® nous avertit que nous n'avons pas pris le temps de boucler notre ceinture. | |
| « Les ceintures de sécurité sont inefficaces. » Les ceintures de sécurité, lorsqu'elles sont utilisées correctement, réduisent les risques de mort des passagers avant de 45% pour les voitures et de 60% pour les camionnettes. | |
| « Il y a peu de circulation. » Un a cccident mortel sur deux est le résultat d'une perte de la maîtrise du vehicule, souvent lorsque la voie est complètement libre. |
Sièges et dispositifs de retenue
| Raisons données... Considèrez les faits suivants... |
| « Les ceintures froissent mes vêtements. » Cela est probable, mais un accident peut causeur plus de dégâtés que des vêtements floissés, surtout si vous ne portez pas votre ceinture de sécurité. |
| « Mes passagers ne portent pas leur ceinture. » Donnez l'exemple : les jeunesgens risquent quatre fois plus de perdre la vie lorsque DEUX occupants ou PLUS ont pris place dans le vehicule. Les enfants et les jeunes frères et sœurs imitate les comportements qu'ils voient. |
| « J'ai un sac gonflable. » Les sacs gonflables sont plus efficaces lorsqu'ils sont utilisés en konjection avec une ceinture de sécurité. Les sacs gonflables avant ne sont pas conçus pour se déployer lors d'un impact arrêté ou l'边际, ni en cas de capotage du vehicule. |
| « Je préfééré être éjecté du vehicule. » Ce n'est pas une bonne idée. Les personnes qui sont éjectées du vehicule risquent 40 fois plus de MOURI. Les ceintures de sécurité aident à éviter d'être éjecté du vehicule. ON NE CHOISIT PAS SON ACCIDENT. |
Ne vous assoyez pas sur une ceinture de sécurité bouclée dans le seul but d'éviter l'activation du carillon du Belt Minder13. L'effectif de s'asseoir sur la ceinture de sécurité augmente le risque de blessures en cas d'accident. Pour neutraliser temporairement ou en permanence le rappel de bouclage de ceintures de sécurité BeltMinder14, procédéez comme décrit ci-dessous.
Désactivation temporaire
Chaque fois que la ceinture est bouclée puis débouclée alors que le contact est établi à l'allumage, le rappel de bouclage des ceintures BeltMinder est désactivié, mais uniquement jusqu'à ce que le contact à l'allumage soit coupé.
Sièges et dispositifs de retenue
Désactivation/activation du dispositif de rappel de bouclage de ceinture de sécurité BeltMinder15.
Lisez attentivement les étapes 1 à 9 avant d'activer ou de désactiver le rappel de bouclage de ceinture de sécurité BeltMinder
Pour activer ou désactiver le dispositif BeltMinder, précérez comme décrit ci-dessous.
Avant de commencer, assurez-vous que:
- le frein de stationnement est serré;
- le levier de vitesse est en position de stationnement (P) (boîte de vitesse automatique);
- le contact est coupé;
- toutes les portes sont fermées;
- la ceinture de sécurité du conducteur est déboulée;
- le commutateur des fais de position et des phares est en position d'arrêt (la commande automatique des phares, si le vehicule en est équipé, n'a peu effet sur cette procédure).

Pour réduire les risques de blessure, ne désacteve ou n'activé pas le dispositif de rappel de bouclage de ceinture de sécurité minterl lorsque vous condusiez le vehicule.
- Etablissez le contact à l'allumage. (NE METTEZ PAS LE MOTEUR EN MARCHE)
- Attendez que le témoin de ceinture de sécurité s'éteigne (environ une ou deux minutes).
- Les étapes 3 à 5 doivent être effectuees dans un-delai de 60 secondes, sinon la marche a suivre devra etre reprise du début.
- Bouclez et débouclez la ceinture de sécurité trois fois, en terminant la séquence avec la ceinture débouclée. Cela peut être fait avant oupendant l'activation du rappel de bouclage de ceinture de sécurité BeltMinder
- Allumez et eteignez les feux de position et les phares.
- Bouclez et débouclez la ceinture de sécurité trois fois, en terminant la sequence avec la ceinture débouclée.
- Àpres l'étape 5, le témoin de ceinture de sécurité s'allume pendant trois secondes.
- Lorsque le témoin de ceinture de sécurité s'éteint, dans les sept secondes qui suivent, bouclez et déboucez la ceinture de sécurité.
Sièges et dispositifs de retenue
- Cette action désactive le rappel de bouclage de ceinture de sécurité BeltMinder s'il était activé ou, au contraire, le met en fonction s'il était désactivé.
- La confirmation de la déactivation du rappel de bouclage de ceinture de sécurité BeltMinder est indiquée par le clignotement du témoin de ceinture de sécurité quatre fois par seconde, durant trois secondes.
- L'activation du rappel de bouclage de ceinture de sécurité BeltMinder est confirmée par le clignotement du témoin de ceinture de sécurité quatre fois par seconde, durant trois secondes. Ensuite, le témoin s'éteint pendant trois secondes pour se rallumer et clignoter de nouveau quatre fois par seconde, durant trois secondes.
- Lorsque ces opérations de confirmation ont été effectuees, la déactivation ou l'activation du dispositif est terminée.
Rallonge de ceinture de sécurité
Si la ceinture de sécurité est trop courte lorsqu'elle est totalement déroulée, il est possible d'ajouter une rallonge de ceinture de sécurité de 20 cm (8 po) (numéro de piece 611C22). Vous pouvez obtenir notamment une telle rallonge chez votre concessionnaire.
N'utilise qu'une rallonge provenant du même fabricant que la ceinture que vous pouze allonger. Le fabricant est identifié sur une étiquette située à l'extrémité de la sangle. En outre, n'utilise la rallonge que si la ceinture tirée au maximum est trop courte.

N'utilisez pas une rallonge pour changer la position du baudrier sur la poitrine.
Entretien des ceintures de sécurité
Vérifiez périodiquement toutes les ceintures de sécurité pour vous assurer qu'elles fonctionnent normalement et qu'elles ne sont pas endommagées. Assurez-vous que les ceintures ne sont pas coupées, entaillées ou usées. Remplacez-les au besoin. Tous les dispositifs de retenue, y compris les enrouleurs, les boucles, les ensembles de boucles et languettes des sièges avant, les supports de boucle (regleurs coulissants, selon l'équipement), les regleurs de hauteur des baudriers, les guides de ceinture sur les dossiers de siege (selon l'équipement), les points d'ancrage inférieurs et les boucles de verrouillage pour siege d'enfant, ainsi que la boulonnerie de fixation, doit être vérifiés après une collision. Ford recommends de replacer toutes les ceintures de sécurité qui étaient utilisées au moment de la collision. Cependant, si la
Sièges et dispositifs de retenue
collision était mineure et qu'un technicien qualifié déterminé que les ceintures sont en bon état et fonctionnement correctement, leur remplacement n'est pas nécessaire. Les ceintures qui n'était pas utilisées au moment de la collision doivent quand même être vérifiées et replacées si elles sont endommagées ou ne fonctionnement pas correctement.
Consultez la rubrique Intérieur du chapitre Nettoyage.
DISPOSITIFS DE PROTECTION SUPPLEMENTAIRES

Consignes importantes concernant les dispositifs de protection supplémentaires
Les dispositifs de protection supplémentaires sont concus pour etre utilisés conjointement avec les ceintures de sécurité afin de protégé le conducteur et le passager avant de certaines blessures à la partie supérieure du corps. Les sacs gonflables NE se déploient PAS lentement; il y a risque de blessures causées par un sac qui se gonfle.

Tous les occupants du vehicule, y compris le conducteur, doivent toujours boucler leur ceinture, même lorsque la place qu'ils occupent est équipée d'un sac gonfable.
Sièges et dispositifs de retenue
Placez toujours les enfants de 12 ans ou moins sur le siècle arrêté en utilisant toujours les dispositifs de retenue pour infant équats.
La « National Highway Traffic Safety Administration » (NHTSA) recommends to maintain a distance of 25 cm (10 po) between the poitrine and the occupant's module of sac gonifiable.
Ne laissez jamais votre bras reposer sur le module de sac gonflable car vous risquez de subir des fractures graves ou autres blessures en cas de déploiement du sac.
Pour vous placer correctement par rapport au sac gonfable :
- reculez votre siege au maximum, sans toutefois compromètre votre comport pour la mançuvre des pédales;
- inclinez légèrement le siège d'un ou deux degrés vers l'arrière par rapport à la verticale.
Ne placez pas d'objet ni d'équipement sur ou à proximé d'un module de sac gonflable. Si des objets se trouvent à un endroit où ils pouraient entraer en contact avec le sac gonflable, ils risqueraient d'être projétés contre leur visage ou leur poitrine lors du déploiemment du sac et les risques de blessures en seraient accrus en cas de collision.
Ne tentez pas de réparer ni de modifier les dispositifs de protection supplémentaires ou leurs fusibles. Consultez votre concessionnaire Ford ou Lincoln.
Le sac gonfable du passager avant n'est pas concu pour proteger un passager occuptant la place centrale avant.
Les modifications ou ajouts effectués à l'avant du vehicule (y compris au chassis, au pare-chocs, au train avant et aux crochets de remorquage) peuvent entraver le fonctionnement du système de sacs gonflables et accroître le risque de blessures. Ne modifies jamais l'avant de votre vehicule.
Sièges et dispositifs de retenue
Tout équipement supplémentaire peut entraver le fonctionnement des détecteurs d'impact des sacs gonflables et accroître le risque de blessures. Pour les directives de pose correcte d'équipment supplémentaire, consultez le Livret de disposition des constructeurs de chassis de vehicules Ford.
Enfants et sacs gonflables
Les enfants doivent toujours être correctement retenus. Les statistiques révèdent qu'en cas d'accident, un enfant bien retenu est plus en sécurité sur la banquette arrêté du vehicule que sur le siege avant. Si vous ne suivez pas ces instructions, les risques de blessures en cas de collision seront accrus.

Les sacs gonflables peuvent cause des blessures graves, voiré mortelles, à un enfant assis dans un siège d'enfant. NE place JAMAIS un siège d'enfant ou un porte-bébe orienté vers l'arrière devant un dispositif de sac gonflable activé. Si vous devez poser un siège d'enfant orienté vers l'avant sur le siège avant, reculez le siège du vehicule au maximum.

Sièges et dispositifs de retenue
Fonctionnement des dispositifs de protection supplémentaires (sacs gonflables)
Les sacs gonflables sont conçus pour se déployer lorsque le vehicule subit une décelération longitudinale assez importante pour que les capteurs ferment le circuit électrique qui déclenché le déploiement des sacs.
Si les sacs gonflables ne se déploient
pas lors d'une collision, cela
n'indique pas nécessairement la
présence d'une anomalie du

système, mais simplement que l'impact n'était pas suffisant pour déclencher le déploiement. Les sacs gonflables du conducteur et du passager avant sont conçus pour se déployer en cas de collision frontale ou quasi frontale, et non pas en cas de capotage, de collision latérale ou arrêté, à moins que la collision ne cause une décelération suffisante de la course longitudinale du vehicule.
Une fois actionnés, les sacs gonflables se gonflent et se dégonflentrapidement.Après le déploiement, il est normal de remarquer des résidus poudreux ou une oedur de poudre brulée. Il peut s'agir d'amidon de mais, de talc (qui sert à lubrifier le sac) ou de composés de sodium ( comme le bicarbonate de soude), qui résultat du processus de combustion donnant lieu au gonflage des sacs. Des traces d'hydroxyde sodium peuvent irrter la peau et les yeux, mais aucun de ces résidus n'est toxique.

Les sacs gonflables sont conçus pour réduire les risques de blessures graves; ils peuvent cependant provoquer des écorchures, des enflures ou une perte auditive-temporaire en se déployant. comme les sacs gonflables doivent se déployer rapidement et avec une force considérable, ils seront un risque de blessures mortelles ou graves, comme des fractures, des lésions faciales, oculaires ou internes,
Sièges et dispositifs de retenue
participièrement pour les occupants qui ne sont pas bien retenus ou qui n'occupent pas une position normale au moment du déploiement des sacs. C'est pourquoit il est impératif que le conducteur et le passager de droite avant bouclent leur ceinture de sécurité et se tiennent le plus loin possible des modules de sac gonflable, tout en s'assurant, dans le cas du conducteur, d'être assez rapproché des commandes pour bien conserver la maitrise du vehicule.

Certains éléments des sacs gonflables sont chauds après le gonflage. Evitez de les toucher.

Si le sac gonflable s'est déployé, il ne peut plus fonctionner de nouveau et doit être remplace immediatement. Si le sac glâtable n'est pas remplaced, son compartment vide augmentera les des blessures en cas de collision.
Les dispositifs de protection supplémentaires complrennent les éléments suivants :
- un module de sac gonflable (comprénant le sac et le gonfleur) pour le conducteur et un pour le passager;
- un ou plusieurs capteurs d'impact et de décelération et un module électronique de surveillance des sacs gonflables;
- un témoin de sacs gonflables et un carillon;
- et, enfin, le câblage électricque qui relièc ces différents éléments.
Le module de commande des dispositifs de protection surveille ses propres circuits internes et le cablage du circuit électrique des sacs gonflables (incluant les capteurs d'impact, le cablage complet du système, le témoin, l'alimentation de réserve et les allumeurs des sacs gonflables).
Évaluation du fonctionnement du circuit

Les dispositifs de protection supplémentaires comportent un témoin au tableau de bord ou un carillon servant à indiquer l'état du système.
Consultez la rubrique Témoin des sacs gonflables du chapitre Instruments. Les rideaux gonflables latéraux n'exigent aucun entretien périodique.
Une anomalie des dispositifs de protection supplémentaires est indiquée par un ou plusieurs des signes suivants:
Sièges et dispositifs de retenue
- le témoin des sacs gonflables clignote ou reste allumé;
- le témoin des sacs gonflables ne s'allume pas aussitôt que le contact est établi à l'allumage;
- une série de cinq bips retentit. Cet averissement sonore est repeteé périodiquement jusqu'à ce que l'anomalie soit corrigée et le témoin réparé.
Si l'une de ces situations se produit, même de manière intermittente, faites immédiatement vérifier les dispositifs de protection supplémentaires par votre concessionnaire ou un technicien qualifié. Si la réparation n'est pas effectué, le dispositif peut ne pas fonctionner normalement en cas de collision.
Système de sécurité du pavillon Safety Canopy


Ne placez aucun objet et n'installer aucun
équipement sur ou pres du bord
lateral de la garniture de pavillon,
car ces objets pouraient entraver
le système de sécurité du pavillon
Safety Canopy si celui-ci se
déploie. Ne pas observer ces
directives peut augmenter les
risques de blessures en cas
d'accident.


N'appuyez pas votre tete contre la porte du vehicule. Le système de sécurité du pavillon Safety Canopy10 pourrait vous cause des rôurs s'il se déploie de la garniture de pavillon.

Ne tentez pas de réparer ni de modifier le système de sécurité du pavillon Safety Canopy, ses fusibles, la garniture des pieds, milieu ou arrête, ou la garniture de pavillon sur un vehicule é du système de sécurité du pavillon Safety Canopy. Consultez le concessionnaire Ford ou Lincoln.
Sièges et dispositifs de retenue
Tous les occupants du vehicule, y compris le conducteur, doivent toujours boucler leur ceinture de sécurité, même lorsque la place qu'ils occupent est équipée d'un sac gonfable et du système de sécurité du pavillon Safety Canopy(31).
Pour réduire les risques de blessures, ne place aucun objet qui pourrait entraver le déploiement normal du système de sécurité du pavillon Safety Canopy14.
Fonctionnement du système de sécurité du pavillon Safety Canopy
L'ensemble de sécurité du pavillon Safety Canopy135 a été créé et développé en intégrant des méthodes d'essai mises au point par un groupe d'experts en sécurité automobile appelé le « Side Air Bag Technical Working Group » (Groupe de travail technique sur les rideaux gonflables latéraux). Ces méthodes d'essai recommendées aient à réduire les risques de blessures liées au déploiement des rideaux gonflables latéraux (y compris l'ensemble de sécurité du pavillon Safety Canopy136).
L'ensemble de sécurité du pavillon Safety Canopy se compose des éléments suivants :

- un rideau gonflable en nylon doté d'un gonflaur à gaz caché sous la doublure du pavillon et au-dessus des portes (un de chaque cote du vehicule);
- une doublure du pavillon qui s'ouvre au-dessus des portes afin de permettre le déploiement du système de sécurité du pavillon Safety Canopy;
- les mêmes féminin, circuit de commande électronique et module de diagnostic que pour les sacs gonflables avant;
Sièges et dispositifs de retenue
- deux détecteurs d'impact montés dans les portes avant (un de chaque côté);
- deux détecteurs d'impact fixés sur le pied arrêté, derrière les portes arrêté (un de chaque côte);
- un capteur de capotage dans le module de commande des dispositifs de retenue.
L'ensemble de sécurité du pavillon Safety Canopy, en conjunction avec les ceintures de sécurité, peut contribuer à réduire les risques de blessures graves en cas de collision latorale importante ou de capotage.
Les enfants âgés de douze ans et moins doivent toujours prendre place sur les sièges des deuxième et troisième rangs du vehicule et être convenablement retenus. L'ensemble de sécurité du pavillon Safety Canopy ne généra pas les enfants correctement attachés sur un siège d'enfant ou sur un rehausseur, car il est concu pour se déployer à partir du pavillon vers le bas, au niveau des portes et le long des glaces.
L'ensemble de sécurité du pavillon Safety Canopy est uncon pour se déployer lorsque le vehicule subit une décelération latérale suffisante pour que le capteur d'impact latéral ferme un circuit électrique qui déclenché le déploiement du système de sécurité du pavillon Safety Canopy ou lorsque la possibilité d'un capotage est détectée par le capteur de capotage.
L'ensemble de sécurité du pavillon Safety Canopy est fixé au rail latorial du pavillon, derrière la garniture de pavillon, au-dessus des sièges des premier et deuxième rangs. Dans le cas de certaines collisions laterales ou de capotages, l'ensemble de sécurité du pavillon Safety Canopy se déploie, même si des sièges ne sont pas occupés. Dans le cas de certains capotages, l'ensemble de sécurité du pavillon Safety Canopy se déploie des deux cotés du vehicule, et ce, même si les sièges sont inoccupés. L'ensemble de sécurité du pavillon Safety Canopy est conçu pour se déployer entre la glace laterale et les occupants pour accroître la protection offerte en cas de collision laterale ou de capotage.
Si l'ensemble de sécurité du pavillon Safety Canopy ne se déploie pas lors d'une collision, cela n'indique pas nécessairement la présence d'une anomalie du système, mais simplement que l'impact n'était pas suffisant pour déclencher le déploiement. Le déploiement du système de sécurité du pavillon Safety Canopy n'est prévu qu'en cas de certaines collisions laterales ou de capotage, mais pas en cas de collision frontale, quasi frontale ou arrière, à moins que l'impact ne soit suffisamment violent pour provoquer une importante décelérationLTRALE ou un risque de capotage.
Sièges et dispositifs de retenue
Plusieurs composants du système de sécurité du pavillon Safety Canopy sont chauds après le déploiement. Ne les touche pas après leur déploiement.

Après s'être déployé, l'ensemble de sécurité du pavillon Safety Canopy ne peut pas fonctionner de nouveau, sauf s'il est remplaced. L'ensemble de sécurité du pavillon Safety Canopy et ses éléments (y compris la garniture des pieds avant, milieu et arrière) doivent être inspectés et replacés au besoin, tel que prescrit par les directives du manuel de réparation et d'entretien. Si l'ensemble de sécurité du pavillon Safety Canopy n'est pas remplaced, son compartment vide augmentera les risques de blessures en cas de collision.
Évaluation du fonctionnement du système
Les dispositifs de protection supplémentaires comportent un témoin au tableau de bord ou un carillon servant à indiquer l'état du système. Consultez la rubrique Témoin des sacs gonflables du chapitre Tableau de bord. Les rideaux gonflables latéraux n'exigent aucun entretien périodique.
Une anomalie des dispositifs de protection supplémentaires latraux est indiquée par une ou plusieurs des situations suivantes :
- le témoin d'activation (le même que celui des sacs gonflables avant) clignote ou resté allumé;
- le témoin des sacs gonflables ne s'allume pas aussitôt que le contact est établi à l'allumage;
- une série de cinq bips retentit. Cet averissement sonore est repété périodiquement jusqu'à ce que l’anomalie soit corrigée ou que le témoin soit réparé.
Si l'une de ces situations se produit, même de manière intermittente, faites immédiatement vérifier les dispositifs de protection supplémentaires par votre concessionnaire ou un technicien qualifié. Si la
Sièges et dispositifs de retenue
réparation n'est pas effectué, le dispositif peut ne pas fonctionner normalement en cas de collision ou de capotage.
Comment se débarrasser des sacs gonflables ou des vehicules qui en sont équipés (y compris les pretendeurs)
Consultez votre concessionnaire local ou un technician qualifié. Cette intervention DOIT ÉTRE effectue unequément par du personnel qualifié.
DISPOSITIFS DE RETENUE POUR ENFANTS
Consultez les rubriques qui suivent pour savoir comment utiliser adéquatement les dispositifs de retenue pour enfants. Consultez également la rubrique Dispositifs de protection supplémentaires du present chapitre pour connaître les directives spéciales d'utilisation des sacs gonflables.
Précautions relatives aux dispositifs de retenue pour infant
Au Canada et aux États-Unis, les lois rendent obligatoire l'emploi de dispositifs de retenue pour infant. Si vous transportez dans votre vehicule des enfants âgés de quatre ans ou moins et pesant jusqu'à 18 kg (40 lb), vous doivent les asseoir dans des sièges concus spécialement pour eux. Les lois de plusieurs juridictions exigent l'utilisation de rehauseres approuvés pour les enfants de moins de huit ans. Consultez les loi en vigueur dans votre région concernant la sécurité des enfants à bord de leur vehicule. Dans la mesure du possible, faites asseoir les enfants de moins de douze ans sur la banquette arrière de votre vehicule. Les statistiques révèlent qu'en cas d'accident, un enfant bien retenu est plus en sécurité sur la banquette arrière du vehicule que sur le siège avant.

Ne laïsez jamais un passager tenir un enfant sur ses genoux, quand le vehicule est en marche. Un passager ne peut pas saiger un enfant des blessures en cas de collision.
Respectez soigneusement les directives du fabricant accompagnant le siège d'enfant ou le porte-bébe dont vous équipEZ votre vehicule.
Enfants et ceintures de sécurité
Si la taille de l'enfant le permet, il est recommandé de l'attacher dans un siège d'enfant.
Si l'enfant est trop grand pour un siège d'enfant (selon les prescriptions du fabricant du siège), il doit toujours être attaché avec l'une des ceintures de sécurité du vehicule.
Sièges et dispositifs de retenue
Respectez tous les conseils importants sur les dispositifs de retenue et les sacs gonflables qui s'appliquent aux adultes dans votre vehicule. Si le baudrier de la ceinture peut être positionné de façon à ne pas reposer sur le visage ou sur le cou, attachez l'enfant avec la ceinture trois points. Le fait de déplacer l'enfant vers le centre du vehicule peut aider à peuax ajuster le baudrier.

Ne laissez jamais d'enfants, d'adultes non responsables ou d'animaux seuls dans le vehicule.
Rehausseur pour enfant
En général, les enfants sont trop grands pour les sièges d'enfant convertibles typiques lorsqu'ils atteignent 18 kg (40 lb) ou qu'ils ont environ quatre ans. Bien que la ceinture trois points fournisse une certaine protection, ces enfants sont encore trop petits pour que la ceinture trois points s'ajuste correctement, ce qui risque d'augmenter les risques de blessures graves.
Afin d'améliorer l'ajustement de la ceinture sous-abdominale et de la ceinture à baudrier pour les enfants trop grands pour utiliser un siège d'enfant, Ford recommendé l'utilisation d'un rehausseur.
Le rehausseur offre un meilleur ajustement de la ceinture trois points sur l'enfant. L'enfant est aussi plus haut, de sorte que la ceinture sous-abdominaleonne sur ses hanches et que ses genoux pendent plus comfortable. Le rehausseur ameliore aussi l'ajustement du baudrier et le comport de I'enfant qui I'utilise.
Recommendations d'utilisation du rehausseur par les enfants
Les enfants doivent utiliser un rehauser des qu'ils sont trop grands pour un siège d'enfant et jusqu'à ce qu'ils soient assez grands pour que la ceinture trois points s'ajuste correctement. En général, la ceinture trois points s'ajuste correctement lorsqu'ils atteignent environ 36 kg (80 lb) (soit huit à douze ans).
Sièges et dispositifs de retenue
Le rehauser doit être utilisé jusqu'à ce que vous puissiez répondre
« OUI » à TOUTES les questions suivantes :
L'enfant peut-il s'asseoir le dos contre le dossier du siège tout en gardant les genoux comfortablement plies sur le bord du siège sans etre affaisé?

- La ceinture sous-abdominale passer-t-elle bas sur ses hanches?
- Le baudrier passé-t-il au centre de son épaulé et de sa poitrine?
- L'enfant peut-il rester assis ainsi pour toute la durée du trajet?
Types de rehausseur
Il existence deux types de rehausseur :
- Sans dossier.
Si vous rehausseur sans dossier possede un bouclier amovible, retirez celui-ci et utilisez la ceinture trois points. Si le dossier du siege du vehicule est bas et sans appui-tete, un rehausseur sans dossier peut elever la tete (au-dessus du niveau des oreilles) de I'enfant au-dessus du siege.
Dans un tel cas, installez le

rehauser sans dossier à une autre place où le dossier est plus élevé et équipé d'une ceinture trois points.
Avec dossier
Si, lors de l'utilisation d'un rehausseur sans dossier, vous ne pouvez trouver de siege qui supporte adequatement la tete de l'enfant, un rehausseur à dossier doit alors être utilisé.

Sièges et dispositifs de retenue
Les deux types de rehausseur peuvent etre utilisés dans un vehicule sur un siège doté d'une ceinture trois points si I'enfant pèse plus de 18 kg (40 lb).
Le baudrier doit passer sur la poitrine de l'enfant et reposer fermement au centre de son épaule. La ceinture sous-abdominale doit passer et reposer fermement sur ses hanches, jamais sur l'estomac.
Si le rehauser glisse sur le siège du vehicule, il peut être maintainu en place en installing un filt caoutchoute vendu comme doublure d'etagere ou sous-tapis.
L'importance du baudrier
La tete de l'enfant peut heurter une surface dure lors d'une collision si un rehausseur est utilisé sans baudrier. De ce fait, n'utilisez jamais de rehausseur avec une ceinture sous-abdominale uniquement. Il est recommandé d'utiliser un rehausseur avec une ceinture trois points sur un siège arrêté, qui représentée la place la plus sure pour un enfant.

Respectez toutes les directives fournies par le fabricant du rehausseur.

Ne faites jamais passer le baudrier sous le bras de l'enfant ou derrière son dos, ce qui annule toute protection au niveau du et accroit les risques de blessures graves ou mortelles en cas de on.

N'asseyez jamais l'enfant sur des coussins, des livres ou des serviettes. Ceux-ci peuvent glisser et accroître les risques de rues graves ou mortelles en cas de collision.
Sièges et dispositifs de retenue
SIÉGES DE SECURITE POUR ENFANT

Siège d'enfant ou porte-bébe
Utilisez un siège d'enfant recommandé pour le poids et la taille de l'enfant. Respectez toutes les directives du fabricant du siège d'enfant que vous installez dans votre vehicule. Si le siège d'enfant n'est pas installé convenablement, l'enfant risque d'être blessé en cas d'arrêt brusque ou de collision.
Procedez comme suit pour installer un siège d'enfant :
- lisez et respectez les directives données à la rubrique Dispositifs de protection supplémentaires de ce chapitre;
- utilisez la boucle de la ceinture de sécurité qui correspond à la place assise où vous installez le siège d'enfant (la boucle la plus proche de la direction d'ou provient la languette);
insérez la languette dans la boucle correspondante jusqu'à ce que vous entendiez un déclic et assurez-vous que la ceinture est bien bouclée. Assurez-vous que la languette est bloquée dans la boucle; - placez le dossier du siège en position verticale;
- faites passer l'enrouleur en mode de blocage automatique. Consultez la rubrique Mode de blocage automatique du present chapitre;

Sièges et dispositifs de retenue
- le siège central du deuxième rang peut être avancé pour installer un enfant dans un siège d'enfant pres des occupants du siège avant. Le siège doit être en position arrière complète lorsqu'il est occupé par des enfants plus几年前 ou des femmes;
des points d'ancrage inférieurs sont recommandés lorsque des enfants jusqu'à 22 kg (48 lb) prenant place dans un siège d'enfant. Les ancrages supérieurs peuvent être utilisés pour des enfants pesant jusqu'à 27 kg (60 lb) prénant place dans un siège d'enfant, et pour fournir une retenue de la partie supérieure du torsé pour des enfants jusqu'à 36 kg (80 lb) à l'aide d'un harnais de torsé supérieur et d'un rehausseur.
Ford recommande d'utiliser un siège d'enfant muni d'une sangle de retenue fixée à la partie supérieure du siège. Installez le siège d'enfant à une place assise munie de boucles de verrouillage et d'ancrages. Pour obtenir de plus amples renseignements sur les sangles de retenue supérieures et les ancrages, consultez la rubrique Ancrage des sièges d'enfant au moyen d'une sangle de retenue du present chapitre. Pour obtenir de plus amples renseignements sur les boucles de verrouillage, consultez la rubrique Ancrage des sièges d'enfant au moyen de fixations à boucles de verrouillage inférieures et points d'ancrage du present chapitre.

Ne manquez pas de respecter les directives du fabricant fournisse, et avec le siege afin d'éviter tout risque de blessures à l'enfant en ce collision ou d'arrêt brutal.
Pose d'un siège d'enfant en utilisant la ceinture trois points

Les sacs gonflables peuvent cause des blessures graves, voire mortelles, à un enfant assist dans un siège d'enfant. NE place
JAMAIS un siège d'enfant ou un porte-bébé orienté vers l'arrière devant un dispositif de sac gonflable activé. Si vous nevez poser un siège d'enfant orienté vers l'avant sur le siège avant, reculez le siège du vehicule au maximum.

Les enfants de douze ans et moins doivent, dans la mesure du possible, prendre place sur la banquette arrêté du vehicule et onvenablement retenus.
Sièges et dispositifs de retenue
- Placez le siège d'enfant sur un siège muni d'une ceinture trois points.

- Tirez sur le baudrier et saisissez ensemble le baudrier et la ceinture sous-abdominale.

- Tout en tenant le baudrier et la sangle sous-abdominale ensemble, faites passer la languette à travers le siège d'enfant en respectant les directives du fabricant du siège. Assurez-vous que la sangle n'est pas vrillée.

Sièges et dispositifs de retenue
-
Insérez la languette de la ceinture dans la boucle correspondante (la plus proche de la direction d'ou vient la languette), jusqu'à ce que vous entendiez un déclic et que vous sentiez le dispositif s'enclenger. Tirez sur la languette pour vous assurer qu'elle est bien verrouillée.
-
Pour placer l'enrouleur en mode de blocage automatique, tirez sur le baudrier jusqu'à ce que la sangle soit entièrement déroulée. Un déclic doit se faire entendre.


-
Laissez la sangle se rétractor. UnCLSiqueisse fait entendrependant que la ceinture se rétracte et indique que l'enrouleur est passé en mode de blocage automatique.
-
Tirez sur la ceinture sous-abdominale en travers du siège d'enfant vers la boucle, et tirez le baudrier vers le haut, tout en appuyant sur le siège d'enfant avec le genou.

Sièges et dispositifs de retenue
-
Laissez la ceinture de sécurité se rétracter pour la tendre.
-
Avant d'asseoir l'enfant, essayez de faire balancer le siege de l'avant vers l'arrière pour vous assurer qu'il est bien fixé. Pour vérifier cette condition, empaignez le siege et la courroie et tentez de déplacer le siege latéralement, puis vers l'avant.
Si l'installation est adequate, vous ne devriez pas etre en mesure de

déplacer le siège sur une distance de plus de 2,5 centimétres (1 pouce).
- Vérifiez à nouveau que l'enrouleur est bien en mode de blocage automatique en tirant sur la ceinture (la ceinture doit être bien bloquée). Si l'enrouleur n'est pas bloqué, déboucez la ceinture et repézez les étapes 2 à 9.
Avant chaque utilisation, assurez-vous que le siège d'enfant est bien retenu en place.
Ancrage des sièges d'enfant au moyen d'une sangle de retenue
La plupart des nouveaux sièges d'enfant orientés vers l'avant comportent une sangle de retenue qui passe par-dessus le dossier du siège et se fixe à un point d'ancrage. Certains fabricants de sièges d'enfant offrent des sangles comme accessoires pour les anciens modèles. Adressez-vous au fabricant du siège que vous pouze utiliser pour obtenir des renseignements à ce sujet.
Certains des sièges arrirée de votre vehicule sont pourvus de points d'ancrage pour sangle de retenue intégrés, situés derrière les sièges, aux emplacements indiqués dans les illustrations suivantes.
Pour la place centrale du troisième rang, la patte d'ancrage consiste en une boucle au bas du dossier de siège.
Les points d'ancrage pour sangle de retenue de votre vehicule se trouvent aux emplacements suivants (vus du haut):
Sièges et dispositifs de retenue
- Banquete du deuxième rang

Sièges baquets du deuxième rang


Fixez la sangle de retenue uniquement au point d'ancrage approprié, tel qu'indiqué sur l'illustration. La sangle de retenue perdre de son efficacité si elle est fixée à un endroit autre que le d'ancrage prévu.
Positions assises du deuxieme rang
- Placez le siège d'enfant sur le coussin de siège.
- Localisez la patte d'ancrage sous l'arrière du siège.
places laterales

Sièges et dispositifs de retenue
- place centrale (selon l'équipement)

- Faites passer la sangle de retenue du siege d'enfant sous l'appui-tete (sièges latéraux) et par-dessus le dossier du siege.
-
Saisissez la sangle de retenue et placez-la sur l'armature du siège.
-
Faites tourner la sangle de retenue et agrafez-la à l'ancrage du cadre de siège.


Sièges et dispositifs de retenue
- Tournez l'attache de la sangle de retenue.

- Serrez la sangle de retenue du siège d'enfant selon les directives du fabricant.
Positions assises du troisieme rang
- Placez le siège d'enfant au centre du coussin de siège.
- Faites passer la sangle de retenue du siège d'enfant par-dessus le dossier du siège.

-
Repérez la boucle d'ancrage de sangle pour la place choisisie.
-
Il se peut que vous ayez à tirer vers vous le panneau rabattable le long du bas du dossier de siège pour avoir accès à la patte d'ancrage.


Sièges et dispositifs de retenue
- Fixez la sangle de retenue à la boucle d'ancrage, tel qu'illustré.

Si la sangle de retenue n'est pas fixe correctement, le siege d'enfant risque de se detacher en cas d'accident.

- Fixez le siège d'enfant solidement au moyen des points d'ancrage pour siège d'enfant ou des ceintures de sécurité du vehicule. Suivez les directives expliquées dans ce chapitre.
- Serrez la sangle de retenue du siège d'enfant selon les directives du fabricant.
Si le siège d'enfant n'est pas solidement fixé aux points d'ancrage, l'enfant court des risques beaucoup plus grands d'être blessé en cas d'accident.
Ancrage des sièges d'enfant au moyen de fixations à boucles de verrouillage inférieures et points d'ancrage
Certains sièges d'enfant comprconnent deux fixations rigides ou montées sur sangle qui se raccordent à deux points d'ancrage situés à certaines des places de votre vehicule. Ce type de siège d'enfant élimine le besoin d'utiliser les ceintures de sécurité pour fixer le siège d'enfant. Pour les sièges d'enfant orientés vers l'avant, la sangle de retenue doit également être fixée à la patte d'ancrage correspondante. Consultez la rubrique Ancrage des sièges infant au moyen d'une sangle de retenue du present chapitre.
Sièges et dispositifs de retenue
Votre vehicule est équipé de points d'ancrage destinés à l'installation d'un siège d'enfant aux places assises marquées du symbole de siège d'enfant.


Ne fixez jamais deux sièges d'enfant à boucles de verrouillage au même point d'ancrage. En cas d'accident, un seul point d'ancrage peut ne pas être assez solide pour retenir deux sièges d'enfant et pourrait se casser, provoquant ainsi des blessures graves ou la mort.
Les points d'ancrage inférieurs destinés à l'installation d'un siège d'enfant sont situés dans la partie postérieure des sièges du deuxième rang, entre le coussin du siège et le dossier. Les points d'ancrage se trouvent sous les pictogrammes situés sur le dossier de siège.

Veuillez suivre les instructions du fabricant pour installer correctement le siège d'enfant à boucles de verrouillage.
Sièges et dispositifs de retenue

N'installez les fixations inférieures du siège d'enfant qu'aux points d'ancrage illustrés.
Si vous installez un siège d'enfant muni de fixations rigides, ne tendez pas la sangle de retenue au point de soulever le siège lorsque l'enfant y est assist. Serrez la sangle de retenue juste assez pour que l'avant du siège d'enfant ne soit pas soulevé. La(Meilleure protection en cas d'accident grave est assurée lorsque le siège d'enfant entre a peine en contact avec I'avant du siège.
Chaque fois que vous utilisez le siège d'enfant, assurez-vous qu'il est bien fixé aux points d'ancrage inférieurs et à la patte d'ancrage. Essayez de le faire bouger de gauche à droite et tirez-le aussi vers l'avant pour vous assurer qu'il est convenablement retenu par les bouches de verrouillage.

Si le siège d'enfant n'est pas solidement fixé aux points d'ancrage, l'enfant court des risques de blessures nettement plus en cas d'accident.
DÉMARRAGE
Positions du commutateur d'allumage
- La position Arrêt/Verrouillage
bloque le volant et le levier de
vitesse (boîte de vitesse
automatique) et permet de retarder la
cle du commutateur d'allumage. - La position Accessoires permet le fonctionnement des accessoires electriques, tels que la radio, lorsque le moteur ne tourne pas.
- La position Contact met tous les circuits électriques sous tension et allume les témoins. La clé demeure dans cette position pendant la conduite du vehicule.
- La position Demarrage permet de lancer le moteur. Relâchez la clé dés que le moteur démarre.

Préparation au démarrage
Le démarrage du moteur est commandé par le module de commande du groupe motopropulseur. Ce circuit est conforme à toutes les normes canadiennes relatives aux interférences radioélectriques.
Lors de la mise en marche d'un moteur à injection, n'appuyez pas sur l'accelerateur avant ou durant le démarriage. N'utilise l'accelerateur que si vous éprouvEZ de la difficulté àmettre le moteur en marche. Pour obtenir de plus amples renseignements sur le démarriage, consultez la rubrique Demarrage dans le present chapitre.

Le fait de laisser le moteur tourner au ralenti à régime élevé de façon prolongée peut produit des températures très élevées au du moteur et de la tuyauterie d'échéppement et ainsi entraineris risques d'incendie et d'autres dommages au vehicule.

Ne stationnez pas, ne faites pas tournier le moteur au ralenti et ne conduisez pas votre vehicule sur du gazon sec ou tout autre mention de sol sec. Les dispositifs antipollution ont pour effet lever la température du compartmentement moteur et de la tuyauterie mappements au point de pouvoir provoquer un incendie sur de tels
Conduite
Ne faites jamais demarrer le moteur dans un garage ou autre local fermé, car les gaz d'échéppement sont toxiques. Ouvrez toujours la porte du garage avant de demarrer. Consultez la rubrique intitulée Précautions contre les gaz d'échéppement du present chapitre.
Si vous percevez une odeur de gaz d'échéppement dans l'habitacle, faites immédiatement vérifier et réparer le vehicule par votre concessionnaire. Ne conduisez pas le vehicule si vous détectez une odeur de gaz d'échéppement dans l'habitacle.
Consignes de sécurité importantes
Un ordinateur de bord commande le régime de ralenti du moteur. Quand vous faites demarrer le moteur, le régime de ralenti est plus élevé afin de rechauffer le moteur. Si le régime de ralenti du moteur ne diminue pas automatiquement, faites vérifier le vehicule. Ne laissez pas le moteur tourner pendant plus de dix minutes à ce régime élevé.
Avant le démarriage :
- Assurez-vous que tous les occupants ont boucé leur ceinture de sécurité. Pour obtenir de plus amples renseignements concernant l'utilisation correcte des ceintures de sécurité, consultez le chapitre Sièges et dispositifs de retenue.
- Assurez-vous que les phares et tous les accessoires du vehicule sont hors fonction.
- Assurez-vous que le levier de vitesse est en position de stationnement (P).

Conduite
- Assurez-vous que le frein de stationnement est bien serrer.

- Tournez la clé à la position Contact (3) sans atteindre la position Demarrage (4).


Assurez-vous que les témoins correspondants s'allument ou s'allument brièvement, selon le cas. Si un témoin ne s'allume pas, faites vérifier votre vehicule.
- Si la ceinture de sécurité du conducteur est bouclée, il est possible que le témoin ne s'allume pas.
Démarrage du moteur
Remarque: Chaque fois que vous mettez le moteur de votre vehicule en marche, relâchez la clé des que le moteur démarre. Un lancement prolongé du moteur risque d'endommager le démarreur.
Conduite
- Tournez la clé à la position de démarrage (4) sans appuyer sur la pedale d'accélérateur et relâchez la clé des que le moteur démarre. La clé revient automatiquement à la position de contact (3).
- Relâchéz la clé lorsquè le moteur démarre.
- ÀpRES avoir fait tourné le moteur au ralenti pendant quelques

seconds, enforcez la pedale de frein, engagez un rapport, puis mettez le vehicule en mouvement.
Remarque: Si le moteur ne démarre pas dans les cinq secondes au premier essai, coupez le contact, attendez dix secondes et essayez de nouveau. Si le moteur ne démarre toujours pas, appuyez à fond sur l'accelerateur et essayez de nouveau; ceci permettra de lancer le moteur avec le carburant coupé, dans l'eventualité où le moteur serait noyé.
Utilisation du chauffe-moteur (selon l'equipement)
Si un chauffe-moteur est installé dans votre vehicule en usine, un ensemble bouchon en caoutchouc visible est fixé à la grille située à l'avant du vehicule. Si le chauffe-moteur est installé en usine, cet ensemble n'est pas fixé au vehicule lors de la livraison et doit être installé par le concessionnaire. Si le chauffe-moteur n'est pas installé en usine, il peut être acheté auprès du concessionnaire. Des bouchons en caoutchouc de rechange sont disponibles après de votre concessionnaire, sous le numéro de piece 3L1Z-6E088-AA.

L'emploi d'un chauffe-moteur est fortement recommendé si vous habitez une région où la température descend en dessous de -23^ (-10^) . Pour obtenir deaillesurs résultats, branche le chauffe-moteur au moins trois heures avant le demarrage du vehicule (le chauffe-moteur peut etre branché pendant la nuit). Pour brancher le chauffe-moteur, retirez le bouchon de la fiche et inserez cette derniere dans une prise de 110 V
Conduite
mise à la masse. Assurez-vous de remettre le bouchon sur la fiche lorsque le chauffe-moteur n'est pas utilisé.
Remarque: Assurez-vous de-retirer le bouchon de la fiche lorsqu'you vourez le capot.

Ne branchez pas le chauffe-moteur sur un circuit electrique qui n'est pas mis à la terre ou avec un adaptateur à deux broches réduire les risques de chocs electriques.
Précautions contre les gaz d'échéppement
L'oxyde de carbone est present dans les gaz d'échéppement. Prenez vos précautions pour en éviter les dangers.

Si vous-percevez une odeur de gaz d'échéppement dans l'habitacle,faites immédiatement vérifier et réparer le vehicule au autre concessionnaire. Ne conduisez pas le vehicule si vous tenez une odeur de gaz d'échéppement dans l'habitacle.
Rensseignements importants relatifs à l'aération de l'habitacle
Si vous laissez le moteur tourner longtemps au ralenti alors que votre vehicule est arrêté, baissez les glaces d'au moins 2,5 cm (1 po) ou réglez les commandes de chauffage et de climatisation pour permettre à l'air frais de pénétrer dans l'habitacle.
FREINS
Les freins de votre vehicule se reglent automatique. Consultez le Calendrier d'entretien periodique pour obtenir de plus amples renseignements sur les intervalles d'entretien.
Un bruit occasionnel des freins est normal et ne signale pas nécessairement une anomalie de fonctionnement. Des grincements occasionnels ou intermittents des freins peuvent se faire entendre durant la conduite normale d'un vehicule quand les freins sont serrés. Ces bruits se produit normalement au cours des premiers freinages de la journée, mais peuvent également survenir à tout moment. Ils peuvent être plus prononcés dans certaines conditions atmosphériques comme le froid, la chaleur et l'humidité, ou par la poussière de la route, le sel et la boue. S'il se produit un bruit de frottement métallique, un grincement continu ou un raclement incessant pendant le freinage, cela peut signifier que les garnitures de frein sont usées; faites-les vérifier par un technicien qualifié.
Conduite
Lorsque vous descendez une longue côte, rétrogradez dans un rapport inférieur de la boîte de vitesses. Evitez un freinage continu, car une surchauffe et une perte d'efficacité des freins pourrait en résultat.
Témoin de défaillance du freinage antiblocage
Sur les vehicules équipés de freins antiblocage (ABS), vous pourriez remarquer un bruit provenant du moteur de la pompe hydraulique et une pulsation au niveau de la pédale lorsque le freinage antiblocage entre en action. Des pulsations de la pédale accompanies de bruit lors d'un freinage d'urgence ou d'un freinage sur du gravier, des bosses, des routes mouillées ou enneigées sont normales et indiquent le bon fonctionnement du système de freinage antiblocage. Les freins antiblocage effectuant un autodiagnostic après la mise en route. Vous pourriez entendre un bref bruit mécanique pendant cette vérification. Ceci est normal. En cas d'anomalie, le témoin de défaillance du freinage antiblocage s'allume. Si des vibrations ou des secousses sont continulement dessenties au niveau du volant lors du freinage, il est recommendé de faire vérifier votre vehiculeès que possible par un technicien qualifié.
La fonction antiblocage entre en jeu dés que le module détecte la possibilité de blocage d'une roule lors d'un freinage, en compensant cette tendance. Les freins antiblocage empêchent le blocage des roues, même si les freins sont fermement serrés.
Méthode de freinage avec freins antiblocage (ABS)
- En cas de freinage d'urgence ou lorsque l'efficacité maximale des freins antiblocage aux quatre roues est requise, appuyez à fond sur la pédale de frein. La fonction antiblocage aux quatre roues entrende immédiatement en jeu, ce qui vous permettra de garder la maitrise de la direction, d'éviter des obstacles si la distance qui vous en sépare est suffisante et d'arrête le vehicule de façon contrôle.
- La fonction antiblocage des freins ne réduit pas toujours la distance de freinage. Prévoyez toujours une distance suffisante entre notre vehicule et celui qui vous précéde.
- Ford recommende de vous familiariser avec cette technique de freinage. Evitez toute fois de prendre des risques inutiles.
Témoin de défaillance du freinage antiblocage

Le témoin (ABC) s'allume brievement au tableau de bord lorsque le contact est établi à l'allumage. Si ce témoin ne s'allume pas brievement
Conduite
lorsque le contact est établi, resté allumé ou clignote, c'est l'indication que les freins antiblocage requisérènt une intervention.
Lorsque le témoin de défaillance du freinage antiblocage est allumé, la fonction antiblocage est désactivée, mais le freinage normal est encore possible, à moins que le témoin de
BRAKE


frein ne soit également allumé lorsque le frein de stationnement est desserré. (Si le témoin de frein s'allume, faites immédiatement réparer votre vehicule.)
Assistance au freinage d'urgence (selon l'équipement)
Le système d'assistance au freinage d'urgence fournit toute la force de freinage disponible en cas de freinage d'urgence. Il détecte un serrage rapide de la pédale de frein et optimise l'assistance du servovfrein, ce qui aide le conducteur à atteindre la pression de freinage maximale. Lorsque le serrage des freins en situation d'urgence est détecté, le système reste en fonction tant que la pédale de frein est enforcée. Le système est désactivé lorsque la pédale de frein est reliachée.
Lorsque le système est activé, la résistance de la pedale de frein est minime, ce qui est normal.
Frein de stationnement avec fonction de desserrage automatique (P) (selon l'equipement)
Serrez le frein de stationnement chaque fois que vous stationnez le vehicule. Pour serrer le frein de stationnement, enforcez la pédale de frein jusqu'à la butée.

Lorsque le contact est etabli à l'allumage, le témoin de frein du tableau de bord s'allume et resté allumé jusqu'à ce que le frein de stationnement soit desserré.
BRAKE

Conduite
Serrez toujours fermement le frein de stationnement et assurez-vous que le levier de vitesse est fermement engagé en position de stationnement (P).
Le frein de stationnement n'est pas destiné à arrêter un vehicule en marche. Vous pouvez toutes vous en servir en cas d'urgence comme frein de secours si les freins réguliers font défaut. Cependant, étant donné que le frein de stationnement n'agit que sur les roues arrrière, la distance de freinage sera considérablement accrue et le comportement du vehicule s'en ressentira.
Votre vehicule est équipé d'une fonction de desserage automatique du frein de stationnement. Pour desserrer le frein de stationnement :
- Tournez la clé de contact à la position Contact.
- Enforcez la pédale de frein.
- Déplacez le levier de vitesse de la position de stationnement (P) (le frein de stationnement se desserre automatiquement lorsque vous passez en marche arriere). La pédale de frein doit demeurer enforcée pendant le déplacement du levier de vitesse.
Si le frein de stationnement ne se desserre pas une fois cette procedure complétée, utilisez le levier de desserrage manuel du frein de stationnement.
Pour desserrer le frein, tirez sur le levier de déverrouillage. La conduite avec le frein de stationnement serré a pour effet d'user rapidement les garnitures de frein et d'augmenter la consommation de carburant.

DIRECTION
Votre vehicule est équipé d'une direction assistée. La direction assistée emprunte l'énergie du moteur afin de réduire l'effort fourni par le conducteur pour diriger le vehicule.
Pour éviter d'endommager la pompe de servodirection :
- ne maintainez jamais le volant de direction tourné vers l'extreme droit ou l'extreme gauche pendant plus de quelques secondes lorsque le moteur tourne;
Conduite
- ne conduisez pas votre vehicule si le niveau du liquide de la pompe de direction assistée se trouve sous le repere MIN du réservoir.
En cas de panne de la direction assistée (ou si le moteur est arrêté), le volant de direction peut être tourné manuellement, mais l'effort requis est accru.
Si la direction a tendance à dévier ou à tirer, vérifie la présence des problèmes suivants :
gonflage insuffisant des pneus d'une ou de plusieurs roues
- répartition inégale du chargement du vehicule
chaussée fortement bombée en son centre
- forts vents lateraux
- déréglage de la géométrie des roues du vehicule
- éléments de la suspension desserrés ou usés
Direction à assistance variable en fonction de la vitesse
Votre vehicule est muni d'une direction à assistance variable en fonction de la vitesse. À basse vitesse, l'assistance à la direction s'ajuste pour réduire l'effort et améliorer la manœuvrabilité à basse vitesse tandis qu'à haute vitesse, l'assistance s'ajuste pour améliorer la sensibilité de la direction.
Si l'effort requis pour manqueevrer la direction de votre vehicule change alors que vous maintainez une vitesse constante, faites vérifier le circuit de direction assistée par votre concessionnaire ou par un technicien qualifié.
SUSPENSION PNEUMATIQUE
La suspension pneumatique est conçue pour améliorer le comport, la tenue de route et la performance générale du vehicule. Pour ce faire, la hauteur d'assiette du vehicule se regle en fonction de la vitesse du vehicule, de la charge ajoutée ou enlevée et de la mise en service des 4 roues motrices (selon l'équipement). Aucune intervention du conducteur n'est requise pour ajuster le dispositif si le vehicule fonctionne normalement.
Lorsque you montez dans le vehicule alors que le contact n'est pas etabli, la suspension pneumatique a déjà abaissé automatiquement le vehicule à sa hauteur d'assiette minimale pour vous en facilititer l'entrée. A l'ouverture d'une porte ou du hayon, le système met en mémoire la hauteur du vehicule et maintain le vehicule à cette hauteur jusqu'à ce
Conduite
que toutes les portes soient fermées ou que la vitesse du vehicule dépasse 24km / h (15 mi/h). La suspension pneumatique élève le vehicule à son niveau normal de conduite lorsqu'el contact est établi, que toutes les portes sont fermées et que la boîte de vitesses est en prise.
Lorsque le vehicule se déplace, la suspension pneumatique règle la hauteur de suspension du vehicule en position normale de conduite pour ainsi maximier votre comfort. Si votre vehicule est équipé de 4 roues motrices et que vous passerez en mode 4 roues motrices de gamme basse, la suspension pneumatique ne descend pas à son niveau le plus bas; la hauteur d'assiette s'éleve plutôt au-dessus de la position de conduite normale (à des vitesses inférieures à 40 km/h [25 mi/h]), permettant ainsi d'augmenter la garde au sol.
Si une charge est ajoutée ou retiree du vehicule, la fonction de correction d'assiette de la suspension pneumatique reglera la suspension de maniere a ce que la hauteur du vehicule soit constante.
Lorsque vous quittez le vehicule, la suspension pneumatique abaisse automatiquement celui-ci à son niveau le plus bas pour faciliter la sortie. La suspension pneumatique pourrait produces un bourdonnement ou un déclic à la coupure du contact. Le système de suspension pneumatique demeure en fonction pendant 40 minutes après que le contact ait été coupé, de façon à s'ajuster à tout changement dans la charge du vehicule. (Le compresseur d'air peut fonctionner lorsque le moteur est à l'arrêt; il s'agit là d'une situation normale.)
Le commutateur d'arrêt de la suspension pneumatique se trouve derrière deux panneaux d'accès, sur la garniture de l'aile arrête gauche, pres du hayon. Pour retarder le premier panneau, tournez la commande dans le sens inverse des aiguilles d'une montre et retirez le panneau.

Pour les vehicules équipés d'une suspension pneumatique, mettez la suspension pneumatique hors fonction et coupez le contact avant le remorquage ou l'élevation du vehicule (à l'aide du cric ou par autres moyens).
Conduite
Pour retirer le deuxième panneau, poussez la languette vers le bas pour le déverrouiller.

Appuyez sur la partie inférieure de l'interrupteur pourmettre la suspension pneumatique hors fonction.

Conduite
PONT A GLISSEMENT LIMITE (SELON L'ÉQUIPEMENT)
Ce pont améliore l'adhérence sur chaussée glissante, particulièrement lorsqu'une roue patine. Dans des conditions normales de conduite, le fonctionnement du pont à glissement limité est identique à celui d'un pont arrêté standard.
L'utilisation prolongée de pneus de dimensions différentes de celles préconisées par le constructeur sur un pont arrière à glissement limité peut entraîner une réduction d'efficacité permanente. Cela n'a cependantaucun effet sur la conduite normale et ne devrait pas été perché par le conducteur.
PREPARATIFS AVANT LA CONDUITE

Les vehicules utilisaires ont tendance à se renverser nettement plus souvent que les autres types de vehicules.

En cas de capotage du vehicule, les risques de blessures mortelles sont plus grands pour une personne qui neporte pas l'enture de sécurité que pour une personne qui la porte.
Votre vehicule offre des caractéristiques spéciales et il est doté d'équipements spéciaux qui lui permettent d'être utilisé sur une grande variété de surfaces de roulement. Ces caractéristiques spéciales, comme les pneus de largeur supérieure et la garde au sol accrue, rendent son centre de gravité plus élevé que celui des voitures de tourisme.

La conduite des vehicules utilitaires et des vehicules à quatre roues motrices qui ont un centre de gravité élevé estente de celle des vehicules qui ont un centre de gravité plus bas. Vehicules utilisaires et les vehicules à quatre roues motrices nepas concus pour prendre des virages à haute vitesse comme en le faire les voitures de tourisme, au même titre que les vres de sport surbaissées ne sont pas conques pour la conduite terrain. Evitez les virages brusques, les vitesses excessives et les yeuvres abruptes avec de tels vehicules. Une conduite dangereuse entre les risques de perte de maîtrise du vehicule, de sorcement ainsi que de blessures graves ou mortelles aux avant.
Conduite

Lorsqu'un vehicule à centre de gravité élevé est chargé, ses caractéristiques diffèrent de celles d'un vehicule non chargé.
Lors de la conduite d'un vehicule lourdement charge, prenez des mesures de sécurité exceptionnelles. Conduisez à une vitesse réduite et prévoyez une plus longue distance de freinage.
Votre vehicule est capable de transporter une charge plus lourde et un plus grand nombre de passagers que la plupart des vehicules de tourisme. Selon le type de charge transporte et son emplacement sur ou dans le vehicule, le transport d'une charge ou de passagers peut lever encore plus le centre de gravité du vehicule.
Soyez très prudent et familiarisez-vous avec votre vehicule. Tenez compte de vos possibilités et de vos limites ainsi que de celles de votre vehicule.
FONCTION D'AMELIORATION DE LA STABILITE DE LA COMMANDE DE STABILITE (SELON L'ÉQUIPEMENT)
La commande de stabilité procure une fonction d'amélioration de la stabilité ainsi qu'une fonction d'amélioration de l'adherence du vehicule. Elle aide le vehicule à garder une bonne adhérence sur les routes glissantes ou vallonnées, en détectant et en contrôle le patinage des roues. Le patinage excessif des roues est contrôle en réduisant momentarily la puissance du moteur et en serrant rapidement les freins antiblocage. Cette fonction sert principalement à améliorer la maîtrise du vehicule sur les routes enneigées ou verglacées.
Si vous véchicule est pris dans la neige profonde ou la boue, il peut être utile demettre la commande de stabilité hors fonction en appuyant sur le bouton approprié. Ceci permet à vos pneus de « creuser » la surface, pour plus de traction.
Si la commande de stabilité est activée et désactivée à de nombreuses reprises en peu de temps, la portion freinage de cette-ci se met hors fonction pour permettre aux freins de refroidir. Une fonction de commande de stabilité limite n'utilisant que la réduction de la puissance du moteur contribue tout de même à réduire le patinage des roues. Le fonctionnement normal reprend des que les freins ont refroidi. Le freinage antiblocage n'est pas compromis par cette situation et continue à fonctionner normalement pendant la période de refroidissement des freins.
La commande de stabilité améliore la stabilité du vehicule lors de manoeuvres faisant appel à toute l'adhérence disponible, en particulier
Conduite
lors de la conduite sur route mouillée, enneigée ou verglacée ou en cas de manœuvre d'urgence. Par exemple, le conducteur bénéficiaie d'une adhérence accrue et conserve une meilleure maitrise du vehicule s'il doit effectuer d'urgence un changement de voie.
La commande de stabilité aide le conducteur à conserver la maitrise du vehicule s'il commence à tourner trop à gauche ou trop à droite, ou à déraper. La commande de stabilité tarde de corriger le glissement létal en appliquant de la force de freinage individuellement à chaque roue et, au besoin, en réduisant la puissance du moteur.
La commande de stabilité peut entrer en action dans les conditions suivantes :
- prise trop rapide d'un virage;
- coups de volant rapides pour éviter un accident, un piéton ou un obstacle;
- plaque de glace;
- changement de voie sur une route enneigée;
- passage d'une route secondaire enneigée à une route principale dégagée, ou vice-versa;
passage d'une route d'asphalte à une route de gravier, ou vice-versa; - contact avec le bord du trottoir lors d'un virage;
- conduite sur surface glissante.
- prise d'un virage avec une remorque très chargée (consultez la rubrique Traction d'une remorque de ce chapitre).
La commande de stabilité se met en fonction pour optimiser la stabilité du vehicule en conduite sportive. Elle aide à dévelopir la stabilité du vehicule en conduite sportive en appliquant de la force de freinage à une ou plusieurs roues.
La commande de stabilité peut entrer en action dans les conditions suivantes :
- changements de voie subits;
- prise trop rapide d'un virage;
- coups de volant rapides pour éviter un accident, un piéton ou un obstacle;
- contact avec le bord du trottoir lors d'un virage;
La commande de stabilité est toujours mise en fonction lorsqu'le moteur est lancé. Cependant, le système ne fonctionne pas lorsqu'le
Conduite
vécuule est en marche arrêté ni en mode quatre roues motrices de gamme basse (4L ou 4X4 LOW), si le vehicule est équipé de 4 roues motrices. Dans ces modes, les fonctions de freinage antiblocage et d'amélioration de l'adhérence continuant de fonctionner.
Le bouton de la commande de stabilité permet au conducteur de controller la disponibilité de cette dernière. L'état de la commande de stabilité est indiqué par un témoin lumineux sur lequel est illustré le

pictogramme d'un vehicule en train de déraper. Le témoin clignote au tableau de bord lorsque la commande est en fonction et un indicateur sur le bouton s'allume lorsque la commande est neutralisée. Dans les vehicules équipés d'un afficheur multimessage, le message « Roll Stability Control OFF » (commande de stabilité désactivée) s'affiche.
Si une anomalie est detectée dans la commande de stabilité, le témoin du tableau de bord demeure allumé. Si le témoin reste allumé pendant que le moteur tourne, faites immeditatement réparer la commande.
Appuyez une fois sur le bouton pour neutraliser la fonction d'amélioration de la stabilité de la commande de stabilité et la portion réduction de la puissance du moteur de la fonction d'amélioration de l'adherence. La portion freinage de la fonction d'amélioration de l'adherence continue de fonctionner normalement. Maintenez le bouton enforcé pendant plus de cinq secondes pour annuler la fonction d'amélioration de la stabilité du vehicule et la fonction d'amélioration de l'adherence de la commande de stabilité. Si votre vehicule est pris dans la neige ou la boue ou si vous conduisez dans le sable profond, il peut être utile de neutraliser la commande de stabilité pour que les roues puissant patiner. Si la puissance du moteur de votre vehicule semble être réduite lors de la conduite sur le sable profond ou dans la neige très profonde, neutralisez la fonction d'amélioration de la stabilité de la commande de stabilité pour rétablier la puissance du moteur; ici diminuè l'inertie du vehicule, l'aidant ainsi à traverser l'obstacle.
Certsains conducteurs pourraient remarquer un léger mouvement de la pédaie de frein lorsque la commande de stabilité effectue son autodiagnostic. Lors de la mise en fonction de la commande de stabilité, vous pouvez remarquer les phénomènes suivants :
- un grondement ou un rachatement;
- une légere deceleration du vehicule;
- le témoin de la commande de stabilité qui clignote;
Conduite
- si vous pied est sur la pédale de frein, vous dessentirez une vibration;
- dans des conditions de conduite extrêmes, si vous pied n'est pas sur la pédale de frein, celle-ci s'enforcera pourmettre les freins en œuvre. Il se peut que vous entendiez aussi un bruit de déplacement d'air provenant du dessous de la planche de bord.
Ces conditions sont normales lors du fonctionnement de la commande de stabilité.
N'altérez pas et ne modifiez pas les caractéristiques de la suspension ou de la direction de votre vehicule, car tout changement à la tenue de route du vehicule comprométrait le fonctionnement de la commande de stabilité. De plus, n'installez pas de haut-parleur pres de la console centrale avant, ni sous ni l'un ni l'autre des sièges avant. Les vibrations causées par un haut-parleur peuvent avoir un impact sur les capteurs de la commande de stabilité placés à ces endroits.
Remarque: La commande de stabilité est désactivée lorsque le bouton de cette dernière est enforcé.
Des habitudes de conduite agressives, quelles que soient les conditions routières, peuvent vous faire perdre le contrôle du vehicule et augmenter les risques de blessures graves et de dégats matériels. L'activation de la commande de stabilité est une indication que la capacité d'adherence d'un ou de plusieurs pneus a été dépassée et que, consequement, les risques de perte de maitrise ou de renversement du vehicule ainsi que de blessures graves ou mortelles sont accrus. En cas de problème grave en cours de conduite, RALENTISSEZ.
FONCTIONNEMENT DE LA BOITE DE VOTESSES AUTOMATIQUE
Interverrouillage du levier sélecteur
Votre vehicule est doté d'un dispositif d'interverrouillage du levier sélecteur qui empêche ce dernier de sortir de la position de stationnement (P) lorsque le contact est établi tant que la pedale de frein n'est pas enforcée.
Si vous ne pouvez pas déplacer le levier de vitesse hors de la position de stationnement (P) lorsque le contact est établi et que la pédale de frein est enforcée, il est possible qu'un fusible soit grillé ou que les feuels stop ne fonctionnent pas convenablement. Consultez la rubrique Fusibles et reliais du chapitre Dépannage.
Conduite
Si le fusible n'est pas grillé, observez la procédure suivante :
- Serrez le frein de stationnement, tournez la clé à la position Verrouillage, puis retirez-la.
- Écartez l'encadrement de ses languettes de blocage en insérant un outil non métallique (tel qu'un tournévis en plastique ou un outil équivalent) entre le soufflet de levier de vitesse et l'encadrement en plastique. Soyez prudent pour éviter d'endommager
l'encadrement en plastique ou le soufflet de levier de vitesse lorsque vous ecartez

I'encadrement de ses languettes de blocage.
- Tirez l'encadrement suffisamment vers le haut pour exposer l'intérieur du compartment du levier de changement de vitesse.

Conduite
-
Appuyez sur le bouton blanc (situé sur le côte du boitier du levier sélecteur) et maintenez-le enforcé (tel qu'indiquedans l'illustration). Appuyez sur le bouton de dégagement du levier de vitesse sur le pommeau de levier et déplacez le levier de vitesse en position de point mort (N) (deux positions depuis la position de stationnement [P]).
-
Faites demarrer le vehicule et desserrez le frein de stationnement.


Ne conduisez pas avant d'avoir confirmé le fonctionnement des deux stop.

- Serrez toujours fermement le frein de stationnement et assurez-vous que le levier de vitesse est engagé en position de finnement (P). Tournez la clé de contact en position Antivol et z-la du commutateur d'allumage avant de quitter le vehicule.

Si le témoin de frein reste allumé alors que le frein de stationnement est complètement desserré, il se peut que les soient défectueux. Consultez votre concessionnaire ou un besoin qualifié.
Conduite avec une boîte de vitesses automatique à quatre rapports
La boîte de vitesses automatique de votre vehicule est pourvue d'une strategie spéciale de passage des rapports qui assure un rendement maximum du chauffage par temps froid.
Conduite
Lorsque la température ambiente descend à -5 °C (23 °F) ou moins et que la température du liquide de refroidissement est inférieure à 38 °C (100 °F), la montée des rapportés peut être légarement retardée. Quand le liquide de refroidissement atteint une température de 71 °C (160 °F), le passage normal des rapportés de la boîte de vitesses est rétabli. Cette situation est normale et n'a aucun effet néfaste sur le fonctionnement ni sur la longévité de la boîte de vitesses.
Si le passage normal des rapportes ne reprend pas une fois que le liquide de refroidissement a retrouvé sa température normale de fonctionnement ou que la retrogradation ne s'effectue pas correctement ou que d'autres anomalies de fonctionnement se manifestent, consultez votre concessionnaire ou un technician qualifié des que possible.
Positions du levier de vitesse
Pour engager la boîte de vitesses, mettez le moteur en marche, enforcez la pédale de frein puis sortez le levier de vitesse de la position de stationnement (P).

Appuyez sur la pédale de frein lorsque vous déplace le levier, sa selector est de la position de stationnement (P) à une autre fois, sinon将自己的 vehicule risque de se déplacer inopinément et de derider qu'un.
Stationnement (P)
Immobilisez toujours complètement vos vécuule avant de placer le levier de vitesse en position de stationnement (P). Celui-ci doit être fermement bloqué à la position de stationnement (P). Cette position bloque la boîte de vittesses et empêche les roues arrrière de tourner.

Conduite
Serrez toujours fermement le frein de stationnement et assurez-vous que le levier de vitesse est engagé en position de stationnement (P). Tournez la clé de contact en position Antivol et retirez-la du commutateur d'allumage avant de quitter le vehicule.
Marche arrête (R)
Lorsque le levier de vitesse est en position de marche arriere (R), le vehicule recule. Immobilisez toujours complètement le vehicule avant de placer le levier de vitesse en position de marche arriere ou de l'en sortir.

Point mort (N)
Lorsque le levier de vitesse est au point mort (N), vous pouvez faire demarrer le moteur et les roues peuvent tournier librement. Dans cette position, maintenez la pedale de frein enforcée.

Conduite
(D) (Surmultipliee)
Il s'agit de la position normale de conduite pour optimiser la consommation de carburant. La boite de vitesses monte et descend les rapportes de la première à la quatrième vitesse.

La surmultipliee peut etree
desactivée en appuyant sur le
contacteur d'annulation de la
surmultipliee situé a l'extrémite du
levier de vitesse.

Le témoin d'annulation de la surmultiplée s'allume alors au tableau de bord.

Marche avant automatique - n'apparait pas à l'affichage. Pour obtenir cette position, appuyez sur le contacteur d'annulation de la surmultiplie situé à l'extrémité du levier de vitesse, avec le levier en position D. Le témoin d'annulation de la surmultiplie s'allume alors au tableau de bord. La boîte de vitesse fonctionne de la première à la troisième vitesse. La marche avant automatique D offre un meilleur frein moteur que la surmultiplie D et elle est utile dans les conditions suivantes:
- conduite avec chargement lourd;
- traction d'une remorque sur route fortement valonnée;
accroissement du frein moteur en descente. Si vous tractez une remorque, consultez la rubrique Conduite avec une remorque de la section Traction d'une remorque.
Conduite
Pour repasser de la marche avant automatique a mode de surmultiplie, appuyez sur le contacteur d'annulation de la surmultiplie. Le témoin s'éteint alors.
Lors de chaque démarrage, la boîte de vitesses revient automatiquement en mode normal de surmultiplée.
Chaque fois que le contact est coupé puis rétabli à l'allumage, vous doivent appuyer sur le contacteur d'annulation de la surmultiplée pour désactiver la surmultiplée si vous ne souhaitez pas utiliser ce mode.
Deuxieme imposée (2)
Utilisez la deuxieme imposée (2) pour demarrer sur chaussée glissante ou pour accroître le frein moteur en descente.

Première imposée (1)
Passez en première imposée (1) pour obtenir un frein moteur maximal en descente abrupte. De ce rapport, vous pouvez passer à la deuxieme imposée (2) ou à (surmultiplie). Le passage en première (1) à une vitesse élevée peut forcer la boîte de vittesses à rétrograder et à ne passer en première (1) qu'une fois que le vehicule a suffisamment ralenti.

Pour accélérer en mode (urmipliee) ou en marche avant automatique (annulation de la surmultipliee) lorsque vous doublez un autre vehicule, appuyez a fond sur la pedale d'accelerateur. La boite de vitesses passae automatiquement au rapport approprié : troisieme (3), deuxieme (2) ou première (1).
Conduite
Stratégie de passage des vitesses (boite de vitesses automatique 4R100)
Votre boîte de vitesses automatique 4R100 commande le passage des vitesses pour correspondre à vos habitudes de conduite, grâce à une strategie d'apprentissage adaptative. La strategie adaptative est alimentée par la batterie. Lorsque la batterie est débranchée ou remplacee, la boîte de vitesses doit réapprendre ses paramètres de fonctionnement. Le passage optimal des vitesses reprendra après quelques centaines de kilomètres (milles) de conduite.
Si la qualité de passage des vitesses ne s'améliore pas après quelques centaines de kilomètres (milles) de conduite, ou si la rétrogradation ne s'effectue pas correctement et que d'autres anomalies de fonctionnement se manifestent, consultez votre concessionnaire ou un technicien qualifiéès que possible.
Si vous vehicule reste pris dans la boue ou dans la neige
Si vous véchicule resté immobilisé dans la boue ou dans la neige, il est possible de le dégager en alternant de façon régulière les passages en marche avant et en marche arrière, avec un arrêt entre chaque cycle. Appuyez légèrement sur la pédale d'accéléateur dans chaque rapport.
N'utilise pas cette méthode de va-et-vient si le moteur n'a pas atteint sa température normale de fonctionnement, car la boîte de vitesses pourrait alors être endommagée.
Ne continue pas cette manœuvre pendant plus d'une minute, car la boîte de vitesses et les pneus risqueraient d'être endommages et le moteur pourrait surchauffer.
Si vous véchicule est équipé du dispositif AdvanceTrac(13), il peut être utile de mettre celui-ci hors fonction pour permettre aux roues de patiner.
Conduite
SONAR DE RECUL LONGUE PORTÉE
Le sonar de recul longue portée déclenché un signal sonore pour avertir le conducteur de la présence d'un obstacle pres du pare-chocs arrêté lorsque le vehicule fait marche arrière.
Pour réduire les risques de blessures, assurez-vous de bien comprendre les limites de fonctionnement du sonar de recul longue portée décrites dans la presente section. La fonction du sonar de recul se limite à la détéction de certains types d'obstacles (surtout ceux qui sont immobiles et de grande dimension) lorsque le vehicule se déplace lentement en marche arrière et en terrain plat. Le mauvais temps peut avoir un impact sur le sonar de recul; le rendement de ce dernier peut être réduit ou le système peut se déclencher alors qu'il n'y a pas d'obstacle.
Pour éviter les blessures, soyez toujours prudent lorsque vous faites marche arrêté et que vous utilisez le sonar de recul longue portée.
Ce dispositif n'est pas concu pour éviter le contact avec des objets en mouvement ou de petite dimension. Ce dispositif est concu pour avertir le conducteur de la présence d'obstacles afin de prévenir les dommages au vehicule. Il est possible que de petits obstacles, en particulier ceux qui se trouvent au ras du sol, ne soient pas déteCTS par le sonar de recul.
Certsains appeareils ajoutés, tels que des attelages de remorques de grande talle, des supports à bicyclettes ou à planches de surf, peuvent bloquer la zone de détction du sonar de recul et entrainer de fausses alertes.
Le sonar de recul aide le conducteur à détecter la présence de certains obstacles derrière le vehicule lorsque celui-ci se déplace lentement en marche arrière, à une vitesse inférieure à 10 km/h (6 mi/h). Ce dispositif est incopérant lorsque le vehicule se déplace à une vitesse supérieure à 10 km/h (6 mi/h) et il peut ne pas détecter certains obstacles angulaires ou mobiles.
Conduite
Le sonar de recul détecte des obstacles dans une zone allant jusqu'à six metres (20 pi) à l'arrête du pare-chocs arrêté; cette distance de détction est moindre aux extrémités du pare-chocs (pour connaître les distances de détction approximatives, consultez les illustrations). Le sonar de recul retentit à une fréquence de plus en plus élevée à mesure que le vehicule se rapproche de l'obstacle. Lorsque la distance séparant le pare-chocs de l'obstacle est inférieure à 45 cm (18 po), le sonar de recul retentit de façon continue. Si le dispositif détecte un objet s'approchant rapidement du vehicule et qu'il faille freiner, le sonar de recul retentit très rapidement. Si le sonar de recul retentitpendant la marche arrêté, il est recommendé au conducteur de ralentir immidiatement jusqu'à ce qu'lementment ou s'arrête.


Le volume de la radio s'abaisse à une valeur déterminée lorsque le signal du sonar retentit. Le volume de la radio se rétablit à sa valeur initiale lorsque le signal du sonar cesse de retentir. Le volume de la radio peut être régle manuelle à l'aide du bouton de volume.
Le sonar de recul longue portée se met automatiquement en fonction lorsque le levier sélecteur se trouve en position de marche arrrière (R) et que le contact est établi. Une commande dans l'afficheur multimessage permet au conducteur de désactiver le sonar de recul longue portée uniquement lorsque le contact est établi à l'allumage et que le levier sélecteur se trouve à la position de marche arrrière (R).
Veillez à ce que les capteurs (situés sur le pare-chocs arrêté ou sur son bouclier) ne soient pas obstrués par de la neige, de la glace ou des accumulations de saleté (ne nettoyez pas les capteurs au moyen d'objets tranchants). L'accumulation de neige, de glace ou de saleté sur les capteurs peut nuir au bon fonctionnement du système.
Si le vehicule subit des dommages qui decentrent ou tordent le pare-chocs ou le bouclier arriere, la zone de détction peut etre
Conduite
alterée, ce qui peut entrainer une estimation erronée des distances ou de fausses alertes.
CONDUITE EN MODE 4 ROUES MOTRICES (4X4) CONTROL TRAC (SELON L'ÉQUIPEMENT)

Des renseignements importants au sujet de l'utilisation en toute sécurité de ce type de vehicule se trouvent à la rubrique
Préparats avant la conduite du present chapitre.
Si le vehicule est équipé du système Control Trac 4x4, et que le mode 4L (4x4 gamme basse) est sélectionné alors que le vehicule est en mouvement, le système ne se met pas en fonction. Il s'agit d'une situation normale qui ne doit pas vous inquieter. Avant de pouvoir passer en mode 4L (4x4 gamme basse), le vehicule doit être mis à l'arrêt complèt avec la pedale de frein enforcée et la boîte de vitesses au point mort (N).
Le vehicule ne doit pas etre utilise en mode 4H (4x4 gamme haute) ni en mode 4L (4x4 gamme basse) sur un pavé sec. Cela pourrait rendre difficile le débrayage de la boîte de transfert, en plus d'augmenter l'usure des pneus et la consommation de carburant et de causeur d'eventuels dommages aux organes de transmission.
Votre vehicule à 4 roues motrices est doté du système Control Trac pour service dur, lequel inclut une boîte de transfert électronique. Ce système exclusif réagit aux conditions routières, en contrôle et en ajustant continuèlement le couple fourni aux roues avant et arrêté, ce qui a pour effet d'optimiser la tenue de route du vehicule.
Témoins du système
Les témoins du système Control Trac ne s'allument que dans les conditions représentées ci-dessous. Si ces témoins s'allument pendant la conduite en modes 2H ou A4WD, faites vérifier votre vehicule par votre concessionnaire Ford dés que possible.
4X4 HIGH - s'allume brievement lors du demarrage. Il reste allumé lorsque le mode 4H (gamme haute) est selectionné.
4x4
HIGH
Conduite
4X4 LOW - s'allume brievement lors du demarrage. Il reste allumé lorsque le mode 4L (gammeasse) est selectionné.
4x4
LOW
Positions du système Control Trac
Le système Control Trac fonctionnelleselon quatre modes:

- le mode 2H (2 roues motrices gamme haute) produit un couple sur les roues arrêté seulement. C'est le mode approprié pour la conduite normale sur chaussée seche;
- le mode A4WD (4X4 automatique) commande
electroniquement les quatre roues motrices; le couple est alors transmis aux quatre roues, selon les besoins, pour augmenter la traction. Ce mode convient à toutes les conditions de conduite sur route sèche, mouillée, enneigée ou recouverte de gravier;
- le mode 4H (4 roues motrices gamme haute) transmet un couple 4 roues motrices verrouillé mécaniquement, tant sur les roues avant que sur les roues arrrière. Le témoin « 4X4 » s'allume au tableau de bord lorsque cette position est sélectionnée. Cette position n'est pas recommandée sur la chaussée seche. Elle est uniquement prévue pour les conditions hivernales ou hors route difficiles, comme dans la neige profonde, sur la glace et dans le sable peu profond;
- le mode 4L (4 roues motrices gamme basse) transmet un couple 4 roues motrices verrouillé mécaniquement lorsqu'une plus grande puissance est nécessaire à vitesse réduite. Le témoin « 4X4 LOW » s'allume au tableau de bord lorsque cette position est sélectionnée. Cette position n'est pas recommandée sur la chaussée seche. Utilisez ce mode pour les déplacements hors route à basse vitesse ou lorsqu'une plus grande puissance est nécessaire, comme pour monter une pente abrupte, traverser du sable profond ou tirer un bateau hors de l'eau.
Remarque: Si vous vehicule est équipé du dispositif AdvanceTrac10, celui-ci désactive automatiquement la fonction antilacet lorsque vous passez de la position A4WD à la position 4L (4x4 gammeasse). La fonction de traction asservie au freinage demeure toujours en service.
Conduite
Le dispositif antilacet AdvanceTracTM peut être mis hors fonction manuellement en appuyant sur le bouton AdvanceTracTM (consultez la rubrique Dispositif antilacet AdvanceTracTM dans ce chapitre) alors que le vehicule est en position 2H, A4WD ou 4H et que vous conduisez dans le sable profond, la neige très profonde ou que vous effectuez des manoeuvres hors route plus contraignantes. Cela a pour effet demettre la fonction de gestion du moteur hors fonction, permettant au vehicule de maintainir une pleine puissance et de profiter d'un effet ponctuel plus poussé en présence d'un obstacle.
Les vehicules utilisaires et a quatre roues motrices ne sont pas concus pour prendre des virages a haute vitesse comme peuvent le faire les voitures de tourisme, de meme que les voitures sport a carrosserie basse ne sont pas prevues pour etre utilisées en conduite tout-terrain. Evitez les virages brusques et les manoeuvres abruptes avec de tels vehicules.
Remarque: Le selector de fonction Control Trac ne doit pas etre changé de position lorsque les roues arriere patinent.
Utilisation du système Control Trac
Changement de gamme depuis 2H vers A4WD ou 4H
Déplacez le sélecteur de la boîte de transfert à la position A4WD ou 4H, à une vitesse quelconque en marche avant, qui ne dépasse pas 88 km/h (55 mi/h). Le témoin « 4X4 » s'allume au tableau de bord lorsqu'le mode 4H est seLECTIONné.

Passage du mode A4WD en mode 4H
Faites passer le selecteur de A4WD à 4H à un arrêt ou lorsque vous conduisez à n'importe celle vitesse.

Changement de gamme depuis 2H, A4WD ou 4H vers 4L
- Arretez le vehicule et gardez la pedale de frein enforcée.
- Placez le levier selecteur au point mort (N).
- Placez le selecteur de la boite de transfert en position 4L.

Remarque: Certains bruits peuvent se produit lorsqu'le système change de gamme ou s'engage.
Changement de gamme depuis 4L vers 4H, A4WD ou 2H
- Arretez le vehicule et gardez la pedale de frein enforcée.
- Placez le levier selecteur au point mort (N).
- Placez le selecteur en position 4H, A4WD ou 2H.
Remarque: Certains bruits peuvent se produit lorsqu'le système change de gamme ou s'engage.

Conduite
Conduite hors route avec une camionnette ou un vehicule utilitaire
Les vehicules à 4 roues motrices sont spécialement concus pour la conduite sur le sable, dans la neige, dans la boue et sur terrain accidente; ils possedent des caractéristiques différentes des vehicules classiques, tant en conduite sur route qu'en conduite hors route.
Le dispositif antilacet AdvanceTracTM peut être mis hors fonction manuellement en appuyant sur le bouton AdvanceTracTM (consultez la rubrique Dispositif antilacet AdvanceTracTM dans ce chapitre) alors que le vehicule est en position 2H, A4WD ou 4H et que vous conduisez dans le sable profond, dans de la neige très profonde ou que vous effectuez des manoeuvres hors route plus exigeantes. Cela a pour effet demettre la gestion du moteur hors fonction, ce qui permet au vehicule de maintainir sa pleine puissance et de profiter de son elan pour traverser les obstacles.
Ce en quoi votre vehicule differe des autres vehicules
Les camionnettes et les vehicules tout-terrain peuvent se désigner de certains autres vehicules. Voitre vehicule peut etre plus elevated pour permettre la conduite sur des terrains accidentes sans risque de rester pris ou d'endommager des composants du dessous de la carrosserie.
Ces différences, qui rendent votre vehicule plus polyvalent qu'un vehicule classique, peuvent aussi render sa maniability très différente de cette d'une voiture conventionnelle.
Il est important de garder la maitrise de la direction, en particulier sur terrain accidenté. comme les variations de terrain peuvent provoquer de vives réactions de la direction, tenez toujours le volant par le pourtour et non par les branches.
Conduisez prudemment pour éviter les dommages causés par des obstacles dissimulés, comme les grosses roches ou les souches.
Vous devriez connaître le relief du secteur où vous vous rendez (en étudiant des cartes détaillées au besoin) avant de vous y aventurer. Decidez du trajet à suivre avant le départ. Pour garder la maitrise de la direction et du freinage, il est indispensable que les quatre roues restent au sol et qu'elles tournent sans patiner ni déraper.
Principes de base
- N'utilisez pas les gamas 4H (4x4 gamme haute) ou 4L (4x4 gamme basse) sur les routes à revétement sec et ferme, car cela risquérait d'endommager les ponts et les arbres de transmission.
- Conduisez lentement en cas de forts vents lateraux, car ceux-ci peuvent affecter la maniability du vehicule.
Conduite
- Faites preuve d'une extrème prudence lorsque vous conduisiez sur une route rendue glissante par du sable, de l'eau, du gravier, de la neige ou de la glace.
Si le vehicule quitte le rebord de la chaussee
- Si vous vécique quitte le bord de la chaussée, ralentissez, mais évitez d'appliquer brusquement les freins. Ramenez le vehicule sur la chaussée uniquement une fois votre vitesse réduite. Ne tournez pas le volant brusquement pendant que vous ramenez le vehicule sur la route.
- Il peut être plus sur de ralentir graduèlement sur le tablier ou sur l'accotement avant de revenir sur la route. Vous risquez de perdre la maîtrise du vehicule si vous ne ralentissez pas ou si vous manœuvrez le volant brusquement.
- Il peut être préférable de heures de dettes obstacles, tels que des balises réfléchissantes, et de subir des dommages mineurs au vehicule,只不过 que de tenter de revenir brusquement sur la chausse, ce qui peut entraîner la perte de maïtrise et le renversement du vehicule. N'oubliez pas que votre sécurité et cette d'autrui doivent constituer votre première préoccupation.
La conduite des vehicules utilaitaires et des vehicules à 4 roues motrices qui ont un centre de gravité élevé est différente de celle des vehicules qui ont un centre de gravité plus bas. Les vehicules utilaitaires et les vehicules à 4 roues motrices ne sont pas concus pour prendre des virages à haute vitesse comme peuvent le faire les voitures de tourisme, au même titre que les voitures de sport surbaissées ne sont pas concues pour la conduite tout-terrain. Evitez les virages brusques, les vitesses excessives et les manoeuvres abruptes avec de tels vehicules. Une conduite dangereuse accroit les risques de perte de maitrise du vehicule, de renversement ainsi que de blessures graves ou mortelles aux occupants.
Si vous vechicule reste pris
Si vous Vehiclecule reste pris dans la neige ou dans la boue, il est possible de le degager par mouvement de va-et-vient en passant successivement en marche avant et en marche arriere de façon uniforme et avec un arrêt entre chaque cycle. Appuyez légèrement sur la pédale d'accéléateur dans chaque rapport.
N'utilise pas cette méthode de va-et-vient si le moteur n'a pas atteint sa température normale de fonctionnement, car la boite de vitesses pourrait alors être endommagée.
Conduite
Ne continuez pas cette manoeuvre pendant plus de quelques minutes, car la boîte de vitesses et les pneus risqueraient d'être endommages et le moteur pourrait surchauffer.
Serrez toujours fermement le frein de stationnement et assurez-vous que le levier de vitesse est engagé en position de stationnement (P). Tournez la clé de contact en position Antivol et retirez-la du commutateur d'allumage avant de quitter le vehicule.
Si le témoin de frein reste allumé alors que le frein de stationnement est complètement desserré, il se peut que les freins soient défectueux. Consultez votre concessionnaire ou un technicien qualifié.
Ne faites pas patiner les roues à plus de 56~km / h (35 mi/h). Les pneus pourrait éclater et inférer des blessures à un passager ou à une personne se trouvant à proximé.
Manoeuvres d'urgence
- Dans une situation d'urgence inévitable ou un virage brusque doit être effectué, assurez-vous de ne pas survivir le vehicule, c'est à dire, ne tournez le volant qu'avac la rapidité et à l'angle nécessaires afin d'éviter l'obstacle. Donner des coups de volant a pour effet de réduire la maîtrise du vehicule et non de l'augmenter. N'appuyez pas brusquement sur l'accéléateur ou sur la pédale de frein pour accéléérer ou ralentir. Evitez de donner des coups de volant, d'accéléérer ou de freiner brusquement, ce qui pourrait vous faire perdre la maîtrise du vehicule et entraîner son renversement ou des blessures. Utilisez toute la surface de la route à votre disposition pour redresser la trajectory du vehicule.
- En cas d'arrêt d'urgence, éviter de faire patiner les roues et essayez de ne pas donner de coup de volant.
Conduite
La conduite des vehicules utilaitaires et des vehicules à 4 roues motrices qui ont un centre de gravité élevé est différente de celle des vehicules qui ont un centre de gravité plus bas. Les vehicules utilitaires et les vehicules à 4 roues motrices ne sont pas concus pour prendre des virages à haute vitesse comme peuvent le faire les voitures de tourisme, au même titre que les voitures de sport surbaissées ne sont pas concues pour la conduite tout-terrain. Evitez les virages brusques, les vitesses excessives et les manoeuvres abruptes avec de tels vehicules. Une conduite dangereuse accroit les risques de perte de maitrise du vehicule, de renversement ainsi que de blessures graves ou mortelles aux occupants.
- Si le revêtement change, par exemple du béton au gravier, le comportement du vehicule sera différent (direction, accelération ou freinage). Encore une fois, évitez les manoeuvres brusques.
Système Control Trac à 4 roues motrices
Lorsque le mode 4 roues motrices est selectionné, le système Control Trac fait appel aux quatre roues pour propulser le vehicule. La traction est ainsi accrue, ce qui vous permet de conduire sur des terrains ou dans des conditions routières que les vehicules à 2 roues motrices doivent généralement éviter.
La puissance motrice est transmise aux quatre roues par l'intémediaire d'une boîte de transfert. Sur les vehicules à 4 roues motrices, la boîte de transfert vous permet de selectionner au besoin le mode 4 roues motrices. Vous trouvez des renseignements relatifs au
fonctionnement de la boîte de transfert et aux procédures de passage des rapportés dans le present chapitre. Vous trouvez des renseignements relatifs à l'entretien de la boîte de transfert dans le chapitre Entretien et caractéristiques. Lisez attentivement ces renseignements avant de conduire votre vehicule.

\section*{Caracteristiques normales}
Sur certains modeles à 4 roues motrices, le passage initial du mode 2 roues motrices au mode 4 roues motrices pendant la conduite peut occasionner un cognement momentané ou des cliquetis. Ces bruits proviennent des organes de transmission avant qui se synchronisent et engagent les roues avant; il s'agit d'une situation normale.
Conduite
Conduite sur le sable
Si vous conduissez sur du sable, essayez de garder les quatre roues sur les parties les plus fermes de la piste. Evitez de réduire la pression des pneus. Rétrogradez plôtot et avancez à vitesse constante sur le sol. Accélérez lentement et ne faites pas patiner les roues.
S'il est indispensable de réduire la pression des pneus sur du sable, n'oubliez pas de les reckoner à la pression prescrite dés que possible.
Remarque: Si vous vehicule est équipé d'un système de surveillance de la pression des pneus, le témoin de ce dernier peut s'allumer selon la quantité d'air se dégageant de vos pneus ou selon la distance pouvant être parcourue par le vehicule en présence de ces conditions.
Évitez les vitesses excessives car les mouvements du vehicule peuvent être difficiles à contenir et à diriger. Vous pourriez vous enforcer dans le sable au point de devoir faire appel à un autre vehicule pour vous dégager. Retenez qu'il est souvent possible de se tirer d'un mauvais pas en reculant avec précaution.
Si vous vécicule est équipé du dispositif AdvanceTrac20, appuyez sur le bouton AdvanceTrac21 (consultez la rubrique Dispositif antilacet AdvanceTrac23 duprésent chapitre) lorsque vous conduisez dans du sable profond et que la puissance du moteur diminue trop.
Conduite dans I'eau et dans la boue
Si vous nevez traverser une nappe d'eau profonde, conduisez lentement car l'adherence et le freinage peuvent etre limites.
Avant de traverser une nappe d'eau, déterminez-en la profondeur. Si possible, évitez de traverser les nappes qui submergeraient les moyeuux et conduisez lentement. Si de l'eau atteint le circuit d'allumage, le moteur peut caler.

Après avoir traversé la nappe d'eau, essayez toujours vos freins car des freins humides ne sont pas aussi efficaces que des freins secs. Pour accélérer le séchage des freins, freinez doucement à quelques reprises tout en roulant à basse vitesse.
Dans la boue, évitez les changements brusques de vitesse ou de direction. Meme les vehicules à 4 roues motrices peuvent perdre leur adhérence dans la boue. Comme pour la conduite sur le sable, accelérez
Conduite
lentement et évitez de faire patiner les roues. En cas de dérapage, tournez le volant dans le sens du dérapage pour retrouver la maitrise du vehicule.
Si la boîte de vitesses, la boîte de transfert ou le pont avant ont été submergés dans l'eau, vérifiez-en les liquides et vidangez au besoin.
La conduite en eau profonde peut endommager la boîte de vitesses.
Si les Ponts avant et arrière sont immergés dans l'eau, leur lubrifiant doit être changé.
Après avoir conduit dans la boue, nettoyez les roues et les arbres de transmission. L'accumulation de boue sur les roues et les pieces rotatives create un déséquilibre qui est susceptible d'endommager les éléments de la transmission.
Le Programme « Tread Lightly » a été mis sur pied aux États-Unis pour sensibiliser le grand public aux responsabilités et règlements relatifs aux espaces naturels protégés. Ford

s'associe au « U.S. Forest Service » et au « Bureau of Land Management » des États-Unis pour vous inciter à respecter l'environnement et à faire preuve de sens civique lorsque vous visitez des parcs nationaux ou d'autres domaines publics et privés, notamment en évitant de laisser des traces de votre passage.
Conduite sur terrain valonné ou en pente
Bien que certains obstacles naturels puissent rendre la conduite en diagonale nécessaire sur une pente très abrupte, essayez toujours de conduire le plus droit possible face à la pente, que ce soit en montée ou en descente. Evitez de conduire de côte sur la pente ou de tournier sur des terrains très inclinés. Il existe en effet un risque de perte d'adherence et de dérapage létal qui pourrait conduire au capotage du vehicule. Avant de gravir une colline, déterminé au préalable le trajet à emprunter. Ne projetez pas de franchir le sommet d'une colline sans connaître la nature du terrain de l'autre côte. Ne faites pas marche arrrière à flanc de colline sans l'aide de quelqu'un qui puisse vous guider de l'extérieur du vehicule.
Conduite
Au moment de monter une pente abrupte, mettez le levier de vitesse en première juste que de partir dans un rapport de vitesse supérieur et d'avoir a rétrograder ensuite. De cette façon, les contraintes imposées au moteur et les risques qu'il cale seront réduits.
En cas de calage, n'essayez pas de tournier pour redescendre en marche avant, car le vehicule pourrait alors se renverser. Il est préféable de redescendre en marche arrière jusqu'à ce qu'il soit possible de s'arrêter en toute sécurité. N'accélérez que suffisamment pour monter la pente. Une puissance excessive peut provoquer le patinage des roues et la perte de l'adherence et, par conséquent, la perte de contrôle du vehicule.
Pour descendre une pente abrupte, utilisez le même rapport de vitesse que celui que vous utiliseriez pour la gravir; de cette façon, vous menagerez vos freins, qui autrement risqueraient de surchauffer. Ne descendez pas au point mort; annulez plutôt la surmultiplie ou retrogradez manuelle. Evitez de freiner brusquement pour éviter la perte de maitrise du vehicule durant la descente d'une pente très

inclinée. En cas de freinage brusque, les roues avant se bloquent et la direction devient de ce fait inopérante. Les roues avant doivent tourner pour pouvoir diriger le vehicule. Le serrage des freins par petits coupes rapides et repétés vous permettront de ralentir tout en gardant la maîtrise de la direction.
Si le vehicule est equipé de freins antiblocage, appuyez progressivement sur la pédale de frein. Ne « pompez » pas les freins.
Conduite sur la neige et sur la glace
Sur la neige et sur la glace, un vehicule à 4 roues motrices est avantagé par rapport à un vehicule à 2 roues motrices, mais un vehicule à 4 roues motrices peut quand même déraper comme n'importe quel autre vehicule.
Conduite
En cas de dérapage sur la neige ou la glace, tournez le volant dans la direction du dérapage pour reprendre la maitrise du vehicule. Sur la neige et sur la glace, évitez tout changement brusque de vitesse ou de direction. Pour démarrer lorsque le vehicule est à l'arrêt, appuyez sur la pédale d'accéléateur lentement et graduèlement.
Évitez également tout freinage brusque. Bien qu'un vehicule à 4 roues motrices accélère mieux dans la neige et sur la glace qu'un vehicule à 2 roues motrices, il ne peut pas freiner plus rapidement, puisque le freinage s'effectue aux quatre roues, comme c'est le cas pour tous les autres vehicules. Ne vous montrez jamais trop confiant par rapport aux conditions de la route.
Prévoyez toujours une distance suffisante entre votre vehicule et celui qui le précède pour pouvoir vous arrêté sans risque. Conduisez plus lentement qu'à l'habitude et pensez à utiliser un rapport plus bas. Dans des situations d'arrêt d'urgence, appliquez les freins fermement et de façon constante. Ne « pompez » pas les freins. Consultez la rubrique Freins de ce chapitre pour obtenir des renseignements supplémentaires à propos du fonctionnement du système de freins antiblocage.
Remplacement des pneus

Ne montez pas de pneus ni de roues de dimensions différentes ou de type autre que ceux installés par Ford sur votre vehicule.
car la sécurité et le rendement de celui-ci seraient compromis, ce qui pourrait occasionner une perte de maître ou un renversement du vehicule, de même que des blessures graves ou la mort.
Assurez-vous que les pneus et les roues de votre vehicule sont tous de la même taille et du même type et qu'ils possèdent tous les mêmes sculptures de bandes de roulement et indice de charge (pour obtenir de l'information concernant la roue de secours, consultez la rubrique Remplacement d'un pneu créé du chapitre Dépannage). Pour obtenir de plus amples renseignements sur le remplacement des pneus, consultez un concessionnaire Ford ou Lincoln.
Si vous équipez malgré tout votre vehicule à 4 roues motrices de pneus plus larges que ceux préconisés par Ford pour conduire hors route, évitez la conduite sur autoroute avec ces pneus.
L'utilisation de pneus et de jantes autres que ceux préconisés par Ford peut nuir à la tenue de route et endommager les éléments de la direction, de la suspension, des points et de la boîte de transfert, de même qu'augmenter les risques de perte de maïtrise du vehicule.
Conduite
N'installez pas de pieces de deuxieme monte pour surélever la carrosserie ou modifier la suspension, que ces pieces soient utilisées ou non avec des pneus et des roues plus gros que prescrits.
Ce type d'équipement peut compromètre la tenue de route et entrainer une perte de contrôle, un renversement du vehicule, et des risques de blessures graves.
Les pneus sont plus susceptibles d'être endommages en conduite hors route. Pour votre sécurité, ne conduisez pas le vehicule sur autoroute si les pneus sont endommages car les risques de crevaision ou d'éclatement sont plus grands.
Vou devez observer a la lecture la pression de gonflage de pneu reconnandee apparaisant sur I'etiquette d'homologation apposoee sur le montant de la porte avant gauche (il se peut qu'une etiquette soit également apposee sur le volet de la trappe de carburant). Si la pression de gonflage prescrite n'est pas respectee, il peut en resultant un impact négatif sur la conduite de votre vehicule. Ne dépassez pas la pression reconnandee par Ford, meme si elle est inférieure à la pression permise pour les pneus.
Avant de prendre la route, vérifie quotidiennement tous les pneus. Si l'un d'eux parait moins gonflé que les autres, vérifie la pression de tous les pneus à l'aide d'un manomètre pour pneus et gonflez-les au besoin. Vérifie la pression des pneus avec un manomètre pour pneus toutes les deux ou trois semaines (y compris la roue de secours). Une pression de gonflage des pneus équate et un essentiels à une conduite sécuritaire

Vérifiez périodiquement les sculptures des pneus et retirez-en le gravier, les clous, les morceaux de verre et autres objets qui auraient pu s'y loger. Assurez-vous qu'il n'y a aucune perforation ni coupure qui risquerait de cause une fuite, et effectuez les réparations qui s'imposent.
Recherche la présence de coupures, de boursouflures ou de tout autre dommage sur les flancs des pneus. Si vous soupconnez une defectuosité interne, faites démonter et vérifier les pneus afin de déterminer s'ils ont besoin d'être réparés ou replacés.
Conduite
Entretien et modifications
La suspension et la direction ont été conçues pour assurer à votre vehicule un rendement fiable, en charge ou à vide, et une capacité durable en matière de transport de charge. Pour cette raison, Ford vous recommende vivement de ne pas apporter de modifications, qu'il s'agisse de retrait ou d'ajout de pieces (telles que des pieces pour surélever la carrosserie ou des barres stabilisatrices), et de ne pas utiliser de pieces de rechange non conformes aux pieces d'origine.
Toute modification visant à élever le centre de gravité du vehicule peut le rendre plus susceptible de renverser en cas de perte de maitrise. Ford vous recommende de prendre des précautions supplémentaires avec un chargement en hauteur ou des accessoires comme des supports d'échelles ou un toit de plateau de pick-up.
La négligence de l'entretien du vehicule peut annuler la garantie, augmenter le coût des réparations, réduire le rendement du vehicule et nuir à la sécurité du conducteur et des passagers. Une verification fréquence du chassis est recommendée si le vehicule est utilisé en service dur hors route.
NAPPES D'EAU PROFONDES
Si vous doivent traverser une nappe d'eau profonde, évitez de conduire rapidement, sur tout si la profondeur est difficile à évaluer. L'adherence et l'efficacité des freins peuvent être limitées et, si de l'eau s'infiltré dans le circuit d'allumage, le moteur peut caler. L'eau peut également pénétrée dans la prise d'air et endommager gravement le moteur.
S'il vous faut absolument traverser une nappe d'eau profonde, roulez très lentement. Ne traversez jamais des endroits inondés dont la profondeur dépasse la partie inférieure des moyex (pour les camionnettes) ou des jantes (pour les voitures).
Après être sorti de la nappe d'eau, vérifietz toujours le fonctionnement des freins, car des freins humides ne sont pas aussi efficaces que des freins secs. Pour accelerer le sechage des freins, freinez doucement a quelques reprises tout en roulant a basse vitesse.
La conduite dans de l'eau assez profonde pour immerger le tube de mise à l'air libre de la boîte de vitesses peut provoquer de sérieux dégâts internes à celle-ci. Faites vérifier l'huile de la boîte de vitesses, et si de l'eau y est présente, faites changer l'huile.
Conduite
CHARGEMENT DU VEHICULE
Avant de charger votre vehicule, familiarisez-vous avec les termes suivants :
- Poids en ordre de marche : poids du vehicule qui comprend l'équipement de série, les liquides, les lubrifiants, etc., mais qui exclut les passagers et l'équipement installé après la sortie de l'usine.
- Charge utile : poids combiné maximal de la charge à transporter, des occupants et de l'équipement en option. La charge utile est égale à la différence entre le poids total autorisé en charge (PTAC) et le poids en ordre de marche.
- Poids total roulant (PTR ou singe anglais GVW) : le poids total roulant représenté la somme du poids en ordre de marche et de la charge utile. Le poids total roulant n'est ni une limite ni une norme.
- Poids total autorisé en charge (PTAC ou sigle anglais GVWR): poids maximal du vehicule, des occupants, de l'equipement en option et de la charge. Cette donnée est spécifique à chaque vehicule et figure sur l'étiquette d'homologation du vehicule apposée sur le rebord l'extral de la porte conducteur.
- Poids maximal autorisé à l'essieu (PMAE ou sigle anglais GAWR): poids maximal autorisé pour chaque essieu. Cette catégorie est spécifique à chaque vehicule et figure sur l'étiquette d'homologation du vehicule apposée sur le rebord lésral de la porte conducteur.
- Poids total combiné (PTC ou sigle anglais GCW): poids combiné du vehicule remorqueur (y compris le poids des passagers et du chargement) et de la remorque.
- Poids total roulant autorisé (PTRA ou sigle anglais GCWR): Poids maximal autorisé du vehicule remorqueur (y compris les passagers et les bagages) et de la remorque chargée.
- Poids maximal autorisé de la remorque : poids maximal de la remorque que le vehicule peut tracter. Cette donnée est obtenue en soustrayant du PTRA (poids total roulant autorisé) du vehicule remorqueur le poids en ordre de marche du vehicule pour chaque combinaison de moteur et boîte de vitesses, le poids de l'équipement requis pour le remorquage et le poids du conducteur.
- Poids maximal de la remorque : poids maximal de la remorque que le vehicule charge (avec passagers et bagages) est autorisé à tracter. Cette donnée est obtenue en soustrayant le poids du vehicule charge du PTRA (poids total roulant autorisé) du vehicule remorqueur.
Conduite
- Plage de poids de la remorque : plage dans laquelle le poids de la remorque chargée doit se trouver et qui va de zéro au poids maximal autorisé de la remorque.
Lors du calcul du poids maximal de la remorque, n'oubliez pas d'inclure le poids du timon de la remorque chargée.

N'excedez jamais le PTAC (sigle anglais GVWR) ou le PMAE (sigle anglais GAWR) apparaissant sur l'étiquette d'homologation du phicule.
N'utilise pas de pneus de rechange ayant des limites de charge inférieures aux pneus d'origine, car ils peuvent réduire le PTAC ou le PMAE du vehicule. Par contre, le montage de pneus ayant des limites de charge plus élevées que les pneus d'origine n'augmente pas le PTAC ni le PMAE.
L'étiquette d'homologation du vehicule, apposée sur le rebord l'real de porte conducteur, donne plusieurs cotes de poids importantes pour le vehicule. Consultez ces cotes avant d'ajouter un équipement de deuxieme monte au vehicule. Si vous ajoutez du poids à l'avant du vehicule, y compris à la cabine, ce poids supplémentaire ne doit pas dépasser la charge de réserve totale des essieux avant (sigle anglais FARC). Un poids additionnel peut être ajouté à l'avant si la charge totale est limitée autrement, par exemple, en réduisant le nombre de passagers ou la charge transporte.
Veillez toujours à ce que le poids des passagers, de la charge et de l'équipement du vehicule reste dans les limites établies pour votre vehicule, y compris le poids total autorisé en charge (PTAC ou sigle anglais GVWR) et le poids maximal autorisé à l'essieu (PMAE ou sigle anglais GAWR). Ces limites ne doivent jamais être dépassées.

Si vous ne respectez pas les limites de poids établies pour toute vehicule, des risques de dommages matériels au vehicule, de de maitrise ou de renversement du vehicule, de même que deures graves pourraient en résultat.
Conduite
Directives spéciales concernant le chargement du vehicule à l'intention des propriétaires de camionnettes et de vehicules utilisaires

Des renseignements importants au sujet de l'utilisation en toute sécurité de ce type de vehicule se trouvent à la rubrique
Préparatifs avant la conduite de ce chapitre.

Lorsqu'un vehicule à centre de gravité élevé est charge, ses caractéristiques diffèrent de celles d'un vehicule non charge.
Lors de la conduite d'un vehicule lourdement charge, prenez des mesures de sécurité exceptionnelles. Conduisez à une vitesse réduite et prévoyez une plus longue distance de freinage.
Votre vehicule est capable de transporter une charge plus lourde et un plus grand nombre de passagers que la plupart des vehicules de tourisme. Selon le type de charge transporte et son emplacement sur le vehicule, le transport d'une charge ou de passagers peut lever encore plus le centre de gravité du vehicule.
Calcul de la charge que vous vehicule peut transporter ou tracter
- Consultez le tableau de poids total roulant autorisé (PTRA) approprié (dans la section Traction d'une remorque) pour déterminer le PTRA maximal qui s'applique au type de moteur et au rapport de pont arrêté de votre vehicule.
- Pesez le vehicule tel qu'il est utilisé normalement, sans la charge. Pour connaître le poids exact, faites peser le vehicule par une société de transport ou un poste d'inspection de camions.
- Soustrayez le poids du vehicule charge du poids total roulant autorisé (PTRA [sigle anglais GCWR]) des tableaux suivants. Vous obtenez alors le poids maximal de la remorque que vous vehicule peut tracter. Cette donnae doit etre inférieure au poids apparaissant au tableau de remorquage.
TRACTION D'UNE REMORQUE
La traction d'une remorque impose des contraintes supplémentaires au moteur, à la boîte de vitesses, au pont, aux freins, aux pneus et à la suspension du vehicule. Pour votre sécurité et afin d'assurer le rendement maximal du vehicule, utilisez toujours l'équipement approprié pour tracter une remorque.

Pour tracter une remorque en toute sécurité, respectez les consignes suivantes :
- respectez les limites de charge de votre vehicule;
- préparez soigneusement votre vehicule au remorquage. Consultez la rubrique Préparatifs avant le remorquage de ce chapitre;
- redoublez de prudence lorsque vous tractez une remorque. Consultez la rubrique Conduite avec une remorque de ce chapitre;
- effectuez plus souvent les opérations d'entretien si vous tractez une remorque. Suivez le calendrier d'entretien pour service dur du Calendrier d'entretien périodique;
- ne tractez pas de remorque avant que votre vehicule ait parcouru au moins 800km (500 mi);
- prenez connaissance des directives de pose et de réglage fournies avec les accessoires de remorquage.
Traction d'une remorque (équipement standard) :
Votre vehicule est equiped'un attelage de remorque integre et d'un cablage de remorque a quatre voies categorie I. Le cablage a quatre voies procure une alimentation aux feux arriere,aux feux d'arrêt et aux clignotants.Consultez le tableau de traction d'une remorque pour connaître les recommandations relatives au poids.
Traction d'une remorque (ensemble de remorquage installé en option):
L'ensemble de remorquage en option comprend le cablage de remorquage service dur. Un cablage de remorque à quatre voies catégorie I et un cablage de remorque à sept voies catégorie IV sont fournis. Un connecteur électrique se trouve sous la planche de bord pour la pose eventuelle d'un boîtier électronique de commande des freins de
Conduite
deuxieme monte. Un faisceau de raccordement et des directives concernant le circuit electrique requis pour la traction d'une remorque sont inclus dans l'ensemble de remorquage en option pour la pose eventuelle d'un boitier electronique de commande des freins.
La trousse contenant le faisceau de raccordement et les directives concernant le circuit électrique requis pour la traction d'une remorque peut être achetée auprès d'un concessionnaire Ford ou Lincoln (nummer de piece 4L1Z-14A348-AA).
Remarque: Avant d'atteler une remorque, assurez-vous que les freins de la remorque (selon l'équipement) et les yeux sont bien branchés et qu'ils fonctionnent. Commande de frein électronique de remorque (selon l'équipement): pour déterminer la fonctionnalité des freins de la remorque, consultez les directives fournies par le fabricant du boitier électronique de commande des freins de deuxieme monte.
| Mateur | Rapport de pont arrêté | PTRA maximal — en kg (en lb) | Plage de poids de la remorque (0 à maximum) – en kg (en lb) |
| 4x2 | |||
| 5.4L avec ensemble de remorquage standard | tous 5 39 | 7 (11 900) 0 à 2 721 (0 à 6 000) | |
| 5.4L avec ensemble de remorquage en option | tous 6 57 | 6 (14 500) 0 à 3 900 (0 à 8 600) | |
| 4x4 | |||
| 5.4L avec ensemble de remorquage standard | tous 5 53 | 3 (12 200) 0 à 2 721 (0 à 6 000) | |
| 5.4L avec ensemble de remorquage en option | tous 6 57 | 6 (14 500) 0–3 764 (0–8 300) | |
Conduite
| Mateur | Rapport de pont arrêté | PTRA maximal — en kg (en lb) | Plage de poids de la remorque (0 à maximum) – en kg (en lb) |
| Remarque : Dans le cas des vehicules qui ne sont pas équipés de l'ensemble de remorquage en option, la zone frontale maximale de la remorque ne doit pas excéder la zone frontale du vehicule (3,4 mètres carrrés [36,5 pieds carrrés]).Remarque : Dans le cas des vehicules équipés de l'ensemble de remorquage en option, la zone frontale maximale de la remorque ne doit pas excéder 5,6 mètres carrés (60 pieds carrés). | |||
Ne dépassez pas les charges maximes indiquées sur l'étiquette d'homologation de sécurité. Pour connaître la définition des termes utilisés sur l'étiquette, consultez la rubrique Chargement du vehicule du present chapitre. Lors du calcul du poids maximal de la remorque, n'oubliez pas d'inclure le poids du timon de la remorque chargée.
La traction d'une remorque dont le poids depasse le poids maximal autorise de la remorque excede les limites du vehicule et peut entrainer des dommages au moteur, à la boite de vitesses, au chassis, ainsi que des risques de perte de maitrise ou de renversement du vehicule et de blessures aux occupants.
CAPACITÉ NOMINALE DE L'ATTELAGE INTÉGRE
L'attelage intégré de série peut offrir deux capacités nominales selon le mode de fonctionnement :
- transport de charge - nécessite une barre de remorquage et une boule d'attelage. La barre de remorquage supporte toute la charge verticale du timon de la remorque;
- répartition de charge - nécessite un système répartiteur de charge de deuxieme monte incluant une barre de remorquage, une boule d'attelage, des barres-ressorts et des brides d'enclenchement. Avec un tel système, la charge verticale du timon de la remorque est répartie entre la camionnette et la remorque.
Conduite
| Mode Poids brut maximal de la remorque - en kg (en lb) | Poids maximal du timon - en kg (en lb) |
| Transport de charge | 2 721 (6 000) 272 (600) |
| Répartition de charge | 4 014 (8 850) 401 (885) |
| Il s'agit là des poids nominaux d'attelage seulement; les poids nominaux réels du vehicule dépendant des combinaisons moteur, boîte de vitesses et pont. | |
La traction d'une remorque d'un poids supérieur au poids maximal permissible pour le timon dépasse les capacités du système de remorquage et peut cause des dommages structurels au vehicule, en plus d'accroître les risques de perdre la maîtrise du vehicule et de subir des blessures.
Remarque: Si vous véchicule est équipé du dispositif AdvanceTrac150, il est possible que vous ayez des indices indiquant la mise en fonction du dispositif lors de manoeuvres de virage avec une remorque fortement chargée; il s'agit d'un comportement normal du vehicule. Le fait de négocier les virages à une vitesse moins élevée lorsqu'une remorque est attelée réduira la tendance du dispositif antilacet AdvanceTrac151 à se mettre en fonction.
Couvercle d'attelage de remorque
Votre vehicule est équipé d'un couvercle de garniture d'attelage de remorque amovible. Pour enlever le couvercle de garniture :
- Desserrez les deux agrafes dans le bas du couvercle en les tournant dans le sens inverse des aiguilles d'une montre à l'aide d'un tournevis à lame plate ou d'un objet similaire.

Conduite
- Pour réinstaller le couvercle, insérez les trois pattes de plastique dans leur fente respective ( comme dans l'illustration) et enforcez le couvercle dans la garniture du pare-chocs.

- Maintenez le couvercle contre la garniture de pare-chocs et remettez les deux vis en place.
Préparats avant le remorquage
Assurez-vous d'utiliser l'équipement ajustat et d'atteler convenablement la remorque à votre vehicule. Consultez, au besoin, votre concessionnaire ou un détaillant de remorques reconnu.
Attelages
N'utilisiez pas d'attelages qui se fixent au pare-chocs ou à l'essieu. Vous nevez distribuier la charge de telle sorte que 10% à 15% du poids total de la remorque soit porté sur le timon.
Attelage répartiteur de charge
Lorsque vous attelez une remorque à l'aide d'un attelage répartiteur de charge, vous nevez toujours suivre la procédure suivante :
- Arrêtez votre vehicule non charge sur une surface plane. Avec le contact établi à l'allumage, appliquez les freins et placez le levier de vitesse à (surmultiplie) pendant dix secondes; ramenez ensuite le levier de vitesse à la position de stationnement (P) et relâchez les freins. En laissant le contact toujours établi à l'allumage et toutes les portes fermées, laissez votre vehicule reposer (sans passagers à bord) pendant plusieurs minutes pour qu'il puisse semettre de niveau.
- Mettez la commande de suspension pneumatique hors fonction (selon l'équipement).
- Mesurez la hauteur du point de referencia sur les pare-chocs avant et arrière à partir du centre du vehicule.
- Attelez la remorque au vehicule et reglez l'attelage repartiteur de façon a ce que la hauteur du pare-chocs avant se situe entre 0 et 13 mm
Conduite
(0 et 0,5 po) du point de reférence. Une fois ce réglage effectué, la hauteur du pare-chocs arrêté ne devrait pas être supérieure à ce qu'elle est à l' étape 3.
5. Remettez la commande de suspension pneumatique en fonction (selon l'équipement).
Remarque: Le fait de régler un attelage répartiteur de façon à ce que le pare-chocs arrêté soit plus haut qu'il ne l'était avant d'être sous charge annule la fonction de répartition de cet attelage et peut donc la conduite imprévisible.
Chaines de sécurité
Accrochez toujours les chaînes de sécurité de la remorque au chassin ou à l'attelage du vehicule. Croisez les chaînes sous le timon de la remorque et laissez-leurs suffisamment de jeu pour ne pas générer dans les virages.
Si vous utilisez une remorque louée, suivez les directives de l'entreprise de location.
Ne fixez pas les chaînes de sécurité au pare-chocs.
Freins de remorque
Voupeuutiliser des freins electriques ou des freins a inertie, mecaniques ou automatiques, a condition de les installer correctement et de les regler conformement aux directives du fabricant. Les freins de leur remorque doivent etre conformes aux reglementations locale et federale.

Ne reliez pas le circuit de freinage hydraulique d'une remorque directement à celui du vehicule. La capacité de freinage de votre vehicule en souffrirait et les risques de collision seraient fortement dus.
Le circuit de freinage de la remorque est concu en fonction du PTAC et non du PTCA.
Feux de remorque
Des faux de remorque sont requis sur la plupart des vehicules remorqués. Assurez-vous que tous les faux de jour, les faux d'arrêt, les clignotants et les faux de détresse fonctionnement. Pour connaître l'équipement à utiliser et la méthode de branchement des faux de remorque, consultez votre concessionnaire ou l'entreprise de location de remorques.
Conduite
Conduite avec une remorque
Lors de la traction d'une remorque :
- désactive le programmateur de vitesse. Il est possible que le programmateur de vitesse se désactive automatiquement lors de la traction d'une remorque sur pente abrupte et prolongée;
- si vous devez tracter une remorque, renseignez-vous sur les règlements du code de la route en vigueur dans votre région;
- pour éviter des changements de rapport féquents, rétrogradez à un rapport inférieur. Cela facilité aussi le refroidissement de la boîte de vitesses. (Pour obtenir des renseignements supplémentaires, consultez la rubrique Positions du levier de vitesse de la boîte de vitesses automatique à quatre rapports de ce chapitre;
- anticipéz les arrêts et freinez graduèlement;
- ne dépassez jamais le poids total roulant autorisé (PTRA) de votre vehicule, sinon des dégats internes peuvent être causés à la boîte de vitesses.
Entretien requis après la traction d'une remorque
Si vous tractez une remorque sur de longues distances, votre vehicule doit être entretenu plus frequentlyment. Pour obtenir de plus amples renseignements à ce sujet, consultez le Calendrier d'entretien périodique.
Conseils pour la traction d'une remorque
- Avant de prendre la route, entraînez-vous à tourner, à vous arrêté et à recycler, afin de vous familiariser avec la sensation queprocure la combinaison vehicule-remorque. Pour tourner, prenez des virages plus larges, de façon à ce que les roues de la remorque ne heurtent pas le troitoir ou d'autres obstacles.
- Lors de la traction d'une remorque, prévoyez une plus grande distance de freinage.
- Si vous descendez une pente longue ou prononcée, passez à un rapport inférieur. N'appliquez pas les freins continuellement, car ils pourraient surchauffer et doivent ainsi moins efficaces.
- Entre 10% et 15% du poids de la remorque chargée doivent être portés sur le timon.
- Àprouv avoir parcouru environ 80 km (50 mi), vérifie soigneusement l'attelage et les branchements électriques de la remorque ainsi que le serrage des écrous de roue de la remorque.
- Pour facilitier le refroidissement du moteur et de la boîte de vitesses, et accroître l'efficacité du climatiseur si vous veez vous arrêté
Conduite
pendant des périodes prolongées en circulation intense par temps chaud, placez la boite de vitesses en position de stationnement (P).
- N'arrêtez pas votre vehicule avec une remorque attelée sur un terrain en pente. Néanmoins, si cette manoeuvre est indispensable, calez les roues de la remorque.
Mise à flot ou hissage d'un bateau
Débranche le cablage électrique de la remorque avant de reculer cette-ci dans I'eau. Rebranche le cablage lorsque la remorque ne se trouve plus dans I'eau.
Lorsque you reculez en vue de mettre un bateau à l'eau ou de le hisser :
- ne laïsez pas le niveau de l'eau atteindre le bord inférieur du pare-chocs arrêté;
- ne laïsez pas les vagues dépasser de plus de 15 cm (6 po) le bord inférieur du pare-chocs arrêté.
Si ces directives ne sont pas respectées, l'eau risque de pénétrer dans certains organes importants du vehicule:
- y causant des dégats internes,
- et nuisant à la conduite, aux disposits antipollution et au bon fonctionnement du vehicule.
Remplacez l'huile du pont arrêté chaque fois que celui-ci a été immergé. La quantité d'huile pour pont arrêté ne doit normalement pas être vérifiée ou changée, sauf en cas de fuite possible ou en cas de réparations nécessaires.
REMORQUAGE DE LOISIR (TOUTES LES ROUES AU SOL)
Un exemple de remorquage de loisir est le remorquage de votre vehicule derrière une autocaravane. Veuillez suivre ces directives pour remorquer votre vehicule avec les quatre roues au sol. Ces directives ont pour but de faire en sorte que votre boîte de vitesses ne soit pas endommagée.
Véhicules à 2 roues motrices (avec boîte de vitesses automatique):
- engagez la boîte de vitesses au point mort (N);
- n'excedez pas 56km / h (35 mi/h);
ne conduisez pas sur une distance de plus de 80~km (50 mi).
Si vous doivent conduire sur une distance supérieure à 80 km (50 mi) ou dépasser une vitesse de 56 km/h (35 mi/h), l'arbre de transmission doit être retire.
290
Conduite
Ford recommande que le retrait et la remise en place de l'arbre de transmission soient effectuels uniquement par un technicien qualifié. Pour le retrait et la remise en place de l'arbre de transmission, consultez votre concessionnaire.
Le retrait ou la remise en place incorporets de l'arbre de transmission risquent d'entrainer des fuites d'huile de la boite de vitesses, ainsi que des dommages à l'arbre de transmission et aux pieces internes de la boite de vitesses.
Vehicules Equipes du système Control Trac 4 roues motrices :
Les vehicules équipés du système Control Trac 4 roues motrices ne doivent pas être remorqués avec les roues au sol. Consultez votre concessionnaire local si vous devez procéder au remorquage d'un vehicule équipé du système Control Trac 4 roues motrices.
Dépannage
SERVICE DE DÉPANNAGE
Pour vous fournir toute l'aide dont vous pourriez avoir besoin concernant votre vehicule, Ford a mis sur pied un programme de service de dépannage. Ce service, indépendant de votre Garantie limite de vehicule neuf, est disponible :
24 heures sur 24, 7 jours sur 7;
- durant la période de votre Garantie limitée de vehicule neuf de trois ans ou 60 000 kilométres (36 000 milles), selon la première échéance, pour les vehicules Ford, et de quatre ans ou 80 000 kilométres (50 000 milles) pour les vehicules Lincoln.
L'assistance dépannage offre les services suivants :
- le remplacement d'un pneu en cas de crevaison;
- les démarrages-secours en cas de déchéargement de la batterie;
- un service de déverrouillage si les clés ont été laissées à l'intérieur du vehicule;
- la livraison de carburant limite en cas de panne sèche;
- le remorquage de votre vehicule à l'établissement concessionnaire Ford le plus proche, ou chez le concessionnaire qui vous a vendu le vehicule s'il est situé dans un rayon de 56,3 km (35 mi) (un seul remorquage par panne). Les remorquages sont effectuels même pour une cause non couverte par votre garantie initiale, par exemple, en cas d'accident ou si votre vehicule est immobilisé dans la neige ou dans la boue (certaines restrictions s'appliquent, comme les remorquages de saisie ou de reprise de possession du vehicule).
Les clients canadiens doivent consulter le Guide du propriétaire pour obtenir de plus amples renseignements sur :
- la durée de couverture;
- les quantités de carburant exactes;
- le remorquage du vehicule en panne;
- le remboursement de dépenses d'un voyage d'urgence;
- la planification de voyages.
Dépannage
COMMENT FAIRE APPEL AU SERVICE DE DÉPANNAGE
Remplissez la carte d'identification du Service de dépannage et gardez-la dans votre portefeuille afin de pouvoir vous y reférer rapidement en cas de besoin. Aux États-Unis, cette carte se trouve dans le porte-documents contenant le Guide du propriétaire, situé dans la boîte à gants, pour les vehicules Ford, alors que pour les vehicules Lincoln, elle vous est envoyée par la poste. Au Canada, elle se trouve dans le Guide du propriétaire, dans la boîte à gants.
Les clients de Ford qui résident aux États-Unis et quirequireient l'aide du Service de dépannage doivent téléphoner au 1 800 241-3673; les clients de Lincoln doivent téléphoner au 1 800 521-4140.
Les clients canadiens qui require l'aide du Service de dépannage doivent téléphoner au 1 800 665-2006.
Si vous doivent faire vous-meme le nécessaire pour obtenir un service de dépannage, Ford vous remboursera un montant raisonnable. Les clients américains qui nécessient des renseignements relatifs au remboursement doivent téléphoner au 1 800 241-3673 pour les vehicules Ford et au 1 800 521-4140 pour les vehicules Lincoln.
Les clients canadiens qui requirent des renseignements relatifs au remboursement doivent telephoner au 1 800 665-2006.
PROGRAMME PROLONGÉ DE SERVICE DE DÉPANNAGE
Si vous résidiez aux États-Unis, vous pouvez prolonger la durée de couverture offerte par le Service de dépannage par l'entremise du Club Auto Ford, en contactant votre concessionnaire Ford ou Lincoln.
Au Canada, vous pouvez prolonger la durée de couverture offerte par le Service de dépannage avant l'expiration de votre couverture de garantie de base du Service de dépannage. Pour obtenir plus d'informations et vous inscrite, téléphone au 1 877 294-2582 ou visitez notre site Web à www.ford.ca.
FEUX DE DÉTRESSE
N'utilisez les feuels de détresse qu'en cas d'urgence, pour informer les autres automobilistes d'une panne ou d'une situation dangereuse. Les feuels de détresse peuvent fonctionner que le contact à l'allumage soit établi ou non.
Dépannage
La commande des feu de detresse est située sur le dessus de la colonne de direction.
Appuyez sur la commande pour allumer simultanément tous les yeux de détresse.
- Appuyez de nouveau sur la commande pour les éteindre.

INTERRUPTEUR AUTOMATIQUE DE POMPDE D'ALIMENTATION FUEL RESET
L'interrupteur automatique de pompé d'alimentation est un dispositif concu pour arreter la pompé d'alimentation électrique lorsque le vehicule subit une secousse brute.
Si, après une collision, le moteur est lancé mais ne démarre pas, il se peut que l'interrupteur automatique de pompé d'alimentation ait est déclenché.
L'interrupteur automatique de la pompe d'alimentation est situé dans le panneau de custode arrêtée gauche, pres du hayon.
L'interrupteur est monté derrière deux panneaux d'accès; le second panneau est équipé d'une patte qui doit être poussée vers le bas pour qu'il soit possible de retarder la portedu panneau d'accès.

Dépannage
L'interrupteur automatique de la pompe d'alimentation est doted'un bouton de réinitialisation rouge (situé juste au-dessus) et il se trouve sous l'interrupteur de la suspension pneumatique (selon I'équipement). Si le vehicule n'est pas muni d'une suspension pneumatique, l'interrupteur automatique de la pompe d'alimentation est néanmoins visible derrière le panneau d'accès.

Pour réenclencher l'interrupteur automatique de pompé d'alimentation, procédez comme suit :
- Coupe le contact.
- Assurez-vous qu'il n'y a pas de fuite de carburant dans le circuit d'alimentation.
- Si vous ne décelez aucune trace de fuite, appuyez sur le bouton de l'interrupteur de pompe d'alimentation pour le réenclencher.
- Tournez la clé de contact à la position Contact. Attendeç quelques secondes, puis ramenez la clé à la position d'arrêt.
- Vérifiez une seconde fois la présence de fuite de carburant dans le circuit d'alimentation.
Dépannage
FUSIBLES ET RELAIS
Fusibles
Si certains accessoires electriques de.
votre vehicule ne fonctionnent pas, il
se peut qu'un fusible soit grillé. Vous
pouvez identifier ce probleme en
regardant a l'intérieur du fusible pour
remarquer la presence d'un fil

metallique rompu. Avant de remplacer un accessoire électrique quelconque, verifiez d'abord les fusibles des circuits correspondants.
Remarque: Remplacez toujours un fusible usé par un fusible qui possè de l'ampérage spécifique. L'utilisation d'un fusible possédant un ampérage supérieur peut cause des graves dommages au câblage et provoquer un incendie.
Intensité nominale et couleur de fusible standard
| COULEUR | |||||
| Intensité | Fusibles ordinaires | Fusibles standard | Fusibles à haute intensité | Fusibles à cartouche à haute intensité | Cartouche de fil fusible |
| 2 A Gris | Gris — — | ||||
| 3 A Viol | let Violet — — | ||||
| 4 A Rose | Rose — — | ||||
| 5 A Havane | Havane — — | ||||
| 7,5 A Brun | Brun — — | ||||
| 10 A Rouge | Rouge | —— — — | |||
| 15 A Bleu | Bleu | —— — — | |||
| 20 A | Jaune Jaune | Jaune Bleu | Bleu | ||
| 25 A Beige | Beige | —— — — | |||
| 30 A | Vert | Vert | Vert | Rose | Rose |
| 40 A | —— Orange | Orange Vert | Vert | ||
| 50 A | — | — | Rouge | Rouge | Rouge |
| 60 A | —— | Bleu | —— Jaune | ||
| 70 A | —— Havane | —— Brun | |||
| 80 A | — | — | Beige | — | Noir |
Dépannage
Porte-fusibles/boitier de distribution électrique de l'habitacle
Le porte-fusibles est situé sous la partie droite de la planche de bord.
Pour acceder au portefusibles, retirez le panneau de garniture en le tirant vers vous et en le faisant pivoter sur le cote. Pour réinstaller le panneau, alignez les languettes de ce dernier avec les fentes et pousseze-le pour le fixer.

Pour-retirerle couverclede la boite àfusibles,placez undoigt sous la languetteportantla mention «PULL»etvoirepouceau-dessus decèle-ci telqu'illustré,puis tirez sur le couvercle.

Pour réinstaller le couvercle de la boîte à fusibles, place la partie supérieure du couvercle sur le porte-fusibles, puis poussez sur la partie inférieure du couvercle jusqu'à ce qu'un déclic se fasse entendre. Tirez
Dépannage
décicatement le couvercle pour vous assurer qu'il est bien logé.

Les fusions sont identifiés comme suit :
| Emplacement du fusible/relais | Intensité Description du portefusibles de l'habitatcle |
| 1 10 A* Marche/Accessoires - tableau de bord, moteur des essuie-glace avant, moteur d'essuie-glace arrêté, module du système de surveillance de pression des pneus | |
| 2 20 A* Contacteur des feuistop, clignotant/feux de détresse, dispositif AdvanceTrac®, relais des feuistop, feux stop, troisième feu stop, clignotants | |
| 3 7,5 A* Contacteur du rétroviseur à commande électrique, module des réglages mémorisés (alimentation logique), commutateur du siège du conducteur (à mémoire) | |
Dépannage
| Emplacement du fusible/relais | Intensité Description du portefusibles de l'habitaté |
| 4 15 A* Commandes audio des sièges arrêté, module de navigation, lecteur DVD | |
| 5 7,5 A* Contacteur de feuistop, module de commande du groupe motopropulseur (alimentation de mémoire d'anomalie), bloc de commande de régulation électronique automatique de la température, module BSM (alimentation de mémoire d'anomalies), interrupteur de neutralisation deprogrammateur de vitesse,serveDPrommatteur de vitesse, témoin à diode électroluminescente du système antidémarrage, bobines de relais de siège de troisième rang, module de hayon à commande électrique, montresolénoïde d'interverrouillage du levier sélecteur | |
| 6 15 A* Commutateur d'éclaiage (alimentation des feués de position et de l'éclairage arrêté du commutateur),feux de position, éclairage de la plaque d'immatriculation, bobine de relais des phares antibrouillards, prise pour commande de freins électriques de remorque (éclairage),module BSM (commande automatique des feués de position), éclairage du levier sélecteur de la console au plancher, module d'éclairage arrêté du commutateur, témoin des phares antibrouillards | |
Dépannage
| Emplacement du fusible/relais | Intensité Description du portefusibles de l'habitacle |
| 7 7,5 A* S | gnal de mise en fonction de la radio |
| 8 10 A* Commutateur de dégivreur de lunette arrêtée, rétroviseurs chauffants, tímein de dégivreur de lunette arrêté (module de commande de chauffage-climatisation) | |
| 9 - Inutilisé | |
| 10 20 A* Relais des phares de recul de remorque, connecteur à 7 fils pour la traction d'une remorque (phares de recul), reliais des faux de position de remorque, connecteurs à 7 et à 4 fils pour la traction d'une remorque (feux de position) | |
| 11 10 A* Relais d'embrayage de climatiseur, solénoïde d'embrayage de climatiseur, reliais de compresseur de suspension pneumatique, electrovanne d'ensembles de roue 4x4 | |
| 12 10 A* Relais du programmeur de vitesse, servo de régulateur de vitesse | |
Dépannage
| Emplacement du fusible/relais | Intensité Description du portefusibles de l'habitatcle |
| 13 10 A* Bobine de relais de cédigueur de lunette arrêté, contacteur de rétention de fluide frigorégène, thermistance de compresseur de climatisationur, bloc de commande de régulation électronique automatique de la température à deux zones, solénoïde de régulation électronique automatique de la température à deux zones, commande de soufflante de régulation électronique automatique de la température à deux zones, bobine de relais de circuit de charge de remorquage | |
| 14 10 A* Bobine de relais du circuit d'allumage des heures de jour, sélecteur numérique de position du levier sélecteur/phares de recul, bobine de relais de phares de recul de remorque, rétroviseur à électrochrome | |
| 15 5 A* Commande AdvanceTracTb, tableau de bord (alimentation marche/démarrage) | |
| 16 10 A* Module ABS/AdvanceTracTb(-alimentation marche/démarrage) | |
| 17 15 A* Phares antibrouillards | |
Dépannage
| Emplacement du fusible/relais | Intensité Description du portefusibles de l'habitatcle |
| 18 10 A* Actionneur de volet de mixage de climatiseur auxiliaire, commandeauxiliaire avant de climatiseurauxiliaire, bobines de relais de désengagement du frein de stationnement, centraleclignotante, rétroviseur àélectrochrome, moteur de positionauxiliaire, modules de siège à régulation de température | |
| 19 10 A* Module de commande des disposilités de protection | |
| 20 30 A* Module 4x4, module de suspension pneumatique(électrovannes de ressortspneumatiques et capteurs dehauteur) | |
| 21 15 A* Tableau de bord (alimentationB+), éclairage d'accueil interieur, module du système de surveillance de pression des pneus, bobines de relais de désengagement du frein de stationnement, moteur de désengagement du frein de stationnement, lampes dirigéesvers le sol (rétroviseurs extérieurs) | |
Dépannage
| Emplacement du fusible/relais | Intensité Description du portefusibles de l'habitaté |
| 22 10 A* Éclairage du commutateur de toit ouvrant transparent, commutateur de glace articulée, moteurs de glace articulée, relais de glace articulée, amplificateur d'antenne électronique dissimulée (système de radionavigation), radio (alimentation du circuit de temporisation des accessoires), moteur de glace avant gauche, amplificateur de radionavigation | |
| 23 10 A* Feu de croissement d'roit | |
| 24 15 A* Lampes d'accueil intérieures (lampe de lecture de carte/plafonnier avant, éclairage de boîte à gants, éclairage d'aire de chargement, éclairage de galerie de toit, éclairage de miroir de courtoisie), bobine de relais antidécharge de la batterie, alimentation de relais antidécharge de la batterie | |
| 25 10 A* Feu de croissement gauche | |
| 26 20 A* Relais des avertisseurs | sonores,vertisseurs sonores |
| 27 5 A* Solénoïde d'interverraduillage du levier sélecteur, contacteur d'annulation de la surmultiplée, module de sonar de recul, module de suspension pneumatique (detection marche/démarrage), module de boussole | |
Dépannage
| Emplacement du fuseible/relais | Intensité Description du portefusibles de l'habitatcle |
| 28 5 A* Bobine de relais de module de commande du groupe motopropulseur, bobine de relais de régulateur de vitesse, émetteur-récepteur de système antidémarrage | 29 30 A* Pise pour commande de freins électriques de remorque, connecteur de remorque à 7 fils (freins électriques) |
| 30 30 A* Molecule BSM (serrures de porte, relais d'ouverture de glace de hayon), moteur d'ouverture de glace de hayon, moteur de glace avant gauche, moteurs de serrures de porte/hayon | 31 20 A* Radio (alimentation B+), haut-parleur d'extrêmes-graves, amplificateur audio de radionavigation |
| 32 15 A* Capteur de rendement du reacteur catalytique, electrovannes de passage de la boîte de vitesse | 32 15 A* Capteurs de sondes à oxygène chauffantes, régulateur de dépression RGE, volet d'admission d'air à géométrie variable, solénoïde d'aération du filtre à carbon actif, electrovanne de purge de vapeur de carburant, bobine de relais d'embrayage de compresseur de climatiseur |
Dépannage
| Emplacement du fusible/relais | Intensité Description du portefusibles de l'habitatcle |
| 34 20 A* Module de commande du groupe motopropulseur, électrovanne d'air additionnel de ralentit, débitmètre d'air massique, injecteurs de carburant, relais de pompè à carburant, interrupteur automatique de pompè d'alimentation, moteur de pompè d'alimentation | |
| 35 20 A* Feux de route, tímoïn des feués de route du tableau de bord | |
| 36 10 A* C ignotant/feu stop croit de remorque | |
| 37 20 A* Prise de courant d'ai re de chargement | |
| 38 25 A* Moteur d'essuie-glace arrrière, pompè de lave-glace (lunette arrrière) | |
| 39 20 A* Prises de courant de la console | |
| 40 20 A* Relais des feués de jour, phares antibrouillards (feux de jour), bobine de relais des phares (feux de jour), interrupteur multifonction (appeal de phares), module BSM (relais de commande automatique des phares), bobine de relais des feués de route, fusible n° 25 (feu de croissement gauche), fusible n° 23 (feu de croissement droit) | |
| 41 20 A* Iume-cigares, connecteur d'autodiagnostic embarqué OBD II | |
| 42 10 A* C ignotant/feu stopaurache de remorque | |
| 101 30 A** Relais de démarreur, solénoïde de démarreur | |
Dépannage
| Emplacement du fusible/relais | Intensité Description du portefusibles de l'habitatcle |
| 102 30 A** | Alimentation du commutateur d'allumage |
| 103 30 A** | Module des freins antiblocage/AdvanceTrac® (moteur de pompe) |
| 104 30 A** | Relais de siège gauche de troisième rang, commutateur de siège gauche de troisième rang, moteur de siège gauche de troisième rang |
| 105 30 A** | Module de hayon à commande électrique, moteurs de hayon à commande électrique, commande de marchepieds à commande électrique |
| 106 30 A** | Relais de charge de batterie de remorque, connecteur à 7 fils pour la traction d'une remorque (charge de la batterie) |
| 107 30 A** | Relais de soufflante de climatisationur auxiliaire, moteur de soufflante de climatisationur auxiliaire |
| 108 30 A** | Commutateur de moteur de siège du passager, commutateur et moteur du soutien lombaire de siège du passager |
| 109 30 A** | Commande et moteur de régiable soutien lombaire de siège du conducteur, module des réglages mémorés, rétroviseurs à mémoire, commande et moteur de pédales régables |
| 110 30 A** | Marchepieds à commandé électrique |
Dépannage
| Emplacement du fusible/relais | Intensité Description du portefusibles de l'habitaté |
| 111 50 A** | Relais de comprisseur de suspension pneumatique, comprisseur de suspension pneumatique |
| 112 30 A** | Module (soupapes)ABS/AdvanceTrac® |
| 113 30 A** | Moteur des essuie glace avant, pompe de lave-glace (de pare-brise) |
| 114 40 A** | Relais de dégivreur de lunette arrrière, grille de fils chauffants de dégivreur arrrière, rétroviseurs chauffants (fusion n° 8) |
| 115 30 A** | Module 4x4, moteur électric de la boîte de transfert |
| 116 40 A** | Relais de moteur de soufflante avant, moteur de soufflante avant |
| 117 30 A** | Relais de siège droit de troisième rang, commutateur de siège droit de troisième rang, moteur de siège droit de troisième rang |
| 118 30 A** | Module des sièges à régulation de température du conducteur et du passager |
| 401 30 A** | Glaces à commande électric (disjoncteur), commande principale des glaces, moteurs de lève-glace, commandes de lève-glace, module de toit ouvrant transparent |
| R01 Relais | du démarreurSolénoïde du démarreur |
Dépannage
| Emplacement du fusible/relais | Intensité Description du portefusibles de l'habitatcle | |
| R02 Relais | d'alimentation prolongée des accessoires | Fusible n° 22, disjoncteur 401, glaces à commande électrique, toit ouvrant transparent, glaces articulées, radio, DVD, amplificateur de radionavigation, amplificateur d'antenne de navigation |
| R03 Relais | des feu des route | Fusible n° 35, frais de route, tímoin des frais de route |
| R04 Relais | de dégivreur de lunette arrière | Fusible n° 8 (rétriviseurs chauffants), dégivreur de lunette arrière, rétroviseurs chauffants, tímoin de dégivreur de lunette arrière (module de commande de chauffage-climatisation), |
| R05 Relais | de circuit de charge de remorquage | Connecteur de remorque à 7 fils (charge de la batterie) |
| R06 Relais | du ventilateur avant | Ventilateur avant |
| R201 Relais | des frais de stationnement de remorque | Connecteurs à 7 et à 4 fils pour la traction d'une remorque (feux de position) |
| R202 Relais | des phares antibrouillards | Phares antibrouillards avant |
| R203 Relais | du module de commande du groupe motopropulseur | Fusible n° 32, fusible n° 33, fusible n° 34, reliais de pompé d'alimentation, pompe d'alimentation, solénoïdes et capteurs ou sondes du module de commande du groupe motopropulseur |
| R301 Relais | de phares de recul de remorque | Connecteur de remorque à 7 fils (phares de recul) |
Dépannage
| Emplacement du fusible/relais | Intensité Description du portefusibles de l'habitacle | |
| R302 Relais | duprogrammateurd'vitesse | Servo de régulateur de vitesse |
| R303 Relais | de lapompe d'alimentation | Interrupteur automatique de la pompe d'alimentation, surveillance de la pompe d'alimentation du module de commande du groupe motopropulser, pompe d'alimentation |
| R304 Relais | antidécharge de la batterie | Éclairage de galerie de toit, éclairage de miroir de courtoisie, lampe de lecture de carte/plafonnier, éclairage de boîte à gants, éclairage d'aire de chargement, lampes dirigées vers le sol, tableau de bord (éclairage interieur) |
| R305 Relais | de l'avertisseursonore | Avertisseur sonore 2 tons |
| * Fusibles ordinaires ** Fusibles à haute intensité | ||
Remarque : Les reliais R301-R305 ne sont pas réparables; consultez votre concessionnaire ou un technicien qualifié pour obtenir l'assistance technique nécessaire.
Si une crevaison se produit pendant que vous conduisez, ne freinez pas brusquement. Freinez plutôt graduallement pour ralentir. Tenez fermement le volant et dirigeez-vous lentement et avec prudence sur l'accotement.
L'utilisation d'agents de scellement pour les pneus peut endommager les pneus de leur vehicule. L'utilisation de tels produits peut également endommager votre système de surveillance de la pression des pneus (salon l'équipement).
Votre vehicule peut etre equiped'une roue de secours conventionnelle dont un ou plusieurs des elements suivants different de ceux des autres
Dépannage
roues : type, marque, taille, indice de vitesse et sculptures de la bande de roulement. Si c'est le cas, cette roue de secours différente est tout de même conforme aux charges maximales prévues pour votre vehicule (PMAE et PTAC). Voitre vehicule est équipé d'une roue de secours qui n'est pas identique aux roues standard de votre vehicule et qui n'est pas équipée d'un capteur de système de surveillance de la pression des pneus.
Renseignements sur la roue de secours
Remarque: Si vous vécuicide est équipé du système de surveillance de la pression des pneus, le témoin du système s'allume lorsqu'une roue de secours est utilisée. Pour rétabrir la fonctionnalité totale du système de surveillance, toutes les roues standard possédant un capteur de surveillance de la pression des pneus doivent être installées sur le vehicule.
Si votre vehicule est équipé du système de surveillance de la pression des pneus, faites replacer tout pneu à plat de votre vehicule chez un concessionnaire ou par un technicien qualifié afin d'éviter d'endommager les capteurs de surveillance. Remplacez la roue de secours par une roue normale dés que possible.
Emplacement de la roue de secours et des outils
La roue de secours et les outils de votre vehicule sontrangés aux endroits suivants:
| Pièce Emplacement | |
| Roue de secours Sous le vehicule, devant le pare-chocs arrêté. | |
| Outils et instructions de levage Sous le panneau d'accès situé dans le compartment du plancher, derrière le siège arrêté. |
Pour dégager le cric et les outils
- Ouvrez le hayon et reprez le panneau d'accès au plancher, derrière le siège de troisisième rang. Deverrouillez et enlevez le panneau.
- Sortez les outils et le cric du plateau en tournant l'écrou à oreilles dans le sens inverse des aiguilles d'une montre pour relâcher la tension sur le plateau du cric.
- Detachez le demonte-roue, la rallonge du cric et le levier de manoeuvre du cric du plateau en plastique. Sortez du plateau le cric et la feuille d'instructions.
Dépannage
Pour enlever la roue de secours
- Rabattez le siege arriere.
Consultez la rubrique Sièges arrêtés dans le chapitre Sièges et dispositifs de retenue. - Sortez le levier de manoeuvre du cric et la rallonge de treuil du plateau et assemblez ces derniers.
- Retirez le bouchon d'accès du treuil de la roue de secours, situé au fond du compartment, juste derrière le siège de troisieme rang, tout pres du plateau du cric et des outils.
- Glissez l'outil de rallonge de treuil par le trou d'acces du plancher et engagez-le sur le treuil.
- Tournez le levier de manœuvre de la roue de secours dans le sens inverse des aiguilles d'une montre, jusqu'à ce que la roue touche le sol et que le cable soit détendu.
- Installes la fixation à travers le centre de la roue de secours.
Méthode de remplacement d'une roue

Pour assurer l'immobilisation du vehicule lorsque vous changez une roue, vérifie si le frein de stationnement est serré, puis (à l'avant et à l'arrière) la roue diagonalement opposée (de côté du vehicule) à cette changée.

Si le vehicule venait à glisser du cric, quelqu'un pourrait être grièvement blessé.

Avant tout remorquage, levage ou mise sur cric d'un vehicule doté d'une suspension pneumatique, l'interrupteur de la torsion pneumatique doit être mis hors fonction.
Consultez la feuille de directives (située dans le compartment de plancher arrêté derrière la banquette de troisième rang avec la trousse d'outils de plateau de cric) pour obtenir des directives détaillées concernant le remplacement d'une roue.
Dépannage
- Stationnez le vehicule sur une surface plane, allumez les feu des detresse et serrez le frein de stationnement.

- Placez le levier de vitesse en position de stationnement (P), arrêtez le moteur et calez la roue diagonalement opposée à cette qui doit être changée. (Si vous étés contraint de changer la roue dans une pente, calez la roue diamétralement opposée du côté descendant de la pente.)

- Sortez la roue de secours et le cric de leur rangement. Mettez la suspension pneumatique hors fonction à l'aide de l'interrupteur (l'interrupteur de suspension pneumatique est situé derrière deux panneaux de garniture, sur le panneau de custode arrêté gauche). Consultez la rubrique Suspension pneumatique du chapitre Conduite pour de plus amples renseignements. Veiliez également àmettre les marchepiedescamotables hors fonction (selon l'équipement) Consultez la rubrique Afficheur multimessage du chapitre Commandes du conducteur.

Dépannage
- Servez-vous de la pointe du levier de manqueevre du cric pour enlever l'enjoliveur. Desserrez les écrous de roue d'un demi-tour dans le sens contraire des aiguilles d'une montre, mais ne les enlevez pas avant d'avoir soulevé la roue du sol.

- Placez le cric selon les flèches d'insertion de cric figurant sur le chassin et tournez le levier de manoeuvre du cric ainsi que la rallonge dans le sens des aiguilles d'une montre. Soulevez le vehicule de façon que le pneu soit à un maximum de 2,5 cm (1 po) du sol afin de monter la roue de secours.

Lorsqu'une des roues arrirere est soulevee, la transmission seule ne suffit pas a immobiliser le vehicule ou a I'empecher de glisser du cric, meme si le levier selecteur est a la position P (stationnement). Pour eviter le displacement inopiné du vehicule pendant le remplacement d'une roue, assurez-vous que le frein de stationnement est serré et que la roue située en diagonale est bien bloquée. Si le cric glisse du vehicule, il y a risque de blessures graves.
Avant

Dépannage
- Arrière

Mettez les marchepieds hors fonction avant de soulever le vehicule ou de placer des objets sous le vehicule. Ne mettez jamais la main entre le marchepied déployé et la carroserie. S'il devait se déplacer, le marchepied pourrait vous blesser.
- Ne vous servez jamais du différentiel avant ou arriere comme point de levage.

Pour réduire les risques de blessures, ne place aucune partie du corps sous le vehicule pour remplacer une roue. Ne mettez pas le moteur en marche lorsque le vehicule est sur le cric. Le cric n'est prévu que pour remplacer une roue.
- Enlevez les écrous de roue au moyen du démonte-roue.
- Remplacez le pneu à plat par la roue de secours, en vous assurant que le corps de la valve est orienté vers l'extérieur. Remettez en place les écrous de roue et vissez-les jusqu'à ce que la roue soit bien appuyée contre le moyeu. Ne serrez pas complètement les écrous de roue tant que vous n'avez pas abaissé le vehicule.
- Abaissez le vehicule en tournant le levier de manoeuvre du cric dans les sens contraire des aiguilles d'une montre.
Dépannage
- Retirez le cric et achevez de serrer les écrous de roue dans l'ordre indiqué sur l'illustration, puis remontez l'enjolivre.
-
Retirez les blocs qui retiennent les roues.
-
Rangez la roue enlevée, le cric et le demonte-roue et les outils. Assurez-vous de bien fixer le cric pour qu'il ne fasse pas de bruit pendant la conduite.

- Remettez la suspension pneumatique en fonction à l'aide de l'interrupteur (salon l'equipement).
Rangement de la roue de secours
- Placez le pneu sur le sol, pres de l'arrière du vehicule, le corps de la valve orienté vers le haut.
- Faites glisser la roue partiellement sous le vehicule et installez la fixation au centre de la roue. Par la suite, tirez sur le cable pour aligner les composants à son extrémité.
- Assemblez le levier de manoeuvre du cric et l'outil de rallonge de treuil (tel qu'illustré). Insérez l'outil de rallonge dans le trou de visite situé derrière le siège de troisisième rang et engagez le treuil.
- Tournez le levier de manoeuvre du cric dans le sens des aiguilles d'une montre jusqu'à ce que la roue

s'éleve à sa position rangée sous le vehicule. La clé devient de plus en plus difficile à tourner et le treuil « cliquette » ou « patine » lorsque la roue atteint sa position de serrage maximal. Le mecanisme du treuil émet un déclic lorsque la roue de secours est correctement rangée.
- Demontez les outils et placez-les dans les logements à ressort du plateau à outils. Remettez l'obturator en caoutchouc sur le trou de visite. Remettez le plateau en place dans le vehicule et serrez fermement en tournant I'écrou à oreilles dans le sens des aiguilles d'une montre.
Dépannage
\section*{Caracteristiques de couple de serrage des écrous de roue}
Resserrez les écrous de roue au couple indiqué 800 km (500 mi) après tout changement de pneu (permutation, remplacement d'un pneu à plat, retrait, etc.).
| Taille de boulon C couple de serrage de l'écrou de roue* | |
| N·m lb-pi | |
| 1/2 x 20 113 à 153 84 à 114 | 4 |
| * Ces couples de serrage sont pour des boulons et des écrous dont les filets sont propres et sans rouille. Utilisez seulement des éléments de fixation de rechange recommends par Ford. | |
Lors de l'installation d'une roue, enlevez toujours la corrosion, la saleté ou les corps étrangers qui pourrait se trouver sur les surfaces de montage de la roue ou sur les surfaces de l'ensemble moyeu et disque du frein avant qui entrent en contact avec la roue. L'installation de roues dont le contact métal à métal sur les surfaces de montage est déficient peut entraîner un desserage des écrous de roue suivi de la perte d'une roue alors que le vehicule est en mouvement, ce qui provoquerait la perte de la maïtrise du vehicule.
DÉMARRAGE-SECOURS DU VÉHICULE
N'approchez jamais une flamme, des étincelles ou du tabac allumé pres d'une batterie car les gaz que dégage la batterie pouraient exploser et entraîner des blessures ou des dégats.
Les batteries contiennent de l'acide sulfurique susceptible de brûler la peau, les yeux et les vêtements s'il y a contact.
Ne poussez pas votre vehicule pour le faire demarrer. Les vehicules Equipes d'une boite de vitesses automatique ne sont pas concus pour le demarrage par poussaee. De plus, cette manoeuvre pourrait endommager le convertisseur catalytique.
Préparation du vehicule
Lorsque la batterie est débranchée ou remplacee, la boite de vitesses doit reapprender sa strategie de passage des vitesses. Il se peut donc que les changements de rapport de la boite de vitesses soient plus couples ou moins couples qu'auparavant. Cette situation est normale et
Dépannage
ne nuit ni au fonctionnement ni à la longévite de la boîte de vitesses. Avec le temps, la stratégie d'apprentissage autoadaptative réactualisera entièrement le fonctionnement de la boîte de vitesses.
1. N'utilisez qu'une alimentation de 12 volts pour faire demarrer le moteur.
- Ne débranchez pas la batterie décharge de votre vehicule. Vous pourriez endommager le circuit électrique du vehicule.
- Placez le vehicule de secours prs du capot du vehicule en panne, en veillant a ce que les deux vehicules ne se touchent pas. Serrez le frein de stationnement des deux vehicules et tenez-vous a l'ecart du motoventilateur de refroidissement et de toute piece mobile du moteur.
- Vérifiez toutes les bornes des batteries et éliminez-en la corrosion avant de brancher les cables volants. Veillez à ce que les rampes de bouchons des batteries soient toutes au niveau et bien serrées.
- Mettez en marche le ventilateur de l'habitacle des deux vehicules pour ne prendre aucun risque en cas de pointe de tension. Éteignez tous les autres accessoires.
Branchement des cables volants

- Branchez le cable volant positif (+) à la borne positive (+) de la batterie décharge.
Remarque: Dans les illustrations, les éclairs désignent la batterie d'appoint.
Dépannage

- Branchez l'autre extrémité du cable positif (+) à la borne positive (+) de la batterie d'appoint.

- Branchez le cable négatif (-) à la borne négative (-) de la batterie d'appoint.
Dépannage


- Branchez en dernier le cable négatif (-) au goujon de démarrage-secours situé à l'arrière du compartment moteur, après la batterie. N'utilise pas les canalisations de carburant, les cache-culbuteurs ou le collecteur d'admission du moteur comme points de mise à la masse.

Ne branche pas l'extremité du deuxième cable à la borne négative (-) de la batterie décharge, car une étincelle pourrait provoquer une explosion des gaz qui se dégagent alement d'une batterie.
- Assurez-vous que les cables volants sont éloignés des pales du ventilateur, des courroies, de toute piece mobile des deux moteurs et de tout élément du circuit d'alimentation.
Demarrage-secours
- Faites démarrer le moteur du vehicule de secours et faites-le tournier à régime modéré.
Dépannage
- Faites démarrer le moteur du vehicule en panne.
- Une fois le moteur du vehicule en panne en marche, faites tourner les deux moteurs pendant environ trois minutes avant de retarder les cables volants.
Débranchement des cables volants

Débranche les cables volants dans l'ordre inverse de leur branchement.
- Debranchez d'abord le cable volant de la surface métallique utilisée pour la mise à la masse.
Remarque : Dans les illustrations, les éclairs désignent la batterie d'appoint.

- Débranche le cable volant de la borne négative (-) de la batterie d'appoint.
Dépannage

- Débranche le cable volant de la borne positive (+) de la batterie d'appoint.

- Débranche le cable volant de la borne positive (+) de la batterie qui était déchargée.
Une fois le moteur en marche et les cables volants retirés, laissez le moteur tournier au ralenti pendant quelques minutes pour lui permettre de réapprendre ses paramètres de fonctionnement au ralenti.
Dépannage
REMORQUAGE DE VOTRE VEHICULE


Si vous doivent remorquer leur vehicule, faites appel à un service professionnel de remorquage ou appelez le Programme d'assistance dépannage si vous y étés abonné.
Nous vous recommendons de faire remorquer votre vehicule avec un léve-roues ou de le faire transporter sur le plateau d'une dépanneuse. Ne faites pas remorquer votre vehicule au moyen d'une sangle de levage. Aucune méthode de remorquage avec sangle de levage n'est approvée par Ford. Le remorquage du vehicule par les crochets de remorquage avant du chassis n'est pas recommandé non plus.
La suspension pneumatique doit être mise hors fonction et le contact doit être coupé avant de faire remorquer le vehicule. Consultez la rubrique Témoin de suspension pneumatique du chapitre Conduite.
Les vehicules 4x2 peuvent etre remorques avec les roues avant au sol (sans lve-roues) et les roues arriere soulevees du sol.
Dépannage
Il est recommandé de faire remorquer les vehicules à 4 roues motrices avec les quatre roues soulevées du sol, à l'aide d'un chariot porte-roues ou sur le plateau d'une dépanneuse.
Si le vehicule est remorqué par d'autres moyens ou d'une maniere incorrecte, des dommages peuvent s'ensuivre.
Dans le cas où vous vehicule en panne doit être remorqué par un autre vehicule (lorsqu'un chariot porte-roues, une dépanneuse ou un vehicule à plateau ne sont pas disponibles), celui-ci peut être remorqué sur les quatre roues selon les instructions particulières.
Conditions particulieres :
- desserrez le frein de stationnement;
- mettez la commande de suspension pneumatique à OFF (arrêt);
- placez le commutateur d'allumage à la position d'arrêt;
- mettez la boite de vitesses au point mort (N);
Si la batterie du vehicule est a plat, consultez la rubrique Fonctionnement de la boite de vitesses automatique dans le chapitre Conduite pour connaître la façon de déplacer le levier de vitesse hors de la position de stationnement (P) en vue du remorquage.
- ne roulez pas sur une distance de plus de 80 km (50 mi);
- ne roulez pas à une vitesse supérieure à 56 km/h (35 mi/h).
Ford met à la disposition des services de remorquage un manuel de directives pour le remorquage des vehicules Ford. Demandez au conducteur de la dépanneuse de s'y reférer pour connaître la méthode d'attelage et de remorquage qui convient à votre vehicule.
Assistance à la clientèle
POUR OBTENIR LES SERVICES DONT VOUS AVEZ BESOIN
A la maison
Conduisez votre vehicule Ford chez un concessionnaire autorisé Ford pour y faire effectuer les réparations couvertes par la garantie. Bien que tout établissement concessionnaire Ford qui vend toute ligne de vehicule fournir une service sous garantie, nous vous recommendons de returner chez le concessionnaire qui vous a vend le vehicule, car celui-ci veut s'assurer de toute satisfaction continue. Veuillez notes que certaines réparations couvertes par la garantie doivent être effectuées par un technicien ayant reçu une formation technique spécialisée ou avec un équipement spécialisé; lors, ce ne sont pas tous les concessionnaires qui sont autorisés à exécuter toutes les réparations couvertes par la garantie. De ce fait, selon la nature de la réparation, il se peut qu'il soit nécessaire de vous rendre chez un autre concessionnaire. Une fois que vous aurez conduit votre vehicule dans un établissement concessionnaire pour y faire effectuer une réparation, un-delai raisonnable doit être accordé. Les réparations seront effectuees à l'aide de pieces Ford ou Motorcraft, de pieces reconstruites ou autres pieces autoriseses par Ford.
Si vous avez des questions ou si vous n'etes pas satisfait du service que vous receiveze, procedez de la manière suivante:
- Communiquez avec votre vendeur ou avec votre conseiller technique chez le concessionnaire qui vous a vendu le vehicule.
- Si vous n'obtenez pas satisfaction, communique avec le directeur des ventes, le directeur du service technique ou le directeur d'assistance à la clientèle.
- Si vous avez besoin d'assistance ou de plus de détails sur les politiques et procédures de la Compagnie Ford, communique avec le Centre de relations avec la clientèle Ford au numéro fourni ci-dessous.
A l'extérieur
Si vous étés en déplacement lorsqu'une intervention s'impose sur votre vehicule Ford, ou si vous avez besoin de plus d'assistance que votre concessionnaire n'est en mesure de vous accorder, communiquez avec le Centre de relations avec la clientèle Ford après avoir suivi les étapes décrites ci-dessus pour obtenir les coordonnées d'un concessionnaire autorisé qui pourrait vous aider.
Assistance à la clientèle
Aux Etats-Unis:
Ford Motor Company
(Appareil de télécommunications pour sourds [ATME] : 1800 232-5952)
www/customersaskford.com
Au Canada :
Centre de relations avec la clientèle
Ford du Canada Limitée
C.P. 2000
Oakville (Ontario) L6J 5E4
1800565-3673(FORD)
www.ford.ca
Si vous étés en déplacement lorsqu'une intervention s'impose sur votre vehicule Lincoln, ou si vous avez besoin de plus d'assistance que votre concessionnaire n'est en mesure de vous accorder, communiquez avec le Centre de relations avec la clientèle Ford après avoir suivi les étapes décrites plus haut pour obtenir les coordonnées d'un concessionnaire autorisé qui pourrait vous aider.
Aux États-Unis :
Ford Motor Company
(Appareil de télécommunications pour sourds [ATME] : 1800 232-5952)
www/customersaskford.com
Au Canada :
Lincoln Centre
Ford du Canada Limitée
C.P. 2000
Oakville (Ontario) L6J 5E4
1800387-9333
www.lincoln canada.com
Assistance à la clientèle
Pour faciliter l'obtention de services pour votre vehicule Lincoln, veuillez avoir sous la main les renseignements suivants lorsque vous communiquez avec le Lincoln Centre :
- nombre de téléphone (au travail et à domicile);
- la raison sociale et la ville où est situé le concessionnaire;
- l'année-modèle et la marque de votre vehicule;
- la date d'achat de votre vehicule;
- le kilométrage indiqué au compteur de votre vehicule;
- le numero d'identification du vehicule (NIV).
Si vous désirez toujours formuler une plaine relative à la garantie, vous pouvez communiquer avec le « Dispute Settlement Board » aux États-Unis.
Selon les lois sur la garantie en vigueur dans certains États américain, vous devrez aviser Ford directement et par écrit avant d'entamer un recours en justice. Ford pourrait avoir droit, dans certains États ou provinces, à une dernière tentative visant à réparer le vehicule.
Aux États-Unis, un litige relatif à la garantie doit être soumis au « Dispute Settlement Board » avant de faire intervenir le
« Magnuson-Moss Warranty Act », ou dans les limites permises par la loi de l'Etat, avant de faire appel aux recours de remplacement ou de rachat prévus par certaines lois d'Etat. Il n'est pas nécessaire d'appliquer cette procédure de traitement des litiges avant d'exercer les droits constitués par un État ou d'autres droits indépendants du « Magnuson-Moss Warranty Act » ou des lois d'Etat régissant le remplacement ou le rachat.
PROGRAMME D'ENTRETIEN PROLONGE FORD
Vous pouvez obtenir une meilleure couverture de votre nouvelle voiture ou camionnette en souscrivant au Programme d'entretien prolongé Ford. Le Programme d'entretien prolongé Ford est un programme optionnel, endosse et géré par Ford Canada (au Canada) et par Ford Motor Company ou Ford Motor Service Company (aux États-Unis). Il comprend :
des privilèges durant la période de garantie, selon le programme auquel vous souscrivez (teils que le remboursement des frais de location d'un vehicule, la couverture de certains éléments d'entretien et pieces d'usure);
- la couverture des frais de réparation du vehicule lorsque la garantie pare-chocs à pare-chocs arrive à échéance.
Assistance à la clientèle
Vou puez souscrite au Programme d'entretien prolongé Ford auprès de tout concessionnaire Ford, Lincoln et Ford Canada participant. Plusieurs programmes couvrent des périodes, des franchises et des kilométrages qui peuvent être combinés pour s'adapter à vos besoin de conduite. Le programme d'entretien prolongé Ford offre également des privilèges de remboursement en cas de remorquage ou de location de vehicule.
Lorsque vous souscrivez au Programme d'entretien prolongé Ford, vous pouvez conduire en toute quiétude partout au Canada et aux États-Unis, grâce à la protection qui vous est assurée par plus de 5 000 concessionnaires Ford, Lincoln ou Ford Canada participant au programme.
Si vous n'avez pas souscrit au Programme d'entretien prolongé Ford au moment de l'achat de votre vehicule, il est possible que vous puissiez toujours vous prévaloir de cette option. Ces renseignements étant sujets à changement, consultez votre concessionnaire ou visitez le site Web du Programme à l'adresse www.ford-esp.com pour connaître tous les détails sur les options de la couverture du Programme d'entretien prolongé Ford.
LE « DISPUTE SETTLEMENT BOARD » (É.-U. SEULEMENT)
Le « Dispute Settlement Board » est :
- un conseil d'arbitrage independant de siege partie concu pour régler les litiges liés aux garanties;
- disponible sans frais pour les propriétaires et les locataires de vehicules répondant aux critères de Ford Motor Company.
Il est possible que le « Dispute Settlement Board » ne soit pas disponible dans tous les États. Ford Motor Company se reserve le droit de modifier les restrictions liées à l'admissibilité ainsi que les procédures ou d'annuler ce service sans préavis et sans obligations selon les lois applicables de l'État.
De quels genres de litiges le « Dispute Settlement Board » s'occupé-t-il?
Le « Dispute Settlement Board » s'occupe des problèmes non résolus liés à des réparations couvertes par la garantie ou au rendement des vehicules pour les voitures Ford et Lincoln et les camionnettes Ford et Lincoln qui sont, selon les conditions de toute garantie écrite et applicable pour vehicule neuf, admissibles à une révision, à l'exception :
des produits non concus par Ford;
Assistance à la clientèle
des produits qui ne proviennent pas d'un concessionnaire Ford;
- des litiges liés à la vente entre le client et le concessionnaire, à l'exception de ceux qui sont liés à des réparations couvertes par la garantie ou à des problèmes liés au rendement du vehicule;
- des demandes de remboursement de dépenses indirectes, sauf si un service ou un produit est en cours de révision;
des pièces non couvertes par la Garantie limite de vehicule neuf (incluant les pièces d'entretien et d'usure);
- des plaintes personnelles allégues pour dommages corporels ou matériels;
des causes qui sont devant les tribunaux;
- des vehicules qui ne sont pas utilisés principalement à des fins familières, personnelles ou menagères (sauf dans les États où l'intervention du « Dispute Settlement Board » est requise pour la révision des vehicules commerciaux);
- des vehicules qui ne comportent pas de garantie americaine.
Les litiges ne sont pas admissibles à une révision si la Garantie limitée de vehicule neuf est périmée au moment de la réception de votre inscription et, dans certains États, l'admissibilité dépend de la possession du vehicule par le client.
Les conditions d'admissibilité peuvent différer selon les lois des États. À titre d'exemple, consultez les brochures distinctes s'adressant aux acheteurs et locataires de l'État de la Californie, de la Virginie-Occidentale, de la Géorgie et du Wisconsin.
Participation au Conseil
Le Conseil est composé de :
- trois représentants des consommateurs;
- un représentant d'établissement concessionnaire Ford ou Lincoln.
Les candidats consommateurs désirant participer au Conseil sont recrutés et formés par une société d'experts-conseils indépendante. Le représentant d'établissement concessionnaire participant au Conseil est choisi parmi les directeurs des concessionnaires Ford et Lincoln reconnus pour leurs qualités de chef d'entreprise.
Assistance à la clientèle
Ce dont le Conseil a besoin
Pour que vous cause soit révisée, vous doivent restreter le formulaire d'inscription present dans la brochure du « Dispute Settlement Board » (DSB) et le faire parvenir à l'adresse indiquée sur le formulaire. Dans certains États, votre formulaire devra être envoyé par courrier recommandé avec accusé de réception.
Votre inscription sera analysée et si elle est considérée admissible, vous receivez un accuse de réception indiquant :
- le numero de dossier attribué à votre inscription;
- le numero sans frais de l'administrateur indépendant du DSB.
Votre concessionnaire ainsi qu'un représentant de Ford Motor Company devront ensuite soumettre leurs déclarations.
Pour passer votre cause en revue adequatement, le Conseil a besoin des renseignements suivants :
- des copies lisibles de tous les documents et des bons de commande d'entretien et de réparation applicables à la cause;
- l'année, le type, le modele et le numero d'identification du vehicule (NIV) indiques sur votre licence de propriete de vehicule;
- la date de la ou des réparations et le kilométrage du vehicule au moment de l'évenement (ou des événements);
le kilométrage actuel; - le nom du ou des concessionnaires qui ont effectué la vente ou la réparation;
- une brève description du problème non résolu;
- un bref résumé des mesures prises par le ou les concessionnaires et par Ford;
- les noms (si vous les connaissiez) de toutes les personnes avec qui vous avez communiqué chez le ou les concessionnaires;
- une description de la mesure qui, d'après vous, doit être prise pour régler le problème.
Vous recevrez une dette d'explication si vous demande d'inscription est rejetée par le Conseil.
Assistance à la clientèle
Présentations orales
Si vous désirez effectuer une presentation orale, répondez OUI à la question 6 du formulaire. Meme si vous avez le droit d'effectuer une presentation orale devant le Conseil, il ne s'agit pas d'une exigence et le Conseil statuera sur le cas, qu'une presentation orale soit effectuee ou non. Il est également possible que le Conseil en fasse la demande.
Prise d'une décision
Les membres du Conseil passeront en revue tous les renseignements disponibles liés à chaque plaine, incluant les presentations orales, et prendront une décision juste et impartiale. Le processus de révision du Conseil peut être interrompu en tout temps par une partie ou l'autre. Tous les efforts possibles seront déployés pour qu'une décision soit prise dans un-delai de 40 jours à partir de la date de réception de tous les renseignements requis par le Conseil. Puisque le Conseil se réunit habituellément une fois par mois, il se peut que le-delai d'analyse de certaines causes soit plus long.
Une fois qu'une cause a fait l'objet d'un examen, le Conseil vous fait parvenir une dette de décision et un-formulaire vous permettant d'indiquer si vous acceptez ou rejetez la décision du Conseil. Les décisions du Conseil sont exécutoires auprès de Ford (et, dans certains cas, auprès du concessionnaire), mais elles ne le sont pas pour les consommateurs, qui sont libres de faire appel aux autres recours auxquels ils ont accès en vertu des lois de l'Etat ou des lois fédérales.
Pour receivevoir une brochure ou une demande d'inscription du DSB
Pour obtenir une brochure ou une demande d'inscription, communique avec votre concessionnaire ou avec le DSB aux adresse et numéro de téléphone suivants :
Voupez egalent communier avec le Centre nord-americain de relations avec la clientele au 1 800 392-3673 (Ford), ATME (appareil de télécommunications pour malentendants): 1 800 232-5952 ou écrire au Centre à l'adresse suivante:
Ford Motor Company
Assistance à la clientèle
PROGRAMME DE MÉDIATION ET D'ARBITRAGE (CANADA SEULEMENT)
Pour les cas où les efforts déployés par Ford et le concessionnaire pour résoudre un problème de service lié à l'usine vous semble insatisfaisants, Ford Canada participe à un programme de mediation et d'arbitrage impartial de fierce partie gérié par le Programme d'arbitrage pour les vehicules automobiles du Canada (PAVAC).
Le PAVAC est un moyen simple et relativement rapide de résoudre les litiges quand tous les autres efforts visant à obtenir un règlement ont échoué. Cette procédure sans frais pour vous est destinée à éliminer le recours aux poursuites légales longues et couteuses.
Dans le cadre du programme du PAVAC, des arbitrés impartiaux de tiance partie tiennent des audiences dans un contexte informel à des dates et endroits qui convennent aux différentes parties. Les arbitrés impartiaux examinent les positions des parties, prenant des décisions et, le cas échéant, rendent un jugement pour résoudre les litiges. Leurs décisions sont rapides, équivalents et définitives, et liènt le plaignant et Ford Canada.
Les services du PAVAC sont offerts dans tous les territoires et provinces. Pour obtenir plus de détails, sans frais ni obligation, appelez directement le PAVAC au 1 800 207-0685.
ASSISTANCE HORS DU CANADA ET DES ETATS-UNIS
Avant d'exporterVotevehiculendunpaysetranger,communiquez avec l'ambassade ou le consulat de ce pays.Le personnel de I'ambassade peut vous informer des reglements locaux concernant I'mmatriculation devoire vehicule et youindiquer ouyouprocurer delessence sans plomb.
Si vous ne trouvez pas d'essence sans plomb ou si vous ne trouvez que de l'essence dont l'indice antidetonant est inférieur à celui recommendé pour votre vehicule, communiquez avec un centre d'assistance regional ou avec le Centre de relations avec la clientèle Ford.
L'utilisation d'essence au plomb sans conversion appropriée peut nuire au rendement des dispositifs antipollution de votre vehicule et provoquer des cliquetis ou des dégats sérieux au moteur. Ford Canada et Ford Motor Company déclinent toute responsabilité en cas de dégats provoqués par l'utilisation d'un carburant inapproprié.
Aux États-Unis, l'emploi d'une essence au plomb pourrait également entraîner des difficultés lors du retour de votre vehicule aux États-Unis.
Si vous avez besoin d'assistance pour votre vehicule quand vous voyageez ou résidez en Amérique centrale, en Amérique du Sud, dans les Antilles
Assistance à la clientèle
ou au Moyen-Orient, communiquez avec le concessionnaire Ford le plus proche. Si le concessionnaire Ford ne peut pas vous aider, écrivez ou téléphonez à :
FORD MOTOR COMPANY
Télécopier : (313) 390-0804
Si vous vous trouvez dans un pays autre que ceux mentionnés ci-dessus, communiquez avec le concessionnaire Ford le plus proche. Si le concessionnaire ne peut pas vous aider, il pourra vous diriger vers le bureau d'une filiale Ford le plus proche.
Si vous achetez votre vehicule en Amérique du Nord et que vous déménagez par la suite à l'extérieur des États-Unis ou du Canada, signalez le numéro d'identification de votre vehicule (NIV) et votre nouvelle adresse au Service du marketing direct international de Ford Motor Company.
COMMANDE DE DOCUMENTATION SUPPLEMENTaire
Pour commander les publications prsentes dans cettePOCHETTE,veuillez communiquer avec Helm Inc.à:
HELM, INCORPORATED
P.O.Box 07150
Detroit, Michigan 48207, ETATS-UNIS
ou en composant sans frais, du lundi au vendredi de 8 h à 18h, heurenormale de I'Est le :
1 800 782-4356 pour obtenir un catalogue gratuite des publications offertes.
VoussousquieraijordehelmInc.surLeWeba l'adresse suivante: www.helminc.com.
(L'achat d'articles figurant dans le catalogue peut se faire par carte de crédit, chèque ou mandat.)
Pour obtenir une copie du Guide du propriétaire en français
Les Guides du propriétaire peuvent être obtenus en français chez vos re concessionnaire ou en écrivant à Ford du Canada Limitée, Service des publications techniques, C.P. 1580, Station B, Mississauga (Ontario) L4Y 4G3.
Assistance à la clientèle
EN CALIFORNIE (ÉTATS-UNIS SEULEMENT)
La section 1793.2(d) du Code civil de Californie exige que, lorsqu'un fabricant ou son représentant n'est pas en mesure de réparer un vehicule en se conformant à la garantie applicable au vehicule après un nombre raisonnable de tentatives, le fabricant doit remplaner le vehicule par un autre sensiblement identique ou racheter le vehicule et rembourser l'acheteur pour un montant égal au prix actuel payé ou payable par le client (moins une déduction raisonnable pour l'utilisation du vehicule par le client). Le client est en droit de désirir le remboursement ou le remplacement du vehicule.
La section 1793.22(b) du Code civil de la Californie presume que le fabricant a tenté à plusieurs reprises de se conformer aux garanties applicables au vehicule si, dans les 18 mois suivant l'achat d'un nouveau vehicule ou les premiers 29 000 km (18 000 mi), selon la première échéance :
- Deux tentatives ou plus de réparations d'une même non-conformité pouvant cause la mort ou des blessures sérieues ont été effectuees OU
- Quatre tentatives ou plus de réparations d'une même non-conformité (une défectuosité ou une condition qui nuit considérablement à l'utilisation, à la valeur ou à la sécurité du vehicule) ont été effectuees OU
- Le vehicule ne peut etre utilise a cause de la réparation de non-conformités pendant une période de plus de 30 jours (pas nécessairement consécutifs).
Dans les situations 1 et 2 mentionnées ci-dessus, le client doit également aviser le fabricant du besoin de réparation de la non-conformité à l'adresse suivante:
Ford Motor Company
Assistance à la clientèle
DEFAUTS COMPROMETTANT LA SECURITE (É.-U. SEULEMENT)
Si vous croyez que votre vehicule presente une defectuosite qui pourrait causeur un accident ou des blessures graves ou mortelles, informez immédiatement la National Highway Traffic Safety Administration (NHTSA) et Ford Motor Company.
Si la NHTSA recoit d'autres plaintes similaires, elle peut ouvrir une enquête et ordonner le lancement d'une campagne de rappel et de réparation lorsqu'elle déterminé qu'un défaut compromettant la sécurité touche un groupe de vehicules. Toutefois, la NHTSA ne peut pas intervenir dans le cas d'un différend entre le client, son concessionnaire et Ford Motor Company.
Pour communiquer avec la NHTSA, vous pouvez téléphoner à la ligne directe de sécurité automobile au 1 800 424-9393 (ou au 366-0123 dans la région de Washington, D.C.) ou écrire à :
NHTSA
400 Seventh Street
La ligne directe permet également d'obtenir d'autres renseignements relatifs à la sécurité automobile.
Nettoyage
LAVAGE DE L'EXTÉRIEUR DU VÉHICULE
Lavez votre vehicule régulierement avec de l'eau froide ou tiède et un shampooing à pH neutre tel que le Shampooing superfin
Motorcraft (ZC-3-A), disponible auprès de votre concessionnaire.
- N'utilise jamais de détergent ou savon domestique puissant tel que le savon pour lave-vaisselle ou le détersif à lessive liquide. Ces produits peuvent décolorer et tacher les surfaces peintes.
- Ne lavez jamais votre vehicule lorsqu'il est « chaud au toucher » ou lorsqu'il se trouve au grand soleil.
- Pour un lavage parfait, utilisez toujours une éponge propre ou un gant de lavage auto et suffisamment d'eau.
- Sechez le vehicule à l'aide d'un chamois ou d'un tissu-éponge doux afin d'éliminer le tachage par eau.
- Il est particulièrement important de laver le vehicule régulierement pendant les mois d'hiver car la saleté et le sel de dégel sont difficilles à enlever et ils endommagent le vehicule.
- Nettoyez immédiatement les traces d'essence, de carburant diesel, les fuentes d'oiseaux et les traces d'insecte car ils peuvent endommager la peinture du vehicule et même l'écailler avec le temps.
- Avant de pénétrer dans un lave-auto, enlevez tous les accessoires extérieurs tels que les antennes.
- Les lotions solaires et les produits pour éloigner les insectes peuvent endommager toute surface peinte; si de telles substances entrent en contact avec votre vehicule, lavez celui-ciès que possible.
- Si vous véchicule est équipé de marchepieds, n'utilise pas de produit de protection pour le caoutchouc, le plastique ou le vinyle sur leur surface, car cela risquérait de la rendre glissante.
- Si vous vécuule est équipé de marchepieds escamotables à commande électrique, il est possible que le mecanisme devienne bruyant en raison d'une accumulation de sable ou de calcaire. Meme si le dispositif peut fonctionner malgré ces accumulations, il est important de laver cette zone régulièrement pour assurer un fonctionnement optimal.
Nettoyage
LUSTRAGE
L'application d'un enduit protecteur pour peinture au polymère sur votre vehicule tous les six mois contribuera à réduire les égratignures légères et les dommages à la peinture.
- Lavez d'abord le vehicule.
- N'utilisez pas de cire contenant un abrasif.
- Veillez à ce que l'endet obturant n'entre pas en contact avec les garnitures d'un noir mat qui ne font pas partie de la carrosserie, par exemple, le revêtement lateral de carrosserie à surface grenue, le porte-bagages, les surfaces du pare-chocs marchepied, les boitiers de miroirs ou la zone de l'auvent du pare-brise. Avec le temps, l'endet proteeur pourrait cause une décoloration de ces pieces ou les tacher.
PEINTURE ÉCALELLÉE
De la peinture de retouche identique à la couleur de votre vehicule est disponible chez vous concessionnaire. Notez le code de couleur (indiqué sur une étiquette apposée sur le montant de la porte du conducteur) et demandez à votre concessionnaire la couleur exacte.
- Enlevez les particules comme les fuentes d'oiseau, la sève d'arbre, les restes d'insectes, les taches de goudron, le sel et les retombées industrielles avant de réparer la peinture écaillée.
- Assurez-vous de toujours dire les instructions avant d'utiliser ces produits.
JANTES ET ENJOLIVEURS EN ALUMINIUM
Les jantes et les enjoliveurs en aluminium sont recouverts d'un enduit de finition lustré. Afin de garder leur lustre :
- traitez-les une fois par semaine avec le Nettoyant pour roues et pneus Motorcraft (ZC-37-A), qui est disponible auprès de votre concessionnaire. Les accumulations de salete et de poussière produit par les freins peuvent être nettoyées à l'aide d'une éponge; rincez ensuite à l'aide d'un fort jet d'eau;
- n'appliquez jamais de produit de nettoyage chimique sur des jantes ou des enjoliveurs chauds ou tièdes;
- certains lave-autos automatiques peuvent endommager l'endetuit de finition lustré des jantes et des enjoliveurs de votre vehicule. L'application de nettoyants chimiques combinée à l'action d'une Brosse pour enlever la poussière et la saleté peut causeer, avec le temps, une usure de l'endetuit de finition lustré;
Nettoyage
- n'utilise pas de nettoyants pour roues à l'acide fluorhydrique ou hautement corrosifs, de laine d'acier, d'essence ou des détergents domestiques puissants;
- pour enlever le goudron et la graisse, utilisez le dissolvant de goudron et eliminateur d'insectes Motorcraft (ZC-42), disponible auprès de votre concessionnaire.
MOTEUR
Un moteur propre fournit un meilleur rendement. En effet, les accumulations deGRAisse et de poussière agissant comme un isolant qui empêche le refroidissement du moteur. Lors du nettoyage du moteur :
- faites preuve de prudence lors de l'utilisation d'un apparéil de lavage à pression pour nettoyer le moteur. Le liquide à haute pression peut pénétrer dans les pieces scelledes et cause des dommages;
- pour éviter tout risque de félure du bloc-cylindres ou autres composants du moteur, ne pulverisez jamais d'eau froide sur un moteur encore chaud;
- pulverisez le Shampoing et dégraissant pour moteur Motorcraft (ZC-20) sur toutes les pieces qui doivent être nettoyées et rincez avec de l'eau sous pression;

- pour éviter les dommages causés par l'eau lors du nettoyage du moteur, couvre les éléments ombrés;
- ne lavez ni ne rincez jamais un moteur en marche. L'infiltration d'eau dans le moteur pourrait cause des dommages internes.
Nettoyage
PIÉCES EXTERIEURES EN PLASTIQUE (NON PEINTES)
N'utilisez que des produits approuvés pour nettoyer les pièces en plastique. Ces produits sont disponibles auprès de votre concessionnaire.
- Pour le nettoyage de routine, utilisez le Shampooing superfin Motorcraft (ZC-3-A).
- En présence de taches de goudron ou de graisse, utilisez le dissolvant de goudron et éliminateur d'insectes Motorcraft (ZC-42).
GLACES ET BALAIS D'ESSUIE-GLACE
Le pare-brise, la lunette arrière, les glaces laterales et les balais d'essuie-glace doivent être nettoyés régulièrement. La présence de substances sur les glaces du vehicule ou sur les balais d'essuie-glace peut faire en sorte que ces derniers n'essuient pas correctement. Ces substances peuvent être notamment de la cire provenant destraitements à la cire chaude utilisés dans les lave-autos commerciaux, de la sève d'arbre ou d'autres contaminants organiques. Pour nettoyer les balais d'essuie-glace, suivez ces instructions :
- le pare-brise, la lunette arrête et les glaces laterales peuvent être nettoyés à l'aide d'un détergent non abrasif tel que le Nettoie-vitres Ultra-Clear en aérosol Motorcraft (ZC-23), que vous trouverez chez votre concessionnaire;
- n'utilisez pas d'abrasifs car ils peuvent provoquer des rayures;
- n'utilise pas d'essence, de kerosene ou de diluant pour peinture pour le nettoyage de ces pieces;
- les balais d'essuie-glace peuvent être nettoyés avec de l'alcool isopropylique (alcool à friction) ou à l'aide d'une solution nettoyante pour pare-brise. Assurez-vous de remplaçer les balais d'essuie-glace lorsqu'ils semble usés ou qu'ils ne fonctionnent pas ajustement.
PLANCHE DE BORD ET PAROI VITREE DU TABLEAU DE BORD
Nettoyez la planche de bord à l'aide d'un chiffon humide, puis essuyez-la avec un chiffon sec.
- Evitez les nettoyants ou les produits de lustrage qui augmentent le lustre de la partie supérieure de la planche de bord. Le fini mat de cette zone aide à protéger le conducteur des reflets nuisibles du pare-brise.
Nettoyage
N'utilise pas de solvants chimiques ni de détergents puissants pour nettoyer le volant ou la planche de bord afin d'éviter de contaminer le système de sacs gonflables.
Assurez-vous de laver ou d'essuyer vos mains si vous avez touché à des produits comme des lotions solaires et insectifuges, afin d'éviter d'endommager les surfaces peintes de l'habitacle.
HABITACLE
Pour les garnitures interieures, les tapis, les sièges en tissu et les ceintures de sécurité :
- enlevez la poussière et la saleté au moyen d'un aspirateur;
- pour enlever les taches légères et les saletés, utilisez le Nettoyant Motorcraft ultrapuissant pour tissus (ZC-41);
- s'il y a de laGRAISSÉ ou du goudron sur le tissu, nettoyez d'abord la zone souillée avec le Detachant Motorcraft (ZC-14);
- n'imprégnez jamais les revêtements de sièges d'une solution nettoyante;
- n'utilise pas de produits nettoyants domestiques ou de nettoyants à partir puisqu'ils risquent de tacher et de décolorer les tissus et de réduire les propriétés ignifuges du revêtement des sièges.
N'utilise pas d'agents de blanchiment, de colorants ou d'autres solvants pour nettoyer les ceintures; en effet, de tels produits pouraient causeur l'usure des sangles.
NETTOYAGE DES SIÉGES À RÉGULATION DE TEMPERATURE (SELON L'ÉQUIPEMENT)
Éliminez la poussière et les résidus à l'aide d'unerosse ou d'un aspirateur. Nettoyez les taches fraîches immédiatement. Essuyez le siège avec un chiffon humide et au besoin, nettoyez-le avec un savon doux.
SIEGES GARNIS DE CUIR
Les surfaces des sièges en cuir de votre vehicule sont recouvertes d'un enduit protecteur transparent.
- Pour les nettoyer, utilisez un chiffon doux et le Nettoyant pour cuir et vinyle de luxe Motorcraft (ZC-11-A). Séchez avec un chiffon doux.
- Pour aider àmaintenir la souplesse et la couleur du cuir,utilise le Necessaire de nettoyage pour cuir de luxe Motorcraft (ZC-11-D), disponible chez votre concessionnaire autorisé.
Nettoyage
- N'utilise pas de produit de nettoyage domestique, de melange à base d'alcool, de solvant, de produit conçu pour le nettoyage du caoutchouc, du vinyle ou des matières plastiques ni de revitalisant pour cuir à base d'huile ou de petrole. Ces produits peuvent provoquer une usure prematurée de l'endetruit protecteur transparent.
Remarque: Dans certains cas, un transfert de couleur ou de teinture peut se produit si vos vêtements mouillés entrent en contact avec les surfaces en cuir. Dans ce cas, il faut nettoyer le cuir sans tarder pour éviter que les taches demeurent de façon permanente.
GARNITURES INTÉRIÉUES
- Nettoyez la surface des garnitures interieures avec un chiffon humide puis essuyez avec un chiffon propre, sec et doux.
- N'utilise pas de produit de nettoyage pour l'entretien menager ni de nettoie-vitres car ils pourraient endommager le fini du panneau de garnissage.
SOUBASSEMENT
Rincez féquèment la totalité du soubassement du vehicule. Assurez-vous desterolir les saletés accumulées dans les orifices de drainage de la carrosserie et des portes.
Nettoyage
VouspouvieszyouprocuerrapprésdevotrecconcessionnaireFordou Lincolnune vaste selectiondeproduits de nettoyage etde produits de protection pourle fini devoitréhicule.Ces produits de qualité ontétéspecialémentconçus pourrépondreauxbesoinsdesautomobilisteset pour s'harmoniserparfaitementau styleetaux lignesdevoitréhicule. Chaque produit est fabriqué avec des matériauxdepremiere qualité qui sont conformes aux normes les plus strictes ou les dépassent.Pourobtenirde meilleurs résultats,utilisezles produits suivants ou des produits de qualité équivalente:
Lustrant verni spécial Motorcraft (ZC-8-A)
Protège-vinyle spécial Motorcraft (non distribué au Canada) (ZC-40-A)
Nettoyant pour vinyle Motorcraft (Canada seulement) (CXC-93)
Rénovateur pour vinyle Motorcraft (Canada seulement) (CXC-94)
Nettoyant de luxe pour cuir et vinyle Motorcraft (non distribué au Canada) (ZC-11-A)
Dissolvant de goudron et éliminateur d'insectes Motorcraft (ZC-42)
Nettoyant Motorcraft ultrapuissant pour tissus (non distribué au Canada) (ZC-41)
Nettoyant pour métal brillant spécial Motorcraft (ZC-15)
Nettoyant pour roues et pneus Motorcraft (ZC-37-A)
Nettoyant pour tableau de bord et vinyle Motorcraft (ZC-38-A)
Nécessaire d'entretien automobile Motorcraft (ZC-26)
Nettoyant concentré lave-auto Motorcraft Ford Premium (F2SZ-19523-WC)
Nettoie-vitres Carlite Motorcraft (Canada tableau) (CXC-100)
Detachant lustreur pour pneus Motorcraft (ZC-28)
Nettoie-vitres Ultra-Clear en aérosol Motorcraft (non distribué au Canada) (ZC-23)
Shampoing et dégraissant pour moteur Motorcraft (ZC-20)
Entretien et caractéristiques
RECOMMANDATIONS D'ENTRETIEN
Pour vous aider à entrenir votre vehicule :
- nous avons surligné, pour en facilitier le repérage, les éléments du compartmentement moteur dont vous pouvez effectuer l'entretien vous-même;
- nous vous remettons un Calendrier d'entretien périodique qui vous permit de repérer facilement les opérations d'entretien périodique prescrites pour votre vehicule.
Si vous vécicule requiert les soins d'un expert, votre concessionnaire Ford peut vous fournir les pieces et la main-d'oeuvre dont vous avez besoin. Consultez votre Guide de garantie/Guide du propretaire pour déterminer quelles sont les pieces et les interventions qui bénéficient d'une couverture.
N'utilisez que les carburants, graisses, huiles, liquides et pièces de rechange conformes aux normes prescrites. Les pièces Motorcraft sont conçues pour assurer le rendement optimal de votre vehicule.
PRECAUTIONS A PRENDRE LORS D'UNE INTERVENTION
- Ne travailliez jamais sur un moteur chaud.
Assurez-vous que rien n'entre en contact avec les pieces qui sont en mouvement. - Ne travailliez pas sur un vehicule dont le moteur est en marche dans un local fermé, à moins d'être certain que le local est suffisamment aéré.
- N'approchez jamais de flamme ni d'objet allumé pres de la batterie ou des éléments du circuit d'alimentation.
Si vous devez travailler lorsque le moteur est arrêté
- Serrez le frein de stationnement et placez le levier de vitesse en position de stationnement (P).
- Arrêtez le moteur et retirez la clé du commutateur d'allumage.
- Bloquez les roues.
Si vous devez travailler lorsque le moteur tourne
- Serrez le frein de stationnement et placez le levier de vitesse en position de stationnement (P).
- Bloquez les roues.
Remarque: Ne mettez jamais le moteur en marche lorsque le filtre à air est terminé et ne retirez jamais ce dernierpendant que le moteur tourne.
Entretien et caractéristiques
OUVERTURE DU CAPOT

- Dans l'habitacle, tirez la manette d'ouverture du capot, située sous le coin gauche de la planche de bord.

- Placez-vous devant le vehicule, dégagez le loquet du capot situé sous le devant du capot, au-dessus du phare, côte passager. Faites glisser la poignée jaune pour dégager le loquet.
- Levez le capot jusqu'à ce que les vérins le maintiennent ouvert.
Entretien et caractéristiques
IDENTIFICATION DES ÉLÉMENTS DU COMPARTIMENT MOTEUR
Moteur 5.4L V8 4V

- Batterie
- Jauge d'huile de la boite de vitesses automatique
- Bouchon de replissage d'huile moteur
- Réservoir de liquide de direction assistée
- Jauge d'huile moteur
- Réservoir de liquide de frein
- Vase d'expansion
- Ensemble de filtré à air
- Réservoir de liquide de lave-glace
Entretien et caractéristiques
LIQUIDE DE LAVE-GLACE
Remplissez le réservoir de liquide de lave-glace lorsque le niveau est bas. Par temps très froid, ne replisssez pas le réservoir à ras bord. Utilisez uniquement un liquide de lave-glace conforme aux normes Ford WSB-M8B16-A2. Consultez la rubrique Lubrifiants prescrits de ce chapitre.

Il se peut que des règlements relatifs aux composés organiques volatils en vigueur dans votre région ou dans votre province restreignent l'usage du methanol, qui est un antigel de lave-glace couramment utilisé. Les liquides de lave-glace contenant des antigels sans additifs à base de methanol ne doivent être utilisés que s'ils sont efficaces par temps froid et s'ilns ne causent pas de dommages au fini de la peinture, aux balais d'essuie-glace ou au dispositif de lave-glace.
Si vous utilisez votre vehicule par des températures inférieures à 4,5^ (40^) , utilisez du liquide de lave-glace avec protection antigel. Si vous omettez d'utiliser ce type de liquide de lave-glace partemps froid, la visibilité du pare-brise en sera affectée et les risques de blessures ou d'accident seront accrus.
Remarque: Ne versez jamais de liquide de lave-glace dans le vase d'expansion. L'ajout de liquide de lave-glace au circuit de refroidissement risque de cause des dommages au moteur et aux éléments du circuit de refroidissement.
Vérification et ajout du liquide de lave-glace du hayon
Le lave-glace du hayon est alimenté en liquide par le réservoir de lave-glace du pare-brise.
Entretien et caractéristiques
HUILE MOTEUR
Vérification du niveau d'huile moteur
Consultez le Calendrier d'entretien périodique pour connaître les intervalles prescrits de vérification du niveau d'huile moteur.
- Stationnez le vehicule sur une surface plane.
- Coupe le contact et attendez quelques minutes, le temps que l'huile se dépose dans le carter inférieur.
- Serrez le frein de stationnement et assurez-vous que le levier de vitesse est bien place en position de stationnement (P).
- Ouvrez le capot. Protégez-vous de la chaleur du moteur.
- Reprez laJAuge d'huile moteur et retirez-la avec precaution.

- Essuyez laJAuge. Engagez-la a fond dans son tube et retirez-la de nouveau.
Si le niveau se situe entre les repères MIN et MAX, le niveau est bon. N'AJOUTEZ PAS D'HUILE.
Entretien et caractéristiques
Si le niveau d'huile n'atteint pas le repere MIN, ajoute la quantite d'huile nécessaire pour qu'il se situe entre les repères MIN et MAX.

- Si le niveau d'huile dépasse le repère MAX, le moteur risque de subir des dégats. L'excess d'huile doit être vidéré par un technicien qualifié.
- Replacez la jauge et assurez-vous qu'elle repose à fond dans son tube.
Ajout d'huile moteur
- Vérifiez le niveau d'huile moteur. Pour des directives à ce sujet, consultez la rubrique Vérification du niveau d'huile moteur du present chapitre.
- Si le niveau n'est pas dans la plage normale, n'ajoute que de l'huile moteur homologué et de viscosité recommandée. Retirez le bouchon de remplissage d'huile moteur et versez l'huile par l'orifice de remplissage à l'aide d'un entonnoir.
- Vérifiez à nouveau le niveau de l'huile. Assurez-vous qu'il ne dépasse pas le repère MAX de la jauge.
- Replacez la jauge et assurez-vous qu'elle repose à fond dans son tube.
- Remettez le bouchon de replissage d'huile en place en le tournant d'un quart de tour dans le sens des aiguilles d'une montre, jusqu'à ce qu'il soit bien visse.
Pour éviter les pertes d'huile, NE conduisez PAS avec la jauge ou le bouchon de replissage d'huile moteur retirees.
Entretien et caractéristiques
Huile moteur et filtres recommandés
Recherche cette étiquette d'homologation.

Utilisez de l'huile moteur SAE 5W-20.
Utilissez uniquement une huile moteur homologuee pour les moteurs a essence par l'American Petroleum Institute (API). Pour maintainir la garantie de votre moteur, utilisez de I'huile moteur SAE 5W-20 ou une huile 5W-20 equivalente qui respecte la norme Ford WSS-M2C153-H. L'huile SAE 5W-20 optimise le rendement et la durabilité du carburant et repond a toutes les exigences du moteur de votre vehicule.
N'ajoutez pas d'additifs supplémentaires à l'huile moteur, ni de produits de traitement ou nettoyants. Ces produits sont inutilles et peuvent entrainer des dommages au moteur qui ne seraient pas couverts par la garantie de votre vehicule.
Vidangez l'huile moteur aux intervalles recommandés dans le Calendrier d'entretien périodique.
Les filtres à huile Ford montés à l'usine et ceux de deuxieme monte (Motorcraft) sont concus pour assurer au moteur une protection supérieure et une durée de vie prolongée. L'emploi d'un filtré à huile autre que les filtres recommendés par Ford peut provoquer des bruits du moteur au démarrage ou des cognements.
Pour la protection du moteur de votre vehicule, nous recommendons l'utilisation de filtres Motorcraft (ou toute autre marque conforme aux normes Ford).
Entretien et caractéristiques
BATTERIE
La batterie sans entretien Motorcraft de votre vehicule n'exige normalement aucun ajust d'eau pendant toute sa durée de vie utile.

Toutefois, dans des conditions très rigoureuses, ou par temps très chaud, vérifie le niveau de l'électrolyte. Consultez le Calendrier d'entretien périodique pour connaître les intervalles d'entretien requis.
Maintenez le niveau de l'electrolyte de chaque élément au repère.
Ne replisssez pas les éléments de batterie excessivement.
Si le niveau de l'electrolyte est insuffisant, vous pouvez ajouter de l'eau du robinet si elle n'est pas trop calcaire (c'est-à-dire à haute teneur en mineraux). Néanmoins, il est préférible d'utiliser de l'eau distillée. Si le niveau de l'electrolyte doit être ajusté fréquement, faites vérifier le circuit de charge.
Si vous batterie est munie d'un couvercle protecteur, assurez-vous de le remetre en place après avoir nettoyé ou remplace la batterie.
Pour prolonger la vie utile de la batterie, veillez à ce que le dessus du boîtier soit toujours propre et sec. De plus, assurez-vous que les cables sont toujours fermement serrés sur les bornes de la batterie.
En cas de corrosion sur la batterie ou sur ses bornes, débranchez les cables, et nettoyez cables et bornes au moyen d'unerosse métallique. Neutralisez l'électrolyte avec une solution de bicarbonate de soude et d'eau.
Lorsque la batterie est débranchée ou qu'une nouvelle batterie est installée, la boîte de vitesses doit réapprendre ses paramètres de strategie autoadaptative. Pour cette raison, il se peut que le passage des vitesses manque de souplesse au début. Cette situation est normale; la boîte de vitesses retrouvera sa souplesse de fonctionnement une fois qu'elle aura été réactualisée.
Entretien et caractéristiques
Les batteries dégagent des gaz explosifs qui peuvent cause des blessures. N'approche donc jamais de flamme, d'étinçelle ou de substance allumée pres d'une batterie. Protégez-vous toujours le visage et les yeux lorsque vous travailliez pres d'une batterie. Assurez-vous que le local est bien aéré en tout temps.
Lorsque vous devez soulever une batterie dont le bac est en plastique, une pression excessive sur les parois peut faire giclcer l'electrolyte par la rampe de bouchons et provoquer aussi bien des blessures que des dégats au vehicule ou à la batterie. Utilisez un porte-batterie ou saisissez le bac par les coins diagonalement opposés.
Gardez les batteries hors de portée des enfants. Les batteries contiennent de l'acid sulfurique qui peut brûler la peau, les yeux et les vêtements. Protegez-vous les yeux quand vous effectuez une intervention à proximate d'une batterie. En cas d'élaboussures d'électrolyte sur la peau ou dans les yeux, rincez immédiatement à grande eau pendant au moins 15 minutes et consultez un médecin dans les plus brefs délais. En cas d'ingestion d'électrolyte, consultez un médecin immédiatement.
Les bornes de batterie, les cosses de cable et les accessoires connexes contiennent du plomb et des composés de plomb. Lavez-vous les mains après avoir manipulé de telles pièces.
Pour obtenir plus d'informations sur le fonctionnement de la boite de vitesses après que la batterie a ete débranchee, consultez la rubrique Strategie de passage des vitesses du chapitre Conduite.
Étant donné que le moteur de votre vehicule est commandé par un processeur électronique, certains régimes de commande font appel à l'alimentation électrique provenant de la batterie. Lorsque la batterie est débranchée ou qu'une nouvelle batterie est installée, le moteur doit réapprendre ses paramètres de fonctionnement au ralenti et sa strategie d'alimentation avant de retrouver son rendement optimal. Pour amorcer ce nouvel apprentice :
- Arretez complètement le vehicule et serrez le frein de stationnement.
- Placez le levier de vitesse en position de stationnement (P), eteignez tous les accessoires et faites demarrer le moteur.
Entretien et caractéristiques
- Laissez le moteur tourner jusqu'à ce qu'ilatteigne sa température normale de fonctionnement.
- Laissez le moteur tourner au ralenti pendant au moins une minute.
- Mettez la climatisation en fonction et faites tourner le moteur au ralenti pendant au moins une minute.
- Desserrez le frein de stationnement. Avec votre pied sur la pédale de frein et la climatisation en fonction, mettez le vehicule en marche avant automatique (D) et laissez le moteur tourner au ralenti pendant au moins une minute.
-
Conduisez le vehicule pour completer le processus de reapprentissage.
-
Il se peut qu'il soit nécessaire de conduire le vehicule sur une distance d'au moins 16 km (10 mi) pour que le moteur reapprenne ses paramétres de fonctionnement au ralenti et d'ajustement de carburant.
- Si vous ne permette pas au moteur de réapprendre ses paramètres de fonctionnement au ralenti, la qualité du ralenti en seraompromise jusqu'à son réapprentissage eventuel.
Si la batterie a ete debranchee ou qu'une nouvelle batterie a ete installede, la montre et les stations de radio mises en memoire doivent etre reprogrammées une fois la batterie rebranchee.
- La mise au rebut des batteries d'automobile doit toujours être effectuee de maniere responsable. Respectez les reglements en vigueur dans notre region. Adressez-vous a votre centre de recyclage local pour obtenir de plus amples rensignements concernant le recyclage des batteries d'automobile.

LIQUIDE DE REFROIDISSEMENT DU MOTEUR

Vérification du liquide de refroidissement du moteur
La concentration et le niveau du liquide de refroidissement du moteur doit être vérifiés aux intervalles prévus dans le Calendrier d'entretien périodique. Une concentration à parts égales de liquide de refroidissement et d'eau distilled doit être maintainue, ce qui correspond à une protection antigel allant jusqu'à -36 °C (-34 °F). Il est possible de vérifier la concentration du liquide de refroidissement à l'aide d'un
Entretien et caractéristiques
densimetre ou pese-antigel ( comme le pese-acide/antigel Rotunda, 014-R1060). Le niveau du liquide de refroidissement doit être maintainu au repere « cold full » de la gamme « cold fill » du vase d'expansion. Si le niveau est inférieur au repere, ajoutez du liquide de refroidissement selon les directives fournies à la rubrique Ajout de liquide de refroidissement.
Votre vehicule a ete rempli en usine d'une solution a parts egales de liquide de refroidissement et d'eau. Si la concentration du liquide de refroidissement chute sous les 40% ou depasse 60% ,les organes du moteur peuvent etre endommages ou ne plus fonctionner.Un melange a parts egales de liquide de refroidissement et d'eau procure ceci :
- une protection antigel jusqu'à -36 °C (-34 °F);
- une protection contre l'ébullition jusqu'à 129 °C (265 °F);
- une protection contre la rouille et les autres formes de corrosion;
- un fonctionnement ajustat des jauges calibrées.
Une fois le moteur refroidi, vérifie le niveau du liquide de refroidissement dans le vase d'expansion.

- Le niveau du liquide de refroidissement doit être maintainu au repere « cold fill » ou dans la gamme « cold fill » comme l'indique le vase d'expansion (selon le modele).
- Consultez le Calendrier d'entretien périodique pour connaître les intervalles requis.
352
Entretien et caractéristiques
- Lisez attentivement la rubrique Précautions à prendre lors d'une intervention de ce chapitre.
Si vous ne vérifie pas le niveau du liquide de refroidissement aux intervalles recommendés, le vase d'expansion peut finir par se vider. Si le niveau est bas ou que le vase d'expansion est vide, ajoutez-y du liquide de refroidissement. Consultez la rubrique Ajout de liquide de refroidissement de ce chapitre.
Remarque: Les liquides pour vehicules automobiles ne sont pas interchangeables. Il ne faut jamais utiliser de liquide de refroidissement, de concentré antigel ou de liquide de lave-glace pour un usage autre que celui auquel ces liquides sont destinés.
Ajout de liquide de refroidissement
Lors de l'ajout de liquide de refroidissement, assurez-vous qu'il s'agit bien d'une solution à parts égales de liquide de refroidissement et d'eau distilled. Versez le mélange dans le vase d'expansion, lorsque le moteur est refroidi, jusqu'àu niveau approprié.

N'ajoutez pas de liquide de refroidissement si le moteur est sa chaud. Du liquide bouillant et de la vapeur peuvent s'échapper un cuit de refroidissement et vous causez de graves brûlures. Vous nez aussi vous brûler si vous renversez du liquide sur des dosants brûlants du moteur.

Ne versez pas de liquide de refroidissement dans le réserveir de liquide de lave-glace. Si du liquide de refroidissement est projeté pare-brise, la visibilité risque d'être grandement réduite.
- Ajoutez du liquide de refroidissement Motorcraft Premium Gold (de couleur jaune), de catégorie VC-7-A (VC-7-B, pour l'Oregon), conforme aux specifications Ford WSS-M97B51-A1.
Remarque: L'utilisation de pastilles antifuite VC-6 de système de refroidissement Motorcraft peut ascombrir la couleur du liquide de refroidissement Premium Gold Motocraft, qui passe du jaune au Havane doré.
N'ajoutez pas de liquide de refroidissement longue durée de couleur orange, comme le liquide de refroidissement Motorcraft Speciality de couleur orange VC-2 (Etats-Unis) ou CXC-209 (Canada), qui respecte la norme Ford
Entretien et caractéristiques
WSS-M97B44-D, au liquide de refroidissement ajouté en usine à votre vehicule. Le fait d'ajouter du liquide de refroidissement Motorcraft Speciality de couleur orange ou tout liquide de refroidissement longue durée de couleur orange au liquide de refroidissement fourni par l'usine peut ALTERER la protection contre la corrosion.
- En cas d'urgence, vous pouvez ajouter au vase d'expansion de l'eau ne contenant pas de liquide de refroidissement, de manière à pouvoir vous rendre à une station-service. Dans un tel cas, le circuit de refroidissement devra être vidange le plus tot possible et être rempli d'une solution à parts égales de liquide de refroidissement et d'eau distillée. L'utilisation d'eau sans liquide de refroidissement risque d'entrainer des dommages au moteur par la corrosion, la surchauffe ou le gel.
- N'utilise pas d'alcool, de methanol ou de saumure, ni de liquide de refroidissement mélange à de tels produits. L'alcool et les autres liquides peuvent entrainer des dommages au moteur causés par une surchauffe ou le gel.
- N'ajoutez pas d'inhibiteurs ou d'additifs au liquide de refroidissement. Cela risque de réduire et de compromètre la protection anticorrosion du liquide de refroidissement.
Pour les vehicules équipés de circuits de trop-plein de refroidissement avec bouchon de vase d'expansion non pressurisé, ajoutez du liquide de refroidissement lorsque le moteur a refroidi. Ajoutez le mélange de liquide de refroidissement et d'eau approprié jusqu'àu repère « cold full » (niveau à froid). Pour tous les autres vehicules équipés d'un circuit de refroidissement à dégazage avec un bouchon pressurisé, ou pour les vehicules équipés d'un circuit de trop-plein et dont le bouchon taré de vase d'expansion doit être retire du radiateur, procédez comme suit.

Pour réduire les risques de blessures, assurez-vous que le moteur a refroidi avant de dévisser le bouchon taré du vase
d'expansion. Étant donné que le circuit de refroidissement est sous pression, de la vapeur et du liquide brûlant peuvent jaillir lorsque le bouchon est légèrement desserre.
- Avant de commencer, arrêtez le moteur et laissez-le refroidir.
- Une fois le moteur refroidi, placez un chiffon écais sur le bouchon taré du vase d'expansion (un réservoir en plastique transparent). Tournez le bouchon lentement dans le sens contraire des aiguilles d'une montre (vers la gauche), jusqu'à ce que la pression commence à se dissiper.
Entretien et caractéristiques
- Écartez-vous et laissez la pression se dissiper.
- Lorsque vous étés certain que la pression est dissipée, saisissez le bouchon, toujours enveloppè du chiffon, et continuez de le tournier dans le sens contraire des aiguilles d'une montre pour l'enlever.
- Remplissez lentement le vase d'expansion avec le mélange approprié (voir précédemment) jusqu'à la plage de niveau indiquée ou jusqu'au repère de niveau à froid. Si vous avez enlevé le bouchon du radiateur d'un circuit de trop-plein, remplissez presque complètement le radiateur, de façon à voir le liquide.
- Remettez le bouchon en place. Tournez-le jusqu'à ce qu'il soit fermement serré (le bouchon doit être correctement serré pour éviter toute fuite de liquide de refroidissement.)
Après tout ajout de liquide de refroidissement, vérifie la concentration du liquide de refroidissement; consultez la rubrique Vérification du liquide de refroidissement. Si la concentration du mélange n'est pas à parts égales (protection à -36 °C [-34 °F]), vidangez une partie du liquide de refroidissement pour ajuster la concentration. L'obtention d'une concentration à parts égales peut nécessiter plusieurs vidanges et ajouts.
Après chaque ajout de liquide de refroidissement, le niveau dans le vase d'expansion doit être vérifié au terme des cycles de conduite qui suivront. Au besoin, ajoutez suffisamment de melange à parts égales pour ramener le liquide de refroidissement au niveau approprié.
Demandez à votre concessionnaire d'inspector le circuit de refroidissement si vous doivent ajouter plus d'un litre (1 pinte US) de liquide de refroidissement par mois dans le réservoir. Il peut qu'il y ait uneuite dans le circuit de refroidissement. Le fonctionnement d'un moteur avec un bas niveau de liquide de refroidissement peut entrainer sa surchauffe et l'endommager.
Liquide de refroidissement recyclé du moteur
Ford NE commande PAS l'utilisation de liquide de refroidissement recyclé sur les vehicules équipés à l'origine de liquide de refroidissement Premium Gold Motorcraft, car aucun procédé de recyclage n'a encore été homologué par Ford.

La mise au rebut du liquide de refroidissement usage doit etre
effectue de façon appropriée. Consultez les centres locaux de recyclage pour tout renseignement sur le recyclage et la récapération de ces liquides.
Entretien et caractéristiques
Contenance du circuit de refroidissement
Pour connaître la contenance en liquide du circuit de refroidissement de votre vehicule, consultez la rubrique Contenances du present chapitre.
Remplissez le vase d'expansion de votre vehicule selon les directives fournies dans la rubrique Ajout de liquide de refroidissement de ce chapitre.
Conditions climatiques rigoureuses
Si vous conduisez lors de températures très froides (inférieures à -36 °C [-34 °F]):
- il se peut qu'il soit nécessaire d'augmenter la concentration de liquide de refroidissement à plus de 50% ;
- ne dépassez JAMAIS une concentration de 60% ;
- une concentration du liquide de refroidissement supérieur à 60% diminuera les caractéristiques de protection par le liquide de refroidissement contre la surchauffe du moteur et peut causer des dommages au moteur;
- consultez le tableau figurant sur le contenant du liquide de refroidissement pour vous assurer que la concentration de liquide utilisée dans votre vehicule le protégera du gel aux températures par lesquelles vous conduisez en hiver.
Si vous conduisiez par temps très chaud :
- il est quand même nécessaire de dévelopir la concentration du liquide de refroidissement à plus de 40% ;
- n'utilisez JAMAIS de liquide de refroidissement dont la concentration est inférieure à 40%;
- le fait de diminuer la concentration du liquide de refroidissement à moins de 40% réduira les caractéristiques de protection par le liquide de refroidissement contre la corrosion du moteur et peut endommager le moteur;
- le fait de diminuer la concentration du liquide de refroidissement à moins de 40% réduira les caractéristiques de protection par le liquide de refroidissement contre le gel et peut endommager le moteur;
- consultez le tableau figurant sur le contenant du liquide de refroidissement pour vous assurer que la concentration de liquide utilisée dans votre vehicule le protégera correctement aux températures par lesquelles vous conduisez.
Entretien et caractéristiques
Les vehicules conduits toute l'année dans des climats tempérés devraient être replis d'un mélange à parts égales de liquide de refroidissement du moteur et d'eau distilled pour obtenir une protection optimale du système de refroidissement et du moteur.
Circuit de refroidissement à protection totale
Ce dispositif permet de conduire sur une courte distance sans endommager le moteur de façon permanente dans le cas où le liquide de refroidissement viendrait a sépuier. Les distances que le « circuit à protection totale » permet de parcourir varient en fonction de la température extérieure, de la charge du vehicule et des conditions routières.
Fonctionnement du circuit de refroidissement à protection totale
Si le moteur surchauffe :
- l'aiguille du thermomètre du liquide de refroidissement passé dans l'arc rouge;
lesymboles et s'allument; - le témoin d'anomalie du moteur s'allume.

Si le moteur atteint une température de surchauffe prédéterminée, il passée automatiquement à un mode de fonctionnement avec alternance des cylindres. Chaque cylindre inopérant agit alors comme une pompe à air et refroidit le moteur.
Dans un tel cas, le vehicule peut tout de même être conduit. Toutefois :
- la puissance du moteur est réduite;
- le climatiseur est désactivé.
La température du moteur continue à s'élever à mesure que la distance parcourue augmente :
- le moteur arrête de tourner;
- l'effort à exercer pour faire tourner le volant et freiner augmentera.
Une fois le moteur refroidi, vous pouvez redémarrer. Faites réparer votre vehicule des que possible afin de minimiser les dégats au moteur.
Lorsque le mode de protection totale est mis en fonction
En mode de protection totale, la puissance du moteur est limitee; il est donc important de conduire avec precaution. Le vehicule ne pourra pas
Entretien et caractéristiques
maintenir une vitesse elevée et le fonctionnement du moteur sera irrégulier. N'oubliez pas que le moteur peut s'arrêter complètement pour éviter les dégats. Par conséquent :
- Quittez la route des qu'il est possible et prudent de le faire et arrêtez le moteur.
- Faites remorquer votre vehicule jusqu'à l'atelier de réparation le plus proche.
- Si ce n'est pas possible, laissez le moteur refroidir.
- Vérifiez le niveau du liquide de refroidissement et ajoutez du liquide au besoin.

Ne retirez jamais le bouchon du vase d'expansion lorsque le moteur tourne ou est encore chaud.
- Redemarrez et conduisez jusqu'à l'atelier de réparation le plus après.
La conduite du vehicule sans remédier au problème du moteur augmente les risques de dommages à celui-ci. Faites vérifier votre vehicule dés que possible.
CARBURANTS POUR VEHICULES AUTOMOBILES
Consignes de sécurité importantes

Ne remplissez pas le réservoir excessivement, car la pression risquerait d'entrainer une fuite ou une giclée de carburant et des autres d'incendie.

Le circuit d'alimentation peut être sous pression. Si le bouchon du réservoir laisse échapper des vapeurs ou si vous entendez un momentpendant que vous le dévissez, laissez les vapeurs se dissiper de l'enlever complètement. Si ces directives ne sont pas suivies, burant peut giclér et causer des blessures.

L'emploi d'un bouchon de réservoir de carburant autre que celui du prévu pour votre vehicule peut provoquer, par une supression ou une dépression créée dans le réservoir, des dégats au circuit d'entantion ou la perte du bouchon en cas de collision, ce qui neait entrainer des blessures.
Entretien et caractéristiques
Les carburants destinés aux vehicules automobiles peuvent désigner des risques de blessures graves, voir mortelles, si les précautions nécessaires ne sont pas prises.
L'essence peut contenir du benzène, lequel est un produit cancérigène.
Respectez les consignes suivantes lors de la manipulation de carburant automobile :
- éteignez toute flamme ou article de fumeur allumé avant de faire le plein;
- coupez toujours le contact avant de faire le plein;
- l'ingestion de carburant automobile peut préparer des risques graves, voire mortels. Les carburants comme l'essence sont extrémement toxiques et peuvent, en cas d'ingestion, entraîner la mort ou cause des léasons permanentes. En cas d'ingestion, consultez immédiatement un médecin, même si les effets ne sont pas immédiatement apparents. Les effets toxiques du carburant peuvent prendre plusieurs heures avant de se manifester;
- evitez d'inhaler des vapeurs de carburant. Leur inhalation peut provoquer l'irritation des yeux et des voies respiratoires. L'exposition prolongée à des vapeurs de carburant peut provoquer des malaises graves et des lésions permanentes;
- faites attention à ne pas receivevoir de carburant dans les yeux. En cas d'éclaboussures dans les yeux, retirez vos verres de contact si vous en portez, rincez-vous les yeux à grande eau pendant 15 minutes et consultez un médecin. Si ces directives ne sont pas suivies, vous courez des risques de lésions permanentes;
- les carburants peuvent également être nocifs lorsquils sont absorbés par la peau. En cas d'éclaboussures sur la peau ou sur les vêtements, enlevez les vêtements souillés; lavez immédiatement à l'eau et au savon la partie du corps atteinte. Le contact repété ou prolongé du carburant ou de ses vapeurs avec la peau peut provoquer de l'irritation;
- les personnes qui sont traitées pour l'alcoolisme et qui prenvent des médicaments comme « Antabuse » ou d'autres formes de disulfiram
Entretien et caractéristiques
doivent être particulièrement prudentes. L'inhalation de vapeurs d'essence ou le contact de l'essence avec la peau peut provoquer des effets secondaires. Chez les personnes sensibles, il y a risque de liésions ou malaises graves. En cas d'éclaboussures sur la peau, lavez immédiatement à l'eau et au savon la partie du corps atteinte. En cas d'effets indésirables, consultez immédiatement un medecin.
Lorsque vous faites le plein, arrêtez toujours le moteur et tenez éloignée du goulot de replissage toute source possible d'étinçelles ou de flammes. Ne fumez jamais pendant que vous faites le plein. Dans certaines conditions, les vapeurs de carburant peuvent être extrémement dangereuses. Évitez le plus possible d'inhaler des vapeurs de carburant.
L'écoulement de carburant dans un piston et distribution d'essence peut creer de l'électricité statique. Cette électricité statique peut provoquer un incendie lors du remplissage d'un contenant qui n'est pas à la masse.
Pour éviter la présence d'électricité statique lors du remplissage d'un contenant qui n'est pas à la masse, procédez comme suit :
- placez le contenant à carburant (un contenantapprovéd) sur le sol;
- NE REMPLISSEZ JAMAIS le contenant lorsqu'il se trouve dans le vehicule (y compris dans l'aire de chargement);
- lors du remplissage, gardez le pistolet de distribution d'essence en contact avec le contenant;
N'UTILISEZ PAS d'objet pour bloquer la gachette du pistolet du distributeur d'essence en position de remplissage.
Bouchon de réservoir de carburant
Le bouchon du réservoir de carburant est concu pour s'ouvrir et se fermer en un huitieme de tour.
Pour replir le réservoir de votre vehicule :
- Coupe le contact.
- Tournez avec précaution le bouchon du réservoir d'un huitiemde tour dans le sens inverse des aiguilles d'une montre, jusqu'à la butée.
- Tirez pour-retirer le bouchon du tuyau de remplissage.
- Pour remettre en place le bouchon du réservoir, alignez les onglets du bouchon avec les encoches du tuyau de remplissage.
Entretien et caractéristiques
- Tournez le bouchon d'un huitieme de tour dans le sens des aiguilles d'une montre, jusqu'à la butée.
Le message « CHECK/TIGHTEN FUEL CAP » apparait à l'afficheur multimessage lorsque le bouchon du réservoir de carburant n'est pas installé ajustement. Le bouchon du réservoir de carburant est vérifié automatiquement lorsque le vehicule roule, mais pas avant qu'une certaine quantité de carburant n'ait été utilisé (l'indicateur de carburant descend sous le repère de plein niveau). Àpres avoir bien visse le bouchon du réservoir de carburant, le message « CHECK/TIGHTEN FUEL CAP » s'éteint lorsque le vehicule a parcouru une courte distance.
Si vous devez remplaner le bouchon de réserveir de carburant, remplaceze-le par un bouchon concu pour votre vehicule. L'emploi d'un bouchon autre qu'un bouchon d'origine Ford ou Motorcraft peut entrainer I'annulation de la garantie en cas de dommages causés au réserveir ou au circuit d'alimentation.
Le circuit d'alimentation peut etre sous pression. Si le bouchon du réservoir laisse echapper des vapeurs ou si vous entendez un sifflement pendant que youe le devissez, laissez les vapeurs se dissiper avant de I'enlever complètement. Si ces directives ne sont pas suivies, le carburant peut giclcer et causer des blessures.
L'emploi d'un bouchon de réservoir de carburant autre que celui prévu pour votre vehicule peut provoquer, par une surpression ou par une dépression créée dans le réservoir, des dégats au circuit d'alimentation ou la perte du bouchon en cas de collision, ce qui pourrait entrainer des blessures.
Choix du carburant approprié
N'utilisez que du carburant SANS PLOMB. L'utilisation de carburants au plomb est interdite par la loi et pourrait endommager votre vehicule. N'utilisez pas de carburant contenant du methanol. Son usage peut endommager des éléments essentiels du circuit d'alimentation. Notre vehicule n'est pas conçu pour consommer du carburant ou des additifs contenant des éléments métalliques, y compris les additifs à base de manganése.
Les réparations occasionnées par l'emploi d'un carburant non approprié peuvent ne pas être couvertes par la garantie.
Entretien et caractéristiques
Indice d'octane recommandé
Votre vehicule est concu pour fournir un rendement optimal avec de l'essence « super » sans plomb a indice d'octane (R + M) / 2 de 91 ou plus. L'emploi d'essence a indice

d'octane inférieur peut en diminuer le rendement. L'utilisation de « supercarburant » vendu dans certaines régions à haute altitude et dont l'indice d'octane est inférieur à 91 n'est pas recommandée.
Vous n'avez aucune raison de vous inquieter d'un léger cliquetis occasionnel du moteur. Toutefois, si le moteur cogne sans cette alors que vous employez un carburant à l'indice d'octane recommendé, et ce, quelles que soient les conditions de conduite, consultez votre concessionnaire ou un technicien qualifié afin de prévenir des dommages au moteur.
Qualité du carburant
Si vous avez des difficultés au démarriage, si le régime de ralenti du moteur est irrégulier ou si le moteur désit à l'accelération, essayez une autre marque de carburant. Si les problèmes persistent, consultez votre concessionnaire ou un technicien qualifié.
Si vous utilisez un carburant de bonne qualite, a l'indice d'octane recommande, vous n'veaz pas a ajouter d'additifs vendus sur le marché. Ces produits risquent d'endommager le circuit d'alimentation de votre vehicule. Les reparations destinées a remedier aux problemes causés par l'utilisation de ces produits risquent de ne pas etre couvertes par toute garantie.
La plupart des constructeurs mondiaux de vehicules approuvant la Charte mondiale des carburants, qui détermine les normes de l'essence pour assurer un meilleur rendement de votre vehicule et la(Meilleure protection contre la pollution atmosphérique. Il est recommendé d'employer une essence conforme aux normes de la Charte mondiale des carburants si cette essence est disponible dans toute région. Renseignez-vous auprès de votre station-service pour obtenir plus de détails sur l'essence conforme aux normes de la Charte mondiale des carburants.
Amélioration de la qualité de l'air
Ford appuie l'utilisation d'essence à combustion propre reformulée pour améliorer la qualité de l'air.
Entretien et caractéristiques
Panse sèche
Évitez de tomber en panne sèche car cela risque de nuire aux éléments du groupe motopropulseur.
En cas de panne sèche :
- une fois que vous aurez effectué le plein, il est possible que vous ayez besoin de lancer le moteur à plusieurs reprises avant que le circuit d'alimentation ne commence à Pomper le carburant du réservoir vers le moteur;
- le témoin d'anomalie du moteur peut s'allumer. Pour obtenir de plus amples renseignements à propos du témoin d'anomalie du moteur, consultez le chapitre Instruments.
Filtre à carburant
Consultez votre concessionnaire ou un technicien qualifié pour le remplacement de ce filtre. Consultez le Calendrier d'entretien périodique pour connaître les intervalles requis.
Remplacez ce filtré uniquement par un filtré Motorcraft d'origine, sinon la garantie risque d'être annulée en cas de dégats au circuit d'alimentation de votre vehicule.
RéDUCTION DE LA CONSOMMATION DE CARBURANT
Méthodes de calcul
C'est vous, le conducteur, qui est les比较好 pour estimer la consommation de carburant de votre vehicule. La tenue reguliere d'un registre le plus juste possible est le meilleur moyen d'obtenir de bons résultats. Le prix du carburant, les intervalles de replissage du réservoir ou les lectures de la jauge NE représentent PAS des moyens efficaces de mesure de la consommation. Durant la période de rodage, c'est-à-dire durant les premiers 1600 km (1000 mi), le calcul de la consommation de carburant n'est pas recommandé. Vous obtiendrez des résultats plus précis après avoir parcoursu entre 3000 et 5000 km (2000 à 3000 mi).
Plein de carburant
La contenance publiée du réservoir de carburant de votre vehicule est égale à la contenance nominale indiquée à la rubrique Contenances de ce chapitre.
Cette contenance publiée représenté la contenance utile du réservoir telle que la jauge l'indique, plus la réserve de carburant qui subsiste
Entretien et caractéristiques
lorsque laJAuge indique que le réservoir est vide. La contenance utilerepresented la diffrencie entre la contenance d'un réservoir plein et sacontenance lorsque laJAuge indique que le réservoir est vide. La reservea vide est le faible volume de carburant restant lorsque laJAuge indiqueque le réservoir est vide.
Le volume de carburant utilisé de la réserve à vide varie et celui-ci ne doit pas être considéré suffisant pour augmenter l'autonomie. Lorsque la jauge indique vide, il peut qu'il soit impossible de replir le réservoir avec un volume de carburant égal à sa contenance publiée, en raison de cette réserve qui reste dans le réservoir.
Pour obtenir des résultats constants lorsque vous faites le plein de carburant :
- placez le commutateur d'allumage à la position d'arrêt avant de faire le plein. Si le moteur reste en marche, la lecture sera erronée;
- remplissez le réservoir au même débit de replissage (lent - moyen - rapide) chaque fois que vous faites le plein;
- lors du remplissage, limitez à deux le nombre de déclenchements du pistonlet;
- utilisez toujours une essence ayant l'indice d'octane préconse;
- utilisez une essence de bonne qualite, de préference une marquee nationale réputée;
- faites toujours le plein de carburant du même côté de la pompe, avec le vehicule orienté dans la même direction;
- le vehicule doit également être dans les mêmes conditions de poids, avec la charge répartie de la même manière.
C'est la régularité dans la manière de faire le plein qui donne les autres résultats résultats.
Calcul de la consommation de carburant
- Remplissez complètement le réservoir de carburant et notez le kilométrage (ou le millage) au compteur.
- Chaque fois que vous faites le plein, notez la quantité de carburant ajustée au réservoir (en litres ou en gallons US).
- ÀpRES avoir fait le plein au moins trois à cinq fois, refaites le plein et notez le kilométrage.
- Soustrayez le kilométrage initial au compteur du kilométrage courant.
Entretien et caractéristiques
- Calculez votre consommation à l'aide de l'une des formules suivantes :
Calcul 1: litres consommés x 100 ÷ total des kilométres parcours.
Calcul 2: total des milles parcours ÷ total des gallons US consommés.
Tenez un registre de votre kilométrage et de vos achats de carburant pendant au moins un mois en.notant le type de conduite (en ville ou sur autoroute). Ceci vous fournira une estimation plus précise de la consommation dans les conditions de conduite courantes. De plus, la tenue d'un registre durant I'été et durant l'hiver vous donna sera une idée de I'effet de la température sur la consommation. En général, la consommation augmente lorsque la température est BASSE.
Conduite - bonnes habitudes de conduite et réduction de la consommation
Lisez attentivement les conseils qui suivent pour accuperir de bonnes habituées de conduite et réduire votre consommation de carburant.
Habitudes de conduite
- Une conduite sans heures et régulière peut améliorer la consommation de carburant jusqu'à 10% .
- Une vitesse régulière et soutenue, sans arrêts, donne toujours une miseilleure consommation.
- Le fonctionnement du moteur au ralenti durant de longues périodes (plus d'une minute) a pour effet de gaspiller le carburant.
- Essayez de prévoir à temps vos arrêts. Le fait de ralentir peut, dans certains cas, éliminer le besoin de vous arrêté.
- Les accelerations soudaines ou brutes peuvent gaspiller le carburant.
- Ralentissez graduation.
- Ne faites pas d'excess de vitesse (la conduite à 105 km/h [65 mi/h] augmente la consommation de 15% par rapport à la conduite à 88 km/h [55 mi/h]).
- L'emballement du moteur avant son arrêt peut gaspiller du carburant.
- L'utilisation du climatiseur et du dégivreur peut augmenter la consommation.
- Il est recommandé de désactiver le programmeur de vitesse lors de la conduite sur route valonnée, car le passage entre la troisième (3) et la quatrième (4) vitesse peut augmenter la consommation.
Entretien et caractéristiques
- Le rechauffement du moteur par temps froid avant le départ n'est pas nécessaire et peut augmenter la consommation.
- Laisser le pied sur la pédale de frein pendant la conduite peut augmenter la consommation de carburant.
- Groupeiez vos sorties pour faire vos courses et, dans la mesure du possible, évitez la conduite exigeant des arrêts fréquents.
Entretien
- Maintenez les pneus gonflés à la pression préconisée et n'utilise que des pneus de dimensions appropriées.
- La conduite d'un vehicule qui presente un alignment déréglée augmente la consommation.
- Utilisez l'huile moteur préconisée. Consultez la rubrique Lubrifiants prescrits de ce chapitre.
- Faites effectuer les interventions d'entretien conformément aux intervalles prescrits. Effectuez toutes les opérations d'entretien périodique telles que prescrites par le Calendrier d'entretien périodique fourni avec votre vehicule.
Conditions de conduite
- Transporter une lourde charge ou tirer une remorque a pour effet d'augmenter la consommation de carburant, qu'elle que soit la vitesse à laquelle vous roulez.
- Le transport d'une charge non nécessaire augmente la consommation (la consommation peut augmenter de 0,4km / L [1 mi/g US] pour chaque 180kg [400 lb] de charge transporte).
- La pose d'accessoires sur le vehicule (pare-insectes, arceaux de sécurité ou bandeaux lumineux, marchepieds, portes-skis ou porte-bagages) augmente la consommation.
L'utilisation d'un carburant mélange à de l'alcool augmente la consommation. - La consommation peut être plus élevé durant les 12 à 16 premiers kilométres (8 à 10 milles) de conduite parasse température.
- Il est plus économique de conduire sur route plate que sur route valonnée.
- Les boîtes de vitesses contribuient à diminuer la consommation lorsqu'elles sont dans le rapport le plus élevé et qu'une pression constante est maintainue sur la pédale d'accéléateur.
- La conduite en mode 4 roues motrices (selon l'équipment) est moins économique que la conduite en mode 2 roues motrices.
Entretien et caractéristiques
- Relevez les glaces lors de la conduite à grande vitesse.
Autocollant de I'EPA du pare-brise
Les caractéristiques propres aux vehicules à 4 roues motrices, tout comme celles des vehiculessemblables offerts sur le marché, appartiennent à des catégories pour lesquelles la reglementation sur l'étiquetage de la consommation de carburant ne s'applique pas. Par conséquent, les renseignements suivants ne s'appliquent qu'aux vehicules à 2 roues motrices.
Un autocollant de l'EPA (Agence americaine de protection de l'environnement) doit être apposé sur le pare-brise de chaque nouveau vehicule. Contactez votre concessionnaire si cet autocollant n'a pas été apposé sur votre vehicule. Cet autocollant a pour but de vous permettre de comparer votre consommation de carburant avec celle d'autres vehicules.
Il est important de prendre note des chiffres qui apparaissent dans la case inférieure gauche de l'autocollant apposse sur le pare-brise. Ces chiffres indiquent la consommation de carburant à laquelle vous pouvez vous attendre dans des conditions de conduite optimes. La consommation de votre vehicule peut varier selon vos habitudes de conduite.
DISPOSITIFS ANTIPOLLUTION
Votre vehicule est equipé de divers dispositifs antipollution et d'un reacteur catalytique qui permettent d'assurer la conformité de votre vehicule aux normes antipollution en vigueur. Pour assurer le bon fonctionnement du reacteur catalytique et des dispositifs antipollution, respectez les conseils suivants:
- n'utilise que le type de carburant préconse;
- évitez de TOMBER en panne sèche;
- ne coupez pas le contact pendant que le vehicule roule, surtout si vous roulez à haute vitesse;
- faites effectuer les interventions d'entretien aux intervalles prescrits dans le Calendrier d'entretien périodique.
Les interventions prescrites par le Calendrier d'entretien périodique sont essentielles pour assurer la longévite et le bon rendement de votre vehicule et de ses dispositifs antipollution.
Si des pièces autres que des pièces Ford, Motorcraft ou des pièces homologuees par Ford sont utilisées pour le remplacement ou la
Entretien et caractéristiques
réparation d' éléments impliquant les dispositifs antipollution, ces pieces doivent être équivalentes aux pieces d'origine Ford en ce qui a trait au rendement et à la durabilité.
Ne stationnez pas, ne faites pas tourner le moteur au ralenti et ne conduisez pas votre vehicule sur du gazon sec ou tout autre revêtement de sol sec. Les dispositifs antipollution ont pour effet d'élever la température du compartmente moteur et de la tuyauterie d'échévement au point de pouvoir provoquer un incendie sur de tels sols.
Soyez à l'affut des fuites, des odeurs insolites, de la fumée, d'une perte de puissance du moteur; si les témoins du circuit de charge, d'anomalie du moteur et de température du moteur s'allument, tenez-en compte. Toutes ces manifestations peuvent indiquer une anomalie des dispositifs antipollution.
Des fuites d'échévement peuvent entrainer la déténration de gaz nocifs, voire mortels, dans l'habitacle.
N'apportez pas de modifications non autorisées au vehicule ou au moteur. La loi interdit à quiconque possède, construit, répare, entretient, vend, loue, échange des vehicules ou exploite un parc automobile d'enlever sciemment un dispositif antipollution ou de l'empêcher de fonctionner. Les renseignements sur les dispositifs antipollution de votre vehicule figurent sur l'étiquette de contrôle des émissions du vehicule, apposée sur le moteur ou à proximité. Cette étiquette indique la cylindree et fournit certaines caractéristiques nécessaires à la mise au point du moteur.
Pour obtenir de plus amples renseignements sur la garantie des dispositifs antipollution, veuillez consulter toute Guide de garantie.
Autodiagnostics embarqués (OBD-II)
Un ordinateur de bord surveille les dispositifs antipollution de votre vehicule. Ce circuit est communément appelé circuit d'autodiagnostic embarqué (OBD-II). Il assure la protection de l'environnement en veillant à ce que les dispositifs antipollution du vehicule fonctionnent selon les normes gouvernomentales. Le circuit d'autodiagnostic embarqué aide également le technicien à réparer votre vehicule correctement. Lorsque le témoin d'anomalie du moteur s'allume (Check Engine/Service Engine Soon), c'est que le circuit d'autodiagnostic OBD-II a déetecté une défaillance. Des anomalies temporaires peuvent également cause l'allumage du témoin. Par exemple :
Entretien et caractéristiques
- Le vehicule est tombé en panne sèche. (Le moteur peut avoir des ratios ou fonctionner de façon irrégulière.)
- Le carburant est de mauvaise qualité ou contient de l'eau.
- Le bouchon du réservoir de carburant est peut-être mal visse.
Voussouvez corriger ces anomalies temporaires en faisant le plein avec du carburant de qualite ou en vous assurant que le bouchon du réservoir est bien fermé. Si vous avez remedie a ces conditions et qu'aucune autre anomalie intermittente n'est presente, le temoin d'anomalie du moteur devrait s'eteindre après trois cycles de conduite. (Un cycle de conduite consiste en un demarrage a froid, suivi d'un parcours en milieu urbain et sur autoroute.) Aucune réparation supplémentaire n'est requise.
Si le témoin d'anomalie du moteur reste allumé, faites réparer votre vehicule dés que possible.
Préparation pour les contrôle d'inspection et d'entretien
Dans certaines régions, la loi peut exiger un contrôle d'inspection et d'entretien du circuit de diagnostic embarqué. Si le témoin d'anomalie du moteur s'allume, consultez la description de ce témoin dans la rubrique Témoins et carillons du chapitre Instruments. Notre vehicule risque d'échouer aux contrôles de vérification et d'entretien si le témoin d'anomalie du moteur est allumé.
Après une intervention sur le groupe motopropulseur ou sur la batterie, le circuit de diagnostic embarqué n'est pas immédiatement en état de subir un contrôle d'inspection et d'entretien. La durée de conduite minimale pour rétablier les fonctions du circuit de diagnostic embarqué en vue d'un tel contrôle est d'environ trente minutes en cycle urbain et sur autoroute, comme indiqué ci-dessous :
- tout d'abord, au moins dix minutes de conduite sur autoroute;
- ensuite, au moins vingt minutes de conduite avec arrêts féquents en cycle urbain au cours desquels vous laisserez le moteur tourner au ralenti à au moins quatre reprises.
Laissez reposer le vehicule au moins huit heures avec le moteur arrêté. Mettez ensuite le moteur en marche et effectuez le cycle de conduite décrit ci-dessus. Le moteur doit se rechauffer jusqu'à sa température de fonctionnement normale. N'arrêtez pas le moteur avant d'avoir terminé le cycle de conduite décrit ci-dessus.
Entretien et caractéristiques
VERIFICATION ET AJOUT DE LIQUIDE DE DIRECTION ASSISTEE
Vérifiez le niveau du liquide de direction assistée. Consultez le Calendrier d'entretien périodique pour connaître les intervalles d'entretien requis. Si l'ajout de liquide s'avere nécessaire, ajoutez uniquement du liquide pour direction assistée de qualité supérieure Ford ou de l'huile pour boite de vitesses automatique MERCON®.
- Mettez le moteur en marche et laissez-le tourner jusqu'à ce qu'ilatteigne sa température normale defonctionnement (laiguille du thermomètre du liquide defroidissement approchera le centrede la plage normale entre « H » et « C »).
- Pendant que le moteur tourne au ralenti, tournez le volant plusieurs fois à gauche et à droite.
- Coupe le contact.
- Vérifiez le niveau du liquide dans le réservoir. Il devrait se situer entre les repères MIN et MAX. N'ajoutez pas de liquide si le niveau se situe dans cette plage.
- Si le niveau du liquide est insuffisant, ajoutez du liquide par petites quantités, en vérifiant le niveau à chaque fois, jusqu'à ce qu'il se trouve entre les repères MIN et MAX. N'oubliez pas de remettre le bouchon sur le réservoir.


RESERVOIR DE LIQUIDE DE FREIN
Le niveau du liquide diminue au fur et à mesure que les freins s'usent, et remonte lorsque les éléments du circuit de freinage sont replacés. Si le niveau de liquide se situe entre les repères « MIN » et « MAX», il n'est pas nécessaire d'ajouter du

liquide. Si le niveau du liquide est hors de la plage normale, les performances de freinage peuvent etre compromises; faites vérifier le vehicule immidiatement par voitrice concessionnaire.
HUILE POUR BOITE DE VITESSES
Vérification de l'huile pour boîte de vitesses automatique
Consultez le Calendrier d'entretien périodique pour connaître les intervalles de vérification du niveau d'huile et de vidange requis. Le fonctionnement de la boîte de vitesses n'entraine pas de consommation d'huile. Le niveau d'huile doit toute fois être vérifié si la boîte de vitesses ne fonctionne pas correctement, c'est-à-dire si elle patine, si le passage des vitesses est lent ou si vous remarquez des traces de fuite.
L'huile de la boite de vitesses se dilate à la chaleur. Pour obtenir une lecture précise, il est préférible de vérifier le niveau d'huile de la boite de vitesses à sa température normale de fonctionnement, soit après environ 30 km (20 mi) de conduite. Si votre vehicule vient d'être conduit à haute vitessependant un certain temps ou dans la circulation urbaine par temps chaud, ou encore, s'il a été utilisé pour la traction d'une remorque, attendez environ trente minutes pour permettre à l'huile de refroidir avant d'en vérifier le niveau.
- Conduisez sur environ 30km (20 mi) ou jusqu'à ce que l'huileatteigne sa températurenormale defonctionnement.
- Arretez le vehicule sur une surface plane et serrez le frein de stationnement.
- Avec le frein de stationnement serré et votre pied sur la pédale de frein, faites démarrer le moteur et déplacez le levier de vitesse dans tous les rapports. Laissez le temps à la boîte de vittesses de s'engager dans chacun d'eux.
- Placez ensuite le levier de vitesse en position de stationnement (P) et laissez le moteur en marche.
Entretien et caractéristiques
- Retirez laJAuge et essuyez-la avec un linge propre, sec et non pelucheux. Au besoin, pour situer I'emplacement de la jauge, consultez la rubrique Identificaton des elements du compartiment moteur du present chapitre.
- Remettez la jauge à fond dans son tube.
- Retirez-la de nouveau pour examiner le niveau du liquide. Le liquide ne doit pas dépasser le repère indiqué pour la température normale de fonctionnement ou pour la température ambiente, selon le cas.
Niveau d'huile trop bas
Ne conduisiez pas votre voiture si le niveau d'huile n'atteint pas le repere inférieur de la jauge alors que la température ambiente dépasse 10^ (50^)

Niveau approprié
Il est préféable de vérifier le niveau d'huile de la boîte de vitesses à sa température normale de fonctionnement, entre 66^ et 77^ , (150 °F et 170^ ), sur une surface plane. La température normale de fonctionnement peut être atteinte après un trajet d'environ 30 km (20 mi).
Voupez vérifier le niveau d'huile sans faire fonctionner le vehicule si la température ambiente dépasse 10^ (50^) . Cependant, si vous ajoutez de l'huile dans de telles conditions, il est possible que le niveau soit excessif lorsque la température normale de fonctionnement est atteinte.
A la température normale de fonctionnement (de 66^ à 77^ [de 150^ à 170^] ), le niveau d'huile de la boite de vitesses doit se couver dans cette plage.

Aune temperature ambiente (de 10^ a 35^ [de 50^ a 95^] ),le nivea d'huile de la boite de vitesses doit se trouver dans cette plage.

Entretien et caractéristiques
Niveau d'huile trop elevé
Un niveau d'huile supérieur à la plage normale peut provoquer une défaillance de la boîte de vitesses.

Un excès d'huile peut cause des problèmes de passage ou d'engagement des vitesses ainsi que des dégats.
Un niveau excessif d'huile peut etre cause par une surchauffe du moteur.
Ajout d'huile pour boite de vitesses automatique
Avant d'ajouter de l'huile, assurez-vous d'employer une huile appropriée. Le type de liquide utilisé figure généralement sur la jauge et dans la rubrique Lubrifiants prescrits de ce chapitre.
L'utilisation d'une huile non homologue pour boîte de vitesses automatique pourrait cause des dégât aux composants internes de la boîte de vitesses.
Au besoin, versez 250 ml (1/2 chopine US) d'huile à la fois, par le tube de replissage, jusqu'àu niveau approprié.
Si le niveau d'huile dépasse le repère supérieur de la jauge, faites vidanger l'excess d'huile par un technicien qualifié.

Un excès d'huile peut cause des problèmes de passage ou d'engagement des vitesses ainsi que des dégats.
N'utilissez pas d'additifs supplémentaires d'huile pour boîte de vitesses, ni de produits de traitement de l'huile ou de nettoyage du moteur. L'utilisation de ces produits peut affecter le fonctionnement de la boîte de vitesses et cause des dommages aux composantes internes de la boîte de vitesses.
JOINT DE CARDAN ET FOURCHE COULISSANTE DE TRANSMISSION
Il est possible que votre vehicule soit doté de joints de cardan dont le graissage est nécessaire. Consultez le Calendrier d'entretien périodique pour connaître les intervalles prescrits. Si les joints de cardan d'origine sont replacés par des joints dotés de graisseurs, leur graissage doit également être effectué.
Entretien et caractéristiques
ENTRETIEN DU FILTRÉ A AIR
Pour les intervalles de changement de l'élément filtrant, consultez le Calendrier d'entretien périodique.
Remplacez l'objet filtrant du filtré à air uniquement par un élément.
Motorcraft préconisé. Consultez la section Pièces de rechange Motorcraft.
Remarque: Ne mettez jamais le moteur en marche lorsque le filtre à air est retire et ne retirez jamais ce dernierpendant que le moteur tourne.
Remplacement de I'element filtrant du filtré à air
- Desserrez le collier de serrage qui fixe le conduit d'admission d'air au couvercle du filtré à air et débranchez le conduit du couvercle.

- Desserrez le collier qui fixe le couvercle du filtrre à air au boitier du filtrre à air et retirez soigneusement le couvercle du boitier.

Entretien et caractéristiques
- Retirez l'objet filtrant du boîtier du filtré à air.

- Posez un élément filtrant neuf. Prenez garde de ne pas coincer les bords de l'élement filtrant entre le boitier du filtre à air et le couvercle sinon l'élement filtrant ne serait pas convenablement assis dans le boitier et de l'air non filtré pénétrait dans le moteur.
- Replacez le couvercle du filtré à air sur le boitier et fixez-le à l'aide du collier.
- Reposez le conduit d'admission d'air et fixez-le à l'aide du collier de serrage.
INFORMATION SUR L'INDICE DE QUALITE UNIFORME DES PNEUS
Les vehicules neufs sont Equipes de pneus sur lesquels est inscrit un indice de qualite. L'indice de qualite se trouve, le cas echeant, sur le flanc du pneu, entre l'epaulement et la largeur de section maximale. Par exemple :

indicateur d'usure 200 Adherence AA Temperture A.
Ces indices de qualité sont conformes à des normes établies par le United States Department of Transportation.
Les indices de qualité des pneus ne concernnent que les pneus neufs montés sur les voitures de tourisme. Ces indices ne concernnent pas les pneus à sculptures profondes, les pneus d'hiver, les pneus de secours gagne-place ou temporaires, les pneus avec un diamètre nominal de jante de 25 à 30 centimétres (10 à 12 pouces) ou les pneus de production limitee, definis selon la reglementation americaine pertinente.
Indices de qualité établis par le U.S. Department of
Transportation : le U.S. Département of Transportation exige de Ford qu'il fournisse aux acheteurs les données suivantes que nous reproduisons ici.
Entretien et caractéristiques
Usure de la bande de roulement
L'indice d'usure de la bande de roulement est une cote comparative qui indique le taux d'usure d'un pau obtenu lors d'essais sur piste, sous contrôle gouvernemental. Par exemple, un pau dont l'indice d'usure est de 150 durée une fois et demie (1,5) plus longtemps qu'un pau d'index 100 lors d'essais sur piste gouvernementale. Le rendement relatif d'un pau dépend des conditions réelles d'utilisation, qui peuvent différer des conditions fixées par la norme en raison des habitués de conduite, de l'entretien, de l'état des routes et du climat.
Adhérence AA A B C
Les indices d'adherence, du plus élevé au plus bas, sont AA, A, B et C. Ils représentent l'aptitude d'un pneau à s'arrêté sur une chaussée mouillée. Cette aptitude a été évaluée lors d'essais en conditions contrôlées par le gouvernement sur des surfaces d'essai spécifique d'asphalte ou de béton. Un pneau avec un indice C peut avoir une faible adherence.

L'indice d'adherence d'un pneu est basé sur des essais de freinage effectuels en ligne droite et ne se rapporte aucunement. Adherence en accelération, en virage, en cas d'aquplanage ou lors de conditions d'adherence exceptionnelles.
Température A B C
Les indices de température sont A (le meilleur), B et C, et représentent l'aptitude d'un pneu à résister à l'échauffement et à dissiper la chaleur lors d'essais effectuels sous diverses conditions en laboratoire. Une utilisation continue à haute température peut entrainer la détiérioration du pneu et en réduire la durée, tandis qu'une température excessive peut entrainer une défaillance soudaine du pneu. L'indice C correspond à un niveau de rendement auquel tous les pneus de voitures de tourisme doivent se conformer en vertu de la norme fédérale americaine n°109 sur la sécurité des vehicules automobiles. Les indices B et A indiquent qu'un pneu a fourni un meilleur rendement lors d'essais en laboratoire que le minimum exigé par la loi.

La plage de température de ce pneu est établie en fonction d'un pneu suffisamment gonflé et dont la charge n'est pas excessive.
La conduite à haute vitesse, le gonflage insuffisant des pneus ou une charge excessive (tous ces facteurs pris ensemble ou individuellement), peuvent entrainer un échauffement excessif et l'éclatement du pneu.
Entretien et caractéristiques
PNEUS
Les pneus de votre vehicule sont conçus pour vous offrir plusieurs années de services pourvu qu'ils reçoivent l'attention nécessaire.
Terminologie du pneu
- Étiquette des pneus : étiquette qui renseigne sur la taille des pneus de première monte, la pression de gonflage préconisée et la charge maximale que le vehicule peut transporter.
- Numéro d'identification du pau: numéro moulé sur le flanc du pau qui fournit les renseignements concernant la marque du pau, sa provenance, sa taille et sa date de fabrication.
- Pression de gonflage du pneu : mesure de la pression d'air du pneu.
- Standard load (capacité de charge normale): pneu de classe P-metric ou pneu métrique conçu pour transporter une charge maximale lorsque gonfle à 35 lb/ po^2 [37 lb/ po^2 (2,5 bars) pour les pneus métriques]. Une augmentation de la pression de gonflage n'augmentera pas la capacité de charge du pneu.
- Extra load (capacité de charge supérieure): pneu de classe P-metric ou pneu métrique concu pour transporter une charge maximale lorsque gonfle à 41 lb/po² [43 lb/po² (2,9 bars) pour les pneus métriques]. Une augmentation de la pression de gonflage n'augmentera pas la capacité de charge du pneu.
- kPa: kilopascal, unité de mesure de pression d'air métrique.
- PSI (lb/ p0^2 ): livre par pouce carré, unité de mesure de pression d'air anglo-saxonne.
- Pied milieu : élément structurel létral du vehicule, situé derrière la porte avant.
- Talon du pneu : partie du pneu en contact avec la jante.
- Flanc du pneu : partie du pneu entre le talon et la semelle.
- Sculptures du pneu : zone du pneu au contact de la route lorsque monté sur le vehicule.
- Jante: support métallique (roue) du pneu ou du pneu/chambre à air sur lequel prend place le talon.
Entretien et caractéristiques
RENSEIGNEMENTS MOULES SUR LE FLANC DU PNEU
La réglementation fédérale exige que le fabricant de pneus inscrite des renseignements normalisés sur le flanc du pau. Ces renseignements identifient et décrivent les caractéristiques du pau en plus de fournir un numéro d'identification relatifs aux normes de sécurité, lequel peut être utilisé en cas de rappel du pau.
Rensignements sur les pneus de type « P »
Prenons par exemple un pneu de taille, de capacité de charge et de code de vitesse P215/65R15 95H. La signification de ces caractères est donnée ci-après. (La taille, la capacité de charge et le code de vitesse des pneus de votre vehicule peuvent différer de cet exemple.)
- P: indique, selon la Tire and Rim Association (TRA), que ce pneu peut etre utilise sur une voiture de tourisme, un VUS, une fourgonnette ou une camionnette.

Remarque: Si le marquage de vos
pneus ne débute pas par une dette,
sa désignation pourrait être celle de la European Tire and Rim Technical Organization (ETRTO) ou de la Japan Tire Manufacturing Association (JATMA).
- 215: indique la largeur nominale du pau en millimétres, d'un rebord de flanc à l'autre. En général, plus le nombre est important, plus la section du pau est large.
3.65: indique le rapport de section entre la hauteur et la largeur. - R: indique un pneu de type radial.
5.15: indique le diamètre de la jante en pouces. Si vous remplacez vos jantes par un modele d'un autre diamètre, vous devrez vous procurer de nouveaux pneus qui correspondent à ce diamètre.
6.95 : indique la capacité de charge du pneu. Cet indice renseigne sur la charge qu'un pneu peut transporter. Vous trouverez ces renseignements dans votre Guide du propriétaire. Sinon, vous pouvez consulter toute détaillant de pneus.
Remarque: Ces renseignements, n'étant pas régis par la loi federale, peuvent ne pas figurer sur tous les pneus.
Entretien et caractéristiques
- H : indique le code de vitesse du pneu. Le code de vitesse donne la vitesse à laquelle le pneu peut rouler sur une période prolongée, sous des conditions de charge et pressions de gonflage normales. Les pneus de votre vehicule peuvent rencontres des conditions de charge et pressions de gonflage différentes. Ces valeurs peuvent être ajustées en fonction des différentes conditions d'utilisation. Les vitesse varient entre 159 km/h (99 mi/h) et 299 km/h (186 mi/h). Les différents codes de vitesse figurent dans le tableau qui suit.
Remarque: Ces renseignements, n'étant pas régis par la loi fédérale, peuvent ne pas figurer sur tous les pneus.
| Code de vitesse Vitesse maximale - km/h (mi/h) |
| Q 159 km/h (99 mi/h) |
| R 171 km/h (106 mi/h) |
| S 180 km/h (112 mi/h) |
| T 190 km/h (118 mi/h) |
| U 200 km/h (124 mi/h) |
| H 210 km/h (130 mi/h) |
| V 240 km/h (149 mi/h) |
| W 270 km/h (168 mi/h) |
| Y 299 km/h (186 mi/h) |
| Remarque : Les pneus dotés d'un code de vitesse de plus de 240 km/h (149 mi/h) peuvent aussi porter la mention ZR. Les pneus dotés d'un code de vitesse de plus de 299 km/h (186 mi/h) portent toujours la mention ZR. |
- M+S ou M/S: Boue et neige ou
AT:Tout terrain ou
AS : Toutes saisons
- Inscription DOT (U.S. DOT Tire Identification Number): cette inscription débute par les lettres « DOT » et indique que le pneu est conforme aux normes fédérales. Les deux caractères suivants représentent le code de l'usine de fabrication, les deux autres donnant la taille du pneu, et les quatre derniers chiffres représentent la semaine et l'année de fabrication. Par exemple, le nombre 317 représentée la 31e semaine de l'année 1997. À partir de l'an 2000, le code utilise quatre chiffres. Par exemple, le nombre 2501 représentée la 25e semaine de l'année 2001. Les nombres intermédiaires sont des codes de ventes et peuvent varier en fonction du fabricant. Ces données sont utilisées pour contacter un client en cas de rappel du pneu.
Entretien et caractéristiques
-
Type de construction et matériaux de fabrication: indique le nombre de pris ou le nombre de couches de tissus impregnés de caoutchouc de la bande de roulement et des flancs. Le fabricant doit également préciser le type de matériel应用é pour fabriquer les pris de la carasse et des flancs, par exemple l'acier, le nylon, le polyester, etc.
-
Charge maximale : indique la charge maximale en kilogrammes ou en livres que le pneu peut supporter. Pour connaître la pression de gonflage de vos pneus, consultez l'étiquette des pneus ou l'étiquette d'homologation située sur le pied milieu ou sur la porte du conducteur.
-
Indices d'usage, d'adherence et de température
-
Indice d'usure: l'indice d'usure de la bande de roulement est une cote comparative qui indique le taux d'usure d'un pau obtenu lors d'essais sur piste, sous contrôle gouvernemental. Par exemple, un pau d'indice 150 doit s'user une fois et demie moins vite qu'un pau d'indice 100 sur ce circuit.
-
Indices d'adherence : les indices d'adherence, du plus élevé au plus bas, sont AA, A, B et C. Ces indices représentent la capacité du pau de s'arrêter sur une chausse mouillée dans des conditions contrôlées sur des surfaces d'essay d'asphalte et de béton. Un pau avec un indice C peut avoir une faible adhérence.
-
Indice de température : les indices de température A (le plus élevé), B et C représentent la résistance du pneu à produit de la chaleur et sa capacité à la dissiper dans le cadre de tests effectuels dans des conditions contrôlées dans un laboratoire interieur particulier à l'aide d'une roue témoin.
-
Pression maximale autorisée : pression maximale stipulée par le fabricant et pression correspondant à la charge maximale du pneu. Cette valeur est habituellément plus élevé que la pression de gonflage à froid des pneus, laquelle se trouve sur l'étiquette des pneus ou sur l'étiquette d'homologation apposée sur la porte du conducteur, ou sur la partie arrêté du pied millieu. La pression de gonflage à froid ne doit jamais être inférieure à la pression préconisée sur l'étiquette.
Remarque: Ces renseignements, n'Etant pas regis par la loi federale, peuvent ne pas figurer sur tous les pneus.
Le fabricant peut fournir d'autres marquages, remarques ou avertissements concernant la charge normale du pneu, le type de carcasse radiale sans chambre, etc.
Entretien et caractéristiques
Autres renseignements sur le flanc du pneu relatifs au type « LT »
Les pneus de type « LT »
comportend des renseignements
additionnels par rapport aux pneus
de type « P ». Ces renseignements
dontonnésci-apres:
-
LT: indique, selon la Tire and Rim Association (TRA), que ce pneu est concu pour une camionnette.
-
Limites de charge/pression de gonflage : indique les limites de charge et de pression de gonflage des pneus.
-
Charge maximael pour
utilisation sur roues jumeles, exprimee en kg (lb), pression en
kPa (psi) : indique la charge
maximale et la pression de gonflage pour des roues jumeles, ce qui signifie quatre pneus sur un meme essieu (total de six pneus ou plus sur le vehicule).
- Charge maximale pour utilisation sur un essieu simple, exprimee en kg (lb), pression en kPa (psi) : indique la char
maximale et la pression de gonflage pour des roues simples, ce qui signifie deux pneus (total) sur l'essieu arrêté.
Entretien et caractéristiques
Renseignements sur les pneus de type « T »
Prenons par exemple un pneu de taille T145/80D16.
Remarque: La taille du pneu de la roue de secours-temporaire de votre vehicule peut différer de l'exemple donné.
- T: indique, selon la Tire and Rim Association (TRA), que ce pneu peut etre utilise pour un usage-temporaire sur une voiture de tourisme, un VUS, une fourgonnette ou une camionnette.
2.145: indique la largeur nominale du pneau en millimetre, d'un rebord de flanc a I'autre.En general, plus le nombre est important, plus la section du pneau est large.

3.80 : indique le rapport de section entre la hauteur et la largeur. Les nombres 70 ou moins indiquent une hauteur de flanc plus bajo.
4. D: indique un pneu de type à carcasse « diagonale »
R: indique un pneu de type à carcasse « radiale »
5.16: indique le diamètre de la roue ou de la jante en pouces. Si vous remplacez votre jante par un modele d'un autre diamètre, vous dévre vous procurer de nouveaux pneus qui correspondent à ce diamètre.
Emplacement de I'etiquette des pneus
Voutrouverez l'étiquette des pneus sur le pied milieu ou sur la portedu conducteur; elle fournit les pressions de gonflage par taille de pneu ainsi que d'autres renseignements pertinentes.
ENTRETIEN DES PNEUS
Un entretien mal effectué ou inadéquat peut causeur l'usure inégale des pneus. Voici quelques points importants concernant l'entretien.
Pression de gonflage des pneus
Utilisez un manomètre pour pneus afin de contrôler la pression de vos pneus, sans oublier le pneu de secours, au moins une fois par mois et avant un long trajet. Il est fortement conseillé de vous procurer un
Entretien et caractéristiques
manometre pour pneus précis, car les manometres utilisés dans une station service sont souvent imprecis.
Observez la pression de gonflage à froid préconisée afin d'assurer le rendement et la longévite que vous attendez de vos pneus. Un gonflage insuffistant ou excessif peut cause une usure inégale de la bande de roulement.

Un gonflage insuffisant apparait comme la cause la plus
fréquence de défaillance d'un pneu. En effet, cet état peut quer de graves fissures, une séparation de la semelle ou
l'éclatement du pau, ce qui risque d'entrainer une perte de maîtrise du vehicule et de causeur de graves blessures. Le sous-gonflage augmente le fléchéusement des flancs et la résistance de roulement; ces facteurs élient la température du pau et provoquent des dommages internes. Le sous-gonflage fatigue inutillement le pau et engendre une usure irregulière. Il risque d'entrainer une perte de maîtrise du vehicule et de causeur un accident. La pression d'un pau peut chuter de moitié sans qu'il paraisse à plat!
La pression des pneus varie également selon la température ambiente. Un écart de température de 10 degrés peut faire chuter la pression de 7kPa (1 Ib/po²). Contrôlez fréquement la pression de vos pneus et réglez celle-ci selon la valeur stipulée sur l'étiquette des pneus ou l'étiquette d'homologation.
Si vous contrôle la pression de vos pneus lorsqu'ils sont chauds (par exemple, après avoir roulé sur plus de 1,6 km [1 mille]), ne réduisez jamais la pression d'air. Àpres avoir roulé, les pneus se sont échauffés et il est normal que la pression augmente au-delà des pressions de gonflage préconisées. Un pneu chaud qui affiche une pression de gonflage normale ou sous la normale risque d'être sous-gonflé de manière significative.
Pour contrôler la pression de vos pneus :
- Assurez-vous que les pneus ne sont pas chauds, ou qu'ils ne se sont pas échauffés après 1,6 km (1 mille) de conduite.
Remarque: Si vous devez rouler une certaine distance pour atteindre une station service, notez la pression de vos pneus avant de partir, et n'ajoutez que le volume d'air nécessaire à la pompe. Il est normal que les pneus s'échauffent et que la pression augmente lorsque vous roulez. Il ne faut jamais réduire la pression des pneus lorsqu'ils sont chauds.
- Retirez le bouchon de valve de l'un des pneus, et enoncez bien le manomètre sur la valve.
Entretien et caractéristiques
- Ajoutez de l'air selon la pression de gonflage préconisée.
Remarque: Si vous ajoutez trop d'air, libéré la surpression en enforcant la petite tige métallique au centre de la valve. Recontrôlez la pression de vos pneus à l'aide de votre propre manomètre. - Remettez le bouchon de valve en place.
- Repetez ces opérations pour chaque pneu, sans oublier la roue de secours.
Remarque: Certaines roues de secours nécessitent une pression de gonflage supérieure aux autres pneus du vehicule.
- Faites un contrôle visuel des pneus, pour s'assurer de l'absence de clous ou autres objets logés dans le pneu, et qui pourrait cause uneuite d'air.
- Vérifiez aussi les flancs : recherche des entailles, coupures, gonflements ou autres défauts possibles.
Réglage de la géométrie des roues
Le fait de hourter une cordure de trottoir ou un nid de poule secoue le train avant et peut fausser la géométrie des roues ou endommager les pneus. Si votre vehicule semble « tirer » d'un côté, qu'il vibre ou que vous ressentez des scécousses en conduisant, la géométrie des roues pourrait être faussee. Faites appel à un technicien qualifié au service d'une firme réputée pour faire vérifier régulièrement la géométrie des roues de votre vehicule.
Un train avant ou arrière mal aligné peut causeer une usure prémature de vos pneus et doit être réalisé par un technicien qualifié au service d'un atelier de réparation réputé. Les vehicules à traction avant et dotés d'une suspension avant indépendante doivent faire l'objet d'un réglage au niveau des quatre roues.
De plus, les pneus doivent etre reequilibrés regulierement. Une roue mal équilibrée peut occasionner une usure inegale du pneu.
Permutation des pneus
Le fait de permuter vos pneus tel que préconisé (consultez le Calendrier d'entretien périodique de votre vehicule) peut aider à répartir l'usure de vos pneus et augmenter leur rendement et leur durée de vie. À moins d'indications contraires, faites permuter vos pneus tous les 8 000 km (5 000 mi).
Entretien et caractéristiques
Vehicules a traction avant (pneus avant illustré en haut)

Vehicules à propulsion/à quatre roues motrice (pneus avant illustré en haut)

Entretien et caractéristiques
La permutation des pneus peut quelqu'efois corriger une condition d'usure irrégulière.
Remarque: Si vos pneus présente une usure irregulière, consultez un technicien qualifié au service d'un atelier de réparation réputé pour contrôler et rectifier la géométrie des roues, pour faire équilibrer vos pneus ou régler tout autre problème mécanique avant de procéder à la permutation des pneus.
Usure des pneus
Contrôler la profondeur et l'état des sculptures de façon régulière. L'usure prematurée ou inégale des pneus réduit l'adhérence sur la chaussée en conditions difficiles (pluie, neige, etc.). Faites un contrôle visuel de vos pneus, recherche des points haut et bas sur la sculpture, ou encore des zones qui apparaissent plus polies. Recherche également des signes de détériération.
Lorsque la profondeur des sculptures atteint le minimum de 4 mm (1/16 po), les pneus doivent etre remplacés pour réduire les possibités de dérapage ou d'aquplanage. Des indicateurs d'usure de la bande de roulement, ou bandes d'usure, qui se trouvent

Dans les rainures de la bande de roulement, apparaisent lorsque la profondeur des sculptures atteint le minimum de 4 mm (1/16 po). Lorsque vous pouvez apercevoir ces bandes d'usure, le pneu est use et doit être remplaced.
Contrôlez fréquement l'état de vos pneus et recherchez les conditions anormales suivantes :
- apparition du tissu à travers l'enveloppe de caoutchouc
- gonflement au niveau de la semelle ou des flancs
- fissures ou entailles sur les flancs
- fissures au niveau de la sculpture
- dommages causés par un impact
- séparation de la semelle
-
séparation des flancs
-
usure par frottement importante des flancs Si vousVehicle a une fuite à l'échémpement, l'un des pneus (ou celui de la roue de secours) peut avoir été soumis aux gaz d'échémpement très chauds, ce qui nécessiterait son remplacement.
Entretien et caractéristiques
Mesures de sécurité
Vos habitudes de conduite influencent grandement la durée de vie de vos pneus et votre sécurité.
- Respectez les limites de vitesse sur les panneaux routiers.
- Évitez les démarrages, arrêts et virages inutillement brusques.
- Contournez les nids de poule ou autres obstacles présents sur la route.
- Ne heurtez pas de cordure de trottoir ou de butoir en vous stationnant.
Si vous véchicule s'enlise dans la neige, la boue, le sable, etc., ne faites pas patiner rapidement les pneus, ce qui pourrait les faire éclater. Un pneu peut éclater en l'espace de trois à cinq secondes.

L'éclatement d'un pneu peut causeer la mort, des blessures ou des maladies dommages matériels importants. Ne laissez personne s'approcher en vehicule lorsqu'une roue patine.

Ne faites jamais patiner les roues à plus de 55km / h (35 mi/h), tel qu'affiché à l'indicateur de vitesse.
Dangers potentiels sur autoroute
Peu imports la prudence exercée sur autoroute, la possibilité d'une crevaison à haute vitesse ne peut être écartée. Roulez doucement vers une zone sécuritaire, à l'écart de la circulation. Vous devez assurer votre sécurité, malgré le risque d'endommager le pneu creve.
Si vous ressentez une vibration soudaine ou une condition anormale de conduite, ou si vous croyez que l'un de vos pneus ou que le vehicule a subi des dommages, réduisez votre vitesse sur-le-champ. Roulez prudemment jusqu'à ce que vous puissiez quitter la chaussée. Immobilisez le vehicule et contrôle l'etat de vos pneus. Si l'un des pneus est sous-gonflé ou endommagé, dégonflez-le et remplacez la roue en question par la roue de secours. Si vous ne pouvez pas déterminer la cause de l'anomalie, faites remarquer votre vehicule chez un concessionnaire ou un détaillant de pneus le plus proche afin de faire inspectorer votre vehicule.
Entretien et caractéristiques
Système de surveillance de pression des pneus (selon l'équipement)
Lorsque le témoin du système de surveillance de pression des pneus est allumé, au moins un de vos pneus est sous-gonflé; vous devriez vous arrêté et contrôlez vos pneus

des que possible, et les gonfler correctement à la pression indiquée sur l'étiquette des pneus du vehicule. Conduire avec un pau non-gonfle produit un échauffement excessif et engendre une défaillance du pau. Le sous-gonflage augmente la consommation de carburant, réduit la durée de vie du pau et peut influencer le comportement du vehicule et sa distance de freinage. Vous devriez contrôler la pression de chaque pau tous les mois, et cette du pau de la roue de secours tous les six mois. La pression des pneus doit être réglée à froid, selon la valeur préconisée sur l'étiquette des pneus du vehicule et dans le Guide du propriétaire.
Remarque: Ce vehicule est equipé d'un système de surveillance de pression des pneus, lequel enregistre la pression de chacun des quatre pneus. La pression de chaque pneu dépend de divers facteurs, dont la température de l'air à l'intérieur du pneu. Lorsque la température de l'air de gonflage augmente, la pression augmente également. En conduite normale, la pression de gonflage d'un pneu typique de voiture particulière augmente d'environ 14 à 28 kPa (2 à 4 Ib/por) depuis le départ à froid. Cette augmentation de la pression de gonflage est due à la température de l'air à l'intérieur du pneu. La température de l'air du pneu dépend de plusieurs facteurs tels que la vitesse de rotation du pneu, son taux de flexion, le degré de freinage, etc. De même manière, la pression du pneu peut aussi diminuer. Par exemple, si le vehicule est stationné la nuit durant et que la temperature au cours de cette période est inférieure à celle du jour, la pression de gonflage peut diminuer d'environ 20,7 kPa (3 Ib/por) pour une chute de la temperature ambiente équivalente à 16,6 °C (30 °F). Cette chute de pression peut être détectée par le système de surveillance de pression des pneus et interprétable comme étant inférieure à la valeur à froid figurant sur l'étiquette des pneus; le tímeoin du système de surveillance de pression des pneus peut alors s'allumer pour cause de basse pression. Si le tímeoin s'allume, faites un contrôle visuel de chaque pneu afin de vérifier qu'aucun pneu n'est à plat. Si un ou plusieurs pneus est à plat, corrigez la situation si nécessaire. Si tous les pneus semblont gonfles, roulez doucement en direction d'un service de gonflage des pneus. Coupez le contact. Gonflez tous les pneus selon la pression préconisée.
Entretien et caractéristiques
Le système utilise des capteurs de pression à fréquence radio pour surveiller la pression des pneus sur toutes les roues, excluant la roue de secours. Les capteurs transmettent la pression des pneus au module récepteur situé dans le vehicule. Le module récepteur transmet ensuite les données de pression à l'afficheur multimessage. Pour obtenir de plus amples renseignements sur les avertissements de pression des pneus, consultez la rubrique Afficheur multimessage du chapitre Instruments. Ce dispositif est conforme aux normes de la section 15 des règlements de la FCC des États-Unis et aux normes RS-210 d'Industrie Canada. Son fonctionnement est soumis aux deux conditions suivantes: 1) ce dispositif ne doit pas causer d'interférences nuisibles, et 2) il doit accepter toutes les interférences, même celles qui pouraient l'activer de façon inopportune.
Le système de surveillance de pression des pneus NE PEUT PAS remplacer les vérifications manuelles à intervalles réguliers de la pression des pneus. Vérifiez régulierement (au moins une fois par mois) la pression de tous les pneus en utilisant un manomètre; consultez la rubrique Vérification de la pression de gonflage de ce chapitre. Les risques de crevaison d'un ou de plusieurs des pneus, de perte de maitrise et de renversement du vehicule ainsi que les risques de blessures sont accrus si la pression des pneus n'est pas maintainue à un niveau adequat.
Changement d'un pneu avec système de surveillance de pression des pneus
Il est recommandé de faire réparer les pneus par un concessionnaire ou par un technicien qualifié. Chaque pneu est doté d'un capteur de pression monté sur la jante à

l'intérieur du pneu, au niveau de la tige de valve. Le boulon du capteur de pression doit être enlevé de la jante avant de retarder le pneu. Le capteur peut être enlevé en desserrant l'écrou au niveau du corps de valve. Si le capteur n'est pas enlevé, il risque d'être endommage. L'eellet caoutchouc (rondelle) entre la jante et le capteur de pression doit être remplace lorsque le pneu est changé afin de réduire les fuites d'air.
Vérifiez régulierement (au moins une fois par mois) la pression de tous les pneus en utilisant un manomètre; consultez la rubrique Vérification de la pression de gonflage de ce chapitre.
Entretien et caractéristiques
PNEUS D'HIVER ET CHÂINES ANTIDÉRAPANTES

Les pneus d'hiver doivent etre de meme dimension et de meme type que ceux qui equipaient d'origineuve vehicule.
Les pneus de votre vehicule comportent une bande de roulement toutes saisons qui assure une bonne adherence, qu'il pleuve ou qu'il neige. Cependant, dans certaines régions, des pneus d'hiver et des chaînes antidérapantes peuvent s'avérer nécessaires.
Respectez les consignes suivantes lorsque vous utilisez des pneus d'hiver et des chaînes antidérapantes :
- utilisez seulement des chaînes de type cable ou des chaînes offertes par Ford à titre d'accessoire, ou l'équivalent. L'utilisation de chaînes conventionnelles à mailons peut endommager le passage de roue ou la carrosserie du vehicule;
- n'installez pas de chaînes sur les roues avant. Les chaînes ainsi installées peuvent nuir aux composants de la suspension;
- il n'est pas recommandé d'utiliser des chaînes sur les pneus P275/65R18 offerts en option;
- posez les chaînes antidérapantes de façon à ce qu'elles soient maintainues en toute sécurité et ne risquent pas de toucher le câblage électrique ou les canalisations de frein ou de carburant;
- conduizez prudemment. Si vous entendez les chaînes frottier ou cogner contre la carrosserie, arrêtez le vehicule et resserrez-les. Si elles continuente de frottier ou de cogner, enlevez-les pour éviter tout dégât au vehicule;
- dans la mesure du possible, évitez de charger votre vehicule au maximum;
- retirez les chaînes antidérapantes dés qu'elles ne sont plus nécessaires. N'utilise pas de chaînes antidérapantes sur un revêtement sec;
- les isolants et les butées de suspension contribuient à éviter les dommages au vehicule. Ne retirez jamais ces éléments lorsque vous utilisez des pneus d'hiver ou des chaînes antidérapantes sur votre vehicule;
- ne dépassez pas 48km / h (30 mi/h) lorsque des chaînes antidérapantes sont posées sur les roues de votre vehicule.
Entretien et caractéristiques
PIECES DE RECHANGE MOTORCRAFT
| Élément Moteur 5.4L V8 4V | |
| Élément du filtré à air FA-1634 | |
| Batterie (de série) BXT-65-650/BXT-65-750 | 65-750 |
| Filtre à carburant FG-986B | |
| Filtre à huile FL-820-S | |
| Clapet RGC EV-248 | |
| Bougies* AGSF-32PM |
- Pour connaître les caractéristiques de l'écartement des electrodes, référez-vous à l'étiquette de contrôle des émissions du vehicule.
CONTENANCES
| Liquide Désignation | Liquide de frein L | Ford | Usage Contenance |
| Liquide de frein L | liquide de frein hautes performances Motorcraft DOT 3 | tous Remplir jusqu'au repère du réservoir | (7 pintes US) |
| Huile moteur (avec changement de filtré)6 | Mélange d'huile moteur synthétique Premium Motorcraft SAE 5W-20 (États-Unis) Huile moteur Super Premium Motorcraft SAE 5W-20 (Canada) | tous 6,6 L | |
| Réserveur de carburant | S.O. tous 106 L | (28 gallons US) | |
| Liquide de direction assistée | Huile pour boîte de vitesses automatique Motorcraft MERCON® | tous Remplir jusqu'au repère du réservoir | (28 gallons US) |
Entretien et caractéristiques
| Liquide Désignation | Ford | Usage Contenance |
| Huile pour boîte de vitesses1 | Huile pour boîte de vitesses automatique Motorcraft MERCON® | Véhicules 4X2 15(15,9 pintes US) |
| Véhicules 4X4 15,5 L(16,4 pintes US) | ||
| Huile pour boîte de transfert | Huile pour boîte de vitesses automatique Motorcraft MERCON® | Véhicules 4X4 1,9 L(2 pintes US) |
| Liquide de refroidissement du moteur3 | Liquide de refroidissement du moteur Motorcraft Premium Gold (de couleur jaune) | sans chauffageauxiliaire arrêté21 L(22,2 pintes US) |
| avec chauffageauxiliaire arrêté23 L(24,3 pintes US) | ||
| Lubrifiant pour pont avant | Huile synthétiquehautes performances à économied'énergieMotorcraft SAE75W-90 pour pont arrière | Véhicules 4X4 De1,8 à 2 L (de 3,5 à 3,7chopines US) |
Entretien et caractéristiques
| Liquide Désignat | tionFord | Usage Contenance | |
| Lubrifiant pour pont arrière4 | Huile synthétiquehautes performances à économied'énergieMotorcraft SAE75W-90 pour pont arrière | Différentiel ordinaire (pont de 9,75 po) | 2,13 L (4,5 chopines US) |
| Huile synthétiquehautes performancesMotorcraft SAE75W-140 pour pont arrière | Différentiel à glissement limité (pont de 9,75 po)5 | 2 L (4,25 chopines US)5 | |
| Liquide de lave-glace | Concentré de liquide de lave-glaceMotorcraft Premium | tous 4,1 L | (4,5 pintes US) |
Assurez-vous d'utiliser l'huile pour boîte de vitesses automatique appropriée. Les indications relatives à l'huile pour boîte de vitesses figurent sur la jauge ou sur la poignée de celle-ci. Vérifielez contenant pour vous assurer que le bon type d'huile est utilisé. Pour connaître les intervalles de vérification et de vidange, consultez le Calendrier d'entretien périodique.
Certaines huiles, telles que MERCON et MERCON V sont homologuees comme etant a double usage. Celles-ci ne doivent pas etre utilisees pour les boites de vitesses automatiques requerant uniquement une hule de type MERCON. Cependant, ces hules à double usage peuvent etre utilisées dans les boites de vitesses nécessitant une hule de type MERCON V.
Les huiles MERCON et MERCON V ne sont pas interchangeables. NE MELANGEZ PAS les huiles MERCON et MERCON V. L'utilisation d'une huile pour boite de vitesses à double usage (MERCON et MERCON V) dans une boite de vitesses automatique nécessitant une huile MERCON peut endomager la boite de vitesses. L'utilisation d'une huile autre que celle recommandée peut endomager la boite de vitesses.
Entretien et caractéristiques
2 Indique la contentance approximative à vide. Cette contentance peut varier en fonction de la taille du refroidisseur et de la présence ou non d'un refroidisseur intégré au réservoir. La quantité et le niveau d'huile de la boîte de vitesses doivent être déterminés à l'aide de la plage de fonctionnement normal indiquée sur laJAuge.
3 Ajoutez le type de liquide de refroidissement d'origine de votre vehicule.
4 Le pont arrêté de votre vehicule a été rempli avec une huile synthétique pour pont arrêté et est considéré comme lubrifié à vie. La vérification du niveau du pont arrêté ou la vidange n'est requise que si une fuite est décelée, qu'une intervention doit être effectuee ou que le pont a ete immerge dans I'eau. La vidange doit etre efectuée chaque fois que le pont a ete immerge dans I'eau.
Les contenances de remplissage d'entretien sont déterminées en remplissant le point arrière jusqu'à un niveau de 23 mm (0,9 po) sous le bas du goulot de remplissage.
5 Ajoutez 118 ml (4 onces US) d'additif modifieur de friction XL-3 ou de produit équivalent conforme à la norme Ford EST-M2C118-A pour le remplissage complet des points à glissement limite. Pour un remplissage complet, ajoutez d'abord l'additif modifieur de friction.
6 L'utilisation d'une huile moteur ou d'un mélange d'huile synthétique n'est pas obligatoire. L'huile moteur utilisé doit toutes répondre aux exigences de la norme Ford WSS-M2C153-H et de l'étiquette d'homologation de l'API.
Entretien et caractéristiques
LUBRIFIANTS PRESCRITS
| Pierre | Désignation Ford | Référence Ford | Norme Ford |
| Charnières, loquets, supports de gâche et rotors, glissières de sièges, charnière et ressort de trappe de carburant | Graisse universelle | XG-4 ou XL-5 ESR | M1C159-A ou ESB-M1C93-B |
| Barillets de serrure | Lubrifiant pour serrure et huile pénétrante | Motorcraft XL-1 ESB-M2C75-B | |
| Liquide de frein Liquide de frein hautes performances DOT 3Motorcraft | PM-1 ESA-M6C25-A et DOT 3 | ||
| Arbre de transmission, cannelure coulissant, joint homocinétique | Graisse longue durée Premium | XG-1-C ou XG-1-K | ESA-M1C75-B |
| Liquide de refroidissement du moteur | Liquide de refroidissement du moteur Motorcraft Premium Gold (de couleur jaune) | VC-7-A WSS-M97B51-A1 | |
Entretien et caractéristiques
| Pierre | Désignation Ford | Référence Ford | Norme Ford |
| Huile moteur Mélange d'huile moteur synthétique Premium Motorcraft SAE 5W-20 Huile moteur Super Premium Motorcraft SAE 5W-20 (Canada) | XO-5W20-QSP (États-Unis) CXO-5W20-LSP12 (Canada) | WSS-M2C153-H et étiquette d'homologation de l'API | |
| Roulements de roue avant de 4X4, roulements à aiguilles de fusée de 4X4, roulements de butée de fusée & joint de cardan et cannelure coulissant de pont de traction avant | Graisse de roulement de pont avant de 4X4 haute température | E8TZ-19590-A ESA | A-M1C198-A |
| Boîte de vitesses automatique1 | Huile pour boîte de vitesses automatique Motorcraft MERCON® | XT-2-QDX MERCON® | |
| Liquide de direction assistée | Huile pour boîte de vitesses automatique Motorcraft MERCON® | XT-2-QDX MERCON® |
Entretien et caractéristiques
| Pierre | Désignation Ford | Référence Ford | Norme Ford |
| Pont arrêté Huile | synthétique hauteures performances à économie d'énergie Motorcraft SAE 75W-90 pour pont arrêté | XY-75W90-QFEHP | conformé à la norme API GL-5 |
| Huile synthétique hauteures performances Motorcraft SAE 75W-140 pour pont arrêté2 | XY-75W140-QL W | SL-M2C192-A | |
| Pont avant (4x4) | Huile synthétique hauteures performances à économie d'énergie Motorcraft SAE 75W-90 pour pont arrêté | XY-75W90-QFEHP | conformé à la norme API GL-5 |
| Boîte de transfert (4x4) | Huile pour boîte de vitesses automatique Motorcraft MERCON® | XT-2-QDX MERCON® |
Entretien et caractéristiques
| Pèce | Désignation Ford | Référence Ford | Norme Ford |
| Liquide de lave-glace | Concentré de liquide de lave-glaceMotorcraft Premium | ZC-32-A WSB-M8 | B16-A2 |
Assurez-vous d'utiliser l'huile pour boîte de vitesses automatique appropriée. Les indications relatives à l'huile pour boîte de vitesses figurent sur la jauge ou sur la poignée de celle-ci. Vérifiez le contenant pour vous assurer que le bon type d'huile est utilisé. Pour connaître les intervalles de vérification et de vidange, consultez le Calendrier d'entretien périodique.
Certaines huiles, telles que MERCON et MERCON V sont homologuees comme étant a double usage. Celles-ci ne doivent pas etre utilisees pour les boites de vitesses automatiques requerrant uniquement une huile de type MERCON. Cependant, ces huiles a double usage peuvent etre utilisées dans les boites de vitesses nécessitant une huile de type MERCON V.
Les huiles MERCON et MERCON V ne sont pas interchangeables. NE MELANGEZ PAS les huiles MERCON et MERCON V. L'utilisation d'une huile pour boite de vitesses à double usage (MERCON et MERCON) dans une boite de vitesses automatique nécessitant une huile MERCON peut endommager la boite de vitesses. L'utilisation d'une huile autre que celle recommandée peut endommager la boite de vitesses.
2 Ajoutez 118 ml (4 onces) d'additif modifieur de friction XL-3 ou de produit équivalent conforme à la norme Ford EST-M2C118-A pour le replissage complet des points à glissement limite Ford.
Entretien et caractéristiques
CHARACTERISTIQUES DU MOTEUR
| Mateur Mateur 5.4L V8 4V | |
| Cylindrée 330 | |
| Carburant requis Indice d'octane de | 91 |
| Ordre d'allumage 1-3-7-2-6-5-4-8 | |
| Écartement des electrodes 1,3 à 1,4 | mm (0,052 à 0,056 po) |
| Système d'allumage Bobine intégrée à la bougie | |
| Rapport volumétrique 9,5 à 1 |
DIMENSIONS DU VEHICULE
| Dimensions du vehicule 4x2 et 4x4 en mm (en po) | |
| (1) Longueur hors-tout 5 232,0 (206) | |
| (2) Largeur hors-tout(Carrosserie) | 2 000,0 (78,7) |
| (2) Largeur hors-toutavec marchepieds à commandeélectrique, rétroviseurs rabattus | 2 029 (79,9) |
| (2) Largeur hors-toutavec marchepieds fixes | 2 088 (82,2) |
| (3) Hauteur hors-tout 1 975,0 (77,8) | |
| (4) Empattement 3 018,0 (118,8) | |
| (5) Voie – avant 1 701,0 (67,0) | |
| (5) Voie – arrière 1 704,0 (67,1) | |
Entretien et caractéristiques


IDENTIFICATION DE VOTRE VEHICULE
Étiquette d'homologation
Les règlements de la National Highway Traffic Safety Administration exigent que chaque vehicule soit pourvu d'une étiquette d'homologation et prescrivent également l'emplacement de cette étiquette. L'étiquette d'homologation est apposée sur le montant de l'ouverture de porte avant, du côte conducteur.

Numéro d'identification du vehicule (NIV)
Le numero d'identification de votre vehicule figure sur une plaquette metallique située sur la planche de bord, cote conducteur. (Sur l'illustration, XXXX représenté le numero d'identification de votre vehicule.)

Numéro de série du moteur
Le numéro de série du moteur (les huit derniers chiffres du numéro d'identification du vehicule) est grave sur le bloc-cylindres et la boite de vitesses.
Entretien et caractéristiques
Désignations des codes de boîte de vitesses/boîte-pont

Un code de boîte de vitesses/boîte-pont se trouve sur l'étiquette d'homologation du vehicule située sur le montant de porte. Le tableau suivant indique la boîte de vitesses ou la boîte-pont représentée par chaque code.
Pour camionnettes :
| Code Description de la boîte de vitesses | |
| Boîte de vitesses manuelle | |
| M | Boîte de vitesses manuelle 5 vitesses à surmultiplée (Mazda R2) |
| C | Boîte de vitesses manuelle 5 vitesses à surmultiplée (à rapportes courts) |
| W | Boîte de vitesses manuelle 5 vitesses à surmultiplée (Dana ZF) |
| G Boîte de vitesses manuelle 6 vitesses (ZF) | |
| Boîte de vitesses automatique | |
| U | Boîte de vitesses automatique 4 vitesses à surmultiplée (4R70W) |
| T | Boîte de vitesses automatique 4 vitesses à surmultiplée (4R44E) |
Entretien et caractéristiques
| Code Description de la boîte de vitesses | |
| E | Boîte de vitesses automatique 4 vitesses à surmultipliée (4R100) |
| J | Boîte de vitesses automatique 5 vitesses à surmultipliée (5R55E) |
| Électrique | |
| HUne vitésse électrique | |
| D | Boîte de vitesses automatique 5 vitesses à surmultipliée (5R44E) |
| R | Boîte de vitesses automatique 5 vitesses à surmultipliée (5R55S) |
Pour voitures de tourisme :
| Code Description de la boîte de vitesses/boîte-pont | |
| Boîte-pont manuelle traction avant | |
| R Boîte de vitesses 5 vitesses à surmultiplée (MTX75) | |
| W Boîte de vitesses 5 vitesses à surmultiplée (M5) | |
| Boîte-pont automatique traction avant | |
| E Boîte de vitesses 4 vitesses à surmultiplée (4FE) | |
| J Boîte de vitesses 3 vitesses (Mazda) | |
| L Boîte de vitesses 4 vitesses à surmultiplée (AX4S) | |
| P Boîte de vitesses 4 vitesses à surmultiplée (4FE20E) | |
| X Boîte de vitesses 4 vitesses à surmultiplée (4F50N) | |
| Y Boîte de vitesses 4 vitesses à surmultiplée (CD4E) | |
| Boîte-pont manuelle propulsion arrière | |
| 5 Boîte de vitesses 5 vitesses (Mazda M5) | |
| Boîte de vitesses automatique propulsion arrière | |
| U Boîte de vitesses 4 vitesses à surmultiplée (4R70W) | |
| A Boîte de vitesses 5 vitesses à surmultiplée (5R55N) | |
Accessoires
Vouss pouvez vous procurer une vaste seLECTION d'accessoires d'origine Lincoln auprès de votre concessionnaire local autorisé Lincoln ou de Ford du Canada. Ces accessoires de qualité ont été spécialement concus pour répondre aux besoin des automobilistes et pour s'harmoniser parfaitement au style et aux lignes aerodynamiques de votre vehicule. De plus, chaque accessoire est fabriqué à partir de matérieliaux de première qualité et est conforme aux normes les plus strictes de Lincoln en matière d'ingenierie et de sécurité ou dépasse ces normes. Ford du Canada réparera ou remplaça tout accessoire Lincoln installé adéquatement par un concessionnaire Lincoln qui compterait une défectuosité résultat des matériaux utilisés en usine ou de l'exécution du travail. Il en va de même pour tout composant endommagé par l'accessoire défectueux pendant la période de garantie. L'accessoire est garanti pour la période qui vous avantage le plus parmi les suivantes :
- 12 mois ou 20 000 km (12 000 mi) (selon la première échéance); ou
- la portion restante de votre Garantie limite de vehicule neuf.
Ceci signifie que les accessoires d'origine Lincoln achetés avec votre nouveau vehicule et installés par le concessionnaire sont couverts pour toute la durée de la Garantie limitée de vehicule neuf, c'est-à-dire trois ans ou 60 000 km (36 000 mi) (selon la première échéance). Adressez-vous à votre concessionnaire pour obtenir tous les détails ainsi qu'une copie du document de garantie.
Certsains accessoires ne sont pas disponibles pour tous les modèles.
Vous trouverez ci-après la liste de plusieurs accessoires Lincoln authentiques. Certains accessoires ne sont pas disponibles pour tous les modèles. Pour connaître les accessoires disponibles pour votre vehicule, voyagez votre concessionnaire ou visitez notre boutique d'achat en ligne à l'adresse suivante : www.lincolnaccessories.com.
Apparance extérieure
Pare-insectes
Deflecteurs
Housses avant
Phares, phares antibrouillards et feu des jour
Pare-boue
Roues
404
Accessoires
Apparence interieure
Tapis de sol
Style de vie
Porte-vélos
Organisation et gestion de cargaison
Chauffe-moteur et chauffe-moteur enveloppant
Systèmes audiovisuels pour passagers arrière
Attelages de remorque, faisceaux et accessoires
Tranquillité d'esprit
Antivols de sacs gonflables
Trousse de premiers soins et trousse de sécurité routiere
Housses intégrales pour le vehicule
Bouchon de réservoir verrouillable
Dispositif de démarrage à distance
Dispositifs antivol
Pour tirer un rendement optimal de votre vehicule, considerez les renseignements suivants lorsque vous y ajoutez des accessoires ou de l'equipement :
- quand vous ajoutez des accessoires, de l'équipment, des passagers ou des bagages à votre vehicule, ne dépassez jamais le poids total autorisé en charge ou le poids maximal autorisé à l'essieu avant ou arrrière. Ces poids sont indiqués par leur sigle français (PTAC ou PMAE) ou leur sigle anglais (GVWR ou GAWR) sur l'étiquette d'homologation de votre vehicule. Consultez votre concessionnaire pour obtenir des renseignements supplémentaires à ce suje;
- le Conseil de la radiodiffusion et des télécommunications canadiennes (CRC) et, aux États-Unis, la « Federal Communications Commission » (FCC) réglement est l'utilisation des appareils de communication mobiles tels qu'émetteurs-recepteurs radio, téléphones et alarmes antivol qui comportent des émetteurs radio. Si vous équipiez vos reçivules d'un appleil de ce type, celui-ci doit être conforme à la règlementation du CRC ou de la FCC et doit être installé uniquement par un technicien qualifié;
- s'ils ne sont pas concus pour un usage automobile, les apparciels de communication mobiles peuvent nuire au bon fonctionnement de votre vehicule.
Index
A
Ae'ration de I'habitacle 245
Afficheur multimessage 151
messages d'advertissement ....160
toucheEM 159
touche « SYSTEM CHECK » (ve'rification du système) .....159
Afficheur multimessage e'lectronique 151
Alarme de detresse
personnelle, entre e sans cle a
te Ie'commande 175
Alimentation prolonge des
accessoires 136
Ampoules 117
Antiblocage (voir Freins) 246
Antigel (voir Liquide de refroidissement) 351
Assistance a la cliente le 292
accessoires offerts par Ford
pour votre vehicule 341
assistance hors des
Etats-Unis et du Canada 331
commande de documentation
supplementaire 332
Dispute Settlement Board ....327
entretien et service
apre's-vente ....324
programme de mediation et d'arbitrage 331
programme d'entretien prolonge' Ford 326
service de de pannage 292
Avertisseurs (voir Te'moins et carillons) 10
Avis special
vehicules utilitaires 7
B
Ba'che 131
Batterie 349
de rechange,
caracte'ristiques 391
de'marrage-secours 316
electrolyte, premiers soins ...349
entretien 349
sans entretien .349
Boite de vitesses interverrouillage du levier selecteur 256
Boi'te de vitesses 256 huile, verificatlon et appoint du niveau (boi'te
automatique) 371
huiles, contenances 391
lubrifiant prescrit 395, 399
Boi te de vitesses automatique huile, appoint du niveau 371 huile, contenances 391 huile, verificaton du niveau ..371
Boite de vitesses automatique avec surmultielie' e conduite 258
Boitier de distribution e'lectrique (voir Fusibles) 297
Bouchon de re'servoir d'essence (voir Remplissage du re'servoir de carburant) 360
Bougies,
caracte'ristiques 391, 399
Boussole e'lectronique re glage de la de clinaison.....153
C
Calcul de la charge 282
Capot 343
Carburant 358
additif de'tergent 362
Index
bouchon 360
calcul de la
cotes de consommation de
I'EPA et de Transports
Canada 367
filtre, caractéristiques ...363, 391
index d'octane 362, 399
les carburants et la securite'..358
panse che 363
qualite' 362
reemplissage du
Ceintures de se'curite
(voir Dispositifs de
retenue) ....202, 205, 207-208, 210
Chai'ne audio (voir Radio) ...17, 23
Chargement du vehicule 280
Chasse-neige 7
Chauffe-moteur 244
Circuit de refroidissement a
protection totale 357
Cle's 184-186
positions du commutateur
d'allumage 241
Climatisation
chauffage et climatisationur
auxiliares 110
Coffre 173-174
Commande sans fil Homelink ..147
Commandes
colonne de direction 144
sie'ge a'reglage e'lectrique.....189Dimensions du vehicule 399
Commutateur d'allumage .241, 399
Conditions particulieres
de conduite 263, 271, 275
nappes d'eau
profondes 274, 279
neige et verglas 276
sable 274
Conduite a travers des nappes
d'eau 279
Console 165
arrie're 166
au pavillon 128-130
Contenances 391
Contenances des re'servoirs ....391
Controle du circuit de
diagnostic embarque
(OBD II) 369
Cric 309
positionnement 309
rangement 309
D
Dépannage 292
De'fauts compromettant la
se'curite', de'claration 334
De givreur
lunette arrie re 111
De givreur de lunette arriere ...111
De'marrage 241-243
De'marrage-secours 316
De'pannage
de'marrage-secours 316
Différentiel à glissement
limité 252
Dimensions du vehicule 399
Index
Direction
asservie a la vitesse 249
Direction assiste' e. 248-249
liquide,
caracte'ristiques 395,399
liquide, contentances 391
liquide, verification et
appoint du niveau 370
Directives en vue du
charge ment 282
Dispositif d'aide à la navigation
emplacement du DVD 104
Dispositif de retenue
Supple'mentaire
sac gonflable lateral 222
Dispositifs antipollution 367
Dispositifs de
retenue 202, 205, 207-210
ensemble prolongateur 216
entretien des ceintures
de sécurité 216
pouradultes 207-208
pour infants 226
rappel de bouclage des
ceintures de se'curite 211
te'moin et carillon 210-211
Dispositifs de retenue pour
enfant 226
ceintures de se'curite' pour
enfant 226
Eclairage
commande automatique des
phares 112
feux de croisement 114
feux de jour 113
E
Entre's sans cle'
programmation d'un code
d'acce's 182
verrouillage automatique 180
Entre'sanscle'a
te'le'commande 171, 175
alarme de detresse
personelle 175
e'clairage a l'entre e 180
ouverture du coffre 173-174
te'le'commandes de rechange
et supple mentaires 178
verrouillage et de'verrouillage
des portes 170, 172, 181
Entretien des ceintures de
sécurité 216
Essue-glace et lave-glace 126
re'servoir du hayon 345
replacement des balais
d'essuie-glace 127
verification et appoint du
niveau deliquide 345
Etiquette d'homologation 401
F
Feux de detresse 293
Feux de jour (voir Lampes) ...113
Filtrea air 374, 391
Frein de stationnement 247
Freins 245
antiblocage 246-247
frein de stationnement 247
interverrouillage du levier
se'lecteur 256
liquide, contentances 391
liquide pre'conise' 395, 399
lubrifiant prescrit 395, 399
Index
te'moin des freins antiblocage
(ABS) 246
verificaton et appoint du liquide de frein 371
Freins antiblocage
(voir Freins) 246-247
Fusibles 296-297
G
Galerie porte-bagages 169
Gaz d'e'chappement 245
Glaces à commande
electrique 133
H
Hayon 166, 173-174
Hayon à commande
electrique 166
Huile moteur 346
caractéristiques 395, 399
contenances 391
filtre, caractéristiques ...348, 391
huile moteur recommende ...348
jauge d'huile 346
verificaton et appoint du niveau 346
vidange d'huile moteur,
avertissement de l'afficheur
multimessage 346
Huile (voir Huile moteur) 346
1
Indicateur de changement
de file de circulation
(voir Clignotants) 116
Indicateurs 15
Indice d'octane 362
Interrupteur automatique
de la pompe d'alimentation ....294
Intervention 342
J
Jauge
huile de boit de vitesses automatique 371 huile moteur 346
Joint universal et fourche
coulissante d'arbre de transmission 373
K
Kilométrage (voir
Consommation de carburant) .363
L
Le've-glaces
essuie-glace et lave-glace
de lunette arrie re 127
Lampes
e'clairageinteireur 116,118
phares 112
phares antibrouillards 112
planche de bord, rhe'ostat
d'e'clairage 114
remplacement des
ampoules 117-122, 124
tableau de remplacement
des ampoules 117
Lecteur de cassettes 23
Lecteur de disques compacts
haut de gamme 17
Le've-glaces
a`commande e'lectrique 133
Limindestcharge 280
Index
PMAE 280
PTAC 280
traction d'une remorque 280
Liquide de lave-glace 345
Liquide de refroidissement
caractéristiques 395, 399
contenances 356, 391
ve'rification et appoint 351
Lubrifiants prescrits 395, 399
M
Montre 131
Moteur 399
circuit de refroidissement a
protection totale 357
commande deralenti 349
contenances 391
de'marrage après'une
collision 294
huiles moteur
recommendees 395,399
liquide de refroidissement ....351
nettoyage 337
points d'intervention 344
N
Nettoyage de votre vechicule
balais d'essuie-glace 338
ceintures de securite 339
compartment moteur 337
garnitures interieures 340
intérieur 339
lustrage 336
nettoyage 335
pieces en plastique 338
roues 336
verre des instruments du
tableau de bord 338
Nume'ro d'identification du
ve'hicule (N.I.V.) 401
0
Ouvre-porte de garage
(voir Commande sans
fil Homelink) 147
P
Pe'dales (voir Pe'dales a)
re glage e'lectrique) 139
Pe'dales a're glage e'lectrique ....139
Phares 112
ampoules, caracte'ristiques ....117
commande automatique des
phares 112
comment allumer et
e'teindre 112
feux de croisement 114
feux de jour 113
feux de route 113
re'glage 114
replacement des
ampoules 118
Phares antibrouillards 112
PiecesMotorcraft 363,391
Pieces (voir Pieces
Motorcraft) 391
Planche de bord
e'clairage interrieur et de la
planche de bord 114
nettoyage 338
tableau de bord 10
PMAE (poids maximal
Autorise a l'essieu) 280
calcul 282
conduite avec lourde charge .280
definition 280
Index
emplacement 280
Pneu de secours (voir Remplacement d'un pneu) 310
Pneus 309,375-376 indices de qualite des
pneus 376
pneus hiver et chai nes 390
replacement 309-311,316
te'moin d'usure 376
Pont
contenances 391
lubrifiant prescrit 395,399
Porte-be'be's (voir Sie'ges de se curite pour enfant) 230
Portes lubrifiant prescrit 395
Pre'paration au de'marrage 252
Prise d'alimentation 132
Prise de courant auxiliaire.....132
Programmateur de vitesse 140
Programmateur de vitesse de croissance (Programmateur de vitesse) 140
PTAC (poids total autorise en charge) 280
calcul 280, 282
conduite avec lourde charge 280
definition 280
emplacement 280
R
Radio 17,23
Rappel de bouclage des ceintures de se curite 211
Relais 296
Remorquage 283
remorquage du vehicule 322
traction d'une remorque 283
ve hicule de loisir 290
Remorquage par une de panneuse 322
Remplacement d'un pneu 309
Re'troviseurs 128, 136
ame moireprogrammable 175,190
chauffants 137
retroviseurareglage automatique 136
re'troviseurs extérieurs a commande e'lectrique 138
S
Sacs gonflables 217, 222
conducteur 220, 223
description 217, 222
et sie ges de se curite pour enfants 219 fonctionnement 220,223 mise au rebut 226
passager 220,223
te'moin .221,225
Se'curite' infants 171
Serrures portes 170 verrouillage automatique 180
Serrures a commande e'lectrique 170, 180
Sie'ges commande de la
tempe rature 190 188
sièges à mémoire 175, 190
sègés de se curite pour enfant 230
Sie'ges de se curite' pour infant 230
Index
place avant 231
sie ge arrire 231
Sonar de recul ameliore 264
Support lombaire, sie'ges 188
Suspension pneumatique 249
description 249
Syste'me de navigation 48
Syste'me antide'marrage
Securilock 184-186
Système de navigation
fonctions de la radio 59
fonctions du chargeur de
disques compacts 67
mode de destination 81
mode de lecture de cartes 71
petit guide rapide 50
Système de surveillance de la pression des pneus
Conduite 274
Dépannage 309
Schemas de contrôle 15
T
Te'le'commande universelle
Homelink (voir Ouvre-porte
de garage) 151
Tableau des lubricifants
prescrits 395, 399
Tapis de sol 166
Te'moin des Clignotants 116
Te moins et indicateurs 10
freins antiblocage (ABS) 246
Transmission automatique
huile preconisee 399
U
Utilisation d'un téléphone
cellulaire 165
V
Vehicules a' quatre roues
motrices
pre'paration au de'marrage ....252
266
boirde transfert a
commande e'lectrique 268
conduite tout-terrain 270
description 267
“Control-Trac” 266
te'moin 266
Volant de direction
commandes 144
Notice Facile