625E Sewist - Machine à coudre JANOME - Notice d'utilisation et mode d'emploi gratuit
Retrouvez gratuitement la notice de l'appareil 625E Sewist JANOME au format PDF.
| Caractéristiques | Détails |
|---|---|
| Type de machine | Machine à coudre électronique |
| Nombre de points de couture | 25 points intégrés |
| Points utilitaires | 7 points utilitaires |
| Points décoratifs | 18 points décoratifs |
| Points de boutonnière | 1 boutonnière automatique en 1 étape |
| Largeur de point | Max 5 mm |
| Longueur de point | Max 4 mm |
| Écran | Écran LCD pour la sélection des points |
| Enfile-aiguille | Enfile-aiguille intégré |
| Accessoires inclus | Pieds de biche variés, canettes, aiguilles |
| Poids | Environ 5,5 kg |
| Dimensions | 38 x 17 x 30 cm |
| Alimentation | Sur secteur (adaptateur inclus) |
| Maintenance | Nettoyage régulier et huilage des pièces mobiles recommandé |
| Sécurité | Arrêt automatique en cas de surchauffe |
| Garantie | 2 ans |
| Utilisation | Idéale pour les débutants et les couturiers expérimentés |
FOIRE AUX QUESTIONS - 625E Sewist JANOME
Questions des utilisateurs sur 625E Sewist JANOME
0 question sur cet appareil. Repondez a celles que vous connaissez ou posez la votre.
Poser une nouvelle question sur cet appareil
Téléchargez la notice de votre Machine à coudre au format PDF gratuitement ! Retrouvez votre notice 625E Sewist - JANOME et reprennez votre appareil électronique en main. Sur cette page sont publiés tous les documents nécessaires à l'utilisation de votre appareil 625E Sewist de la marque JANOME.
MODE D'EMPLOI 625E Sewist JANOME
Modèle
625E
Pour utiliser un appareil électrique, il faut toujours respecter les consignes de sécurité fondamentales, notamment les consignes suivantes : Avant d'utiliser cet appareil, lisez toutes ces instructions.
DANGER : pour réduire les risques d'électrocution.
- Il ne faut jamais laisser un appareil sans surveillance lorsqu'il est branché. Il faut toujours débrancher cette machine à coudre de la prise électrique murale, après son utilisation ou avant de la nettoyer.
- Il faut toujours débrancher la machine avant de remplacer une ampoule électrique. Remplacez l'ampoule par une ampoule du même type de 15W.
Avertissement : afin de réduire les risques de brûlures, incendie, électrocution ou blessures corporelles:
- Il ne faut pas se servir de la machine comme d'un jouet. Il faut faire très attention lorsque cette machine à coudre est utilisée par des enfants ou à proximité de ceux-ci.
- Utilisez cette machine uniquement pour les utilisations prévues, telles qu'elles sont décrites dans le manuel de la machine à coudre. Utilisez uniquement les accessoires recommandés par le fabricant tels qu'ils sont indiqués dans le manuel de la machine à coudre.
- Il ne faut jamais faire fonctionner la machine à coudre si le câble ou la prise est endommagé(e), si elle ne fonctionne pas correctement, si on l'a laissé tomber, si elle est endommagée ou si elle est tombée dans l'eau. Retournez la machine à coudre au magasin ou au centre de réparation le plus proche, afin de la faire examiner, réparer ou d'effectuer des réglages électriques ou mécaniques.
- Il ne faut jamais faire fonctionner cette machine si les orifices d'aération sont colmatés. Tenir les orifices d'aération de cette machine à coudre et le curseur d'escamotage du pied-de-biche exempts de toute accumulation de peluches, poussières et de morceaux de chiffon.
- Il ne faut jamais laisser tomber ou introduire d'objet dans les orifices.
- Il ne faut pas l'utiliser en plein air.
- Il ne faut pas la faire fonctionner si des produits en aérosol (vaporisateur) sont utilisés ou s'il y a une installation d'oxygène.
- Pour la débrancher, tournez le commutateur à la position Arrêt ("0"), puis retirez la prise de la douille.
- Ne débranchez pas la machine en tirant sur le câble. Pour la débrancher, saisissez la prise, et non pas le câble électrique.
- Tenez les doigts à l'écart de toutes les pièces mobiles. Il faut faire particulièrement attention dans la zone proche de l'aiguille de la machine à coudre.
- Il faut toujours utiliser la plaque d'aiguille correcte. Si la plaque d'aiguille ne convient pas, l'aiguille risque de se briser.
- N'utilisez pas d'aiguilles courbées.
- Ne tirez ni ne poussez le tissu pendant les piqures. Cela risque de faire dévier l'aiguille et provoquer sa cassure.
- Avant de faire des réglages dans la zone de l'aiguille tels qu’enfiler l’aiguille, changer l’aiguille, enfiler la canette ou changer le pied-de-biche, etc., mettez le commutateur de la machine à coudre sur Arrêt ("0").
- Débranchez toujours la machine à coudre de la douille électrique avant d'ouvrir les capots, de la graisser ou de faire tous autres réglages mentionnés dans le manuel de la machine à coudre.
Conservez CETTE NOTICE
La conception et les caractéristiques sont sujettes au changement sans communication préalable.
Dénomination des composants 5 Accessoires standard 7 Rangement des accessoires 7 Table d'extension 9 Couture avec le bras libre 9
Section 2. se preparer a COUDRE
Raccordement de la machine au secteur 11 Contrôle de la vitesse de couture 11 Levier de point arrière 13 Bouton d'aiguille haute/basse 13 Sélecteur de pression du pied-de-biche 13 Abaissement des griffes d'entraînement 13 Relevage et abaissement du pied-de-biche 15 Changement de pied-de-biche 15 Retrait et installation du porte-pied 15 Changement d'aiguille 18 Tableau des fils et des aiguilles 18 Remplissage de la canette 21 Réglage de la bobine de fil 21 Retrait de la canette 21 Remplissage de la canette 23 Insertion de la canette 25 Enfilage de la machine 27 Enfile-aiguille 29 Remonter le fil de la canette 31 Sélection du motif de point 33 Sélecteur de motif 33 Sélecteur de longueur de point 33 Ajustage de l'équilibre des points élastiques 35 Sélecteur de largeur de point 35 Position variable de l'aiguille 35 Équilibrage de la tension du fil d'aiguille 37
Section 3. couture standard
Couture à point droit 39 Pour modifier le sens de la couture 39 Pour terminer la couture 39 Guides de couture de la plaque à aiguilles 41 Tourner un angle vif 41
Section 4. POINTS ulitaires
Point zigzag 43 Point de surfilage 43 Point tricot 45 Point pour tissu tricot (point zigzag multiple) 45 Point droit élastique 47 Point zigzag élastique 47 Couture de boutons 49 Boutonnière automatique 51 Réglage de la densité des points de boutonnière 55 Boutonnière cordonnet 57 Boutonnière manuelle 59 Pose de fermeture à glissière 63 Ourlet invisible 69
Section 5. POINTS décoratifs
Points passés décoratifs 71 Points décoratifs élastiques 71 Smocks 73 Ouatinage 75 Nervures 77 Point à coquilles 77 Entre-deux 79 Patchwork 79 Appliqués 81
Section 6. SOINS et entretien
Nettoyage du logement de crochet et des griffes d'entraînement 83 Remplacement du support de canette 85 Remplacement de l'ampoule 85 Dépistage des pannes 88

① Butée du dévidor Broche du dévidoir ③ Trou pour porte-bobine supplémentaire ④ Disque fixe-bobine ⑤ Porte-bobine ⑥ Guide-fil du dévidoir ⑦ Levier releveur de fil ⑧ Sélecteur de pression du pied-de-biche ⑨ Plaque frontale ⑩ Coupe-fil Enfile aiguille ⑫ Plaque à aiguilles Table d'extension (boîte de rangement d'accessoires) ⑭ Couvercle de crochet ⑮ Bouton d'ouverture du couvercle de crochet ⑯ Sélecteur de tension du fil ⑰ Levier de point arrière ⑱ Sélecteur de longueur de point ⑲ Sélecteur de motif ⑳ Sélecteur de largeur de point ② Pied-de-biche ⑵ Aiguille ⑶ Vis de pince-aiguille ⑷ Portepied ⑸ Vis de blocage ⑹ Poignée de transport Volant Interrupteur de mise sous tension ⑼ Prise de courant de la machine ⑽ Levier d'escamotage des griffes d'entraînement ⑾ Bras libre ⑿ Levier de boutonnière ⒀ Releveur de pied


(2)


6 8








① Pied de point surjet C ② Pied a semelle etroite E ③ Pied pour ourlets a points caches G ④ Pied de boutonniere B ⑤ Pied deboutonne automatique R ⑥ Aiguilles ⑦ Canettes ⑧ Tournevis Brosse anti-peluche 10 Decoud-vite (ouvre-boutonneire) 1 Guide de ouatinaque 12 Disque fixe-bobine (grand modele) 13 Disque fixe-bobine (petit modele) 14 Porte-bobine supplémentaire 15 Coussinet de feucre
Rangement des accessoires
Les accessoires standard peuvent être rangés dans la boîte de rangement d'accessoires sous la table d'extension.
Tirez la boîte de rangement se trouvant sous la table comme illustré.
Boîte de rangement des accessoires

Extension table
Tirez la table d'extension vers la gauche.
Insérez la broche dans le trou et poussez la table d'extension jusqu'à ce qu'elle s'encastre avec un claquement.
Broche Trou
Couture avec le bras libre
Le bras libre permet de coudre les manches, les ceintures, les jambes de pantalons et autres vêtements cylindriques. Il est également idéal pour retoucher les chaussettes, les genoux de pantalons et les coudes de chemises.

Raccordement de la machine au secteur
1 Mettez l'interrupteur d'alimentation en position d'arrêt. [2] Introduisez la fiche de la pédal et de la machine dans la prise de la machine. 3 Introduisez la fiche d'alimentation dans la prise murale. 4 Mettez l'interrupteur d'alimentation en position de marche. ① Interrupteur de mise sous tension ② Fiche de la pédal ③ Fiche de la machine ④ Prise de courant de la machine ⑤ Fiche d'alimentation ⑥ Prise de courant murale
Remarque :
Avant le branchement, assurez-vous que le voltage indiqué sur la machine correspond au type de courant du secteur.
Pendant le fonctionnement de la machine, maintenez toujours votre attention sur la zone de couture, et ne touchez aucun élément en mouvement tel que le levier relevé de fil, le volant ou l'aiguille.
Coupez tous les interrupteurs d'alimentation et débranchez la machine :
- lorsque vous laissez la machine sans surveillance,
- lorsque vous installez ou démontez des éléments,
- lorsque vous nettoyez la machine. Ne placez rien sur la pédale, sinon la machine risque de tourner par intermittence.
Pédale
La pression exercée sur la pédale fait varier la vitesse de couture.
Plus vous appuyez sur la pédale, plus la machine va vite.
Curseur de réglage de la vitesse
La vitesse de couture peut être ajustée selon vos besoins avec le curseur de réglage de la vitesse.
Pour accroître la vitesse de couture, déplacez le curseur vers la droite.
Pour décroître la vitesse de couture, déplacez le curseur vers la
gauche.
Instructions d'utilisation :
Le symbole "O" du commutateur indique la position Arrêt. Pour une machine dotée d'une fiche polarisée (une lame plus large que l'autre):
afin de réduire les risques de décharge électrique, cette fiche ne peut être introduite dans une prise polarisée que d'une seule façon.
Si la fiche n'entre pas dans la prise, retournez-la. Si elle n'entre toujours pas, contactez un electricien compétent qui installera une prise appropriée. Ne modifiez en aucune façon la fiche.
La pédale de rhéostat Modèle 21361 s'utilise avec la machine à coudre Modèle 625E (réservé au marché des États-Unis seulement).

Lever de point arrêt
Abaisser le levier de point arrière pour coudre en marche arrière.
La machine coude en marche arrière lorsque le levier est abaisse.
Bouton d'aiguille haute/basse
Ce bouton sert à relever ou abaisser l'aiguille. La machine peut s'arrêter avec l'aiguille en position relevée ou abaissee selon la position d'aiguille déterminée par ce bouton.
Bouton d'aiguille haute/basse
Sélecteur de pression du pied-de-biche
Tournez le sélecteur de pression pour régler la pression du pied-de-biche.
Le sélecteur de pression du pied-de-biche doit être réglé sur "3" pour une couture normale.
Réduisez la pression à “2” pour les appliqués, les découpages, les motifs dessinés et le fauilage.
Sélectionnez le réglage "1" pour coudre du chiffon, de la dentelle, de l'organdi et d'autres tissus délicats.
① Repère de réglage
Abaissement des griffes d'entraînement
Le levier d'escamotage des griffes d'entrainement est situé sous le bâti du bras libre sur la face arrêté de la machine.
Pour abaisser les griffes d'entrainment, positionnez le levier dans la direction de la flèche, comme illustré.
Pour relev , puis tournez le volant vers vous.
Les griffes d'entrainement doivent être en position relevée pour une couture normale.
① Levier d'escamotage des griffes d'entrainement ② Position relevée ③ Position abaisée

Relevage et abaissement du pied-de-biche
Le relevéreur de pied permet de relever et d'abaisser le pied-de-biche.
Vous pouvez le relever à environ 0.6cm au-dessus de la position relevante normale pour pouvoirPTRirer facilement le pied-de-biche, ou pour vous aider a placer une etoffe epaisse sous le pied.
① Position abaissée ② Position relevée normale ③ Position très relevée
Changement de pied-de-biche
Relevez laiguille à sa position la plus haute en tournant le volant en sens contraire des aiguilles d'une montre. Relevez le pied-de-biche, et appuyez sur le levier à l'arrête du portepied.
① Levier
Attention:
Mettez l'interrupteur d'alimentation en position d'ARRET avant de changer le pied.
Utilisez toujours le pied approprié pour le motif sélectionné.
Un mauvais pied peut casser l'aiguille.
Ne pas pousser le levier vers le bas pour éviter de le casser.
Installation :
Placez le pied-de-biche désiré de façon à ce que la charnière du pied se trouve juste sous l’échancrure du porte-pied. Abaissez le relevé de pied pour verrouiller le pied en position.
Échancrure Charnière
Avertissement:
Mettez l'interrupteur d'alimentation en position d'ARRÊT avant de retirer ou d'installer le portepied.
À l'aide d'un tournevis, enlevez la vis de blocage en tournant en sens inverse des aiguilles d'une montre et retirez le porte-pied.
Installation :
Faites correspondre le trou pratique dans le portepied avec le trou fileté de l'axe du pied-de-biche. Placez la vis de blocage dans le trou. Serrez la vis avec un tournevis en tournant dans le sens des aiguilles d'une montre.
Vis de blocage ② Portepied ③ Trou ④ Trou fileté





Attention :
Veillez à toujours mettre la machine hors tension et à débrancher le cordon d'alimentation de la prise secteur avant de changer l'aiguille.
Levez l'aiguille en tournant le volant vers vous et abaissez le pied-de-biche.
Mettez l'interrupteur d'alimentation en position d'arrêt.
1 Desserrez la vis du pince-aiguille en la tournant dans le sens contraire des aiguilles d'une montre.
Déposez l'aiguille du pince-aiguille.
Vis de pince-aiguille
2 Introduisez une nouvelle aiguille dans le pince-aiguille, avec le côté plat orienté vers l'arrière.
Au moment d'insérer l'aiguille dans le pince-aiguille, poussez-la au maximum vers le haut, contre l'axe de butée, puis serrez fermement la vis du pince-aiguille.
② Axe de butée ③ Côté plat
Pour vérifier si une aiguille est droite, placez le cote plat de l'aiguille sur une surface plane (plaque à aiguille, miroir etc.). L'écartement entre l'aiguille et la surface plane doit être le même partout.
N'utilisez jamais une aiguille émoussée.
④ Écartement
Tableau des fils et des aiguilles
| Tissu | Fil | Grosseur de l'aiguille | |
| Léger | Crépe de chine, voile, linon, organdi, georgette, tricot. | Fil de soie fin Fil de cotton fin Fil de synthétique fin Fil de polyester fin renforcé avec du coton | 9 (65) ou 11 (75) |
| Moyen | Lainage, coton, piqué, serge, tricot double, percale | Fil de soie 50 Fil de cotton 50 à 80 Fil de polyester renforcé avec du coton 50 à 60 | 11 (75) ou 14 (90) |
| Épais | Denim, tweed, gabardine, tissu de manteau et de rembourrage | Fil de soie 50 Fil de cotton 40 à 50 Fil de polyester renforcé avec coton 40 à 50 | 14 (90) ou 16 (100) |



Réglage de la bobine de fil
Placez une bobine de fil sur le porte-bobine, avec le fil positionné comme illustré.
A: Appuyez fermement le disque fixe-bobine grand modèle contre la bobine de fil. ① Disque fixe-bobine grand modèle B: Pour une petite bobine, utilisez le disque fixe-bobine petit modèle. ② Disque fixe-bobine petit modèle
Porte-bobine supplémentaire
Le porte-bobine supplémentaire permet de remplir une canette sans désempiler la machine.
Insérez le porte-bobine supplémentaire dans le trou.
Placez le feutre et une bobine sur l'axe.
③ Porte-bobine supplémentaire ④ Feutre pour porte-bobine ⑤ Trou du porte-bobine
Retrait de la canette
1 Poussez le bouton d'ouverture du couvercle de crochet vers la droite, puis retirez le couvercle de crochet.
① Bouton d'ouverture du couvercle de crochet ② Couvercle de crochet
[2] Soulevez la canette pour lasorting. ③ Canette

Remplissage de la canette
Tirez le volant vers l'extérieur pour dégager l'embrayage.
① Volant
[2] Tirez le fil de la bobine. Guidez le fil autour du guide-fil du dévidoir.
Guide-fil du dévidoir
Faites passer le fil par l'orifice de la canette, en l'enfilant de l'intérieur vers l'extérieur.
Placez la canette sur la broche du dévidoir de façon à ce que l'extrémité libre du fil dépasse vers le haut.
Broche du dévidoir
4 Repoussez la canette vers la droite.
Remarque :
Ne touchez pas à la broche du dévidoir pendant le fonctionnement de la machine.
5 En tenant l'extrémité libre du fil dans la main, appuyez sur la pédale. Arrêtez la machine après avoir enroulé plusieurs épaisseurs de fil sur la canette, puis coupez le fil tout près de la canette.
6 Appuyez à nouveau sur la pédale. Quand la canette est complètement enroulée, elle s'arrête automatiquement.
Pour remettre le dévidoir à sa position initiale, déplacez la broche vers la gauche et coupez le fil comme illustré.
Poussez le volant vers l'intérieur pour engager l'embrayage.




1 Placez la canette dans le support de canette en laissant le fil se dérouler comme illustré. ① Fil 2 Guidez le fil dans l'encoche frontale, du côté avant du support de canette. Tirez le fil vers la gauche, en le faisant glisser entre les lames de tension. ② Encoche frontale ③ Lame de tension 3 Continuez à tirer le fil avec précaution jusqu'à ce qu'il s'engage dans l'encoche latérale. ④ Encoche latérale
Tirez environ 10 cm de fil. Installez le couvercle de crochet. Référez-vous au schéma d'enfilage se trouvant sur le couvercle de crochet.
Fil ⑥ Couvercle de crochet

Pour régler le fil d'aiguille :
Relevez le levier releveur de fil à son point le plus élevé en tournant le volant.
Relevez le pied-de-biche.
Tirez le fil de la bobine et faites-le passer sous le guide-fil. Ensuite, longez le conduit droit avec le fil vers le bas.
Guide-fil ② Conduit droit
Tirez le fil autour de la partie inférieure de la plaque de guide-fil.
Tirez le fil vers le haut le long du conduit gauche.
③ Plaque de guide-fil ④ Conduit gauche
3 Tirez fermement le fil de la droite vers la gauche par-dessus le levier releveur de fil et vers le bas dans le chas du levier releveur. ⑤ Levier releveur de fil
4 Tirez le fil vers le bas le long du conduit gauche et faites-le coulisser derrière le guide-fil de la barre d'aiguille depuis la gauche. ⑤ Guide-fil de la barre d'aiguille Enfilez le fil dans le chas de l'aiguille depuis l'avant.
Levez l'aiguille à sa position la plus élevée et abaissez le pied-de-biche. Appuyez à fond sur le bouton d'enfilage de l'aiguille.
Le crochet sort de l'aiguille par l'arrière.
Bouton d'enfilage
Tirez le fil depuis la gauche autour du guide et sous le crochet.
Guide Crochet
3 Relâchez lentement le bouton d'enfilage tout en maintenant l'extrémité du fil d'une main. Une boucle se forme au travers du chas de l'aiguille. 4 Faites passer l'extrémité du fil par le chas de l'aiguille.
1 2

1 Relevez le pied-de-biche et maintenez légèrement le fil d'aiguille entre les doigts de votre main gauche.
Fil d'aiguille
2 Tournez lentement le volant vers vous d'un tour complet. Faites remarquer le fil de canette en tirant sur le fil d'aiguille comme illustré.
Fil d'aiguille Fil de canette
3. Tirez 10 cm des deux fils et faites-les passer derrière sous le pied-de-biche.

Sélection du motif de point
Relevez l'aiguille à sa position la plus haute.
Tournez le sélecteur de motif de façon à ce que le repère de réglage se trouve en face du symbole du motif de point désiré.
① Sélecteur de motif ② Repère de réglage
Attention:
Ne tournez pas le sélecteur de motifs alors que l'aiguille est plantée dans le tissu, sinon l'aiguille risque de se tordre ou de casser.
Pour sélectionner les motifs de points élastiques, réglez le sélecteur de longueur de point sur S. S.
Motifs de points élastiques
Sélecteur de longueur de point
Tournez le sélecteur de longueur de point pour régler le numéro de longueur de point désirée jusqu'au repère de réglage.
Plus le chiffre est élevé, plus le point est long.
Le repère “ _inquiète la plage de réglage pour coudre la boutonnière.
Repère de réglage Sélecteur de longueur de point


Pour ajuster l'équilibre des points élastiques
Si les motifs de points élastiques sont inégaux lorsque vous cousez sur un tissu particulier, modifiez-les en tournant le sélecteur de longueur de point.
Si les motifs sont étirés, modifiez-les en réglant le sélecteur du côté du “-”.
Si les motifs sont compressés, modifiez-les en réglant le sélecteur du côté du "+".
Sélecteur de largeur de point
Tournez le sélecteur de largeur de point pour régler le numéro de largeur de point désirée jusqu'au repère de réglage.
Plus le chiffre est élevé, plus large est le point.
Sélecteur de largeur de point Repère de réglage
Attention:
Ne tournez pas le sélecteur de largeur de point alors que l'aiguille est piquée dans le tissu, sinon l'aiguille risque de se tordre ou de casser.
Position variable de l'aiguille
La position d'abaissement de l'aiguille des points droits peut être déplacée entre le centre (5) et la gauche (0) à l'aide du sélecteur de largeur de point.

Tension automatique
Cette machine comporte le réglage de la tension automatique, qui couvre toute la plage des conditions de couture.
Réglez le sélecteur de la tension sur "A" pour couture ordinaire.
Sélecteur de tension
Tension équilibrée
Les points droits sont parfaits lorsque les fils se bouclent entre les deux écarteurs du tissu, comme illustré.
Pour un point zigzag parfait, le fil de la canette ne doit pas être visible sur la face supérieure (l'endroit) du tissu, et le fil de la aiguille doit légèrement déborder sur la face inférieure (l'envers) du tissu.
Fil d'aiguille (fil supérieur) Fil de canette (fil inférieur) Face supérieure (endroit) du tissu Face inférieure (envers) du tissu
La tension du fil de l'aiguille est trop élevée :
Le fil de la canette (fil inférieur) dessort sur la face supérieure (l'endroit) du tissu.
Diminuez la tension du fil de l'aiguille en réglant le sélecteur sur un numéro inférieur.
La tension du fil de l'aiguille est insuffisante :
Le fil de l'aiguille (fil supérieur) formera des boucles sur la face inférieure (l'envers) du tissu.
Augmentez la tension du fil d'aiguille en réglant le sélecteur sur un numéro supérieur.

Réglage de la machine :
① Motif de point : A ② Largeur de point : 0 ou 5 ③ Longueur de point : 1.5-4 ④ Tension du fil : A ⑤ Pied-de-biche : Pied de point zigzag A
Pour commencer à coudre
Relevez le pied-de-biche et placez le tissu sous le pied. Abaissez l'aiguille dans le tissu.
Abaissez le pied-de-biche et lissez les fils vers l'arrière. Appuyez sur la pédale.
Remarques :
Tirez les fils vers la gauche lorsque vous cousez avec le pied de boutonnière.
Pour arrêter la couture de départ, cousez tout d'abord plusieurs points en arrêté puis cousez en marche avant.
Pour modifier le sens de la couture
Arrêtez la machine et tournez le volant vers vous de façon à abaisser l'aiguille dans le tissu.
Relevez le pied-de-biche.
Faites pivoter le tissu autour de l'aiguille afin de changer le sens de couture selon le besoin. Abaissez le pied-de-biche et continuez de piquer dans le nouveau sens.
Pour terminer la couture
Abaissez le levier de point arrière et cousez plusieurs points en arrêt à la fin de la couture.
Relevez le pied-de-biche et retirez le tissu en tirant les fils vers l'arrière.
Tirez les fils vers le haut et amenez-les dans le coupe-fil. Les fils sont coupés à la bonne longueur pour entamer la couture suivante.
① Coupe-fil

Guides de couture de la plaque à aiguilles
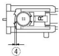
Les guides de couture tracés sur la plaque à aiguille vous facilitent la tâche pour mesurer les rentrés de couture. Le nombre indique la distance entre l'aiguille en position centrale et le guide de couture.
Guides de couture
| Número | 15 | 20 | 4/8 | 5/8 | 6/8 |
| Distance (cm) | 1.5 | 2.0 | 1.3 | 1.6 | 1.9 |
| Distance (pouce) | 1/2 | 5/8 | 3/4 |
Tourner un angle vif
Le guide de couture des coins vous aide à conserver un rentré de couture de 1,6 cm lorsque vous cousez en angle droit.
Lorsque le bord du tissu devant vous s'aligne sur le guide de couture des coins comme illustré, arrêtez de piquer et abaissez l'aiguille dans le tissu en tournant le volant vers vous.
Relevez le pied-de-biche et faites pivoter le tissu de façon à aligner le bord du tissu sur le guide de couture de 1,6 cm.
Abaissez le pied-de-biche et commencez à piquer dans le nouveau sens.
Guide de couture des coins

① Motif de point : C ② Largeur de point : 1-5 ③ Longueur de point : 0.5-3 ④ Tension du fil : A ⑤ Pied de biche : Pied de point zigzag A

① Motif de point : C ② Largeur de point : 1-5 ③ Longueur de point : 0.5-3 ④ Tension du fil : A ⑤ Pied-de-biche : Pied de point zigzag A
Le point zigzag simple est utilisé fréquemment pour le surfilage, pour coudre des boutons etc.
Régler la longueur de point qui correspond à vos besoins.
Remarque:
Utilisez un tissu stabilisant pour les tissus élastiques tels que les tissus tricotés et tricots pour éviter les fronces.
Le point zigzag large est utilisé sur le rentre de couture pour éviter que le tissu ne s'effiloche sur les bords.
Positionnez le bord du tissu à côté du guide du pied, puis commencez à coudre.
6 Guide
Lorsque le pied depuis surjet C est utilisé, la largeur du point zigzag doit être de 5,0 ou plus, afin d’empêcher l’aiguille de heurter les câbles du pied.

Ce point sert à finir le bord brut de tissus synthétiques et d'autres tissus extensibles qui ont tendance à froncer.
Positionnez le bord du tissu à côté du guide du pied, puis commencez à coudre.
⑥ Guide
Attension:
Lorsque le pied depuis surjet C est utilisé, la largeur du point zigzag doit être de 5,0 ou plus, afin d’empêcher
L'aiguille de heurter les câbles du pied.
Réglage de la machine
① Motif de point : D ② Largeur de point : 3-5 ③ Longueur de point : 0.5 - 1.5 ④ Tension du fil : A ⑤ Pied-de-biche : Pied de point zigzag A
Ce point est idéal pour les coutures de 0,6 cm exécutées sur des tricots ou des étoffes tissées épaissies lorsque vous pouvez obtenir une couture étroite. Il convient également bien à la couture des vêtements de bain en spandex.
Placez le tissu afin de former un rentre de 1,6 cm.
Coupez le tissu dépassant du rentré après la couture.

Réglage de la machine
① Motif de point : A ② Largeur de point : 0 ou 5 ③ Longueur de point : S. S. Tension du fil : A ⑤ Pied-de-biche : Pied de point zigzag A
Ce motif est composé de deux points en avant et d'un point en arrêt, formant ainsi une couture qui ne se déchire pas facilement.
Il peut servir à renforcer des zones telles que les coutures et les emmanchures.
Il peut également être utilisé dans les travaux de réalisation de sacs à dos, pour renforcer leur solidité.
Guidez soigneusement le tissu pendant la couture car il a tendance à glisser d'un côté ou de l'autre.
Point zigzag élastique réglage de la machine
① Motif de point : C 2 Largeur de point : 2-5 ③ Longueur de point : S. S. Tension du fil : A ⑤ Pied-de-biche : Pied de point zigzag A
Utilisez ce point sur les tissus élastiques là où vous utiliseriez un point zigzag.
Ce point est également utilisé comme un point de piqure décoratif.

Motif de point : C Largeur de point : Ajustez selon le besoin Longueur de point : Tous Tension du fil : A Pied-de-biche : PieddeboutonneB Griffes d'entrainment : Abaisées
Retirez le fil de l'aiguille. Ajustez la largeur de point afin qu'elle corresponde à l'écart entre les trous du bouton. Tournez le volant pour vérifier que l'aiguille pique dans chaque trou du bouton.
Abaissez le pied-de-biche pour maintenir le bouton en place.
Les trous du bouton doivent s'aligner sur la rainure du pied-de-biche.
Vous pouvez placer une épingle sous le pied-de-biche pour servir de tige.
Vérifiez que l'aiguille pique bien dans les deux trous du bouton.
① Épingle
Enfilez de nouveau l'aiguille et cousez environ 10 points, puis coupez les fils de l'aiguille et de la canette au départ.
Relevez le pied-de-biche et retirez le tissu. Coupez les fils de l'aiguille et de la canette en laissant dépasser 20 cm de fil.
Placez le fil d’aiguille entre le bouton et le tissu à travers les trous du bouton.
Tirez le fil d'aiguille pour faire remonter le fil de canette sur l'endroit du tissu.
Enroulez les fils autour du bouton pour former une tige et nouez-les.
Fil d'aiguille Fil de canette
Remarque:
Relevez la griffe d’entraînement une fois la couture terminée.





① Motif de surjet : BH ② Largeur de surjet : 4-5 ③ Longueur de surjet : 0.5-1 ④ Tension de fil : A ⑤ Pied de b Broderie automatique R
Réglage de la machine
① Motif de point : BH ② Largeur de point: 4-5 ③ Longueur de point: 0.5-1 ④ Tension du fil: A ⑤ Pied-de-biche: Pied de boutonniere automatique R
Remarques :
La dimension de la boutonnière est déterminée automatiquement en plaçant le bouton sur le pied de boutonnière automatique.
Le porte-bouton du pied accepte les boutons allant jusqu'à 2,5 cm de diamètre.
Faites un essai de boutonnière sur un échantillon identique au tissu, à la doublure et à l'ourlet du vêtement pour vérifier les réglages.
Utilisez un entoilage sur les tissus extensibles.
Tournez le volant vers vous pour relever l'aiguille à la position la plus haute.
1 Placez le pied de boutonnière automatique de façon à ce que la charnière se trouve juste sous l'échancrure du porte-pied. Abaissez le relevé de pied pour verrouiller le pied en position.
Échancrure ② Charnière
Tirez le porte-bouton vers l'arrière (A) afin de l'ouvrir et placez-y le bouton. Repoussez (B) le porte-bouton contre le bouton pour le maintenir solidement en place.
③ Porte-bouton
Remarque:
Pour des boutons cassés, faites une boutonnière d'essai. Si le bouton est trop large pour la boutonnière d'essai, allongez la boutonnière en tirant le porte-bouton quelque peu vers l'arrière.
④ Tirez à peine





3 Abaissez à fond le levier de boutonnière.
④ Levier de boutonnière
4 Soulevez le pied-de-biche et faites passer le fil d'aiguille par l'ouverture du pied. Tirez le fil de l'aiguille et le fil de canette vers la gauche.
Placez le tissu sous le pied, puis abaissez l'aiguille dans le tissu au point de départ.
Abaissez le pied.
⑤ Fil d'aiguille ⑥ Fil de canette ⑦ Ouverture ⑧ Point de départ
Remarque:
Vérifiez qu'il n'y ait pas d'espace entre le coulisseau et la butée avant. En effet, s'il y a un espace, les rangiées droite et gauche de la boutonnière seront de longueur différente.
Coulisseau 10 Butée avant ① Différence Il ne peut avoir d'espace.
Cousez lentement et arrêtez la machine dès que vous avez terminé la boutonnière.
La machine cout tout d'abord le bord avant et la rangée gauche, puis le bord arrêté et la rangée droite.
6 Relevez le pied et retirez le tissu.
Coupez les fils d'aiguille et de canette en laissant une longueur d'environ 10 cm.
Tirez le fil d'aiguille du côté envers du tissu en tirant sur le fil de canette.
Nouez ensuite les fils.
Insérez une épingle dans la couture du bord.
Coupez la fente à l'aide du découd-vite.
Prenez garde à ne pas couper les fils de couture.

Pour coudre une autre boutonnière, placez le cadran de sélection de motif sur “RESET”, puis à nouveau sur “”, illustré.
Appuyez sur la pédale de commande pour coudre une boutonnière identique.
7 Lorsque la boutonnière est terminée, relevez à fond le levier de boutonnière.
Pour ajuster la densité des points de boutonnière :
Tournez le sélecteur de longueur de point à l'intérieur de la plage “ pour régler la densité du point de boutonnière.
Sélecteur de longueur de point

① Stitch pattern: BH ② Stitch width: 4-5 ③ Stitch length: 0.5-1 ④ Thread tension: A (5) Presser foot: Automatic buttonhole foot R
2 3

① Motif de point : BH ② Largeur de point : 4-5 ③ Longueur de point : 0.5-1 ④ Tension du fil : A ⑤ Pied-de-biche : Pied de boutonnière automatique R
Le pied de boutonnière étant relevé, accrochez le cordonnet de replissage sur l'ergot se trouvant sur la partie arrière du pied.
Placez les extrémités vers vous, sous le pied-de-biche, en dégageant la partie avant.
Accrochez le cordonnet de replissage dans la fourchette à l'avant du pied pour la maintenir.
Ergot Fourchette Cordonnet
Tirez le fil de l'aiguille et le fil de canette vers la gauche. Piquez l'aiguille dans le tissu au point de départ, puis abaissez le pied.
Appuyez délicatement sur la pédale, et cousez la boutonnière sur le cordonnet.
La méthode de couture est la même que pour la boutonnière automatique.
④ Fil d'aiguille ⑤ Fil de canette ⑥ Point de départ
3 Tirez sur l'extrémité gauche du cordonnet pour le tendre et coupez le cordon en trop.
Pour couper l'ouverture de boutonnière, reportez-vous à la page 53.

① Motif de point : BH ② Largeur de point : 4-5 ③ Longueur de point : 0.5-1 ④ Tension du fil : A ⑤ Pied-de-biche : Pieddeboutonniere B
① Motif de point : BH ② Largeur de point : 4-5 ③ Longueur de point : 0.5-1 ④ Tension du fil : A ⑤ Pied-de-biche : Pied-de-boutonnière B
Si le diamètre du bouton est supérieur à 2,5 cm, la boutonnere devra être faite à la main comme suit :
1. Remplacez le pied-de-biche par le pied de boutonnière B. 2. Abaissez à fond le levier de boutonnière. Tirez le fil de l’aiguille et le fil de canette vers la gauche. Piquez l’aiguille dans le tissu au point de départ, puis abaissez le pied.
① Fil d'aiguille ② Fil de canette ③ Point de départ
3 Cousez le bord avant et la rangée de gauche à la longueur voulue, puis arrêtez la machine. 4 Enclenchez le levier de boutonnière vers vous.
4 Redémarrez la machine pour coudre le bord arrière et la rangée de droite, puis arrêtez la machine au point de départ.
5 Lorsque la boutonnière est terminée, relevez à fond le levier de boutonnière.

①Stitch pattern: A ②Stitchwidth:5 ③ Stitch length:1.5-4 ④ Thread tension: A ⑤ Presser foot: Zipper foot E

Réglage de la machine
① Motif de point : A ② Largeur de point : 5 ③ Longueur de point : 1.5-4 ④ Tension du fil : A ⑤ Pied-de-biche : Pied à semelle étroite E
Installation du pied à semelle étroite
A: Pour coudre le côté gauche de la fermeture à glissière, installez le pied à semelle étroite avec la broche à droite. B: Pour coudre le côté droit de la fermeture à glissière, installez le pied à semelle étroite avec la broche à gauche.
Échancrure Charnière
1 Préparation du tissu
Ajoutez 1 cm à la taille de la fermeture à glissière. Cette longueur correspond à la longueur totale de l'ouverture.
① Endroit du tissu ② 1 cm ③ Taille de l'ouverture ④ Taille de la fermeture à glissière ⑤ Coulisseau Dents de la fermeture à glissière ⑦ Ruban de la fermeture à glissière ⑧ Envers du tissu (9) Extrémité de l'ouverture
2 Mettez le tissu endroit contre endroit. Faites une couture inférieure de 2 cm depuis le bord droit jusqu'à la position d'arrêt du bas de la fermeture à glissière. Arrêtez la couture en coursant quelques points en arrière. Augmentez la longueur de point à “ 4 ”, réglez la tension du fil d'aiguille sur “ 1 ” et faufilage sur toute la longueur du tissu.
10 2 cm Faufilage 12 Point arrière 13 Extremité de l'ouverture 14 Couture inférieure





1 Installez le pied à semelle étroite avec la broche à droite. Repliez le rentré de couture de l'épaisseur supérieure. Repliez le rentré de couture de l'épaisseur inférieure en laissant une marge de tissu de 0,3 cm.
① Épaisseur inférieure ② Extrémité de l'ouverture Dents de la fermeture à glissière ④ Marge de 0,3 cm ⑤ Épaisseur supérieure ⑥ Taille de l'ouverture ⑦ Bord plié ⑧ Faufilage
2 Placez les dents de la fermeture près du bord de la marge et faufilez le ruban de la fermeture sur l'épaisseur de tissu inférieure.
Alignez le pied à semelle étroite sur le bord de la marge. Rétablissez la tension du fil et la longueur de point à leur position initiale.
Faites une couture sur toute la longueur du ruban de la fermeture à glissière.
3 Arrêtez la machine à 5 cm avant d'atteindre le coulisseau ; piquez l'aiguille dans le tissu et soulevez le pied-de-biche, puis ouvrez la fermeture à glissière de quelques centimètres afin d'aménager un passage pour coudre.
Coulisseau 10 5 cm
Enlevez le tissu et fermez la fermeture à glissière.
Prenez l'épaisseur de tissu supérieure et posez-là à plat sur la fermeture à glissière.
Fauffez le ruban de la fermeture à glissière sur l'épaisseur de tissu supérieure.
Faufilage 12 Ruban de la fermeture a glissiere
4 Soulevez et relâchez le pied-de-biche, et réinstallez le pied avec la charnière gauche.
En débutant juste sous l'arrêt du bas de la fermeture, piquez le tissu à environ 1 cm de distance de la ligne de faufilage.
Faites pivoter le tissu à 90 degrés et piquez sur la longueur restante du ruban de la fermeture à glissière. Avant de parvenir au coulisseau, arrêtez la machine en laissant l'aiguille piquée dans le tissu et soulvez le pied. Utilisez le découd-vite pour ouvrir les points de faufilage sur quelques centimètres.
Décousez le faufilage 1 cm
Ouvrez la fermeture à glissière de quelques centimètres afin d'aménager un passage pour coudre.
Une fois la couture terminée, faites quelques points arrêtés pour arrêter la couture.
Une fois que les deux côtés de la fermeture sont cousus, retirez le fauillage à l'aide du découd-vite.

① Stitch pattern: E ou F ② Stitch width: 2-3 ③ Stitch length: 2-3 ④ Thread tension: A ⑤ Presser foot: Blind hemming foot G





① Motif de point : E ou F ② Largeur de point : 2-3 ③ Longueur de point : 2-3 ④ Tension du fil : A ⑤ Pied-de-biche : Pied pour ourlet invisible G
Sur les tissus épais qui s'effilochent, il faut tout d'abord surfilier le bord brut. Pour les tissus fins ou moyens, pliez l'ourlet sous le tissu comme illustré. Pliez l'ourlet, l'envers du tissu étant sur le dessus afin de former un rentré de 0,5 cm.
Envers du tissu 0,5cm Tissus épais Tissus fins et moyennement épais
Placez le tissu afin que l’aiguille percette juste le bord plié lorsqu’elle parvient sur le cote gauche extrême. Abaissez le pied presseur. 3 Tournez la vis pour aligner le guide du pied-de-biche sur le bord plié afin que l’aiguille percette juste le pli. Si l’aiguille percetrop à gauche, déplacez légèrement le guide vers la gauche. Si l’aiguille ne parvient pas à percier le pli, déplacez légèrement le guide vers la droite. Cousez doucement tout en guidant le bord plié le long du guide.
⑤ Vis ⑥ Guide ⑦ Bord plié
4 Une fois la couture terminée, ouvre le tissu et repassez-le.
Endroit du tissu
Remarque:
Si l'aiguille percé le tissu trop à gauche, les points ressortiront à l'endroit du tissu.

Réglage de la machine
① Motif de point : I-L ② Largeur de point : 3-5 ③ Longueur de point : 0.5-1 ④ Tension du fil : A ⑤ Pied-de-biche : Pied de point zigzag A ou pied de boutonnière B
Déterminez la densité de point appropriée en faisant un essai de couture.
Pour un motif délicat sur des tissus tels que les mousselines, utilisez une seule épaisseur de tissu avec un entoilage détachable si nécessaire.
Diminuez légèrement la tension du fil d'aiguille pour obtenir plusieurs résultats.
Réglage de la machine
① Motif de point : A-L ② Largeur de point : 3-5 ③ Longueur de point : S. S. ④ Tension du fil : A ⑤ Pied-de-biche: Pied de point zigzag A
Les motifs extensibles décoratifs sont utilisés pour ajouter une touche créative et personnalisée aux ouvrages.
Guidez soigneusement le tissu pendant la couture car il a tendance à glisser d'un côté ou de l'autre.

① Stitch pattern: D ② Stitch width: 3-5 ③ Stitch length: S.S. ④ Thread tension: A 5 Presser foot: Zigzag foot A

① Motif de point : D ② Largeur de point : 3-5 ③ Longueur de point : S. S. ④ Tension du fil : A ⑤ Pied-de-biche : Pied de point zigzag A
Étape 1:
Choisissez un tissu doux et léger, comme la batiste, le vichy ou le challis. Coupez trois fois plus de tissu que la largeur de l'ouvrage.
Augmentez la longueur de point jusqu'à "4" et diminuez la tension du fil à "1". Cousez des rangées de points droits à 1 cm les unes des autres à l'endroit où vous pouvez faire les smocks.
① 1cm
Étape 2 :
Ligaturez les fils à une extrémité. Depuis l'autre extrémité du tissu, tirez les fils de la cannette pour répartir les fronces de façon homogène et arrêtez les fils.
Rétablissez la tension du fil à sa position initiale.
Cousez des rangées de points de smock entre les points de fronçage.
Une fois terminé, retirez les points de fronçage.

① Motif de point : A ② Largeur de point : 0 ou 5 ③ Longueur de point : 1.5 - 4 ④ Tension du fil : A ⑤ Pied de biche : Pied de point zigzag A ⑥ Guide de ouatinage

① Motif de point : A ② Largeur de point : 0 ou 5 ③ Longueur de point : 1.5-4 ④ Tension du fil : A ⑤ Pied de biche : Pied de point zigzag A ⑥ Guide de ouatinage
Le guide de ouatinage permet de conserver l'écart entre les coutures constant.
Insérez le guide de ouatinage dans l'ouverture et réglez-le sur l'écart souhaité entre les coutures.
Guide de ouatinage Ouverture pour le guide de ouatinage
Cousez à l'aide du guide de ouatinage en suivant la rangée de points précédente.
Écart entre les coutures

① Motif de point : A ② Largeur de point : 0 ou 5 ③ Longueur de point : 1.5 - 3 ④ Tension du fil : 2-6 ⑤ Pied-de-biche : Pied pour ourlet invisible G

① Motif de point : A ② Largeur de point : 0 ou 5 ③ Longueur de point : 1.5-3 ④ Tension du fil : 2-6 ⑤ Pied-de-biche : Pied pour ourlet invisible G
Pliquez le tissu envers contre envers et piquez l'aiguille dans le tissu à 0,1 ou 0,2 cm à l'intérieur du bord plié.
Abaissez le pied-de-biche et tournez la vis pour aligner le guide du pied avec le bord plié.
Cousez doucement tout en guidant le bord plié le long du guide.
Ouvrez le tissu et repassez les nervures.
Vis Guide Bord plié
Réglage de la machine
Motif de point : G Largeur de point : 5 Longueur de point : 2-3 Tension du fil : 6-8 Pied-de-biche : Pied de boutonnière B
Utilisez un tissu léger (du tricot, par exemple).
Pliez le tissu et piquez dans le biais.
Lorsque l'aiguille oscille vers la droite, laissez-la toucher à peine le bord plié du tissu.
Une fois la couture terminée, ouvre le tissu et repassez les nerfs à plat d'un côté.
Remarque:
Augmentez la tension du fil d'aiguille pour former des nervures saillantes.

Fagoting
① Motif de surjeteuse : H ② Largeur de point : 3-5 ③ Longueur de point : 1-3 ④ Tension de fil : 1-A ⑤ Pied de biche : Pied zigzag A

① Anverso de la TCLA
Réglage de la machine
① Motif de point : H ② Largeur de point : 3-5 ③ Longueur de point : 1-3 ④ Tension du fil : 1-A ⑤ Pied-de-biche : Pied de point zigzag A
Utilisez ce point pour joindre deux morceaux de tissu afin de créer une appearance d'ouverture dans l'ouvrage et donner de l'intérêt au dessin.
Pliez sur 1,3 cm sous chaque rebord de tissu et repassez. Épinglez les deux bords sur du papier ou un entoilage détachable à 0,3 cm l'un de l'autre.
① Papier
Cousez lentement en guidant le tissu afin que l'aiguille pique le bord replié, de chaque côté.
Une fois la couture terminée, détachez l'entoilage.
Réglage de la machine
① Motif de point : D ② Largeur de point : 5 ③ Longueur de point : 1-3 ④ Tension du fil : 1-A ⑤ Pied-de-biche : Pied de point zigzag A
Placez les deux échantillons de tissu, endroit contre endroit. Cousez le long des bords en faisant des points droits.
Mettez les épaisseurs de tissu à plat et pliez chaque rentré de couture.
Mettez le tissu sous le pied-de-biche afin que la ligne de couture corresponde au centre de la largeur du pied.
Abaissez le pied-de-biche et cousez le motif le long de la ligne de couture.
Endroit du tissu

Applique
① Motif de point : C ② Largeur de point : 3 - 5 ③ Longueur de point : 0.5 - 1 ④ Tension du fil : 1-A ⑤ Pied-de-biche : Pieddeboutonne B ⑥ Pression du pied : “2”

① Motif de point : C ② Largeur de point : 3-5 ③ Longueur de point : 0.5-1 ④ Tension du fil : 1-A ⑤ Pied-de-biche : Pied-de-boutonne B ⑥ Pression du pied : “2”
Faufilez les pièces appliquées sur le tissu ou thermofixez vos pièces à l'aide d'une matière thermocollante à repasser.
Piquez autour de l'applique en vous assurant que l'aiguille, lorsqu'elle oscille vers la droite, pénètre le long du bord extérieur de l'applique.
Tourner un coin :
Arrêtez la machine et piquez l'aiguille dans le tissu sur l'extrémité externe de l'appliqué.
Relevez le pied et faites pivoter le tissu pour le mettre dans l'autre sens.
Remarque:
Ramener le sélecteur de pression du pied à la position "3" après avoir terminé la couture.

Coupez l'alimentation et débranchez la machine avant de procéder à son nettoyage.
Remarque:
Ne démontez pas la machine en outrepassant les instructions de cette section.
Nettoyez l'extérieur de la machine avec un chiffon et un savon doux.
Nettoyage du logement de crochet et des griffes d'entraînement
1 Retirez le pied-de-biche et l'aiguille. Retirez la vis de la plaque d'aiguille à l'aide du tournevis. Retirez la plaque d'aiguille et sortez la canette. ① Vis 2 Relevez le portecanette et déposez-le. ② Portecanette [3] Brossez la poussière et les peluches. Essuyez le portecanette à l'aide d'un chiffon doux et sec.
4 Nettoyez les griffes d'entrainment et le logement de crochet avec une brosse anti-peluche.
③ Brosse anti-peluche ④ Griffes d'entrainment
5. Essuyez le logement de crochet à l'aide d'un chiffon doux et sec. ⑤ Logement de crochet
Remarque:
Vous pouvez également utiliser un aspirateur.
1 2

Remplacement du porte-canette
1 Insérez le porte-canette dans le logement de crochet.
2 Assurez-vous que le bouton du portecanette est bien placé près de la butée dans le logement de crochet.
Bouton Butee
3 Change la bobine.
Installez la plaque à aiguille en insérant les deux broches de guidage dans les trous de la plaque à aiguille. Resserrez fermement la vis avec un tournevis.
Chiffits de passage ④ Vis
Remplacement de l'ampoule
Avant de remplacer l'ampoule, éteignez et débranchez la machine.
Attendez que l'ampoule refroidisse avant de la toucher.
Déposez le capuchon et la vis. Déposez la plaque frontale.
Capuchon Vis Plaque frontale
Retirez l'ampoule de la douille de lampe.
Introduisez une nouvelle ampoule dans la douille.
Fixez la plaque frontale.
④ Ampoule ⑤ Douille de lampe
Dépistage des pannes
| Anomalie | Cause | Références |
| Le fil d'ailuille casse. | 1. Le fil d'ailuille n'est pas bien enfilé.2. Le fil d'ailuille est trop tendu.3. L'ailuille est déformée ou émoussée.4. L'ailuille est mal positionné.5. Le fil de l'ailuille et le fil de la canette ne sont pas tirés vers l'arrière et correctement placés sous le pied-de-biche au début de la piñure.6. Le tissu n'est pas tiré vers l'arrière après la couture.7. Le fil est trop écais ou trop fin pour l'ailuille. | Page 25Page 37Page 18Page 18Page 39Page 39Page 18 |
| Le fil de canette casse. | 1. Le fil de la canette est mal enfilé dans le support de canette.2. Il y a une accumulation de peluches dans le support de canette.3. La canette est endommagée et ne tourne pas correctement.4. Le fil est mal enroulé sur la canette. | Page 25Page 83Remplacez lacanette.Enroulez de nouveau la canette. |
| L'ailuille casse. | 1. L'ailuille est mal positionné.2. L'ailuille est déformée ou émoussée.3. La vis du pince-ailuille est desserrée.4. Vous n'utilise pas le pied approprié.5. Le tissu n'est pas tiré vers l'arrière après la couture.6. L'ailuille est trop fine pour le tissu utilisé. | Page 18Page 18Page 18Utilizez le pied approprié. Page 39Page 18 |
| Le fil d'ailuille forme des bouches. | 1. Le fil de l'ailuille n'est pas assez tendu.2. La taille de l'ailuille ne convient pas au fil. | Page 37Page 18 |
| Points sautés. | 1. L'ailuille est mal positionné.2. L'ailuille est déformée ou émoussée.3. L'ailuille et/ou le fil ne convennent pas au tissu utilisé.4. Vous n'utilise pas d'ailuille à pointe bleue pour coudre des tissus extensibles, très fins ou synthétiques.5. Le fil d'ailuille n'est pas bien enfilé.6. L'ailuille utilisée est de mauvaise qualité. | Page 18Page 18Page 18Page 18Page 27Remplacez l'ailuille. |
| Les piquères frontent. | 1. Le fil d'ailuille est trop tendu.2. Le fil d'ailuille n'est pas bien enfilé.3. L'ailuille est trop lourde pour le tissu utilisé.4. Le point est trop long pour le tissu * Utilisez un tissu stabilisant pour les tissus très fins. | Page 37Page 25Page 18Raccourcissez le point. |
| Le tissu n'avance pas régulièrement. | 1. Les griffes d'entrainment sont remplies de peluches.2. Les points sont trop fins.3. Les griffes d'entrainments n ont pas été relevantes après avoir été abaissées.4. La pression du pied n'est pas régliée correctement. | Page 83Allongez le pointPage 13Page 13 |
| La machine ne fonctionne pas. | 1. La machine n'est pas branchée.2. Le fil est coincé dans le bo"tier du crochet.3. Le volant est tiré vers l'extérieur pour le replissage de canette. | Page 11Page 83Page 23 |
| Les motifs sont déformés. | 1. Le point n'est pas équilibré. | Page 35 |
| La boutonnière est mal cousue. | 1. La densité du point ne convient pas au tissu cousu.2. Un entoiage n'est pas utilisé avec les tissus extensibles. | Page 55Page 51 |
| Fonctionnement bruyant. | 1. Les griffes d'entrainment sont remplies de peluches.2. Il y a une accumulation de peluches dans le support de canette. | Page 83Page 83 |
| Glissement des couches. | 1. La pression du pied n'est pas régliée correctement. | Page 13 |
507-800-347 (E/S/F)
Imprimé en Taiwan
Imprimé en Taiwan
Imprimé en Taiwan
Notice Facile