MD 13343 - Machine à coudre LIFETEC - Notice d'utilisation et mode d'emploi gratuit
Retrouvez gratuitement la notice de l'appareil MD 13343 LIFETEC au format PDF.
| Caractéristiques | Détails |
|---|---|
| Type de machine | Machine à coudre mécanique |
| Nombre de points de couture | 15 points de couture différents |
| Largeur de point | Jusqu'à 5 mm |
| Longueur de point | Jusqu'à 4 mm |
| Enfile-aiguille | Oui, intégré |
| Type de pied-de-biche | Pied standard, pied pour boutonnière, pied pour fermeture éclair |
| Accessoires inclus | Canettes, aiguilles, tournevis, brosse de nettoyage |
| Poids | Environ 6 kg |
| Dimensions | 38 x 17 x 30 cm |
| Alimentation | 230 V, 50 Hz |
| Garantie | 2 ans |
| Maintenance | Nettoyage régulier, lubrification des pièces mobiles |
| Sécurité | Déconnexion automatique en cas de surchauffe |
| Utilisation recommandée | Pour les travaux de couture domestiques et les projets de loisirs créatifs |
| Informations supplémentaires | Manuel d'utilisation disponible en ligne |
FOIRE AUX QUESTIONS - MD 13343 LIFETEC
Questions des utilisateurs sur MD 13343 LIFETEC
0 question sur cet appareil. Repondez a celles que vous connaissez ou posez la votre.
Poser une nouvelle question sur cet appareil
Téléchargez la notice de votre Machine à coudre au format PDF gratuitement ! Retrouvez votre notice MD 13343 - LIFETEC et reprennez votre appareil électronique en main. Sur cette page sont publiés tous les documents nécessaires à l'utilisation de votre appareil MD 13343 de la marque LIFETEC.
MODE D'EMPLOI MD 13343 LIFETEC
Machine à coudre avec double aiguille Naaimachine met dubbele naald Freiarmnähmaschine mit Doppelnadel
LIFETEC® MD 13343

À propos de ce mode d'emploi .... 3
Symboles et avertissements utilisés dans ce mode d'emploi .... 3
Consignes de sécurité .... 4
Ne pas laisser d'appareils électriques entre les mains des enfants .... 4
Câble d'alimentation secteur et raccordement au secteur.... 4
Remarques fondamentales 5
Ne jamais réparer soi-même l'appareil.... 5
Manipulation sûre de l'appareil.... 5
Nettoyage et stockage 6
Apprenez à connaître votre appareil 7
Contenu de l'emballage 7
Contenu de la boîte d'accessoires 8
Branchements électriques.... 9
Stabilité de la machine à coudre....9
Commande de la vitesse de couture....9
Mettre en place et retirer la table-rallonge 9
Opérations préliminaires ....10
Embobiner la canette de fil inférieur ....10
Retirer la boîte à canette ....12
Charger le fil dans la boîte à canette....12
Insérer la boîte à canette....13
Charger le fil supérieur....14
Remonter le fil inférieur....16
Réglages 17
Réglage de la tension du fil....17
Vérifier les tensions du fil ....18
Coudre 19
Généralités ....19
Choisir la bonne aiguille....19
Soulever et abaisser le pied-de-biche 20
Protège-doigts 20
Couture en marche arrière.... 20
Retirer le tissu de la machine à coudre 20
Changement de direction de la couture 21
Couper le fil....21
Bouton de sélection du programme 22
Réglage de la longueur du point 22
Réglage de la largeur de point.... 22
Types de point (programmes) 23
Boutonnières....27
Insérer des fermetures à glissière 29
Repriser 30
Broder 31
Coudre avec une double aiguille 32
Coudre avec le bras libre 33
Maintenance, entretien et nettoyage 34
Remplacement de la lampe de la machine à coudre 34
Remplacer l'aiguille 34
Retirer et mettre en place le pied-de-biche.... 35
Retirer et mettre en place le support du pied-de-biche 36
Entretien de la machine à coudre ....37
Lubrification de la machine.... 39
Démontage du couvercle arrière du boîtier 40
Problèmes....43
Tableau des combinaisons tissu, fi I et aiguille ....45
Recyclage....46
Données techniques 47
Index des mots-clés 48
À PROPOS DE CE MODE D'EMPLOI

Avant la première utilisation, lisez attentivement ce mode d'emploi et veillez surtout à vous conformer aux consignes de sécurité !Toute action subie par et effectuée avec cet appareil doit se dérouler tel que décrit dans le mode d'emploi. Si vous donnez l'appareil, il est impératif que vous remettiez également ce mode d'emploi !
Symboles et avertissements utilisés dans ce mode d'emploi
![]() | DANGER !Avertissement d’un risque vital immédiat !AVERTISSEMENT !Avertissement d’un risque vital et/ou de blessures graves irréversibles possibles ! |
![]() | PRUDENCE !Respecter les consignes pour éviter toute blessure et tout dommage matériel !ATTENTION !Respecter les consignes pour éviter tout dommage matériel ! |
![]() | REMARQUE !Information supplémentaire pour l’utilisation de l’appareil ! |
![]() | REMARQUE !Respecter les consignes du mode d’emploi ! |
![]() | AVERTISSEMENT !Avertissement d’un risque d’électrocution ! |
![]() | CONSEILConseils facilitant les travaux de couture |
| • | Énumération / information sur des événements se produisant en cours d’utilisation |
| ► | Action à exécuter |
CONSIGNES DE SÉCURITÉ
Ne pas laisser d'appareils électriques entre les mains des enfants
Les enfants ne se rendent pas compte des risques liés à l'utilisation d'appareils électriques.
Ne jamais laisser un enfant utiliser la machine à coudre sans surveillance. Attention : il est aussi possible de se blesser avec les aiguilles même lorsque la machine n'est pas branchée sur secteur.
Conserver également le matériau d'emballage hors de portée des enfants. Ils pourraient s'étouffer.
Cet appareil n'est pas destiné à être utilisé par des personnes (y compris les enfants) dont les capacités physiques, sensorielles ou mentales sont limitées ou qui manquent d'expérience et/ou de connaissance, sauf si elles sont surveillées par une personne responsable de leur sécurité ou qu'elles reçoivent de cette personne les instructions pour utiliser l'appareil.
Câble d'alimentation secteur et raccordement au secteur
Relier l'appareil à une prise de courant aisément accessible (230 V \~ 50 Hz) située à proximité de l'appareil. La prise de courant doit rester accessible s'il devait s'avérer nécessaire de débrancher rapidement l'appareil.
En cas de débranchement de la fi che, toujours saisir la fi che elle-même et ne pas tirer sur le câble.
En cours de fonctionnement, dérouler entièrement le câble.
Disposer le câble d'alimentation secteur et la rallonge de manière à ce que personne ne puisse trébucher dessus. Le câble ne doit pas entrer en contact avec des surfaces chaudes.
Pour les actions suivantes, éteindre la machine à coudre et débrancher la prise de courant : Charger le fi I, changer l'aiguille, régler le pied-de-biche, changer l'ampoule, opérations de nettoyage et d'entretien ainsi qu'à la fi n des travaux de couture et lors de toute interruption de l'ouvrage.
Remarques fondamentales
La machine à coudre ne doit pas être mouillée – il y a risque de décharge électrique !
Ne jamais laisser la machine à coudre sans surveillance lorsqu'elle est allumée.
Ne pas utiliser la machine à l'extérieur.
L'appareil doit être mis en marche uniquement avec la pédale de type KD 2902 fournie.
Ne jamais réparer soi-même l'appareil.
En cas d'endommagement de l'appareil ou du cordon d'alimentation, débrancher immédiatement la fi che secteur de la prise de courant.
En cas d'endommagement visible de la machine à coudre ou du câble d'alimentation secteur, l'appareil ne doit pas être utilisé afi n d'éviter tout danger.
AVERTISSEMENT !
N'essayer en aucun cas d'ouvrir et/ou de réparer soimême l'appareil. Il y a risque d'électrocution ! En cas de problème, s'adresser à notre Centre de service ou à un autre atelier spécialisé.

Si le câble d'alimentation de cet appareil est endommagé, le faire remplacer par le fabricant, son service après-vente ou une personne qualifiée afi n d'éviter tout danger.
Manipulation sûre de l'appareil
Installer la machine à coudre sur une surface de travail plane et stable.
En cours d'utilisation, les orifi ces d'aération ne doivent pas être obstrués : veiller à ce qu'aucun objet (p. Ex. poussière, bribes de fi I, etc.) ne pénètre dans les ouvertures.
Utiliser uniquement les accessoires fournis.
Pour la lubrifi cation, utiliser uniquement des huiles spéciales pour machine à coudre. N'utiliser aucun autre liquide.
Manipuler avec prudence les pièces mobiles de la machine, en particulier l'aiguille. Des risques de blessures subsistent même lorsque la machine est débranchée !
Pendant la couture, veiller à ce les doigts ne se trouvent jamais sous la vis du porte-aiguille.
Ne pas utiliser d'aiguilles déformées ou épointées.
Au cours de la couture, ne pas retenir le tissu ni le tirer. Les aiguilles pourraient se casser.
Une fois l'ouvrage de couture terminé, toujours placer l'aiguille sur la position la plus haute.
Nettoyage et stockage
Avant le nettoyage, veiller à débrancher la fi che secteur de la prise de courant. Pour nettoyer l'appareil, utiliser un tissu sec et doux. Éviter les solvants et produits d'entretien chimiques qui risqueraient d'endommager la surface et/ou les inscriptions de l'appareil.
Pour le stockage, toujours recouvrir la machine à coudre du couvercle fourni afi n de protéger la machine de la poussière.
APPRENEZ À CONNAÎTRE VOTRE APPAREIL
Contenu de l'emballage
Au cours du déballage, s'assurer que les éléments suivants ont bien été livrés :

1) Machine à coudre
2) Table-rallonge avec boîte d'accessoires
3) Pédale
Pi ces suivantes sans illustration
- Couvercle
- Mode d'emploi et documents relatifs à la garantie
Contenu de la boîte d'accessoires

1) Pied standard (point droit/zigzag) (monté)
2) Pied-de-biche pour fermetures à glissière
3) Pied-de-biche pour boutonnières
4) Canettes de rechange (3 pièces)
5) Feutre pour porte-bobine (2 pièces)
6) Porte-bobines (2 unités)
7) Plaque à repriser
8) Assortiment d'aiguilles
9) Tournevis pour plaque à aiguille
10) Tournevis (petit)
11) Tournevis (grand)
12) Couteau à dé coudre
Branchements électriques
L'interrupteur de courant allume aussi bien la machine que la lampe de la machine à coudre. Insérer le connecteur de la pédale fournie dans le boîtier de la fi che de la machine puis la fi che secteur dans la prise de courant.
Utiliser uniquement la pédale de type KD 2902 fournie.
Après l'ouvrage ou avant toute opération de maintenance, toujours arrêter la machine et débrancher la fi che secteur de la prise de courant.

Stabilité de la machine à coudre
Le pied réglable (17) permet d'ajuster la stabilité de la machine à coudre.
▶ Faire tourner le pied réglable vers la droite pour le pivoter vers le bas, ou vers la gauche pour le pivoter vers le haut.
▶ Ajuster le pied de telle manière que la machine à coudre soit bien droite sur le plan de travail et non bancale.

Commande de la vitesse de couture
La vitesse de couture est commandée à l'aide de la pé-dale. La vitesse de couture peut être modifiée en exerçant une pression plus ou moins importante sur la pédale.

Mettre en place et retirer la table-rallonge
Lors de sa livraison, la machine est dotée d'une table de travail. L'intérieur de la table rallonge est creux et peut être utilisé pour ranger la pochette à accessoires.
Pour retirer la table-rallonge, la faire coulisser avec précaution vers la gauche.
Pour mettre en place la table-rallonge, placer la table-rallonge avec précaution contre la machine et la faire coulisser vers la droite jusqu'à ce que vous l'entendiez s'enclencher.

Embobiner la canette de fil inférieur
Les canettes de fi l inférieur se laissent embobiner rapidement et facilement avec la machine à coudre.
Pour cela, passer le fi I de la bobine à travers le guide-fi I jusqu'à la canette.
Pour la procédure à suivre exacte pour l'embobinage, se reporter aux points suivants :

Pour que l'aiguille reste en place lors de l'embobinage, positionnez le commutateur du volant à main (10) sur le symbole de l'embobinage.
▶ Retirer intégralement l’un des porte-bobines (7) et y glisser une bobine.
▶ Passer maintenant le fil de la bobine à travers le guide-fi I, comme indiqué sur l'illustration. Faites passer le fi I de l'avant vers l'arrière à travers le guide-fi I de manière à ce que le fi I se croise.

▶ Passer l'extrémité du fi I par l'orifi ce de la canette, comme indiqué sur l'illustration, et enrouler manuellement de quelques tours le fi I sur la canette.
Placer la canette sur le fuseau de la canette (8) de manière à ce que l'extrémité du fi I se situe en haut de la canette. Faire tourner le fuseau de la canette (8) vers la droite contre la butée de la canette (9) jusqu'à ce que vous l'entendiez s'enclencher.
▶ Tenir l'extrémité du fil et actionner la pédale. D s que l'embobinage a été amorcé au niveau de la canette, relâcher l'extrémité du fi I. Embobiner jusqu'à ce que le fuseau de la canette (8) s'arrête automatiquement.
▶ Faire tourner le fuseau de la canette (8) vers la gauche et retirer la canette.

- Repositionnez le commutateur du volant à main sur le symbole de l'aiguille. L'aiguille se déplace à nouveau lorsque la pédale est actionnée.

text_image
eSi la répartition du fi l s'effectue irrégulièrement lors de l'embobinage, il est possible de régler la hauteur du guide-fi I.
▶ Retirer la vis (B) pour régler la hauteur du guide-fil (A)..

text_image
A B B
Retirer la boîte à canette
▶ Retirer la table-rallonge.
Placer l'aiguille, en faisant tourner le volant à main (10), ainsi que le pied-de-biche sur la position la plus haute et ouvrir le couvercle de la boîte à canette (18), comme indiqué dans l'illustration.
Levier basculant

▶ Ouvrir le levier basculant de la boîte à canette et l'extraire de la machine.

▶ Quand on relâche le levier basculant, la canette sort d'elle-même de la boîte à canette.

text_image
Boîte à canette CanetteCharger le fi l dans la boîte à canette
▶ Tenir la canette entre le pouce et l'index de la main droite et laisser sortir env. 15 cm de fi I.
▶ Tenir la boîte à canette de la main gauche et insérer la canette dans la boîte à canette.

text_image
Fente▶ Passer l'extrémité du fi I dans la fente située au bord de la boîte à canette.
▶ Faire passer le fil sous le ressort tenseur et par l'orifice destiné au fi I. S'assurer qu'env. 15 cm de fi I sortent de la canette.

text_image
Ressort de tensionFR
NL
DE
Insérer la boîte à canette
▶ Tenir la boîte à canette de manière à ce que le doigt de la boîte pointe vers le haut. Ouvrir le levier basculant de la boîte à canette.

text_image
De Doigt Levier basculant- Placer la boîte à canette sur la cheville centrale et pousser avec précaution le boîtier à l'intérieur jusqu'à ce que le doigt de la boîte à canette pénètre dans l'anneau de la coursière.
▶ Relâcher le couvercle et l'appuyer sur la boîte à canette.
▶ Fermer le couvercle de la boîte à canette (18).

text_image
Doigt te. Anneau de la coursière avec ouverture Cheville centraleCharger le fi l supérieur
Prenez le temps de lire attentivement les instructions suivantes, car un non-respect de l'ordre ou de l'enfi lage peut entraîner une rupture du fi I, l'allongement des points et le plissement du tissu.
▶ La représentation schématique du guide-fil est aussi reproduite sur le couvercle frontal (21), s'inspirer aussi de ce schéma. Avant de charger le fi I, placer l'aiguille sur la position la plus haute en tournant le volant à main (10) et lever au maximum le levier du pied-de-biche.
Placer une bobine sur un porte-bobine (7) de manière à ce que le fi I sorte à l'arrière de la bobine.
▶ Tenir la bobine dans la main droite.

text_image
Guide-fil supérieur Levier releveur de fil Bobine Tension du fil supérieur Guide-fil avant Guide-fil interne Aiguille
REMARQUE!
L'illustration est uniquement à titre indicatif, le couvercle frontal ne doit pas être ouvert.
▶ Faire maintenant passer le fil à travers le guide-fil supérieur (3), comme indiqué.
▶ Faire ensuite passer le fil entre les disques de tension de la roulette de réglage de la tension du fi l supérieur (2), comme indiqué.

Une tension du fi l supérieur de 3 est idéale pour la plupart des utilisations.

▶ Faire passer le fil vers le haut à travers le guide-fil avant, le ressort de guidage interne est alors automatiquement poussé vers le haut.

Enfi ler ensuite le fi l de droite à gauche à travers le crochet du levier releveur de fi l (1).

REMARQUE
Faire éventuellement tourner le volant à main (10) pour relever le levier releveur du fi l jusqu'en haut.

Faire maintenant de nouveau passer le fil vers le bas en direction de l'aiguille, il est alors placé par le guide-fi I interne et le guide-fi I du porte-aiguille.
Enfi ler maintenant le fi l d'avant en arrière dans le trou et laisser sortir du chas environ 10 cm de fi l.

Remonter le fi l inférieur
Placer le pied-de-biche (26) en position haute.
Faire tourner le volant à main (10) vers soi de la main droite, jusqu'à ce que l'aiguille se déplace vers le bas, puis à nouveau vers le haut.
Arrêter le volant à main (10) d s que l'aiguille a atteint la position la plus haute.
Tenir l'extrémité du fi I supérieur dans la main gauche. Tirer le fi I supérieur légèrement vers le haut, de manière à ce que le fi I inférieur forme une boucle.

text_image
Fil supérieur Fil inférieur▶ Tirer env. 10 cm des deux fils vers l'arrière sous le pied-de-biche (26).

text_image
Fil supérieur Direction du fil Fil inférieurRÉGLAGES
Réglage de la tension du fi l
Si le fi l casse au cours de la couture, cela signifi e que la tension du fi l est trop forte.
Si de petites boucles se forment pendant la couture, la tension du fi l est trop faible.
Dans les deux cas de fi gure, la tension du fi l doit être réglée.
Pour ce faire, la tension du fi l supérieur et celle du fi l inférieur doivent être proportionnées l'une par rapport à l'autre.
Régler la tension du fil supérieur
La tension est générée par les disques par lesquels passe le fi I. La pression sur ces disques est réglée par la roulette de réglage de la tension du fi I supérieur (2).
Plus le nombre est élevé, plus la tension est forte.

REMARQUE :
Une tension du fi l supérieur de 3 convient pour la plupart des travaux de couture.
La tension du fi l supérieur est activée uniquement si le pied-de-biche a été abaissé.
Il existe plusieurs causes obligeant à régler la tension. Selon la nature du tissu, p. Ex., la tension doit être plus ou moins forte.
La tension nécessaire dépend de la résistance et de l'épaisseur du tissu, du nombre d'épaisseurs à coudre et du type de point choisi.
Veiller à ce que la tension du fi l supérieur soit égale à celle du fi l inférieur, le tissu pourrait sinon se plisser.
Avant tout ouvrage de couture, nous conseillons de faire un essai sur une chute de tissu.


Régler la tension du fi l inférieur
La tension du fi l inférieur doit rarement être ajustée puisqu'elle est déjà réglée par le fabricant pour les travaux de couture courants.
Si vous parvenez à faire sortir légèrement le fi I de la canette avec une petite résistance, cela signifi e que la tension du fi I inférieur de la canette est correctement réglée.
Le fi l inférieur doit toutefois être réglé pour les tissus particulièrement fi ns ou très épais.

text_image
Points irréguliers Points réguliersPour modifier le réglage de la tension du fil inférieur, utiliser la vis de réglage de la boîte à canette. Pour effectuer le réglage, utiliser le petit tournevis fourni.
Retirer la boîte à canette :
Tension inférieure :
Tourner la vis dans le sens contraire des aiguilles d'une montre.
Tension supérieure :
Tourner la vis dans le sens des aiguilles d'une montre.
Vérifi er la tension du fi l inférieur
La fa on la plus simple de vérifi er la tension du fi l inférieur consiste à coudre un point zigzag moyen sur le tissu à coudre.
Pour ce faire, utiliser l'aiguille et les fi ls prévus.
L'utilisation de fils de couleurs différentes pour les fils supérieur et inférieur donne un résultat d'autant plus net.
Coudre maintenant quelques points zigzag.
La tension du fi I est correcte lorsque le fi l inférieur n'est pas visible sur l'endroit du tissu.
Veiller à toujours coudre des points réguliers (voir illustration à gauche.).

La tension du fi I supérieur et inférieur est correctement réglée lorsque les circonvolutions des fi ls se situent au milieu du tissu.
Le tissu reste lisse et ne forme aucun pli.
Coutures incorrectes
Le fi l supérieur est trop tendu et tire le fi l inférieur vers le haut. Le fi l inférieur apparaît sur le pli supérieur du tissu.
Solution :
Réduire la tension du fi l supérieur en tournant la roulette de réglage de la tension du fi l supérieur (2) sur un chiffre inférieur.
Le fil supérieur est trop lâche. Le fil inférieur tire le fil supérieur vers le bas. Le fi I supérieur apparaît sur l'envers du pli du tissu.
Solution :
Augmenter la tension du fi I supérieur en tournant la roulette de réglage de la tension du fi I supérieur (2) sur un chiffre supérieur.
Dans les deux cas de coutures incorrectes, ajuster éventuellement aussi la tension du fi l inférieur.




COUDRE
Génér alités
Allumer l'interrupteur principal (13).
Lors de tout changement du type de point, toujours placer l'aiguille sur la position la plus haute. Glisser le tissu suffi samment loin sous le pied-de-biche (26). Laisser les fi ls supérieur et inférieur dépasser d'environ 10 cm vers l'arrière.
Abaisser le levier du pied-de-biche (15). Tout en retenant le fi I de la main gauche, tourner le volant à main (10) vers soi et placer l'aiguille à l'endroit du tissu où l'on veut commencer à coudre.
Appuyer sur la pédale – plus la pédale est enfoncée, plus la machine fonctionne vite. Pendant la couture, diriger le tissu doucement de la main. Coudre quelques points en marche arrière en utilisant la navette marche arrière (12) afi n de fi xer les premiers points de couture.
CONSEIL
Si vous n' tes pas sûr que, p. Ex., la tension du fi l ou le type de point soit correct, testez les réglages sur un échantillon de tissu.
Le tissu avance automatiquement sous le pied-de-biche (26) : ne pas le retenir ou le tirer avec les mains, mais seulement le guider légèrement afi n que la couture suive la direction souhaitée.
Chois ir la bonne aiguille
Le chiffre indiquant la grosseur de l'aiguille fi gure sur la tige.
Plus le chiffre est élevé, plus l'aiguille est grosse.

N'utiliser en aucun cas une aiguille déformée ou épointée. Vous pourriez endommager le tissu.


Soulever et abaisser le pied-de-biche
En levant ou en abaissant le levier du pied-de-biche (15), le pied-de-biche (26) monte ou descend en fonction du mouvement.
Pour coudre un tissu épais, le pied-de-biche (26) peut être légèrement soulevé d'un espace supplémentaire.

Cet accessoire sert de protection si la main devait glisser accidentellement sous l'aiguille.

Couture en marche arrière
▶ Utiliser la couture en marche arrière pour renforcer le début et la fi n d'une couture. Pousser la navette marche arrière (12) vers le bas et la maintenir appuyée.
- Appuyer sur la pédale – plus la pédale est enfoncée, plus la machine fonctionne vite.
▶ Si vous souhaitez repasser à la marche avant, relâchez la navette marche arrière (12).

Retir er le tissu de la machine à coudre
Une fois l'ouvrage de couture terminé, l'aiguille doit toujours se trouver sur la position la plus haute. Pour retirer le tissu, lever le pied-de-biche (26) et tirer le tissu vers l'arrière.
Changement de direction de la couture
▶ Si vous souhaitez modifi er la direction de la couture aux coins du tissu à coudre, procédez comme suit :Arrêter la machine et tourner le volant à main (10) vers soi aussi loin que possible, jusqu'à ce que l'aiguille se trouve dans le tissu.
▶ Lever le pied-de-biche (26).
▶ Faire pivoter le tissu autour de l'aiguille afi n de le positionner dans la direction souhaitée.
▶ Abaisser le pied-de-biche (26) et poursuivre la couture.

text_image
aux si-Couper le fi l
Couper le fi l avec le coupe-fi l situé à l'arrière du pied-de-biche (21) ou bien avec des ciseaux. Laisser sortir du chas env. 15 cm de fi l.

Bouton de sélection du programme
Cette machine à coudre vous propose différents points traditionnels et décoratifs. Le bouton de sélection de programme (8) permet de régler facilement le motif de point souhaité.
- Avant tout changement de point, toujours s'assurer que l'aiguille se trouve sur la position la plus haute.
▶ Tourner le bouton de sélection du programme de fa on à ce que le type de point souhaité se situe au niveau du repère.

CONSEIL
Si la machine ne coud pas conformément au programme de couture sélectionné, faire un tour complet au bouton de sélection du programme (6); retourner ensuite sur le type de point souhaité.

text_image
0 0,5 1 2 3 4 3/2 1.0Régla ge de la longueur du point
- Le règle-point (11) permet de choisir la longueur du motif de point utilisé. Faire tourner le règle-point de manière à ce que le chiffre de la longueur de point souhaitée se situe au niveau du repère. - Les chiffres représentent la longueur approximative des points exprimée en millimètres.
Plus le chiffre est bas, plus le point est court.

Réglage de la largeur de point
Vous pouvez régler la largeur d'un point zigzag ou d'un modèle de point à l'aide du régulateur de largeur de point (4) zigzag.
▶ Réglage 0 : Point droit.
Réglage 1-5 : Largeurs différentes de points modèles.

ATTENTION!
Lorsque vous utilisez la double aiguille, utilisez une largeur de point maximale de 3. Un réglage supérieur pourrait briser les aiguilles.
Types de point (programmes)
Les types de point sont réglés avec le bouton de sélection du programme (8). Avant tout changement du type de point, toujours veiller à ce que l'aiguille se trouve sur la position la plus haute.
Procéder à une couture d'essai sur un échantillon de tissu avant d'utiliser un programme de point.
REMARQUE :
Pour mettre en place et retirer le pied-de-biche, lire page 33.
Point droit
Convient pour les travaux de couture courants et le sur piquage.
Pied-de-biche : ...... pied standard
Programme : ...... A
Longueur du point : ...... 1 à 4
Largeur de point: 0

Point zigzag
Le point zigzag est l'un des types de point les plus utilisés. Il permet de nombreuses utilisations, p. Ex. ourler, coudre des applications et monogrammes.
Avant d'utiliser le point zigzag, coudre quelques points droits afi n de renforcer la couture.
Pied-de-biche : ...... pied standard
Programme : ...... A
Longueur du point : 0,5 à 4
Largeur de point: 1 à 5

CONSEILS POUR LE POINT ZIGZAG
Pour obtenir de meilleurs points zigzag, la tension du fi l supérieur doit être plus lâche que pour la couture de points droits.
Le fi l supérieur doit être légèrement visible sur l'envers du tissu.


On appelle point satin un point zigzag très serré, spécialement adapté aux applications, monogrammes et différents points décoratifs.
Sélection du programme comme avec point zigzag normal.

Pied-de-biche : ...... pied standard
Programme : ...... A
Longueur du point : 0,5 à 2
Largeur de point: 1 à 2

CONSEIL
Lorsque vous utilisez ce point, vous devez constamment veiller à ce que la tension du fi l supérieur soit légèrement relâchée. Plus le point est large, plus la tension du fi l supérieur doit être lâche. Pour la couture de tissus très fi ns ou souples, placer un papier fi n sous le tissu et le coudre avec le tissu. Cela évite un allongement des points et un fronçage du tissu.
Zigzag à trois points
Ce type de point permet de surfi ler les bords effi lochés.
Pied-de-biche : ......pied standard
Programme : ...... B
Longueur du point : 1 à 3
Largeur de point: 3-5
Ourlet aveugle inversé
Ce type de point permet de surfi ler les bords.
Pied-de-biche : ......pied standard
Programme : ...... C
Longueur du point : 1 à 3
Largeur de point: 3-5
Point invisible
Pour ce que l'on appelle les ourlets invisibles.
Pied-de-biche : ...... pied standard
Programme : ...... D
Longueur du point : 1 à 3
Largeur de point: 5
Utiliser une couleur de fi l à coudre s'accordant parfaitement à l'étoffe.
Avec des tissus très fi ns ou transparents, utiliser un fi l de nylon transparent.
▶ Plier le tissu comme indiqué sur l'illustration.
▶ Coudre sur le pli comme indiqué. Les points droits doivent se situer sur l'ourlet, et les pointes des points zigzag doivent à chaque fois piquer exclusivement dans le pli supérieur du tissu.
▶ Retirer maintenant le tissu de la machine et l'étaler bien à plat.
Le tissu déplié dévoile à présent un point d'ourlet invisible.

flowchart
graph TD
A["Document Image"] --> B["Checkmark"]
B --> C["Final Output"]


Point élastique:
Triple point stretch droit et triple point zig zag
Utilisez les types de points pour coudre des tissus élastiques ou du tricot, pour coudre des bandes élastiques, etc.
Le triple point stretch droit produit une couture à point droit particulièrement solide, p. Ex. pour les entrejambes de pantalon, l'insertion de manches, le coutil à matelas, etc. Elle est trois fois plus résistante qu'une couture classique et aussi beaucoup plus extensible. On peut donc étendre cette couture avec le tissu sans que le fi I ne casse. Pied-de-biche : ....... pied standard Programme : ....... E Longueur du point : .......4 Largeur de point: ....... 0 à 5

Coudre tous les types de tissu élastique
Utiliser un fi l synthétique. La couture sera ainsi quasiment invisible.
Assembler par couture deux pi ces de tissu (déchirures)
Le point élastique permet d'assembler proprement deux pi ces de tissu.
Placer le bord de chacun des deux tissus sous le pied-de-biche. Veiller à ce que les deux bords ne s'éloignent pas l'un de l'autre et que l'aiguille pique régulièrement à gauche et à droite dans le tissu.

Coudre des élastiques
Placer l'élastique à l'endroit souhaité.
Coudre l'élastique à l'aide du point élastique, tout en maintenant des mains la bande tendue devant et derrière le pied-de-biche. Plus la tension est forte, plus le fronçage sera serré.

Le point losange est utilisé dans de nombreux cas de figure et est décoratif, p. Ex. pour coudre de la dentelle ou des élastiques ou encore pour faire de la couture sur du stretch et d'autres matières élastiques.
Pied-de-biche : ........ pied standard Programme : ........ F Longueur du point : ........ 4 Largeur de point: ........ 5 Pour effectuer une couture en losange, tenir compte de ce qui suit :
Froncer régulièrement le tissu à coudre.
Placer une mince bande de tissu sous la fronce et la coudre avec le point losange.
Terminer l'ouvrage de couture en losange avant d'intégrer la partie ainsi décorée à l'ensemble du vêtement. Vous pouvez obtenir le même résultat avec des tissus très fi ns en enroulant un fi l élastique sur la canette.


Point Overlock élastique
Ce point est particulièrement adapté à la couture du jersey et des vêtements de jogging ainsi que pour raccommoder. Ce point est aussi décoratif qu'utilitaire. Il se compose de lignes latérales et transversales et est totalement élastique
Pied-de-biche : ...... pied standard
Programme: G
Longueur du point : 4
Largeur de point: 5

Placer le bord du tissu sous le pied-de-biche de fa on à ce que l'aiguille subissant une déviation à droite couse un point droit, tout en restant en contact avec le bord du tissu de manière à coudre un point zigzag avec la déviation à gauche.
Point fantaisie
Les programmes H à R offrent une multitude de points ornementaux.
Pied-de-biche : ...... pied standard
Longueur du point programmes H à K: 4
Longueur du point programmes L à R: ......0,25 bis 1
Largeur de point: 5


Le point feston (programme N), par exemple, est idéal pour coudre des motifs décoratifs de nappes, serviettes, cols, manchettes, etc.

Pour déterminer la longueur de fi l adéquate, il est conseillé de coudre un motif de boutonnière sur un reste de tissu.

Pied-de-biche : ....... Pied-de-biche pour boutonnières Programme : ....... S à U Longueur du point : ....... 0,25 à 1 Largeur de point:: ....... 5

- Placer le pied-de-biche et l'aiguille sur la position la plus haute. Remplacer le pied-de-biche par le pied-de-biche pour boutonnières.
- Sur le tissu, marquer l'endroit où la boutonnière doit être cousue ainsi que la longueur de boutonnière souhaitée ; utiliser un crayon ou une craie de tailleur.

▶ Avec le bouton de sélection du programme (6), choisi le programme S pour coudre l'arrêt de couture.
Faire passer le fi l supérieur par l'orifi ce du pied-de-biche pour boutonnières et tirer les deux fi ls, supérieur et inférieur, sur l'envers. Descendre le pied-de-biche et coudre lentement sur la longueur souhaitée jusqu'à l'arrêt de couture latéral.
▶ Relever l'aiguille sur la position la plus haute et passer au programme T pour l'arrêt de couture inférieur.
▶ Coudre ensuite quelques points d'arrêt inférieur.


▶ Relever de nouveau l'aiguille sur la position la plus haute et passer au programme U pour l'arrêt de couture droit.
▶ Coudre maintenant l'arrêt de couture droit exactement sur la même longueur que pour le côté gauche.


- Placer l'aiguille sur la position la plus haute et choisir de nouveau le programme U pour l'arrêt de couture supérieur.
▶ Coudre alors, comme pour l'arrêt de couture inférieur, également l'arrêt de couture supérieur avec quelques


Pour terminer, il est conseillé de placer la longueur du point sur “0 ,” et de coudre encore quelques points afi n que les fi ls soient mieux noués et que la boutonnière ne s'effi loche pas.
▶ Ouvrir enfi n le tissu entre les coutures à l'aide du cou-teau à découdre fourni. Exécuter cette opération avec précaution afi n de ne pas endommager les points d'ar-rêt.

CONSEIL
Afi n de ne pas couper l'arrêt de couture supérieur, il est conseillé de piquer une épingle devant l'arrêt de couture.
Insérer des fermetures à glissière
Pied-de-biche : ....... Pied pour fermeture à glissière Programme: ....... A Longueur du point: ....... 1 bis 4 Largeur de point: ....... 0 Selon le côté de la bande de la fermeture qui est cousu, le pied-de-biche doit toujours reposer sur le tissu.
C'est pourquoi le pied-de-biche est fi xé soit sur le côté droit soit sur le côté gauche et non pas au centre comme avec les autres pieds-de-biche.

Placer le pied-de-biche et l'aiguille sur la position la plus haute afi n de remplacer le pied-de-biche.
▶ Faufiler la fermeture à glissière sur le tissu et positionner l'ensemble sous le pied-de-biche.
Pour coudre l'endroit de la fermeture à glissière, fixer le pied-de-biche pour fermetures à glissière de manière à ce que l'aiguille couse l'envers (1).
▶ Coudre l'endroit de la fermeture à glissière de fa on à ce que la couture passe le plus près possible des dents. (1)
▶ Coudre la fermeture à glissière à environ 0,5 centimètre en dessous des dents avec une barrette.
Pour coudre l'envers de la fermeture à glissière, changer la position du pied au niveau du support du pied-de-biche.
Procéder de la même fa on que pour la couture de l'endroit de la fermeture à glissière (2).
- Avant que le pied n'atteigne la fermeture zip de la bande de la fermeture à glissière, soulever le pied et ouvrir la fermeture à glissière tandis que l'aiguille reste dans la mati re. (3)

text_image
Bande de fermeture à glissière Dents Fermeture zip ① ②
text_image
Fermeture zip tre DentsCoudre des cordelettes
Le pied-de-biche pour fermetures à glissière permet aussi de coudre facilement des cordelettes, comme indiqué dans l'illustration.
Rabattre une fois le tissu de manière à former un tun de cordelette, puis coudre le long de la cordelette, à l'occasion de quoi le pied-de-biche pour fermetures à glissière doit se trouver derrière la cordelette.

text_image
Tunnel de meldrelette Couture Cordelette
text_image
Plaque à repriser Plaque à aiguille
Monter la plaque à repriser
Pour certains travaux de couture, p. Ex. coudre des boutons, crochets, œillets ainsi que pour repriser ou broder, il est nécessaire que le transport automatique du tissu à coudre soit désactivé et que, au contraire, vous puissiez vous-même contrôler le transport du tissu.
Dans ces cas, vous devez monter la plaque à repriser fournie avec les accessoires.
▶ Relever tout d'abord le levier du pied-de-biche (15) et placer l'aiguille sur la position la plus haute en tournant le volant à main (10).
Pousser à présent les deux chevilles de la plaque à repriser dans les ouvertures correspondantes de la plaque à aiguille (19) jusqu'à ce qu'elles s'enclenchent, comme indiqué sur les illustr. 1 et 2.
Pour retirer à nouveau la plaque à repriser, il suffit de soulever les coins.
Repriser
▶ Retirer le support du pied-de-biche et choisir la tension du fi l inférieur normale.
La tension du fi l supérieur doit être un peu plus lâche que la normale.
Pied-de-biche:.... Pas de pied-de-biche Programme:.... A
Longueur du point: ....1 bis 4 Largeur de point: ....0
Si nécessaire, il est possible de placer aussi un morceau de tissu sous l'endroit abîmé.
- Positionner l'ouvrage sous l'aiguille et abaisser le levier du pied-de-biche (15) afi n que la tension du fi I de-vienne effi cace.
- Commencer à coudre lentement en faisant avancer et reculer lentement le tissu de la main.
Répéter la procédure jusqu'à ce que l'endroit abîmé soit totalement recouvert de points parallèles. - Si nécessaire, il est possible – comme avec le raccommodage manuel – de repriser encore une fois par-dessus en travers.

CONSEIL
Au cours du reprisage, le tissu doit être bien tendu. Si l'endroit abîmé est étendu, il est conseillé de placer le tissu sur un cadre à broder (disponible dans le commerce spécialisé).
Broder
Généralités
Retirer le support du pied-de-biche, monter la plaque à repriser et choisir la tension du fi l inférieur normale.
La tension du fi l supérieur doit être réglée si lâche que le fi l inférieur ne puisse être tiré sur l'endroit du tissu.
- Placer le tissu sur un cadre à broder (disponible dans le commerce spécialisé).
- Abaisser le pied-de-biche pour que la tension de fil devienne effi cace.
▶ Retenir le cadre à broder d'une main pendant la couture du motif choisi. Ne pas déplacer le tissu, mais toujours le cadre à broder.
PRUDENCE!
Ne pas approcher les doigts trop près de l'aiguille. Risque de blessure !
CONSEIL
Nous vous conseillons de dessiner le motif de broderie souhaité sur l'endroit du tissu à l'aide d'un crayon ou d'une craie de tailleur (disponible dans le commerce spécialisé).

Coudre avec une double aiguille
La double aiguille est disponible dans les magasins spécialisés bien achalandés. Lors de l'achat, bien vérifi er que l'écart entre les deux aiguilles ne dépasse pas 2,5 mm.
La double aiguille permet de réaliser de superbes motifs bicolores en utilisant pour coudre des fi ls de différentes couleurs.

REMARQUE
Utilisez seulement le point droit ou le point zigzag avec la double aiguille.
Utilisez une largeur de point maximale de 3.

Avec d'autres programmes ou une largeur de point supérieure, les aiguilles peuvent se fausser ou se briser.
▶ Mettre en place la double aiguille comme s'il s'agissait d'une aiguille simple (voir page 32).
▶ Placer sur les porte-bobines amovibles (7) deux bobines comportant chacune la même longueur de fi I.
▶ Bien s'assurer d'avoir placé sur les deux porte-bobines (7) les deux disques en feutre fournis avec les accessoires.

text_image
0 1 2 3 4
▶ Enfi ler les deux fi ls dans le porte-fi I, comme pour une aiguille simple.
Au niveau des disques de réglage de la tension du fi l supérieur, faire passer les deux fi ls par les disques, veiller à ce qu'un fi l passe à droite du disque central et l'autre, à gauche du disque.
▶ Faire passer les deux fils par le guide-fil.
▶ Enfi ler un fi I dans le trou droit et un fi I dans le trou gauche de la double aiguille.

REMARQUE
Pour coudre un coin avec la double aiguille, faire sortir l'aiguille du tissu pour ne pas risquer de casser ou de déformer la double aiguille.
Coudre avec le bras libre
Le bras libre (16) permet de coudre plus facilement des articles tubulaires, cette fonction est très utile p. Ex. pour la couture de manches ou de jambes de pantalon.
Votre machine à coudre peut être très facilement transformée en une machine à bras libre, il suffi t pour cela de retirer de la machine la table-rallonge avec la boîte d'accessoires.
Le bras libre (16) est particulièrement utile pour les travaux de couture suivants :
- Raccommodage de coudes et genoux des vêtements.
- Couture de manches, en particulier sur des vêtements plus petits.
- Applications, broderies ou ourlets des bords, manchettes ou jambes de pantalon.
- Possibilité de coudre des ceintures aux jupes ou pantalons.

Avant toute opération de maintenance, de nettoyage ou de remplacement, toujours arrêter la machine et débrancher la prise de courant.

Remplace ment de la lampe de la machine à coudre
L'interrupteur principal (13) permet d'allumer ou d'éteindre la lampe de la machine à coudre.
Pour ouvrir le couvercle frontal, desserrez la vis au milieu du cache frontal à l'aide du tournevis fourni.
▶ Puis tirez le couvercle frontal vers l'avant.
▶ Remplacer maintenant la lampe.
▶ Repoussez le couvercle frontal dans sa position initiale jusqu'à ce qu'il s'enclenche distinctement et fi xez-le en resserrant la vis.

REMARQUE
La puissance maximale autorisée de la lampe est de 15W. Les ampoules sont disponibles dans le commerce spécialisé.
Remplacer l' aiguille
▶ Faire tourner le volant à main (10) vers soi jusqu'à ce que l'aiguille se trouve sur la position la plus haute.
▶ Retirer la vis du porte-aiguille en la faisant tourner vers soi.
▶ Retirer l'aiguille du porte-aiguille.
Placer la nouvelle aiguille, le côté plat vers l'arrière. Pousser l'aiguille vers le haut jusqu'à la butée.
▶ Resserrer la vis du porte-aiguille.

text_image
Barre à aiguille Vis du porte-aiguille Tendre Desserrer Côte plat vers l'arrièreREMARQUE :
Les aiguilles sont disponibles dans le commerce spécialisé. Pour les informations sur la désignation du modèle et la puissance, se reporter au tableau des combinaisons tissu, fi l et aiguille à la page 42.

Retirer et mettre en place le pied-de-biche
Retirer
▶ Faire tourner le volant à main (10) vers soi jusqu'à ce que l'aiquille se trouve sur la position la plus haute.
- Soulever le pied-de-biche en poussant vers le haut le levier du pied-de-biche (15).
En poussant vers le haut le levier de déclenchement du pied-de-biche, derrière le support du pied-de-biche, le pied-de-biche retombe.

- Placer le pied-de-biche de manière à ce que la cheville soit positionnée sur le pied, directement sous la rainure du support du pied-de-biche. Abaisser le levier du pied-de-biche (15).
- Appuyer maintenant le levier de déclenchement du pied-de-biche vers le haut. Le pied-de-biche s'en-clenche alors automatiquement.

Retirer et mettre en place le support du pied-de-biche
Le support du pied-de-biche n'a pas besoin d'être retiré, sauf pour raccommoder, brider ou faciliter le nettoyage des griffes d'entraînement (27).
Retirer
- Placer l'aiguille sur la position la plus haute en faisant tourner vers soi le volant à main (10) et pousser le levier du pied-de-biche (15) vers le haut.
▶ Retirer le pied-de-biche du support du pied-de-biche et desserrer la vis du support du pied-de-biche à l'aide du tournevis fourni.

- Placer l'aiguille sur la position la plus haute en faisant tourner vers soi le volant à main (10) et pousser le levier du pied-de-biche (15) vers le haut.
Lors de la mise en place du support du pied-de-biche, le pousser aussi loin que possible vers le haut et serrer la vis du support du pied-de-biche à l'aide du tournevis fourni.

Entretien de la machine à coudre
La machine à coudre est un produit mécanique de précision qui nécessite un entretien régulier pour pouvoir fonctionner correctement.
Vous pouvez vous occuper personnellement de cet entretien.
L'entretien signifi e avant tout :Nettoyage et lubrifi cation.
REMARQUE
Pour la lubrifi cation, utiliser uniquement des huiles spéciales pour machine à coudre de qualité supérieure, les autres huiles ne sont pas adaptées.
Après la lubrifi cation, veiller à ce qu'aucun résidu d'huile ne se trouve dans l'appareil. Pour éliminer ces résidus, coudre quelques points sur un échantillon ou une chute de tissu. Cela permet d'éviter de salir le tissu à coudre.
Nettoyage du boîtier et de la pédale
Avant le nettoyage, débrancher la fi che secteur de la prise de courant.
Pour nettoyer le boîtier et la pédale, utiliser un chiffon sec et doux. Éviter les solvants et produits d'entretien chimiques qui risqueraient d'endommager la surface et/ou les inscriptions de l'appareil.
Nettoyage des griffes d'entraînement
Pour garantir une couture parfaite, il est nécessaire que les griffes d'entraînement du tissu soient toujours propres.
▶ Retirer l’aiguille et le pied-de-biche (voir page 32 f.).
▶ Ouvrir la vis de la plaque à aiguille (19) afin de retirer la plaque de la machine.
▶ Enlever la poussière et les bribes de fil des griffes d'entraînement à l'aide d'une brosse.
▶ Remettre en place la plaque à aiguille (19).


text_image
Anneau de la coursière GriffeNettoyage et lubrification du boîtier de la canette
Amener l'aiguille sur la position la plus haute, sinon la griffe ne peut pas être retirée.
▶ Retirer la boîte à canette.

text_image
Anneau de la coursièreFaire pivoter vers l'extérieur les leviers à ressort, comme indiqué, et enlever l'anneau de la coursière.

text_image
Griffe▶ Retirer la griffe en retenant le tenon au centre de la griffe.
▶ Enlever toutes les impuretés de l'anneau de la coursière et huiler les pi ces avec un chiffon.

▶ Verser une à deux gouttes d'huile sur la coursière de la canette, comme indiqué.

▶ Assembler de nouveau le tout dans l'ordre inverse du démontage.
Lubrifi cation de la machine
REMARQUE
Votre machine à coudre est huilée à l'usine et prête à être utilisée.

Lubrifi cation de la partie située derrière le couvercle de la machine
Les éléments à huiler sont indiqués par une fl èche sur l'illustration. Avant la lubrifi cation, ces éléments doivent être nettoyés. Verser sur ces éléments une ou deux gouttes d'une huile pour machine à coudre de bonne qualité.

Si la machine ne fonctionne plus correctement suite à une longue période d'inutilisation, faire tourner rapidement la machine huilée, couvercle frontal (21) fermé, pendant environ une minute.
Ne pas oublier de coudre d'abord sur une chute de tissu pour éponger l'huile pouvant éventuellement s'échapper.
CONSEIL
En cas d'utilisation fréquente, cette partie de la machine doit être huilée plus souvent.


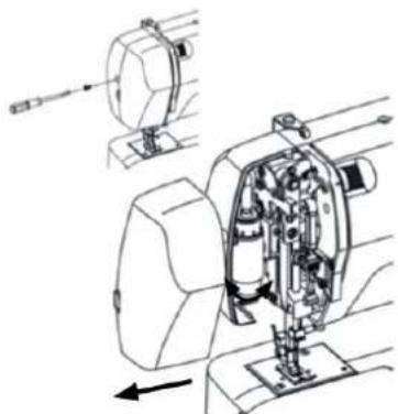
Démontage du couvercle arrière du boîtier REMARQUE!
La section suivante décrit la lubrifi cation de la mécanique de la machine à coudre, celle-ci ne doit pas être exécutée par le client fi nal. S'il devait toutefois s'avérer nécessaire de lubrifi er une nouvelle fois la mécanique, adressez-vous à notre centre de service après-vente ou à un autre atelier approprié.
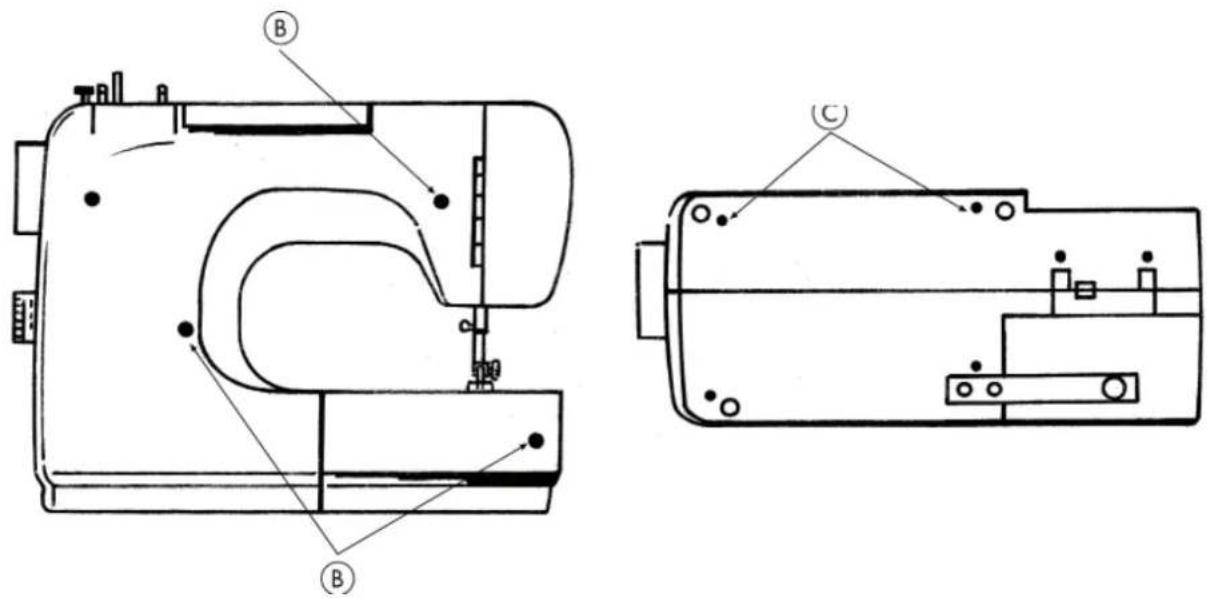
▶ Pousser le levier du pied-de-biche (15) vers le haut, ouvrir le couvercle (21) et desserrer les vis (A).

Comme les vis A, B et C sont différentes, toujours les conserver séparément.
▶ Retirer la table-rallonge et ouvrir le couvercle de la boîte à canette (18).
▶ Retirer intégralement des porte-bobines (7).
▶ Coucher la machine avec l'arrière tourné vers le haut et visser les quatre vis (B) et les deux vis (C) au sol, comme indiqué.

▶ Remettre la machine debout.
Seuls de petits crochets internes en plastique retiennent à présent l'arrière du couvercle.
- Appuyer maintenant avec précaution d'une main vers le bas le bord supérieur du couvercle arrière (là où se trouvent les crochets).
▶ Retirer le couvercle arrière vers l'extérieur.

text_image
Pousser vers le bas Tirer vers l'arrièreLubrifi cation des parties inférieure et supérieure de la machine
Les éléments à huiler sont indiqués par une fl èche sur l'illustration. Avant la lubrifi cation, ces éléments doivent être nettoyés. Verser sur ces éléments une ou deux gouttes d'une huile pour machine à coudre de bonne qualité.
Face supérieure

Les éléments marqués d'une fl èche ne doivent être huilés que rarement, tous les deux à trois mois environ selon la fréquence d'utilisation.
Montage du couvercle arrière du boîtier
▶ Remettre le couvercle arrière en place et veiller à ce qu'il s'enclenche.
▶ Remettre maintenant la machine sur l'avant et resserrer les vis A, B et C.
▶ Fermer le couvercle de la boîte à canette (18) et le couvercle frontal (21).

REMARQUE :
Pour faciliter le montage, toujours veiller à ce que le levier du pied-de-biche (15) se trouve en haut et à ce que le cou-
vercle de la boîte à canette (18) reste ouvert.
FR
NL
DE
PROBLÈMES
En cas de problèmes, veuillez relire les instructions d'utilisation et vérifi er si vous avez respecté toutes les consignes.
Veuillez-vous adresser à notre service Après-vente uniquement si les solutions mentionnées n'ont pas résolu le problème.
| Problème Origine Côté | |||
| La machine se bloque La machine | doit être huilée page 39 | ||
| Des poussières et des fi ls sont coincés dans la coursière | page 38 | ||
| Des résidus se trouvent dans les dents des griffes d’entraînement du tissu | page 37 | ||
| Une mauvaise huile a été utilisée et a engorgé la machine | page 39 | ||
| Le fi l supérieur casse Les fi ls ne sont pas correctement enfi -lés dans la machine | page 14 | ||
| La tension du fi l est trop forte page 17 | |||
| L’aiguille est déformée ou épointée page 19 | |||
| L’aiguille n’est pas adaptée à l’épais-seur du fi l | page 46 | ||
| L’aiguille n’est pas correctement mise en place | page 34 | ||
| Le tissu n’est pas passé en arrière à la fi n de la couture | page 19 | ||
| La plaque à aiguille, la canette ou le pied-de-biche sont endommagés | |||
| Le fi l inférieur se casse Le fi l inférieur s’emmêle à cause d’un mauvais embobinage de la canette | page 10 | ||
| Le fi l inférieur ne se trouve pas dans la boîte à canette, sous le ressort ten-seur | page 10 | ||
| L’aiguille se casse L’aiguille a été mal mise en place page 34 | |||
| L’aiguille est déformée | page 19 | ||
| L’aiguille est trop fi ne | page 46 | ||
| Le tissu a été tiré au cours de la cou-ture | page 19 | ||
| Le fi l comporte un nœud | page 14 | ||
| Avec les doubles aiguilles : la largeur de point doit être supérieure à 3 ou programme spécial utilisé | page 32 | ||
| La machine allonge des points | L'aiguille a été mal mise en place page | 34 | |
| L'aiguille a été mal enfi lée page 19 | |||
| L'aiguille et/ou le fi l n'est pas adapté au tissu | page 46 | ||
| Le tissu est trop épais ou trop dur page | 46 | ||
| Le tissu a été tiré au cours de la cou-ture. | page 19 | ||
| Contraction ou fronçage de la couture | La tension du fi l supérieur est trop forte | page 17 | |
| Le fi l a été mal chargé dans la ma-chine | page 12 | ||
| L'aiguille est trop grosse pour le tissu page 46 | |||
| Le fi l fait des boucles | La tension du fi l n'est pas réglée page 17 | ||
| Le fi l supérieur n'est pas correcte-ment enfi lé et/ou le fi l inférieur n'est pas correctement embobiné | page 14 ou page 16 | ||
| La solidité du fi l ne convient pas au tissu | page 46 | ||
| Le tissu progresse de façon irré-gulière | La longueur du point est réglée sur « 0 « | page 22 | |
| Des bribes de fi l se trouvent dans la coursière | page 38 | ||
| La machine ne fonctionne pas | La machine à coudre n'est pas correc-tement branchée ou la prise de cou-rant n'est pas sous tension | page 9 | |
| Des bribes de fi l se trouvent dans la coursière | page 38 | ||
| Le commutateur sur le volant à main est positionné sur le symbole d'em-bobinage | page 10 | ||
FR
NL
DE
TABLEAU DES COMBINAISONS TISSU, FIL ET AIGUILLE
En règle générale, les fils et aiguilles fins sont utilisés pour la couture de tissus légers, les fils et aiguilles plus épais, pour les tissus lourds. Toujours tester la solidité du fil et de l'aiguille sur une chute du tissu à coudre. Utiliser le même fi I pour l'aiguille et la canette. Si vous voulez coudre sur un tissu fi n ou sur des coutures stretch synthétiques, utilisez les aiguilles dotées d'une tige bleue (disponibles dans le commerce spécialisé). Elles permettent d'éviter l'allongement des points.
| Epaisseur du tissu | Nature du tissu | Fil Aiguille Longueur du point | Tension du fi I supérieur | |||
![]() | ![]() | Point droit Zigzag | ![]() | |||
![]() | ||||||
Tissus fi ns Nylon ![]() | Batiste Voile | 80 Coton | 65 | 1 - 3 1 - 4 | ![]() | |
| Jersey 60 | Synthé-tique | |||||
| Soie 50 | Soie | |||||
| Laine Soie | 50 Soie syn-thétique | 75 | ||||
Tissus peu épais ![]() | Percale Piqué Lin | 60 - 80 Coton | 75 - 90 | 0,5 - 3 0,5 - 4 | ![]() | |
| Jersey 60 | Synthé-tique | 75 | ||||
| Gabardine 50 | Soie | |||||
Tissus épais ![]() | Blue-jeans Tissu cover | 50 Coton | 75 - 90 | 0,5 - 3 0,5 - 4 | ![]() | |
| Jersey 50 | Synthé-tique | |||||
| Laine Tweed | 50 Soie | |||||
RECYCLAGE
Emballage

Votre machine à coudre se trouve dans un emballage la protégeant des risques de dommages liés au transport. Les emballages sont des matières premières et peuvent être recyclés ou réintégrés dans le circuit des matières premières.
Appareil

Lorsque votre machine à coudre arrive en fin de vie, ne la jetez en aucun cas dans une poubelle classique. Informez-vous auprès de votre municipalité des possibilités d'élimination écologique et adaptée.
DONNÉES TECHNIQUES
Machine à coudre
Tension nominale : 230 V \~ 50 Hz
Puissance absorbée : totale 75 W
Moteur: 60 W
Lampe: 15 W
Taille du fi letage: E14
Niveau de pression sonore : 78 dB(A) en conditions de fonctionnement normales
Pédale
Sous réserve de modifi cations techniques !

text_image
CE www.tuv.com TÜV TÜV Rheinland Gasp 1000000000 GS geprüfte SicherheitINDEX DES MOTS-CLÉS
A
Aiguille 19, 34
Anneau de la coursire 38
Assembler par couture des pices de tissu 25
B
Boîte à canette 38
Boîte d'accessoires 8, 10
Boîtier de la canette 38
Bouton de sélection du programme 22
Boutonnèires 27
Bras libre 33
Broder 31
C
Canette de fil inférieur 10
Changement de direction de la couture 21
Charger le fi l dans la boîte à canette 12
Charger le fi l supérieur 14
Commande de la vitesse de couture 9
Contenu de la livraison 7
Coudre des cordelettes 29
Coudre des tissus élastiques 25
Coudre des élastiques 25
Couper le fi l 21
Coursire 38
Couture en marche arrière 20
D
Double aiguille 32
E
Embobiner la canette de fi l inférieur 10
F
Fermetures à glissire 29
G
Griffe 38
Griffes d'entraînement 37
I
Insérer la boîte à canette 13
L
Lampe de la machine à coudre 34
Levier releveur de fi I 15
Pied-de-biche pour boutonnires 8, 27
Pied-de-biche pour fermetures à glissire 8, 29
Plaque à repriser 8, 30, 31
Point droit 23
Point fantaisie 27
Point invisible 24
Point losange 25
Point satin 24
Point zigzag 23
Point élastique 25
Porte-bobine 10, 40
Problèmes 43
Protège-doigts 8, 20
Remonter le fi l inférieur 16
Repriser 30
Retirer la boîte à canette 12
Retirer le pied-de-biche 35, 36
Roulette de réglage de la tension du fi l supérieur 14
Réglage de la largeur de point 22
Réglage de la longueur du point 22
S
Support du pied-de-biche 36
T
Tableau des combinaisons aiguille 45
Tableau des motifs de points 46
Tension du fi l inférieur 17
Tension du fi l supérieur 17
FR
NL
DE
INHOUDSOPGAVE
Reinigen van de transporteur
Reinigen des Transporteurs
Pour nous contacter, merci de vous diriger sur notre site
internet, rubrique "Service et Support".
www.medion.com/be
Notice Facile















