MD 13343 - Naaimachine LIFETEC - Gratis gebruiksaanwijzing en handleiding
Vind de handleiding van het apparaat gratis MD 13343 LIFETEC in PDF-formaat.
Gebruikersvragen over MD 13343 LIFETEC
0 vraag over dit apparaat. Beantwoord die u kent of stel uw eigen vraag.
Stel een nieuwe vraag over dit apparaat
Download de handleiding voor uw Naaimachine in PDF-formaat gratis! Vind uw handleiding MD 13343 - LIFETEC en neem uw elektronisch apparaat weer in handen. Op deze pagina staan alle documenten die nodig zijn voor het gebruik van uw apparaat. MD 13343 van het merk LIFETEC.
GEBRUIKSAANWIJZING MD 13343 LIFETEC
Over deze handleiding .... 3
In deze handleiding gebruikte symbolen en waarschuwingen.... 3
Veiligheidsadviezen 4
Elektrische apparaten zijn geen kinderspeelgoed.... 4
Netsnoer en netaansluiting.... 4
Basisinstructies 5
Nooit zelf repareren.... 5
Veilig met de machine omgaan 5
Reinigen en opbergen 6
Uw naaimachine 7
Inhoud verpakking 7
Inhoud van het accessoirevak 8
Elektrische aansluitingen 9
Stabiliteit van de naaimachine 9
Regelen van de naaisnelheid 9
Aanzetten en afnemen van het afneembare werkblad.... 9
Voorbereidende werkzaamheden 10
Opspoelen van de onderdraadspoel 10
Verwijderen van het spoelhuis 12
De draad door het spoelhuis halen 12
Inzetten van het spoelhuis ....13
Inrijgen van de bovendraad....14
Ophalen van de onderdraad 16
Instellingen 17
Instellen van de draadspanning 17
Controleren van de draadspanningen ....18
Naaien 19
Algemeen....19
Keuze van de juiste naald 19
Persvoet omhoog en omlaag zetten 20
Vingerbescherming 20
Achteruitnaaien 20
Stof van de naaimachine nemen 20
Wisselen van naairichting 21
Draad doorsnijden 21
Programmakeuzeknop 22
Steeklengte-instelling 22
Instelling van de steekbreedte 22
Soort steek (programma) 23
Knoopsgaten 27
Ritssluitingen innaaien.... 29
Stoppen 30
Borduren 31
Naaien met een tweelingnaald 32
Naaien op de vrije arm 33
Onderhoud, verzorging en reinigen 34
Vervangen van het naailampje 34
Vervangen van de naald 34
Verwijderen en inzetten van de persvoet 35
Verwijderen en inzetten van de persvoethouder 36
Onderhoud van de naaimachine 37
Olië n van de machine.... 39
Storingen....43
Stof-, garen- en naaldentabel 45
Verwijdering als afval 46
Verklarende Woordenlijst......48
OVER DEZE HANDLEIDING

Lees zorgvuldig de veiligheidsinstructies voordat u het apparaat in gebruik neemt. Volg de waarschuwingen op die op het apparaat en in de gebruiksaanwijzing zijn vermeld.
Bewaar de handleiding altijd op een goed bereikbare plaats. Geef deze handleiding en de garantiekaart erbij als u het apparaat aan iemand anders overdoet.
In deze handleiding gebruikte symbolen en waarschuwingen
![]() | GEVAAR!Waarschuwing voor onmiddellijk levensgevaar!WAARSCHUWING!Waarschuwing voor mogelijk levensgevaar en/of ernstig, onherstelbaar letsel! |
![]() | VOORZICHTIG!Houd u aan de aanwijzingen om letsel en materiële schade te voorkomen!LET OP!Houdt u aan de aanwijzingen om materiële schade te voorkomen! |
![]() | OPMERKING!Nadere informatie voor het gebruik van het apparaat! |
![]() | OPMERKING!Volg de aanwijzingen in de handleiding op! |
![]() | WAARSCHUWING!Waarschuwing voor gevaar door elektrische schokken! |
![]() | TIPNaaitips om het werk gemakkelijker te maken. |
| • Opsompunt/informatie over gebeurtenissen tijdens de bediening | |
| ► Advies over uit te voeren handelingen | |
VEILIGHEIDSADVIEZEN
Elektrische apparaten zijn geen kinderspeelgoed
Kinderen kunnen de gevaren van elektrische apparaten niet inschatten.
Laat kinderen nooit de naaimachine zonder toezicht gebruiken; om er zeker van te zijn dat ze niet met het apparaat spelen. Vergeet niet dat men zich ook aan de naald kan bezeren wanneer de machine niet op het lichtnet is aangesloten.
Laat kinderen of mensen met een gebrek niet zonder toezicht met het apparaat omgaan - omdat zij de mogelijke gevaren niet altijd correct kunnen inschatten. Berg elektrische apparaten op buiten het bereik van kinderen.
Houd ook de plastic verpakking buiten bereik van kinderen. Gevaar voor verstikking.
Dit apparaat is niet bedoeld om te worden gebruikt door personen (met inbegrip van kinderen) met beperkte li-chamelijke, zintuiglijke of geestelijke vermogens of met onvoldoende ervaringen/of kennis, tenzij deze personen onder toezicht staan van ofzijn geïnstrueerd in het gebruik van het apparaat door iemand die verantwoordelijk is voor hun veiligheid.
Netsnoer en netaansluiting
Sluit het apparaat alleen aan op een goed bereikbaar stopcontact (230 V \~ 50 Hz) dichtbij de plaats van de installatie. Voor het geval dat het apparaat snel stroomvrij moet worden gemaakt, moet het stopcontact steeds vrij toegankelijk zijn.
Wanneer u de stekker uit het stopcontact verwijdert, altijd de stekker zelf beetpakken en niet aan de kabel trekken.
Wikkel de kabel tijdens gebruik volledig af.
Het netsnoer en eventuele verlengkabels moeten zodanig lopen dat niemand erover kan struikelen.
De kabel mag niet in contact komen met hete oppervlakken.
Trek de netstekker uit het stopcontact wanneer u de machine verlaat. Daarmee voorkomt u gevaar van een ongeval door onopzettelijk inschakelen.
Voor het uitvoeren van de volgende werkzaamheden schakelt u de naaimachine uit en trekt u de netstekker uit het stopcontact: draad insteken, naald verwisselen, naai-voet instellen, gloeilamp vervangen, reinigings- en onder-houdswerkzaamheden, alsmede aan het einde van naai-werkzaamheden en wanneer de werkzaamheden worden onderbroken.
Basisinstructies
De naaimachine mag niet nat worden - gevaar van elektrische schokken!
Laat de ingeschakelde naaimachine nooit zonder toezicht achter.
Gebruik de machine nooit in de open lucht.
Gebruik de machine nooit als hij vochtig is of in een vochtige omgeving.
Apparaat mag uitsluitend worden gebruikt met het mee-geleverde pedaal type KD 2902.
Nooit zelf repareren
Trek bij beschadigingen van het apparaat of het aansluit-snoer direct het stekker uit het stopcontact.
Om risico's te voorkomen mag de naaimachine bij zichtbare beschadigingen van de machine of het snoer niet gebruikt worden.
WAARSCHUWING!
Probeer in geen geval het apparaat zelf te openen en/of te repareren. Daardoor bestaat kans op elektrische schokken!

Neem bij storingen contact op met ons Service Center of een ander deskundig reparatiebedrijf.
Veilig met de machine omgaan
Zet de naaimachine op een vlak, stevig werkvlak.
Tijdens gebruik moeten de ventilatieopeningen vrij blijven: laat geen voorwerpen (bijv. stof, restjes garen enz.) in de openingen binnendringen.
Houd het pedaal vrij van pluizen, stof en stofresten.
Plaats nooit iets op het pedaal.
Gebruik uitsluitend de meegeleverde toebehoren en onderdelen.
Gebruik voor het oliën alleen speciale naaimachineolie.
Gebruik geen andere vloeistoffen.
Wees voorzichtig met de bediening van de bewegende delen van de machine, met name de naald. Er bestaat ook kans op letsel wanneer de machine niet op het lichtnet is aangesloten!
Let er tijdens het naaien op dat u niet met uw vingers onder de naaldklemschroef komt.
Gebruik ook geen verbogen of stompe naalden.
Hou de stof tijdens het naaien niet vast en trek niet aan de stof. De naalden kunnen breken.
Stel de naald na beëindiging van de naaiwerkzaamheden altijd in de hoogste stand.
Schakel altijd de machine uit na de werkzaamheden, voor onderhoudswerkzaamheden of bij het vervangen van lampen en trek de netstekker uit het stopcontact.
Reinigen en opbergen
Trek voor het reinigen de netstekker uit het stopcontact. Gebruik voor het reinigen een droog zacht doekje. Vermijd het gebruik van chemische oplos- en schoonmaakmiddelen omdat deze het oppervlak en/of de opschriften van de machine kunnen beschadigen.
Gebruik voor het opbergen van de naaimachine altijd de meegeleverde kap zodat de machine tegen stof beschermd is.
Uw NAAIMACHINE
Inhoud verpakking
Controleer bij het uitpakken of de volgende onderdelen zijn meegeleverd:

1) Naaimachine
2) Afneembaar werkblad met accessoirevak
3) Voetpedaal
de volgende delen zijn zonder afbeelding:
- Beschermhoes
- Gebruikshandleiding en garantiepapieren
Inhoud van het accessoirevak

1) Standaardvoet (rechte steek/zigzagsteek) (al gemon-
teerd)
2) Ritssluitingvoet
3) Knoopsgatvoet
4) Reservespoelen (3 stuks)
5) Viltje voor klospen (2 stuks)
6) Klospennen (2 stuks)
7) Stopplaat
8) Naaldenset
9) Schroevendraaier voor naaldplaat
10) Schroevendraaier (klein)
11) Schroevendraaier (groot)
12) Tornmesje
Elektrische aansluitingen
▶ De stroomschakelaar schakelt zowel de machine als de naaiverlichting in. Steek de koppelingsstekker van het meegeleverde pedaal in de stekkerbehuizing van de machine en dan de netstekker in het stopcontact.
Gebruik uitsluitend het meegeleverde pedaal type KD 2902.
Schakel altijd de machine uit na de werkzaamheden, voor onderhoudswerkzaamheden of bij het vervangen van lampen en trek de netstekker uit het stopcontact.

text_image
deStabiliteit van de naaimachine
Met het instelvoetje (17) kunt u de naaimachine stabiel plaatsen.
▶ Draai het instelvoetje rechtsom om hem naar beneden te draaien of linksom om hem omhoog te draaien.
▶ Stel het voetje zo in dat de naaimachine recht op de ondergrond staat en niet wiebelt.

Regelen van de naaisnelheid
De naaisnelheid wordt geregeld met het voetpedaal. De naaisnelheid verandert door het meer of minder indrukken van het voetpedaal.

Aanzetten en afnemen van het afneembare werkblad
De machine wordt afgeleverd met een gemonteerd werkblad. Het aanschuifwerkblad is van binnen hol en kan worden gebruikt als opbergplaats voor de zak met toebehoren.
▶ U kunt dit werkblad verwijderen door het voorzichtig naar links weg te schuiven.
- Om het werkblad weer terug te zetten plaatst u het voorzichtig tegen de machine en schuift u het in totdat het hoorbaar inklikt.

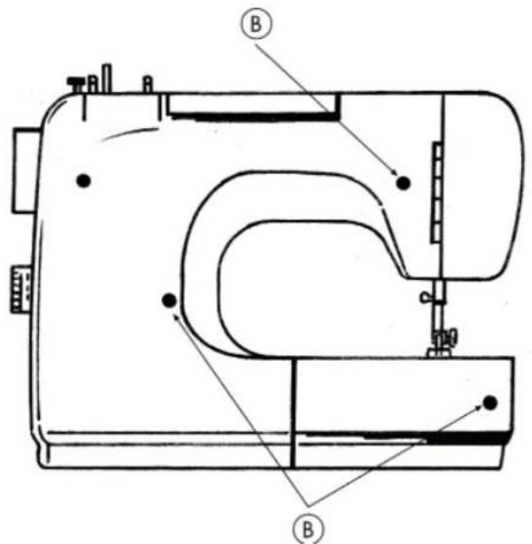
Opspoelen van de onderdraadspoel
De naaimachine kan snel en eenvoudig spoeltjes opspoelen.
Geleid daarvoor de draad van de klos door de draadgeleiding naar de spoel.

Hieronder staat in punten beschreven hoe het opspoelen verloopt:Stel de schakelaar in het handwiel (10) in op het spoelsymbool zodat de naald bij het opspoelen stil blijft staan.
▶ Trek een van de klospennen (7) volledig uit en zet er een klos op.
▶ Geleid dan de draad van de klos, zoals getoond, door de draadgeleiding. Leid de draad van voren naar achteren door de draadgeleiding, zodat de draad zich kruist.

▶ Steek het eind van de draad door het gat de spoel, zoals getoond, en wikkel de draad met de hand een paar maal rond de spoel.

Zet de spoel op de spoelas (8), met het draadeind aan de bovenkant van de spoel. Draai de spoelas (8) naar rechts tegen de spoelaanslag (9) tot hij hoorbaar in- klikt.
▶ Houd het draadeinde vast en druk het voetpedaal in. Als de spoel een beetje opgespoeld is laat u het draadeinde los. Spoel door totdat spoelas (8) automatisch stopt.
▶ Draai de spoelas (8) naar links en neem de spoel af.

▶ Stel de schakelaar in het handwiel terug in op het naaldsymbool. De naald gaat nu weer op en neer als u op het voetpedaal drukt.

Als de garenverdeling bij het opspoelen onregelmatig is kunt u de hoogte van de draadgeleiding veranderen:
▶ Voorklep (21) openen
▶ Schroef (B) losdraaien om de hoogte de draadgeleiding (A) te regelen.

text_image
A B B
Verwijderen van het spoelhuis
▶ Verwijder het afneembare werkblad.
Zet de naald, door het draaien van het handwiel (10) en de persvoet, in de bovenste stand en open het spoeldeksel (18) zoals getoond.

text_image
Tuimelaar- Klap het hendeltje uit de spoelhuis en trek het uit de machine.

▶ Als u het hendeltje loslaat valt het spoeltje vanzelf uit het spoelhuis.

text_image
Spoelhuis SpoelDe draad door het spoelhuis halen
▶ Houd de spoel tussen duim en wijsvinger van uw rechterhand en laat ongeveer 15 cm van de draad uithangen.
▶ Houd het spoelhuis in uw linkerhand en zet de spoel in het spoelhuis.

text_image
Sleuf▶ Laat het draadeind door de sleuf op de rand van het spoelhuis lopen.
- Trek dan de draad onder het veertje door zodat hij in het draadgat komt te zitten. Zorg ervoor dat er een vrij draadeind van ongeveer 15 cm uit de spoel hangt.

text_image
SpanveerFR
NL
DE
Inzetten van het spoelhuis
▶ Houd het spoelhuis zo dat het aanslagstuk van het huis naar boven wijst. Klap het hendeltje van het spoelhuis open.

text_image
Vinger Tuimelaar- Zet de spoelhuis op de middenpen en druk het huis voorzichtig in tot de aanslag van het spoelhuis in de opening van de grijperbaan valt.
▶ Laat het hendeltje los en drukt het op het spoelhuis.
▶ Sluit de spoelhuisklep.(18).

text_image
Vinger Grijperbaan met uitsparing middeldste stiftInrijgen van de bovendraad
Lees de volgende aanwijzingen goed door omdat een verkeerde volgorde of draadgeleiding kan leiden tot draadbreuk, gemiste steken of rimpels in de stof.
▶ Op de voorklep (21) staat de draadgeleiding schematisch weergegeven, bekijk ook die fi guur. Zet voor in-rijgen van de draad de naald door het draaien van het handwiel (10) en de persvoethendel (15) in de bovenste stand.
Zet een klos op een van de klospennen (7) en laat de draad van achteren van de klos komen.
▶ Houd de klos met de rechterhand vast.

text_image
Draadgever Bovendraadgeleiding Klos Bovendraadspanning voorste draadgeleiding interne draadgeleiding Naald
OPMERKING!
De afbeelding dient alleen der verduidelijking, de voorklep hoeft niet geopend te worden.
▶ Leidt de draad onder de klemveer van de bovendraad-geleiding door (3), zoals getoond op.
▶ Laat de draad dan zoals getoond tussen de spannings-schijfjes van de bovendraadspanningregelaar (2)door lopen.

Voor het meeste naaiwerk is stand 3 een goede bovendraadspanning.

▶ Geleid de draad onder de voorste draadgeiding door naar boven, daarbij verschuift de binnenste geleideveer automatisch.

Rijg de draad dan van rechts naar links door de haak van de draadgever (1).

OPMERKING
Draai eventueel aan het handwiel (10) om de draadgever naar boven te laten gaan.

▶ Geleid de draad nu weer naar beneden richting naald, daarbij loopt de draad door de binnenste draadgeleiding en de draadgeleiding van de naaldklem.
▶ Steek de draad dan van voor naar achteren door het oog van de naald en trek de draad ongeveer 10 cm door.

Ophalen van de onderdraad
▶ Zet de persvoet (26) omhoog.
Draai het handwiel (10) met de rechterhand naar u toe totdat de naald naar onderen en weer naar boven gaat. Stop het handwiel (10) als de naald op de hoogste stand is.
Houd het einde van de bovendraad met uw linkerhand vast.
Trek de bovendraad lichtjes naar boven, zodat de onderdraad in een lus naar boven komt.

text_image
Bovendraad Onderdraad▶ Trek ongeveer 10 cm van de beide draden onder de persvoet (26) door naar achteren.

text_image
Bovendraad Richting draad OnderdraadINSTELLINGEN
Instellen van de draadspanning
Als de draad bij het naaien breekt is de draadspanning te hoog.
Als er bij het naaien kleine lussen worden gevormd is de draadspanning te laag.
In beide gevallen moet de draadspanning worden bijgesteld.
Daarbij moet er een goede verhouding zijn tussen de bo-vendraad- en onderdraadspanning.
R egeling van de bovendraadspanning
De spanning wordt bepaald door de schijfjes waar de draad tussendoor loopt. De druk op deze schijfjes wordt geregeld door de bovendraadspanningregelaar (2).
Hoe hoger de getal, hoe hoger de spanning.

OPMERKING
Voor het meeste naaiwerk is stand 3 een goede bovendraadspanning.
De bovendraadspanning wordt pas geactiveerd door het laten zakken van de persvoet.
Er zijn verschillende redenen om de spanning bij te stellen. Voor verschillende stoffen is er een verschillende spanning nodig.
De benodigde spanning is afhankelijk van de stevigheid en dikte van de stof, hoeveel lagen stof er genaaid moeten worden en welke soort steek er genaaid wordt.
Let er op dat de spanning van boven- en onderdraad in verhouding is omdat de stof anders kan gaan rimpelen.
We raden aan voor elk naaiwerk een proefstukje te maken.


Regelen van de onderdraadspanning
De onderdraadspanning hoeft maar zelden te worden ingesteld omdat deze al door de fabrikant voor algemeen naaiwerk is ingesteld.
De onderdraadspanning is precies goed als u de draad gemakkelijk met een kleine weerstand uit de spoel kunt trekken.
Voor erg dunne of zeer dikke stoffen moet de onderdraad echter worden bij gesteld.

ongelijkmatige steken

gelijkmatige steken

De onderdraadspanning verstelt u met de instelschroef op het spoelhuis. Gebruik voor het instellen de kleine meege-leverde schroevendraaier.
Neem het spoelhuis uit.
Lagere spanning:
Schroef tegen de klok in draaien
Hogere spanning:
Schroef met de klok mee draaien.
Onderdraadspanning controleren
De meest eenvoudige controle van de onderdraadspanning is het naaien van een gemiddelde zigzagsteek op de stof die u wilt naaien.
Gebruik daarbij de gekozen naald en garen.
Dit wordt extra duidelijk als u voor boven- en onderdraad verschillende kleuren garen gebruiken.
Naai vervolgens een paar zigzagsteken.
De draadspanning is juist als u de onderdraad niet aan de bovenkant van de stoffen kunt zien.
Let er op dat u altijd gelijkmatige steken naait (zie afbeelding links).

Controleren van de draadspanningen
Goed stiksel
De juiste instelling van boven- en onderdraadspanning moet zo zijn dat de lussen van de draden in het midden van de stof(fen) komen te liggen.
De stof blijft glad en er worden geen rimpels gevormd.
Fout stiksel
De bovendraad staat te strak en trekt de onderdraad naar boven. De onderdraad is te zien op de bovenkant van de stof.
Oplossing:
Zet de bovendraadspanning lager door het verdraaien van de bovendraadspanningregelaar (2).
De bovendraad is te los ingesteld. De onderdraad trekt de bovendraad naar onderen. De bovendraad is te zien aan de onderkant van de stof.
Oplossing:
Zet de bovendraadspanning hoger door het verdraaien van de bovendraadspanningregelaar (2).
In beide gevallen van stikselfouten moet eventueel ook de onderdraadspanning worden bijgesteld.




NAAIE N
Algemeen
Schakel de hoofdschakelaar (13) in.
Zet de naald bij het instellen van andere steken altijd in de hoogste stand. Schuif de stof ver genoeg onder de persvoet (26). Houd ongeveer 10 cm van de boven- en onderdraad naar achteren over.
Laat de persvoethendel (15) zakken. Terwijl u de draad met uw linkerhand vasthoudt draait u het handwiel (10) naar u toe en brengt u de naald naar de plaats van de stof waar u wilt beginnen met naaien.
Druk op het voetpedaal - hoe verder u het voetpedaal indrukt, hoe sneller de machine draait. Geleid de stof bij het naaien zachtjes met de hand. Naai met de achteruithendel (12) een paar steken achteruit om de eerste steken te fi xeren.
TIP
Als u erover twijfelt of bijvoorbeeld de draadspanning of steek goed zijn probeert u de instellingen even uit op een proefl apje.
De stof loopt automatisch onder de persvoet (26) door: de stof mag niet met de handen tegengehouden of doorgetrokken worden maar alleen lichtjes gestuurd worden om de naad op de goede plaats te krijg en.
Keuze van de juiste naald
Het nummer dat de dikte van de naald aangeeft staat op de schacht.
Hoe hoger het nummer, hoe dikker de naald.
LET OP!
Gebruik in geen geval gebogen of stompe naalden. Het naaigoed kan beschadigd raken.

Persvoet omhoog en omlaag zetten
Door het oplichten of laten zakken van de persvoethendel (15) gaat de persvoet (26) omhoog of omlaag.
Om dikke stoffen te naaien kan de persvoet (26) voor extra ruimte iets worden opgelicht.
Vingerbescherming
Dit accessoire beschermt ertegen dat u per ongeluk met de hand onder de naald komt.
Achteruitnaaien
- Gebruik het achteruitnaaien voor het versterken van het begin en het einde van een naa. Druk de achteruithendel (12) naar onderen en houdt hem ingedrukt.
▶ Druk op het voetpedaal - hoe verder u het voetpedaal indrukt, hoe sneller de machine draait.
▶ Als u weer vooruit wilt naaien laat het achteruithendel (12) gewoon los.
Stof van de naaimachine nemen
Beëindig het naaiwerk steeds met de naald in de hoogste stand. Om de stof te verwijderen heft u de persvoet (26) en trekt u de stof van u af naar achteren.
Wisselen van naairichting
▶ Als u op de hoeken van het naaiwerk een andere richting moet kiezen doet u dat als volgt: Stop de machine en draai het handwiel (10) zover tot de naald in het stof steekt.
▶ Hef de persvoet (26).
▶ Draai de stof om de naald om de gewenste richting te krijgen.
▶ Laat de persvoet (26) weer zakken en naai weer verder.

Knip of snij de draad door met de draadsnijder (21) of met een schaar. Houd ongeveer 15 cm draad over vanaf het oog van de naald.

text_image
②1
Bij deze naaimachine kunt u kiezen uit verschillende normale steken en siersteken. Op de programmakeuze-knop (6) kunt u eenvoudig het gewenste steekpatroon instellen.
Kies een ander steekpatroon altijd met de naald in de hoogste stand.
▶ Draai de programmakeuzeknop zo dat de gewenste steek bij het pijltje staat.

TIP
Als de machine het gekozen naaiprogramma niet naait draait u de programmakeuzeknop (6) eenmaal volledig door en gaat u weer terug naar gewenste soort steek.

text_image
0 0,5 1 2 3 4Steek lengte-instelling
▶ Met de steeklengteregeling (11) kunt u de lengte van het door u ingestelde steekpatroon kiezen. Draai de steeklengteregeling zo dat het nummer van de gewens- te steeklengte op het pijltje staat.
▶ De getal geven ongeveer de steeklengte in millimeters aan.

text_image
0 1 2 3 xInstelling van de steekbreedte
Met de steekbreedteregelaar (4) kunt u de breedte van een zigzagsteek of een patroonsteek kiezen.
▶ Instelling 0: rechte steken.
Instelling 1-5: patroonsteken van verschillende breedte.

LET OP!
Stel de steekbreedte bij gebruik van een tweelingnaald maximaal in op 3. Bij een hogere instelling kunnen de naalden breken.
Soort steek (programma)
De soorten steken worden ingesteld via de programma- keuzeknop (6). Zet de naald bij het instellen van andere steken altijd in de hoogste stand.
Maak voor elk gebruik van een steekpatroon even een proefl apje.
OPMERKING
Lees voor het inzetten en het verwijderen van de persvoet pagina 32
Rechte steek
Bedoeld voor algemeen naaiwerk en afstikken.
Persvoet: ...... standaardvoet
Programma: ...... A
Steeklengte: 1 tot 4
Steekbreedte: 0

Zigzagsteek
De zigzagsteek is van een de meestgebruikte steken. Er zijn veel toepassingen voor, bv. omzomen en applicaties en monogrammen opnaaien.
Voordat u de zigzagsteek gebruikt naait u ter versterking van de naad een paar rechte steken.
Persvoet: ...... standaardvoet
Programma: ...... A
Steeklengte: 0,5 tot 4
Steekbreedte: 1 tot 5

TIPS VOOR ZIGZAGSTEKEN
Om betere zigzagsteken te krijgen moet de bovendraadspanning lager zijn dan bij het naaien van rechte steken. De bovendraad moet een beetje zichtbaar zijn op de onderzijde van de stof.


De zgn. satijnsteek, een zeer smalle zigzagsteek, is vooral geschikt voor applicaties, monogrammen en verschillende siersteken.
De programmakeuze is als bij de normale zigzagsteek.
Persvoet: ...... standaardvoet
Programma: ...... A
Steeklengte: 0,5 tot 2
Steekbreedte: 1 tot 2


TIP
Als u deze steek gebruikt moet de bovendraadspanning altijd ietsje lager zijn. Hoe breder de steek moet zijn, hoe lager de bovendraadspanning. Bij het naaien van zeer dunne of tere stoffen legt u een dun papier onder de stof en naait u dit mee. Daarmee voorkomt u het overslaan van steken en het rimpelen van de stof.
Zigzag met drie steken
Met dit soort steken worden ruwe boorden overstikt.
Persvoet: ...... standaardvoet
Programma: B
Steeklengte: 1 tot 3
Steekbreedte: 3 tot 5
Omgekeerde blinde zoom
Met deze soort steek worden randen afgewerkt.
Persvoet: ...... standaardvoet
Programma: C
Steeklengte: 1 tot 3
Steekbreedte: 3 tot 5
Blindzoomsteek
Voor het zgn. blindzomen.
Persvoet: ...... standaardvoet
Programma: ...... D
Steeklengte: 1 tot 3
Steekbreedte: 5
Gebruik een kleur garen die precies bij de stof past.
Gebruik bij zeer lichte of doorschijnende stoffen een transparante nylondraad.
▶ Vouw de stof zoals op de afbeelding getoond.
▶ Naai op de vouw zoals getoond. De rechte steken moeten op de zoom komen, en de punten van de zigzagsteek moeten steeds alleen in de bovenste vouw van de stof komen.
▶ Haal daarna de stof van de machine en strijk hem glad.
De uitgevouwen stof heeft nu een blindzoomsteek.

Pas dit soort steken toe om elastische stoffen of breigoed te naaien of elastische stroken op te stikken enz.
De drievoudige stretchsteek maakt een extra sterke rechtgestikte naad, bv. voor kruisnaden van broeken, arminzetten, inlets, etc., is driemaal zo sterk als een normale naad en rekt ook veel beter. De naad kan samen met de stof worden gerekt zonder dat de draad breekt.
Persvoet: ...... standaardvoet
Programma: E
Steeklengte: 4
Steekbreedte: 0 tot 5

Naaien van allerlei soorten elastische stoffen
Gebruik synthetisch garen. Daardoor wordt de naad bijna onzichtbaar.
Aan elkaar naaien van twee stukken stof
Met de elastische steek kunnen twee stukken stof stopt aan elkaar genaaid worden.
Leg de twee stukken stof onder de persvoet. Let er op dat beide randen bij elkaar blijven en dat de naald links en rechts even breed in de stof steekt.

Opnaaien van elastiek
Leg het elastiek op de gewenste plaats op de stof.
▶ Naai het elastiek op met de elastische steek en span het elastiek daarbij voor en na de persvoet met de hand. Hoe meer spanning hoe meer rimpels.

De smoksteek is veelzijdig en decoratief, bv. voor het opnaaien van kant of elastiek of voor het naaien van stretch en andere elastische stoffen.
Persvoet: ...... standaardvoet
Programma: F
Steeklengte: 4
Steekbreedte: 5
Let bij smoksteeknaaien op het volgende:

Rimpel het naaiwerk gelijkmatig.
Leg een smalle strook stof onder de rimpels en naai er overheen met de smoksteek
Maak het smokwerk helemaal af voordat u het zo versierde deel in het hele kledingstuk zet.
Bij zeer dunne stoffen kan hetzelfde effect bereikt worden door op de spoel een elastische draad op te spoelen.

Gesloten overlocksteek
Dit steek is speciaal bedoeld voor het naaien en herstellen van jersey en joggingpakken. Deze steek is zowel decoratief als praktisch. De steek bestaat uit gladde zijlijnen met dwarsverbindingen en is volledig elastisch.
Persvoet: ...... standaardvoet
Programma: G
Steeklengte: 4
Steekbreedte: 5

Leg de rand van de stof zo onder de persvoet dat de naald met de rechter uitslag rechte steken naait en net nog de rand van de stof raakt, en er zo met de linker uitslag een zigzagsteek genaaid wordt.
Sierborduursteken

Programma's H tot R bieden een ruime keuze aan siersteken.
Persvoet: ...... standaardvoet
Steeklengte programma H tot K: 4
Steeklengte 'programma L tot R: 0,25 tot 1
Steekbreedte: 5

De schelpsteek (programma N) is bijvoorbeeld ideaal voor het naaien van decoratieve patroon op tafelkleden, servetten, kragen, manchetten, etc.
Knoopsgaten
TIP
Om de passende steeklengte te vinden, is het aan te bevelen een proefknoopsgat op een lapje te maken.

Persvoet: ....knoopsgatvoet Programma: ....S tot U Steeklengte: ....0,25 tot 1 Steekbreedte: ....5

- Zet de voet en de naald in de hoogste stand. Vervang de voet door de knoopsgatvoet.
- Markeer op de stof waar het knoopsgat genaaid moet worden de gewenste knoopsgatlengte; gebruik een potlood of kleermakerskrijt.

Kies op de programmakeuzeknop (6) het programma S om de linker rups te naaien.
▶ Geleid de bovendraad door de opening van de knoopsgatvoet en trek de boven- en onderdraad naar links. Laat de voet zakken en naai langzaam totdat de gewenste lengte van de zijrups is bereikt.


▶ Hef dan de naald tot de hoogste stand en wissel naar programma T voor het onderste rups.
▶ Naai daarna een paar steken van de onderste rups.


▶ Hef dan de naald weer tot de hoogste stand en wissel naar programma U voor de rechter rups.
▶ Naai dan de rechter zijrups op precies dezelfde lengte als links.


Zet de naald in de hoogste stand en kies opnieuw het programma T voor de bovenste rups.
▶ Naai dan, net als bij de onderste rups, ook het bovenst rups met met een paar steken.


Als afsluiting is het aan te bevelen de steeklengte op „0“ te zetten en nog een paar steken te naaien waardoor de draden beter verbonden worden en het knoopsgat minder gauw rafelt.
▶ Snij tot slot met het meegeleverde tornmesje de stof tussen de rupsen open. Ga daarbij zeer voorzichtig te werk om geen rupsen te beschadigen.
TIP

Om het doorsnijden van de bovenste rups te voorkomen is het raadzaam daarvoor een speld door te stof te steken.
Ritssluitingen innaaien
Persvoet: Ritsvoet
Programma: ...... A
Afhankelijk van welke zijde van de rits die u naait moet de persvoet altijd op de stof drukken.
Daarom wordt de persvoet op de linkerkant of de rechterkant bevestigd, niet in het midden zoals alle andere voeten.

- Zet de persvoet en de naald in de hoogste stand om de persvoet te verwisselen.
▶ Speld de ritssluiting op de stof en leg het werkstuk op de goede plaats onder de voet.
- Om de rechterkant van de ritssluiting te naaien zet u de ritsvoet zo dat de naald aan de linkerzijde naait (1).
▶ Naai op de rechterkant van de ritssluiting waarbij de naad zo dicht mogelijk tegen de tanden aan moet komen. (1)
▶ Naai de ritssluiting ongeveer 0,5 centimeter onder de tanden met een lipje vast.
- Om de linkerkant van de ritssluiting te naaien wisselt u de stand van de voet op de persvoethouder.
▶ Naai op dezelfde manier als op de rechterkant van de ritssluiting (2).
▶ Voordat de voet bij de trekker van de rits komt heft u de voet en opent u de ritssluiting terwijl de naald daarbij in de stof blijft. (3)

text_image
krissluitingband Tanden Loper
Met de ritsvoet kunt u ook gemakkelijk koorden innaaien, zoals getoond.
▶ Sla de stof eenmaal om zodat er een holle zoom voor het koord wordt gevormd en naai dan langs het koord; daarbij moet de ritsvoet achter het koord komen.

text_image
.Holle zoom voor koord Naad KoordStoppen
Stop plaat monteren

text_image
Stopplaat NaaldplaatBij verschillende naaiwerkzaamheden, bv. het aannaaien van knopen, haken, oogjes en voor het stoppen en borduren moet er geen automatisch transport van het naaiwerk plaatsvinden maar moet u het transport van de stof zelf kunnen regelen.

▶ Voor zulke gevallen gebruikt u de bij de accessoires inbegrepen stopplaat. Zet de persvoethendel (15) omhoog en zet de naald door het draaien van het handwiel (10) in de hoogste stand.
▶ Druk dan de beide pennen de van de stopplaat in de openingen van de naaldplaat (19) tot ze inklikken, zoals getoond in de afbeeldingen 1 en 2.
- Om de stopplaat weer te verwijderen hoeft u alleen de hoeken op te lichten.
Stoppen
▶ Verwijder het persvoethouder en kies de normale onderdraadspanning.
De bovendraadspanning moet iets minder zijn dan normal.
Persvoet: ......Geen ritsvoet
Programma: ...... A
Zonodig kunt u onder de beschadigde plaats nog een stuk stof leggen.

Leg het te herstellen stuk onder de naald en laat de persvoethendel (15) zakken zodat de draadspanning werkzaam wordt.
▶ Door het langzaam met de hand voor- en achteruitschuiven van de stof begint u langzaam te naaien.
Herhaal deze werkwijze tot de beschadigde plaats goed bezet is met parallel verlopende steken.
Zonodig kan er daarna nog, net als bij het stoppen met de hand, in de dwarsrichting gestopt worden.

Tijdens het stoppen moet de stof goed gespannen zijn. Als de beschadigde plek groot is, is het raadzaam, het naaiwerk in een borduurraam (in de vakhandel verkrijgbaar) te spannen.
Borduren
Algemeen
Verwijder het persvoethouder, monteer u de stopplaat en kies de normale onderdraadspanning.
De bovendraadspanning moet zo laag zijn ingesteld dat de onderdraad niet naar de bovenkant van de stof wordt getrokken.
▶ Span de stof in het borduurraam (in de vakhandel verkrijgbaar).
▶ Laat de persvoet zakken zodat de draadspanning werkzaam wordt.
▶ Houd het borduurraam vast met uw hand terwijl u het gewenste patroon naait. Beweeg niet de stof maar steeds het borduurraam.
VOORZICHTIG!
Kom niet te dicht met uw vingers in de buurt van de naald. Er bestaat kans op letsel!

We adviseren om het gewenste borduurpatroon op de goede kant van de stof te tekenen, met een potlood of kleermakerskrijt (in het vakhandel verkrijgbaar).


Naaien m et een tweelingnaald
De tweelingnaald is verkrijgbaar in de goede vakhandel. Let er bij de koop op dat de afstand tussen de beide naalden niet meer is dan 2,5 mm.
Met de tweelingnaald kunnen bijzonder fraaie tweekleurige patronen worden gemaakt als u voor het naaien ga-rens met verschillende kleuren gebruikt.

OPMERKING
Gebruik de tweelingnaald uitsluitend voor rechte steken of zigzagsteken.
Stel de steekbreedte maximaal in op 3.

Bij andere programma's of bredere steken kunnen de naalden buigen of breken. Zet de tweelingnaald op dezelfde manieren in als een enkele naald (zie pagina 31).
- Zet twee even volle klossen op de uittrekbare klospennen (7).
Zorg ervoor dat beide in de accessoires inbegrepen vilt-schijfjes op de klospennen 7 zijn geplaatst.
Rijg de beide draden door de draadgeleiding, net als bij een enkele draad.

text_image
0 1 2 3 4
Bij de bovendraadspanningschijven geleid u de beide draden tussen de schijven door, en let er op dat en draad rechts van de middelste schijf loopt en de tweede draad links van de schijf.
▶ Geleid beide draden in de draadgeleiding.
▶ Bij de ogen van de naalden rijgt u een draad rechts en een draad links in.

OPMERKING
Bij het naaien van een hoek met de tweelingnaald heft u de naald uit de stof omdat de tweelingnaald anders kan verbuigen of breken.
Naaien op de vrije arm
Met de vrije arm (16) kunt u eenvoudiger ronde vormen stof naaien, bv. mouwen en broekspijpen.
U kunt van uw naaimachine eenvoudig een vrije arm-machine maken door het afneembaar werkblad met het accessoirevak van de naaimachine te verwijderen.
De vrije arm (16) is vooral handig bij de volgende naai- werkzaamheden:
- Herstellen van ellebogen en knieën van kleding.
- Mouwen naaien, vooral bij kleine kledingstukken.
- Applicaties, borduren of zomen van randen, manchetten of broekspijpen.
- Naaien van elastische taillebanden aan rokken of broeken.

Schakel voor alle service-, schoonmaak- en vervangwerkzaamheden altijd de machine uit en trek de stekker uit het stopcontact.

Vervange n van het naailampje
- Het naailampje wordt met de hoofdschakelaar (13) in- en uitgeschakeld.
▶ Voor het openen van de voorklep draait u met de bijgeleverde schroevendraaier de schroef in het midden van het voordeksel los.
▶ Trek nu de voorklep er naar voren af.
▶ Vervang dan de lamp.
▶ Schuif de voorklep er weer op, tot die hoorbaar vastklikt. Draai de schroef weer vast.

OPMERKING
De lamp mag maximaal 15 W zijn.
Gloeilampen zijn verkrijgbaar in de vakhandel.
Vervangen van de naald
▶ Draai het handwiel (10) naar u toe tot de naald in de hoogste stand staat.
▶ Draai de naaldklemschroef los door hem naar u toe te draaien.
▶ Verwijder de naald uit de klem.
Zet de nieuwe naald met de vlakke kant naar achteren in. Schuif de naald tot de aanslag naar boven.
▶ Draai de naaldklemschroef weer vast.

text_image
Setje naalden Naaldklemschroef Vastdraaien Losdraaien Vlakke kant naar achteren
OPMERKING
Naalden zijn in de vakhandel verkrijgbaar.
Gegevens over types en diktes staan in de stof-, garens- en naaldentabel op pagina 41.
Verwijderen en inzetten van de persvoet
▶ Verwijderen draai het handwiel (10) naar u toe tot de naald in de hoogste stand staat.
▶ Hef de persvoet door het omhooghalen van de persvoet-hendel (15).
- Door het omhoogdrukken van de persvoetontgrendeling achter de persvoethouder valt de persvoet naar beneden.

Plaats de persvoet zo dat de pen van de voet precies onder de opening van de voetklem komt te liggen. Laat de persvoethendel zakken (15).
Druk vervolgens nog de persvoetontgrendeling naar boven. De persvoet valt dan automatisch in de juiste positie.

Verwijderen en inzetten van de persvoethouder
De persvoethouder hoeft niet verwijderd te worden tenzij u wilt stoppen, borduren of ruimte nodig hebt voor het reinigen van de transporteur (27).
Verwijderen
Zet de naald in de hoogste stand door het naar u toe draaien van het handwiel (10) en haal de persvoethendel (15) omhoog.
▶ Verwijder de voet van de persvoethouder en draai de persvoetklemschroef los met de meegeleverde schroe-vendraaier.

Zet de naald in de hoogste stand door het naar u toe draaien van het handwiel (10) en haal de persvoethendel (15) omhoog.
Druk de persvoethouder bij het inzetten zover mogelijk naar boven en draai de persvoetklemschroef vast met de meegeleverde schroevendraaier.

Onderhoud van de naaimachine
De naaimachine is een fi jnmechanisch apparaat en heeft regelmatig onderhoud nodig om steeds goed te werken.
Dit onderhoud kunt u zelf uitvoeren.
Het onderhoud omvat vooral: Reinigen en oliën.
OPMERKING
Gebruik voor het oliën alleen speciale naaimachineolie van de beste kwaliteit omdat andere soorten olie niet geschikt zijn.
Let er op dat er na het oliën restjes olie in de machine aanwezig kunnen zijn. Deze ruimt u op door een paar steken te naaien op een restje stof. Dat voorkomt het vuil worden van uw naaiwerk.

Reinigen van de behuizing en van het voetpedaal
Trek voor het reinigen de netstekker uit het stopcontact.
Gebruik voor het schoonmaken van de behuizing en het voetpedaal een droog, zacht doekje. Vermijd het gebruik van chemische oplos- en schoonmaakmiddelen omdat deze het oppervlak en/of de opschriften van de machine kunnen beschadigen.
Om foutloos naaien te waarborgen moeten tanden van de transporteur altijd schoon zijn.
▶ Verwijder de naald en de persvoet (zie pagina 31).
▶ Draai de schroeven van de naaldplaat (19) los en verwijder de plaat van de machine.
▶ Verwijder met een borsteltje stof en draadrestjes van de transporteurtanden.
▶ Zet de naaldplaat (19) weer terug.

Reinigen en oliën van het spoelhuis

text_image
Grijperbaanring GrijperZet de naald in de hoogste stand omdat de grijper anders niet uitgenomen kan worden.
▶ Neem het spoelhuis uit.

text_image
GrijperbaanringDraai de klikhendels naar buiten, zoals getoond, en verwijder de grijperbaan.

text_image
Grijper▶ Verwijder de grijper door de nok in het midden van de grijper vast te houden.
▶ Verwijder alle vuildeeltjes uit de grijperbaanring van de grijperbaan en olie de delen met een lapje.

▶ Doe een tot twee druppels olie op de spoelgrijperbaan, zoals getoond.
Zet daarna alles in omgekeerde volgorde weer terug.

flowchart
graph TD
A[" fan "] --> B[" gear "]
B --> C[" gear "]
C --> D[" gear "]
D --> E[" gear "]
E --> F[" gear "]
F --> G[" gear "]
G --> H[" gear "]
H --> I[" gear "]
I --> J[" gear "]
J --> K[" gear "]
K --> L[" gear "]
L --> M[" gear "]
M --> N[" gear "]
N --> O[" gear "]
O --> P[" gear "]
P --> Q[" gear "]
Q --> R[" gear "]
R --> S[" gear "]
S --> T[" gear "]
T --> U[" gear "]
U --> V[" gear "]
V --> W[" gear "]
W --> X[" gear "]
X --> Y[" gear "]
Y --> Z[" gear "]
Z --> A
Olië n van d e machine
OPMERKING
Uw naaimachine is af fabriek al gesmeerd en gebruiks- klaar.

Oliën van de machine achter de voorklep
De te smeren delen zijn op de afbeelding met pijlen gemarkeerd. Voor het oliën moeten deze delen gereinigd worden. Doe een of twee druppel goede naaimachineolie op deze plaatsen.

Als de machine niet goed loopt nadat hij langere tijd niet meer gebruikt is laat u de gesmeerde machine met een gesloten voorklep (21) ongeveer een minuut lang snel draaien.
Vergeet niet om eerst een restje stof te naaien om eventu- eel vrijkomende olie op te nemen.
TIP
Afhankelijk van het gebruik van de machine moet dit deel van de machine vaker worden gesmeerd.

Afnemen van het achterste behuizingsdeksel
OPMERKING!

Het volgende deel beschrijft het smeren van de mechanische delen van de naaimachine. De eindklant hoeft dit niet uit te voeren. Mocht smeren toch ooit nodig zijn, dan kunt u terecht bij ons Service Center of een andere geschikte werkplaats.
Zet de persvoethendel (15) omhoog, open de voorklep (21) en draai schroef (A) los.

Bewaar de schroeven A, B en C apart omdat ze verschillend zijn.
▶ Verwijder het afneembare werkblad en open de spoel-huis-klep (18).
▶ Trek de klospennen (7) volledig uit.
Leg de machine met de achterkant naar boven en schroef de vier schroeven (B) en de twee schroeven (C) uit de bodem, zoals getoond.
▶ Zet de machine weer rechtop.

- Zoals getoond wordt het achterdeksel nu alleen op zijn plaats gehouden door kleine kunststofhaakjes.
Druk nu voorzichtig de bovenste rand van het achterdeksel (daar waar de haken zitten) met een hand naar beneden.
▶ Trek dan het achterdeksel naar buiten af.

text_image
naar beneden drukken naar achteren trekkenOlie de boven- en onderzijde van de machine
De te smeren delen zijn op de afbeelding met pijlen gemarkeerd. Voor het oliën moeten deze delen gereinigd worden. Doe een of twee druppel goede naaimachineolie op deze plaatsen.
Bovenkant

De met pijlen aangegeven plaatsen hoeven maar zel- den gesmeerd te worden, ongeveer om de twee tot drie maanden, afhankelijk van het gebruik.
Terugzetten van het achterste behuizingsdeksel
Zet het achterdeksel weer terug en let er op dat het inklikt.
Leg de machine dan weer op de voorkant en draai de schroeven A, B en C weer vast.
▶ Sluit de spoelhuisklep (18) en de voorklep (21).

OPMERKING
Het monteren verloopt eenvoudiger als de persvoethendel (15) omhoog staat en de spoelhuisklep (18) geopend blijft.
STORINGEN
Lees in geval van storingen in deze gebruikshandleiding na of u alle aanwijzingen hebt aangehouden.
Neem pas contact op met onze Klantenservice als geen van de genoemde oplossingen helpt.
| Storing Oorzaak Pagina | ||
| De machine loopt niet soepel De | machine moet gesmeerd worden pagina | 39 |
| Stof en garen in de grijperbaan pagina 38 | ||
| Stofresten op de tanden van de transporteur | pagina 37 | |
| Er is een verkeerde olie gebruikt waar de machine last van heeft | pagina 39 | |
| De bovendraad breekt De machine | is niet goed ingeregen pagina 14 | |
| De draadspanning is te hoog pagina 18 | ||
| De naald is verbogen of stomp pagina 19 | ||
| De dikte van het garen past niet bij de naald | pagina 19 | |
| De naald is niet goed ingezet pagina 34 | ||
| De stof is op het einde van de naad niet naar achteren doorgetrokken | pagina 19 | |
| Naaldplaat, spoel of persvoet zijn beschadigd | ||
| De onderdraad breekt De onderd | raad raakt verward door een niet goed opgespoelde spoel | pagina 10 |
| De onderdraad loopt niet onder de spanveer van het spoelhuis door | pagina 10 | |
| De naald breekt De naald is verkeerd ingezet pagina 34 | ||
| De naald is verbogen | ||
| De naald is te dun | ||
| Tijdens het naaien wordt er aan de stof getrokken | ||
| Een knoop in de draad | ||
| Bij tweelingnaalden: de steekbreedte is groter dan 3 of er wordt een speci-aal programma gebruikt. | ||
| De machine laat steken vallen | De naald is verkeerd ingezet | pagina 34 |
| De naald is verkeerd ingeregen | pagina 34 | |
| De naald en/of de draad past niet bij de stof | pagina 45 | |
| De stof is te zwaar of te hard pagina 45 | ||
| Tijdens het naaien wordt er aan de stof getrokken. | pagina 19 | |
| Samentrekken of rimpelen van de naad | De bovendraadspanning is te hoog. pagina 18 | |
| De machine is verkeerd ingeregen pagina 18 | ||
| De naald is te dik voor de stof pagina 45 | ||
| De draad vormt lussen De draads | panning is niet goed inge-steld | pagina 18 |
| De bovendraad is niet goed ingeregen en/of de onderdraad is niet goed op-gespoeld | pagina 14 of pagina 10 | |
| De dikte van het garen past niet bij de stof | pagina 45 | |
| De stof loopt onregelmatig door | De steeklengte staat op „0“ pagina 22 | |
| Garenresten in de grijperbaan pagina 37 | ||
| De machine draait niet De naaima | machine is niet goed aange-sloten of de stopcontact heeft geen stroom | pagina 9 |
| Garenresten in de grijperbaan pagina 38 | ||
| De schakelaar op het handwiel staat op het spoelsymbool. | pagina 10 | |
STOF-, GAREN- EN NAALDENTABEL
In het algemeen worden fi jne garens en naalden gebruikt voor het naaien van dunne stoffen en dikkere garens en naalden worden zwaardere stoffen. Test altijd de garen- en naalddikte op een proefl apje van de stof die u wilt naaien. Gebruik hetzelfde garen voor naald en spoel. Als u op fi jne of synthetische stof stretch-naden naait moet u daarvoor naalden gebruiken met een blauwe schacht (in de vakhandel verkrijgbaar). Deze voorkomen het laten vallen van steken.
| Stofdikte Soort stof Garen | Naald Steeklengte | Bovendraad-spanning | |||
![]() | ![]() | Rechte steek Zigzag | ![]() | ||
![]() | |||||
Fijne stoffen![]() | Nylon Batist Voile | 80 Katoen | 65 1 - 3 | 1 - 4 | |
| Jersey 60 | Syntheti-sche stof | ||||
| Zijde 50 | Zijde | ||||
| Wol Zijde | 50 Kunstzijde | 75 | |||
gemiddel-de stoffen![]() | Perkal Piqué Linnen | 60 - 80 Katoen | 75 - 90 | 0,5 - 3 0,5 - 4 | |
| Jersey 60 | Syntheti-sche stof | 75 | |||
| Gabardine | 50 Zijde | ||||
zware stoffen![]() | Jeansstof Mantelstof | 50 Katoen | 75 - 90 | 0,5 - 3 0,5 - 4 | |
| Jersey 50 | Syntheti-sche stof | ||||
| Wol Tweed | 50 Zijde | ||||
VERWIJDERING ALS AFVAL
Verpakking

Uw naaimachine is ter bescherming tegen transportschade stevig verpakt. Verpakkingen zijn grondstoffen en kunnen worden hergebruikt of terug worden gebracht in de grondstoffenkringloop.
Machine

Verwijder de naaimachine aan het einde van de levensduur in geen geval als gewoon huisvuil. Informeer bij de lokale autoriteiten naar mogelijkheden om het op een milieubewuste en correcte wijze af te voeren.
TECHNISCHE GEGEVENS
Naaimachine
Nominale spanning: 230 V \~ 50 Hz
Opgenomen vermogen: totaal 75 W
Motor 60 W
Lamp 15 W
Fitting E14
Geluidsdrukniveau: 78 dB(A) onder normale gebruiksomstandigheden
Voetpedaal
Fabrikant: Zhejiang Founder
Type: KD 2902
Nominale spanning: 220 V-240 V \~ 50 Hz
Veiligheidsklasse: II
Technische wijzigingen voorbehouden.




VERKLARENDE WOORDENLIJST
A
Accessoirevak 8
Achteruitnaaien 20
Afneembaar werkblad 9, 12, 33, 40
B
Blindzoomsteek 24
Borduren 31
Bovendraadspanning 17
Bovendraadspanningregelaar 14
D
De draad door het spoelhuis halen 12
Draad doorsnijden 21
Draadgever 15
Draadspanning 17, 18
E
Elastiek opnaaien 25
Elastische steek 25
G
Gesloten overlocksteek 26
Grijper 38
Grijperbaan 38
Grijperbaanring 38
I
Inhoud verpakking 7
Inrijgen van de bovendraad 14
Inzetten van het spoelhuis 13
K
Klospen 10, 40
Knoopsgaten 27
Knoopsgatvoet 8, 27
Koorden innaaien 29
N
Naaien van elastische stoffen 25
Naailampje 34
Naald 19, 34
Naaldtabel 45
0
Olieën 38, 39, 40
Onderdraadspanning 17, 18
Onderdraadspoel 10
Onderhoud 34
Ophalen van de onderdraad 16
Opspoelen van de onderdraadspoel 10
Overlocksteek 26
P
Persvoet 20, 35
Persvoethouder 36
Persvoethouder inzetten 36
Persvoethouder verwijderen 36
Persvoet inzetten 35
Persvoet verwijderen 35
Programmakeuzeknop 22
R
Rechte steek 23
Regelen van de naaisnelheid 9
Reinigen 38
Ritssluitingen 29
Ritsvoet 8, 29
S
Satijnsteek 24
Satinstich 24
Smoksteek 25
Spoelhuis 38
Standaardvoet 23, 24, 25, 26
Standaardvoet 8
Steekbreedte 22
Steeklengte-instelling 22
Stopplaat 30, 31
Storingen 43
Stukken stof aan elkaar naaien. 25
T
Tabel met voorbeelden van steken 46
Transporteur 37
Tweelingnaald 32
V
Verwijderen van het spoelhuis 12
Verwijdering als afval 46
Vingerbescherming 20
Wisselen van naairichting 21
Z
Zigzag met drie steken 24
Zigzagsteek 23
INHALTSVERZEICHNIS
Gebruikt u a.u.b. het contactformulier op onze website onder
Servie en Onodersteuning.
SimpelGids












