PH 640MS (IX)HA - Cuisinière HOTPOINT-ARISTON - Notice d'utilisation et mode d'emploi gratuit
Retrouvez gratuitement la notice de l'appareil PH 640MS (IX)HA HOTPOINT-ARISTON au format PDF.
| Caractéristiques | Détails |
|---|---|
| Type de produit | Cuisinière |
| Dimensions (L x P x H) | 60 x 60 x 85 cm |
| Type de cuisson | Gaz et électrique |
| Nombre de foyers | 4 foyers gaz |
| Type de four | Four électrique |
| Capacité du four | 65 litres |
| Fonctions du four | Chaleur tournante, grill |
| Énergie | Classe énergétique A |
| Système de sécurité | Coupe-gaz sur chaque foyer |
| Matériaux | Acier inoxydable |
| Entretien | Nettoyage facile avec surfaces lisses |
| Accessoires inclus | Grille, plat à four |
| Garantie | 2 ans |
FOIRE AUX QUESTIONS - PH 640MS (IX)HA HOTPOINT-ARISTON
Téléchargez la notice de votre Cuisinière au format PDF gratuitement ! Retrouvez votre notice PH 640MS (IX)HA - HOTPOINT-ARISTON et reprennez votre appareil électronique en main. Sur cette page sont publiés tous les documents nécessaires à l'utilisation de votre appareil PH 640MS (IX)HA de la marque HOTPOINT-ARISTON.
MODE D'EMPLOI PH 640MS (IX)HA HOTPOINT-ARISTON
Raccordement électrique
Raccordement gaz
Plaquette signalétique
\section*{Caracteristiques des brûleurs et des injecteurs}
Description de l'appareil, 30
Vued'ensemble
Mise en marche et utilisation, 31-32
Conseils pratiques pour l'utilisation des brûleurs
Conseils pratiques pour l'utilisation des plaques
electriques
PH 640 M/HA
PH 640 M GH/HA
PH 640 M R/HA
PH 640 MS/HA
PH 640 MS GH/HA
PH 640 MST/HA
PH 640 MST R/HA
PH 640 MST GH/HA
PH 640 MS R/HA
PH 640 M IB/HA
PH 640 MS IB/HA
PH 631 M/HA
PH 631 MS/HA
PH 631 MS R/HA
Précautions et conseils, 33
Sécurité générale
Mise au rebut
Nettoyage et entretien, 34
Mise hors tension
Nettoyage de l'appareil
Entretien robinets gaz
Anomalies et remèdes, 35
! Conserve ce mode d'emploi pour pouvoir le consulter à tout moment. En cas de vente, de cession ou de déménagement, voirlez à ce qu'il suive l'appareil pour informer le nouveau propriétaire sur son fonctionnement et lui fournir les conseils correspondants.
! Lisez attentivement les instructions : elles contiennent des conseils importants sur l'installation, l'utilisation et la sécurité de votre apparéil
Les apparèils régés en usine pour (voir la plaquette d'immatriculation et la plaquette prédisposition gaz de l'appareil):
- gaz Naturel Categorie II2E+3+ pour la France;
- gaz Naturel Catégorie II2E+3+ pour la Belgique;
- gaz Naturel Categorie 12E pour le Luxembourg;
- gaz Naturel Categorie I2L pour la Hollande.
Un ultérieur réglage n'est donc pas nécessaire.
Conditions réglementaires d'installation (Pour la France)(Pour la
Le raccordement gaz devra être fait par un technicien qui assurera la bonne alimentation en gaz et le meilleur réglage de la combustion des brûleurs. Ces opérations d'installation, quoi simples, sont délices et primordiales pour que vous table de cuisson vous rende le meilleur service. L'installation doit être effectuee conformément aux textes réglementaires et règes de l'art en vigueur, notamment:
- Arrêté du 2 août 1977. Règles techniques et de sécurité applicables aux installations de gaz combustibles et d'hydro-carbures liquées situées à l'intérieur des batiments d'habitation et de leurs dépendances.
- Norme DTU P45-204. Installations de gaz (anciennement DTU n° 61-1-installations de gaz - Avril 1982 + additif n°1 Juillet 1984).
- Règlement sanitaire département.
Positionnement
! Les emballages ne sont pas des jouets pour enfants, il faut lesmettre au rebut en respectant la reglementation sur le tri sélectif des déchets (voir Précautions et conseils).
! L'installation doit être effectuee par un professionnel du secteur conformement aux instructions du fabricant. Une mauvaise installation peut causer des dommages a des personnes, des animaux ou des biens.
! Cet apparéil peut être installé et fonctionner seulement dans des locaux qui sont aérés en permanence, selon les prescriptions des Normes:
- Pour la France selon les Normes Nationales en vigueur.
- Pour la Belgique NBN D51-003 et NBN D51-001 en vigueur.
- Pour le Luxembourg selon les Normes Nationales en vigueur.
Pour la Hollande NEN-1078 en vigueur.
Il faut observer les conditions suivantes:
- La pierce doit prévoir un système d'évacuation vers l'extérieur des fumées de combustion, réalisé au moyen d'une hotte ou par ventilateur électrique qui entre automatiquement en fonction des que l'on allume l'appareil.

- La piece doit prévoir un système qui consent un apport d'air nécessaire à une régulière combustion. Le flux d'air nécessaire à la combustion ne doit pas être inférieur à 2m^3/ h par kW de puissance installée.

Le système peut etre realizede prelevant l'air directement de I'estérieur du batiment au moyen d'un conduit d'au moins 100~cm^2 de section utile qui ne risque pas d'être bouché accidentellement.

Ou, de manière indirecte depuis des locaux adjacents et équipés d'un conduit de ventilation avec l'extérieur comme susmentionné; ces locaux ne doivent pas être des parties communes du bathtub, des chambris à coucher ou des locaux à risque d'incendie.
- (Pour la France et la Belgique) Les gaz de petrole liquifiés, plus lourds que l'air, se déposent et stagnent vers le bas. Les locaux qui contiennent donc des bouteilles de G.P.L doivent prévoir des ouvertures vers l'extérieur afin de permettre l'évacuation du gaz par le bas en cas de fuites accidentelles. Les bouteilles de GPL, qu'elles soient vides ou partiellement pleines, ne devront donc pas été installées ou entreprises dans des locaux qui se trouvent au dessous du niveau du sol (caves etc.). Il est opportun de n'entreposer dans le local que la bouteille que vous étes en train d'utiliser, place de façon à ne pas être sujette à l'action directe de sources de chaleur (fours, feuels de bois, poèles etc.) qui peuvent atteindre des températures dépassant 50^ .
Encastrement
Les tables de cuisson gaz et mixtes ont un indice de protection contre les surchauffes de type X, on peut par conséquent les installer à côté de meubles dont la hauteur ne dépasse pas celle du plan de cuisson. Pour une installation correcte de la table de cuisson, il faut se conformer aux instructions suivantes :
- Les meubles jouxtant la table, dont la hauteur dépasse celle du plan de cuisson, doivent être placés à au moins 600 mm du bord du plan.
- Les hôtes doivent être installées conformément aux instructions reportées dans leur notice d'installation et à au moins 650 mm de distance.
- Les éléments hauts jouxtant la hotte doivent être placés à au moins 420 mm de distance du plan de travail (voir figure).

En cas d'installation de la table de cuisson sous un élément haut, ce dernier devra être monté à au moins 700 mm de distance du plan (voir figure).
- La découverte du meuble doit avoir les dimensions indiquées par la figure. Des crochets de fixation sont prévus pour fixer la table sur des plans de 20 à 40 mm d'épaisseur. Pour bien fixer la table, utilisez tous les crochets fournis.
- Si la table n'est pas installée au-dessus d'un four à encastrer, il faut monter un panneau d'isolation en bois. Il faut le monter à au moins 20 mm de distance du bord inférieur de la table.

Scheme de fixation des crochets


Position du crochet Position du crochet pour plan H=20mm pour plan H=30mm

Devant

Position du crochet Derrière pour plan H=40mm
!Utilizez tous les crochets compris dans le "sachet accessoires"
Aération
Pour garantir une bonne aération, la cavité d'encastrement doit être dépourvue de paroi arrière. Il est conseilé d'installer le four de manière à ce qu'il repose sur deux cales en bois ou bien sur un plan d'appui continu qui ait une découvert d'au moins 45 x 560 mm (voir figures).


En cas d'installation au dessus d'un four encastre sans refroidissement à ventilation forcee, il faut prévoir des prises d'air d'entrée et de sortie pour avoir une bonne aération à l'intérieur du meuble. Les figures ci dessous illustront des possibilités de montage.


Raccordement électrique
Les tables munies d'un cordon d'alimentation tripolaire, sont prévues pour un fonctionnement à courant alternatively à la tension et à la fréquence d'alimentation indiquées sur la plaquette des caractéristiques (placee sous la table de cuisson). Le conducteur de terre du cable est jaune/vert. En cas d'installation au-dessus d'un four à encastrer, la connexion électrique de la table et celle du four doivent être effectuees séparément, pour des questions de sécurité électrique mais aussi pour simplifier, au besoin, l'extraction du four.
Branchement du cable d'alimentation au réseau électrique
Montez sur le cable une prise normalisée adaptée à la charge indiquée sur l'étiquette des caractéristiques.
En cas de raccordement direct au réseau, il faut intercaler entre l'appareil et le réseau un interrupteur à coupure omnipolaire ayant au moins 3 mm d'écartement entre les contacts, dimensionné à la charge et conforme aux normes en vigueur (le fil de terre ne doit pas être interrompu par l'interrupteur). Le cable d'alimentation ne doit atteindre, enaucun point, des températures dépassant de 50^ la température ambiente.
! L'installateur est responsable du bon raccordement électrique de l'appareil et du respect des normes de sécurité. Avant de procédé au branchement, assurez-vous que :
- la prise est bien munie d'une terre conforme à la loi;
- la prise est bien apte à supporter la puissance maximale de l'appareil, indiquée sur la plaquette signalétique;
- la tension d'alimentation est bien comprise entre les valeurs indiquées sur la plaquette signalétique;
- la prise est bien compatible avec la fiche de l'appareil. Si ce n'est pas le cas, remplacez la prise ou la fiche, n'utilise ni rallonges ni prises multiples.
!Après installation de l'appareil,le cable électrique et la prise de courant doivent être facilement accessibles
!Le cable ne doit etre ni piie ni excessivement ecrase.
Il doit être contrôle périodiquement et ne peut être remplace que par un technicien/agree (voir Assistance).
! Nous déclinons toute responsabilité en cas de non respect des normes enumeratedes ci-dessus.
Raccordement gaz
Pour la France
Raccorder l'appareil à la bouteille ou à la canalisation du gaz conformément aux normes en vigueur, uniquement après avoir vérifié que l'appareil est bien régle pour le type de gaz d'alimentation utilisé. Dans le cas contraire, effectuer les opérations décrites au paragraphe "Adaptation aux différents types de gaz". Pour l'alimentation en gaz liquide, utiliser des régulateurs de pression conformes aux Normes en vigueur.
! Pour un fonctionnement en toute sécurité, pour l'emploi correct de l'énergie et une plus longue durée de vie de l'appareil, vérifier si la pression d'alimentation respecte bien les valeurs indiquées dans le tableau 1 "Caracteristiques des brûleurs et des injecteurs".
Pour la Belgique - le Luxembourg - la Hollande
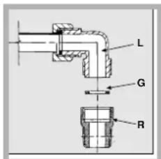
Raccorder l'appareil à la canalisation du gaz conformément aux normes en vigueur (pour la Belgique NBN D04-002) uniquement après avoir vérifié que l'appareil est bien régle pour le type de gaz d'alimentation utilisé. Dans le cas contraire, (pour la Belgique) effectuer les opérations décrites au paragraphe "Adaptation aux différents types de gaz". Pour l'alimentation en gaz liquide, utiliser des régulateurs de pression conformes aux Normes en vigueur. Pour relier l'appareil à la canalisation du gaz Naturel, II2E+3+ pour la Belgique, I2E pour le Luxembourg et I2L pour la Hollande, il faut avant tout installer le raccord "R"
(disponible sur demande auprès du Service d'Assistance Technique Ariston) avec son etanchete "G" sur le raccord en forme de "L" situé sur le tuyau de raccordement gaz (voir figure). Le raccord est fourni de filtage conique male avec pas 1/2 gaz.

Le raccordement doit être réalisé au moyen:
- ou d'un tuyau rigide (pour la Belgique selon les Normes NBN D51-003
- ou d'un tuyau flexible en acier inox, sans interruption, et équipé de raccordements filétés.
En amont de l'appareil il faut installer un robinet d'arrêt du gaz (pour la Belgique marqué A.G.B); il devra être installé de manière à pouvoir facilement le manoeuvrer. Pour le Luxembourg et la Hollande selon les Normes Nationales en vigueur.
Raccordement part tuyau rigide (cuivre ou acier)
! Le raccordement à l'installation de gaz doit être effectué de manière à ce que l'appareil ne subisse aucun type de contrainte.
La rampe d'alimentation de l'appareil est munie d'un raccord en "L" orientable dont I'etanchete est assurée par un joint. S'il vous faut inverser le raccord, vous devez obligatoire remplacer le joint d'etanchete (fourni avec l'appareil). Le raccord d'entree du gaz à l'appareil est filte 1/2 gaz male cylindrique.
Raccordement par tuyau flexible en acier inox, à paroi continue avec raccords filetés
Le raccord d'entree du gaz à l'appareil est filte 1/2 gaz male cylindrique.
La mise en œuvre de ces tuyaux doit être effectuee de façon a ce que, meme au maximum de leur extension, ilne depassent pas 2000 mm de long. Ares raccordement, assurez-vous que le tuyau metallique flexible ne touche pas a des parties mobiles et n'est pas ecrase.
! N'utilise que des tuyaux conformes et des joints d'étanchéité conformes aux textes réglementaires applicables dans le pays.
Verification de l'étanchéité
! Une fois l'installation terminée, vérifier l'étanchéité de tous les raccords en utilisant une solution savonneuse et jamais une flamme.
Adaptation aux différents types de gaz (pour la France et la Belgique)
Pour adapter la table à un type de gaz autres que celui pour lequel elle a été prévue (indiqué sur l'étiquette fixée sous la table ou sur l'emballage), il faut changer les injecteurs des brûleurs en procédant comme suit :
- enlevez les grilles du plan de cuisson et sortez les brûleurs de leur logement.
- dévissez les injecteurs à l'aide d'une clé à tube de 7 mm et remplacez-les par les injecteurs adaptés au nouveau type de gaz (voir tableau 1 "Caracteristiques des brûleurs et des injecteurs").
- remontez les différentes parties en effectuant les opérations dans le sens inverse.
-
en fin d'opération remplacez la vente étiquette par celle correspondant au nouveau gaz utilisé, disponible dans nos Services ÀpRES-vente.
-
Réglage de l'air primaire des brûleurs (pour la France et la Belgique)
Les brûleurs ne nécessitent d'aucun réglage de l'air primaire.
- Regolazione minimi (pour la France e la Belgique)
- Placez le robinet sur la position de minima;
- Déposez la manette et tournez la vis de réglage positionné à l'intérieur ou sur le côte de la tige du robinet jusqu'à ce que vous obtienez une petite flâme régulière;

- Une fois obtenu le débit minimal souhaïte, allumez le brûleur et tournez brusquement la manette de la position de ralenti à la position d'ouverture maximale et vice versa à plusieurs reprises. Vérifiez ainsi qu'il n'y ait pas extinction du brûleur.
- En cas de mauvais fonctionnement du dispositif de sécurité gaz (thermocouple) équipant certains apparéils, quand les brûleurs sont au minima, augmentez leur débit en agissant sur la vis de réglage.
- ÀpRES avoir procédé à ce réglage, reposez les scellés sur les by-pass en utilisant de la cire ou autre matériel équivalent.
! En cas de gaz liquides, il faut visser à fond la vis de réglage.
! En fin d'opération remplacez la vente étiquette par celle correspondant au nouveau gaz utilisé, disponible dans nos Services ÀpRES-vente.
! Si la pression du gaz utilise est différente (ou variable) par rapport à la pression prévue, il faut installer, sur la tuyauterie d'entrée un régulateur de pression approprié (conformément aux textes réglementaires applicables dans le pays).
| PLAQUETTE SIGNALÉTIQUE | |
| Raccordements électriques | voir plaquette signalétique |
| CE | Cet apparéil est conforme aux Directives Communautaires suivantes : - 2006/95/CEE du 12/12/06 (Basse Tension) et modifications successives - 2004/108/CEE du 15/12/04 (Compatibilité Electromagnétique) et modifications successives - 93/68/CEE du 22/07/93 et modifications successives. - 2009/142/CEE du 30/11/09 (Gaz) et modifications successives. - 2002/96/CEE et modifications |
\section*{Caracteristiques des brûleurs et des injecteurs}
| Tableau 1(Pour la France et la Belgique) | Gaz Liquides Gaz Nature | Air Propané (2) | |||||||||||
| Brûleur Diamètre | (mm) | Puisance thermique kW (p.c.s.* )Nom. | Red. | By-pass 1/100 (mm) | Injecteur 1/100 (mm) ** | Débit* g/h | Injecteur 1/100 (mm) G | Débit* l/h20 (mm) | G25 | Injecteur 1/100 | Débit* l/h | ||
| (1) | |||||||||||||
| Rapide (Grand) (R) | 100 | 3.00 | 0.70 | 41 | 39 | 86 | 218 | 214 | 116 | 286 | 332 | 300 | 420 |
| Rapide Réduit (RR) | 100 | 2.60 | 0.70 | 41 | 39 | 80 | 189 | 186 | 110 | 248 | 288 | 245 | 364 |
| Semi Rapide (Moyen) (S) | 75 | 1.65 | 0.40 | 30 | 28 | 64 | 120 | 118 | 96 | 157 | 183 | 183 | 231 |
| Auxiliaire (Petit) (A) | 55 | 1.00 | 0.40 | 30 | 28 | 50 | 73 | 71 | 71 | 95 | 111 | 136 | 140 |
| Triple Couronne (TC) | 130 | 3.25 | 1.50 | 60 | 61 | 91 | 236 | 232 | 133 | 309 | 360 | 330 | 455 |
| Pression de-alimentation(FR) | Nominal (mbar)Minimum (mbar)Maximum (mbar) | 28-302035 | 372545 | 201725 | 252030 | 8615 | |||||||
| Pression de-alimentation(BE) | Nominal (mbar)Minimum (mbar)Maximum (mbar) | 28-302035 | 372545 | 201525 | 251530 | ||||||||
(2) Seulement pour la France, voir la plaquette d'immatriculation de l'appareil. Pour la transformation à gaz air propane, demander le kit injecteurs à un centre d'assistance technique Indesit Company.
| Tableau 1 (Pour le Luxembourg) | I3+ (3) I2E (3) | ||||||||||
| Gaz Liquides Gaz Naturels | |||||||||||
| Brûleur Diamètre | (mm) | Puisance thermique kW (p.c.s.* ) | By-pass 1/100 (mm) | Injecteur 1/100 (mm) ** | Débit* g/h | Injecteur 1/100 (mm) G20 | Débit* l/h G25 | ||||
| Nom. | Red. | ||||||||||
| Rapide (Grand) (R) | 100 | 3.00 | 0.70 | 41 | 39 | 86 | 218 | 214 | 116 | 286 | 332 |
| Rapide Réduit (RR) | 100 | 2.60 | 0.70 | 41 | 39 | 80 | 189 | 186 | 110 | 248 | 288 |
| Semi Rapide (Moyen) (S) | 75 | 1.65 | 0.40 | 30 | 28 | 64 | 120 | 118 | 96 | 157 | 183 |
| Auxiliaire (Petit) (A) | 55 | 1.00 | 0.40 | 30 | 28 | 50 | 73 | 71 | 71 | 95 | 111 |
| Triple Couronne (TC) | 130 | 3.25 | 1.50 | 60 | 61 | 91 | 236 | 232 | 133 | 309 | 360 |
| Pression de alimentation | Nominal (mbar) | 28-30 | 37 | 20 | 25 | ||||||
| Minimum (mbar) | 20 | 25 | 17 | 20 | |||||||
| Maximum (mbar) | 35 | 45 | 25 | 30 | |||||||
(3) Voir la plaquette d'immatriculation de l'appareil.
Tableau 1 (Pour la Hollande) Gaz Naturels
| Brûleur | Diamètre (mm) | Puisance thermique kW (p.c.s.*) | Injecteur 1/100 (mm) | Débit* (I/h) G25 | |
| Nominal | Réduit | ||||
| Rapide (Grand) (R) | 100 | 3,00 | 0,70 | 116 | 332 |
| Rapide Réduit (RR) | 75 | 2,60 | 0,70 | 110 | 288 |
| Semi Rapide (Moyen) (S) | 55 | 1,65 | 0,40 | 96 | 183 |
| Auxiliaire (Petit) (A) | 130 | 1,00 | 0,40 | 71 | 111 |
| Triple Coronne (TC) | 130 | 3,25 | 1,50 | 133 | 360 |
| Pression de alimentation | Nominale (mbar) | 25 | |||
| Minimum (mbar) | 20 | ||||
| Maximum (mbar) | 30 | ||||
- A 15°C et 1013 mbar-gaz sec
Propane P.C.S. = 50,37 MJ/kg
* Butane P.C.S. = 49,47 MJ/kg
Naturele G20 P.C.S. = 37,78 MJ/m3
Naturele G25 P.C.S. = 32,49 MJ/m3
Air Propané P.C.S. = 25,72 MJ/m
(1) Seulement pour les appareils équipés de dispositif de sécurité.



PH 640.../HA PH 640MST.../HA PH 631.../HA
Vue d'ensemble


Voyant de fonctionnement des PLAQUE ELECTRIQUE* il s'allume des que la manette n'est plus sur la position eteint.
- BRULEURS GAZ ils ont plusieurs dimensions et puissances. Choisisse celui qui correspond le moyen au diamètre de votre casserole.
- Manettes de commande des BRULEURS GAZ et de la PLAQUE ÉLECTRIQUE* pour le réglage de la flamme ou de la puissance.
- La bougie d'allumage des BRULEURS GAZ* permit l'allumage automatique du brûleur sélectionné.
-
DISPOSITIF DE SECURITE* en cas d'extinction accidentelle de la flamme, coupe immediatement l'arrivee du gaz.
-
N'existe que sur certains modèles
Mise en marche et utilisation
! La position du brûleur gaz ou de la plaque électrique* correspondante est indiquée sur chaque manette.
Brûleurs à gaz
Chaque manette permet de régler le brûleur sélectionné comme suit :
Eteint
Maximum
6 Minimum
Pour allumer un brûleur, approchez une flamme ou un allume-gaz, appuyez à fond et tournez la manette correspondante dans le sens inverse des aiguilles d'une montre pour sélectionner la position de puissance maximale.
Sur les modèles équipés d'un dispositif de sécurité gaz, appuyez pendant au moins 2-3 secondes de suite sur la manette pour permettre au dispositif de se réchauffer.
Pour allumer un brûleur sur les modèles équipés de bougie d'allumage, appuyez d'abord sur le bouton
d'allumage repéré par le symbole , appuyez ensuite à fond sur la manette correspondante et tournez-la dans le sens inverse des aiguilles d'une montre jusqu'à sa position de puissance maximale.
Certains modèles sont équipés d'un allumage intégré à l'intérieur de la manette, dans ce cas, il y a une bougie d'allumage mais pas de bouton (le symbole se trouve pres de chaque manette).
Pour allumer le brûleur besoini, appuyez d'abord à fond sur la manette correspondante et tournez-la ensuite dans le sens contraire des aiguilles d'une montre jusqu'à la position puissance maximum, continuez à appuyer jusqu'à ce qu'il y ait allumage.
! En cas d'extinction accidentelle des flammes du brûleur, tournez la manette jusqu'à l'arrêt et attendez au moins 1 minute avant de tenter de rallumer.
Pour eteindre le bruleur tournez la manette dans lesens des aiguilles d'une montre pour la ramener en face du symbole
Plaques électriques*
Pour procéder au réglage, tournez la manette correspondante dans le sens des aiguilles d'une montre ou dans le sens inverse enCHOISSSANT une des 6 positions possibles :
| Position | Plaque normale ou rapide |
| 0 | Eteint |
| 1 | Poissance minimum |
| 2 - 5 | Poissance intermédiaires |
| 6 | Poissance maximum |
Toute position de la manette autre que la position "eteint" entraine l'allumage duvoyant de fonctionnement.
Conseils pratiques pour l'utilisation des brûleurs
Pour obtaining un meilleur rendement, n'oubliez pas :
- d'utiliser des recipients appropriés à chaque brûleur (voir tableau) pour éviter que les flammes ne dépassent de sous les casseroles.
- de tous jours utiliser des cassetoles à fond plat et avec couvercle.
- de tourner la manette dans la position minimum au moment de l'ébullition.
| Brûleurs | Ø Récipients (cm) |
| Rapide (RR) | 24 - 26 |
| Rapide Réduit (RR) | 22 - 24 |
| Semi Rapide (S) | 16 - 20 |
| Auxiliaire (A) | 10 - 14 |
| Triple Couronne (TC) | 24 - 26 |
Pour désigner le type de brûleur reportez-vous aux dessins figurant dans le paragraphe "Caracteristiques des brûleurs et des injecteurs"
N'existe que sur certains modèles
Conseils pratiques pour l'utilisation des plaques électriques*
Pour éviter toute déperdition de chaleur et ne pas endommager la plaque, il est conseilé d'utiliser des casseroles à fond plat n'ayant pas un plus petit diamètre que celui de la plaque.
| Position | Plaque normale ou rapide |
| 0 | Eteint. |
| 1 | Cuisson de légumes verts, poissons. |
| 2 | Cuisson de pommes de terre (à la vapeur) soupés, poised chiches, haricots. |
| 3 | Pour continuer la cuisson de grandes quantités d'aliments, minestrone. |
| 4 | Rôtir (moyen). |
| 5 | Rôtir (fort). |
| 6 | Rissoler ou rejoindre l'ébullition en peu de temps. |
! Avant d'utiliser vos plaques de cuisson pour la première fois, faites-les chauffer pendant 4 minutes à leur température maximum sans casserole. Au cours de cette phase initiale, le revêtement protecteur durcit et atteint sa résistance maximum.
- N'existe que sur certains modèles
! Cet apparéil a été concu et fabriqué conformément aux normes internationales de sécurité. Ces conseils sont fournis pour des raisons de sécurité et doivent être lus attentivement.
Sécurité générale
- Ce mode d'emploi concerne un apparéil à encastrer classe 3.
- Pour bien fonctionner, les apparciels à gaz ont besoin d'un apport d'air régulier. Il est important de vérifier lors de leur installation, que tous les points indiqués dans le paragraphe relatif à leur "Positionnement" soient respectés.
- Les instructions fournies ne sont applicables qu'aux pays dont les symboles sont reportés dans la notice et sur la plaquette d'immatriculation.
- Cet apparéil a été concu pour un usage familial, de type non professionnel.
- Cet apparéil ne doit pas être installé en extérieur, même dans un endroit abrité, il est en effet très dangereux de le laisser exposé à la pluie et aux orages.
- Ne touchez pas à l'appareil si vous étés pieds nus ou si vous avez les mains ou les pieds mouillés ou humides.
- Cet apparéil qui sert à cuire des alimentés ne doit être utilisé que par des adultes conformément aux instructions du mode d'emploi. Toute autre utilisation ( comme par exemple le chauffage d'une piece) est impropre et donc dangereux. Le fabricant décline toute responsabilité en cas de dommages provoqués par un usage impropre ou erroné.
- Evitez que le cordon d'alimentation d'autres petits électroménagers touche à des parties chaudes du four.
- Les orifices ou les fentes d'airation ou d'évacuation de la chaleur ne doivent pas été bouchés
- Contrôlez toujours que les manettes sont bien dans la position “●”/“O” quand l'appareil n'est pas utilisé.
-
Ne tirezURTout pas sur le cable pour debrancher la fiche de la prise de courant.
-
N'effectuez aucune opération de nettoyage ou d'entretien sans avoirAAPARAVANT DEBRANCHÉ la fiche de la prise de courant.
- En cas de panne, n'essayez enaucun cas d'acceder aux mecanismes internes pour tenter de réparer l'appareil. Contactez le service d'Assistance (voir Assistance).
- Faites attention à ce que les manches des casseroles soient toujours tournés vers l'intérieur de la table de cuisson pour éviter tout risque d'accident.
- N'abaissez pas le couvercle en verre (s'il y en a un) tant que les brûleurs gaz ou la plaque électrique sont chauds.
- Ne laïsez pas la plaque électrique allumée sans casserole dessus.
- N'utilisez pas de casseroles instables ou déformées.
- Le dispositif n'est pas destiné à être mis en œuvre par une minuterie externe ou un système de télécommande séparée.
Mise au rebut
-
Mise au rebut du matériel d'emballage : conformez-vous aux reglementations locales, les emballages pourront ainsi etre recycles.
-
La Directive Européenne 2002/96/CEE sur les Déchets des Equipements Electriques et Electroniques (DEEE), exige que les apparciels menagers usages ne soient pas jetés dans le flux normal des déchets municipaux. Les apparciels usages doivent être collectés séparément afin d'optimiser le taux de récapération et le recyclage des matérieliaux qui les composent et réduire l'impact sur la santé humaine et l'environnement. Le symbole de la "poubelle barree" est apposée sur tous les produits pour rappeler les obligations de collecte séparée.
Les consommateurs pourront confier leur apparéil usage au service de collecte des collectivités locales ou de leurs groupements, ou si la législation nationale le permet, le rendre au revendeur lors de l'achat d'un nouvel apparéil similaire.
Tous les principaux fabricants d'appareils menagers travaillent activement dans la creation et la gestion de systèmes de collecte et d'enlèvement des appareils usages.
Mise hors tension
Avant toute opération de nettoyage ou d'entretien coupez l'alimentation électrique de l'appareil.
Nettoyage de l'appareil
! N'utilise pas de détergents abrasifs ou corrosifs, tels que détacheurs et dérouilleurs, poudres à récurer et éponges à surface abrasive : ils risquent de rayer irrémédiablement la surface.
! Ne nettoyez jamais l'appareil avec des nettoyeurs vapeur ou haute pression.
- Pour un entretien courant, passes une éponge humide sur la surface et sechez avec du papier essuie-tout.
- Les parties démontables des brûleurs doivent être lavées frequently à l'eau chaude avec du détermgent en eliminant soigneusement toute incrustation.
- Dans le cas de tables équipées d'allumage automatique, nettoyez fraisment et soigneusement l'extrémité des dispositifs d'allumage electronique instantané et vérifie que les orifices de sortie du gaz ne sont pas bouchés.
- Nettoyez les plaques électriques à l'aide d'un chiffon humide et graissez-les avec un peu d'huile quand elles sont encore tièdes.
- Des taches peuvent se former sur l'acier inox si ce dernier reste trop longtemps au contact d'une eau très calcaire ou de détergents agressifs (contenant du phosphore). Il est conseilé de rincer abondamment et d'essuyer après le nettoyage. Mieux vaut essuyer aussi tout débordement d'eau.
Entretien robinets gaz
Il peut arriver qu'au bout d'un certain temps, un robinet se bloque ou tourne difficilement. Il faut alors le remplacer.
! Cette opération doit être effectuee par un technicien agreé par le fabricant.
Il peut arriver que l'appareil ne fonctionne pas ou ne fonctionne pas très bien. Avant d'appeler le service après-venture, voyons Ensemble que faire. Verifiez avant tout s'il n'y a pas de coupure de gaz ou de courant, et si les robinets du gaz en amont de l'appareil sont bien ouverts.
Anomalies
Le brûleur ne s'allume pas ou la flamme n'est pas uniforme.
- les orifices de sortie du gaz ne sont pas par hasard bouchés.
- les pièces amovibles composant le brûleur sont bien montées correctement.
- il y a des courants d'air dans les environns du plan de cuisson
La flamme s'eteint dans les versions équipées de sécurité de flamme.
- vous avez bien appuyé à fond sur la manette.
- vous avez bien appuyé à fond sur la manette pendant un laps de temps suffisant pour permettre l'activation du dispositif de sécurité.
- les orifices de sortie du gaz situés en face du dispositif de sécurité ne sont pas par hasard bouchés.
Le brûleur s'eteint quand il est régle sur la position de minimum.
- les orifices de sortie du gaz ne sont pas par hasard bouchés
- il y a des courants d'air dans les environns du plan de cuisson
- les minima n'ont pas bien ete regles.
Les cassetoles sont instables.
- le fond de la casserole est parfaitement plat
- la casserole est bien placée au centre du brûleur
- la position des grilles n'a pas par hasard ete inversee.
Si, malgré tous ces contrôles, votre apparéil ne fonctionné toujours pas et l'inconvénient persiste, faites appel à notre station technique. Indiquez-lui :
-
le modele de votre appareil (Mod.)
-
son numéro de série (S/N)
Ces informations figurent sur la plaquette signaletique apposee sur suaere appareil et/ou sur son emballage.
! Ne faites jamais appel à des techniciens non agreés et refusez toujours l'installation de pieces détachées non originales.

Italiano, 1 Franciengl,12


Espanol, 36

Romana,47


Türkce,58
PH 640 M/HA
PH 640 M GH/HA
PH 640 M R/HA
PH 640 MS/HA
PH 640 MS GH/HA
PH 640 MST/HA
PH 640 MST R/HA
PH 640 MST GH/HA
PH 640 MS R/HA
PH 640 M IB/HA
PH 640 MS IB/HA
PH 631 M/HA
PH 631 MS/HA
PH 631 MS R/HA
Sumario
Instalación, 37-40
Colocacion
Conexión electrica
Conexión gas
Placa de caracteristicas
Notice Facile