MCM280D - Chaîne Hi-Fi PHILIPS - Notice d'utilisation et mode d'emploi gratuit
Retrouvez gratuitement la notice de l'appareil MCM280D PHILIPS au format PDF.
| Caractéristiques techniques | Détails |
|---|---|
| Type de produit | Système Hi-Fi |
| Puissance de sortie | 2 x 20 W RMS |
| Lecteur CD | Compatible CD, CD-R/RW |
| Connectivité | Entrée AUX, USB, Bluetooth |
| Fonctionnalités audio | Radio FM, égaliseur, fonction de répétition |
| Dimensions | Dimensions compactes pour un rangement facile |
| Poids | Environ 2,5 kg |
| Utilisation | Idéal pour la maison, les petites fêtes, et les moments de détente |
| Maintenance | Nettoyer régulièrement avec un chiffon doux, éviter l'humidité |
| Réparation | Consulter un professionnel pour toute réparation interne |
| Sécurité | Ne pas exposer à l'eau, utiliser sur une surface stable |
| Informations générales | Vérifier la compatibilité des formats audio avant l'achat |
FOIRE AUX QUESTIONS - MCM280D PHILIPS
Questions des utilisateurs sur MCM280D PHILIPS
0 question sur cet appareil. Repondez a celles que vous connaissez ou posez la votre.
Poser une nouvelle question sur cet appareil
Téléchargez la notice de votre Chaîne Hi-Fi au format PDF gratuitement ! Retrouvez votre notice MCM280D - PHILIPS et reprennez votre appareil électronique en main. Sur cette page sont publiés tous les documents nécessaires à l'utilisation de votre appareil MCM280D de la marque PHILIPS.
MODE D'EMPLOI MCM280D PHILIPS
Laden des iPods/iPhones 17
Laden des iPods/iPhones
2 Voitre microchaine 6
Introduction
Contenu de l'emballage 6
Présentation de l'unité principale 7
Présentation de la télécommande 8
3 Guide de démarrage 10
Fixation du support 10
Connexion de l'antenne FM 10
Connexion des enceintes 10
Alimentation 11
Preparation de la télécommande 11
Réglage de l'horloge 11
Mise sous tension 12
4 Lecture 13
Lecture d'un disque 13
Lecture à partir d'un périphérique USB 13
Suppression de fichiers du périhérique USB 13
Diffusion de fichiers audio stockés sur un périphérique externe 13
5 Options de lecture 14
Lecture repeteee et aléatoire 14
Programmation des pistes 14
14
6 Enregistrement 15
7 Lecture à partir d'un iPod/iPhone 16
iPod/iPhone compatibles 16
Écoute de l'iPod/iPhone 16
Retrait de l'iPod/iPhone 17
8 Ecoute de la radio 18
Réglage d'une station de radio 18
Programmation automatique des stations de radio 18
Programmation manuelle des stations de radio 18
Sélection d'une station de radio préseLECTIONnée 18
Affichage des informations RDS 19
Réglage de l'horloge par RDS 19
9 Reglage du son 20
Réglage du volume sonore 20
Sélection d'un effet sonore prédéfini 20
Renforcement des basses 20
Désactivation du son 20
10 Utilisation avancée de votre microchaine
Réglage de l'arrêt programme 21
Réglage de l'alarme 21
Utilisation du casque 21
11 Informations sur les produits 22
Caracteristiques techniques 22
Formats de disque MP3 pris en charge 23
Informations de compatibilité USB 23
Entretien 23
12Dépannage 24
1 Important
Sécurité
① Lisez attentivement ces consignes.
② Conservez soigneusement ces consignes.
3 Tenez compte de tous les avertissements.
④ Respectez toutes les consignes.
N'utilisez pas cet apparéil à proximité d'une source d'eau.
6 Nettoyez l'appareil avec un chiffon sec uniquely.
⑦ N'obstruez pas les orifi ces de ventilation. Installez l'appareil conformément aux consignes du fabricant.
8 N'installez pas l'appareil a proximite de sources de chaleur telles que des radiateurs, registres de chaleur, poèles ou autres appareils (incluant les amplifi cateurs) produit de la chaleur.
Pour les pays ou l'alimentation secteur est polarisée, respectez la fonction de sécurité de la fi che polarisée ou de mise à la terre. Une fi che polarisée possède deux broches dont l'une est plus large que l'autre. Une fi che de mise à la terre possède deux broches et une patte de mise à la terre. La brochure large ou la troisième patte est fournie pour des raisons de sécurité. Si la fi che fournie n'est pas adaptée à votre support de prise, demandez à un electricien de vous le replacer.
Remarques: pour éviter tout risque de chocoléctrique, veilles à aligner la broche large de la fi che sur l'orifi ce large correspondant, en l'insérant au maximum.

10 Evitez de marcher sur le cordon d'alimentation ou de le pincer, notamment au niveau des fi ches, des prises de courant et de son point de sortie sur I'appareil.
11 Utilisez uniquement les pieces de fi xation/accessoires spécifi e(s) par le fabricant.
12 Utilisez uniquement l'appareil avec le chariot, le socle, le trépied, le support ou la table spécifique é(e) par le fabricant ou vendu(e) avec l'appareil. Lorsque vous utilisez un chariot, prenez garde à ne pas le faire basculer avec l'appareil lorsque vous le déplacez. Vous risqueriez de vous blesser.

13 Debranchez cet apparéil en cas d'orage ou pendant les longues périodes d'inutilisation.
14 Confi ez toutes les taches de maintenance a un personnel qualifi e. Dest travaux de maintenance sont nécessaires en cas d'endommagement de l'appareil : par exemple, endommagement du cordon d'alimentation ou de la fi che, deversement de liquide ou chute d'objets à l'intérieur de l'appareil, exposition de l'appareil à la pluie ou a l'humidité, dysfonctionnement ou chute de l'appareil.
15 Utilisation des piles - ATTENTION Pour éviter les fuites de piles pouvant endommager l'appareil ou entraîner
des blessures corporelles ou des dégats matériels, respectez les consignes suivantes :
Installez correctement toutes les • piles, ennant garde aux sens + et - indiqués sur l'appareil.
Ne mélangez pas les piles (neuves et anciennes, au carbone et alcalines, etc.).
Retirez les piles du compartment si -
vous n'utilise pas l'appareil pendant
une longue période.
Les piles ne doivent pas etre .
exposées à une chaleur excessive (lumière du soleil, feu ou source assimilée).
16 Voiture apparéil ne doit pas être exposé aux fuites goutte à goutte ou aux éclaboussures.
Ne placez pas d'objets susceptibles d'endommager votre apparéil à proximé de celui-ci (par exemple, objets replis de liquide ou bougies allumées).
18 Ce produit peut contenir du plomb et du mercure. La mise au rebut de ces substances peut etre reglementee afin de preserver l'environnement. Pour plus d'informations sur le traitement ou le recyclage des produits, veuillez contacter les autorites locales ou l'Electronic Industries Alliance a l'adresse www.eiae.org.

Avertissement
Ne retirez jamais le boftier de cet apparéil.
Ne graissez jamais aucun composant de cet apparéil.
Ne posez jamais cet apparéil sur un autre équipement • électrique.
Conservez cet appeareil à l'abri des rayons du soleil, des • fl ammes nues et de toute source de chaleur.
Ne regardez jamais le rayon laser émis par l'appareil.
Veillez à maintainir un accès facile au cordon d'alimentation, à la fi che ou à l'adaptateur pour débrancher l'appareil.
Si la prise d'alimentation ou un coupleur d'appareil est utilisé comme dispositif de découplage, celui-ci doit rester facilement accessible.

Attention
L'utilisation de commandes ou de réglages, ou de toute • autre procédure que celles données dans ce document risque d'exposer l'utilisateur à une utilisation ou à des radiations dangereuses.
Sécurité d'écoute
Écoutez à un volume modéré.
L'utilisation des écouteurs à un volume élevé peut entraîner des pertes auditives. Ce produit peut générer un volume sonore capable de déterminer les fonctions auditives d'un individu aux facultés normales, même en cas d'exposition inférieure à une minute. Les niveaux sonores élevés sont destinés aux personnes ayant déjà subi une diminution de leurs capacités auditives.
Le son peut etre trompeur. Au fi I du temps,voire nivea de comfort auditif s'adapte a des volumes plus eleves.Apres une ecoute prolongee, un niveau sonoreleve et nuisible a vos capacités auditives pourra vous sembler normal. Pour eviterILA,reglez le volume a un niveau non nuisible assez longtemps pour que voitre ouie s'y habitue et ne le changez plus.
Pour défini rir un volume non nuisible :
- Réglez le volume sur un niveau peu élevé.
Augmentez progressively le volume, jusqu'à ce que vous puissiez entendre le son comfortsablement et clairement, sans distorsion.
Limits les périodes d'écoute :
Une exposition prolongée au son, même à des niveaux normaux et non nuisibles, peut entraîner des pertes auditives.
Veillez a utiliser votre équipement de façon raisonnable et à interrompree l'écoute de temps en temps.
Veiliez à respecter les recommendations suivantes lors de l'utilisation de vos écouteurs.
Écoutez à des volumes raisonnables · pendant des durées raisonnables.
Veiliez à ne pas régler le volume lorsque · votre ouie est en phase d'adaptation.
Ne réglez pas le volume de sorte que · vous n'entendiez plus les sons de votre environnement.
Faites preuve de prudence dans · l'utilisation des écouteurs ou arrêtez
l'utilisation dans des situations
potentiellement dangereuses. N'utilisez pas les écouteurs lorsque vous conduisez ou que vous étés en vélo, sur un skate, etc.: cette utilisation peut s'avérer dangereuse sur la route et est illégale dans de nombreuses régions.
Avis
Toute modifi cation apportee a cet apparéil qui ne serait pas approuvée expréssement par Philips Consumer Lifestyle peut invalider l'habilitation de l'utilisateur à utiliser l' apparéil.
Ce produit est conforme aux spécifcations d'interfERENCE radio de la Communaute Europeenne.

Ce produit est conforme aux spécifiations des directives et des normes suivantes: 2004/108/EC, 2006/95/EC.
Toute modifi cation apportee a cet apparéil qui ne serait pas approuvée expréssement par Philips Consumer Lifestyle peut invalider l'habilitation de l'utilisateur à utiliser l' apparéil.
Recyclage
Votre produit a ete concu et fabrique avec des materiaux et des composants de haute qualite pouvant etre recycles et reutilises.

La présence du symbole de poubelle barrée indique que le produit est conforme à la directive européen 2002/96/CE:
Ne jetez pas ce produit avec les ordures menagères ordinaires. Renseignez-vous sur les dispositions en vigueur dans votre région concernant la collecte séparée des apparils électriques etlectroniques.

La mise au rebut correcte de l'ancien produit permet de préserver l'environnement et la santé.
Votre produit contient des piles relevant de la Directive europeenne 2006/66/EC qui ne doit pas etre mises au rebut avec les déchets menagers.
Lorsque le symbole de poubelle sur roues barrée accompagné du symbole chimique «
Pb fi gure sur un produit, cela signifi e que les piles containues dans ce produit relevant de la directive sur le plomb :

Renseignez-vous sur les réglementations locales concernant la collecte séparée des piles. La mise au rebut citoyenne de votre produit usage permit de protéger l'environnement et la santé.
La réalisation de copies non autorises de contenu protégé contre la copie, notamment de programmes informatiques, fi chiers, diffusions et enregistrement sonores, peut représentier une violation de droits d'auteur et une infraction à la loi. Cet apparéil ne doit enaucun cas être utilisé à de telles fi ns.
L'enregistrement et la reproduction de tout élément peuvent être soumis à un accord préalable. Reportez-vous au Copyright Act 1956 (Loi de 1956 sur les droits d'auteurs) et aux Performer's Protection Acts 1958 to 1972 (Loi sur la protection des auteurs de 1963 et 1972) pour plus d'informations.
Cet apparéil présente l'étiquette suivante :
CLASS1 LASERPRODUCT
Informations sur l'environnement
Tout emballage superflu a ete evite. Nous avons fait notre possible pour permettre une separation facile de I'emballage en trois materiaux: carton (boite), pate à papier (amortisseur de chocs) et polyethylene (sacs, feuille protectrice en mousse).
Votre apparéil se compose de matérieliaux recyclables et réutilisables à condition d'être démontés par une entreprise spécialisée.
Respectez les reglementations locales pour vous débarrasser des emballages, des piles usagées et de votre ancien équipement.
2 Entre microchaine
Félicitations pour votre achat et bienvenue chez Philips! Pour bénéficier de tous les avantages de l'assistance Philips, enregistrez votre produit à l'adresse www.philips.com/welcome.
Introduction
Avec cet apparéil, vous pouvez: écouter de la musique depuis des disques audio, un iPod, un iPhone et autres périhériques externes; écouter des stations de radio; enregistrer des fi chiers audio à partir de disques sur un périhérique de stockage USB.
Il propose de nombreux régles d'effets sonores qui améliorent la qualité audio grâce aux fonctions DSC (Digital Sound Control, contrôle du son numérique) et DBB (Dynamic Bass Boost, amplifi cation dynamique des basses). L'appareil prend en charge les formats multimédias suivants:



Remarque
La plaque signalétique est située à l'arrière de l'appareil.
Contenu de l'emballage
Verifi ez et identifi ez les différentes pieces containues dans l'emballage :
Unité principale
Adaptatour secteur
2 enceintes
Télécommande
Station d'accueil pour iPod/iPhone (cable • foumi)
Base
- Manuel d'utilisation
Guide de démarrage rapide
Présentation de l'unité principale

① Capteur de la telecommande
2 Arreter la lecture.. Permet d'arreter un enregistrement. Permet d'effacer un programme.
3OK Confirmer une selection.
4 MENU Permet de selectionner le menu iPhone/iPod.
5STANDBY-ON Permet d'allumer l'appareil ou de passer en mode veille.
(6)OPEN/CLOSE
Permet d'ouvrir ou de fermer le logement du disque.
⑦SOURCE
Permet de seLECTIONner une source.
Tableau d'aff chage
Permet d'afficher l'etat en cours.
⑨ALBUM /PRESET+/-
Permet de passer à l'album
préçédent/suivant.
Permet deCHOISIR une preselection radio.
Permet de parcourir le menu iPod/iPhone.
10
Prise USB.
(11)REC
Permet d'enregistrer des
fi chiers audio d'un disque sur un périphérique de stockage USB.
12VOLUME+/-
Permet de régler le volume.
Permet de régler l'heure.
(13)DSC
Permet de selectionner un reglage sonore predefi ni.
14
Permet de démarrer ou de • suspendre la lecture.
15
Permet de passer à la piste précedente/suivante.
Permet d'effectuer une recherche dans une piste.
Réglez une station de radio.
16
Permet de brancher un casque.
Presentsation de la telecommande

①
Permet d'activer le mode veille.
②USB
- Permet de sélectionner la source de périphérique USB.
③CD
Permet de selectionner la source disque.
④MP3 LINK
Permet de selectionner une source • audio externe.
e DISPLAY/CLOCK
Permet de selectionner les informations d'aff chage pendant la lecture. Permet de regler l'horloge. Permet d'aff cher l'horloge.
f MENU
Permet de selectionner le menu - iPhone/iPod.
g
Réglez une station de radio.
Permet d'effectuer une recherche.
dans une piste.
h USB REC
Permet de lancer un enregistrement. Permet de selectionner un mode d'enregistrement.
i
Permet de passer à la piste précédente/suivante.
- Permet deCHOISIR une preselection radio.
j Touches numérotiés 0-9
- Permet deCHOISIR une preselection radio.
- Permet de sélectionner une piste directement depuis un disque.
k DSC
- Permet de sélectionn un réglage sonore prédéfi ni.
I TUNER
Permet de selectionner la source du tuner.
m iPhone/iPod
Permet de selectionner une source • iPhone ou iPod.
n SLEEP
Permet de régler l'arrêt programme.
o TIMER
Permet de regler la minuterie de l'alarme.
- Permet d'activer ou de désactiver le programmeur.
p MUTE
- Permet de couper et de rétablier le son.
q
- Permet de parcourir le menu iPod/ iPhone.
Permet de passer à l'album precedent/suivant.
r OK
- Confirmer une seLECTION.
s USB DEL
Permet de supprimer des fi chiers d'un périhérique de stockage USB.
t III
- Permet de démarrer ou de suspendre la lecture.
u VOL +/-
Permet de régler le volume.
Permet de régler l'heure.
V
- Arrête la lecture.
- Permet d'effacer un programme.
w REPEAT
- Permet de sélectionner les modes de répétition.
X SHUFFLE
- Permet de sélectionner les modes de lecture aléatoire.
y PROG
Permet de programme des pistes.
- Permet de programme des stations de radio.
z RDS/NEWS
Pour les stations de radio FM selectionnées:permét d'afficher les informations RDS.
DBB
Permet d'activer ou de désactiver le renforcement dynamique des basses.
3 Guide de démarriage
L'utilisation de commandes ou de réglages, ou de toute autre procédure que celles données dans ce document risque d'exposer l'utilateur à une utilisation ou à des radiations dangereuses.
Les instructions foumies dans ce chapitre doit etre suivies dans l'ordre enoncé. Si vous contactez Philips, you devrez fourir les nombres de modele et de série de cet appeareil. Les nombres de série et de modele sont indiqués à l'arriere de l'appareil. Notez ces nombres ici: N° de modele N° de série
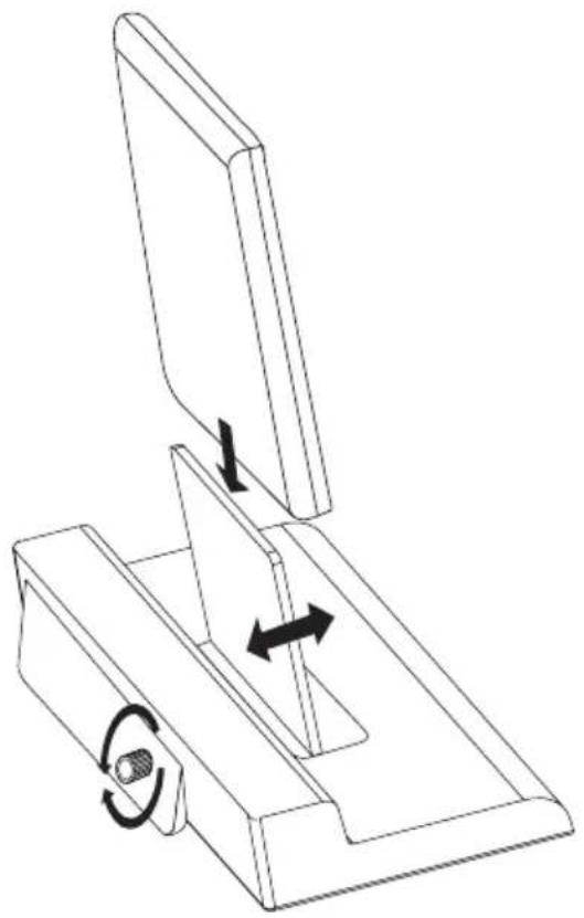
Fixation du support

1 Renversez l'unité principale vers l'avant, puis faites glisser la base dans le logement jusqu'à ce qu'elle soit fi xée.
Connexion de l'antenne FM
1 Connectez l'antenne FM fournie à la prise FM AERIAL située à l'amière de l'unité principale.

Connexion des enceintes


Remarque
Verifi ez que la couleur des cables d'enceinte et celle des prises correspondent.
1 Maintenez le volet de la prise enforcé.
2 Insérez complètement la partie dénudée du cable.
Insérez les cables de l'enceinte de • droite dans « RIGHT », ceux de l'enceinte de gauche dans « LEFT »
Insérez les cables rouges/bleus dans
+ et les câbles noirs dans « - »
3 Relâchez le volet de la prise.
Alimentation

Attention
Risque d'endommagement du produit! Verifié ez que la tension d'alimentation correspond à la valeur de tension imprimée à l'amère de l'appareil ou en dessous.
Risque d'électrocution! Lorsque vous débranchez • l'adaptateur secteur, tirez sur la fi che électrique, jamais sur le cordon.
- Avant de brancher le cordon d'alimentation, vérifiEZ que vous avez effectué toutes les autres connexions.
1 Branchez l'adaptateur secteur sur la prise • DC IN à l'arrête de l'unité principale ; la prise secteur.
Preparation de la télécommande

Attention
Risque d'explosion! Tenez les batteries à l'abri de toute source de chaleur, des rayons du soleil ou du feu. Ne les jetez jamais au feu.
Avant la première utilisation :
1 Retirez la languette de protection de la pile de la télécommande pour lui permettre de fonctionner.
Pour remplacer la pile de la télécommande :
1 Ouvrez le compartment de la pile.
2 Insérez une pile CR2025 en respectant la polarité (+/-) indiquée.
3Fermez le compartment de la pile.


Remarque
Avant d'appuyer sur une touche de fonction de la télécommande, commencez par selectionner la source appropriée à l'aide de la télécommande (au lieu de passer par l'unité principale).
Retirez la pile si vous pensez ne pas utiliser la télécommande pendant un certain temps.
Réglage de l'horloge
1 En mode veille, appuyez sur DISPLAY/CLOCK pour activer le mode de réglage de l'horloge.
Les chiffres des heures s'affi chent et se mettent à clignoter.

Remarque
En mode veille Eco, appuyez sur CLOCK pour afficher l'horloge, puis maintenez la touche CLOCK enforcée pour proceder au reglage de l'horloge.
2 Appuyez plusieurs fois sur pour selectionner le format 12 heures ou 24 heures.
3 Appuyez sur VOL + / - pour régler l'heure.
4 Appuyez sur DISPLAY/CLOCK pour confirmer.
Les chiffres des minutes s'affi chent et se mettent a clignoter.
5 Appuyez sur VOL +/- pour régler les minutes.
6 Appuyez sur DISPLAY/CLOCK pour confirmer.
Mise sous tension
1 Appuyez sur STANDBY-ON sur l'unité principale.
L'appareil bascule sur la première source seLECTIONnée.
Activation du mode veille
1 Appuyez à nouveau sur pour activer le mode veille de l'appareil.
Le rétroéclairage de l'affi chezur diminue.
Si vous avez préalablement régle
I'horloge, celle-ci apparait sur I'aff cheur.

Remarque
Lorsque vous n'appuyez sur aucune touche pendant plus de 15 minutes en mode veille, l'appareil passae automatiquement en mode veille Eco et le retroeclairage se desactive sur I'ecran.
4 Lecture
Lecture d'un disque
1 Appuyez sur CD pour selectionner la source disque.
2 Appuyez sur pour ouvrir le tiroir-disque.
3 Insérez un disque, face imprimée vers le haut, puis fermez le tiroir-disque. La lecture démarre automatiquement. Pour suspendre/reprene de la lecture, appuyez sur Pour améter la lecture, appuyez sur . Pour les fi chiers MP3/WMA: pour selectionner un album, appuyez sur . Pour acceder à une piste, appuyez sur . Pour effectuer une recherche dans une . piste, maintenez enfoncé. Relâchez pour reprendre la lecture nomale.
Lecture à partir d'un périphérique USB

Remarque
Assurez-vous que le périphérique USB contient des fi chiers audio compatibles.
1 Ouvrez le volet de la prise USB situé sur la face avant.
2 Insérez la fi che USB d'un périhérique USB dans la prise.
3 Appuyez sur USB pour selectionner la source USB. La lecture demarre automatiquement. Pour suspendre/repreneure la lecture, appuyez sur II. Pour ameter la lecture, appuyez sur . Pour les fi chiers MP3/WMA : pour selectionner un album, appuyez sur △V.
Pour acceder a une piste, appuyez sur.
Pour effectuer une recherche dans une piste, maintenez enforcé. Relâchez pour reprendre la lecture normale.
Suppression de fichiers du périphérique USB
1 Appuyez sur pour selectionner une piste.
2 Appuyez sur USB DEL.
Un message de confirmation s'affi che à l'écran.
3 Appuyez de nouveau sur USB DEL pour confirmer.
Pour annuler, appuyez sur ■ .
Une fois le fi chier supprimé, la lecture des fichiers du pérophérique USB s'interrrompt.
Diffusion de fichiers audio stockés sur un péripérique externe
Vous pouvez également écouter de la musique à partir d'un apparéil exter ne via cette station d'accueil.
Pour un apparéil audio doté d'une prise casque :
1 Appuyez sur MP3 LINK pour selectionner la source MP3 link.
2 Connectez le cable MP3 link foumi à la prise MP3 LINK de cet apparéil ; la prise casque d'un lecteur MP3.
3 Lancez la lecture du lecteur MP3 (consultez le manuel d'utilisation du lecteur MP3).
5 Options de lecture
Pour effacer la programmation, à
I'arrêt, appuyez sur ■.
Pour passer en revue la
programmation, à l'arrêt, maintenez
la touche PROG enfoncée pendant
plus de 2 secondes.
Lecture repétée et aléatoire
1 Appuyez plusieurs fois sur REPEAT ou SHUFFLE pour selectionner les options suivantes :
- [REP] (répéter) : la piste en cours est lue en boucle.
- [REP ALL] (répéter tout): toutes les pistes sont lues en boucle.
- [SHUF] (lecture aléatoire): toutes les pistes sont lues de manière aléatoire.
- [SHUF REP ALL] (tout répéter de manière aléatoire): toutes les pistes sont lues en boucle dans un ordre aléatoire.
2 Pour revenir à la lecture normale, appuyez plusieurs fois sur REPEAT ou SHUFFLE jusqu'à ce que le mode de lecture ne s'affi che plus à l'écran.
Affichage des informations de lecture
1 Pendant la lecture, appuyez plusieurs fois sur DISPLAY/CLOCK pour selectionner les différentes informations de lecture.
Programmation des pistes
Vous pouvez programmermer jusqu'à 20 pistes.
1 En mode CD/USB, à l'arrêt, appuyez sur PROG pour activer le mode de programmation. [PROG] (programmation) clignote sur l'afficheur.
2 Pour les pistes MP3/WMA, appuyez sur pour selectionner un album.
3 Appuyez sur Pour selectionner un numero de piste, puis sur PROG pour confirmer.
4 Repetez les étapes 2 et 3 pour programme d'autres pistes.
5 Appuyez sur pour dire les pistes programmes.
Pendant la lecture, [PROG]
14 FR (programmation) s'affiche.
6 Enregistrement
Vous pouvez enregistrer les fi chiers audio d'un disque sur un périphérique USB. Les pistes des CD audio et les fi chiers MP3 sont enregistrés au format.mp3;les fi chiers WMA sont enregistrés au format.wma.
Lors du premier enregistrement sur un pérophérique USB, un dossier nommé PHILIPS est automatiquement créé sur ce pérophérique. Lors de chaque enregistrement sur le pérophérique USB, les fi chiers enregistrés sont stockés dans un sous-dossier du dossier PHILIPS. Les fi chiers et sous-dossiers sont nommés à l'aide de nombres, en fonction de leur date de création.
1 Appuyez sur CD pour selectionner la source disque.
2 Chargez un disque. Pour selectionner la piste a partir de laquelle l'enregistrement doit commencer, appuyez sur les touches numériques.
3 Branchez un périphérique de stockage USB dans la prise de l'appareil.
4 Appuyez plusieurs fois sur USB REC pour selectionner les options suivantes :
- [RIP ONE] (enregistrer une piste): permet d'enregistrer la piste sélectionnée.
- [RIP ALL] (enregistrer tout): permet d'enregistrer l'ensemble des pistes en commencer par la piste sélectionnée. La lecture du disque commence automatiquement au début du disque/de la piste sélectionnée, et l'enregistrement commence.
Pour arrêté l'enregistrement, appuyez sur ■.

Remarque
- Lorsque l'espace est insuffisant, [USB FULL] (mémoire saturaée) s'affi che.
Si une piste enregistrée dure moins de dix secondes, ● elle n'est pas enregistrée sur le périhérique de stockage USB.
7 Lecture à partir d'un iPod/ iPhone
Gréce à cet apparéil, vous pouvez diffuser la musique d'un iPod/iPhone.
iPod/iPhone compatibles
Modèles compatibles d'iPod et d'iPhone
Apple avec connecteur de station d'accueil
30 broches :
iPod classic, iPod touch, iPod nano, iPod
5ème génération (video), iPod mini.
iPhone, iPhone 3G.
Charge de l'iPod/iPhone
1 Connectez la station d'accueil à l'appareil.

2 Tournez la vis pour desserrer la plaque du support.

3 Placez l'iPod/iPhone sur la station d'accueil.
4 Tournez la vis pour fi xer fermement l'iPod/iPhone.
Lorsque I'appareil est sous tension, I'iPod/iPhone place sur la station d'accueil commence a se charger.
Écoute de l'iPod/iPhone
1 Verifi ez que l'iPod/iPhone est correctement charge.
2 Appuyez sur iPhone/iPod pour selectionner la source iPod/Phone.
La lecture de l'iPod/iPhone connecté se lance automatiquement.
Pour suspendre/reprene la lecture, appuyez sur II.
Pour acceder à une piste, appuyez sur.
Pour effectuer une recherche en
cours de lecture, maintenez
/■enfoncé, puis relâchez pour
reprene la lecture normale.
Pour parcourir le menu, appuyez sur
MENU et sur ▲▼ pour selectionner
une option, puis sur OK pour
confirmer.
Charge de l'iPod/iPhone
Lorsque l'appareil est sous tension, l'iPod/iPhone place sur la station d'accueil commence à se charger.
Retrait de l'iPod/iPhone
1 Retirez l'iPod/iPhone de la station d'accueil.

Conseil
Si vous ne parvenez pas à-retirer l'iPod ou l'iPhone, • tournez la vis dans le sens des aiguilles d'une montre pour desserer le support.
8 Écoute de la radio
Réglage d'une station de radio

Remarque
Pour une réception optimale, déployez entière l'antenne FM et modifi ez-en la position.
1 Appuyez sur TUNER pour selectionner la source tuner.
2 Maintenez la touche /Anfoncee pendant plus de 2 secondes.
[SEARCH] (recherche) s'affiche.
La radio se regle automatiqueur sur une station presentant un signal puissant.
3 Repetez l'etape 2 pour regler d'autres stations de radio.
Pour régler une station dont le signal est faible, appuyez plusieurs fois sur jusqu'à obtention de la réception optimale.
Programmation automatique des stations de radio

Remarque
Vouspouvzprogrammer jusqu'a40 stations de radio FM.
1 En mode tuner, maintenez la touche PROG enforcée pendant plus de 2 secondes pour activer le mode de programmation automatique.
[AUTO] (auto) s'affiche.
Toutes les stations disponibles sont programmes dans l'ordre de qualite de reception des fréquences.
La première station de radio programmee est diffusee automatiqueement.
Programmation manuelle des stations de radio

Remarque
Vouspouvzprogrammer jusqu'a40 stations de radio FM.
1 Permet de régler une station de radio.
2 Appuyez sur PROG pour activer le mode de programmation.
[PROG] (programmation) clignote sur l'afficheur.
3 Appuyez sur pour attribuer un numero (de 1 à 40) à la station de radio en cours, puis appuyez sur PROG pour confirmer.
Le numero de presélection et la fréquence de la station presélectionnée s'affi chent.
4 Repetez les étapes ci-dessus pour programmer d'autres stations.

Remarque
Pour remplacer une station preselectionnee, memorisez une autre station a sa place.
Sélection d'une station de radio préseLECTIONnée
1 En mode tuner, appuyez sur ▲ pour selectionner un numero de préselection.
Affi chage des informations RDS
Le système RDS (Radio Data System) est un service qui permet aux stations FM d'affi cher des informations supplémentaires. Lorsque vous selectionnez une station RDS, une icone RDS et le nom de la station s'affi chent.
1 Sélectionnez une station RDS.
2 Appuyez plusieurs fois sur RDS/NEWS pour parcourir les informations suivantes (si disponibles):
Nom de la station
Type de programme tel que [NEWS]
(actualités), [SPORT] (sport), [POP M]
(musique pop)...
Fréquence
Réglage de l'horloge par RDS
L'utilisation simultanée du signal horsaire et du signal RDS permet de régler automatiquement l'horloge de l'appareil.
1 Réglez la radio sur une station RDS qui transmet les signaux horaires.
2 Maintenez la touche RDS/NEWS enfoncée pendant plus de 2 secondes.

Remarque
La précision de l'heure transmise dépend de la station RDS qui transmet le signal horaire.
9 Réglage du son
Réglage du volume sonore
1 Pendant la lecture, appuyez sur VOL +/- pour augmenter/diminuer le volume.
Selection d'un effet sonore prédéfi ni
1 Pendant la lecture, appuyez plusieurs fois sur DSC pour sélectionner:
[POP] (pop)
[JAZZ] (jazz)
1 Pendant la lecture, appuyez sur DBB pour activer ou désactiver le renforcement dynamique des basses.
Si DBB est activé, l'inscription « DBB » s'affi che à l'écran.
Déactivation du son
1 Pendant la lecture, appuyez sur MUTE pour couper/ rétablir le son.
10 Utilisation avancée de votre microchaine
Réglage de l'arrêt programme
Cet apparéil peut passer automatiquement en mode veille après une durée prédéfi niè.
1 Lorsque l'appareil est sous tension, appuyez plusieurs fois sur SLEEP pour selectionner une durée (en minutes). Si I'arrêt programme est activé, apparait sur I'affi cheur.
Désactivation de l'arrêtprogrammé
1 Appuyez plusieurs fois sur SLEEP jusqu'à ce que « SLP OFF » s'affi che. Si l'arrêt programme est désacté, disparaît de l'affi cheur.
Réglage de l'alarme
Cet apparéil peut être utilisé comme un radio-reveil. La source DISC, TUNER ou USB est activée pour fonctionner à une heures prédéfi niè.
1 Vérifi ez que vous avez correctement régle l'horloge.
2 En mode veille, maintenez la touche TIMER enfoncée pendant plus de 2 secondes.
3 Appuyez sur CD, TUNER, USB ou iPhone/iPod pour selectionner une source.
4 Appuyez sur TIMER pour confirmer. Les chiffres des heures s'affi chent et se mettent a clignoter.
5 Appuyez sur VOL + / - pour regler l'heure.
6 Appuyez sur TIMER pour confirmer.
Les chiffres des minutes s'affi chent et se mettent a clignoter.
7 Appuyez sur VOL +/- pour régler les minutes.
8 Appuyez sur TIMER pour confirmer. Le programmeur est regle et activé.
Activation et désactivation de l'alarme
1 Appuyez plusieurs fois sur TIMER pour activer ou désactiver le programmeur. Si le programmeur est activé, s'affiche.
Si le programmateur est désacté, disparaît de l'afficheur.

Remarque
Si la source disque/periphérique USB est selectionnée et que le lecteur ne peut pas dire la piste, le tuner est activé automatiquement.
Utilisation du casque
1 Branchez un casque sur la prise de l'appareil.
11 Informations sur les produits

Remarque
Les informations sur le produit sont sujettes à modifi cations sans notification préalable.
\section*{Caracteristiques techniques}
| Amplifi cateur | |
| Puisance de sortie nominale | 2 x 30 W RMS |
| Réponse en fréquence 60 - 16 kHz, ±3 dB | |
| Rapport signal/bruit > 62 dB | |
Disque
| Type de laser Semi-conducteur | |
| Diamètre du disque 12 cm/8 cm | |
| Disques pris en charge CD-DA, CD-R, CD-RW, CD-MP3, CD-WMA | |
| CNA audio 24 bits / 44,1 kHz | |
| Distorsion harmonique totale | < 1 % |
| Réponse en fréquence 60 Hz-16 kHz | |
| Rapport signal/bruit > 62 dBA | |
| Tuner | |
| Gamage de fréquences | FM : 87,5 - 108 MHz |
| Grille de syntonisation | 50 kHz (FM) |
| Distorsion harmonique totale | < 3 % |
| Rapport signal/bruit | > 50 dB |
Enceintes
| Impédance | 6 ohms |
Informations generales sur les spécifi cations
| Adaptateur secteur | Modèle : PAT065A19EU Entrée : 100 - 240 V~ CA, 50/60 Hz, 1,5 A Sortie : 19 V CC, 3,4 A |
| Consommation électrique en mode de fonctionnement | 26 W |
| Consommation électrique en mode veille | < 2 W |
| Consommation électrique en mode veille d'économie d'énergie | < 1 W |
| Dimensions | |
| - Unité principale | 211 × 250 × 160 mm |
| (I × H × P) | |
| - Enceinte (I × H × P) | 158 × 250 × 193 mm |
| Poids | |
| - Avec emballage | 5,85 kg |
| - Unité principale | 1,29 kg |
| - Enceinte | 2,39 kg |
Formats de disque MP3 pris en charge
ISO9660, Joliet
Nombre de titres maximum : 512 (selon •
la longueur des noms de fi chier)
Nombre d'albums maximum : 255
Frequences d'échantillonnage prises en
charge:32kHz,44,1kHz,48kHz
Débits binaires pris en charge : 32 à 256 •
(Kbit/s), débits variables
Informations de compatibilité USB
Periphériques USB compatibles :
Mémoires flash USB (USB 2.0 ou • USB 1.1)
Lecteurs fl ash USB (USB 2.0 ou • USB 1.1)
Cartes mémoire (lecteur de carte • supplémentaire requis pour cet apparéil)
Formats pris en charge :
USB ou format de fi chier mémoire
FAT12, FAT16, FAT32 (taille du secteur : 512 Ko)
- Débit binaire MP3 (taux de données) : 32 - 320 Kbit/s et débit binaire variable
WMA version 9 ou ultérieure Imbrication de repertoires jusqu'à 8 niveaux - Nombre d'albums/dossiers : 99 maximum
- Nombre de pistes/titres : 999 maximum
ID3 tag version 2.0 ou ultérieure - Nom de fi chier dans Unicode UTF8 (longueur maximale : 128 octets)
Formats non pris en charge :
- Albums vides : un album vide est un album ne contenant pas de fi chiers
MP3/WMA. Il n'apparaît pas sur l'afficheur.
- Les formats de fi chiers non pris en charge sont ignorés. Par exemple, les documents Word (.doc) ou les fi chiers MP3 dont l'extension est .dlf sont ignorés et ne sont pas lus.
Fichiers audio AAC, WAV et PCM
Fichiers WMA protégés contre la copie (DRM) (.wav, .m4a, .m4p, .mp4, .aac)
Fichiers WMA au format Lossless
Entretien
Nettoyage du boitier
Utilisez un chiffon doux légèrement imprégné d'une solution détergente douce. N'utilisez pas de solutions à base d'alcool, de solvant, d'ammoniaque ou de produits abrasifs.
Nettoyage des disques
En cas d'encrasement d'un disque, nettoyez-le avec un chiffon. Essuyez le disque du centre vers l'extérieur.

N'utilisez pas de solvants comme le benzène, les diluants, les détergents disponibles dans le commerce ou les aérosols antistatiques pour disques analogiques.
Nettoyage de la lentille
- Suite à une utilisation prolongée, des impuretés ou de la poussière peuvent s'accumuler sur la lentille. Pour garantir une lecture de bonne qualité, nettoyez la lentille en utilisant le nettoyeur de lentille pour lecteur de CD de Philips ou d'une autre marque. Suivez les instructions fournies avec le nettoyeur.
12 Dépannage

Attention
Ne retirez jamais le boitier de l'appareil.
Pour que vous garantie reste valide, n'essayez jamais de réparer le système vous-même. En cas de problème lors de l'utilisation de cet apparéil, vérifi ez les points suivants avant de faire appel au service d'assistance. Si aucune solution à votre problème n'a été trouée, visitez le site Web Philips (www.philips.com/ support). Lorsque vous contactez Philips, placez votre apparéil à portée de main et gardez le numéro de modulo et le numéro de série de l' apparéil à disposition.
Pas d'alimentation
Assurez-vous que la prise d'alimentation • secteur de l'appareil est correctement branchée. Assurez-vous que la prise secteur est • alimentee Pour economiser I'energie, le systeme • s'eteint automatiquement 15 minutes après la fi n de la lecture de la piste lorsqu'aucune commande n'a ete utilisée.
Pas de son ou son faible
Réglez le volume.
Vérifi ez que les enceintes sont bien connectées.
Vérifi ez si les cables d'enceinte dénudés sont fi xés.
Sorties audio gauche et droite inversées
Vérifi ez l'emplacement et le raccordement des enceintes.
Aucune réponse de l'unité
Débranchez et rebranchez la prise • d'alimentation secteur, puis mettez à nouveau le système sous tension. L'appareil dispose d'une fonction d'économie • d'énergie. Par conséquent, le système s'esteint automatiquement 15 minutes après la fin de la lecture de la piste lorsqu'aucune commande n'a été utilisée.
La télécommande ne fonctionne pas.
Avant d'appuyer sur une touche de fonction, commencez par selectionner la source appropriée à l'aide de la télécommande (au lieu de passer par l'unité principale).
Rapproche la télécommande de l'appareil.
- Insérez la pile en respectant la polarité (signes +/-) conformément aux indications.
- Remplacez la pile.
Dirigez la télécommande directement
- vers le capteur situé à l'avant de l'appareil.
Periphérique USB non pris en charge
Le périphérique USB est incompatible avec cet apparéil. Essayez un autre périphérique.
Aucun disque détecté
Insérez un disque.
- Vérifi ez que le disque n'a pas eté inséré à l'envers.
- Attendez que la condensation sur la lentille se soit evaporée.
- Remplacez ou nettoyez le disque.
Utilisez un CD fi nalisé ou un disque dont le format est compatible.
Mauvaise qualité de la réception radio
- Éloignez l'appareil de votre téléviseur ou magnétoscope.
Déployez entièrement l'antenne FM. - Branchez plout une antenné FM extérieure.
Leprogrammateurnefonctionnpas.
- Réglez correctement l'horloge.
Activez le programmateur.
Les réglages de l'horloge/du programmateurs sont effacés.
Une coupure de courant s'est produit ou la fi che d'alimentation a ete debranchee.
- Réglez à nouveau l'horloge/leprogrammateur.
Sommario
1 Importante 2
Sicurezza
Awiso
2 Sistema Micro 6
Introduzione
Notice Facile