MCM280D - Sistema de alta fidelidad PHILIPS - Manual de uso y guía de instrucciones gratis
Encuentra gratis el manual del aparato MCM280D PHILIPS en formato PDF.
Questions des utilisateurs sur MCM280D PHILIPS
0 question sur cet appareil. Repondez a celles que vous connaissez ou posez la votre.
Poser une nouvelle question sur cet appareil
Descarga las instrucciones para tu Sistema de alta fidelidad en formato PDF gratis! Encuentra tus instrucciones MCM280D - PHILIPS y toma tu dispositivo electrónico nuevamente en la mano. En esta página están publicados todos los documentos necesarios para el uso de su dispositivo. MCM280D de la marca PHILIPS.
MANUAL DE USUARIO MCM280D PHILIPS
Descripción de la unidad principal 7
Descripción del control remot 8
3 Introduccion 10
Montaje del soporte 10
Conexión de la antenna FM 10
Conexión de los altavoces 10
Conecte la corriente 11
Preparación del control remoto 11
Ajustedelreloj 11
Encendido 12
4 Reproduccion 13
Reproduccion de discos 13
Reproduccion desdeundispositivoUSB13
Eliminación de ARCHivos en el dispositivo USB 13
Cómo escuchar un dispositivo externo 13
5 Opcionedes reproduction 14
14
Programación de pistas 14
Cómo做不到 la información de reproducción 14
6 Grabación 15
7 Reproduccion desde el iPod/iPhone 16
Modelos de iPod/iPhone compatibles 16
Colocacion del iPod/Phone 16
Cómo escuchar el iPod/iPhone 16
Carga del iPod/iPhone 17
Cómo guitar el iPod/iPhone 17
8 Cmo escuchar la radio 18
Sintonizacion de una emisora de radio 18
Programación automática de emisoras de radio 18
Programación manual de emisoras de radio 18
Selección de una emisora de radio presintonizada 18
Cómo做不到 la información RDS 19
AjustedrelojatravésderDS 19
9 Ajuste del sonido 20
Ajustedel nivel de volumen 20
Selección de un efecto de sonido preestablecido 20
Mejora de graves 20
Silenciamiento del sonido 20
10 Otros usos de la microcadena 21
Ajuste del temporizador de desconexión automática 21
Cómo escuchar a工程技术 de los auriculares 21
11 Información del producto 22
Especificaciones 22
Formatos de disco MP3 compatibles 22
Información sobre reproducción de USB 23
Mantenimiento 23
12 Solucion de problemas 24
1 Important
Seguridad
(1) Lea estas instrucciones.
2 Guarde estas instrucciones.
3 Preste atencion a todas las advertencias.
Siga todas las instrucciones.
No use este aparato cerca del agua.
⑥ Utilice unicamente un paño seco para la limpieza.
No bloquee las aberturas de ventilacion. Realice la instalacion de acuerdo con lasindicaciones del fabricante.
No instale cerca chinainguna fuente de calor como, por ejempo, radiadores, rejillas de calefaction, hornos u otheras aparatos que produzcan calor (incluidos los amplifi caores).
En paises con red electrica polarizada, no suprima la referencia de seguridad del enchufe polarizzato o con conexión a tierra. Un enchufe polarizzato tiene dos connectores planos, uno más ancho que el除外. Un enchufe con conexión a tierra tiene dos connectores planos y un cercer conductor de conexión a tierra. El conductor plano más ancho o el cercer conductor le-ofrecen segundad adicular. Si el enchufe suministrado no encaja correctamente en la toma de corriente, consulte a un electricista paraonianar el conductor obsoleto.
Atencion: Para evitar riesgos de descarga electrica, el ancho de los connectores planos deben coincidir con el ancho de la ranura de connexion y el enchufe deben insertarse por completeo.

Evite que se pise o doble el cable de alimentacion, en particular+junto a los enchufes, tomas de corriente y en el puntoonde salen del aparato.
11 Use exclusively los dispositivos/ accesorios indicados por el fabricante.
12 Use unicamente el carrito, soporte, tripode o mesa indicados por el fabricante o que se incluya con el aparato. Cuando use un carrito,onga cuidado al mover juntos el carrito y el aparato para evaporar lesiones, ya que se pueda volcar.

13 Desenchufe el aparato durante las tormentas electricas o cuando no lo utilise durante un periodo长大o de tiempo.
El servicios技术和 de realizarlos primeramente personalidad. Se querirá ser所提供 de asistencia技术和 cuando el aparato sustra uno tipo de dano como, por exemple, que el cable de alimentacion o el enchufe esten danados, que se haya cerrado liquido o hayan caido objetos dentro del aparato, que este se haya expuesto a la lluvia o humedad, que no funciona normalmente o que se haya caido.
15 ATENCLON con el uso de las pilas. Para evaporar fugas de las pilas que poderan causar lesiones corporales, daños en la propidad o al aparato:
Instale todas las pilas correctamente · siguiendo lasindicaciones de ^+ y del aparato.
No mezcle pilas (antiguas y cuales, o de carbón y alcalinas, etc.).
Quite las pilas cuando no use la ·idad durante un periodo largo de tiempo.
No exponga las pilas a temperatas altas, como las que emiten la luz solar, el fuego o similares.
16 No exponga el aparato a goteos ni salpicaduras.
17 No Coloque sobre el aparato objetos que pueda suponer un peligro (por exemple, objetos que contenga liquido o velas encendidas).
Este producto puede contener plomo y mercury. Es possible que la eliminacion de这些东西 materiales se ocundre bajo regulacion debido a causas medioambiente. Para Obtener informacion sobre la eliminacion o el reciclaje,pongase en contacto con las autoridades locales o con Electronic Industries Alliance: www.eiae.org.
19 No permita que los niños us他们在 vigilancia aparatos electricos.
No permita que los niños o adultos con你能 de suspanicidades ficas, sensoriales o mentales reducidas o personas con malta de experiencia/ conocimiento,有用的 aparatos electricos sin vigilancia.

Advertencia
No lubrique ninguna pieza de este aparato.
No coloque nunca este aparato sobre altri equipo • électrique.
No exponga el aparato a la luz solar directa, al calor o a las llamas.
No mire nunca al haz láser que está dentro del aparato.
Asegúrese de tener siempre un fácil acceso al cable de alimentación, al enchufe o al adaptor para desconectar el aparato de la corrente.
Si usa el enchufe de alimentacion o un adaptador para desconectar el aparato, ellos deben estar siempre a mano.

Precaución
El uso de controlles, los ajustes o el funcionaimiento distintos a losaquidescritosuened出产irexpoxidacionaladiacionoutrassituationedespeligro.
Seguridad auditiva
Utilice un niveau de sonido moderado.
El uso de los auriculares a un nivel de · sonido elevado pueda darar el oido. Este producto produce sonidos con rangos de decibelios que peuvent provocar una perdida auditiva a una persona con un nivel auditivo normal, inclujo en el caso de una exposión inferior a un minuto. Los rangos de decibelios másraised se ofrecen para aquellas personas que tengan cierta deficientia auditiva.
- El nivel de sonido puede ser engañoso. Con el paso del tiempo, el "nivel de comodidad" de escucha se adapta a los niveles de sonido más elevados. Por lo tanto, tras una escucha prolongada, el sonido de un nivel "normal" pueda ser en realizad de tono elevado y perjudicial para el oído. Para protegerse contra este, ajuste el nivel de sonido a un nivel seguro antes de que su oído se adapte y manténgalo asi.
Para establerc un nivel de sonido seguro:
Fije el control de volumen en un ajuste bajo.
Aumente poco a poco el sonido hasta · poder oirlo de manera coma moda y clara, sin distorsion.
Escuche durante periodos de tiempo rationables:
La exposión prolongada al sonido, incluso a niveles "seguros", también puede provocar una perdida auditiva.
Asegúrese de utiliser su equipo de · formarzonable yrealice los descansosopportunos.
Asegürese de Respectar las siguientes pautas cuando use los auriculas.
Escuche a niveles de sonido razonables.
durante periodos de tiempo razonables.
Tenga cuidado de no ajustar el nivel de.
sonido cuando se adapta su oido.
No suba el nivel de sonido hasta tal . punto que no pueda escuchar lo que le rodea.
En situaciones posiblemente peligrosas, debe tener precaución o interruptir temporalmente el uso. No utilise los auriculares cuando conducza un vehiculo motorizzato, ni cuando practique ciclismo, skateboard, etc., ya que podra suponer un riesgo para el trafi co y es illegal en muchas zonas.
Aviso
Cualquier cambio o modifi cación que se realice en este dispositivo que no está aprobada expresamente por Philips

Consumer Lifestyle peut anular la autoridad del usuario para utiliser el equipo.

Este producto cumple los requisitos de interferencias de radio de la Comunidad Europea.
Este producto cumple los requisitos de las siguidentes directivas y directrices: 2004/108/CE y 2006/95/CE.
Cualquier cambio o modifi cación que se realice en este dispositivo que no esté aprobada expresamente por Philips Consumer Lifestyle puede anular la autoridad del usuario para utiliser el equipo.
Reciclaje
El producto se ha diseado y fabricado con materiales y componentes de alta calidad, que se pueda reciclar y volver a utiliser.
Cuando vea este symbolo de contenumerador de ruedas tachado en un producto, indica que este cumple la directiva europea 2002/96/EC:
Nunca tire el producto con la basura normal del hogar. Informese de la legislacion local sobre la recogida selectiva de productos electricos y electronicos. El desecho correcto de un producto usoayuda a evaporar potencialmente consecuencias negativas para el medio ambiente y la salute humana.
El producto contiene pilas contempladas por la directiva europea 2006/66/EC, que no se deben tirar con la basura normal del hogar.
Cuando vea este symbolo de contentedor de ruedas tachado con el symbolo de sustancia quimica "Pb", indica que las pilas cumplen los requisitos existecidos en la directiva acerca del plomo:
Informese de la legislacion local sobre la recogida selectiva de pilas. El desecho correcto de las pilas可以帮助 aatar consecuencias potencialmente negativas para el medio ambiente y la salute humana.
La copia no autorizada de material protegido contra copia, incluidos programas informáticos, ARCHIVOS, emisiones y grabaciones de sonido, pueda infringing los derechos de copyright y constituir un delito. Este equipo no se debe utiliser para tales fines.
y The Performer's Protection Acts (leyes de proteccion de los interpretres) de 1958 a 1972. Este aparato incluye esta etiqueta:

Información medioambiental
Se ha suprimido el embalaje innecesario.
Hemos intentado que el embalaje sea fácil de separar en tres materiales: carton (caja), pasta de papel (corcho) y polietileno (bolsas, lamina de espuma protectora).
El sistema se compone de materiales que se pueda reciclar y volver a utiliser si lo desmonta unaEmpresa especializada. Siga la normativa local acerca del desecho de materiales de embalaje, pilas agotadas y equipos antiguos.
2 Su microcadena
Le felicitamos por su compray y le damos la bienvenida a Philips. Para benefi ciarse totalmente de la asistencia que ofrece Philips, registre su producto en www.philips.com/ welcome.
Introduccion
Con este dispositivo podra: disfurar de la música de discos de audio, iPod, iPhone y otros dispositivos externos eschar emisoras de radio. grabar audio de un disco a un disposativo de almacenimiento USB.
El equipo Offerce diversos ajustes de efectos de sonido que lo enriquecen mediante Digital Sound Control (DSC, control digital del sonido) y Dynamic Bass Boost (DBB, refuerzo dinamico de graves).
El equipo admite los siguientes formatos multimedia:




Nota
La plac de identifi cacion esta situada en la parte posterior del dispositivo.
Contenido de la caja
Compruebe e identifi que el contenido del paquete:
Unidad principal
Adaptador de corriente
2 altavoces
Controlremoto
- Base para iPod/iPhone (con cable)
- Base
- Manual de usuario
- Guía de configuración
Descripción de launidad principal

① Sensor del control remoto
2 Detiene la reproduccion. Detiene la grabacion. Borra un programa.
③OK Confimaruna seleccion.
4 MENU Selecciona el menu del iPhone/iPod.
5STANDBY-ON Enciende la unidad o la cambia al · modo de esper.
6 OPEN/CLOSE Abre o cierra el compartmento de discos.
⑦SOURCE
Selección una fuente.
8Pantalla
Muestra el estado actual.
9ALBUM/PRESET+/-
Salta al album anterior o suiviente.
Selección una emisión de radio • presintonizada.
Navega por el menu del iPod/iPhone.
10
Toma USB.
11REC
Grab archivos de audio de un disco a un dispositivo de almacenamento USB.
(12)VOLUME+/-
Ajusta el volumen.
- Ajusta la hora.
DSC
- SeLECTIONA un ajuste de sonido preestablecido.
14
- Inicia la reproduccion del disco o hace una停下a.
15
Salta a la pista anterior o suiviente.
Busca dentro de una pista.
Sintoniza una emisora de radio.
16
Conecte los auriculares.
Descripción del control remoto

①
- Cambio a modo de esper..
②USB
- Selecciona la fuente del dispositivo USB.
③CD
- SeLECTIONA la fuente de disco.
④MP3 LINK
Selecciona la fuente del dispositivo de audio externo.
⑤DISPLAY/CLOCK
Selección la información de pantalla ·
durante la reproducción.
Ajusta el reloj.
Muestra el reloj.
(6) MENU
Selección el menu del iPhone/iPod.
⑦
Sintoniza una emisora de radio. Busca dentro de una pista.
⑧USBREC
Comienza la grabacion. Secciona un modo de grabacion.
9
Salta a la pista anterior o suiviente.
- SeLECTIONA una emisora de radio presintonizada.
10Teclado numérico 0-9
- Selecciona una emisora de radio presintonizada.
- Secciona directamente una pista del disco.
(1)DSC
- SeLECTIONA un ajuste de sonido preestablecido.
12TUNER
- SeLECTIONA el sintonizador como fuente.
13iPhone/iPod
- Selecciona el iPhone o el iPod como fuente.
⑭SLEEP
- Ajusta el temporizador de desconexión automatica.
⑤TIMER
- Ajusta el temporizador de la alarma.
Activa o desactiva el temporizador.
(16)MUTE
Silencia o restaura el nivel de sonido.
17
Navega por el menu del iPod/iPhone. Salta al album anterior osuma.
⑧OK
- Confirmar una selección.
19USB DEL
- Elimina ARCHivos de un dispositivo de almacenimiento USB.
20
- Inicia la reproduccion del disco o hace una停下a.
(21)VOL +/
- Ajusta el volumen.
- Ajusta la hora.
(22)
- Detiene la reproduccion.
- Borra un programa.
(23)REPEAT
Selección los发展模式 de repetition de la reproduccion.
24SHUFFLE
- Secciona los发展模式 de reproduccion aleatoria.
25PROG
Programa pistas.
- Programa emisoras de radio.
26RDS/NEWS
- Para determinadas emisoras de radio FM: muestra informacion RDS
27DBB
- Activ o desactiva la mejor dinamica de graves.
3 Introduccion

Precaución
El uso de otros 控ules, ajustes o procedimientos • distinguos de los espécíficos en este manual puede causar una peligrosa exposión a la radiación u otros functionarios no seguros.
Siga siempre las instrucciones de este capitulo en orderly.
Si se pone en contacto con Philips, se le preguntara el número de série y de modelos del aparato. El número de modelos y el número de série se incluyen en la parte posterior del aparato. Escribe los nombresAFE!.
Numero de modelos
Número de série
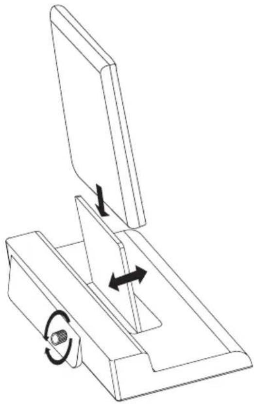
Montaje del soporte

1 Incline la unidad principal y deslice su base en la ranura hasta que quede fi ja.
Conexión de la antenna FM
1 Conecte la antenna FM suministrada a la toma FM AERIAL de la parte posterior de la unidad principal.

Conexión de los altavoces


Nota
Asegürese de que los colores de los cables del altovoz y los terminales coinciden.
1 Presione hacer abajo la pestaña de la toma.
2 Inserte la parte desnuda del cable por completeness. Inserte los cables del altovoz derecho en "RIGHT" y los del altovoz izquierdo en "LEFT".
Inserte los cables rojo/azul en + y los cables negros en - .
3 Suelte la pestana de la toma.
Conecte la corriente

Precaución
Riesgo de danos en el producto. Compruebe que el voltaje de la fuente de alimentacion se corresponde con el voltaje impreso en la parte posterior o inferior del aparato.
Riesgo de descarga electrica. Cuando desenchufe el cable de alimentacion de CA, tire siempre de la clavija de la toma. No tire nunca del cable.
- Antes de conectar el cable de alimentacion de CA, asegurese de que ha realizado correctamente las demas conexiones.
1 Conecte el adaptor de corriente a la toma DC IN situada en la parte posterior de la unidad principal la toma de corriente.
Preparación del control remoto

Precaución
Riesgo de explosión. Mantenga las pilas alejadas del calor, la luz del sol o el fuego. Nunca tire las pilas al fuego.
Cuandoutiliceelequipo porprimera vez:
1 Quite la pestana protectora para activar la pila del control remoto.
Paraonian la pila del control remoto:
1 Abra el compartmento de las pilas.
2 Inserte una pila CR2025 con la polaridad correcta (+/-) tal y como se indica.
3 Cierre el compartmento de las pilas.


Nota
Antes de pulsar cualquier botón de funciona del control remoto, selección la fuente correcta con el control remoto en lugar de hacerlo con launidad principal. Si no va a utiliser el control remoto durante un periodo largo de tiempo, quite la pila.
Ajuste del reloj
1 En el modo de espera, mantenga pulsado DISPLAY/CLOCK para activar el modo de ajuste del reloj.
Apareceran los digitos de la hora y empezar an a parpadear.

Nota
- En el modo de espera de bajo consumo, pulse CLOCK para estar el reloj primero y afterwards mantenga pulsado CLOCK para configurar el reloj.
2 Pulse ■ repetidamente para seleccionar el formatting de 12 o 24 horas.
3 Pulse VOL + / - para ajustar la hora.
4 Pulse DISPLAY/CLOCK para confirmar. Apareceran los digitos de los Minutes y empezaran a parpadear.
5 Pulse VOL + / - para和睦ar los Minutes.
6 Pulse DISPLAY/CLOCK para confirmar.
Encendido
1 Pulse STANDBY-ON en launidad principal.
El equipo cambia a la ultima fuente seleccionada.
Pasar al modo de espera
1 Pulse para poder el dispositivo en modo de esper.
La retroiluminación del panel de visualización se atenúa.
En el panel de visualización aparecerá el reloj (si está ajustado).

Nota
Si no se pulsa ningún botón durante 15 Minutes ·momáctamente y la retroiluminación de la pantalla se apaga.
4 Reproduccion
Reproducción de discos
1 Pulse CD para selectionar la fuente de disco.
2 Pulse paraAbrir la bandeja de discos.
3 Inserte un disco con la cara impresa hacer arriba y ciderre la bandeja de discos.
La reproduccion se inicia automatistically.
Para hacer una pausa/reanudar la · reproduccion, pulse II.
Para detener la reproduccion, pulse
Para archivos MP3/WMA: para • seleccionar un album, pulse ▲▼.
Para saltar directamente a una pista, pulse.
Para realizar una búsqueada bajo de una pista, mantenga pulsado
Suelte el botón para reanudar la reproducción normal.
Reproduccion desde un dispositivo USB

Nota
Asegüre de que el dispositivo USB contiene ARCHivos de audio con un formatting que se pueda reproducir.
1 Gire la cubierta de la toma USB en el panel frontal.
2 Inserte el conector USB de un dispositivo USB en la toma.
3 Pulse USB para selectionar el dispositivo USB como fuente.
La reproduccion se inicia automatically.
Para hacer una pausa/reanudar la · reproduccion, pulse
- Para detener la reproduccion, pulse
- Para archivos MP3/WMA: para • seleccionar un album, pulse ▲▼.
- Para saltar directamente a una pista, • pulse ▲/■.
Para realizar una búsqueada bajo de una pista, mantenga pulsado
Suelte el botón para reanudar la reproducción normal.
Eliminación de ARCHIVOS en el dispositivo USB
1 Pulse para seleccionar una pista.
2 Pulse USB DEL.
Aparece un mensaje de confirmación.
3 Vuelva a pulsar USB DEL para confirmar.
Para cancelar, pulse
Después de eliminar el archivo, la reproducción desde el dispositivo USB se detiene.
como escuchar un dispositivo externo
Tambienpuedescucharundispositivo de audio externo atravésde esta unidad.
Para un dispositivo de audio con toma de auriculas:
1 Pulse MP3 LINK para selectionar la fuente de connexion MP3.
2 Conecte el cable de conexión MP3 suministrado a
- la toma MP3 LINK de esta unidad.
- la toma de auriculares de un reproductor MP3.
3 Inicia la reproduccion en el reproductor de MP3. (Consulte el manual de usuario del reproductor de MP3).
5 Opciones de reproduccion
Repetici y reproduccion aleatoria
1 Pulse REPEAT o SHUFFLE
repetidamente hasta seleccionar:
- [REP] (repetir): la pista actual se reproduce una y otra vez.
- [REP ALL] (repetir todo): todas las pistas se reproduce un a y otra vez.
- [SHUF] (aleatorio): todas las pistas se reproducen de forma aleatoria.
- [REP ALL SHUF] (repetir todo aleatoriamente): todas las pistas se reproducen una y otra vez de forma aleatoria.
2 Para volver a la reproduccion normal, pulse REPEAT o SHUFFLE varias vezes hasta que el modo de reproduccion desaparezca.
Programación de pistas
Puede programar un máximo de 20 pistas.
1 En el modo de CD/USB, cuando laccion este detendra, pulse PROG para activar el mode de programa. [PROG] (programa) parpadea en la pantalla.
2 Para pistas MP3/WMA, pulse para seleccionar un album.
3 Pulse / para selectionar un numero de pista y, a continuacion, pulse PROG para confirmar.
4 Repita los pasos 2 y 3 para programar mas pistas.
5 Pulse▶ paraREEN las pistas programadas.
Durante la reproduccion, aparece [PROG] (programa).
- Para borrar el programa, pulse en la posicion de parada.
- Para revisar el programa, en la posicion de parada, mantenga pulsado PROG durante más de 2segundos.
como做不到 la informacion de reproduccion
1 Durante la reproduccion, pulse DISPLAY/CLOCK repetidamente para selectionar diferente informacion de reproduccion.
6 Grabación
Puede grabar ARCHivos de audio de un disco en un dispositivo USB. Las pistas de CD de audio y los ARCHivos MP3 se graban en formato.mp3, y los ARCHivos WMA se graban en formato.wma. La primera vez que grabe en un USB, se creará automatistically una carpeta llama "PHILIPS" enicho dispositivo. Cada vez que grabe en un USB, los ARCHivos grabados se guardaran en una subcarpeta de la carpeta "PHILIPS". Los archivos y las subcarpetas se nombre de forma numérica en elorden en que fueon 创建s.
1 Pulse CD para selectionar la fuente de disco.
2 Cargue un disco. Para selectionar la pista desdelaequaldesea iniciar la grabacion, pulse los botones numéricos.
3 Conecte un dispositivo de almacenimiento USB en la toma de este aparato.
4 Pulse USB REC repetidamente hasta seleccionar:
- [RIP ONE] (grabar una): se graba la pista seleccionada.
- [RIP ALL] (grabar todo): se graban todas las pistas a partir de la seleccionada. La reproduccion del disco se inicia » automatistically desde el principio del disco, o desde la pista seleccionada, y comienza laGrabacion.
Para detener la grabación, pulse

Nota
Cuando no hay espacio suficiente, aparece, [USB FULL] (memoria Ilena). Si una pista grabada dura menos de 10 segundos, no se guarda en el dispositivo de almacenimiento USB.
7 Reproduccion desde el iPod/iPhone
Puede disfurtar del sonido del iPod/iPhone a工程技术 de este dispositivo.
Modelos de iPod/iPhone compatibles
Los modelos compatibles de iPod y de iPhone de Apple con connectores de base de 30 patillas incluyen:
iPod classic, iPod touch, iPod nano, iPod de quinta generación (video) y iPod mini.
iPhone y iPhone 3G.
Colocación del iPod/iPhone
1 Conecte la base del iPod/iPhone al dispositivo.

2 Gire el tonillo para afl ojar la plac de sujeción.

3 Colique el iPod/iPhone en la base.
4 Gire el tomillo para fi jar el iPod/iPhone firmamente.
Cuando el dispositivo está connectado a la fuente de alimentación, el reproductor iPod/iPhone que está colocado en la base comenzará a cargarse.
Como escuchar el iPod/ iPhone
1 Asegürese de que el iPod/iPhone está colocado correctamente.
2 Pulse iPhone/iPod para seleccionar el iPod/iPhone como fuente. El iPod/iPhone conectado inicia la reproduccion automatisticamente.
Para hacer una pausa/reanudar la ·
reproduccion, pulse Para saltar directamente a una pista, pulse.
Paraistarduante la reproduccion, mantenga pulsado sueltelo para reanudar la reproduccion normal.
Para navegar por el menu, pulse MENU y pulse para selectionar una optacion; bajo pulse OK para confirmar.
Carga del iPod/iPhone
Cuando el dispositivo está connectado a la fuente de alimentación, el reproductor iPod/iPhone que este colocado en la base comenzará a cargarse.
Cómo qitar el iPod/iPhone
1 Tire del iPod/iPhone para quitarlo de la base.

Consejo
Si cuesta sacarlo, gire el tornillo en el sentido de las agujas del reloj para afl ojar la sujecion.
8 Como escurrchar la radio
Sintonización de una emisora de radio

Nota
Para una Reception optima, extienda por completo la antenna FM y ajuste su posicion.
1 Pulse TUNER para selectionar el sintonizador como fuente.
2 Mantenga pulsado durante mas de 2 segundos.
Aparece [SEARCH] (buscar). La radio sintoniza automatisticam una emisora de recepcion fuerte.
3 Repita el paso 2 para sintonizar más emisoras. Para sintonizar una emorsa de · recepcion débil, pulse 一 一 一 repetidamente hasta Obtener una recepcion optima.
Programación automática de emisoras de radio

Nota
Puede programar un máximo de 40 emisoras de radio FM.
1 En el modo de sintonizador, mantenga pulsado PROG durante más de 2segundos para activar el modo de programa automatico. Aparece [AUTO] (automático).
Todas las emisoras disponibles se programan en elorden de potencia de recepcion de la banda de ondas.
La primera emisora de radio programada se retransmite automatistically.
Programación manual de emisoras de radio

Nota
Puede programar un máximo de 40 emisoras de radio FM.
1 Sintonice una emisora de radio.
2 Pulse PROG para activar el modo de programa.
[PROG] (programa) parpadea en la pantalla.
3 Pulse para asignar un número (del 1 al 40) a esta emisora de radio; a continuacion, pulse PROG para confirmar. Aparecen el número de presintonia y la Frequencia de la emisora presintonizada.
4 Repita los pasos anteriores para programar或其他 emisoras.

Nota
Para sobrescribir una emisora programada, guarde, otra emisora en su lugar.
Selección de una emisora de radio presintonizada
1 En el modo de sintonizador, pulse
- para selectionar un número de presintonía.
como做不到 la informacion RDS
El Sistema de datos por radio RDS (del ingles Radio Data System) es un service que permite a las emisoras FM做不到 informacion adicional. Si sintoniza una emisora RDS, apareceran un icono RDS y el nombre de la emisora.
1 Sintonice una emisora RDS.
2 Pulse RDS/NEWS varias vezes para desplazarse por lasuma的意见 (si está disponible):
Nombre de la emisora
Tipo de programa, por exemple,
[NEWS] (noticias), [SPORT]
Ajuste del reloj a trovés de RDS
Puede usar la transmisión de la sealseloraria jusqu con la seals RDS para ajustarautomatically el reloj del dispositivo.
1 Sintonice con una emisora de radio RDS que transmita senales horarias.
2 Mantenga pulsado RDS/NEWS durante mas de 2 segundos.

Nota
La precision de la hora transmitida depende de la emisora RDS que transmite la Signals horaria.
9 Ajuste del sonido
Ajuste del nivel de volumen
1 Durante la reproduccion, pulse VOL +/- para augmentar o disminuiR el nivel de volumen.
Selección de un efecto de sonido preestablecido
1 Durante la reproduccion, pulse DSC varias vezes para seleccionar:
[POP] (pop)
[JAZZ] (jazz)
[CLASSIC] (cláscica)
[FLAT] (sin efectos)
Mejora de graves
1 Durante la reproduccion, pulse DBB para activar o desactivar la mejora dinamica de graves.
Si se activa la mejora dinamica de graves, aparece "DBB".
Silenciamiento del sonido
1 Durante la reproduccion, pulse MUTE para activar o desactivar la funciona de silencio.
10 Otros usos de la microcadena
Ajuste del temporizador de desconexión automatica
Estaunidad se puedaponer automatistically en modo de esperatranscurrido un periodo de tiempo predefi nido.
1 Cuando launidad está encendida, pulse SLEEP varias vezes para selectionar un periodo de tiempo establecido (encretos). Si el temporizador de desconexión automática está activado, la pantalla muestra z^Z .
Para desactivar el temporizador de desconexión automática
1 Pulse SLEEP repetidamente hasta que se muestre "SLP OFF" (desconexión automática desactivada). Si el temporizador de desconexión automática está desactivado, z^2 desaparece de la pantalla.
Ajuste del temporizador de alarma
Estaunidad se pueda se pueda utilizar como descentpertador. El modo de disco, sintonizador o dispositivo USB seactiva y se reproduce a la hora fi jada.
1 Asegürese de que ha ajustado el reloj correctamente.
2 En el modo de espera, mantenga pulsado TIMER durante más de 2segundos.
3 Pulse CD, TUNER, USB o iPhone/iPod para seleccionar una fuente.
4 Pulse TIMER para confirmar.
Apareceran los digitos de la hora y empezarán a parpadear.
5 Pulse VOL + / - para ajustar la hora.
6 Pulse TIMER para confirmar.
Apareceran los digitos de los Minutes y empezarán a parpadear.
7 Pulse VOL + / - para ajustar los Minutes.
8 Pulse TIMER para confirmar. El temporizador está ajustado y ➔ activado.
Activación y desactivación del temporizador de alarma
1 Pulse TIMER repetidamente para activar o desactivar el temporizador. Si el temporizador está activado, la pantalla muestra 念 Si el temporizador está desactivado, 4 desaparece de la pantalla.

Nota
Si se selecciona el disco o el dispositivo USB como fuente, pero no se可以选择 reproducir una pista, el sintonizador se activa automatistically.
1 Enchufe los auriculares en la toma de la unidad.
11 Información del producto

Nota
La información del producto pueda携带sin previo aviso.
Especifi caciones
Amplificador
Potencia de calidad 2 × 30 W RMS
Respuesta de Frequencia 60-16 kHz, ± 3 dB
Relación postal/ruido >62 dB
Disco
Tipo de láser Semiconductor
Diametro del disco 12 cm/8 cm
Discos compatibles CD-DA, CD-R,
CD-RW, MP3-CD y
WMA-CD
DAC de audio 24 bits/44,1 kHz
Distorsión armónica
total < 1%
Respuesta de
frecuencia 60 Hz-16 kHz
Relación S/R >62 dBA
Sintonizador
Rango de sintonización FM: 87.5-
108 MHz
Intervalo de sintonizacion 50kHz (FM)
Distorsión armónica total <3%
Relación postal/ruido >50 dB
Altavoces
Impedancia del altovoz 6 ohmios
Información general:specificificaciones
Adaptador de corrente Modelo:
PAT065A19EU
Entrada: CA 100-
240 V\~, 50/60 Hz,
1,5 A Salida: CC
19 V, 3.4 A
Consumo de energia en
funcionamiento 26 W
Consumo de energia en
modo de espera < 2W
Consumo de energia en
modo de espera de bajo
consumo < 1W
Dimensiones
- Unidad principal (ancho 211 × 250 ×
x alto x profundo) 160 mm
- Altavoz (ancho x alto x 158 x 250 x profundo) 193 mm
Peso
- Con embalaje 5,85 kg
- Unidad principal 1,29 kg
- Altavoz 2,39 kg
Formatos de disco MP3 compatibles
ISO9660 y Joliet
-Numero máximo de títulos: 512 (en funciona de la longitud del nombre del archivo)
- Número máximo de álbumes: 255
- Frecuencias de muestreo compatibles: 32 kHz, 44,1 kHz, 48 kHz
- Velocidades de bits compatibles: 32~256 (kbps), velocidades de bits variables
Información sobre reproducción de USB
Dispositivos USB compatibles:
Memoria flash USB (USB 2.0 o USB • 1.1)
Tarjetas de memoria (requieren • un lector de tarjetas adicional para funciona en este dispositivo).
Formatos compatibles:
USB o fornato de archivo de ·memoria FAT12, FAT16, FAT32
(tamañode sector:512 bytes)
Velocidad de bits (velocidad de
vos) de MP3: 32-320 Kbps y velocidad de bits variable
WMA v9 o anterior
Directorios anidados hasta un maximo de 8 niveles
Número de álbumes/carpetas: 99 · como máximo
Número de pistas/titulos: 999 como ·
maximo
Etiqueta ID3 v2.0 o superior
- Nombre de archive en Unicode UTF8 (longitudínima: 128 bytes)
Formatos no compatibles:
- Albumes vacios: un album vacio es杲 que no contiene ARCHivos MP3 o WMA y que no se做不到 en la pantalla.
- Los formatos de archivo no compatibles se omiten. Por exemple, los documents de Word (.doc) o los ARCHIVOS MP3 con la extension .dll se omiten y no se reproducen.
Archivos de audio AAC, WAV y PCM.
Archivos WMA con proteccion DRM (.wav;.m4a;.m4p;.mp4 y .aac)
Archivos WMA con programma sin pérdidas
Mantenimiento
Limpieza de la carcasa
- Utilice un paño suave ligeramente humedecido con un detergente que no sea agresivo. No utilize ninguna solución que contenga alcohol, licor, amoniaco, o abrasivos
Limpieza de los discos
- Cuando un disco se ensucie, limpielo con un paño de limpieza. Limpie el disco desde el centro hacía afuera.

- No utilise disolventes como benceno, diluyentes, limpiadores disponibles en commercios o pulverizadores antiestáticos para discos analógicos.
Limpieza de la lente del disco
- Después de un uso prolongado, se possible acumular polvo o suciedad en la lente del disco. Para garantizar una buena calidad de reproducción, limpie la lente del disco con limpiador para lentes de CD de Philips o cualquier limpiador disponible en los commercios. Siga las instrucciones proportionsadas con el limpiador.
12 Solución de problemas

Precaución
No quite nunca la carca sa de este aparato.
Para que la garantía mantenga su validez, no trate nunca de reparar el Sistema usted本身就是. Si tiene problemas al usar este aparato, disfruebe los siguientes puntos antes de llamar al servicios técnico. Si no consigue resolver el problema, vaya al sitio Web de Philips (www.philips.com/support). Cuando seonga en contacto con Philips, asegúrese de que el dispositivo está cerca y de tener a mano el número de modelos y el número de série.
No hay alimentación
Asegúrese de que el enchufe de alimentación de CA de launidad está bien conectado.
Asegúrese de que haya corrientee en la toma de CA.
Para ahoranergía,el systema se apa automatistically 15 minutes despues de和睦 a la ultima pista, si no se utilizes ningún control.
No hay sonido o'este tiene bajo calidad
Ajuste el volumen.
Compruebe que los altavoces estan conectados correctamente.
Compruebe que las partes desnudas de los cables estan bien insertadas en los conectores.
Lassonian inverteidas
Compruebe las conexiones de los altavoces y la ubicacion de these.
La unidad no responde
Desconecte y vuelva a conectar el enchufe de alimentacion de CA; a continuacion, encienda de nuevo elsystema.
como característica de ahora • de energia, la unidad se apaga automatistically 15 horas afterwards dellegar a laulta pista, si no se utilizes ningún control.
El control remoto no funciona
- Antes de pulsar cualquier botón de funciona, selección la fuente correcta con el control remoto en lugar de hacerlo con launidad principal.
Reduzca la distancia entre el control remoto y la unidad. - Inserte la pila con la polaridad (signos +/-) alineada como se indica.
Sustituya la pila. - Apunte con el control remoto directamente al sensor situado en la parte frontal de la unidad.
El dispositivo USB no es compatible
El dispositivo USB no es compatible con el equipo. Pruebe con除外.
No se detecta el disco
- Inserte un disco.
Compruebe si el disco se ha insertado al • revés. - Espere hasta que la condensacion de humedad en la lente haya desaparecido.
Sustituya o limpie el disco. - Use un CD que está finalizzato o un disco con el formatting correcto.
La recepción de radio es débil
- Augmente la distancia entre la unidad y el televisor o el video.
Extienda por completo la antenna FM. - Conecte una antenna FM exterior.
El temporizador no funciona
- Ajuste el reloj correctamente.
Active el temporizador.
Se ha borrado el ajuste del reloj o del temporizador
Se ha interrupido la corrente electrica o se ha desconectado el enchufe de alimentacion.
- Restablezca el reloj/temporizador.
Table des matieres
1 Important 2
Sécurité
Avis
ManualFácil