S20 - Smartphone Bea-fon - Notice d'utilisation et mode d'emploi gratuit
Retrouvez gratuitement la notice de l'appareil S20 Bea-fon au format PDF.
| Caractéristiques techniques | Écran : 5,5 pouces, résolution HD (720 x 1280 pixels) |
|---|---|
| Processeur | Quad-core 1.3 GHz |
| Mémoire RAM | 1 Go |
| Stockage interne | 8 Go, extensible via microSD jusqu'à 32 Go |
| Caméra arrière | 8 MP avec autofocus |
| Caméra frontale | 2 MP |
| Système d'exploitation | Android 8.1 (Oreo) |
| Batterie | 3000 mAh, non amovible |
| Connectivité | 4G LTE, Wi-Fi, Bluetooth 4.0, GPS |
| Dimensions | 152 x 76 x 9.5 mm |
| Poids | 180 g |
| Utilisation | Idéal pour les utilisateurs recherchant un smartphone simple et efficace pour les tâches quotidiennes. |
| Maintenance et réparation | Réparation possible par des professionnels, pièces de rechange disponibles. |
| Sécurité | Fonctionnalités de sécurité de base, mise à jour du système recommandée pour une meilleure protection. |
| Informations générales | Smartphone d'entrée de gamme, bon rapport qualité-prix, adapté aux seniors et aux utilisateurs occasionnels. |
FOIRE AUX QUESTIONS - S20 Bea-fon
Questions des utilisateurs sur S20 Bea-fon
0 question sur cet appareil. Repondez a celles que vous connaissez ou posez la votre.
Poser une nouvelle question sur cet appareil
Téléchargez la notice de votre Smartphone au format PDF gratuitement ! Retrouvez votre notice S20 - Bea-fon et reprennez votre appareil électronique en main. Sur cette page sont publiés tous les documents nécessaires à l'utilisation de votre appareil S20 de la marque Bea-fon.
MODE D'EMPLOI S20 Bea-fon
Nous vous remercions pour notre confiance.
Nous sommes certains que le produit que Vous avez acheté correspondra entièrement à Vos désirs, comme du reste tous les articles de la production RANCILIO. Le produit que Vous allez employer est le résultat d'études approfondies et de méticuleux essais effectuels par RANCILIO afin de pouvoir Vous offrir le produit le plus fonctionnel, le plus sûr et le plus remarquable, également du point de vue design, que l'on puisse trouver sur le marché. Le petit livre d'instructions pour l'emploi correct et l'entretien de la machine Vous aidera à tirer le maximum de ses grandes possibilités et performances. Nous sommes certains que nos explications sont claires et espérons, cher client, mériter Notre fidélité.

à laquelle se réfère cette déclaration, selon les prescriptions des directives spécifiques.
conforme aux normes suivantes
Les machines à levier ne sont pas équipées d'un échangeur
Ce symbole indique les opérations devant être faites exclusivement par un technicien installateur.

Ce symbole indique les opérations pouvant être faites par l'utilisateur.
Données d'identification de la machine...... 28
- Avertissements de caractère général.... 29
- Description des machines 29
2.1. Spécifications fonctionnelles 30 2.2. Équipements des machines
2.3. Protections mécaniques 33 2.4. Dispositifs de sécurité électrique....33 2.5. Bruit aérien 33 2.6. Vibrations 33
- Données techniques 34
3.1. Dimensions et poids 34
- Destination d'emploi 35
4.1. Contre-indications d'emploi 35 5.1. Emballage 35 5.2. Contrôle à la réception 35
- Installation 36
6.1. Raccordements par les soins du client 36 6.1.1. Alimentation hydraulique et gaz 36 6.1.2. Alimentation électrique 37 6.2. Opérations préliminaires 37 6.3. Mise en place 37
- Mise en service 38
7.1. Commandes 38 7.2. Instruments de contrôle 39 7.3. Démarrage de la machine 40
- Emploi 41
8.1. Comment préparer le café 41 8.2. Comment préparer le cappuccino.... 42 8.3. Comment réchauffer une boisson.. 42 8.4. Comment préparer le thé, la camomille, etc 42
- Réglages et calibrages doses 43
9.1. Pour les modèles S27-MIDI DETECNA DE-SYSTEM DE-SYSTEM LE 43 9.1.1. Réglage dosage 43 9.1.2. Réglement doses d'eau chaude 43
- Entretien 44
10.1. Quotidien 44 10.2. Hebdomadaire 44 10.3. Entretiens périodes 45 10.3.1. Remplacement eau MIDI-TECNA 45 10.3.2. Régénération 46
- Version machine avec chauffage d'appoint au gaz 47
- Mise hors de service 48
- Inconvénients et remèdes 48
DENOMINATION: Machine à café série S20
MODELES: S24 - S26 - S27 - MIDI - TECNA - SYSTEM - SYSTEM/LE
VERSION : S24 - S26 - S27
MIDI/DE-MIDI/CD
TECNA/DE-TECNA/CD
SYSTEM 2/DE - SYSTEM 2/CD - SYSTEM 3/DE - SYSTEM 3/CD
SYSTEM 2/DE H - SYSTEM 2/CD H - SYSTEM 3/DE H
SYSTEM 3/CD H - SYSTEM 2/DE HTS - SYSTEM 3/DE HTS
La plaque placée sur la déclaration de conformité CE de ce document correspond à la plaque d'identification qui se trouve sur la machine Fig. 2.
Schéma d'identification des données de la plaque:
Fig. 1
1 Constructeur 2 Modèle et version 3 Tension électrique 4 Marquage CE (ou cela est demandé) 5 Numéro matricule 6 Données chaudière 7 Absorption totale de la machine 8 Niveau de protection 9 Puissance moteur 10 Puissance élément réchauffeur 11 Fréquence électrique 12 Marques de conformité 13 Année de fabrication


Fig. 2
Symbolique

Signal de danger spécifique : observer scrupuleusement les instructions auxquelles il se réfère afin d'éviter de déterminer à la machine et les accidents.
Ce livre fait partie intégrante et essentielle du produit et devra être remis à l'utilisateur. Pour un emploi correct de l'appareil, lire attentivement ce manuel et respecter toutes les indications qui y sont contenues. Garder ce livre avec soin pour toute consultation ultérieure.
1. Aventissements de caractere general
- Les éléments d'emballage (sachets en plastique, polystyrène expansé, clous, cartons, etc.) ne doivent pas être laissés à la portée des enfants, car ce sont des sources potentielles de danger.
- Avant de raccorder la machine, s'assurer que les données de la plaque correspondent à celles du réseau de distribution électrique. L'emploi d'adaptateurs, de prises multiples et/ou de rallonges est interdit.
- En cas de doute, faire un contrôle par un personnel qualifié de
- mise à la terre efficace;
- section des conducteurs suffisante pour la puissance d'absorption; -dispositif coupe-circuit automatique efficace.
- Placer la machine sur une surface hydrofuge (laminé, acier, céramique, etc.) loin de sources de chaleur (fours, brûleurs, cheminées, etc.) et dans des lieux où la température ne descend de pas en dessous de +5°C. LA MACHINE CRAINT LE GEL.
- Ne pas exposer la machine aux intempéries et ne pas la placer dans des lieux très humides comme les salles de bain, etc.
- Ne pas obstruer les grilles d'aspiration ou de dissipation, en particulier ne pas couvrir avec des chiffons ou autres le plan chauffe-tasses.
- La machine emballée doit être emmagasinée à l'abri des intempéries, dans un lieu sec et sans humidité. La température doit être d'au moins +5°C. Les colis peuvent être superposés pour un maximum de trois pièces du même type. Éviter de superposer à l'emballage d'autres types de colis lourds.
- En cas d'urgence, comme un début d'incendie, un niveau de bruit anormal, du surchauffage, etc., intervir immédiatement en débranchant l'alimentation électrique de réseau, fermer les robinets de gaz et d'eau. N'utiliser que des accessoires et des pièces de rechange autorisées par le fabricant. Cela garantit un fonctionnement sans inconvenients.

Une mauvaise installation peut causer des dommages aux personnes et aux choses pour lesquels le constructeur ne peut être considéré comme responsable.
2. Description des machines
Les machines de la série S20 sont conçues pour la préparation du café expresso et des boissons chaudes.
Le principe de fonctionnement est constitué par une pompe volumétrique interne à la machine qui alimence une chaudière dans laquelle s'effectue le réchauffage de l'eau.
En actionnant les commandes correspondantes, l'eau est envoyée aux becs de débit externes sous la forme d'eau chaude ou de vapeur suivant le besoin.
Dans les modèles avec économisateur, l'eau à utiliser pour les boissons est prélevée sur le moment, directement du réseau hydrique, pressurisée par la pompe et réchauffée instantanément par la vapeur créée par la chaudière.
Le modèle S24 est équipé d'un réservoir d'eau incorporé et donc n'a pas besoin d'être raccordé au réseau hydrique. À l'intérieur du réservoir, est placé un adoucisseur qui a la fonction d'adoucir l'eau en retenant les sels de calcium qui y sont contenus.
La construction est composée d'une structure portante en acier, à laquelle sont fixés les composants mécaniques et électriques.
Le tout est englobé dans des panneaux à couverture totale réalisés en aluminium vernis et en acier inoxydable.
Sur la partie frontale de la machine sont effectuées les opérations de production, sont placés les commandes, les appareillages de contrôle et les becs de débit.
Au-dessus de la machine se trouve une surface employée comme chauffe-tasses.
2.1. Spécifications fonctionnelles-composition machines
mod. S24 mod. S2
mod. S27

mod. MIDI CD
mod. MIDI DE
mod. TECNA CD
Mod. TECNA de Fig. 3
| A | B | C | D | E | F | ||
| * S24 | ok - 1 1 1 - | ||||||
| S26 | ok - 1 1 1 - | ||||||
| S27 | - | o | k | 1 | 1 | ||
| MIDI CD | ok - | 2 | 1 1 - | ||||
| MIDI DE | - | o | k | 2 | 1 | 1 | |
| TECNA CD | ok - | 2 | 1 1 | ok | |||
| TECNA DE | - | o | k | 2 | 2 | 1 | |
| ** SYSTEM 2/DC SYSTEM 2/DC H | ok - | 2 2 | 1 - | ||||
| ** SYSTEM 2/DE SYSTEM 2/DE H SYSTEM 2/DE HTS | - | o | k | 2 | 2 | 1 | |
| ** SYSTEM 3/CD SYSTEM 3/CD H | ok - | 3 2 | 1 - | ||||
| ** SYSTEM 3/DE SYSTEM 3/DE H SYSTEM 3/DE HTS | - | o | k | 3 | 2 | 1 | |
| *** SYSTEM/LE 1 | ok | - | 1 | 1 | 1 | - | |
| SYSTEM/LE 2 | ok | - | 2 | 2 | 1 | - | |
| SYSTEM/LE 3 | ok | - | 3 | 2 | 1 | - |
A Fonctionnement semi-automatique ; démarrage et arrêt débit manuel. B Fonctionnement automatique ; contrôle électronique débit doses de café et eau chaude. C Nr. groupes de début café. D Nr. lances de début vapeur. E Nr. lances de débit eau chaude. F Fonctionnement avec économiseur.
- Réservoir d'eau et adoucisseur incorporé (n'a pas besoin de raccordement au réseau hydrique). Sur demande avec réchauffage à gaz. * Fonctionnement à levier
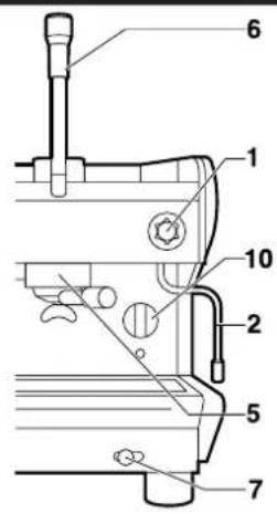
1 Robinet de début vapeur 2 Lance vapeur 3 Commande début eau chaude 4 Lance eau chaude 5 Groupe début café 6 Commande début café 7 Bouton d'alimentation d'eau manuel (seulement SYSTEM) 8 Niveau optique (seulement SYSTEM) 9 Manometre 10 Interrupteur général et voyant interrupteur allumé 11 Allume-gaz (pour modèles qui le prévoient) 12 Robinet gaz à soupape (pour modèles qui le prévoient) 13 Bouton vapeur (seulement pour mod. DE/H TS) 14 Réservoir eau (seulément pour modele S24) 15 Voyant vert niveau d'eau 16 Voyant orange d'alimention de I'eau 17 Indicateur lumineux manque d'eau réservoir (seulement S24) 18 Indicateur lumineux branchement resistance (seulement S26) 19Levier commande groupe (seulement SYSTEM LE)











Fig. 4
2.2. Équipements des machines
| S24 | S26 | S27 | MIDI CD TECHNACD SYSTEM 2/CD* - CD H SYSTEM/LE 1 - LE 2 | MIDI CD TECHNACD SYSTEM 2/DE*-DE H/HTS | SYSTEM 3/CD* - CD H | SYSTEM 3/DE*-DE H/HTS SYSTEM/LE 3 | |
| Porte-filtre 1 dose | 1 | 1 | 1 | 1 | 1 | 1 | 1 |
| Porte-filtre 2 doses | 1 | 1 | 1 | 2 | 2 | 3 | 3 |
| Filtres | 2 | 2 | 2 | 3 | 3 | 4 | 4 |
| Filtre sans issue | 1 | 1 | 1 | 1 | 1 | 1 | 1 |
| Tuyau d'aliment. 1 m. | - | 1 | 1 | 1 | 1 | 1 | 1 |
| Tuyau d'aliment. 1,5 m. | - | 1 | 1 | 1 | 1 | 1 | 1 |
| Tuyau d'évacuat. 1,5 m. | - | 1 | 1 | 1 | 1 | 1 | 1 |
| Raccords | - | 1 | 1 | 1 | 1 | 1 | 1 |
| Fusibles | - | - | 3 | - | 3 | - | 6 |
| Doseur et presseur | 1 | 1 | 1 | 1 | 1 | 1 | 1 |
| Livret d'instructions | 1 | 1 | 2 | 1 | 2 | 1 | 2 |
| Brosse | 1 | 1 | 1 | 1 | 1 | 1 | 1 |
| Schémas électriques | 1 | 1 | 1 | 1 | 1 | 1 | 1 |
| **Rehausse tasses***Rehausse pied | - | - | - | 2 | 2 | 3 | 3 |
| - | - | - | - | 4 | - | 4 |
- Modèles équipés d'accessoires de raccordement gaz (quand il est appliqué). ** Seulement pour modèles H DE/ H TS *** Seulement pour modèles H DE/ H TS
2.3. Protections mécaniques
Les protections dont les machines sont équipées sont :
- panneaux de protection des parties soumises à la chaleur et au générateur de vapeur et d'eau chaude;
- plan chauffe-tasses avec cuve de récolte des liquides qui peuvent être déversés accidentellement;
- surface de travail avec grille et cuvette de récolte des liquides placée en dessous;
- commandes placées au-dessus des zones de débit en position de sécurité;
- soupape à expansion sur l'installation hydraulique et soupape sur la chaudière contre les suppressions;
- clapet de non-retour sur l'installation hydraulique afin d'éviter les reflux dans le réseau d'alimentation.
2.4. Dispositifs de sécurité électrique
Les dispositifs de sécurité prévus sont :
- commandes du clavier DE à basse tension 5 Volts;
- protection thermique de contrôle sur le moteur de la pompe;
- thermocouple de contrôle manque de gaz et thermostat de contrôle thermocouple qui ferme automatiquement le robinet du gaz;
- dispositif thermique de sauvegarde des résistances (là où il est prévu)
2.5. Bruit aérien
Sur les lieux de travail, le niveau de pression sonore de 70 dB (A) n'est normalement pas dépassé.
2.6. Vibrations
Les machines sont équipées de pieds en caoutchouc antivibratoires. Dans des conditions de travail normales, ils ne seront pas de vibrations nocives pour l'opérateur et pour le milieu ambiant.
3.1. Dimensions et poids



Fig. 5
| S24 S26 S27 | MIDI CD-DE SYSTEM/LE 1 | TECNA CD-DE | SYSTEM 2 CD-DE-H-HTS SYSTEM/LE 2 | SYSTEM 3 CD-DE-H-HTS SYSTEM/LE 3 | |||||
| A mm | 380 | 380 | 380 | 540 | 660 | 780 | 900 | ||
| B mm | 320 | 320 | 320 | 480* | 600* | 720* | 840* | ||
| C mm | 515 | 515 | 515 | 515 | 515 | 515 | 515 | ||
| D mm | 430* | 430* | 430* | 430* | 430* | 430* | 430* | ||
| H mm | 465 | 465 | 465 | 465 | 465 | 465 | 465 | ||
| Capacité chaudière lt | 3,9 | 3,9 | 3,9 | 4,9 | 4,9 | 11 | 12 | ||
| Réservoir eau lt | 2 | - | - | - | - | - | - | - | - |
| Poids machine kg | 31 | 38 | 38 | 50 | 53 | 53 | 63 | 76 | |
| Entrée eau | - | 3/8 | 3/8 | 3/8 | 3/8 | 3/8 | 3/8 | 3/8 | |
| Evacuation Ømm | - | 14 | 14 | 14 | 14 | 14 | 14 | 14 | |
| Emballage | |||||||||
| Colis nr. | 1 | 1 | 1 | 1 | 1 | 1 | 1 | 1 | |
| Volume m³ | 0,18 | 0,18 | 0,18 | 0,24 | 0,28 | 0,33 | 0,33 | 0,37 | |
| Largeur mm | 495 | 495 | 495 | 660 | 780 | 900 | 1020 | ||
| Profondeur mm | 670 | 670 | 670 | 670 | 670 | 670 | |||
| Hauteur mm | 575 | 575 | 575 | 575 | 700 | 700 | |||
| Poids brut kg | 35 | 42 | 42 | 54 | 60 | 72 | 86 | ||
- Régulable en réduction

Pour les données techniques de raccordement électrique voir la plaque d'identification de la machine Fig. 1.
Les machines avec réchauffage à gaz sont équipées d'un kit de raccords standards avec lesquels il est possible d'effectuer les types de raccordements suivants:
- avec tuyau rigide direct;
- avec tuyau en cuivre et double cône;
- avec porte-caoutchouc.

Le raccordement à gaz doit être effectué en respectant scrupuleusement les normes de sécurité en vigueur dans le pays d'installation.
4. Destination d'emploi
Les machines ont été conçues, construites et protégées pour être utilisées comme machines pour le café presso et la préparation de boissons chaudes (thé, cappuccino, etc). Tout autre emploi doit être considéré comme impropre et donc dangereux.

Le constructeur décline toute responsabilité pour les dommages aux personnes ou aux choses causés par un emploi propre, erroné ou déraisonnable.
L'opérateur doit toujours se conformer aux indications d'emploi et d'entretien contenues dans ce livre.
En cas de doute ou d'anomalie de fonctionnement, arrêter la machine, n'effectuer aucune réparation ou intervention directe et s'adresser au service d'assistance.
L'opérateur ne doit pas:
- toucher avec les mains les parties chaudes et le débit;
- appuyer des récipients pleins de liquides sur la machine;
- mesure les mains sous les becs de début pendant l'emploi; donner lieu à des interventions d'entretien ou de transport lorsque l'appareil est branché et la machine est chaude;
- laver la machine avec des jets d'eau directs ou sous pression; plonger complètement ou partiellement la machine dans l'eau; éviter que la machine soit exposée à des sources de chaleur;
- utiliser la machine si le câble d'alimentation apparaît être endommagé;
- toucher la machine avec les mains et les pieds mouillés ou humides;
- utiliser la machine en présence de mineurs;
- permettre que la machine soit utilisée par des mineurs ou des personnes non autorisées; -oucher les grilles d'aspiration ou de dissipation de la chaleur avec des chiffons ou autres;
- laisser les portillons de chargement ouverts (mod. S24);
- utiliser la machine si elle est mouillée ou très humide en-dehors des zones de distribution
4.1. Contre-indications d'emploi
Les machines ne sont destinées qu’à l’emploi exclusivement alimentaire, il est donc interdit d’employer des liquides ou d’autres matériaux comme par exemple réchauffer des liquides ou introduire du café moulu dans le porte-filtre qui puissent entrainer des dangers et polluer les becs de débit.

Le constructeur décline toute responsabilité pour les dommages aux personnes ou aux choses causés par un usage impropre, erroné ou déraisonnable des machines et par leur usage de la part d'opérateurs non professionnels.
5.1. Emballage
La machine est livrée dans un seul colis avec un emballage en carton solide et des pièces de protection internes.
Sur l'emballage sont indiquées les symboliques conventionnelles à respecter pendant le mouvement et le stockage du colis.

Effectuer le transport en gardant toujours le colis en position verticale, ne pas renverser ou coucher sur le côté, manipuler délicatement en évitant les chocs et l'exposition aux intempéries.
5.2. Contrôle à la réception
Contrôler que la machine reçue soit celle qui est indiquée sur les documents d'accompagnement, y compris ses accessoires.
Contrôler qu'elle n'ait pas subi de dommages pendant le transport et, dans le cas contraire, avertir rapidement l'expéditeur et notre bureau clients.

Les éléments d'emballage (sachets en plastique, polystyrène expansé, clous cartons, etc) ne doivent pas être laissés à la portée des enfants, car ce sont des sources potentielles de danger.
Ne pas disperser les éléments d'emballage dans l'environnement mais les éliminer en les confiant aux organismes spécialisés.

6. Installation
Les machines sont équipées de pieds réglables dans le sens de la largeur et de la profondeur afin de permettre l'appui dans des zones minimum et maximum (voir dimensions d'encombrement selon le modèle).
La surface d'appui doitetre bien nivelée, sèche, lisse, solide, stable et à une hauteur de 80cm environ du sol.
Pour le bon fonctionnement de la machine, aucun ancrage à la surface d'appui et aucun dispositif technique pour limiter les vibrations n'est nécessaire.
Il est conseillé de laisser des espaces libres autour de la machine afin d'en faciliter l'emploi et les opérations d'entretien.

Au cas où la machine serait mouillée ou très humide, il ne faudra pas procéder à l'installation tant que l'on ne sera certain qu'elle soit parfaitement sèche. Il est toutefois nécessaire de faire effectuer un contrôle préalable par le service d'assistance pour vérifier si les composants électriques n'ont pas subi de dommages.
Prévoir près de la machine la zone à destiner à la machine pour la moutrure et le dosage du café (voir la documentation correspondante).
Normalement les machines sont équipées d'un adoucisseur de type DP8 ou DP12 qui doit être raccordé par l'installateur suivant les normes en vigueur. En cas de montage d'un adoucisseur différent, se référer à la documentation du produit choisi. Faire préparer par l'installateur un tiroir de récupération des fonds.

6.1. Raccordements aux soins du client.

Les opérations de branchement doivent être faites par un personnel dûment qualifié, dans l'observation et le respect des règles fédérales, nationales ou locales.
6.1.1. Alimentation hydraulique et gaz (fig.6)
Les raccordements doivent être placés près de la machine.
Tuyau d'évacuation de l'eau 1, de 30 mm de diamètre interne minimum, muni de siphon inspectable. Tuyau d'alimentation d'eau de réseau 2, avec robinet d'exclusion de 3 / 8^ . et clapet de non-retour. Tuyau d'alimentation gaz 3 avec robinet d'exclusion.

Les machines équipées de réchauffage à gaz doivent être installées en conformité aux normes locales
Fig. 6

6.1.2. Alimentation électrique.
La machine est prête à être branchée selon les spécifications électriques demandées.
Avant de brancher la machine, s'assurer que les données de la plaquette (Fig. 1) correspondent bien à celles du réseau de distribution électrique.
Le câble d'alimentation électrique doit être directement branché à la connexion précédemment prédisposée, selon les normes en vigueur. S'assurer que la prise de terre est efficace et qu'elle répond bien aux paramètres des normes en vigueur.
L'installation de mise à la terre et de protection contre les décharges atmosphériques doit obligatoirement être réalisée selon la norme.
Pour le réseau d'alimentation, utiliser un cable à norme, équipé d'un conducteur de protection (fil de terre).
Pour une alimentation triphasée, utiliser un câble à cinq conducteurs (trois phases + neutre + terre).
Pour une alimentation monophasée, utilisez un câble à trois conducteurs (phase + neutre + terre).
Dans les deux cas, prédisposer, en avant du câble d'alimentation, un interrupteur différentiel automatique, 4 (Fig. 6), équipé de déclencheurs magnétiques, selon les données reportées sur la plaquette d'identification de la machine (Fig. 1). Les contacts doivent avoir une ouverture supérieure ou égale à 3 mm.
Il est rappelé que toute machine doit être équipée de ses propres sécuritéss.
Attention

Si le câble d'alimentation est détérioré, il doit être remplacé par le constructeur ou par son service d'assistance technique ou, pour le moins, par un personnel ayant des qualifications équivalentes, de manière à éviter tout risque possible.

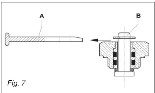
Installation de la soupape v.a.
La soupape V. A. est installée sur la partie supérieure de la chaudière.
Lors de l'installation, désenfiler la languette de blocage "A" et s'assurer que le tourillon se déplace librement.
Cette opération est de la plus grande importance pour garantir le fonctionnement correct de la machine.


6.3. Mise en place
- Placer le corps de la machine sur la surface horizontale choisie.
Avant d'effectuer les connexions, laver soigneusement les tuyaux hydriques du réseau :
ouvrir complètement le robinet de l'eau du réseau et laisser couler pendant quelques minutes; - effectuer le raccordement hydrique d'évacuation et d'alimentation d'eau; - raccorder la machine à la prise de courant; - raccorder le tuyau du gaz;
Effectuer un lavage soigneux de toute la tuyauterie hydrique de la machine:
ouvrir complètement le robinet de l'alimentation hydrique de réseau. Enclencher l'interrupteur général 1 et attendez que la chaudière se remplisse jusqu'au niveau indiqué. Enclencher l'interrupteur général 2 pour commencer à chauffer l'eau dans la chaudière. Enfoncer chaque groupe de manière à faire sortir l'eau pendant une minute ; recommencez l'opération 2 fois. - Envoyer la vapeur depuis les lances vapeur pendant une minute. - Envoyer l'eau chaude pendant une minute ; recommencer l'opération deux fois. Eteindre les interrupteurs 1 et 2. Vider l'eau dans la chaudière. Voir point 10.3

Attention!
Lorsque la machine n'effectue pas de refoulement pendant plus de 24 heures, avant de commencer à travailler, effectuez un lavage des composants intérieurs en répétant les opérations susmentionnées.
7. Mise en service
1. Interrupteur général.
Sélecteur à trois positions : 0 éteint
1 donne du courant à bord de la machine (sauf chauffage de la chaudière) et active la pompe pour le remplissage de la chaudière. 2 donne aussi du courant aux éléments de chauffage de la chaudière.
1/1 Interrupteur général.
Sélecteur à deux positions avec led lumineux (pour mod. S24-S26-S27):
activer l'interrupteur, le led s'allume, le courant entre dans la machine, la pompe qui remplit la chaudière d'eau démarre et le réchauffeur entre en fonction.
2Voyantvert.
Allume, il indique qu'il y a tension dans la machine (interrupteur général branché).
Interrupteur de début café.
Sélecteur à deux positions avec led lumineux (mod. S24-S26S-MIDI/CD-TECNA/CD-SYSTEM/CD) : activer l'interrupteur, le led s'allume, le débit de café commence;
Éteindre l'interrupteur, le led s'éteint, le début de café s'arrête.
4 Clavier électronique de début café.
Cinq touches avec led correspondant (mod. S27-TECNA/DE-MIDI/DE-SYSTEM/DE):
Appuyer pendant une seconde sur la touche, le led s'allume, laisser la touche ; le débit d'un petit café commence.
Le led s'éteint lorsqu'le débit est terminé.
Appuyer pendant une seconde sur la touche, le led s'allume, laisser la touche ; le débit d'un grand café commence.
Le led s'éteint lorsque le début est terminé.
Appuyer pendant une seconde sur la touche, le led s'allume, laisser la touche ; le débit de deux petits cafés du même groupe commence.
Le led s'éteint lorsque le début est terminé.
Appuyer pendant une seconde sur la touche, le led s'allume, laisser la touche ; le début de deux grands cafés du même groupe commence.
Le led s'éteint lorsque le début est terminé.
Appuyer pendant une seconde sur la touche, le led s'allume, laisser la touche; le début continu de café commence.
Appuyer pendant une seconde sur la touche, le led éteint, laisser la touche; le débit continu de café s'arrête.
Pour interrompre un début en cours mis en marche avec les touches A-B-C-D, il faut garder la touche E pressée jusqu'à ce que le led concernant la touche pressée s'éteigne.
Levier commande distribution café
Saisir le levier et le baisser pour obtenir la distribution du café.
Volant à main débit eau chaude (mod. S24-S26-MIDI/CD).
Robinet : tourner dans le sens inverse des aiguilles d'une montre pour ouvrir ou dans le sens des aiguilles d'une montre pour fermer.
Interrupteur débit eau chaude (mod. TECNA/CD-SYSTEM/CD).
Sélecteur à deux positions avec LED lumineux : activer l'interrupteur, le LED s'allume, le débit d'eau chaude commence ; éteindre l'interrupteur, le LED s'éteint, le débit d'eau chaude s'arrête.
Bouton début eau chaude dosée (mod. S27-TECNA/DE-MIDI/DE-SYSTEM/DE).
Appuyer pendant une seconde, le LED s'allume et l'on obtient le début d'une dose d'eau chaude.
9 Volant à main débit vapeur.
Robinet : tourner dans le sens contraire des aiguilles d'une montre pour ouvrir et dans le sens des aiguilles d'une montre pour fermer.
Bouton débit vapeur (mod. DE/H TS)
Voir les instructions correspondantes au point 8.3.
Voyant orange (mod. S24).
Allumé, il indique un manque d'eau dans le réservoir et par conséquent l'arrêt de la machine.
Voyant bleu (mod. S26).
Allumé, il indique que la résistance pour le rechauffage de l'eau dans la chaudière est enclenchée.
Bouton d'alimentation d'eau manuel (mod. SYSTEM).
Garder le bouton pressé pour recharger la chaudière.
13Robinet alimentation gaz à soupape (mod. avec réchauffage à gaz).
Ouvert: position verticale.
Fermé: tourner dans le sens des aiguilles d'une montre.
Bouton piezo-électrique (mod. avec réchauffage à gaz).
Bouton à déclic : presser à fond pour créer l'étincelle qui allume le gaz au brûleur.
7.2. Instruments de contrôle fig.8
Manomètre à aiguille mobile sur cadran fixe avec une seule échelle graduée et des zones d'indication en couleur (sauf pour les modèles SYSTEM).
Contrôle visuel de la pression dans la chaudière.
Manomètre à aiguille mobile sur cadran fixe avec double échelle graduée et zones d'indication en couleur (sauf pour le modèle SYSTEM).
Contrôle visuel de la pression dans la chaudière et de la pompe.
Lecteur de niveau avec référence de minimum et maximum (mod. SYSTEM).
Contrôle visuel du niveau d'eau dans la chaudière.
18 Lampe lumineuse verte (sauf mod. SYSTEM)
La lampe allumée indique que le niveau de l'eau est au-dessus du minimum.
Lampe lumineuse orange (sauf mod. SYSTEM)
La lampe allumée indique que le niveau de l'eau est en-dessous du minimum et l'auto-niveau est donc en fonction.

Si la lampe reste allumée, cela signifie que l'auto-niveau n'est pas entré en fonction. Vérifier si le robinet d'alimentation d'eau est ouvert. Sinon, éteindre la machine et demander l'intervention du service d'assistance technique.
Fenêtre de contrôle (modèles avec réchauffage à gaz).
Contrôle visuel d'allumage et de fonctionnement de la flamme du brûleur à gaz.
Interrupteur allumage chauffe-tasses (optionnel).


Modèle S24 fig.9
- Ouvrir le couvercle d'accès au réservoir d'eau et contrôler que l'adoucisseur 22 est bien branché dans le petit tube d'aspiration 23;
S'assurer que le piège d'air 24 est placé dans son siège;

Si le piège d'air n'est pas à sa place, la machine peut ne pas rechauffer et ne pas signaler correctement l'éventuel manque d'eau dans le réservoir.

- Introduire 2 litres d'eau dans le réservoir et refermer le couvercle ; actionner l'interrupteur général 1/1 ; on obtient le remplissage de la chaudière et l'entrée en fonction du réchauffeur ;
- Attendre que la pression d'exercice soit atteinte, aiguille du manomètre 15 Fig. 8 sur la zone verte et que la machine atteigne un bon équilibre thermique.
Modèle S26 - S27 fig.8
• Ouvrir le robinet du réseau hydrique 2 Fig.6 ; Actionner l'interrupteur général 1/1 Fig.8 ; on obtient ainsi le remplissage de la chaudière et l'entrée en fonction du réchauffeur ; - Attendre que la pression d'exercice soit atteinte, aiguille du manomètre 15 Fig.8 sur la zone verte et que la machine atteigne un bon équilibre thermique.
Modèle MIDI - TECNA - SYSTEM fig.8
• Ouvrir le robinet du réseau hydrique 2 Fig.6; Actionner dans le sens inverse des aiguilles d'une montre l'interrupteur général 1 Fig.8 en position 1; la pompe s'active et remplit la chaudière; - Une fois que le niveau est atteint, la pompe s'arrête, puis tourner dans le sens des aiguilles d'une montre l'interrupteur général 1 Fig.8 en position 2 pour donner lieu au chauffage de la machine dans la chaudière, ensuite actionner chaque groupe jusqu'à ce que l'eau en sorte; - Attendre que la pression d'exercice soit atteinte, aiguille du manomètre 15 ou 16 Fig.8 sur la zone verte et que la machine atteigne le bon équilibre thermique.
Modèles système avec gaz fig. 8
• Ouvrir le robinet du réseau hydrique 2 Fig.6; • Ouvrir le robinet du gaz 3 Fig.6 Actionner dans le sens inverse des aiguilles d'une montre l'interrupteur général 1 Fig.8 en position 1; la pompe s'active et remplit la chaudière; - Une fois que le niveau est atteint, la pompe s'arrête, tourner dans le sens des aiguilles d'une montre l'interrupteur général 1 Fig.8 en position 2; - Tourner le robinet du gaz 13 Fig.8 en position verticale (ouvert) et garder pressé le bouton incorpore, en même temps appuyer plusieurs fois à fond sur le bouton piezo-électrique 14, jusqu'à ce que l'étincelle allume le gaz en produisant la flamme (suivre l'opération en regardant par la fenêtre 20 Fig.8). Garder le bouton du robinet 13 pressé pendant environ 30 secondes afin de permettre au système de sécurité de garder la flamme allumée.

Si la flamme s'éteint, répéter l'opération.
Au cas où la flamme ne s'allumerait pas, éviter d'insister et fermer le robinet du gaz en le
tournant dans le sens des aiguilles d'une montre.
- Attendre que la pression d'exercice soit atteinte, aiguille du manomètre sur la zone verte et que la machine atteigne un bon équilibre thermique.
Modèle SYSTEM le fig.8
Machine à café express avec groupes à fonctionnement mécanique à dosage fixe. Baisser le levier commande groupe (5) jusqu'à ce qu'il soit avéré que celui-ci est en position baissée ; on attend qu'il commence à descendre du bec quelques gouttes de café dans la tasse. Ensuite on accompagne le levier que dans la première partie de sa remontée, le reste a lieu automatiquement.
Pour faire 2 cafés, on doit répéter une seconde fois cette opération.

Afin d'opérer en toute sécurité, on recommande de ne baisser absolument pas le levier, si dans le portefiltre accroché au groupe il n'y a pas de café.


8. EMPLOYI
Les machines sont équipées d'un plan supérieur sur lequel sont emmagasinées et pré-rechauffées les tasses en attente d'être utilisées.
Cela est très important pour obtenir d'excellents cafés étant donné que la tasse pré-rechauffée évite le refroidissement rapide du café.
8.1. Comment préparer le café

Il est dangereux d'effectuer le début de café sans le porte-filtre dans le groupe.
- Décrocher le porte-filtre du groupe de début, le taper, renverser, sur le tiroir de récolte des fonds sur la partie périphérique du filtre, pour faire sortir les fonds (attention à ne pas endommager le filtre).
- Utiliser le filtre pour 1 ou 2 cafés suivant la nécessité.
- Remplir le filtre avec la dose de café moulu, niveler et appuyer légèrement sur le café à l'aide du presseur. Enlever du bord du filtre le café moulu qui pourrait y être resté après le pressage.

Laisser du café moulu sur le bord du filtre empêche l'adhérence parfaite de la garniture au filtre, ce qui entraîne une perte d'eau et de fonds de café.
Accrocher le portefiltre au groupe de façon à assurer une bonne étanchéité. - Placer les tasses sous les becs de débit, et actionner le groupe avec la commande 3 ou le clavier 4 suivant le modèle (Fig. 8). - Une fois que le débit de café est terminé, laisser le porte-filtre enclenché dans le groupe jusqu'àu prochain débit.

Pendant les débits, faire attention aux parties chaudes de la chaudière, particulièrement aux groupes de début de café, aux lances de la vapeur et de l'eau chaude. Ne permettre en aucun cas les mains sous les groupes et les lances lorsqu'ils sont en fonction.
Pour obtenir un bon café, il est important que le réglage de la mouture corresponde à un débit de café compris entre 25 et 30 secondes. Si la mouture est trop grosse, on obtiendra des cafés clairs et légers avec très peu de crème, alors que si la mouture est trop fine, on obtiendra des cafés noirs et sans crème. Il est en outre important que la mouture soit fraîche et uniforme (ce qui peut être obtenu avec une machine pour la mouture et le dosage du café ayant les couteaux en bon état) et que la quantité soit bien dosée (environ 6 grammes de café).
On conseille de moudre la quantité de café nécessaire aux besoins immédiats parce que le café moulu perd rapidement ses qualités aromatiques et les substances grasses qui y sont continuent rancissant.
8.2. Comment préparer le capuccino (fig. 11)

- Préparer une tasse de capuccino avec le café expresso ; Utiliser un récipient haut et étroit rempli de lait jusqu'à environ sa moitié ;
- Mettre le récipient sous la lance 1 de façon à ce que l'atomiseur touche le fond; Ouvrir le robinet de vapeur 2 et baisser le récipient jusqu'à ce que l'atomiseur effleure la surface du lait; Il faut alors lever et baisser continuellement le récipient de façon à ce que l'atomiseur plonge et ressorte du lait en produisant sa montée (crème mousseuse); Fermer le robinet de vapeur 2, verser le lait dans la tasse et ajouter le café espresso

Dès que l'opération est effectuée, nettoyer avec une éponge ou un chiffon propre la lance afin d'éviter le séchage du lait sur celle-ci. Faire attention parce que la lance est chaude et peut brûler la main.
8.3. Comment réchauffer une boisson
- Plonger la lance de vapeur 1 dans le liquide à réchauffer; ouvrir progressivement le robinet de vapeur 9 ou 10 Fig. 8; la vapeur, en bouillonnant dans le liquide, lui cède de la chaleur en l'amenant jusqu'à la température désirée. Fermer le robinet de vapeur lorsque l'on pense avoir obtenue la température désirée.

Dès que l'opération est effectuée, nettoyer la lance avec une éponge ou un chiffon propres. La lance est chaude : faire attention à ne pas se brûler la main.
Versions de/h ts/le
Utiliser un récipient haut et étroit rempli jusqu'à sa moitié environ (au moins un demi-litre). - Mettre le récipient sous la lance de façon à ce que l'atomiseur touche le fond. - Activer la commande de début vapeur 10 Fig. 8. - Une fois que la température programmée est atteinte, le début de la vapeur s'arrête. Pour continuer le réchauffage à contrôle manuel il faut garder la touche vapeur pressée.
La phase de réchauffage peut être interrompue à tout moment en appuyant sur la même touche de début vapeur.
Il est important, afin d'obtenir une uniformité de température, de bien nettoyer la lance de débit vapeur et le capteur de température monté sur la lance elle-même. Le nettoyage doit être effectué immédiatement après le réchauffage en utilisant un chiffon propre et légèrement humide.
La température peut être programmée par le technicien installateur entre 54°C (130^) et 85°C (185^). Il n'y a qu'un seul réglage et concerne les deux lances vapeur.
Les temps maximum de début ne doivent, de toutes façons, pas dépasser les 5 minutes.
L'opération demande une attention particulière de la part de l'opérateur étant donné qu'au moment où la touche de commencement de débit est pressée, la vapeur sort immédiatement de la lance à plein flux. Ne pas mettre les mains sous la lance pendant le débit de vapeur.
8.4. Comment préparer le thé, la camomille, etc...
- Placer le récipient sous la lance de début de l'eau chaude, ensuite activer la commande de début suivant le modèle Fig. 8. Une fois obtenue la quantité désirée, éteindre l'interrupteur.
- Ajouter le produit désiré.
Modèles S27 et de
Pour ces modèles, l'eau chaude est débitée par doses déterminées (voir le réglage doses d'eau chaude paragraphe 9). Pour effectuer des débits d'eau chaude en quantités différentes, agir de la façon suivante:
Garder la commande de début 4-E Fig. 8 pressée pendant au moins quatre secondes, puis laisser la touche ; la machine distribue l'eau en continu. - Une fois que la dose demandée est atteinte, appuyer à nouveau sur le bouton E pour interrompre le débit.
En phase de début de l'eau chaude dosée électroniquement, on peut interrompre le début en cours, en appuyant sur le bouton E.
Si l'eau est adoucie, la boisson prend en général une couleur plus foncée ; si l'on peut obtenir une boisson plus claire, réchauffer l'eau comme décrit au point 8.3 en utilisant de l'eau fraîche prélevée du robinet qui distribue l'eau non adoucie.
(pour les modèles qui en sont équipés)
9.1. Modèles s27-midi de-tecna desystem de
Sur les modèles à contrôle électronique, il est possible d'intervenir et de régler les doses de débit de café et d'eau chaude.
9.1.1. Réglages dosage
Sur les machines S20, les réglages des doses de café et d'eau chaude sont effectués en agissant sur les claviers des groupes ou sur les commandes de l'eau chaude.
1. Actionner la touche E de n'importe quel clavier et la garder pressée 8-10 secondes, jusqu'à ce que le début d'eau du groupe cesse et le led correspondant à la touche continue du premier clavier de gauche commence à clignoter. 2. Pour le réglage exact de la quantité de café en tasse, il faut agir comme si l'on préparait 1 ou 2 cafés. 3. Placer le porte-filtre (avec le café moulu) sous le groupe gauche et la tasse sous le bec. 4. Actionner la touche (exampie: touche A petite tasse) 5. Une fois que la quantité désirée de café en tasse est obtenue, appuyer sur la touche de stop E. Le débit s'arrête et le micro-processeur gardera en mémoire la dose. 6. Actionner de nouveau la touche-continue E, le led s'éteindra alors et la machine gardera en mémoire le nouveau dosage. 7. Contrôler la programmation exacte en préparant le café et vérifier la quantité en tasse.
Si on doit varier plusieurs doses (B-C-D), une fois arrivés au point 5, reprendre les opérations 3-4-5 pour chaque dose en se souvenant que le portefiltre doit être utilisé avec son filtre correspondant et avec une dose de café fraîchement moulu.
Effectuer ensuite l'opération 6 et répéter l'opération 7 de vérification pour toutes les doses variées.
Si l'on doit laisser tous les groupes de la machine réglés avec les mêmes doses, les opérations de programmation du café sont terminées. Si, au contraire, on peut varier le dosage d'un autre groupe (1-2-3-4-doses) il faut agir exactement comme indiqué aux points 1-7 susmentionnés en n'agissant que sur le clavier du groupe choisi.
9.1.2. Réglage doses d'eau chaude
Agir de la façon suivante:
1 Actionner la touche continue E de n'importe quel clavier et la garder pressée pendant 8-10 secondes jusqu'à ce que le débit d'eau chaude du groupe cesse et le led correspondant à la touche E du premier clavier de gauche ne commence à clignoter. La machine est prête à accepter les variations de dosage. 2 Placer la tasse ou le récipient servant à recevoir l'eau sous le bec de début de l'eau. 3 Actionner la touche de commande début 8. 4 Une fois que la quantité nécessaire est obtenue, presser de nouveau sur la touche 8. Le débit s'arrête et le micro-processeur garde en mémoire la dose. 5 Une fois que l'opération de réglage est terminée, appuyer sur la touche E de stop-continu d'un clavier, le led de la touche s'éteint et la machine a gardé en mémoire le nouveau dosage. 6 Vérifier la programmation exacte en prélevant des doses d'eau chaude dosée.
Attention!
La commande du début de la quantité d'eau peut être gardée de la façon suivante:
- Appuyer sur la touche commande eau chaude 8 et la garder pressée pendant au moins 4 secondes, lorsque l'on laisse la touche, la machine effectue un début continu;
- pour arrêter manuellement l'émission, appuyer à nouveau sur la touche commande eau 8 lorsque la dose nécessaire a été obtenue
Si on peut arrêter le début d'eau chaude dosée, appuyer sur la touche commande eau 8.

Entretien

Les opérations d'entretien doivent être effectuées quand la machine est éteinte et froide et la prise d'alimentation débranchée. Certaines opérations spécifiques ont besoin du fonctionnement de la machine.
Pour le nettoyage, ne pas utiliser d'instruments métalliques ou abrasifs comme paille de fer, brosses métalliques, aiguilles, etc. et de détergents génériques (alcool, solvants, etc.). Utiliser, là où cela sera nécessaire, des détergents spéciaux pour les machines à café pouvant être achetés dans les centres d'assistance technique spécialisés.
10.1. Quotidien
Utiliser un chiffon ou une éponge propres qui ne perdent pas de poils ou de fils (préférer la toile ou le coton).
Nettoyer avec soin la structure en faisant attention à suivre le sens du satinage sur les parties inox. - Démonter les porte-filtres 1 et les filtres 2, enlever les incrustations de café et les rincer à l'eau chaude afin d'éliminer les dépôts de graisse. Nettoyer les douches et les garnitures des groupes de débit ; nettoyer les lances de vapeur et d'eau chaude, contrôler que les buses des nébulisateurs soient sans incrustations (au cas où ils auraient besoin d'être désincrustés, faire attention à ne pas déformer ou endommager le nébulisateur). Nettoyer les douches et les joints soucoupe des groupes de refoulement à l'aide de la brosse fournie - Enlever les porte-filtres de la machine, démonter les filtres et la molette de blocage du filtré ; à l'aide de la brosse, enlever les incrustations de café et rincez-les sous l'eau chaude pour ôter les dépôts de gras.

10.2. Hebdomadaire

Opération à effectuer avec la machine en état de marche et sous pression.
- Monter dans le porte-filtre le contrôle sans-issue dont la machine est équipée, mettre une cuillère de poudre détergente pour machine à café, puis monter le porte-filtre dans le groupe à nettoyer. Actionner la commande de début café du groupe pendant environ 30 secondes.
- Arrêtez et activez le débit plusieurs fois jusqu'à ce que l'eau qui descend du tuyau d'évacuation du groupe soit propre.
- Démonter le porte-filtre, enlever le filtre sans-issue et introduire un filtre normal, remonter le porte-filtre sur le groupe et actionner plusieurs fois le débit pour rincer. Faire un café pour éliminer les saveurs désagréables.
Modèles S24

Opération à effectuer à machine éteinte et froide et avec la ligne du réseau débranchée.
Enlever le couvercle du réservoir d'eau; - Retirer le piège d'air 24 et l'adoucisseur 22 Fig. 9; - Extraire le réservoir, le vider et le nettoyer; Rincer abondamment le réservoir et le remettre dans la machine; - Placer le piège d'air dans le guidage prévu à cet effet et l'adoucisseur sur le fond du réservoir en position horizontale; - Remplir le réservoir avec de l'eau propre et enfin refermer avec le couvercle.

Si le piège d'air n'est pas à sa place, la machine peut ne pas réchauffer et ne pas signaler correctement le manque d'eau éventuel dans le réservoir.
Modèles S24 - S26 - MIDI CD

Opération à effectuer tout de suite après avoir éteint la machine, lorsqu'elle est encore sous pression.
Actionner le dispositif de commande de début d'eau chaude 5 et laisser couler complètement l'eau. - Arrêter le dispositif de commande et donner lieu au remplissage comme cela est décrit au paragraphe 7.3.
ModèlesSYSTEMCD-LE

Opération à effectuer lorsque la machine est sous pression.
Évacuer l'eau de la chaudière (quatre litres environ) en actionnant l'interrupteur de début de l'eau chaude 7. Pour une nouvelle utilisation, attendre le rééquilibre thermique de la machine.
Modèles S27 - MIDI de - SYSTEM de

Opération à effectuer avec la machine en état de marche et sous pression.
Préparer un récipient à même de contenir au moins deux litres d'eau (quatre litres pour modèles System) et le placer sous la lance de début de l'eau chaude.
Garder le bouton de démarrage au début pressé pendant au moins quatre secondes en laissant le bouton de début continu. Lorsque les deux litres d'eau prélevée sont atteints (quatre litres pour le modèle System), enfoncez de nouveau le bouton d’arrêt du débit. Pour réutiliser la machine il faut attendre que le bon équilibre thermique se retablisse.
Nettoyage filtres et douches

Opération à effectuer lorsque la machine est éteinte et froide.
- Préparer une solution composée de 4 sachets de détersif en poudre code 69000124 dissous dans un litre d'eau chaude, dans un récipient en inox, plastique ou verre mais pas en aluminium ou en fer. Enlever les filtres et les plonger avec les portefiltres dans la solution ainsi préparée en les laissant au moins 20/30 minutes (ou peut-être une nuit entière).
- Avec cette, les sortir du récipient et les rincer abondamment à l'eau courante. Enlever les grilles d'appui des tasses 1 (Fig.13), retirer la cuvette d'eau d'évacuation qui se trouve en dessous et les nettoyer.
Fig. 13
- Contrôler et nettoyer également la cuvette d'évacuation 1 (Fig.13) en enlevant les restes des fonds de café éventuellement présents, à l'aide d'une petite cuillère.
Modèle TECNA CD - TECNA de
Pour ces modèles il suffit de remplacer l'eau de la chaudière de temps en temps étant donné que l'économiseur n'utilise pas l'eau de la chaudière pour la production de l'eau chaude.


10.3.1. Remplacement de l'eau de la chaudière MIDI - TECNA

Le remplacement doit être fait par le service technique d'assistance.
- Éteindre la machine et attendre qu'il n'y ait pas de pression à l'intérieur de la chaudière (manomètre avec index à "0").
- Bloquer avec une clé 1 le raccord 2 (Fig.14) placé au-dessus de la cuvette d'évacuation 3 et en même temps desserrer, de trois tours au maximum, la vis à hexagone encaissé 3. Laisser couler l'eau complètement puis serrer la vis 3.
- Remplir à nouveau la chaudière (paragraphe 7.3.).
Modèle S24

Opération à effectuer lorsque la machine est éteinte et froide et la prise d'alimentation électrique débranchée.
À effectuer après la consommation d'environ 15 litres d'eau (dureté moyenne de 35 degrés français) ou au moins une fois par semaine.
- Préparer la saumure dans un verre d'eau en ajoutant trois petites cuillérées de sel fin (bien dissoudre le sel dans l'eau). Vider le réservoir, voir point 10.2. Retirer l'adoucisseur 1 Fig. 15 du tuyau en caoutchouc 2 et le renverser.

- Verser la saumure sur le filtre en la laissant couler librement à travers les résines.
- Attendre environ cinq minutes puis mettre l'adoucisseur sous le robinet d'eau courante pour le rincer. Lorsque l'eau qui sort de l'adoucisseur n'est plus salée, la régénération est terminée et l'adoucisseur est prêt pour l'usage. Raccorder l'adoucisseur au tuyau et le placer sur le fond du réservoir en position horizontale.
- Après la régénération, il faut remettre en fonction la machine en suivant les opérations décrites au paragraphe 7.3.
Adoucisseur DP2 - DP4
Régénérer l'adoucisseur aux échéances prévues en se référant au tableau suivant:
n°1 régénération par mois pour 500 cafés/jour; n°2 régénérations par mois (1 tous les 15 jours) pour 1000 cafés/jour.
n°1 régénération par mois pour 1000 cafés/jour; n°2 régénérations par mois (1 tous les 15 jours) pour 2000 cafés/jour.
Ce tableau se réfère à une eau ayant une température de 25 degrés.
Pour les modalités d'emploi, voir la documentation annexe à l'adoucisseur
11. Version machine avec chauffage d'appoint au gaz

ATTENTION: l'installation de la machine et toutes les opérations eventuelles de réglage ou d'adaptation au type de gaz doivent être effectuées par des personnes professionnellement qualifiées.

La machine sort de la fabrique prête à être
alimentée au gaz liquéfié (GPL) ; par conséquent, sur le régulateur du gaz (1) est appliquée la buse correspondante indiquée dans le tableau ci-dessous :
| Modèle | Puissance thermique nominale | GPL G30 - 29 mbar | Gas naturel G20 - 20 mbar |
| 2-3 Gr. | 2,5 KW (2150 Kcal/h.) | 75 102 |
Le régulateur de la prise d'air primaire (2) est fixé avec l'encoche de référence placée sur la vis de fixation (3) sur "GPL".
Le réglage de la flamme (minimum/maximum) a été effectué pour ce type de gaz.
Si la machine est alimentée avec un autre type de gaz, il faut remplacer la buse comme indiqué dans le tableau et tourner le régulateur de l'air primaire (2) qui, dans le cas de gaz naturel, doit être réglé avec l'encoche de référence sur la vis de fixation (3) placée sur "N".
Pour ce faire, il faut desserrer la vis de fixation (3) puis la revisser après avoir effectué la rotation du régulateur d'air primaire (2).
Le raccordement au réseau de gaz, par le robinet d'exclusion du gaz expressément placé dans le local au robinet à soupape monté sur la machine, doit être effectué conformément aux normes en vigueur à l'aide du tuyau flexible ou rigide en cuivre recuit.
Dans le premier cas, on applique le raccord spécial qui est fixé en étanchéité au robinet à soupape à l'aide de l'ogive biconique et de l'écrou de fixation livré avec la machine.
Le flexible est enfilé sur le raccord et fixé à l'aide du collier de serrage livré avec la machine.
Dans le second cas, le tube en cuivre recuit peut être relié, toujours avec les ogives biconiques et les écrous, directement au robinet à soupape.
Une fois terminé le raccordement de la machine au réseau du gaz et après avoir alimenté en eau la chaudière d'après les instructions du livre "FOCTIONNEMENT ET ENTRETIEN", allumer le brûleur en procédant comme suit:
Ouvrir le robinet d'arrêt du gaz. - Appuyer sur la manette du robinet à soupape, la tourner dans le sens contraire des aiguilles d'une montre et la maintenir dans cette position en appuyant simultanément, une ou plusieurs fois sur le bouton de l'allumeur piézoélectrique (identifié par le pictogramme reproduisant une étincelle) jusqu'à ce que le brûleur s'allume:
- Attendre environ 20 secondes, puis relâcher la manette du robinet à soupape et le brûleur restera allumé (la flamme est visible à travers l'orifice destiné à cet effet sur le panneau à l'arrière du groupe distributeurs).
Attention:
Si le brûleur ne s'allume pas, ne pas insister et relâcher la manette du robinet à soupape, puis vérifier que l'étincelle d'allumage sur le brûleur soit régulière et longue de près de 5 mm.
Au cas où la flamme s'éteindrait lorsqu'on relâche la manette, vérifier la position du thermocouple et le circuit qui y est relié.
La flamme doit avoir une couleur bleu brillante. Sinon, agir délicatement sur le régulateur de la prise d'air primaire (2) jusqu'à atteindre ce résultat.
Attendre que la machine atteigne la pression de tarage et que celle-ci soit à la valeur désirée ; sinon, agir sur le régulateur pressostatique du gaz, qui est muni de deux vis pour les réglages.
La plus saillante (4) sert au réglage de la pression de service de la chaudière, tandis que l'autre (5) sert à régler le minimum.
Lorsque la machine est en pression, vérifier la régulation du minimum en agissant sur la vis (4); après avoir desserré le contre-écrou correspondant, la dévisser jusqu'à la sentir libre (conduit principal du gaz fermé) et vérifier que dans ces conditions une flamme basse reste allumée avec la fonction pilote.
Si la flamme est trop haute, il faut agir sur la vis (5) en la tournant légèrement dans le sens des aiguilles d'une montre, après avoir, bien sûr, desserré le contre-écrou; par contre, si la flamme tend à s'éteindre, il faut agir sur la vis (5) en la tournant dans le sens contraire des aiguilles d'une montre jusqu'à obtenir une flamme très basse mais ferme. Après avoir obtenu le réglage correct de la flamme du minimum, maintenir bloquée la vis et serrer à fond le contre-écrou.
Agir ensuite sur la vis (4) en la tournant dans le sens des aiguilles d'une montre jusqu'à atteindre une flamme haute et attendre que la chaudière atteigne la pression de service établie; si la flamme s'abaisse avant d'avoir atteint la pression requise, visser encore la vis (4); si elle s'abaisse à pression plus haute, il faut la dévisser.
Vérifier une ou deux fois le fonctionnement en agissant sur le robinet de la vapeur pour décharger la pression dans la chaudière; puis bloquer le contre-écrou en maintenant la vis (4) dans sa position.

A - temporaire
Effectuer les opérations de nettoyage et d'entretien. - Envelopper le câble électrique et le fixer à la machine avec un ruban adhésif. - Couvrir la machine et la ranger dans un lieu sec, à l'abri des intempéries et dont l'accès est exclusivement réservé aux personnes autorisées (éviter de la laisser à la portée de mineurs ou de personnes incapables).

Pour les opérations de déconnexion des réseaux d'alimentation, s'adresser au personnel qualifié.
- En plus des opérations de mise hors de service temporaire, il faut couper le câble d'alimentation, emballer la machine avec du carton, du polystyrène ou autre et la rendre au personnel spécialisé (élimination des déchets autorisée ou retrait des objets usagés).
13. Inconvenients et remedes

Opérations de contrôle qui peuvent être effectuées par l'utilisateur, la prise étant débranchée.
Pour tout autre type d'anomalie ou d'inconvénient, débrancher la fiche de courant, s'abstenir de toute intervention directe de réparation ou de vérification et s'adresser au service technique d'assistance qualifié.
A) La machine ne démarre pas: - Contrôler que la prise soit branchée; - Contrôler qu'il y ait du courant dans le réseau d'alimentation et que le coupe-circuit ou l'interrupteur général soient branchés; - Contrôler l'état de la prise et du câble d'alimentation, s'ils sont endommagés, les faire changer par un personnel qualifié. B) Présence d'eau sous la machine : - Contrôler que le dégorgement de la cuvette ne soit pas bouché. C) Débit lent: - Contrôler les conditions de propreté des filtres et des douches; - Vérifier si le café moulu n'est pas trop fin. D) Débit vapeur irrégulier: - Contrôler que les buses de la lance ne soient pas bouchées.
ITALIANO 5-26
FRANCAIS 27-48
D Deutsch 49-70
GB ENGLISH 71-92
ESPANOL 93-114
SCHEMI ELETTRICI
SCHEMAS ELECTRIQUES
SCHALTPLANE 115-123
WIRING DIAGRAMS

Contrôle de niveau d'eau
Boîte éléc. du
microprocesseur
Compteur volumétrique
Électrovanne eau
Electr. de charge
Electr. eau dosée
Electr. économizer
Electr. du groupe
Electrovanne vapeur
Interrupte eau
Interrupteur café
Interrupteur économis
Interrupteur général
Orange - remplissage eau autoniveau
Venteau niveau
Voyant interr. général
Bomes
Moteur pompe
Pressostat
Poussoir pour l'eau
Poussoir économiseur
Pressostat niveau
Tableau des boutons
Résistance chaudière
Relaispumper
Voyant résistance
Voyant de manque d'eau
Sonde niveau
Sauve-resistance
Terre
Thermostat
Bleu
Blanc-bleu
Blanc-jaune
Blanc
Blanc-noir
Blanc-rouge
Jaune
Jaune-vert
Marron
Noir
Rouge
Vert
Propriété réservée.
Il est interdit de produire totalement ou partiellement ce manuel sans l'autorisation écrite de la Société RANCILIO S. P. A..
La maison RANCILIO se réserve le droit d'apporter à tout moment les éventuelles modifications qu'elle jugera nécessaires.
Notice Facile