S20 - Smartphone Bea-fon - Manuale utente e istruzioni gratuiti
Trova gratuitamente il manuale del dispositivo S20 Bea-fon in formato PDF.
Domande degli utenti su S20 Bea-fon
0 domanda su questo apparecchio. Rispondi a quelle che conosci o fai la tua.
Fai una nuova domanda su questo apparecchio
Scarica le istruzioni per il tuo Smartphone in formato PDF gratuitamente! Trova il tuo manuale S20 - Bea-fon e riprendi in mano il tuo dispositivo elettronico. In questa pagina sono pubblicati tutti i documenti necessari per l'utilizzo del tuo dispositivo. S20 del marchio Bea-fon.
MANUALE UTENTE S20 Bea-fon
graze per averci accordato la Sua fiducia.
Siamo sicuri che il prodotto che Lei ha acquistato rispondere in piano alle Sue aspettative, come tutti gli altri articoli della produzione RANCILIO. Il prodotto che Lei si accinge ad usare è il risultato di approfonditi studi e metricolose sperimentazioniffe talle RANCILIO per offrirLe quanto di più funzionale, sicuro ed apprezzabile,anche sotto il profilo del design, si possa trovare sul mercato. Il libretto di istruzioni per il corretto uso e manutenzione della macchina La aiuterà a sfruttare al meglio le sue elevatissime possibilità e prestazioni.
Con I'augurio di poterLa sempre annoverare tra i nostri clienti, Le auguriamo una buonalettura.

Cher Client,
Noi RANCILIO Macchine per caffe S.p.A.
Dichiariamo molto la nostra responsabilità che il prodotto: Macchina per caffe per uso professionale Déclarons, sous notre responsabilité, que le produit : Machine à café d'utilisation professionnel Wir erklären auf unsere Verantwortung, daß das Produkt: Kaffeemaschine für Beruflichgebrauch Declare under our responsibility that the product: Espresso coffee makers for commercial use Declaramos bajo unsere responsabilità que el producto: Maquina para café de uso professionnel
al quale è riferita esta Dichiarazione, secondo quanto prescritto dalle direttive specifiche:
Direttiva macchina - Direttiva machine - Richtlinie Maschine - Makers directive - Directiva手机版
Direttiva EMC - Direttiva EMC - Richtlinie EMC - EMC Directive - Directiva EMC
97/23/CE
Direttiva attrezatura a pressione (PED)-Directive sur les appareillages sous pression (PED)-Richtlinie fur unter Druck stehende Geräte (PED) Pressure device directive (PED) - Direcva equipos de presión (PED)
è conforme alle seguenti norme:
Villastanza di Parabiago
Il presidente - The president

ITALIANO 5-26
F FRANCAIS 27-48
D DEUTsCH 49-70
GB ENGLISH 71-92
E ESPANOL 93-114
SCHEMI ELETTRICI 115-123
SCHEMAS ELECTRIQUES
SCHALTPLANE
WIRING DIAGRAMS
ESQUEMAS ELECTRICOS

Le operazioni indicate con questo significato sono di esclusiva pertinenza del technique installatore

Le operazioni indicate con questo simbo lo possono essere effettuate dall'utente.
ITALIANO
INDICE
Dati di riconoscimento macchina 6
- Avvertenze generali 7
- Descrizione della macchina 7
2.1. Specifiche funzionali 8
2.2.Dotazioni machine 11
2.3. Protezioni meccaniche 11
2.4. Sicurezze elettriche 11
2.5.Rumore aeroe 11
2.6.Vibrazioni 11
- Dati tecnici 12
3.1. Dimensioni pesi 12 -
Destinazione d'uso 13
4.1. Controindicazioni d'uso 13 -
Trasporto 13
5.1.Imballo 13
5.2. Controllo al ricevimento 13
- Installazione 14
6.1. Allcianti da predisporre a cura del cliente. 14
6.1.1. Alimentazione idrica e gas 14
6.1.2.Alimentazione elettrica 15
6.2. Operazioni preliminari 15
6.3.Piazzamento 15
- Messa in servizio 16
7.1.Comandi 16
7.2. Strumenti di controllo 17
7.3.Avvio macchina 18
- Uso 19
8.1.Come si prepara il caffe 19
8.2.Come di prepara il cappuccio 20
8.3. Come si riscalda una bevanda
20 8.4.Come di prepara il the, camomilla, etc.20
- Regolazioni etarature dosi 21
9.1.Per modelli S27-MIDI DE - TECNA DE SYSTEM DE-SYSTEM LE 21
9.1.1.Regolazione dosatura 21
9.1.2.Regolazione dosi di acqua 21
- Manutenzione 22
10.1.Giornaliera 22
10.2.Settimanale 22
10.3.Manutenzioni periodiche 24
10.3.1. Sostituzione acqua MIDI - TECNA .. 24
10.3.2.Rigenerazione 24
- Versione macchina con riscaldamento supplementare a gas 25
- Messa fuori servizio 26
- Inconvenienti possibili 26
DENOMINAZIONE:Macchina per caffe seri S20
MODELLO: S24 - S26 - S27 - MIDI - TECNA - SYSTEM - SYSTEM/LE
VERSION: S24 - S26 - S27
MIDI/DE-MIDI/CD
TECNA/DE-TECNA/CD
SYSTEM 2/DE - SYSTEM 2/CD - SYSTEM 3/DE - SYSTEM 3/CD
SYSTEM 2/DE H - SYSTEM 2/CD H - SYSTEM 3/DE H
SYSTEM 3/CD H - SYSTEM 2/DE HTS - SYSTEM 3/DE HTS
La targa posta sulla dichiarazione di conformità CE del presente documento corrisponde alla targa di identificazione collocata sulla macchina Fig.2.
Schema d'identificazione dati di targa:

Fig. 1
1 Costruttore
2 Modello e versione
3 Tensione elettrica
4 Marcatura CE (ove richiesto)
5Numero di matricola
6 Dati caldaia
7 Assorbimento totale della macchina
8 Grado di protezione
9 Potenza motore
10 Potenza elemento riscaldante
11 Freqenza elettrica
12 Marchi di conformità
13 Anno di fabbricazione



Fig. 2
Convenzioni tipografiche

Segnale di pericolo che indica di osservare scrupolosamente le istruzioni a cui è riferito upone evitare possibili danneggiamenti alla macchina o infortuni.
Il presente libretto costituisce parte integrante ed essenziale del prodotto e dovrá essere consegnato all'utilizzatore. Per un corretto uso e utilizzato dell'apparecchio, leggere attendente il manuale e rispetto delle indicazioni inesso contentute. Conservare con cura quello libretto per agli ulteriori consulazione.
1. AVVERTENZE GENERALI
Gli elementi d'imballaggio (sacchetti di plastica, polistirolo espanso, chiodi, cartoni, ecc...) non devono essere lasciati alla portata di bambini in quanto potenziali fonti di pericolo.
- Prima di collegare la macchina accertarsi che i dati di targa siano rispondenti a quelli della rete di distribuzione elettrica.
- Et vietato l'uso di adattatori, prese multiple e/o pro-lunghe.
In caso di dubbio o di incertezza far controllare da personale qualificato l'impianto di alimentazione elettrica che deve rispondere ai requisiti disposti dalle normative di sicurezza vigenti, fra i quali:
- efficace messa a terra;
-
sezione dei conduttori sufficiente alla potenza di assorbimento;
dispositivo salvavita effidente. -
Posizione are la macchina su un piano idrorepellente (laminato, acciaio, ceramica, ecc...) lontano da sorgenti di calore (forni, fornelli, camini, ecc...) e in ambienti dove la temperature non scenda molto i 5^ . TEME IL GELO.
Non esporre la macchina ad intemperie o piazzarla in ambienti ad elevata umidità come locali da bagno, ecc..
Non ostruire le griglie di aspirazione o di dissipazione, in particolare non copire con panni o altri il piano scaldatazze. - La macchina imballata va immagazzinata in luogo riparato dalle intemperie, asciutto e privo di umidi-tà. La temperatura deve essere non inferiore a +5^ .
I colli si possono impilare per un massimo di tre pezzi dello stesso tipo. Evitare di sovraporre all'imballo colli pesanti di altri genere.
In caso di emergenza, come principio d'incendio, rumorosità anomala, surriscaldamento, ecc... intervenire immediatamente a staccare l'alimentazione elettrica di rete, chiudere i rubinetti del gas e dell'acqua.
- Utilizzare solo accessori e ricambi autorizzati dal produttore. Questo significa garanzia di sicuro funzionamento privo di inconvenienti.

Un'errata installatione cui causare danni a persona e cose per i quali il costruttore non cui considerarsi responsabile.
2.DESCRIPTION DELLE MACCHINE
Le macchine della series S20 sono realizzate per la preparazione di caffe espresso e bevande calde. Il principio di funzionamento consiste in una pompa volumetrica interna alla macchina che alimenta la caldaia nella quale avviene il riscaldamento dell'acqua. Azionando gli apposti comandi, l'acqua viene inviataagli erogatori esterni sotto forma di acqua calda o vapore secondo l'occorrenza.
Nei modelli con economizzatore l'acqua da utilizzato per le bevande viene prelevata al momento direttamente alla rete idrica, pressurizzata alla pompa e riscaldata istantaneamente dal vapore generato alla caldaia.
Il modello S24 è dotato di serbatoio acqua incorp. rato quando non necessita di allacciamento alla rete idrica. All'interno del serbatoio èosto l'addolcitore che ha la funzione di addolcire l'acqua trattendo i sali di calcio inessa containuti,
La costruzione è composta da una struttura portante in acciaio alla quale vengono fissati i componenti meccanici ed elettrici. Il tutto è inglobato con pannelli a copertura totale realizzati in alluminio verniciato e acciaio inox.
Sul fronte macchina si effettuano le operazioni produttive, sono posizionati i comandi, le apparecchiature di controllo e gli erogatori.
Sopra la macchina è ricavato un piano destinato ad uso scaldatazze.
2.1. Specifiche funzionali e composizione macchine

mod. S24

mod. S26

mod.S27

mod.MIDI CD

mod.MIDI DE

mod. TECNA CD

mod. TECNA DE
Fig. 3
| A | B | C | D | E | F | |
| * S24 | ok-111- | |||||
| S26 | ok-111- | |||||
| S27 | - | o | k | 1 | 1 | |
| MIDI CD | ok- | 2 | 11- | |||
| MIDI DE | - | o | k | 2 | 1 | 1 |
| TECNA CD | ok- | 2 | 11 | ok | ||
| TECNA DE | - | o | k | 2 | 2 | 1 |
| ** SYSTEM 2/DC SYSTEM 2/DC H | ok- | 22 | 1- | |||
| ** SYSTEM 2/DE SYSTEM 2/DE H SYSTEM 2/DE HTS | - | o | k | 2 | 2 | 1 |
| ** SYSTEM 3/CD SYSTEM 3/CD H | ok- | 32 | 1- | |||
| ** SYSTEM 3/DE SYSTEM 3/DE H SYSTEM 3/DE HTS | - | o | k | 3 | 2 | 1 |
| *** SYSTEM/LE 1 | ok | - | 1 | 1 | 1 | - |
| SYSTEM/LE 2 | ok | - | 2 | 2 | 1 | - |
| SYSTEM/LE 3 | ok | - | 3 | 2 | 1 | - |
Legenda symbologia:
A Funzionamento semiautomatico; avvio e arresto erogazione manuale.
B Funzionamento automatico; controlo elettronico erogazione dosi di caffe e acqua calda.
C Nr. gruppi di erogazione caffe.
D Nr. lance di erogazione vapore.
E Nr. lance di erogazione acqua calda.
F Funzionamento con economizzatore.
- Serbatoio acqua e addolcitore incorp.orato (non necessita di allacciamento alla rete idrica
A richiesta con riscaldamento a gas
* Funzionamento a leva
1 Rubinetto erogazione vapore
2 Lancia vapore
3 Comando erogazione acqua calda
4 Lancia acqua calda
5 Gruppo erogazione caffe
6 Comando erogazione caffe
7 Pulsante carico acqua manuale (solo SYSTEM)
8 Livello ottico (solo SYSTEM)
9 Manometro
10Interruttore generale e spia interuttore acceso
11Accenditore gas (per modelli previsti)
12Rubinetto gas valvolato (per modelli previsti)
13Pulsante vapore (solo per modelli DE/H TS)
14Serbatoio acqua (solo per modello s24)
15 Lampada spia verde livello acqua
16 Lampada spia arancio di carico acqua
17 lampada spi mancana acqua serbatoio (solo S24)
18 Lampada spia inserimento resistenza (solo S26)
19 Leva gruppo comanto (solo SYSTEM LE)












Fig. 4
2.2. Dotazione machine
| S24 | S26 | S27 | MIDI CD TECNA CD SYSTEM 2/ CD* - CD H SYSTEM/ LE 1 - LE 2 | MIDI CD TECNA CD SYSTEM 2/ DE*-DE H/HTS | SYSTEM 3/ CD* - CD H | SYSTEM 3/ DE*-DE H/HTS SYSTEM/LE 3 | |
| Portafiltro 1 dose | 1 | 1 | 1 | 1 | 1 | 1 | |
| Portafiltro 2 dosi | 1 | 1 | 1 | 2 | 2 | 3 | 3 |
| Filtri | 2 | 2 | 2 | 3 | 3 | 4 | 4 |
| Filtro cieco | 1 | 1 | 1 | 1 | 1 | 1 | |
| Tubo carico 1 m. | - | 1 | 1 | 1 | 1 | 1 | 1 |
| Tubo carico 1,5 m. | - | 1 | 1 | 1 | 1 | 1 | 1 |
| Tubo scarico 1,5 m. | - | 1 | 1 | 1 | 1 | 1 | 1 |
| Raccordi | - | 1 | 1 | 1 | 1 | 1 | 1 |
| Fusibili | - | - | 3 | - | 3 | - | 6 |
| Dosatore e pressino | 1 | 1 | 1 | 1 | 1 | 1 | |
| Libretto istruzioni | 1 | 1 | 2 | 1 | 2 | 1 | 2 |
| Spazzolino | 1 | 1 | 1 | 1 | 1 | 1 | |
| Schemi elettrici | 1 | 1 | 1 | 1 | 1 | 1 | |
| ** Rialzo tazze | - | - | - | 2 | 2 | 3 | 3 |
| *** Rialzo piedino | - | - | - | - | 4 | - | 4 |
- Modelli corredati con accessori di allacciamento gas (quando applicato).
** Solo per modelli H e DE/H TS
*** Solo per modelli DE/H TS
2.3. Protezioni meccaniche
Le protezioni di cui le macchine sono dotate sono:
- pannellatura completa di protezione alle parti soggette a calore e al generatore di vapore e acqua calda;
- piano scaldatazze con vasca di contentimento dei liquidi che possono essere accidentalmente travasati;
- piano di lavoro con griglia e bacinella sottostante di raccolta liquidi;
- comandi posti sopra le zone di erogazione in posizione di sicurezza;
- valvola espansione sull'impianto idraulico e valvola sulla caldaia contro le sovrappressioni;
- valvola di non ritorno sull'impianto idraulico onedevitare riflussi nella rete di alimentazione.
2.4. Sicurezze elettriche
Le sicurezze previste sono:
- comandi della tastiera DE a bassa tensione 5Volt;
protezione termica sul motore della pompa; - termocoppia di controllo mancanza gas e termosto di controllo termocoppia che chiude automaticamente il rubinetto del gas;
- termica salvaresistenze.
2.5. Rumore aereo
Nelippo di lavoronon viene normalmente superato il livello di pressione sonora di 70dB(A).
2.6. Vibrazioni
Le macchine sono equipaggiate con piedini in gomma antivibrante. In normali condizioni di lavoro non generano vibrazioni dannose all'operaatore e all'ambiente.
3. DATI TECHNICI
3.1. Dimensioni e pesi




Fig. 5
| S24 | S26 | S27 | MIDI CD-DE SYSTEM/LE 1 | TECNA CD-DE | SYSTEM 2 CD-DE-H-HTS SYSTEM/LE 2 | SYSTEM 3 CD-DE-H-HTS SYSTEM/LE 3 | |
| A mm | 380 | 380 | 380 | 540 | 660 | 780 | 900 |
| B mm | 320 | 320 | 320 | 480* | 600* | 720* | 840* |
| C mm | 515 | 515 | 515 | 515 | 515 | 515 | 515 |
| D mm | 430* | 430* | 430* | 430* | 430* | 430* | 430* |
| H mm | 465 | 465 | 465 | 465 | 465 | 465 | |
| Capacità caldaia lt | 3,9 | 3,9 | 3,9 | 4,9 | 4,9 | 11 | 12 |
| Serbatoio acqua lt | 2 | - | - | - | - | - | - |
| Peso macchina kg | 31 | 38 | 38 | 50 | 53 | 63 | 76 |
| Entrata acqua"G | - | 3/8 | 3/8 | 3/8 | 3/8 | 3/8 | 3/8 |
| Scarico Ømm | - | 14 | 14 | 14 | 14 | 14 | 14 |
| Imballo | |||||||
| Colli nr. | 1 | 1 | 1 | 1 | 1 | 1 | 1 |
| Volume m³ | 0,18 | 0,18 | 0,18 | 0,24 | 0,28 | 0,33 | 0,37 |
| Larghezza mm | 495 | 495 | 495 | 660 | 780 | 900 | |
| Profondità mm | 670 | 670 | 670 | 670 | 670 | 670 | |
| Altezza mm | 575 | 575 | 575 | 700 | 700 | 700 | |
| Peso lordo kg | 35 | 42 | 42 | 54 | 60 | 72 | 86 |
- Regolabile in riduzione

Per i dati tecnici di allacciamento elettrico, vedere la targa di identificazione macchina Fig.1.
Le macchine con riscaldamento a gas sono dotate di un kit di raccordi standard con i quali è possibile effettuare i seguenti tipi di collegamento:
- con tubo rigido diretto;
- con tubo in rame e doppio cono;
-conportagomma.

L'allacciamento al gas deve essere effettua to attenuendosi scrupolosamente alle norme di sicurezza vigenti nel paese di installmente.
4. DESTINAZIONE D'USO
Le macchine sono state progettate, costruite e protette per essere utilizzate quali machine per caffe espresso e preparazione di bevande calde (the, cappuccino, ecc..). Ogni altri uso é da considerarsi improprio e quindi pericoloso.

Il costruttore declina agli responsabilità per anni a persone o cose dovute ad uso improprio, errato o irragionevole.
L'operaatore deve sempre atteneri alleindicazioni di uso e manutenzionecontainnel presente libretto. In caso di dubbio o anomalia di funzionamento,fermare la macchina,astenersi da effettuare riparazioni o interventi diretti e rivolgersi al servizio di assistenza.
L'opercatore non deve:
- toccare con le mani la zone calde e di erogazione;
appoggiare contentitori di liquidi sulla macchina; - mettere le mani sotto gli erogatori durante l'uso;
- intervenire in opere di manutenzione o di trasporto con la linea insertita e la macchina calda;
- lavare la macchina con getti d'acqua diretti o in pressione;
immergere completeness or parzialmente in ac-qua la macchina; - evitare che la macchina sia esposta a fonti di calore;
- utilizzare la macchina se il cavo di alimentazione risulta danneggiato.
- toccare la macchina con mani o piedi bagnati o umidi;
- utilise la macchina qualora vi fossero dei minori nelle immeditate vicinanze;
- lasciare utilizzato la macchina a persone non capaci o a minori;
- ostruire le griglie di aspirazione o dissipazione calore con panni o altri;
- lasciare aperti gli sportelli di rifornimento(mod.S24)
- utilizzare la macchina qualora risultasse bagnata o formente umida al di fuori della zona di erogazione
4.1. Controindicazione d'uso
Le macchine sono destinate ad uso esclusivamente alimentare per cui è vietato l'impiego di liquidi o materiali di altri genere come ad esempio riscaldare liquidi o inseire macinato nel portafiltero che possano generare pericoli e inquinare gli erogatori.

Il costruttore declina agli responsabilitá per danni a persone o cose dovuti ad uso improprio, errato o irragionevole e all'uso delle machine da parte di operatori non professionali.
5. TRASPORTO
5.1. Imballo
La macchina viene consagnata in unico collo con imballo in robusto cartone ed inserti di protezione interni.
Sull'imballo sono riportate le simbologie convenzionali da osservare durante il movimento e lo stoccaggio del collo.

Effettuare il trasporto tenendo sempre il collo in posizione verticale, non capovolgere o corcare su un fianco, procedendo con cautela evitando urti ed esposizione alle intemperie.
5.2. Controllo al ricevimento
Controllare che la macchina ricevuta sua quella indica sui documenti di arrivapagnamento, compresi eventuali accessori.
Controllare che non abbia subito danni durante il trasporto ed in caso afermativo, avvertire con tempe-stivita lo spedizioniere ed il nostro ufficio clienti.

Gli elementi d'imballaggio (sacchetti di plastica, polistirolo espanso, chiodi, cartoni, ecc.) non devono essere lasciati alla portata di bambini in quanto potenziali fonti di pericolo.
Non disperdere nell'ambiente gli elementi d'imballaggio, ma smaltirli affidandoliagli organi preposti a tali attività.

6. INSTALLAZIONE
Le macchine sono dotate di piedini regolabili in altezza e profondità onde permettere l'appoggio entro aree minime e massime (vedere dimensioni di ingombro secondo il modello).
Il piano di appoggio deve essere ben livellato, asciutto, liscio, robusto, stabile ed essere ad una altezza da terra di circa 85 cm.
Per il buon funzionamento della macchina, non necessitano anticoraggi al piano di appoggio ne accorgimenti tecnici atti a limitarne le vibrazioni.
Si consiglia di lasciare degli spazi liberi attorno alla macchina al fine di agevolare l'uso e le operazioni di manutenzione.

Qualora la macchina risulti bagnata o fortemente umida, bisogna astenersi dal procedere all'installazione fino a quando non si abbia la certezza della sua asciugatura. É comunique necessario fare un controllo Preventivo da parte del servizio di assistenza per accertare eventuali danni subiti dai componenti elettrici.
Prevedere in prossimita della macchina l'area da destinare al macinadosatore (vedere la relativa documentazione).
Normalmente le macchine sono dotate di un addolcitore di tipo DP2 o DP4 che deve essere allacciato a cura dell'installatore secondo le norme vigenti. In caso di montaggio di un addolcitore diverso,fare riferimento alla documentazione del prodotto scelto.
Fare predisporre dall'installatore un cassetto battifondi.

6.1. Allcanti da predisporre a cura del cliente.

Le operazioni di allacciamento devono essere eseguite da personale qualificato e i completinga osservanza delle regole federali, statali o locali
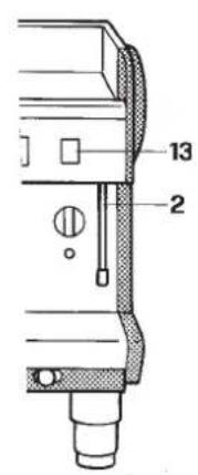
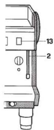
6.1.1. Alimentazione idrica e gas (Fig.6)
Gli allacciamenti devono essere posizionati in prossimita della macchina.
- Tubo di scarico acqua 1 di diametro interno minimo da 30mm . munito di sifone ispezionabile.
- Tubo alimentazione acqua di rete 2 con rubinetto di esclusione da 3/8 G. e valvola di non ritorno.
- Tubo di alimentazione gas 3 con rubinetto di escludione.

Le macchine dotate di riscaldamento a gas devono essere installate in conformità alle norme vigenti locali.


6.1.2. Alimentazione elettrica.
La macchina è fornita pronta per l'allacciamento secondo le specifiche richieste.
Prima di collegare la macchina accertarsi che i dati di targa siano rispondenti a quelli della rete di distribuzione elettrica.
Il cavo di alimentazione elettrica va allacciato direttamente alla connessione precedentemente predispossta secondo le norme vigenti.
L'impiano di messa a terra e di protezione contro le scariche atmosalferiche deve obbligatoriamente essere realizzato come prescritto dalle norme.
Utilizzato per la rete di alimentazione un cavo a norme con conduttore di protezione (filo a terra)
Per alimentazione trifase utilizzato un cavo a 5 conduttori (3 fasi+neutro+terra).
Per alimentazione monofase utilizzare un cavo a 3 conduttori (fase+neutro+terra).
In entrambi i casi predisporre a monte del cavo di alimentazione un interrottore automatico differenziale 4 (Fig.6), completeness di sganciatori magnetici secondo i dati riportati sulla targa di identificazione macchina (Fig.1). I contatti devono avera una apertura uguali o superiore a 3mm
Si ricorda che agli macchina deve essere dotata delle propria sicurezze.
ATTENZIONE

Se il cavo di alimentazione è danneggiato esse devese essere sostituito dal costrutto o dal suo servizio assistenza tecnica o migliorque da una persona con qualifica similare, in modo da prevenir agli rischio.

6.2. Operazioni preliminari:
VALVOLA ANTIRISUCCHIO
Sulla parte superiore della caldaia è installata la valvola antirisucchio, all'atto dell'installazione provvedere a sfilare la linguetta di bloccaggio "A" e accertarsi che il perno della valvola "B" Scorra liberamente.
Questa operazione è della massima importanza per il corretto funzionamento della valvola antiriscucchio.


6.3. Allacciamento
- Posizione are il corpo macchina sul piano orizzontale preposto.
Prima di effettuare le connessioni, eseguire un accurato lavaggio dei tubi idrici di rete:
- Apriere completeness il rubinetto acqua di rete e lasciare scorrere per quale minuto.
- Procedure alla connessione idrica di carico e scarico acqua.
- Allacciare la macchina alla presa di corrente.
- Allacciare il tubo del gas. (Modelli SYSTEM)
Eseguire un accurato lavaggio di tutte la tubazione idrica della macchina:
- Apriere completeness il rubinetto dell'alimentazione idrica di rete;
- Azionare l'interruttore generale 1; attendere che la caldaia si riempia sino al livello impostato.
- Azionare l'interruttore generale 2 per dare inizio al riscaldamento dell'acqua in caldaia.
- Azionaregni gruppo in modo da far uscire acqua per circa un minuto; ripetere l'operazione per due volte.
- Erogare vapore dalle lance vapore per circa un minuto.
- Erogare acqua calda per circa un minuto; ripetere l'operazione per due volte.
- Spagnere gli interrupttori 1 e 2.
Svuotare I'acqua in caldaia. Vedi punto 10.3

ATTENZIONE
Quando la macchina non effettua erogazioni per più di 24 ore, prima di iniziare il lavoro procedere a un lavaggio dei componenti interni, ripetendo le operazioni sopra descripte
7. MESSA IN SERVIZIO
7.1. Comandi Fig.8





Fig. 8
1 Interruftore generale.
Selettore a tre posizioni:
0 spento
1 immette corrente a bordo macchina (escludo il riscaldamento caldaia) e attiva la pompa per il riem-pimento della caldaia
2 immette correnteancheagli elementi di riscaldamento caldaia
1/1 Interruittore generale.
Selettore a due posizioni con led luminoso (per mod. S24 - S26 - S27):
attivare l'interruttore, led acceso, si immette corrente alla macchina e si avvia la pompa che carica la caldaia con acqua ed entra in funzione il riscaldatore.
2 Spia luminosa verde.
Accesa indica che c'é tensione in macchina (interrettore generale inserito).
3 Interruttore erogazione caffe.
Selettore a due posizioni con led luminoso (mod. S24-S26-MIDI/CD-TECNA/CD-SYSTEM/CD):
attivare l'interruttore, led acceso, si procede alla erogazione di caffe;
sganciare l'interruttore, led spento, si interrompe l'erogazione di caffe.
4 Tastiera elettronica ergazione caffe.
Cinque tasti con relativo led (mod. S27-TECNA/ DE-MIDI/DE-SYSTEM/DE):
A Premere per un secondo il tasto, led accesso, rilasciare il tasto; si avvia l'erogazione di un caffe corto.
II led si spagne ad erogazione terminata.
B Premere per un secondo il tasto, led accesso, rilasciare il tasto; si avvia l'erogazione di un caffe lungo.
II led si spegne ad erogazione terminata.
C Premere per un secondo il tasto, led accesso, rilasciare il tasto: si avvia l'erogazione di due caffe corti dallo stesso gruppo.
II led si spegne ad erogazione terminata.
D Premere per un secondo il tasto, led accesso, rilasciare il tasto; si avvia l'erogazione di due caffe lunghi dallo stesso gruppo.
II led si spegne ad erogazione terminata.
E Premere per un secondo il tasting, led accesso, e rilasciare il tasting; si avvia l'erogazione continua di caffe.
Premere per un secondo il tasto, led spento, e rilasciare il tasto; si interrompe l'erogazione continua di caffe.
Per interrompere una erogazione in corso avviata con i tasti A-B-C-D, si deve tenere premuto il tasting E sino a che si spegne il led relativo al tasting premuto.
5 Leva commande ergazione caffe.
Impugnare ed abbassare la leva per ottener l'erogazione del caffe
6 Volantino erogazione acqua calda (mod.S24-S36-MIDI/CD).
Rubinetto: ruotare in senso antiorario per apriere o in senso orario per chiudere.
7 Interruttore erogazione acqua calda (mod. TECNA/ CD-SYSTEM/CD).
Selettore a due posizioni con led luminoso: attivare l'interruttore, led accesso, si procede alla erogazione di acqua calda; sganciare l'interrutto, led spento, si interrompe l'erogazione di acqua calda.
8 Pulsante erogazione acqua calda dosata (mod. S27-TECNA/DE-MIDI/DE-SYSTEM/DE).
Premere per un secondo, si accendi il led e si ottiene l'erogazione di una dose di acqua calda.
9 Volantino erogazione vapore.
Rubinetto: ruotare in senso antiorario per apriere o in senso orario per chiudere.
10Pulsante erogazione vapore (mod. DE/H TS)
Vedere le relative istruzioni al pargafo 8.3.
11Spia luminosa arancio (mod. S24).
Accesa indica mancanza d'acqua nel serbatoio e seguente arresto della macchina.
Spia luminosa blu (mod. S26).
Accesa indica che è inserita la resistenza per il riscaldamento dell'acqua in caldaia
12Pulsante carico acqua manuale (mod.SYSTEM).
Tenere premuto il pulsante per riempire la caldaia.
13Rubinetto alimentazione gas valvolato (modelli con riscaldamento a gas).
Aperto: posizione verticale;
Chiuso: ruotare in senso orario di 90^ .
14Pulsante piezo-elettrico (modelli con riscaldamento a gas).
Pulsante a scatto: premere a fondo per generare la scintilla che accende il gas al bruciatore.
7.2. Strumenti di controllo (Fig.8)
15Manometro ad ago mobile su quadrante fisso con singola Scala graduata e zone a colori di individazione (escluso modelli SYSTEM).
Controllo visivo della pressione in caldaia.
16Manometro ad ago mobile su quadrante fisso con dopbia Scala graduata e zone a colori diindicazione (mod. SYSTEM).
Controllo visivo della pressione in caldaia e della pompa.
17 Lettre di livello con riferimento di minimo e massimo (mod. SYSTEM).
Controllo visivo del livello acqua in caldaia.
18Lampada luminosa verde (escluso mod. SYSTEM). Lampada accesa indica che il livello dell'acqua è soprata al minimo.
19 Lampada luminosa arancio (escluso mod. SYSTEM)
Lampada accesa indica che il livello dell'acqua è molto il minimo ed è quindi in funzione l'autolivello.

Se la lampada rimane accesa, significa che non e entrato in funzione l'autolivello.
Verificare se è aperto il rubinetto di alimentazione acqua, altrimenti si deve spegnere la macchina e richiedere l'intervento del servizio assistenza tecnica.
20Finestra di controllo (modelli con riscaldamento a gas).
Controllo visivo di accensione e funzionamento della fiamma del bruciatore a gas.
21 Interruttore insertimento scaldatazze (optional).


7.3. Avvio macchina
Modello S24 Fig.9
- Apire il coperchio di accesso al serbatoio acqua e controllare che l'addolcitore 22 sia inserto nel tubetto pescante 23;
- Accertarsi che la trappola aria 24 sia inserita nella apposita sede;

Se la trappola aria è fuori posizione la macchina cui non riscaldare e non segnalare correttamente la eventuale mancanza d'acqua nel serbatoio.

- Immettere 2 litri di acqua nel serbatoio e richiudere il coperchio;
- Azionare l'interruttore generale 1/1; si ottiene il riempimento della caldaia e l'entrata in funzione del riscaldatore;
- Attendere che via raggiunta la pressione di esercizio, ago del manometro 15 Fig.8 sulla zona verde, e che la macchina raggiunga il giusto equilibrio termico.
Modello S26 - S27 Fig.8
- Aprire il rubinetto della rete idrica 2 Fig.6;
- Azionare l'interruttore generale 1/1 Fig.8; si ottiene il riempimento della caldaia e l'entrata in funzione del riscaldatore;
- Attendere che via raggiunta la pressione di esercizio, ago del manometro 15 Fig.8 sulla zona verde, e che la macchina raggiunga il giusto equilibrio termico.
Modello MIDI - TECNA - SYSTEM Fig.8
- Apriere il rubinetto della rete idrica 2 Fig.6;
- Azionare in senso antiorario l'interruttore generale 1 Fig.8 in posizione 1; si attiva la pompa che provvede a riempire la caldaia;
- A livello raggiunto si ferma la pompa, quando ruotare in senso orario l'interruttore generale 1 Fig.8 in posizione 2 per dare inizio al riscaldamento dell'acqua in caldaia, dopo di che azionare agli singolo gruppo fino alla fuoriuscita di acqua dagli stessi;
- Attendere che sia raggiunta la pressione di esercizio, ago del manometro 15 o 16 Fig.8 sulla zona verde, e che la macchina raggiunga il giusto equilibrio termico.
Modello SYSTEM con gas Fig.8
- Aprire il rubinetto della rete idrica 2 Fig.6;
- Apriere il rubinetto del gas 3 (Fig.6).
- Azionare in senso antiorario l'interruttore generale 1 Fig.8 in posizione 1; si attiva la pompa che provvede a riempire la caldaia;
- A livello raggiunto si ferma la pompa, quando ruotare in senso orario l'interruttore generale 1 Fig.8 in posizione 2;
- Ruotare il rubinetto del gas 13 Fig.8 in posizione verticale di aperto e tenere premuto il pulsante incorp calorato, contemporaneamente premere ripetutamente a fondo il pulsante del piezoelettrico 14 fino a che la scintilla accende il gas generando
la fiamma (seguire l'opération guardando tramite la finestra 20 Fig.8).Mantenere premuto il pulsante del rubinetto 13 per circa 30 secondi al fine di consentire alsystema di sicurezza di mantenere accesa la fiamma.
Se la fiamma si spegne, ripetere l'operazione.

In caso di mancata accensione della fiamma, evitare di insistere e chiudere il rubinetto del gas ruotandolo in senso orario di 90^
- Attendere che sia raggiunta la pressione di esercizio, ago del manometro sulla zona verde, e che la macchina raggiunga il giusto equilibrio termico.
Modello SYSTEM LE Fig.8
Macchina con gruppi a funzionamento meccanico e con dosatura fissa, abbassare la leva commando gruppo (5) fino a sentire che la stessa rimane in posizione abbassata, si attende che dal beccuccio incominci a scendere quale goccia di infuso nella tazza, quindi si accompagna la leva nel primo tratto di risalita, lasciandola poi risalire da sola.
Perfare due caffe si devere ripetere una seconda voltaquesta operazione.

Al fine di operare in sicurezza, si raccomanda di non abbassare assolutamente la leva se nel portafiltro agganciato non vi è del caffe


8.USO
Le macchine sono provviste di un piano superiore sul quale le tazze vengono immagazzinate e preriscaldate in attesa dell'utilizzo.
Questo accorgimento è molto importante per conse- guire ottimi caffe, in quanto la tazza preriscaldata evita il rapido raffreddamento del caffe.
8.1. Come si prepara il caffe
- Sganciare il portafiltro dal gruppo erogatore, batterlo capovolto sul cassetto battifondi nella parte periferica al filtrlo per scaricare i fondi (attenzione a non danneggiare il filtrò).
Utilizzare il filtro per 1 o 2 caffe secondo l'occor- renza. - Riempire ilhetto con la dose di caffe macinato, li-vellare e premere leggermente il caffe con il pressino.
- Togliere dal bordo del filtro l'eventuale caffe macinato rimasto durante la pressatura.

Lasciare caffe macinato sul bordo del filtrone non permette la perfetta aderenza della guarznizione al filtrro con seguente perdita di acqua e fondi di caffe.
- Agganciare il portafiltero al gruppo in modo da ottenere una buona tenuta.
- Posizione are tazze nelle beccucci erogatori, avviare l'erogazione con il lavoro 3 o la tastiera 4 secondo il modello (Fig.8).
- Completata l'erogazione di caffe, lasciare il portafiltro inserito nel gruppo fino alla prossima erogazione.

Durante le erogazioni, fare attenzione alle parti calde della macchina in special modo ai gruppi di erogazione caffe, alle lance del vapore e dell'acqua calda. Non mettere assolutamente le mani sotto i gruppi e le lance quando sono in funzione.
Per ottener un buon caffe, è importante che la regolazione della macinatura corrisponda ad una erogazione di caffe compresa fra 25-30 secondi. Se la macinatura è troppo grossa, si ottengono caffe chiari e leggeri con pochissima crema, nelle se la macinatura è troppo fine, si ottengono caffe scuri e alla sua crema. Inoltre è importante che il macinato sia fresco e con grossezza uniforme (ottenibile se il macinadosatore ha le macine efficienti) e la dose sia nella giusta quantità (circa 6 grammi per caffe).
Si consiglia di macinare la quantità di caffe necessaria all'immediato fabbisogno, perché il caffe macinato perde rapidamente le proprie qualità aromatiche e le sostanze grasse contente irrancidisocono.
8.2. Come si prepara il cappuccino (Fig.11) (escluso DE/H TS)

- Preparare una tazza da cappuccino con il caffe espresso.
Utilizzare un recipiente alto e stretto riempito a metà circa di latte; - Mettere il recipiente molto la lancia in modo che lo spruizzatore tocchi il fondo;
Apriere il rubinetto vapore e abbassare il recipiente fino a che lo spruzzatore sfiori la superficie del latte; - A Anything's punto si deve alzare e abbassare in continuazione il recipientente in modo che lo spruzzatore si immerga e fuoriesca dal latte generandone la monta (crema schiumosa).
- Chiudere il rubinetto vapore e versare il latte nella tazza.
! Appena effettuata l'opération, pulire con una spugna o un panno pulito la lancia al fine di evitare l'essicazione del latte sulla lancia stessa. Fare attenzione che la lancia è calda e può uscionare la mano.
8.3. Come si riscalda una bevanda
- Immergere la lancia vapore nel liquido da riscaldare;
- Apire gradualmente il rubinetto vapore 9 o 10 Fig.8; il vapore gorgogliando nel liquido, gli cede calore portandolo fino alla temperatura desiderata.
- Chiudere il rubinetto vapore quando si ritiene di aver raggiunto la temperatura desiderata.
! Appena effettuata l'opération, pulire con una spugna o un panno pulito la lancia. Fare attenzione che la lancia è calda e può ustionare la mano.
Versioni DE/H TS/LE
Utilizzare un recipiente alto e stretto riempito a meta circa (almeno mezzo liters)
- Mettere il recipiente molto la lancia in modo che lo spruizzatore tocchi il fondo.
Attivare il dato di erogazione vapore 10 Fig.8
Al raggiungimento della temperatura programmata si ha l'arresto di erogazione vapore.
Per continuare il riscaldamento a controllo manuale si deve mantenere premuto il tasto vapore.
La fase di riscaldamento programmato può essere interrotta in qualsiasi momento premendo lo stesso tasto di erogazione vapore.
E' importante, al fine di consentire una uniformità di temperatura, pulire bene la lancia di erogazione vapore e il relativo sensore di temperatura montato sul la lancia stessa. La pulizia va effettuata immediamente dopo il riscaldamento usando un panno pulito e leggermente umido.
La temperatura può essere programmata dal tecnico installatore tra 54^ (130^) e 85^ (185^) .
La regolazione è una e si determina per le due lance vapore.
Il tempo massimo di erogazione non deve comunque superare i 5 minuti. L'operazione richieda una particolare attenzione da parte dell'operatore in quanto all'atto della pressione del tasting d'inizio erogazione, il vapore fuorises immediamente a pieno flusso alla lancia.
Non mettere le mani sotto la lancia durante l'erogazione di vapore.
8.4. Come si prepara il the, camomilla, ecc..
- Posizione tanto la lancia di erogazione acqua calda il contentatore, quando attivare il lavoro di erogazione secondo il modello (Fig.8). Raggiunta la quantità desiderata, spegnere l'interruttore.
- Aggiungere il prodotto desiderato.
Modelli S27 e DE
Per questi modelli, l'acqua calda viene erogata in dosi determinate (vedere regolazione dosi acqua calda paragrafo 9.). Per effettuare erogazioni di acqua calda in quantità diversa, agire nel modo seguente:
- Tenere premuto il dato di erogazione 4-E (Fig.8) per almeno quattro secondi poi rilasciare il pulsante; la macchina eroga in continuo acqua.
Raggiunta la dose di acqua richiesta, premere nuovamente il pulsante E per interrompere l'erogazione.
In fase di erogazione acqua calda dosata elettronically, é possible interrompere l'erogazione in corso premendo il pulsante E.
Se l'acqua è addolcita, la bevanda assume in genere una colorazione più scura; qualora si vuole ottenere una colorazione più chiara, procedere al riscaldamento dell'acqua come descririto al punto 8.3 utilizzando acqua fresca prelevata da un rubinetto che eroga ac-qua non addolcita.
9. REGOLAZIONI E TARATURE DOSI
(per imodelli abilitati)
9.1. Modelli S27-MIDI DE-TECNA DESYSTEM DE
Sui modelli a controllo elettronico, è possible intervenire e regolare le dosi di erogazione caffe ed erogazione acqua calda.
9.1.1. Regolazioni dosatura
Sulle macchine S20 le regolazioni delle dosi di caffe e di acqua calda vengono effettuate agenda sulle tastiere gruppi o sui comandi acqua calda.
1 Azionare il tasto E di una pulsantiera qualsiasi e tenere premuto per 8-10 secondi, fino a che cesserà l'erogazione di acqua dal gruppo ed il led relativivo al tasto continuo della prima tastiera di sinistra comincera a lampeggiare.
2 Per l'esatta regolazione della quantità di caffe in tazza, occorre agire come per preparare 1 o 2 caffe.
3 Porre il portafiltero (con il caffe macinato) sotto il gruppo sinistro e la tazza sost o il beccuccio.
4 Azionare il tasting prescelto (esempio: tasting A tazza piccola).
5 Raggiunto il quantitativo desiderato di caffe in tazza, premere il tasto di stop E. Si arresterà l'erogazione e il microprocessor terrà in memoria la dose.
6 Azionare nuovamente il tasto-continuo E, a tal punto si spegnerà il led e la macchina manterrà in memoria la nuova dosatura.
7 Controllare l'esatta programmazione preparando il caffe e verificando la quantità in tazza.
Se si devono variare più dosi (B-C-D) arrivati al punto 5 riprendere le operazioni 3-4-5 per agli dose tenendo presente che deve essere utilizzato il portafiltro con relativo filtrlo con dose di caffe macinato nuovo. Eseguire poi l'operazione 6 e ripetere l'operazione 7 di verifica per tutte le dosi variate.
Se si devono lasciare tutti i gruppi della macchina regolati con le stesse dosi, le operazioni di programmazione caffe sono ultimate.
Se"Ince se desidera variare la dosatura di un'alto gruppo (1-2-3-4 dosi) occorre agire esattamente come indicato ai puniti 1-7 sopra descritti agenda perso solo sulla tastiera del gruppo prescelto.
9.1.2. Regolazione dosi di acqua calda
Agire nel seguente modo:
1 Azionare il tastingo continu E di una pulsantiera qual-siasi e tenere premuto per 8-10 secondi il tastingo fino a che cesserà l'erogazione di acqua calda dal gruppo e il led relativivo al tasting E della prima tastiera di sinistra comincera a lampeggiare. La macchina è pronta ad accettare le variazioni di dosatura.
2 Porre la tazza o il recipiente atto a ricevere l'acqua fatto il becco erogatore acqua.
3 Azionare il tastingo commande erogazione 8.
4 Raggiunta la quantità richiesta premere nuovamente il tasto 8. Si arresta l'erogazione e il microprocessoreiene in memoria la dose.
5 Terminate l'opération di regolazione, premere il tasto E di stop-continuo di una tastiera, il led del tasto si spegne e la macchina ha preso in memoria la nuova dosatura.
6 Verificare l'esatta programmazione prelevando dosi di acqua calda dosata.
ATTENZIONE!
Si piùmantenere ilcommando dell'erogazione della quantità di acqua calda agenda nel modo seguente:
- premere il tastingo dato acqua calda 8 e mantienerlo premuto per almeno 4 secondi, rilasciendo il tastingo la macchina eroga in continuo;
per arrestare manually l'erogazione premere nuovamente il tasto dato acqua 8 al raggiungimento della dose richiesta.
Se si vuole arrestare l'erogazione di acqua calda dosata, premere il tasto lavoro acqua 8.

10. MANUTENZIONE

Le operazioni di manutenzione vanno effettuate a macchina spenta e fredda e con la spina di alimentazione elettrica disinserita. Alcune operazione specifiche richiedono il funzionamento della macchina.
Per la pulizia non utilizzato strumenti metallici o abrasivi tipo pagliette, spazzole metalliche, aghi, ecc..., e detergenti generici (alcohol, solventi o altri).
Dove richiesto,utilizzare detergenti specifici per macchine da caffe acquistabili nei centri di assistenza tecnica specializzati.
10.1. Giornaliera
Utilizzare un panno o una spugna puliti che non lasciano peli o fili (preferire tela o cotone).
- Pulire con cura la carrozzeria con l'accortezza di seguire il senso della satinatura sulle parti in acciaio inox.
- Smontare i portafiltri 1 e i filtri 2, rimuovere le incrostazioni di caffe e sciacquarli in acqua calda onde sciogliere i depositi di grasso.
- Pulire le doccette e le guarnizioni sottocoppa dei gruppi erogatori;
- Pulire le lance vape e acqua calda, controllare che gli ugelli spruzzatori siano liberi da incrostazioni (qualora si dovessero disincrostare fare attenzione a non deformare o danneggiare lo spruzzatore).
- Pulire le docette e le guarnizioni sottocoppa dei gruppi erogatori utilizzato l'apposto spazzolino, fornito in dotazione
- Togliere i portafiltri, alla macchina smontare i filtrie e la molletta che ferma il filtr, con lo spazzolino rimuovere le incrostazioni di caffe e sciacquarli in acqua calda onde sciogliere i depositi di grasso.

10.2. Settimanale

Operazione da effettuare con la macchina operativa in pressione.
- Montare nel portafiltro il filtro cieco in dotazione alla macchina, mettere un cucchiaio di polvere detergente per macchine da caffe quindi montare il portafiltro nel gruppo da pulire.
- Azionare il lavoro di erogazione caffe del gruppo per circa 30 secondi.
- Arrestare e attivare l'erogazione più volte fino a che si vu'dra scendere acqua pulita dal tubetto di scarico gruppo.
- Smontare il portafiltro, togliere il filtro cieco e insere un filtrono normale, rimontare il portafiltro sul gruppo e azionare più volte l'erogazione per effettuire il risciacquo.
- Fare un caffe per eliminare sapori sgradevoli.
Modello S24

Operazione da effettuare a macchina spenta e fredda e con la linea di rete disinserita.
- Togliere il coperchio del serbatoio acqua;
- Sfilare la trappola d'aria 24 e l'addolcitore 22 Fig.9;
- Estrarre il serbatoio, svuotarlo e pulirlo;
Risciacquare abbondamente il serbatoio e reinserirlo nella macchina; - Posizione are la trappola d'aria nell'apposita guidare l'addolcitore sul fondo serbatoio in posizione orizzontale;
Riempire il serbatoio con acqua pulita e infine chi-dere con il coperchio.

Se la trappola aria è fuori posizione la macchina cui non riscaldare e non segnalare correttamente la eventuale mancanza d'acqua nel serbatoio.
Modelli S24-S26-MIDI CD

Operazione da effettuare subito dopo lo spegnimento della macchina, quando è ancona in pressione.
- Azionare il dato di erogazione acqua calda 6 e lasciare defluire completenessl'acqua;
- Chiudere il dato e procedere al riempimento come descritto al paragrafo 7.3.
Modelli SYSTEM CD - LE

Operazione da effettuare a macchina in pressione.
- Scaricare l'acqua alla caldaia (quattro litri circa) azionando l'interruttore di erogazione acqua calda 7.
Per il riutilizzo, attendere il riequilibrio termico della macchina.
Modelli S27 - MIDI DE - SYSTEM DE

Operazione da effettuare con la macchina operativa in pressione.
Preparare un recipiente capace di contener almeno due litri di acqua (quattro litri per modelli System) e posizionarlo fatto la lancia di erogazione acqua calda.
- Tenere premuto per almeno quattro secondi il pulsante di avvio erogazione 8, rilasciendo il pulsante l'erogazione continua;
Raggiunti i due litri di acqua prelevata (quattro litri per i modelli System), premere di nuovo il pulsante per arrestare l'erogazione.
Per riutilizzare la macchina, bisogna attendere che si ristabilisca il giusto equilibrio termico.
Pulizia filtri e doccette (tutte le versioni)

Operazione da effettuare con la macchina spenta e fredda.
- Prepare una soluzione composta da 4 bustine di detergente in polvere Cod.69000124 sciolte in un litro d'acqua boliente in un recipientie di acciaio inox, plastica o vetro, CHE NON SIA DI ALLUMINI O DI FERRO.
- Togliere i filtri e immergerli con i portafiltri nella so-luzione preparata lasciandoli per almeno minuti 20 - 30 (meglio una notte).
- Dopodiche toglierli dal recipiente e sciacquari ab-bondantamente in acqua corrente.
- Togliere le griglie di appoggio tazze 1 (Fig.13), sfilare la sottostante bacinella dell'acqua di scarico e provvedere alla loro pulizia.

Fig. 13
- Controllare e pulireanche la vaschetta di scarico 1 (Fig.13)togliendo gli eventuali residui dei fondi utilizzando un cucchiaino.
10.3. Manutenzioni periodiche
Modelli TECNA CD - TECNA DE
Per questi modelli è sufficiente sostituire l'acqua della caldaia saltuariamente in quanto l'economizzatore non usa l'acqua della caldaia per la produzione di acqua calda.


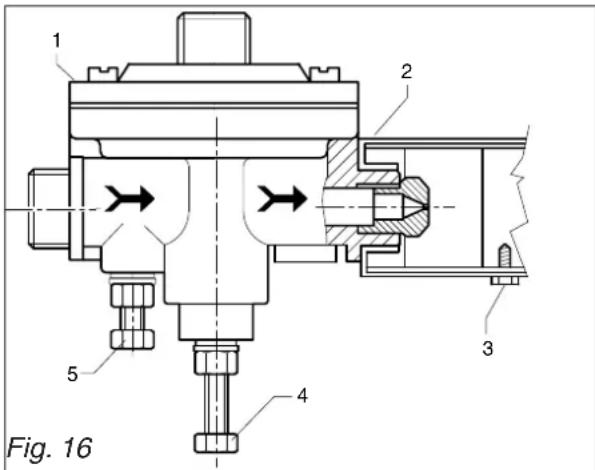
10.3.1. Sostituzione acqua in caldaia Mod.MIDI-TECNA
La sostituzione va effettuata dal servizio technique di assistenza.
- Spagnere la macchina ed attendere che non ci sia pressione all'interno della caldaia (manometro con indice a "0");
- Tenere fermo con una chiave il raccordo 2 (Fig.14) posto sopra la vaschetta scarico e contemporaneamente allentare, massimo di tre giri, la vite ad esagono incassato 3.
- Lasciare defluire completamente l'acqua, quando serrare la vite 3.
- Procedure ad effettuare un nuovo riempimento della caldaia (paragrafo 7.3.).
10.3.2. Rigenerazione
Modello S24

Operazione da effettuare a macchina spenta e fredda e con la spina di alimentazione elettrica disinserita.
Da effettuare dopo il consumo di circa 15 litri di acqua (durezza media considerata 35 gradi francesi) o almeno una volta alla settimana.
- Prepare la salamoia in un bicchiere d'acqua con l'aggiunta di tre cucchiaini di sale fino (il sale deve essere ben scolto nell'acqua)
- Procedere allo svuotamento del serbatoio vedere paragrafo 10.2.
- Sfilare l'addolcitore 1 Fig.15 dal tubo in gomma 2 e capovolgerlo.

- Versare la salamoia sopra il filteringlasciandola defluire liberamenteattraverso le resine.
- Attendere circa cinque minuti, poi porre l'addolcitore sostit il rubinetto dell'acqua corrente per risciacquare. Quando I'acqua che esce dall'addolcitore non e piu salata, la rigenerazione e terminata e I'addolcitore è pronto per I'uso.
- Collegare l'addolcitore al tubo e sistemarlo sul fondo del serbatoio in posizione orizzontale.
- Dopo la rigenerazione, occorre rimettere in funzione la macchina seguito le operazioni descripte al paragrafo 7.3.
Addolcitore DP2 - DP4
Rigenerare l'addolcitore alle scadenze previste facendo riferimento alla tabella riportata:
DP2
nr.1 rigenerazione al mese per 500 caffe/giorno; nr.2 rigenerazioni al mese (1 anni 15 giorni) per 1000 caffe/giorno.
DP4
nr.1 rigenerazione al mese per 1000 caffe/giorno; nr.2 rigenerazioni al mese (1 ogni 15 giorni) per 2000 caffe/giorno.
La presente tabella é stata stilata in riferimento al l'acqua con durezza di 25 gradi francesi.
Per le modalità d'uso, vindere la documentazione annessa all'addolcitre.
11. VERSIONE MACCHINA CON RISCALDAMENTO SUPPLEMENTARE A GAS

ATTENZIONE: L'installazione della macchina e tutte le eventuali operazioni di regolazione o adattamento al tipo di gas devono essere effettuate da personale professionalmente qualificato.
La macchina esce alla ditta predisposta per essere alimentata con gas liquido (GPL), pertanto sul regolatore gas (1) è applicato il relativivo iniettre indicato nella tabella sottostante:
| Modello | Portata termica nominale | GPL G30 - 29 mbar | Gas naturale G20 - 20 mbar |
| 2-3 Gr. | 2,5 KW (2150 Kcal/h.) | 75 102 |
Il regolatore della presa aria primaria (2) è fissato con la tacco di riferimento indicata con "GPL" in corrispondenza della vite di fissaggio (3).
La regolazione della fiamma (minimo e massimo) è relativata a tale tipo di gas.
Dovendo alimentare la macchina con un diverso tipo di gas, occorre provvedere alla sostituzione dell'inietto come rilevato dalla tabella e ruotare il regolatore dell'aria primaria (2) che, nel caso di gas naturale, deve essere posizionato con la tacco di riferimento indicata con "N" in corrispondenza della vite di fissaggio (3).
Per fare ciò occorre naturalmente allentare la vite di fissaggio (3) e quando riavvitaria più aver effettuato la rotazione del regolatore aria primaria (2).
Il collegamento alla rete del gas, dal rubinetto di escludione del gas, appositamente predisisto nel locale, al rubinetto valvolato installato sulla macchina, deve essere effettuato nel rispetto delle norme vigenti utilizzando tubo flessibile o tubo rigido in rame ricotto.
Nel primo caso si applica l'apposto portagomma che viene fissato a tenuta sul rubinetto valvolato mediante I'ogiva biconica e relativo dato di fissaggio in dotazione.
Nel secondo caso il tubo di rame ricotto cui è essere collegato, sempre con apposite ogive biconiche e relativi dadi, direttamente al rubinetto valvolato.
Una volta che è stato eseguito il collegamento della macchina alla rete del gas, e dopo aver provveduto al caricamento dell'acqua in caldaia secondo le istruzioni del libretto "USO E MANUTENZIONE", si può procedere all'accensione del bruciatore agenda come segue:
- Apriere il rubinetto di esclusione del gas.
-
Premere la manopola del rubinetto valvolato, ruotarla di 90^ in senso antiorario e mantenerla premuta, contemporaneamente agire premendo una o più volte sul pulsante dell'accensione piezoelettrico (identificato da una scintilla stilizzata) fino a che il bruciatore si accende.
-
Attendere circa 20 secondi, quando rilasciare la manopola del rubinetto valvolato ed il bruciatore rimarrà acceso (la fiamma è visibile dal foro appositamente realizazo sul pannelloosto dietro ai gruppo erogatori).
NOTA:
In caso di mancata accensione non insistere e rilasciare la manopola del rubinetto valvolato, quindi verificare che la scintilla di accensione sul bruciatore sa regolare e lunga circa 5mm
Nel caso la fiamma si spenga al rilascio della manopola verificare la posizione della termocoppia ed il circuitto collegato alla stessa.
La fiamma deve essere di un colore azzurro brillante, diversamente agire minimamente sul regolatore della presa d'aria primaria (2) fino a raggiungere quello risultato.
Attendere che la macchina raggiunga la pressione di taratura e che esta sa al valore voluto, diversamente agar sul regolatore pressostatico del gas che è munito di due viti per le regolazioni.
Quella più sporgente (4) serve per la regolazione della pressione di esercizio della caldaia, nelle l'altra (5) serve per la regolazione del minimo.
A macchina in pressione verificare la regolazione del minimo agenda sulla vite (4);upon aver allentato il relativo controdado, svitarla fino a sentirla libera (condotto principale del gas chiuso) e verificare che in queste condizioni rimanga accesa una fiamma Bassa, con la funzione di pilota.
Se la fiamma è troppo alta occorre agire sulla vite (5) ruotandola leggermente in senso orario, dopo aver naturamente allentato il relative controdo; viceversa se la fiamma tende a spegnersi occorre agire sulla vite (5) ruotandola in senso antiorario fino ad ottenere una fiamma molto Bassa ma sicura.
Raggiunta la giusta regolazione della fiamma del mininno mantenere ferma la vite relativa e bloccare il controdo della stessa.
Agire quindi sulla vite (4) ruotandola in senso orario fino ad ave una fiamma alta ed attendere che la caldaia raggiunga la pressione di esercizio stabilita; se la fiamma si abbassa prima di aver raggiunto la pressione richiesta avvitare ulteriormente la vite (4), se si abbassa ad una pressione più alta occorre svitarla.
Verificare una o due volte il funzionamento agenda sul rubinetto vapore per scaricare la pressione in caldaia, quando provvedere a bloccare il controdo mantenendo ferma la vite (4).

12. MESSA FUORI SERVIZIO
A - Temporanea
- Effettuare le operazione di pulizia e manutenzione.
- Avvolgere il cavo elettrico e fissarlo alla macchina con nastro adesivo.
- Coprire la macchina e riporla in un ambiente asciutto, al riparo da intemperie e di esclusivo accesso (evitare di lasciarla alla portata di minori o incapaciti).

Per le operazioni di sconnessione delle reti di alimentazione, affidavit a personale quali. ficato.
B - Definitiva
- Oltre alle operazioni della messa fuori servizio temporanea, provvedere a tagliare il cavo di alimentazione, imballare la macchina con cartone, polistirolo o altri e consegnarla al personale preposto (smaltimento rifiuti autorizzato o ritiro usato).
13. INCONVENIENTI E RIMEDI

Operazioni di controllo eseguibili dall'utilizzatore da effettuare a spina staccata.
Per anni altri tipo di anomalia o inconvenientmente non specificato, staccare la spina di corrente, astenersi da interventi diretti di riparazione o verifica e rivolgersi al servizio technique di assistenza qualificato.
A) Non si accende la macchina:
- Controllare se è insertita la spina;
- Controllare che ci sua corrente in rete e il salvavita o l'interruttore generale sua inserito;
- Controllare le condizioni della spina e del cavo di alimentazione, se sono danneggiati farli sostituire da personale qualificato.
B) Presenza di acqua sotto la macchina:
- Controllare che lo scarico della vaschetta non sia ostruito.
C) Erogazione lenta:
- Controllare le condizioni di pulizia di filtri e doccette;
- Verificare se il caffe macinato è troppo fine.
D) Erogazione vapore irregularare:
- Controllare gli ugelli della lancia che non siano ostruiti.
ITALIANO 5-26
F FRANCAIS 27-48
D DEUTsCH 49-70
GB ENGLISH 71-92
E ESPANOL 93-114
SCHEMI ELETTRICI
SCHEMAS ELECTRIQUES 115-123
SCHALTPLANE
WIRING DIAGRAMS
ESQUEMAS ELECTRICOS

CV = Contatore volumetrico
EA = Elettrovalvola acqua
EC = Elettrovalva carico
ED = Elettr.acqua dosata
EE = Elettr.economizzatore
EG = Elettrovalvola gruppo
EV = Elettrovalvola vapore
IA = Interruttore acqua
IC = Interru tture caffe
IE =Interr.economizzatore
IG = Interrupttore generale
L1 = Arancio - carico acqua autolivello
L2 = verde - acqua a livello
LS = Spia interr. generale
MO =Morsettiera
MP = Motore pompa
P = Pressostato
PA = Pulsante acqua
PE = Pulsante economizz.
PL = Pressostato livello
PU = Pulsantiera
R =Resistenza caldaia
RP = Relè pompa
S = Spia resistenza
SA = Spia mancanza acqua
SL = Sonda livello
SR = Salvaresistenza
T = Terra
TM = Termostato
B = Blu
BB = Biancoblu
BG = Biancogiallo
BI = Bianco
BN = Bianconero
BR = Biancorosso
G = Giallo
GV = Gialloverde
M = Marrone
N = Nero
R = Rosso
V =Verde
I Proprietà riservata.
E' Vietata la riproduzione totale o parziale del presente manuale perché l'autorizzazione scritta della RANCILIO S.P.A..
La ditta RANCILIO si riserva il diritto di apportare in agli momento le modifiche che ritterr a necessarie.
ManualeFacile