S20 - Smartphone Bea-fon - Kostenlose Bedienungsanleitung
Finden Sie kostenlos die Bedienungsanleitung des Geräts S20 Bea-fon als PDF.
Benutzerfragen zu S20 Bea-fon
0 Frage zu diesem Gerät. Beantworten Sie die, die Sie kennen, oder stellen Sie Ihre eigene.
Eine neue Frage zu diesem Gerät stellen
Laden Sie die Anleitung für Ihr Smartphone kostenlos im PDF-Format! Finden Sie Ihr Handbuch S20 - Bea-fon und nehmen Sie Ihr elektronisches Gerät wieder in die Hand. Auf dieser Seite sind alle Dokumente veröffentlicht, die für die Verwendung Ihres Geräts notwendig sind. S20 von der Marke Bea-fon.
BEDIENUNGSANLEITUNG S20 Bea-fon
Gebrauch und Instandhaltung
Use and maintenance
Uso y manutencion
S20
Macchina per caffe
Machine a caffe
Kaffeemaschinen
Coffee machine
Máquina para caffe

S24-S26-S27
MIDI
TECNA
SYSTEM
SYSTEM/LE

RANCILIO
machine per caffe

Gentile cliente,
Sehr geehrte Kundin/sehr geehrter Kunde,
Zuerst möchten wir Innen für das uns entgegengebrachte Vertrauen danken.
Wir hoffen, dass das von Ihnen gekaufte Produkt ihren Erwartungen in jeder Hinsicht entsprechen wird-wie übrigens auch all unsere anderen Erzeugnisse. Das Produkt das Sie in Gebrauch nehmen werden, ist das Resultat von sorgfälligen von RANCILIO Untersuchungen und Tests, um Ihnen in Bezug auf Funktionalität, Sicherheit, Leitungsfähigkeit sowie Design ein Produkt anbieten zu konnen, das das Beste auf Markt befindliche ist. Das Buchlein mit den Anwiesungen für eine korrekte Bedienung und Wartung der Maschine wird Ihnen behilflich sein, das Beste aus Ihnem Gerät zu machen. Wir hoffen, dass unsere Erklärungen verständlich sind und dass Sie auch in Zukunft zu unseren Kunden zahlen halten.
Mit freundlichen Grussen.

Dear Customer,
auf das sich diese Erklärung bezieht, Entsprechend der Vorschriften der spezifischen Richtlinien.
In Übereinstimmung mit den folgenden Normen:
Descrizione attrezzatura a pressione-Description de l'appareillage sous pression-Beschreibung der unter Druck stehenden Geräte
Die mit einem Hebel versehenen Maschinen verfügen nicht über einen Austauscher.- The machines with lever are not fitted with exchanger
9. REGLAGES ET CALIBRAGES DOSES
Die mit diesen Symbol gekennzeichneten Arbeitsgänge sind ausschließlich dem Installationstechniker vorbehalten

Die mit thisem Symbol gekennzeichneten Arbeitsgänge sind durch den Anwender auszufahren.
D DEUTSCH
INHALTSVERZEICHNIS
Maschinenidentifizierung 50
-
Allgemeine Anweisungen 51
-
Beschreibung der Maschinen 51
2.1.Eigenschaften 52
2.2.Maschinenzubehor 55
2.3.Mechanische Schutzvorrichtunger.....55
2.4.Elektrische Sicherheiten 55
2.5.Gerauschpegel 55
2.6.Vibrationen 55
- Technische Daten 56
3.1.AußenmaBe und Gewicht 56
- Gebrauch 57
4.1. Unzweckmäßiger Gebrauch 57
- Transport 57
5.1.Verpackung 57
5.2. Kontrolle am Maschinenempfang 57
- Installation 58
6.1. Anschlisse, die durch den Kunden vorgesehen werden müssen 58
6.1.1.Wasser- und GasanschluB 58
6.1.2.Elektrischer AnschluB 59
6.2.Vorbereitungsarbeiten 59
6.3. Positionierung 59
- Inbetriebnahme 60
7.1.Bedienung 60
7.2.Kontrollinstrumente 61
7.3.Inbetriebnahme der Maschinen 62
- Gebrauch 63
8.1.Zubereitung von Kaffee 63
8.2.Zubereitung von Cappuccino 64
8.3.Zubereitung von warmen Getränken....64
8.4. Zubereitung von Tee, Kamillentee, usw..64
- Einstellungen und Abmessen der Dosiereinheite 65
9.1..Fur die Modelle S27-MIDI DETECNA DE-SYSTEM DE-SYSTEM LE.....65
9.1.1.Dosiereinstellung 65
9.1.2. Einstellung der Wasser-Menge 65
10.Wartung 66
10.1. Tägliche Wartung 66
10.2.Wochentliche Wartung 66
10.3.Periodische Wartung 67
10.3.1. Wasseraustausch bei MIDI-TECNA...67
0.3.2.Regenerierung 68
- Version des Automaten mit Zusatzlicher Gashezung 69
- Ausser Betrieb setzen 70
- Störungen und Abhilfe 70
BEZEICHNUNG: KAFFEEMASCHINEN SERIES S20
MODELLE: S24 - S26 - S27 - MIDI - TECNA - SYSTEM - SYSTEM/LE
VERSIONEN: S24 - S26 - S27
MIDI/DE-MIDI/CD
TECNA/DE-TECNA/CD
SYSTEM 2/DE - SYSTEM 2/CD - SYSTEM 3/DE - SYSTEM 3/CD
SYSTEM 2/DE H - SYSTEM 2/CD H - SYSTEM 3/DE H
SYSTEM 3/CD H - SYSTEM 2/DE HTS - SYSTEM 3/DE HTS
Das Schild auf der EG-Konformitätserklung dieser Bedienungsanleitung entspricht dem Datenschild auf der Maschine Abb. 2.
Schema des Datenschildes:

Fig. 1
1 Hersteller
2 Modell und Version
3 Spannung
4 CE Konformitätswarenzeichen (wo verlangt)
5 Seriennummer
6 Kesseldaten
7 Gesamtabsorption der Maschine
8 Schutzgrad
9 Motorleistung
10 Heizkörperleistung
11 Elektrischefrequenz
12 Konformitätszeichen
13 Herstellungsjahr



Fig. 2
Zeichen

Warnzeichen. Um Personen- oder Maschinenschäden zu verhindern, die Hinweise, auf die sich these Zeichen beziehen, unbedingt beachten.
Dieses Heft ist ein wesentlicher Bestandteil der Maschine und muß dem Benutzer ausgehängt werden. Die darin enthaltenen Anweisungen sind kein zu beachten, da sie für die Sicherheit bei der Installation, beim Gebrauch und der Instandhaltung der Maschine von außerster Wichtigkeit sind. Es wird empfohlen,这点 heft zum weiteren Nachschlagen sorgfältig aufzubewahren.
1.ALLGEMEINE ANWEISUNGEN
Die Verpackungselemente (Plastiksacke, Schaumpolystyrol, Nagel, Kartons, usw.) dürfen Kindern nicht zugänglich gemacht werden, da sie eine potentielle Gefahr darstellen.
- Vor Anschluß der Maschine sich davon überzeugen, daß die auf dem Schild angegebenen Daten mit jenen des am Installationsort vorhandenen Versorgungsnetzes übereinstimmen.
Vom Einsatz von Adaptern, Vielfachsteckdosen und/oder Verlängerungskabeln wird abgeraten.
- Im Zweifelsfall die elektrische Anlage von einem Fachmann überprüfen lassen, welche den nachfolgend aufgeführten Sicherheitsvorschriften entsprechen muß:
- Sicherheitserdung;
- einen für den Leistungsbedarf angemessenen Kabeldurchmesser;
- Leitungsschutzschalter.
Die Maschine auf einer wasserabweisenden Oberfläche (Laminat, Stahl, Keramik),weit weg von Wärmequellen (Öfen, Herd, Kamin, usw.) und an einem Ort, an dem die Umgebungstemperatur nicht unter 5^ abfallen kann, installmenten. DIE MASCHINE IST FROSTEMPFINDLICH.
Die Maschine nicht Witterungseinflüssen aussetzen und in feuchten Räumen wie Badezimmer installieren.
Die Gitter zur Ansaugung und Verteilung nicht verstopfen und die Oberfläche zur Erwärung der Kaffeetassen nicht mit Tüchern oder Anderem abdecken.
Die verpackte Maschine muß an einem geschützten und trockenen Ort gelagert werden und die Umgebungstemperatur darf nicht unter +5^ fallen. Es sollenn nicht mehr als drei verpackte Maschinen desselben Typs aufeinander gestellt werden und keine anderen schweren Kisten auf den Kartons gelagert werden.
- Im Notfall, wenn die Maschine Feuer fangen sollte, merkwürdige Gerausche von sich gibt oder sich überhitzen sollte, sondern den Netzsteckerziehen und Gas- und Wasserzufuhr abdrehen.
Zum Austausch von defekten Teilen nur vom Hersteller genehmigte Ersatzteile verwenden. Dies gewährleistet Funktionstüchtigkeit ohne Störungen.

Eine nicht fachgerechte Installation kann zu Personen- und Sachschäden führen, für die der Hersteller nicht verantwortlich gemacht werden kann.
2. BESCHREIBUNG DER MASCHINEN
Die Maschinen der Serie S20 wurden eigens zur Vorbereitung von Espresso-Kaffee und warmen Getränen entwickelt.
Das Funktionsprinzip, welches bei allen Maschinen gleich ist, besteht aus einer Verdrängerpumpe im Inneren der Maschine, die den Heizkessel, in dem das Wasser erwartt wird, versorgt. Wenn die jeweiligen Drucktasten betätigten werden, wird das Wasser je nach Wunsch in Form von Wasser oder Dampf zu den Ausgabedesgen gespumpt.
Bei den Modellen mit Economiser wird das Wasser direkt aus der Leitung entnommen, von der Pumpe unter Druck gesetzt und durch den Dampf, welcher vom Heizkessel erzeugt wird sogleich erwartmt.
Das Modell S24 ist mit einem eigenen internen Wasserbehälter ausgestattet und muß demnach nicht an die Wasserleitung angeschlossen werden. Im Wasserbehälter befindet sich der Wasserenthärter, der das Wasser durch Herausfiltern der enthaltenen Kalzium-Salze enthärten soll.
Die Maschine besteht aus einerzentralen Einheit aus Stahl, an der die mechanischen und elektrischen Bestandteile befestigt werden. Die Struktur ist komplett von Verkleidungen aus lackiertem Aluminium und rosfreiem Stahl umhullt.
Auf der Vorderseite der Maschine, von wo aus die Maschine bedient wird, befinden sich die Bedienungstasten, die Kontrollvorrichtungen und die Ausgabedüssen.
Über der Maschine befindet sich eine Ablage, die zum Erwärmen der Kaffeetassen dient.
2.1. Eigenschaften und Zusammensetzung der Maschinen

mod.S24

mod. S26

mod.S27

mod. MIDI CD

mod.MIDI DE

mod. TECNA CD

mod. TECNA DE
Fig. 3
| A | B | C | D | E | F | |
| * S24 | ok - 1 1 | 1 - | ||||
| S26 | ok - 1 1 | 1 - | ||||
| S27 | - | ok | 1 | 1 | 1 | - |
| MIDI CD | ok - | 2 | 1 | 1 - | ||
| MIDI DE | - | ok | 2 | 1 | 1 | - |
| TECNA CD | ok | - | 2 | 1 | 1 | ok |
| TECNA DE | - | ok | 2 | 2 | 1 | ok |
| ** SYSTEM 2/DC SYSTEM 2/DC H | ok - | 2 2 | 1 - | |||
| ** SYSTEM 2/DE SYSTEM 2/DE H SYSTEM 2/DE HTS | - | ok | 2 | 2 | 1 | - |
| ** SYSTEM 3/CD SYSTEM 3/CD H | ok - | 3 2 | 1 - | |||
| ** SYSTEM 3/DE SYSTEM 3/DE H SYSTEM 3/DE HTS | - | ok | 3 | 2 | 1 | - |
| *** SYSTEM/LE 1 | ok | - | 1 | 1 | 1 | - |
| SYSTEM/LE 2 | ok | - | 2 | 2 | 1 | - |
| SYSTEM/LE 3 | ok | - | 3 | 2 | 1 | - |
Legendeder Symbole:
A Halbautomatischer Betrieb; Ein- und Ausschalten der manuellen Brührung.
B Automatischer Betrieb; elektronische Kontrolle der Ausgabemenge von Kaffee und Wasser.
C Anzahl der Bruhgruppen fur Kaffee.
D Anzahl der Dampfauslauflanzen.
E Anzahl der HeiBwasserauslauflanzen.
F Betrieb mit Ekonomiser.
- eingebauter Wasserbehälter und -enthärter (ein Wasseranschluß ist nicht notwendig).
** Auf Anfrage mit Gasheizung.
*** Hebelbetrieb
1 Dampfahn
2 Dampfauslauflanze
3 Schalter zur HeiBwasserausgabe
4 HeiBwasserlanze
5 Bruhgruppe Kaffee
6 Schalter zur Kaffeeausgabe
7 Druckknopf zur manuellen Wasserzufuhr (nur für Modell SYSTEM)
8 Wasserstandanzeiger (nur für Modell SYSTEM)
9 Manometer
10Hauptschalter und Kontrollampe für eingeschalteten Schalter
11Gasanzünder (für die vorgesehenen Modelle)
12 Gashahn mit Ventil (für die vorgesehenen Modelle)
13Dampfrucktaste (nur fur Modell DE/H TS)
14 Wasserbehälter (nur für Modell 24)
15 Grüne Kontrollampe für Wasserniveau
16Orange Kontrollampe fur Wasserzufuhr
17 Meldeleuche-Kein Wasser im Tankbehälter (nur S24)
18 Anzeigeleuche-Einschaltung d.Heizwiderstands (nur S26)
19Gruppenbetaetigungshebel (nur SYSTEM LE)












Fig. 4
2.2.Maschinenzubehör
| 2.2. Maschinenzubehör | |||||||
| S24 | S26 | S27 | MIDI CD TECHNACD SYSTEM 2/CD* - CD H SYSTEM/LE 1 - LE 2 | MIDI CD TECHNACD SYSTEM 2/DE* - DE HHTS | SYSTEM 3/CD* - CD H | SYSTEM 3/DE* - DE HHTS SYSTEM/LE 3 | |
| Filterträger 1 dosis | 1 | 1 | 1 | 1 | 1 | 1 | |
| Filterträger 2 dosis | 1 | 1 | 1 | 2 | 2 | 3 | 3 |
| Filter | 2 | 2 | 2 | 3 | 3 | 4 | 4 |
| Blindfilter | 1 | 1 | 1 | 1 | 1 | 1 | 1 |
| Zuflußrohr 1 Meter | - | 1 | 1 | 1 | 1 | 1 | 1 |
| Zuflußrohr 1,5 Meter | - | 1 | 1 | 1 | 1 | 1 | 1 |
| Abflußrohr 1,5 Meter | - | 1 | 1 | 1 | 1 | 1 | 1 |
| Verbindungsstücke | - | 1 | 1 | 1 | 1 | 1 | 1 |
| Schmelzsicherungen | - | - | 3 | - | 3 | - | 6 |
| Dos.und Andrücker | 1 | 1 | 1 | 1 | 1 | 1 | 1 |
| Gebrauchsanweisung | 1 | 1 | 2 | 1 | 2 | 1 | 2 |
| Burste | 1 | 1 | 1 | 1 | 1 | 1 | 1 |
| Elek.Schaltplan | 1 | 1 | 1 | 1 | 1 | 1 | 1 |
| ** Erhöhung Tassen | - | - | - | 2 | 2 | 3 | 3 |
| *** Erhöhung Fußbe | - | - | - | - | 4 | - | 4 |
- Modelle mit Zusammenstellung für Gasanschluss (falls verwendet).
Nur für die Modelle H und DE/H TS
*Nur für die Modelle DE/H TS
2.3. Mechanische Schutzvorrichtungen
Die Maschinen sind mit folgenden Schutzvorrichtungen ausgestattet:
Die Teile der Maschine, die heiB werden konnen und der Dampf- und HeiBwassererzeuger sind von einer Schutzverkleidung umgeben;
Die Ablage zur Erwärung der Kaffeetassen ist mit einer Auffangwanne für vergossene Flüssigkeiten ausgestattet;
Die Arbeitsfläche hat ein Gitter mit einem darunterliegenden Behälter zum Auffangen der Flüssigkeiten;
Die Drucktasten zur Bedienung der Maschine befinden sich über dem Ausgabebereich in einer sicheren Lage;
- Überlaufventil auf der hydraulischen Anlage und Überdruckventil auf dem Heizkessel gegen einen eventuellen Überdruck;
Ruckschlagventil auf der hydraulischen Anlage um eine eventuellen Rückführung in das Zufahrnetz zu vermeiden.
2.4. Elektrische Sicherheden
Die Maschinen sind mit folgenden elektrischeb Schutzvorrichtungen ausgestellt:
Die Drucktasten der Tastatur DE Funktionieren mit Niederspannung 5 Volt;
- Überhitzungsschutz für den Motor der Pumpe;
Thermoelement zur Kontrolle bei Gasmangel, Thermostat zur Kontrolle des Thermoelements, der die Gaszufuhr automatisch stoppt;
Schutzschalter fur die Widerstände.
2.5. Gerauschpegel
Während dem Betrieb der Maschine wird normalerweise der Gerauschpegel von 70dB(A) nicht übersritten.
2.6. Vibrationen
Die Maschinen sind auf der Unterseite mit schwingungsdämpfenden Gummifüben ausgerüstet. Bei normalen Arbeitsbedingungen erzeugen die Maschinen keine schädlichen Vibrationen für Bediener und Umwelt.
3. TECHNISCHE DATEN
3.1. Außenmaße und Gewicht




Fig. 5
| S24 | S26 | S27 | MIDI CD-DE SYSTEM/LE1 | TECNA CD-DE | SYSTEM 2 CD-DE-H-HTS SYSTEM/LE 2 | SYSTEM 3 CD-DE-H-HTS SYSTEM/LE 3 | |
| A mm | 380 | 380 | 380 | 540 | 660 | 780 | 900 |
| B mm | 320 | 320 | 320 | 480* | 600* | 720* | 840* |
| C mm | 515 | 515 | 515 | 515 | 515 | 515 | 515 |
| D mm | 430* | 430* | 430* | 430* | 430* | 430* | 430* |
| H mm | 465 | 465 | 465 | 465 | 465 | 465 | 465 |
| Kesselkapazität lt. | 3,9 | 3,9 | 3,9 | 4,9 | 4,9 | 11 | 12 |
| Wasserbehälter lt | 2 | - | - | - | - | - | - |
| Gewicht Maschine kg | 31 | 38 | 38 | 50 | 53 | 63 | 76 |
| Wassereingang | - | 3/8 | 3/8 | 3/8 | 3/8 | 3/8 | 3/8 |
| Abflüß Ømm | - | 14 | 14 | 14 | 14 | 14 | 14 |
| Verpackung | |||||||
| Paket nr. | 1 | 1 | 1 | 1 | 1 | 1 | 1 |
| Volumen m³ | 0,18 | 0,18 | 0,18 | 0,24 | 0,28 | 0,33 | 0,37 |
| Breite mm | 495 | 495 | 495 | 660 | 780 | 900 | 1020 |
| Tiefe mm | 670 | 670 | 670 | 670 | 670 | 670 | 670 |
| Höhe mm | 575 | 575 | 575 | 700 | 700 | 700 | 700 |
| Bruttogewicht kg | 35 | 42 | 42 | 54 | 60 | 72 | 86 |
- Dieses Maß kann verkleinert werden.

Zum Anschluß der Maschine die Angaben des Datenschildes auf der Maschine beachten Abb. 1.
Bei den Maschinen, die über einen Gasanschlussverfügten, wird bereits ein Set Standard-Verbindungsstücke mitgeliefert, in denen folgende Anschüsse möglich sind:
- mit einem direkten unbiegsamen Rohr;
- mit einem zweikegeligen Kupferrohr;
- mit einem Gummischlauch.

Der Gasanschluß muß gemäß den am Installationssort gültigen Sicherheitsvorschriften ausgeführten werden.
4. GEBRAUCH
Die Maschinen sind eigens zur Vorbereitung von Espresso-Kaffee und warmen Getränen (Tee, Capuccino, usw..) entwickelt und hergestellt worden. Jeder andere Einsatz ist ungeeignet und demnach gefährlich.

Der Hersteller übernimmt fur eventuelle Schaden, die durch ungeeigneten, falschen oder unvernüftigen Gebrauch hervorgerufen worden sind, keinerlei Verantwortung.
Der Benutzer sollte für den Gebrauch und die Wartung immer den Anweisungen dieser Gebrauchsanweisung folgen. Bei Zweifeln oder Störungen, die Maschine+Asoft ausschalten, nicht versuchen den Schaden selbst zu behehen und sich direkt an ausgebildedes Fachpersonal wenden.
Der Benutzer scarf nicht:
die Ausgabefilter und andere bereits Stellen mit den Händen anfassen;
Flüssigkeitsbehalter auf die Maschine stellen;
die Hande während des Gebrauchs unter die Ausgabe filter halten;
die Maschine mit eingestöpseltem Netzstecker reparieren oder transportieren;
die Maschine mit einem direkten Wasser- oder Druckstrahl reinigen;
die Maschine ganz oder teilweise ins Wasser tauchen;
die Maschine Wärmequellen aussetzen;
die Maschine betätigen, wenn das Speisekabel defect ist;
- die Maschine mit nassen oder feuchten Händen oder Fußen berühren;
die Maschine in Anwesenheit von Kindern betätigten;
Kindern oder unbefähigten Personen den Gebrauch der Maschine erlauben;
- die Gitter zur Ansaugung oder Verteilung der Wärme mit Tüchern oder anderen verstopfen;
die Turen zur Versorgung der Maschine geöffnet lessen;
die Maschine verwenden, wenn sie na oder sehr feucht ist.
4.1. Unzweckmäßiger Gebrauch
Die Maschinearfur den Gebrauch eingesetzt werden, fur den sie ausdrucklich entworfen worden ist. In den Filterträger nur gemahlenen Kaffee fullen, da dieser sonst beschädigt werden konnte.

Der Hersteller übernimmt fur eventuelle Schaden, die durch ungeeigneten, falschen oder unvernünftigen Gebrauch durch nicht informierte Bediener hervorgerufen worden sind, keinerlei Verantwortung.
5. TRANSPORT
5.1.Verpackung
Die Maschine wird in einer einzigen Verpackung aus robustem Karton geleifert.
Auf der Verpackung befinden sich die üblichen Symbole, die während des Transports und der Lagerung des Kartons beachtet werden müssen.
Während des Transports den Karton immer in vertikaler Position belassen, nicht umkehren oder auf die Seite legen.
Den Karton mit Vorsicht handhaben, Stöße und Wettereinflüsse vermeiden.
5.2. Kontrolle am Maschinenempfang
Kontrollieren Sie, daß die erhaltene Maschine mit der auf den Lieferdokumenten angegebenen Maschine und eventuelles Zubehör übereinstimmt.
Überprüfen Sie, daß die Maschine während des Transports unbeschädigt geblieben ist. Andernfalls setzen Sie sich umgehend mit dem Spediteur oder unserem Kundendienstbüro in Verbindung.

Die Verpackungselemente (Plastiksacke, Schaumpolystyrol, Nagel, Kartons, usw.))dürfen Kindern nicht zugänglich gemacht werden, da sie eine potentielle Gefahr darstellen.Der Umwelt zuliebeitte kein Verpackungselemente in der Natur liegenlassen und diese ordnungsgemäß entsorgen.

6. INSTALLATION
Die Maschinen sind mit in der Breite und Tiefe einstellbaren GummifüBen ausgerüstet, die eine gewisse Freiheit, innerhalb maximaler und minimaler Flächen, (siehe auch AußenmaBe, je nach Modell verschieden) erhögt.
Das Gerät muß auf einer horizontalen trockenen, withstandsfähigen und stabilen Oberfläche installiert werden, ungebär 80 cm über dem Fußboden.
Es ist nicht notwendig die Maschine zu befestigen noch andere Maßnahmen zur Einschränkung der Vibrationen zu treffen.
EsistratsamumdieMaschinegenugFreiraumzureinfacherenBedienungundfurWartungsarbeitenzubelassen.

Wenn die Maschine naß oder feucht sein sollte, diese nicht aufstellen und in Betriebnehmen bis diese nicht vollständig getrocknet ist. Vor Inbetriebnahme ist es jedoch notwendig, die Maschine von einer Kundendienstelle auf eventuelle Schäden an elektrischen Bestandteilen überprüfen zu halten.
In der Höhe der Maschine einen Platz für die Dosierkaffeemühle vorsehen (siehe entsprechende Dokumentation).
Normalerweise sind die Maschinen mit einem Wasserenthärter des Typs DP8 oder DP12 ausgestattet, welcher durch den Installeur gemäß den gütigen Vorschriften angeschlossen werden muß. Bei Montage eines anderen Wasserenthärters, beachten Sie die Dokumentation des gewährten Produkts. Lassen Sie sich durch den Installeur auch eine Schublade für das verbrauchte Kaffeepulver installieren.

6.1. Anschlüsse, die durch den Kunden vorgesehen werden müssen

Die elektrischen Anschlüsse müssen unter voller Einhaltung aller regionalen, staatlichen oder lokalen Vorschriften ausschliesslich von Fachpersonal vorgenommen werden.
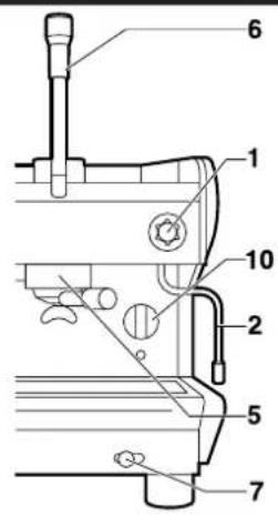
6.1.1. Wasser- und Gasanschluß Abb.5
Die Anschlüsse müssen in der Höhe der Maschine vorgesehen werden.
Das WasserabfluBrohr 1 muB einen minimalen inneren Durchmesser von 30mm aufweisen und einen kontrollierbaren Siphon haben.
Das Wasserzufuhrrohr 2 muß mit einem 3/8 G Abstellhahn und einem Rücklaufventil ausgestattet sein.
Das Gaszufuhrrohr 3 sollte ebenfalls einen Abstellhahn aufweisen.

Die Maschinen mit einer Gasheizung mösen gemäß den am Installationsort gültigen Vorschriften installiert werden.


6.1.2. Elektrischer Anschluß
Die Maschine wird vorgeschrifsmässig nach den Elektronormen anschlussbereit gefelwert.
Bevor die Maschine an das Stromnetz geschlossen wird, überprüfen Sie, dass die Daten auf dem Kennschild (Bild 1) mit denen des Netzanschluss übereinstimmen.
Das elektrische Stromkabel muss direkt an einen vorhandenen normengerechten Schalter geschlossen werden. Kontrollieren Sie, dass ein leistungsstarker und den Normen entsprechender Erdleiter vorhanden ist.
Die Erdverbindung und falls vorgesehen der Entladungsschutz müssen ebenfalls den Normen entsprechen.
Für das Stromnetz muss ein normengerechtes Kabel mit Schutzleiter (Erdung) verwendet werden.
Bei Drehstrom-Speisung muss ein Fünflieiter-Kabel (Dreiphasen + Sternpunkt + Erde) verwendet werden.
Bei Einphasen-Speisung ein Dreileiter-Kabel (Phase + Sternpunkt + Erde).
In beiden Fällen muss wie auf dem Maschinenschild steht (Bild 1), vor dem Stromkabel ein automatischer Fehlerstrom-Schutzschalter 4 (Bild 6) komplett mit Magnetauslösern vorgesehen sein, deren Kontakte mindestens 3mm Öffnung haben,müssen.
Wichtig ist, dass jeder Maschine mit den entsprechenden Sicherheitsvorrichtungen ausgerüstet ist.
ACHTUNG

Sollte das Stromkabel beschädigt sein,
müssen die Baufirma oder deren Technischer
Wartungs Dienst oder auf jedem Fall ein
Fachelektiker dieses unverzüglich auswechseln, damit{jedes Risiko ausgeschlossen wird.

6.2.Vorbereitungsarbeiten V.A. VENTIL EINSETZUNUM
Das V.A. Ventil ist auf der oberen Seite des Kessels installiert.
Bei der Aufstellungnehmen Sie den Federkeil zum Klemmer "A"hereus und beobachten Sie dass, der Zapfen des Ventiles frei fliesst.
Das Gerät auf der davon vorgesehen horizontalen Oberfläche installieren.
Bevor die jeweiligen Anschlusses vorgenommen werden, die Rohre der Wasserversorgung reinigen:
Den Wasserhahn des Versorgungsnetzes öffnen und das Wasser einige Minuten lang fließen halten.
Die Rohre für Wasserzufuhr- und -abfluß anschließen.
Den Stecker in die Steckdose stecken.
Die Gasleitung anschließen (Modelle SYSTEM)
Die Wasserrohre der Maschine gut spulen:
Den Wasserhahn des Versorgungsnetzes ganz offen;
- Hauptschalter 1 betätigten; abwarten, daß sich der Boiler bis zum eingestellen Füllstand füllt.
- Hauptschalter 2 betätigten, um die Erwärung des Wassers im Boiler zu starten.
- Alle Baugruppen so betätigten, daß über etwas eine Minute Wasser abgelassen wird; den Vorgang noch zweimal wiederholen.
- Etwa eine Minute lang Dampf über die Dampflanzen ausströmen halten.
- Etwa eine Minute lang warmes Wasser ablassen; den Vorgang noch zweimal wiederholen.
Die Schalter 1 und 2 ausschalten.
- Das im Boiler enthaltene Wasser entleeren. Siehe Punkt 10.3

ACHTUNG Wird die Maschine uber mehr als 24 Stunden nicht benutzt, vor dem Beginn der Arbeits-ten eine Spulung der inneren Bauteile vornehmen und die vorstehend beschriebenen Arbeitsgange wiederholen.
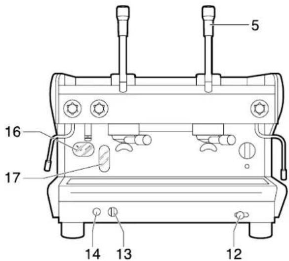
7. INBETRIEBNAHME
7.1. Bedienung Abb.8

0-2

1/1

3









Fig. 8

1 Hauptschalter.
Wahlschalter mit 3 Positionen:
0 aus
1Schaltet die Spanningsversorgung der Maschine (mit Ausnahme des Boilers) und die Befüllpumper des Boilers ein.
2 Schaltet die Stromversorgung der Heizelemente des Boilers ein.
1/1Hauptschalter.
Wahlschalter mit 2 Positionen mit Kontrollampe (für Mod. S24-S26-S27):
durch das Einschalten, die Kontrollampe leuchtet, wird die Maschine mit Strom versorgt, die Pumpe, die den Heizkessel mit Wasser versorgt, und das Heizelement werden aktiviert.
2 Grüne Kontrollampe.
Wenn these leuchtet, steht die Maschine unter Strom (Hauptschalter eingeschaltet).
3 Kaffeeausgabeschalter.
Wahlschalter mit 2 Positionen mit Kontrollampe (Mod. S24-S26-MIDI/CD-TECNA/CD-SYSTEM/ CD):
durch das Einschalten, die Kontrollampe leuchtet, wird der Kaffee ausgegeben; durch das Ausschalten, die Kontrollampe leuchtet nicht mehr, wird die Kaffeeausgabe unterbrochen.
4 Elektronische Tastatur für die Kaffeeausgabe.
5 Tasten mit Kontrollampe (Modelle S27-TECNA/ DE-MIDI/DE-SYSTEM/DE):
A Eine Sekunde lang die Taste drücken, die Kontrollampe leuchtet auf, die Taste wieder loslassen; es wird ein Espresso zubereitet. Die Kontrollampe erlischt wenn der Vorgang beendet ist.
B Eine Sekunde lang die Taste drucken, die Kontrollampe leuchtet auf, die Taste wieder loslassen; es wird ein Kaffee zubereitet. Die Kontrollampe erlischt wenn der Vorgang beendet ist.
C Eine Sekunde lang die Taste drucken, die Kontrollampe leuchtet auf, die Taste wieder loslassen; es werden zwei Espresso aus demselben Gruppe Zubereitet. Die Kontrollampe erlischt wenn der Vorgang beendet ist.
D Eine Sekunde lang die Taste drucken, die Kontrollampe leuchtet auf, die Taste wieder loslassen; es werden zwei Kaffees aus demselben Gruppe Zubereitet. Die Kontrollampe erlischt wenn der Vorgang beendet ist.
E Eine Sekunde lang die Taste drucken, die Kontrollampe leuchtet auf, die Taste wieder loslassen; die Dauerbrühung wird aktiviert. E i n e Sekunde lang die Taste drucken, die Kontrollampe erlischt, die Taste wieder loslassen; die Dauerbrühung wird unterbrochen.
Um eine Dosierung, welche mit den Tasten A-B-C-D gestartet wurde, zu unterbrechen, die Taste E solange drucken, bis die entsprechende Kontrollampe erlischt.
5 Schalthebel für die Kaffeeausgabe
Für die Kaffeeausgabe den Hebel einrasten und herunterträcken.
6 HeiBwasser Auslauflanze (Modelle S24-S26-MIDI/ CD).
Absperrhahn: zum Offnen gegen den Uhrzeigersinn und zum Schlieben im Uhrzeigersinn drehen.
7 HeiBwasserschalter (Modelle TECNA-SYSTEM/ CD)
Wahlschalter mit 2 Positionen mit Kontrollampe: durch das Einsatzen, die Kontrollampe leuchtet, wird das heiBe Wasser ausgegeben; durch das Ausschalten, die Kontrollampe leuchtet nicht mehr, wird die Ausgabe von heiBem Wasser unterbrochen.
8 Drucktaste für eine dosierte HeiBwassermenge (Modelle S27-TECNA/DE-MIDI/DE-SYSTEM/DE). Eine Sekunde lang die Taste drucken, die Kontrollampe leuchtet auf; es wird eine Dosis HeiBwasser ausgegeben.
9 Dampfauslauflanze.
Absperrhahn: zum Öffnen gegen den Uhrzeigersinn und zum Schlieben im Uhrzeigersinn drehen.
10Drucktaste zur Dampfausgabe (Modelle DE/H TS)
Siehe Anweisungen auf Punkt 8.3.
11Orange Kontrollampe (Modell S24).
Das Aufleuchten dieser Kontrollampe zeigt an, daß der Wasserbehälter leer ist und die Maschine demnach ihren Betrieb einstellt.
Blaue Kontrollampe (Modell S26).
Das Aufleuchten dieser Kontrollampe zeigt an, daß das Heizelement für die Erwärung des Wassers im Heizkessel eingeschaltet ist.
12Drucktaste zur manuellen Wasserauffullung (Modell SYSTEM)
Solange these Taste gedrückt wird fullt sich der Heizkessel mit Wasser.
13Absperrhahn Gaszufuhr mit Ventil (Modelle mit Gasheizung).
Geoffnet: vertikale Position;
Geschlossen: im Uhrzeigersinn um 90^ drehen.
14Piezoelektrischer Druckknopf (Modelle mit Gasheizung).
Federknopf: diesen ganz eindrücken um den Funken auszulösen, der das Gas entzündet.
7.2. Kontrollinstrumente Abb.8
15Manometer mit Nadelanzeiger auf Zifferblatt, Gradeinteilung und fertigen Anzeigenfeldern (Modell SYSTEM ausgeschlossen).
Visuelle Kontrolle des Drucks im Heizkessel.
16Manometer mit Nadelanzeiger auf Zifferblatt, Gradeinteilung und Farbigen Anzeigenfeldern (Modell SYSTEM).
Visuelle Kontrolle des Drucks im Heizkessel und der Pumpe.
17Niveauanzeiger mit Angabe von Minimum und Maximum (Modelle SYSTEM). Visuelle Kontrolle des Wasserniveaus im Heizkessel.
18 Grüne Kontrollampe (Modelle SYSTEM ausgeschlossen) Wenn die Kontrollampe leuchtet, ist das Wasserniveau über dem Minimum.
19 Orange Kontrollampe (Modelle SYSTEM ausgeschlossen) Wenn die Kontrollampe leuchtet, ist das Wasserniveau unter dem Minimum die automatische Niveaugleichung ist in Funktion.

Wenn die Kontrollampe jedoch nicht wieder ausgeht, bedeutet dies, daß die Niveaugleichung nichtstattgefunden hat. Kontrolieren Sie, ob der Wasserzufuhrhahn geöffnet ist, andernfalls die Maschine sofort ausmachen und den Kungendienst benachrichtigen
20Kontrollfenster (Modelle mit Gasheizung). Visuelle Kontrolle über das Anzüden und Funktionieren der Flamme des Gasbrenners.
21 Schalter zum Einsatzen der Kaffeetassenerwärung (Option).


7.3. Inbetriebnahme
Modell S24 Abb.9
Den Deckel zum Wasserbehälter öffnen und überprüfen, ob der Wasserenthärter 22 am Ende des im Behälter befindlichen Schlauchs 23 angebracht ist;
Überprüfen, daß sich die Luftfalle 24 am richtig Ort befindet;

Wenn sich die Luftfalle nicht an der richtigen Stelle befindet, kann sich die Maschine nicht aufheizen und einen eventuellen Wassermangel im Behälter nicht richtig anzeigen.

Zwei Liter Wasser in den Behälter einfüssen und den Deckel wieder schreiben;
Den Hauptschalter 1/1 betätigten; der Heizkessel wird gefüllt und das Heizelement beginnt das Wasser zu erwärmen;
Abwarten bis der richtige Betriebsdruck erreicht wird, d.h. wenn die Nadel des Manometers 15 Abb. 8 sich auf dem grünen Feld befindet und die Maschine ihr thermisches Gleichgewicht erreicht hat.
Modell S26 - S27 Abb.8
Den Wasserzufuhrhahn 2 Abb.6 Offnen;
Den Hauptschalter 1/1 Abb.8 betätigen; der Heizkessel wird gefüllt und das Heizelement beginnnt das Wasser zu erwärmen;
Abwarten bis der richtige Betriebsdruck erreicht wird, d.h. wenn die Nadel des Manometers 15 Abb. 8 sich auf dem grünen Feld befindet und die Maschine ihr thermisches Gleichgewicht erreicht hat.
Modelle MIDI - TECNA - SYSTEM Abb.8
Den Wasserzufuhrhahn 2 Abb.6 Offnen;
Den Hauptschalter 1 Abb.8 gegen Uhrzeigersinn auf Position 1 drehen; die Pumpe wird aktiviert und der Heizkessel gefüllt;
- Wenn der Fülstand erreicht ist, schaltet die Pumpe ab. Danach den Hauptschalter 1 nach rechts auf 2 drehen, um die Wassererhitzung im Boilereinzuschalten. AnschlieBend alle einzelnen Gruppen betätigten, bis an diesen jeweils Wasser austritt.
Abwarten bis der richtige Betriebsdruck erreicht wird, d.h. wenn die Nadel des Manometers 15 oder 16 Abb. 8 sich auf dem grünen Feld befindet und die Maschine ihr thermisches Gleichgewicht erreicht hat.
Modelle SYSTEM Gasheizing Abb.8
Den Wasserzufuhrhahn 2 Abb.6 Offnen;
Den Gashahn 3 in Abb.6 offnen;
Den Hauptschalter 1 Abb.8 im Gegen Uhrzeigersinn auf Position 1 drehen; die Pumpe wird aktiviert und der Heizkessel gefällt;
- Wenn das Wasserniveau erreicht ist, wird die Pumpe disaktiviert. Im Uhrzeigersinn den Hauptschalter 1 Position 2 drehen;
Den Gashahn 13 Abb.8 in die vertikale Position drehen, wobei der eingebaute Knopf gedrück bleiben muß. Gleichzeitig den piezoelektrischen Druckknopf 14 mehrmals drücken bis der Funken das Gas entflammt (diesen Vorgang über das Fenster 20 Abb.8 verfolgen). Den Knopf des Gashahns 13 ungefahr 30 Sekunden gedrück halten damit die Flamme anbleibt. Wenn die Flamme ausgeht, muß der Vorgang wiederholt werden.

Wenn die Flamme nicht angeht, keine weiteren Versuche unternehmen und den Gashahn mit einer Drehung um 90^ im Uhrzeigersinn schlieben.
Abwarten bis der richtige Betriebsdruck erreicht wird, d.h. wenn die Nadel des Manometers 14 Abb. 7 sich auf dem grünen Feld befindet und die Maschine ihr thermisches Gleichgewicht erreicht hat.
Modelle SYSTEM le Abb.8
Espresso-Kaffee-Maschine mit mechanischen Bruehgruppen und mit Festdosierung. Druecken Sie den Gruppenbetaetigungshebel (5) nach unten, bis zur Erreichung der niedrigen Stellung. Warten Sie auf das Antroepeln des Kaffees in die Tasse, dann betaetigen Sie den Hebel nur anfangs, darauf lessen Sie hin von selbst nach oben steigen. Um 2 Kaffee zu machen, wiederholen Sie diesen Verfahren ein zweites Mal.

Sicherheitshalber ist esratsam,den Hebel durchaus nicht nach unten zu druecken,wenn es keinen gemahlenen Kaffee in dem an der Gruppe angehakten Filterträger gibt.


8. GEBRAUCH
Alle Maschinen sind mit einem Tassenwärmer ausgestattet, auf dem die Tassen gelagert und vorgewärmt werden.
Gut vorgewärme Tassen sind die Beste Gewähr für einen warmen und cremigen Kaffee.
8.1. Zubereitung von Kaffee
- Den Filterträger von der Brühgruppe aushaken und auf die betreffende Schublade klopfen, um die Kaffeesätze aus dem Filter zu entleeren (aufpassen, daß der Filter nicht beschädigt wird);
- Je nach Bedarf einen Filter für 1 oder 2 Kaffees verwenden;
- Den Filter mit der vorgesehenen gemahlenen Kaffeemenge füssen und mit dem Stampfer glattdrücken;
Eventuell zurückgebliebenes Kaffeepulver vom Filterrand entfern;

Auf dem Filterrand darübergebliebenes Kaffeepulver beeinträchtigt das perfekte SchlieBen zwischen Dichtung und Filter und kann zu Wasser- oder Kaffeesatz-verlust führen.
- Den Filterträger in der Bruhgruppe fest einhaken;
Die Tassen unter die Auslauftullen stellen und die Ausgabe über die Tasten 3 oder 4, je nach Modell, Abb.8 aktivieren; - Nach Beendigung der Kaffeebrührung muß der Filterträger bis zur neuen Betätigung an der Brühgruppe angeschlossen bleiben.

Während der Ausgabe besonders auf die warmen Bestandteile der Maschine, wie Bruhgruppen, HeiBwasser- und Dampfauslau-flanzen achten.Um Verletzungen zu vermeiden, nie die Hände unter den Bruhgruppen und Lanzen lessen, wenn die Maschine in Betrieb ist.
Für einen gute Kaffee ist es wichtig, daß die Mahleinstellung einer Kaffeebrührung zwischen 25-30 Sekunden entspricht. Bei zu großer Mahlung werden helle und leichtere Kaffees mit weniger Creme ausgegeben, während starke und dunkle Kaffees ohne Creme mit einer feiner Mahlung zubereitet werden. Einen wohlschmeckenden Kaffee erhalten Sie mit der richtigen Dosierung (ca. 6 gr.) von gleichmäßig und frisch gemahlenen Kaffeebohnen (dazu ist eine Kaffeemühle mit scharfen Muhlsteinen erforderlich). Frisch gemahlener Kaffee ist eine grundsätzliche Bedingung für einen gute Kaffee, Denn die Bohnen verlieren Schnell ihr Aroma und werden ranzig. Deshalb nur die benötigte Menge Kaffeebohnen mahlen.
8.2. Zubereitung von Cappuccino Abb.11 (augeschlossen DE/H TS)

- Mit Espresso-Kaffee eine Tasse Cappuccino zubereiten.
- Verwenden Sie einen hohes und schmales Gefäß und fullen Sie es bis zur Häfte mit Milch;
Das Gefäß unter die Lanze 1 halten und darüber so, daß die Spritzdüse den Gefäßboden berührt;
Den Dampfahn öffnen und das Gefäß niedriger halten und so neigen, daß sich die Spritzdüse direkt unter der Milchoberfläche befindet;
Nun das Gefäß fortwährend nach oben und unter bewegen, so daß die Spritzdüse abwechselnd von der Oberfläche in die Milch eintaucht. Diese Bewegung einzelte Sekungen lang wiederholen bis die Milch gut schäumt;
Den Aufschäumhahn schreiben und Milch in die Tasse geben.

Nach Beendigung die Auslauflanze mit einem sauberen Schwamm oder Tuch reinigen um das Antrocknen von Milchresten zu vermeiden. Vorsicht, die Lanze ist heißt und kann Verbrennungen verursichen.
8.3. Zubereitung von warmen Geträken Abb.8
Die Dampfauslauflanze in das zu erwärmende Getränk eintauchen;
Den Dampfahn 9 oder 10 Abb.8 stufenweise offen; der brodelnde Dampf erwartet die Flüssigkeit und bringt sie auf die gewünschte Temperatur;
- Dem Dampfahn schlieben, wenn die gewünschte Temperatur erreicht ist.

Nach Beendigung die Auslauflanze mit einem sauberen Schwamm oder Tuch reinigen um das Antrocknen von Milchresten zu vermeiden. Vorsicht, die Lanze ist heißt und kann Verbrennungen verursichen.
Versionen DE/H TS/LE
- Verwenden Sie einen hohes und schmales Gefäß und füssen Sie es bis zur Hälfte (mindestens ein halber Liter Flüssigkeit);
Das Gefäß unter die Auslauflanze halten und zwar so, daß die Spritzdüse den Gefäßboden berührt;
Die Dampfausgabetaste 10 Abb.8 drucken;
Die Dampfausgabe wird automatisch gestoppt, wenn die vorprogrammierte Temperatur erreicht worden ist;
Um die Erwärming manuell fortzusetzen, muß man die Dampf taste gedrückt halten.
Die vorprogrammierte Erwärmungsphase kann immer durch Druck auf die Dampfausgabetaste unterbrochen werden.
Damit die Temperatur immer gleich bleibt, die Auslauflanze und den Temperaturfuhler, der auf der Lanze montiert ist, immer gut reinigen. Die Reinigung muß sofort nach Gebrauch mit einem sauberen und etwas angefeuchteten Tuch ausgeführrt werden.
Die temperatur kann durk den Installateur zwischen 54^ (130^) und 85^ (185^) programmiert werden Die Einstellung ist fur beiden Auslauflanzen gleich.
Die maximale Ausgabezeitarf in allen Fällendie 5 Minuten Grenze nicht überschreiben.
Dieser Vorgang solte durch den Benutzer mit großer Vorsicht ausgefuhrt werden, da der Dampf sofort mit aller Kraft aus der Auslauflanze stromt, wenn die Dampfausgabetaste gedrückt wird. Die Hande während der Dampfausgabe nie unter die Auslauflanze halten.
8.4. Zubereitung von Tee, Kamillentee, usw..
Das Gefäß unter die Wasserauslauflanze halten, die Wasserausgabetaste gemäß dem Modell Abb. 8 drücken. Wenn die gewünschte Wassermenge erreicht ist, den Schalter ausmachen;
Das gewünschte Produkt hinzufugen.
Versionen S27 und DE
Bei diesen Modellen wird das Wasser bereits in bestimmten Mengen ausgegeben (siehe Einstellung HeiBwassermenge unter Paragraph 9). Um heiBes Wasser in gewünschter Dosis zu erhalten wie folgt vorgehen:
Die Ausgabetaste 4-E Abb.8 mindestens 4 Sekunden lang gedrückt halten und die Drucktaste dann loslassen; die Maschine gibt ununterbrochen Wasser aus (Dauerbruhung).
- Wenn die gewünschte Wassermenge erreicht ist, erneut auf den Drucktaste E drücken um die Ausgabe zu stoppen.
Bei der automatischen Ausgabe von dosiertem halten Wasser kann die Ausgabe immer durch Druck auf die Drucktaste E unterbrochen werden.
Bei enthaltetem Wasser erhalten die Getränke gewöhnlich eine dunklere Färbung; wünscht man eine hellere Färbung, frisches nicht enthaltetes Wasser vom Wassernet entschieden und dies wie unter Punkt 8.3. beschrieben erwärmen.
9. EINSTELLUNGEN UND ABMESSEN DER DOSIERUNGEN(bei den damit vorgesehenen Modellen)
9.1. Modelle S27 - MIDI DE - TECNA DE - SYSTEM DE
Bei den Modellen mit elektronischer Kontrolle kann die Kaffee- und Wasserausgabe-mente eingestellt werden.
9.1.1. Dosiereinstellungen
Bei den S20 Maschinen kann die Einstellung der Ausgabemenge von Kaffee und HeiBwasser über die Kaffeetasten oder HeiBwassertasten ausgeführrt werden.
1 Die Taste E einer beliebigen Tastatur ungebär 8-10 Sekunden gedrückt halten bis die HeiBwasserausgabe der Bruhgruppe beendet ist und die Kontrollampe für die Dauerausgabe der ersten Tastatur links anfängt zu blinken;
2 Für eine genaue Einstellung der Kaffeemenge,
müssen 1 oder 2 KaffeeVBorbereitet werden;
3 Den Filterträger (mit dem gemahlenen Kaffee) unter die linke Brühgruppe stellen und die Tasse unter das Kaffeeauslaufrohr;
4 Die gewünschte Taste drucken (z.B. Taste A für eine keine Tasse);
5 Wenn die gewünschte Kaffeemenge ausgegeben ist, die Stop-Taste E drücken. Die Ausgabe wird unterbrochen und der Mikroprozessor speichert die gewährte Dosis;
6 Erneut die Taste E betätigten, die Kontrollampe erlischt und die Maschine wird die gewählte Dosis in ihrem Speicher beibehalten;
7 Die korrekte Programmierung durch die Vorbereitung eines Kaffees überprüfen.
Wenn noch weitere Dosen (B-C-D) abgeändert werden müssen, bei Punkt 5 angekommen, die Vorgänge 3-4-5 für jeder Dosis jeweils wiederholen, wobei immer ein neuer KaffeeVBorbereitet werden muß. Dann den Punkt 6 ausführren und zum Schluß, wie unter Punkt 7 beschreiben, alle abgeänderten Dosen überprüfen.
Wenn keine Abänderungen der bereits eingestellen Dosen vorgenommen werden müssen, kann die Programmierung als abgeschlossen betrachtet werden. Wenn man hingegen die Dosierung einer anderen Brähgruppe abändem möchte (1-2-3-4 Dosen) wie unter Punkten 1-7 beschreiben vorgehen, jedoch nur die Tastatur der dazugehörigen Brähgruppe betätigten.
9.1.2. Einstellung der HeiBwasser-Menge
Wie folgt vorgehen:
1 Die Taste E einer beliebigen Tastatur ungebär 8-10 Sekunden gedrückt halten bis die Heißwasserausgabe der Brühgruppe beendet ist und die Kontrollame für die Dauerausgabe der ersten Tastatur links anfängt zu blinken. Die Maschine ist nun bereit die Abänderung auszuführen.
2 Die Tasse oder das Gefäß unter das Wasserauslaufrohrhalten.
3 Die Ausgabetaste 8 betätigten.
4 Wenn die gewünschte Menge ausgegeben ist, erneut die Taste 8 drücken. Die Ausgabe wird unterbrochen und der Mikroprozessor speichert neu gewählte Dosis.
5 Wenn der Vorgang beendet ist, die Taste E betätigten, die Kontrollampe erlischt und die Maschine wird die gewährte Dosis in ihrem Speicher beibehalten.
6 Die korrekte Programmierung durch die Ausgabe von dosiertem halten Wasser überprüfen.
ACHTUNG!
Wenn keine Abänderungen der bereits eingestellten Dosis vorgenommen werden muß, wie folgt vorgehen:
Die HeiBwasser-Ausgabetaste 8 mindestens 4 Sekunden lang gedrückt halten; beim Loslassen der Taste gibt die Maschine ununterbrochen Wasser aus (Dauerbruhung);
- Um die Ausgabe manuell zu unterbrechen, erneut die Taste 8 drücken wenn die gewünschte Dosis erreicht ist.
Wenn man die Ausgabe von dosiertem heißen Wasser unterbrechen möchte, die Taste 8 drücken

10.WARTUNG

Wartungsarbeiten *müssen bei ausgeschalteter und abgekühfter Maschine vorgenommen und der Stecker muß immer Herausgezogen werden. Bestimmte Arbeitsen *konnen jedoch nur ausgeführrt werden, wenn die Maschine in Betrieb ist.
Für die Säuberung der Maschine keine Metall-oder Schmigelwerkzeuge wie Metallwolle, Metallbürsten, Nadelin, usw. und Reinigungsmittel verwenden, sondern nur einen feuchten Lappen oder Schwamm.
Wo verlangt, sollen spezielle Reinigungsmittel für Kaffeemaschinen verwendet werden, die in Fachgeschäften erhältlich sind.
10.1. Tägliche Wartung
Ein sauberes Tuch oder einen Schwamm (wenn möglich aus Leinen oder Baumwolle) verwenden.
Das Gehäuse sorgfältig reinigen. Für die Reinigung der Edelstahlteile in Satinerrichtung wischen.
- Kaffeebeläge von Filterträgern 1 und Filtern 2 entfernen und alles mit freiem Wasser abspulen um die Fettrechte zu halten.
Die Duschen und die Dichtungen der Bruhgruppen reinigen.
Die Druck- und HeiBwasserauslauflanzen reinigen, die Spritzdusen überprüfen und eventuell von Wasserstein befreiern (Bei der Reinigung die Spritzdusen nicht verformen oder beschädigten).
Die Spruhköffe und die Dichtungen der Ausgabebaugruppen unter Verwendung der entsprechenden mitgelieferten Bürste reinigen.
Die Filterhalterungen entfern, die Filter und die Klammer zur Befestigung des Filters aus der Maschine ausbauen, mit der Bürste die Verkrustungen aus Kaffee entfern und alle Teile unter warmem Wasser spulen, um die Fettablagerungen zu halten.

10.2. Wochentliche Wartung

Die Maschine muß unter Druck stehen.
- Den Blindfilter auf den Filterträger montieren, einen Löffel Reinigungspulver für Kaffeemaschinen einfüssen und den Filterträger an die Brühgruppe anschließen, die gesäubert werden muß.
Die Kaffeetaste der Bruhgruppe ca. 30 Sekunden drucken.
Die Ausgabe mehrfach aus- und wieder einschalten, bis kares Wasser aus dem AblaBrhrchen der Gruppe ausflieBt. - Den Filterträger entfern, den Blindfilter herausnahmen und einen normalen Filter montieren. Den Filterträger wieder an die Brühgruppe anschließen und die Ausgabe mehrmals unterbrechen und aktivieren um die Brühgruppe zu spulen.
- Einen KaffeeVBorbereiten um einen eventuellen unangenehmen Beigeschemack zu verhindern.
Modell S24

Wartungsarbeiten müssen bei ausgeschalteter und abgekühter Maschine vorgenommen und der Stecker muß immer herausgezogen werden.
Den Deckel des Wasserbehalters entfern;
Die Luftfalle 24 und den Wasserenthärter 22 Abb.9 entfern;
- Den Wasserbehälter Herausnahmen, entleeren und reinigen;
- Den Wasserbehälter gut ausspulen und wieder montieren;
Die Luftfalle und den Wasserenthärter wieder montieren;
- Den Behälter mit sauberem Wasser fällen und den Deckel schreiben.

Wenn sich die Luftfalle nicht an der richtigen Stelle befindet, kann die Maschine sich nicht aufheizen und einen eventuellen Wassermangel im Behälter nicht richtig anziegen.
Modell S24 - S26 - MIDI CD

Die HeiBwasser-Ausgabetaste betätigen und das ganze Wasser ablassen;
Die HeiBwasser-Ausgabetaste betätigen und das ganze 6 Wasser ablassen;
Den HeiBwasserhahn schlieBen und der Wasserbehalter wie unter Punkt 7.3 beschreiben wieder neu fuller
Modell SYSTEM CD - LE

Die Maschine muß unter Druck stehen.
Das Wasser durch Betätigung des HeiBaseschalters 7 aus dem Heizkessel ablassen (ungeführ 4 Liter);
Fur den erneuten Gebrauch der Maschine sollenn Sie abwarten, daß die Maschine das thermische Gleichgewicht wiederlangt hat.
Modelle S27-MIDI DE-SYSETM DE

Die Maschine muß unter Druck stehen.
Bereiten Sie einen Behälter mit einem Fassungsvermögen von mindestens 2 Litern (4 Liter bei den Modellen SYSTEM) und halten Sie diesen unter die HeiBwasseraislauflanze.
Die Drucktaste 8 zum Ausgabebeginn mindestens 4 Sekunden lang drucken; nach dem Loslassen führ die Maschine eine Dauerbruhung durch;
- Sobald 2 Liter Wasser (4 Liter bei den Modellen SYSTEM) entnommen worden sind, erneut auf die Taste drücken, um die Brühung zu unterbrenen.
Fur den erneuten Gebrauch der Maschine sollenn Sie abwarten, daß die Maschine das thermische Gleichgewicht wiedererlangt hat.
Reinigung von Filtern und Duschen

These Arbeits muß bei ausgeschalteter und abgekühlter Maschine vorgenommen werden
Vier Beutel m. Waschpulver (Kodex 69000124) in einem Nirostastahlgefass oder Kunststoff, Glas in einem Liter kochendem Wasser aufliesen. WICHTIG IST, DASS DAS GEFASS NICT AUS ALUMINIUM ODER EISEN IST.
- Filter ausbauen und mit den Filterhaltern mindestens 20/30 Minuten (besser eine Nacht) in diese Lösung legen.
Danach aus der Reinigungslösung entfernen und gut mit flieBendem Wasser nachspulen.
Das Tassenstutzgitter 1 Abb.13 entfern, die darunter liegende Wasserauffangschale Herausnehmen und reinigen.

Fig. 13
Die AbfluBwanne 1 Abb.13 kontrollieren und reinigen; den eventuellen Satzschlamm mit einem Teelöffel entfernen.
10.3. Periodische Wartung
Modellen TECNA CD - TECNA DE
Genügt es das Kesselwasser nur gelegentlich auszubauschen, da der Economiser nicht das Kesselwasser zur HeiBwasserherstellung verwendet.


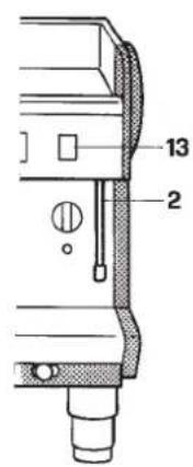
10.3.1. Wechsel des Kesselwassers
Der Austausch muß durch Fachpersonal ausgeführrt werden.
Die Maschine ausschalten und abwarten, bis im Kessel kein Druck mehr vorhanden ist (der Zeiger des Manometers muß auf "0" stehen);
- Mit einem Schlüssel 1 den Anschluß 2 Abb.14, welche sich über der Abflußwanne befindet, festhalten und gleichzeitig die Inbusschraube 4 um hochstens drei Umdrehungen offen;
Abwarten, bis das ganze Wasser abgelaufen ist und die Schraube 4 wieder anziehen;
Nunden Kessel wieder auffullen (siehe Paragraph 7.3)
10.3.3. Regenerierung
Modell S24

These Arbeit muß bei ausgeschalteter und abgekühfter Maschine vorgenommen und der Stecker muß immer herausgezogen werden.
Der sich im Wasserbehälter befindliche Enthärter muß nach dem Verbrauch von 15 Litern Wasser (errechnet auf Grund von Proben mit Wasserhärte von 35^ f.H.), oder wenigerens einmal im Monat, regeneriert werden.
- Eine Salzsole in einem Wasserglas mit 3 Teelöffeln Salz (das Salz muß sich gut aufgelöst haben)VBoreiten;
- Den Wasserbehälter entleeren wie unter Punkt 10.2 beschrieben;
Den Wasserenthärter 1 Abb.15 aus dem Gummischlauch 2 Herausnahmen und umdrehen;

DieVBORBEITE Salzsole in den Filter gieBEN und durch den Harz frei ablaufen lassen;
- Ungebung 5 Minuten abwarten, den Wasserenthärter zum Nachspüssen unter fließendes Wasser halten. Sobald das aus dem Wasserenthärter fließende Wasser nicht mehr salzig ist, sind die Harze regeneriert und der Wasserenthärter ist wieder einsatzfähig;
Den Wasserenthärter wieder mit dem Gummischlauch verbinden und im Behälter anbringen;
- Zur Inbetriebnahme der Maschine nach der Regenerierung den Angaben unter Paragraph 7.3 folgen.
Wasserenthärter DP2 - DP4
Die Regenerierung des Wasserenthärters muß termingerecht gemäß der nachfolgenden Tabelle erfolgen:
DP2
nr.1 Regenerierung pro Monat bei 500 Kaffees/Tag
nr.2 Regenerierungen pro Monat (n°1 alle 15 Tage)
bei 1000 Kaffees/Tag
DP4
nr.1 Regenerierung pro Monat bei 1000 Kaffees/Tag
nr.2 Regenerierungen pro Monat (N°1 alle 15 Tage) bei 2000 Kaffees/Tag
These Tabelle wurde für eine Wasserhärte von 25 Grad Französische Härte aufgestellt.
Für den Gebrauch beiliegende Anweisung beachten.
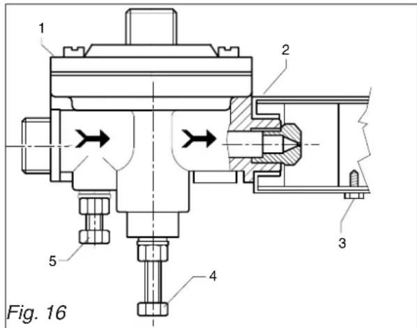
11. VERSION DES AUTOMATEN MIT ZUSÄTZLICHER GASHEIZUNG

ACHTUNG
Die Installation des Automaten, Einstell- und Anpassarbeiten auf den Gastyp müssen von ausgebildeten Fachleuten erfolgen.

Der Automat wird werksseitig so eingerichtet,
dassidermitFlüssiggasGPL)gespeistwerdenkann.
Deshalb befindet sich an dem Gasregelhahn (1) die aus nachstehender Tabelle hervorgehende Duse:
| Model | Thermo- Nennleistung | GPL G30 - 29 mbar | Erdgas G20 - 20 mbar |
| 2-3 Gr. | 2,5 KW (2150 Kcal/h.) | 75 102 |
Der Regelhahn der Hauptluftklappe (2) wurde mit der Indexraste "GPL" in Höhe der Feststellschraube (3) gekennzeichnet.
Die Flammenregelung (Min./Max.) erfolgt je nach Gas-Produkt.
Sollte der Automat mit einem anderen Gastyp gespeist werden, muss die Duse gemäss der Tabelle gewechselt und der Regelhahn der Hauptluft (2) muss bei Erdgas auf die Indexraste "N" in Höhe der Feststellschraube (3) stehen.
Dazu muss die Feststellschraube (3) erst gelockert und dann nach dem Drehen des Regelhahns der Hauptluft (2) wieder angezogen werden.
Der Anschluss an die Gasleitung, vom Gasausschalthahn, der im Lokal vorhanden sein muss, zum an Automaten installierten Ventilhahn muss gemass den geltenden Vorschriften mit einem flexiblen Schlauch oder einem steifen, geglihtem Kupferrohrer erfolgen.
In ersten Fall muss ein Schlauchhalter, der mit einer Zweikegel-Dichtung sowie mit der zur Lieferung gehörenden Blockiermutter dicht an den Ventilhahn geschlossen werden.
Im zweiten Fall muss das geglühte Kupferrohr mit Zweikegeldichtungen und Blockiermuttern direkt an den Ventilhahn geschlossen werden.
Nach dem Automat an die Gasleitung geschlossen und der Kessel gemäß den Anweisungen aus dem BETRIEBS-UND WARTUNGS-Handbuch mit Wasser gefüllt wurde, kann der Brenner wie folgt eingeschaltet werden:
Gashahn Offnen.
- Handgriff des Ventilahns drucken; 90^ in Gegenuhrzeigersinn drehen und gedrückt halten. Gleichzeitig muss der Piezozündungs-Knopf ein oder mehrmals bis sich der Brenner einschaltet gedrückt werden (es erscheint ein Zündfunke).
Nach ca. 20 Sekunden kann der Handgriff des Ventilhahns losgelassen werden und der Brenner ist eingeschaltet (die Flamme ist an dem Guckfenster an der hinter der Ausgabegruppe liegenden Tafel sightbar).
HINWEIS:
Sollte die Zündung nicht erfolgen ist es ratsam keinen weiteren Versuch vorzunehmen, sondern Ventilhahn-Handgriff loszulassen; prufen ob der Zündfunke an Brenner in Ordnung ist und deren Länge ca. 5 mm beträgt.
Sollte sich die Flamme bei Loslassen des Handgriffs ausstellen, müssen die Position des Thermoelements und der angeschlossene Steuerkreis geprüft werden.
Die Flamme muss leuchtend hellblau sein; sollte das nicht der Fall sein muss die Hauptluftklappe (2) so geregelt werden, bis das Ergebnis erzielt wird.
Abwarten bis der Automat den Eichdruck erreicht hat. Andernfalls kann der Druck an dem Gas-Druckwächter, an welchem sich zwei Regelschrauben befinden, geregelt werden.
Die langere Regelschraube (4) dient zum Regeln des Betriebsdrucks des Heizkessels und die andere (5) dient zum Regeln des Mindestdrucks.
Wenn der Automat unter Druck steht Mindestdruck an Schraube (4) kontrollieren; Gegenmutter lockern und solange drehen bis diese freiigegeben ist (Hauptgasleitung geschlossen).Jetzt muss kontrolliert werden, ob die Flamme in ihrer Funktion als Pilotflamme auf Klein angezündet bleibt.
Sollte die Flamme zu hoch sein, kann die Regelung an der Schraube (5) durch leichtes Drehen in Uhrzeigersinn erfolgen; natürlich muss erst die Gegenmutter gelockert werden. Sollte die Flamme zu niedrig sein und demzufolge ausgehen, muss die Schraube (5) in Gegenuhrzeigersinn, bis eine niedrige aber sicherflackende Flamme erzielt wird, geregelt werden. Wenn die Flamme einwandfrei auf das Minimum geregelt wurde Schraube festhalten und mit Gegenmutter blockieren.
Schaube (4) in Uhrzeigersinn drehen bis die richtige Flammenhöhe erzielt wurde und abwarten bis der Heizkessel den eingestellten Betriebsdruck erreicht hat. Sollte die Flamme vor Druckerreichen abfallen, Schraube (4) aufschauben: Sollte sich die Flamme bei einem hohenen Druck kleiner stellen, muss die Schraube zugeschauben werden.
Betrieb ein oder zweimal durch Druckablassen an Dampfhahn kontrollieren; jetzt Schraube (4) feststellen und mit Gegenmutter blockieren.

12. AUSSER BETRIEB SETZEN
A - Zeitweilig
Die Maschine reinigen und die Wartung ausführten;
- Das Speisekabel aufrollen und mit einem Klebeband an der Maschine befestigen;
Die Maschine zudecken, an einem trockenen und vor Witterungseinflüssen geschützten Ort und außerhalb der Reichweite von Kindern oder unbefähigten Personen lagern.

Nur ein Fachmann sollte die Maschine von den Versorgungsnetzen abtrennen.
B - Endgültig
- Gehen Sie wie unter Punkt A beschreiben vor. Darüber hinaus sollen den Sie das Speisekabel durchschnittenden, die Maschine mit Karton, Polystyrol oder anderem Material verpacken und diese laut den geltenden Bestimmungen entsorgen.
13. STÖRUNGEN UND ABHILFE

Kontrollen, die durch den Benutzer ausgeführten werden können. Dafür den Stecker aus der Steckdose entfemen. Bei allen anderen Störungen oder nicht aufgeführten Schwierigkeiten, den Netzsteckerziehen und nicht versuchen, den Schaden selbst zu beheben. Wenden Sie sich direkt an ausgebildetes Fachpersonal.
A) Die Maschine goes nicht an:
- Prüfen Sie, ob der Stecker in der Steckdose steckt;
- Versichertn Sie sich, daß der Strom nicht ausgefallen ist und daß der Leitungsschutzschalter und der Hauptschalter eingeschaltet sind;
- Kontrollieren Sie den Zustand Stecker und das Kabel. Im Falle eines Defekts wenden Sie sich sofort zum Austausch an das zuständige Fachpersonal.
B) Wasser unter der Maschine:
Vergewissern Sie sich, daß Ablauf der Wasserauffangwanne nicht verstoptt ist;
C) Langsame Bruhung:
- Den Zustand von Filtern und Duschen überprüfen.
- Kontrollieren, ob der Kaffee zu fein gemahlen ist.
D) UnregelmäBige Dampfausgabe:
Vergewisern Sie sich, daß die Spritzdusen der Auslauflanze nicht verstopt sind;
ITALIANO 5-26
F FRANCAIS 27-48
D DEUTsCH 49-70
GB ENGLISH 71-92
E ESPANOL 93-114
SCHEMI ELETTRICI
SCHEMAS ELECTRIQUES
SCHALTPLANE
WIRING DIAGRAMS 115-123
ESQUEMAS ELECTRICOS

Wasserniveaukontrolle
Elektronische schactel
des mikroprozessor microprocessor
Volumenzaehler
Wasserelektroventil
Speisungselektroventil
Dosiertes wasser elektr.
Ekonomiserelektroventil
Gruppeelektroventil
Dampfelektroventil
Wasserschalter
Kaffeeschalter
Ekonomiserschalter
Hauptschalter
Orange - Wasserfullung
automatisches standes
Guen - Wasser auf stand
Hauptschalterkontrollampe
Klemme
Pumpen motor
Pressostat
Wasserdruckknopf
Ekonomiserdrukknopf
Niveau pressostat
Kontrollschalter
Kesselheizung
Pumperelais
Widerstand-kontrollampe
Wassermangelanzeiger
Niveausonde
Widerstandssicherung
Erde
Thermostat
Blau
Weiss-blau
Weiss-gelb
Weiss
Weiss-schwarz
Weiss-rot
Gelb
Gelb-gruen
Braun
Schwarz
Rot
Gruen
G
Water level control
Microprocessor Card
Flow Meter
Water electrovalve
D Eigentumsrecht Vorbehalt.
Der teilweise oder gesamte Nachdruck these Handbuches, ohne schriftliche Genehmigung der Fa. RANCILIO SPA ist verboten.
Die firma RANCILIO behält sich vor, eventuell notwendige Änderungen jederzeit durchzuführen.
EinfachAnleitung