WAVE EIGHT - Enceinte amplifiée PIONEER DJ - Notice d'utilisation et mode d'emploi gratuit
Retrouvez gratuitement la notice de l'appareil WAVE EIGHT PIONEER DJ au format PDF.
| Type d'appareil | Enceinte audio professionnelle portable |
| Usage principal | DJ / Sonorisation |
| Puissance | Non précisé |
| Dimensions | Non précisées |
| Poids | Non précisé |
| Connectivité | Non précisée |
| Alimentation | Non précisée |
| Type de haut-parleurs | Large bande et tweeter |
| Matériau du boîtier | Non précisé |
| Couleur | Non précisée |
| Portabilité | Poignées intégrées |
| Utilisation recommandée | Professionnelle |
| Accessoires inclus | Non précisés |
| Garantie | Non précisée |
| Fabricant | Non précisé |
FOIRE AUX QUESTIONS - WAVE EIGHT PIONEER DJ
Questions des utilisateurs sur WAVE EIGHT PIONEER DJ
0 question sur cet appareil. Repondez a celles que vous connaissez ou posez la votre.
Poser une nouvelle question sur cet appareil
Téléchargez la notice de votre Enceinte amplifiée au format PDF gratuitement ! Retrouvez votre notice WAVE EIGHT - PIONEER DJ et reprennez votre appareil électronique en main. Sur cette page sont publiés tous les documents nécessaires à l'utilisation de votre appareil WAVE EIGHT de la marque PIONEER DJ.
MODE D'EMPLOI WAVE EIGHT PIONEER DJ
Système d'enceintes audio professionnelles portables pour DJ wave-eight
alphatheta.com/support/
Pour consulter la FAQ et d'autres informations d'assistance concernant ce produit, visitez le site Web ci-dessus.
Comment lire ce manuel
- Merci d'avoir acheté ce produit AlphaTheta. Veillez à lire ce manuel, ainsi que le Guide de démarrage rapide et les Précautions à l'utilisation également fournis avec ce produit. Ces documents contiennent des informations importantes que vous devez comprendre avant d'utiliser ce produit.
- Les spécifications et la conception de ce produit peuvent être modifiées sans préavis.
Contenu du carton d'emballage
- Appareil principal × 1 Émetteur × 1 Câble d'alimentation × 1
- Câble de charge/transmission de l'émetteur × 1
- Câble RCA × 1 Guide de démarrage rapide × 1
- Précautions à l'utilisation × 1
- Garantie (pour certaines régions)
*1 Uniquement les produits en Europe.
Les informations de garantie sont inclues dans les Précautions à l'utilisation pour les produits destinés à l'Amérique du Nord et au Japon.
Haut-parleur

- Tweeter à dôme souple de 1 pouce
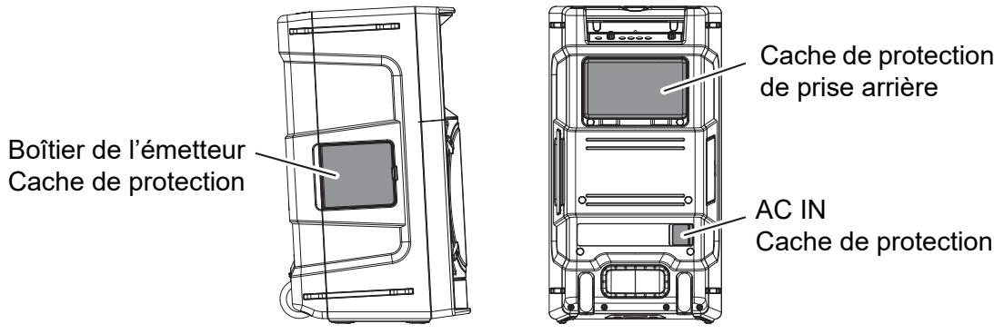
- Boîtier de l'émetteur, cache de protection (page 15, page 20)
- Woofer en fibre aramide de 8 pouces
- Indicateur de sans fil (vert/bleu)
Affiche l'état de la fonction sans fil du haut-parleur. S'allume et clignote en vert lors de l'utilisation de SonicLink, et en bleu lors de l'utilisation du Bluetooth.
- Indicateur d'alimentation (blanc/rouge)
S'allume en blanc lorsque l'appareil est mis sous tension. Clignote lorsque le niveau de batterie est faible. S'éteint lors de la mise hors tension. S'allume en rouge lorsque le niveau d'entrée est trop élevé et que le son est déformé. Si cela se produit, réduisez le niveau d'entrée.
- Poignée supérieure (page 12)
- Poignée téléscopique (page 12)
- Panneau de commande (page 4)
- Cache de protection de prise arrête (page 15)
- Poignée latérale (page 12)
- Prise AC IN, cache de protection (page 15)
Raccordez le câble d'alimentation, puis raccordez le câble à une prise de courant. Raccordez le câble d'alimentation lorsque tous les raccordements entre les périphériques ont été effectués. Veillez à utiliser le câble d'alimentation fourni.
- Canal bass-reflex La configuration Vortex Bass Accelerator permet une restitution des graves profondes à haute vitesse.
- Roulettes (page 12)
- Prise de montage sur pied de 35 mm (page 14)
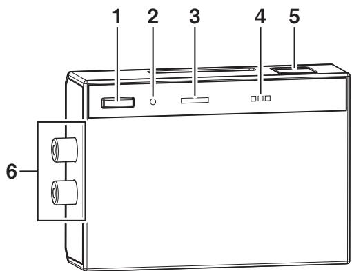
Panneau de commande

- Indicateur de batterie (blanc)
La série allumée/clignotante des LED indique le niveau de batterie restant. Les LED clignotent pendant la charge.
- Indicateur LIMIT (rouge)
S'allume en rouge lorsque l'écrêteur interne est engagé, ou lorsque le niveau d'entrée est trop élevé et que le son est déformé. Si cela se produit, baissez le volume du périphérique raccordé ou baissez le volume du haut-parleur.
- Indicateur du sélecteur de canal (blanc)
Indique le canal de lecture sélectionné. Les signaux d'entrée sont mélangés lorsque L et R sont tous deux allumés. Faites par conséquent attention au volume.
- Commutateur de mode SOUND (page 28)
Bascule entre les modes sonores.
- Touche du sélecteur de canal
Bascule entre les canaux de lecture de la source du son stéréo.
- Touche/indicateur Bluetooth (bleu) (page 23)
Contrôle le couplage avec un périphérique Bluetooth.
- Touche/indicateur de liaison sans fil (blanc) (page 20, page 26)
Raccorde plusieurs haut-parleurs.
- Touche/indicateur SonicLink (vert) (page 17)
Contrôle le couplage avec un émetteur SonicLink.
- Bouton VOLUME
Ajustez le volume.
- Touche/indicateur d'alimentation (blanc)
Mets l'appareil sous/hors tension. S'allume lorsque l'appareil est mis sous tension.
S'éteint lors de la mise hors tension.

Mises en garde
Le commutateur sur cet appareil ne coupe pas complètement l'alimentation provenant de la prise secteur. Le cordon d'alimentation servant de périphérique de déconnexion principal pour l'appareil, vous devrez le débrancher de la prise secteur pour couper complètement l'alimentation. Par conséquent, assurez-vous que l'appareil a été installé de sorte que le cordon d'alimentation puisse être facilement débranché de la prise secteur en cas d'accident. Pour éviter un risque d'incendie, le cordon d'alimentation doit également être débranché de la prise secteur lorsque l'appareil n'est pas utilisé pendant une période prolongée (par exemple, pendant vos congés).
Section de prise arrêtée

- Prise AUX IN
Une prise d'entrée asymétrique de type mini-fiche stéréo de 3,5 mm.
2. Commutateur POWER management (page 30)
Active/désactive la fonction de mise hors tension automatique.
Avertissement
La consommation électrique augmente lorsque le commutateur POWER MANAGEMENT est désactivé.
3. Boutons MIC EQ
Ajuste l'équilibre du son du microphone entre les basses (LOW) et les aigus (HI).
4. Bouton MIC ECHO
Ajuste l'écho appliqué au son du microphone.
5. Prise USB (page 29)
Fournit l'alimentation aux périphériques USB. 5 V/Max. 2,1 A
6. LINE OUT
Une prise de sortie XLR (symétrique). Émet le signal en cours de lecture. L'ajustement du volume et le changement de mode sonore ne sont pas possibles. Veillez à ne pas raccorder les câbles d'alimentation d'autres produits. Ne raccordez pas non plus d'appareils pouvant fournir une alimentation fantôme à cette prise.
7. Prise d'entrée MIC (jack TRS de 1/4")
Compatible uniquement avec les prises de téléphones (1/4"/6,35 mm). Lors de la connexion ou de la déconnexion d'un microphone, tournez le bouton MIC LEVEL vers le côté MIN (minimum) avant de connecter/déconnecter.
8. Bouton MIC LEVEL
Ajustez le niveau du son provenant de la prise d’entrée MIC. Le niveau d’amplification audio (gain) appliqué au son provenant du microphone varie considérablement en fonction du microphone. Ajustez le niveau du son pour qu’il convienne au microphone que vous utilisez.
9. Entre LINE IN 1, LINE IN 2
Compatible à la fois avec les fiches de prise XLR (symétrique) et TRS de 1/4'' (symétrique, phono). La disposition des fiches XLR est la suivante: N^ 1 = terre, N^ 2 = chaud, N^ 3 = froid.

1. Touche d'alimentation/de couplage
Utilisez-la lors de la mise sous/hors tension de l'émetteur et du couplage avec le haut-parleur.
2. Indicateur LED de connexion (blanc)
Indique l'état de l'alimentation et des fonctions SonicLink.
3. Indicateur LED d'entrée (vert/rouge)
Indique l'état du signal d'entrée. S'allume en rouge lorsque le niveau d'entrée est trop élevé et que le son est déformé. Si cela se produit, réduisez le niveau d'entrée.
4. LED d'indicateur de niveau de batterie (blanc)
La série allumée/clignotement des LED indique le niveau de batterie restant. Les LED clignotent pendant la charge.
5. Prise de charge/transmission
Raccordez le câble de charge/transmission fourni (USB Type-C) pour charger l'émetteur ou pour raccorder en série.
6. Prise RCA INPUT
Raccordez le câble RCA fourni.
Comment charger le haut-parleur
Veillez à charger le haut-parleur avant la première utilisation.
1 Raccordez à une prise de courant à l'aide du câble d'alimentation fourni.
L'indicateur de batterie s'allume/clignote lorsque la charge démarre. - La durée nécessaire pour charger complètement une batterie lorsqu'elle est déchargée est la suivante.
— Lorsque l'appareil est hors tension : 4 heures environ — Lorsque l'appareil est sous tension : 6 heures environ
- Avec une batterie complètement chargée, vous disposez d'une durée de lecture de 8 heures environ. (Parfois moins en fonction des conditions d'utilisation.)

Affichage d'indicateur de batterie (haut-parleur)
La série allumée/clignotant des LED indique le niveau de batterie restant.
| Niveau de batterie | Séquence LED | |
| 100 % à 80 % | 4 voyants allumés | ○○○○ |
| 80 % à 60 % | 3 voyants allumés | ○○○● |
| 60 % à 40 % | 2 voyants allumés | ○○●● |
| 40 % à 20 % | 1 voyant allumé | ○●●● |
| 20 % à 0 % | 1 voyant clignotant | ● ● ● |
| En charge 0 % à 40 % | 1 voyant clignotant | ● ● ● |
| En charge 40 % à 60 % | 1 voyant allumé, 1 voyant clignotant | ○ ● ● |
| En charge 60 % à 80 % | 2 voyants allumés, 1 voyant clignotant | ○ ○ ● |
| En charge 80 % à 99 % | 3 voyants allumés, 1 voyant clignotant | ○ ○ ○ |
| Chargée à 100 % | 4 voyants allumés* | ○ ○ ○○ |
- Lorsque la touche d'alimentation du haut-parleur est désactivée, les LED s'éteignent lorsque la batterie est complètement chargée.
1 Raccordez à une alimentation USB avec le câble de charge.
- Les LED d'indicateur de niveau de batterie s'allument/clignotent lorsque la charge démarre. La charge est terminée lorsque l'indicateur s'éteint.
- La durée nécessaire pour charger complètement une batterie lorsqu'elle est déchargée est la suivante.
— Lorsque l'appareil est hors tension : 4 heures environ Lorsque l'appareil est sous tension : 6 heures environ
- Avec une batterie complètement chargée, vous disposez d'une durée de lecture de 8 heures environ. (Parfois moins en fonction des conditions d'utilisation.)
LED d'indicateur de niveau de batterie

Remarques
- La plage de température de charge recommandée est de +10°C - +35°C (+50°F - +95°F).
- Le démarrage de la charge peut prendre un certain temps en fonction des conditions d'utilisation.
- Lors d'une charge pendant l'utilisation de l'émetteur, certains périphériques d'alimentation peuvent générer un bruit indésirable.
- Utilisez le câble de charge/communication fourni. Si un câble autre que le câble fourni est utilisé, faites très attention si des symptômes comme l'arrêt de la charge à mi-parcours ou une génération de chaleur anormale se produit.
- La durée de charge peut varier en raison de la température ambiantes et des conditions d'utilisation.
Précautions concernant le câble de charge
- N'utilise pas de connecteurs dont la prise est tordue.
- Lors de la connexion du connecteur, vérifie le sens de connexion et insérez-le directement.
- Ne laissez pas de liquide (tel que de la sueur ou de l'eau) ou des corps étrangers (poussière ou petits débris, métal) adhérer au connecteur.
LED d'indicateur de niveau de batterie (émetteur)
La série allumée/clignotement des LED indique le niveau de batterie restant.
| Niveau de batterie | Séquence LED | |
| 100 % à 70 % | 3 voyants allumés | □ □ □ |
| 70 % à 30 % | 2 voyants allumés | □ □ ■ |
| 30 % à 10 % | 1 voyant allumé | □ ■ ■ |
| 10 % à 0 % | 1 voyant clignotant | ■ ■ |
| En charge 0 % à 30 % | 1 voyant clignotant | ■ ■ |
| En charge 30 % à 70 % | 1 voyant allumé, 1 voyant clignotant | □ ■ |
| En charge 70 % à 99 % | 2 voyants allumés, 1 voyant clignotant | □ □ ■ |
| Chargée à 100 % | 3 voyants allumés → S'éteint* | □ □ □ → ■ ■ ■ |
- Lorsque la batterie est complètement chargée, les LED s'éteignent.
Batterie rechargeable intégrée
Pour éviter une dépréciation de la batterie rechargeable intégrée, veillez à charger la batterie une fois tous les six mois, même si vous n'utilisez pas le produit pendant une période prolongée.
Méthodes d'installation
La lecture du son provenant du haut-parleur peut être facilement affectée par des conditions d'installation légèrement différentes. Pour des performances optimales, choisissez soigneusement l'emplacement d'installation avant d'installer le haut-parleur.
- Pour éviter que le produit ne bascule, veillez à l'installer sur une zone robuste et de niveau.

Mises en garde
Lors de l'installation de l'appareil, assurez-vous de laisser de l'espace autour de l'appareil pour la ventilation afin d'améliorer le rayonnement thermique (au moins 15 cm en haut, 15 cm à l'arrière et 15 cm de chaque côté).
Ne pas laisser d'espace entre le haut-parleur et les murs ou les autres périphériques peut entraîner une accumulation de chaleur à l'intérieur du haut-parleur, ce qui peut dégrader les performances ou provoquer un dysfonctionnement.
Transport du haut-parleur
- Lors du transport ou de l'installation du haut-parleur, utilisez les poignées situées en haut et sur le côté.
- Avant de déplacer le haut-parleur, vérifie que tous les câbles ont été débranchés.

Poignée télescopique, roulettes
La poignée téléscopique et les roulettes facilitent le transport du haut-parleur.
Poignée téléscopique
Roulettes
- Appuyez sur la touche de la poignée télescopique située au milieu de la poignée télescopique lors du retrait de la poignée.
- Retirez directement et lentement la poignée jusqu'à entendre un déclic. Vérifiez que la poignée est bloquée en position avant de l'utiliser.
- Lors du rangement de la poignée téléscopique, appuyez sur la touche située au milieu de la poignée téléscopique et rangez la poignée.
Touche de la poignée téléscopique

Mises en garde
- Lors du relevage ou de l'abaissement de la poignée téléscopique, faites attention à ne pas coincer vos doigts dans les raccords de tuyaux ou entre la poignée et le haut-parleur.
- La poignée téléscopique est conçue pour être utilisée lors du transport du haut-parleur sur les roulettes. N'utilise pas la poignée téléscopique pour soulever le haut-parleur. Ceci peut entraîner des dommages. Lors du soulevement du haut-parleur, veillez à utiliser les poignées du produit situées en haut et sur le côté du haut-parleur.
- Ne touchez pas la poignée téléscopique lors du transport du haut-parleur. La poignée peut se déployer involontairement, ce qui peut provoquer un accident.
- Faites très attention aux personnes et objets à proximité lors du déplacement du haut-parleur sur les roulettes. Le haut-parleur peut basculer ou provoquer des accidents s'il n'est pas manipulé avec précaution.
- Faites attention à ce que le haut-parleur ne bascule pas lorsque vous relâchez la poignée télescopique après avoir déplacé le haut-parleur sur les roulettes.
- Veillez à ce que du sable ou de la poussière n'adhère pas, ou que des morceaux de tissu ne soient pas coincés dans les essieux des roulettes car cela peut entraîner un dysfonctionnement des roulettes.
- Ne touchez pas les roulettes immédiatement après les avoir utilisées. Cela peut entraîner des brûlures par la chaleur de frottement générae lors du déplacement des roulettes.
- ir les poignées du produit situées sur le haut et le côté du haut-parleur et à porter à la place.
Montage sur pied
Le haut-parleur est équipé d'une prise de montage sur pied de 35 mm de diamètre à sa base. Lors de l'utilisation d'un pied de haut-parleur (support), consultez les mises en garde suivantes et installez-le en toute sécurité.
Prise de montage sur pied

35 mm
Mises en garde
- L'installation doit être effectuée par un technicien professionnel. Une installation inappropriée peut entraîner un endommagement de l'équipement, voire des blessures.
- Lors de l'utilisation d'un pied de haut-parleur, installez-le dans un endroit stable.
- Lors du soulèvement du haut-parleur, accordez une attention suffisante à la sécurité tout au long de votre intervention. Effectuez l'installation à deux ou plus si nécessaire.
- Utilisez un pied de haut-parleur (support) de 35 mm de diamètre. Lors du montage du haut-parleur sur un pied de haut-parleur, veillez à ne pas faire tomber le pied sur le sol.
- Veillez à vérifier la capacité de charge et la méthode de fixation du pied de haut-parleur (support) que vous utilisez. Assurez-vous de l'absence de danger de basculement du pied.
- Ne poussez pas le haut-parleur après l'installation et n'appliquez pas une charge lourde sur ses côtés. Cela peut entraîner un basculement du haut-parleur et blesser quelqu'un ou endommager le haut-parleur.
- Pour éviter que les personnes ne trébuchent ou que le haut-parleur ne bascule, éloignez les câbles en les regroupant à l'aide d'un ruban ou de serre-câbles lors de l'installation du haut-parleur.
Performances d'étanchéité
- Le haut-parleur dispose d'une imperméabilité équivalente à IPX4 tel que spécifié dans la norme CEI 60529.
- Pour garantir de bonnes performances d'étanchéité, le haut-parleur doit être installé à la verticale avec les caches de protection situés à l'arrière et sur les côtés correctement fermés.
- Consultez les mises en garde suivantes et veillez à utiliser le haut-parleur de manière appropriée.


Mises en garde
- Le haut-parleur n'est pas complètement étanche. Ne le laissez pas tomber volontairement dans l'eau et ne l'utilisez pas dans l'eau.
- Le haut-parleur ne peut pas offrir des performances d'étanchéité appropriées s'il est installé à l'horizontal. S'il est installé dans cette configuration, ne laissez pas le haut-parleur dans un environnement où il peut être mouillé. De l'eau peut pénétrer à l'intérieur du produit et provoquer un dysfonctionnement.
- Les prises du haut-parleur (AC IN, de charge USB, d'entrée audio et d'entrée MIC) et les accessoires ne sont pas étanches. N'exposez aucune des prises à de l'eau lors de leur utilisation.
- L'émetteur n'est pas étanche. Ne l'exposez pas à de l'eau. Lors de l'utilisation du haut-parleur alors que l'émetteur est rangé à l'intérieur de celui-ci, fermez correctement les caches de protection situés sur le haut-parleur.
- Ne raccordez aucun câble lorsque le produit est mouillé. Séchez les connecteurs avant de brancher à l'alimentation secteur.
Mise sous tension
1 Appuyez de manière prolongée sur la touche d'alimentation pendant environ 1 seconde.
Mise hors tension
1. Appuyez de manière prolongée sur la touche d'alimentation pendant environ 2 secondes.
Séquence d'affichage de l'indicateur d'alimentation
| Action | Séquence LED | |
| Mise hors tension | Éteint | |
| Démarrage ou arrêt en cours | Clignote lentement | □ □ □ … |
| Mise sous tension | Allumé | □ … |
Écoute de musique
- Lors du raccordement ou du changement d'un périphérique, veillez à couper l'alimentation et à débrancher le câble d'alimentation de la prise de courant.
- Lisez également le mode d'emploi du périphérique que vous pouvez raccorder.
- Raccordez le câble d'alimentation lorsque tous les raccordements entre les périphériques ont été effectués. Veillez à utiliser le câble d'alimentation fourni lors du raccordement à une alimentation.
- Vous ne pouvez pas effectuer les connexions SonicLink et Bluetooth simultanément. Une seule des deux sera activée.
- L'entrée AUX ne sera pas émise lorsqu'une connexion SonicLink ou Bluetooth est active. Une seule source sonore peut être lue à la fois.
- Les entrées LINE IN 1, LINE IN 2 et MIC seront toujours transmises, quel que soit la source sonore parmi celles ci-dessus.
- Le canal de lecture des signaux d'entrée stéreo provenant d'AUX, SonicLink ou Bluetooth change en fonction du réglage du sélecteur de canal.
- Les signaux d’entrée stéréo sont mélangés lorsque les canaux L et R sont tous deux sélectionnés. Faites par conséquent attention au volume.
Préparer l'émetteur
1 Approchez l'émetteur à environ 1 m du haut-parleur. 2 Raccordez l'émetteur à la prise de sortie RCA d'un périphérique DJ (tel qu'une table de mixage DJ ou un contrôleur DJ) à l'aide du câble RCA fourni. 3 Appuyez de manière prolongée sur la touche d'alimentation / de couplage de l'émetteur pendant 5 secondes pour mettre sous tension et passer en mode de couplage.

- Lorsque l'émetteur passe en mode de couplage, l'indicateur LED de connexion clignote deux fois à plusieurs reprises.
Séquence d'affichage de l'indicateur LED de connexion de l'émetteur
La série allumée/clignotante de la LED indique l'état de connexion sans fil de l'émetteur.
| Action | Séquence LED | |
| Mise hors tension | Éteint | |
| État d'attente de connexion | Clignote lentement | □ □ □ □ … |
| Mode de couplage | Clignote deux fois à plusieurs reprises | □ □ □ □ □ □ … |
| Connexion établie | Allumé | □ … |
Affichage de l'indicateur LED d'entrée de l'émetteur
L'état allumé change en fonction du niveau du signal d'entrée.
| Action | Séquence LED | |
| Pas d'entrée | Éteint | |
| Entrée de signal | Allumé en vert | |
| Le niveau d'entrée de signal est trop élevé | Allumé en rouge | |
Comment mettre l'émetteur hors tension
Appuyez de manière prolongée sur la touche d'alimentation/de couplage pendant environ 3 secondes.
2 Appuyez de manière prolongée sur la touche sonickink pendant environ 3 secondes.
- Lorsque le haut-parleur passe en mode de couplage, l'indicateur clignote deux fois à plusieurs reprises.
- Lorsque l'indicateur clignote lentement, le haut-parleur est à l'état d'attente de connexion. Appuyez de nouveau de manière prolongée sur la touche SonicLink pendant 3 secondes pour passer en mode de couplage.
- Lors de l'utilisation d'une connexion Bluetooth, la connexion Bluetooth est désactivée et le haut-parleur passé en mode SonicLink.

Séquence d'affichage de l'indicateur sonicklink du haut-parleur
La séquence allumé/clignotement de l'indicateur indique l'état de la fonction SonicLink.
| Action | Séquence LED | ||||
| État d'attente de connexion | Clignote lentement | □ | □ | □ | □ … |
| Mode de couplage | Clignote deux fois à plusieurs reprises | □□ | □□ | □□ | □□ … |
| Connexion établie | Allumé | □ | … | ||
3 Vérifiez la connexion avec l'émetteur.
L'indicateur LED de connexion clignote jusqu'à ce que la connexion soit établie. Lorsque le couplage est terminé, l'indicateur s'allume.
Remarques
- Lorsque la connexion avec un périphérique n'est pas établie au bout de 3 minutes environ, le mode de couplage est annulé et l'indicateur s'éteint. Si cela se produit, recommencez le couplage.
- Une fois la connexion établie, du son peut être transmis à un volume très élevé lors de la première lecture. Nous recommandons de baisser le volume du haut-parleur avant la lecture.
- Pour coupler à un autre émetteur, désactivez l'émetteur actuellement connecté ou déconnectez-le avant le couplage.
- Appuyer sur la touche sans connexion à un émetteur peut amener le haut-parleur à tenter de reconnecter le dernier émetteur connecté.
- Si le haut-parleur est proche d'un émetteur auquel il était connecté précédemment, il peut se connecter automatiquement à l'émetteur. Pour connecter à un autre émetteur, mettez l'émetteur actuellement connecté hors tension, ou appuyez de manière prolongée sur la touche SonicLink et procédez de nouveau au couplage.
Écoute de musique via sonicklink
Vous pouvez utiliser ce ctton sans fil faible latence pour écouter de la musique.
1 Connectez l'émetteur au haut-parleur (page 17). 2 Jouez de la musique sur l'appareil DJ connecté à l'émetteur.
Le son est lu à partir du haut-parleur.
Connexion en série sonicklink
Plusieurs appareils peuvent être connectés en série à l'aide de SonicLink.
- Cette fonction ne fonctionne pas avec des câbles autres que le câble fourni. Veillez à utiliser le câble fourni.

Comment ranger
- Branchez le câble USB fourni à la prise USB de rangement et à la prise USB de l'émetteur.
- Tout en appuyant sur le support dans la section de rangement, engagez les encoches supérieure et inférieure de l'émetteur dans les crochets supérieur et inférieur du support.
- Rangez le câble USB comme indiqué dans l'illustration et fermez le cache de protection.
Section de rangement de l'émetteur Cache de protection

2 Utilisez un câble pour raccorder le périphérique source (par exemple, un contrôleur DJ) à l'émetteur que vous n'avez pas rangé dans un haut-parleur.
3 Appuyez de manière prolongée sur la touche de couplage de l'émetteur non rangé pendant environ 5 secondes pour passer en mode de couplage. 4 Appuyez de manière prolongée sur la touche SonicLink du premier haut-parleur pendant 3 secondes et connectez à l'émetteur non rangé. 5 Sur le haut-parleur connecté à l'émetteur, appuyez de manière prolongée sur la touche de liaison sans fil pendant 3 secondes.
- Lorsque le haut-parleur passe à l'état d'attente de connexion, la touche de liaison sans fil clignote.
Touche/indicateur de liaison sans fil
Séquence d'affichage de l'indicateur de liaison sans fil
La séquence allumé/clignotant de l'indicateur indique l'état de la fonction de liaison sans fil.
| Action | Séquence LED | ||||
| État d'attente de connexion | Clignote lentement | □ | □ | □ | □ … |
| Mode de couplage | Clignote deux fois à plusieurs reprises | □□ | □□ | □□ | □□ … |
| Connexion établie | Allumé | □ | … | ||
Mettez le deuxième haut-parleur sous tension, appuyez de manière prolongée sur la touche SonicLink du haut-parleur pendant environ 3 secondes, et connectez au premier émetteur.
- Le deuxième haut-parleur se connecte via l'émetteur rangé dans le premier haut-parleur.
- Lorsque la connexion est établie, l'indicateur de liaison sans fil s'allume.
Remarques
- Répétez la même procédure pour raccorder en série jusqu'à 4 appareils.
- La latence est supérieure lors de l'utilisation de raccordements en série SonicLink et de l'utilisation d'un haut-parleur indépendant.
Préparatifs
- Approchez le périphérique Bluetooth à environ 1 m du haut-parleur.
- Si nécessaire, lisez le mode d'emploi du périphérique que vous souhaitez connecter pour savoir comment l'utiliser.
Coupler et connecter à un périphérique bluetooth
1 Mettez le haut-parleur sous tension. 2 Appuyez de manière prolongée sur la touche Bluetooth pendant environ 3 secondes.
- Lorsque le haut-parleur est passé en mode de couplage, l'indicateur clignote deux fois à plusieurs reprises.
- Lorsque l'indicateur clignote lentement, le haut-parleur est à l'état d'atten
- Lors de l'utilisation d'une connexion SonicLink, la connexion SonicLink est désactivée et le haut-parleur passé en mode de connexion Bluetooth.
Touche/indicateur Bluetooth
Séquence d'affichage de l'indicateur bluetooth
La séquence allumé/clignotement de l'indicateur indique l'état de la fonction Bluetooth.
| Action | Séquence LED | ||||
| État d'attente de connexion | Clignote lentement | □ □ □ □ … | |||
| Mode de couplage | Clignote deux fois à plusieurs reprises | □□ □□ □□ □□ … | |||
| Connexion établie | Allumé | □ … | |||
4 Dans le menu bluetooth du périphérique bluetooth, sélectionnez le nom de périphérique [wave-eight]
![PIONEER DJ WAVE EIGHT - Dans le menu bluetooth du périphérique bluetooth, sélectionnez le nom de périphérique [wave-eight] - 1](/content/2025/01/330066/images/f9920caafe02a0372ee28c8e13536404e84a28e80d23f7d8c30e8423d57ef8a9.jpg)
- Dans certains cas, l'adresse MAC “□□□□□” apparait avant l'affichage de [WAVE-EIGHT] (“□” est un numéro unique affché par le péripérique).
- Si la saisie d'une clé d'accès est requise, saisissez la clé d'accès "0000" (quatre zéros).
- Pour obtenir des détails, lisez le mode d'emploi de votre périphérique Bluetooth.
5 Vérifiez la connexion au périphérique bluetooth.
- L'indicateur LED de connexion clignote jusqu'à ce que le couplage avec l'émetteur soit terminé. Lorsque le couplage est terminé, l'indicateur LED de connexion s'allume.
Remarques
- Les connexions Bluetooth ne sont pas des connexions sans fil à faible latence. Si vous rencontrez des problèmes de latence, utilisez une connexion SonicLink à la place.
- Une fois la connexion établie, du son peut être transmis à un volume très élevé lors de la première lecture. Nous recommandons de baisser le volume du haut-parleur avant la lecture.
- Lorsque la connexion avec un périphérique n'est pas établie au bout de 3 minutes environ, le mode de couplage est annulé et l'indicateur s'éteint. Si cela se produit, recommencez le couplage.
- Les périphériques Bluetooth qui ont déjà été coupés peuvent être connectés à l'aide d'une procédure de connexion sur le périphérique Bluetooth si le haut-parleur est sous tension et que le Bluetooth est activé.
- Certains périphériques Bluetooth peuvent ne pas être capables de se connecter au haut-parleur.
- Pour coupler à un autre périphérique Bluetooth, désactivez la fonction Bluetooth sur le périphérique Bluetooth actuellement connecté, ou déconnectez l'appareil, puis couplez l'autre périphérique.
- Ce haut-parleur peut stocker les informations de couplage de 8 périphériques maximum. Si la touche de couplage est actionnée lorsque le haut-parleur n'est pas connecté à un périphérique Bluetooth, le haut-parleur tentera de se connecter au dernier périphérique Bluetooth auquel il a été couplé.
- Si le nombre maximum de périphériques est couplé, le couplage du périphérique le plus ancien sera remplacé chaque fois que vous en couplerez un nouveau. Vous devrez coupler de nouveau ces périphériques si vous souhaitez les utiliser.
- Si le haut-parleur est proche d'un périphérique Bluetooth auquel il a été connecté précédemment, il peut se connecter automatiquement lorsque la touche Bluetooth sur le haut-parleur est actionnée. Si vous souhaitez déconnecter, désactivez la fonction Bluetooth ou annulez le couplage sur le périphérique connecté.
Écoute de musique via bluetooth
1. Connectez le périphérique Bluetooth au haut-parleur (page 23). 2. Choisissez la musique ou la vidéo que vous souhaitez écouter à partir du périphérique Bluetooth.
Le son est lu à partir du haut-parleur.
Connexion TWS
La connexion TWS permet de connecter deux haut-parleurs.

1 Avec le bluetooth activé (l'indicateur bluetooth est allumé ou clignote), appuyez sur la touche de liaison sans fil sur chaque haut-parleur pendant 1 seconde.
Lorsque le haut-parleur passé à l'état d'attente de connexion TWS, l'indicateur de liaison sans fil clignote.
2 Vérifiez la connexion.
Lorsque la connexion au deuxième haut-parleur est établie, l'indicateur de liaison sans fil s'allume.
Touche/indicateur de liaison sans fil
Séquence d'affichage de l'indicateur de liaison sans fil
La série allumé/clignotement de l'indicateur indique l'état de la fonction de liaison sans fil.
| Action | Séquence LED | |
| État d'attente de connexion TWS | Clignote lentement | □ □ □ □ … |
| Connexion établie | Allumé | □ … |
Remarques
- Vérifiez que les haut-parleurs sont placés à moins de 1 m l'un de l'autre.
- Configurez les réglages du deuxième haut-parleur dans la minute qui suit. Si plus de 1 minute s'est écoulée, le premier haut-parleur sort de l'état d'attente de connexion TWS.
- Pour annuler la connexion TWS, mettez le haut-parleur hors tension, ou appuyez de manière prolongée sur la touche de liaison sans fil pendant au moins 3 secondes.
- Le son provenant du canal sélectionné avec le sélecteur de canal est émis par le haut-parleur. Lors de l'utilisation de la stéréo, configuez le réglage du sélecteur de canal de chaque haut-parleur.

1 Connectez un microphone externe à la prise MIC.
- La prise est compatible uniquement avec les prises de téléphones (1/4''/6,35 mm).
- Lors de la connexion ou de la déconnexion d’un microphone, tournez le bouton MIC LEVEL vers le côté MIN (minimum) avant de connecter/déconnecter.
Changement de mode sonore
Ce haut-parleur est doté de 6 modes sonores. Vous pouvez utiliser le commutateur de mode sonore pour changer le mode en fonction de vos préférences.

- MUSIC : Augmente la présence de basses fréquences pour la restitution de musique dansante lors d'événements comme dans des clubs. (Réglage d'usine par défaut)
- MUSIC (low cut): Un mode qui utilise le son de style MUSIC lorsque le haut-parleur est utilisé avec un caisson de graves.
- FLAT: Une restitution fidèle du son d'entrée.
- FLAT (low cut) : Un mode qui utilise le son de style FLAT lorsque le haut-parleur est utilisé avec un caisson de graves.
- SPEECH : Augmente la bande de fréquences vocales, permettant d'entendre plus facilement les voix lors de discours, etc.
- SUBWOOFER: Découpe des hautes fréquences et lecture en tant que caisson des graves, combiné à MUSIC (low cut) ou FLAT (low cut).
Alimentation de périphériques USB
Vous pouvez alimenter vos périphériques USB en les raccordant à la prise USB du haut-parleur.

Remarques
- L'alimentation maximale vers la prise USB est de 5 V, 2,1 A. Elle peut toutefois être limitée par des conditions comme le volume sonore de l'appareil, la température interne et le niveau de batterie.
- Lorsque l'alimentation du haut-parleur est coupée, l'alimentation vers la prise USB l'est aussi.
Fonction de gestion d'énergie
L'appareil est mis automatiquement hors tension en l'absence de signal d'entrée ou d'opération pendant une durée donnée (environ 20 minutes).
- L'indicateur d'alimentation s'éteint lorsque l'alimentation est coupée.
- Si l'alimentation est coupée alors que le haut-parleur est connecté sans fil, la connexion sans fil est annulée.
- Pour reprendre à partir de l'état hors tension, appuyez sur le bouton d'alimentation pour remettre sous tension.
- Pour désactiver la fonction de gestion d'énergie, désactivez le commutateur [POWER MANAGEMENT].

Réinitialisation
Si vous constatez que vous ne pouvez pas utiliser ce produit, vous pouvez le réinitialiser.
1 Lorsque l'appareil est sous tension, appuyez de manière prolongée sur la touche bluetooth et la touche sonic link simultanément pendant au moins 5 secondes, puis appuyez sur la touche d'alimentation.
Les touches Bluetooth et Sonic Link clignotent pendant quelques secondes et l'appareil est mis hors tension une fois la réinitialisation terminée.
- Toutes les opérations précédentes seront réinitialisées. (Les informations sur les périphériques couplés seront également supprimées.)
En cas de panne
Si vous pensez que l'appareil ne fonctionne pas correctement, consultez les informations ci-dessous et reportez-vous à la [FAQ] du WAVE-EIGHT à l'URL suivante.
- Examinez les périphériques raccordés à l'appareil.
- L'appareil peut de nouveau fonctionner correctement en le débranchant puis le rebranchant.
Si le problème persiste, lisez les Précautions à l'utilisation et consultez une société de service/agréée ou votre revendeur.
De l'électricité statique et d'autres facteurs externes peuvent amener le haut-parleur à ne plus fonctionner normalement. Dans ce cas, l'appareil peut de nouveau fonctionner correctement en le mettant hors tension puis sous tension.
Généralités
Le haut-parleur ne se charge pas.
- Vérifiez que le câ L'appareil ne se met pas sous tension.
- Vérifiez que le cable d'alimentation est correctement raccordé au haut-parleur et à la prise de courant.
- Le niveau de batterie de la batterie rechargeable intégrée est peut-être faible. Essayez de charger la batterie.
L'appareil se met automatiquement hors tension.
- Appuyez sur la touche d'alimentation pour mettre l'appareil sous tension.
- La fonction de gestion d'énergie a peut-être été activée. L'appareil est mis automatiquement hors tension en l'absence de signal d'entrée ou d'opération pendant une durée donnée (environ 20 minutes). Reportez-vous à la page 30.
Le son du périphérique connecté n'est pas émis, le volume est faible, l'audio est coupé, ou le son est brouillé ou déformé.
- Vérifiez que le haut-parleur et le périphérique connecté sont tous les deux allumés.
- Vérifiez les réglages du volume sur le haut-parleur et le périphérique connecté.
- Vérifiez si le périphérique connecté lit de l'audio.
- Tournez le bouton [VOLUME] et ajustez le volume.
- Vérifiez si le câble de connexion est correctement raccordé.
- Essuyez la saleté sur les prises et les fiches avant de raccorder.
Lorsque vous souhaitez utiliser sonicklink
Impossible de connecter via SonicLink, aucun son n'est émis, le volume est faible, l'audio est coupé, ou le son est brouillé ou déformé.
- Vérifiez si SonicLink est activé (l'indicateur SonicLink est allumé/clignote).
- Si le couplage avec l'émetteur n'a pas été effectué correctement, mettez le haut-parleur et l'émetteur hors tension, remettez les deux périphériques sous tension, puis effectuez de nouveau le couplage.
- Si un périphérique (comme un four à micro-ondes, un WLAN sans fil ou un autre émetteur) à proximité émet des ondes électromagnétiques dans la bande de fréquence 2,4 GHz, éloignez-le du haut-parleur, ou arrêtez d'utiliser ce périphérique.
- Si l'émetteur est loin du haut-parleur, rapprochez-le du haut-parleur. S'ils sont séparés par un mur ou un autre obstacle, rapprochez le haut-parleur et l'émetteur connecté l'un de l'autre. Vous pouvez également déplacer l'émetteur et le haut-parleur.
Lorsque vous souhaitez utiliser bluetooth
Impossible de connecter via Bluetooth, aucun son n'est émis, le volume est faible, l'audio est coupé, ou le son est brouillé ou déformé.
- Vérifiez que le Bluetooth est activé (l'indicateur Bluetooth est allumé/clignote).
- Vérifiez que le haut-parleur et le périhérique couplé sont tous les deux allumés.
- Vérifiez que la fonction Bluetooth sur le périphérique couplé est activée.
- Si le couplage avec le périphérique Bluetooth n'a pas été effectué correctement, mettez le haut-parleur et le périphérique Bluetooth hors tension, remettez les deux périphériques sous tension, puis effectuez de nouveau le couplage.
- Si un périphérique ( comme un four à micro-ondes, un LAN sans fil ou un autre périphérique Bluetooth) à proximé émet des ondes électromagnétiques dans la bande de fréquence 2,4 GHz, éloignez-le du haut-parleur, ou arrêtez d'utiliser ce périphérique.
- Si le périphérique Bluetooth est loin du haut-parleur, rapprochez-le du haut-parleur. S'ils sont séparés par un mur ou un autre obstacle, rapprochez le haut-parleur et le périphérique Bluetooth connecté l'un de l'autre. Vous pouvez également déplacer le périphérique Bluetooth et le haut-parleur.
- Utilisez un périphérique Bluetooth compatible A2DP.
- Vérifiez si le périphérique couplé lit de la musique. Arrêtez toutes les applications autres que l'application de lecture de musique sur le périphérique Bluetooth.
Généralités
Tensions acceptées
110 V - 240 V CA, 50 Hz/60 Hz, batterie lithium-ion rechargeable intégrée
Consommation électrique 100 W
Durée de lecture*1 Environ 8 heures
Durée de charge ^*2 (+25^(+77^))
Environ 4 heures (état hors tension), environ 6 heures (état sous tension)
Consommation électrique en mode hors tension 0,3 W
Plage de température de charge recommandée*4 +10 ^ C - + 35^ (+50^ - + 95^)
Température de fonctionnement autorisée +5 °C - +35 °C (+41 °F - +95 °F)
Dimensions extérieures (L× H× P) 300 x 554 x 337 mm (11,8" x 21,8" x 13,3")
1 Parfois moins en fonction des conditions d'utilisation. 2 Temps nécessaire pour une charge complète à partir d'une batterie vide. Le temps de charge peut varier en fonction des conditions d'utilisation. 3 Lorsque la batterie intégrée est complètement chargée. 4 Le démarrage de la charge peut prendre un certain temps en fonction des conditions d'utilisation.
Section haut-parleur
Type. Haut-parleur actif bass-reflex bidirectionnel
Configuration du haut-parleur. Woofer de 8" + tweeter à dôme souple de 1"
Section amplificateur
Sortie de l'amplificateur 110 W
Prises d'entrée : Jack combinée XLR/TRS × 2, jack TRS de 1/4'' × 1, mini-jack stereo de 3,5 mm × 1
Prise de sortie XLR × 1
DC OUT 1 USB Type-C (5 V/Max. 2,1 A)
DC OUT 2 (pour la connexion en série de l'émetteur).......... USB Type-C (5 V/Max. 500 mA)
Bluetooth
Méthode de transmission............. Bluetooth standard ver. 5.1
Distance de transmission maximale Environ 10 mètres sans obstruction
Bande de fréquence utilisée 2,4 GHz (2,4000 GHz - 2,4835 GHz)
Profils Bluetooth compatibles. A2DP, AVRCP
Codes compatibles. SBC, AAC
Soniclink
Distance de transmission maximale Environ 15 mètres sans obstruction
Bande de fréquence utilisée 2,4 GHz (2,4000 GHz - 2,4835 GHz)
Les distances de transmission sont données à titre indicatif. La distance de transmission peut changer en fonction de l'environnement.
- Les spécifications et la conception de ce produit peuvent être modifiées sans préavis.
Marques commerciales et marques déposées
- La marque et les logos Bluetooth®/MD sont des marques déposées appartenant à Bluetooth SIG, Inc. et toute utilisation de ces marques par AlphaTheta Corporation est effectuée sous licence. Les autres marques commerciales et noms commerciaux appartiennent à leurs propriétaires respectifs.
- Les autres noms de produits, de technologies, de sociétés, etc., mentionnés ici sont des marques commerciales ou des marques déposées de leurs détenteurs respectifs.
© 2023 AlphaTheta Corporation. Tous droits réservés.
Notice Facile