MODE D'EMPLOI CHERRY 21 JANOME
Pour utiliser un apparéil électrique, il faut toujours respecter les consignes de sécurité fondamentales, notamment les consignes suivantes:
Cette machine à coudre a été conçue et fabriquée pour l'usage domestique uniquement.
Avant d'utiliser cet appareil, lisez toutes ces instructions.
DANGER: Pour éviter tout risque de décharge électrique:
- Il ne faut jamais laisser un apparéil sans surveillance lorsqu'il est branché. Il faut toujours débrancher cette machine à coudre de la prise électrique murale, après son'utilisation ou avant de la nettoyer.
AVENTISSEMENT:
Pour réduire tout risque de brûlures, d'incendie, de choc électrique de blessures corporelles:
- Cette machine ne doit pas etre utilise comme un jouet. Une attention particuliere est requise lorsque cette machine est utilise par des enfants ou en leur presence.
- Utilisez cette machine uniquement pour les utilisations prévues, telles qu'elles sont décrites dans le manuel de la machine à coudre.
Utilisez uniquement les accessoires commandés par le fabricant tels qu'ils sont indiqués dans le manuel de la machine à coudre.
- Il ne faut jamais faire fonctionner cette machine à coudre si le cordon d'alimentation ou la prise ont été endommagés, s'il y a un problème de fonctionnement, si elle est tombée ou a été abimée, ou si elle est tombée dans l'eau.
- Il ne faut jamais faire fonctionner cette machine si les ouvertures d'aération sont obstruées. Veiller à ce que les ouvertures de ventilation de la machine et de la pédale ne soient pas enconnbées de résidus, de poussières et de particules textiles.
- Il ne faut jamais laisser tomber ou introduire d'objet dans les ouvertures de la machine.
- Il ne faut pas utiliser la machine en plein air. Toujours ranger la machine à l'intérieur.
- Il ne faut pas l'utiliser dans un local ou sont utilisés des aérosols ou dans un local où l'oxygène est distribué artificiellement.
- Pour l'éteindre,mettre tous les interrupteurs sur la position Arrêt («O»),puis retarder la prise du secteur.
- Ne débranchez pas la machine en tirant sur le cordon d'alimentation. Pour la débrancher, saisissez la prise, et non pas le cordon d'alimentation.
- Veillez à éloigner les doigs des pieces en mouvement, en particulier de l'aiguille et des lames de découvertage de la machine à coudre.
- Toutjours utilise la plaque a aiguille adequate. Une mauvaise plaque peut casser l'aiguille.
- N'utilisez pas d'iguilles tordues.
- Ne pas tirer ou pousser le tissu en cousant. Cela pourrait devier laiguille et la rompre.
- Eteindre cette machine à coudre (mettre l'interrupteur sur «O») avant d'effectuer des réglages à proximité de l'aiguille, tels que l'enfilage, le changement d'aiguille, la mise en place de la canette ou le changement de pied-de-biche, etc.
- Toujours débrancher cette machine à coudre de la prise électrique avant de retarder les plaques de protection, de la graisser, ou avant d'effectuer tout autres réglages mentionnés dans le manuel d'utilisation.
CONSERVEZ CETTE NOTICE
Pour l'Europe uniquement:
Cet apparéil peut être utilisé par des enfants âgés d'au moins 8 ans et par des personnes dont les capacité physiques, sensorielles ou mentalles sont réduites ou manquants d'expérience et de connaissances, seulement si elles ont été formées et encadrées à l'utilisation de l' apparéil en toute sécurité et si elles comprendnent les risques impliqués. Les enfants ne doivent pas journé avec l' apparéil. Les enfants ne doivent pas effectuer le nettoyage et l'entretien par l'utilisateur sans surveillance.
Hors Europe (excepté les États-unis et le Canada):
Cette machine n'est pas censée et utilise par des personnes (y compris des enfants) ayant des capacités physiques, sensorielles ou mentales réduites ou un manque d'expérience et de connaissances, sauf si elles sont sous surveillance ou ont été instruées sur l'utilisation de la machine par une personne responsable de leur sécurité. Les enfants doivent être surveillés afin de vérifier qu'ils ne jouent pas avec la machine.

Selon la législation nationale ce produit doit être recyclé en toute sécurité en accord avec les règles prévues pour les apparciels électriques ou électroniques. En cas de doute contactez votre revendeur de machine à coudre. (union Européenne seulement)
TABLES DES MATIÈRES
DÉNOMINATION DES PIEÇES
Identification des pieces 2
Accessoires standard 3
Table dextension 3
Couture avec le bras libre 3
Boite à accessoires 3
SE PREPARER À COUDRE
Brancher la machine. 4
Contrôler la vitesse de couture 4
Relever et abaisser le pied de biche .5
Changement de pied de biche 5
Retrait et installation du porte-pied 5
Bouton de marche arriere 6
Comment descendre ou monter les griffes d'entrainment 6
Changer laiguille 7
Tableau des tissus, fils et aiguilles. 7
Régler les broches porte-bobines 8
Retirer ou replacer le boitier canette 8
Bobinage d'une canette de fil 9
Enfilage de la machine 10
Enfile-aiguille intégré 10
Comment faire monter le fil de la canette. 11
Régler la tension du fil de l'aiguille 11
Sélecteur de point 12
Sélecteur de la longueur du point 12
COUTURE DE BASE
Utilisation du point droit 13
Changer la direction de la couture. 13
Utilisation des guides de couture 13
Zig-zag simple 14
COUTURE FONCTIONNELLE
Surfilage 14
Zig-zag triple pour tissus extensibles 16
Pose des boutons 17
Boutonnières 18
Boutonnières gansées 19
Coudre des fermétures à glissière 20
Ourlet invisible 21
COUTURE DECORATIVE
Ourlet coquille 22
Smocks 22
Applique 23
Points extensibles decoratifs 23
ENTRETIEN DE VOTRE MACHINE
Démontage et remontage du crochet......24
Nettoyage des griffes d'entrainment 24
Dépannage 25



DÉNOMINATION DES PIEÇES
Identification des pieces
① Bouton de marche arrêté
② Sélecteur de la longueur du point
③ Frein du dévidoir de canette
④ Axe de dévidoir
⑤ Broches porte bobines
⑥ Sélecteur du point
⑦ Guide fil supérieur
⑧ Guide du fil
(9) Levier releveur de fil
10 Bouton sélecteur de la tension du fil
⑪ Plaque frontale
⑫ Coupe-fil
⑬ Enfile-aiguille
14 Plaque à aiguille
15 Table d'extension
16 Portepied
⑦ Vis de serre aiguille
18 Aiguille
Pied-de-biche
20 Poignée de transport
② Volant
2 Interrupteur de courant
23 Prise d'alimentation de la machine
24 Bras libre
25 Releveur du pied de biche
REMARQUE:
Pour transporter la machine à coudre, tenez-la poignée de transport avec votre main, et supportez la machine avec l'autre main.
REMARQUE:
La conception et les caractéristiques techniques sont sujettes à modification sans préavis.

①

②

③

(4)

(5)

(6)

⑦
Accessoires standard
① Piedfermetureaglissiere
② Pied boutonnières
③ Pied pour ourlet invisible
④ Canettes (x 3)
⑤ Jeu d'aiguilles
⑥ Découd-vite/Ouvre-boutonnière
⑦ Petit tournevis



Table d'extension
La table d'extension ajoute de la surface pour coudre et peut être facilement enlevée.
Pour remetre la table:
Poussez la table d'extension jusqu'à ce que son taquet se place dans la machine.
Couture avec le bras libre
Le bras libre permet de coudre les manches, les ceintures, les jambes de pantalons et autres vêtements cylindriques.
Il est également idéal pour reprimer les chaussettes, les genoux de pantalons et les coudes de chemises.
Boîte à accessoires
Les accessoires de couture sont logés dans cette boîte.

SE PREPARER À COUDRE
Brancher la machine
① Prise électrique
② Interrupteur de courant
③ Prise de courant
④ Prise d'alimentation de la machine
⑤ Fiche machine du cordon électrique
Avant de brancher le cordon d'alimentation, assurez-vous que la tension et la fréquence indiquées sur la machine sont conformes à votre installation électrique.
- Tout d'abord, éteignez la machine (Basculez l'interrupteur ② sur OFF).
- Ensuite, branchez la fiche machine du cordon électrique ⑤ sur la prise de la machine ④.
- Connectez la prise électrique ① à la prise de courant ③.
- Appuyez sur l'interrupteur ② pourmettre lamachinemous tension et allumerl'ampouled'éclairage.
Les premières fois que vous utilisez votre machine
Les premières fois que vous utilisez votre machine, placez une chute de tissu sous le pied presseur et faites fonctionner la machine avec filpendant quelques minutes. Essuyez les traces d'huile qui pourrait se produit.
Consignes de sécurité
- Pendant la couture, gardez toujours les yeux sur la couture en cours et ne touchez aucune des parties mobiles, telles que le levier releveur du fil, le volant ou l'aiguille.
-
Eteignez et débranchez systématiquement la machine de la prise de courant:
-
lorsque vous laissez la machine sans surveillance.
- lorsque vous fixez ou retirez des parties détachables.
-
lorsque vous nettoyez la machine.
-
Ne placez rien sur la pédale de contrôle.

Contrôler la vitesse de couture
On change la vitesse de couture à l'aide de la pédale de contrôle. Plus vous appuyez sur la pédale, plus la machine va vite.
- La pédale incluse peut être différente de l'illustration.






Relever et abaisser le pied de biche
① Releveur du pied de biche
② Position relevée normale
③ Position relevée maximum
Le releveur du pied de biche remonte et abaisse le pied de biche. Vous pouvez le remonter d'environ 0,6 cm (1/4") plus haut que la position normale pour-retirer plus facilement le pied de biche ou pour vous aider à passer un tissu épais sous le pied.
Changement de pied de biche
- Pour détacher le pied-de-biche:
Tournez le volant vers vous pour lever ①
l'aiguille à la position la plus élevé. Levez
le pied-de-biche. Appuyez sur le levier métal
situé l'arrière du portepied.
Le pied-de-biche tombe.
- Pour attacher le pied-de-biche:
Placez le pied presseur de façon à ce que la broche du pied se trouve en dessous de la rainure du porte-pied.
Abaissez la barre du pied presseur pour verrouiller le pied en position.
① Levier
② Rainure
③ Broche
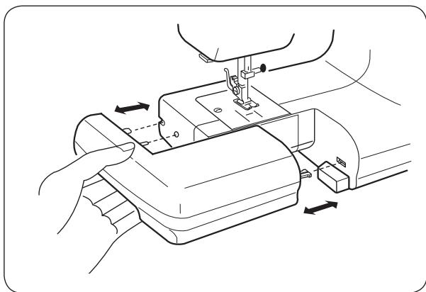
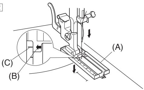
Retrait et installation du porte-pied
① Vis de blocage
② Portepied
③ Barre du pied presseur
- Retrait
Retirez la vis de blocage ① en la tournant dans le sens anti hora à l'aide du tournevis.
Installation
Alignez le trou du portepied ② avec le trou filtré de la barre du pied presseur ③ . Placez la vis ① dans le trou, et serrez-la en tournant dans le sens ① hora.


1

2

3
Bouton de marche arrière
La machine coud en marche arrêté tant que l'on appuie sur le bouton de marche arrêté.
1 Le levier d'abaisissement est situé après du crochet à droite.
Ouvrez le couvercle du boitier.
① Couvercle du boîtier
Pour faire descendre les griffes d'entrainment, poussez le levier dans les sens de la flèche comme illustré.
② Levier
Pour les faire monter, poussez le levier dans le sens de la flèche comme illustré. Tournez le volant vers vous. Les griffes doivent être relevantes pendant la couture normale.



Pour vérifier la qualité d'une aiguille, placez le méplat de l'aiguille sur une surface plate (la plaque d'aiguille, un morceau de verre...) L'espace entre l'aiguille et la surface doit être constant. N'utilisecz jamais une aiguille tordue ou émoussée. Une aiguille défectuese peut être une cause continue d'ennuis et de points sautés, de fils tirés dans les jeans et les soies naturelles ou artificielles.
| Tissu | Fil | Aiguille |
| Fin | Linon
Georgette
Tricot
Organdi
Crepe de
Chine | Soie #80-100
Coton #80-100
Synthétique #80-100 | #9/65-11/75 |
| Normal | Toile à drap
Jersey
Broadcloth
Fleece | Soie #50
Coton #50-80
Synthétique #50-80 | #11/75-14/90 |
| Épais | Denim
Tweed
Recouvrement
Quilting | Soie #30-50
Coton #40-50
Synthétique #40-50 | #14/90-16/100 |
REMARQUE:
3 x aiguilles n° 14/90 sont comprises dans la enveloppe (#639804000).
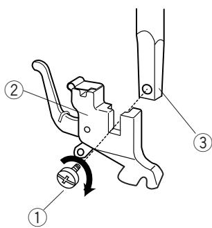
Changer l'aiguille
ATTENTION:
Éteignez l'interrupteur avant de changer l'aiguille.
Relevez l'aiguille jusqu'à sa plus haute position en tournant le volant manuellement dans le sens anti hora, et abaissez le pied-de-biche.
Une aiguille ou une vis desserrée peut causer un dysfonctionnement de la machine ou un bris de l'aiguille.
1 Éteignez la machine. Faites monter l'aiguille le plus haut possible en tournant le volant en sens anti hora et abaissez le pied presseur.
Desserrez la vis de serre aiguille ① en la tournant en sens anti hora. Retire l'aiguille dans le serre aiguille ②
2 Insérez la nouvelle aiguille dans le serre aiguille ②, avec le méplat vers l'arrière. Lorsque vous mettez en place une nouvelle aiguille, poussez-la à fond vers le haut dans le serre aiguille. Serrez fermement la vis de fixation en la tournant en sens horsaire ①.
① Vis du serre aiguille
② Serre aiguille
Tableau des tissus, fils et aiguilles
Pour la couture en général, utilisez des aiguilles de tailles 11/75 ou 14/90.
- On utilisera un fil et une aiguille fins pour coudre les tissus légers afin de ne pas abîmer le tissu.
- Les textiles lourds demandent une aiguille suffisamment grossse pour pouvoir transpercer le tissu sans effilocher le fil de l'aiguille.
- Testez toujours la grosseur de l'aiguille sur un petit coupon du tissu que vous proposez d'utiliser.
- En général, utilisez le même fil pour l'aiguille que pour la canette.
REMARQUE:
Lorsque vous cousez des textiles élastiques, très fins ou des synthétiques, utilisez une aiguille bleue (#990311000, vendu séparément).
L'aiguille bleue evite efficacement les points sautés.

Régler les broches porte-bobines
Les broches porte-bobines permettent de maintenir en place la bobine de fil pour pouvoir passer le fil dans la machine.
Lors de l'utilisation, sortez la broche portebobines en la tirant. Enoncez pour le rangement.




Retirer ou replacer le boitier canette
Ouvrez le couvercle du boitier
① Couvercle du boitier
Levez l'aiguille en tournant le volant vers soi. Sortez le boitier canette en tirant le loquet vers soi.
② Loquet
Pour replacer le boitier canette, positionnez le doigt de position dans l'encôche de la coursière.
③ Doigt de position

1

5

1

2

3
Bobinage d'une canette de fil
1 Tirez le volant vers la droite pour empêcher l'aiguille de se déplacer lorsque vous bobinez la canette.
Tirez sur le fil de la bobine.
Passez le fil autour du guide-fil supérieur.
3 Passez le fil dans le trou de la canette, de l'intérieur.
Placez la canette sur l'axe de dévidoir de canette.
4 Poussez la canette vers la droite.
5 En tenant l'extrémité libre du fil à la main, appuyez sur la pédale de contrôle. Arrêtez la machine après quelques tours, et coupe le fil au ras du trou dans la canette.
6 Appuyez de nouveau sur la pédale de contrôle.
Lorsque la canette est pleine, elle s'arrête automatiquement. Remettez l'enrouleur de la canette à la position d'origine, en poussant l'axe vers la gauche, et coupez le fil.
7 Pousser le volant vers l'intérieur.
REMARQUE:
Remettez l'axe du bobineur à sa place lorsque vous arrêtez la machine.
- Insertion de la canette
1 Introduisez la canette dans la boitier canette enPNANT soin que le fil se déroule vers la droite et qu'il sorte de la canette.
2 Passez le fil dans la rainure du boitier canette.
3 Passez le fil sous le ressort de tension et faites-le passer par le trou. Tirez environ 10 cm (4^ ) de fil.
① Ressort de tension






1

2
3

Enfilage de la machine
Faites monter le levier releveur tendeur de fil le plus haut possible en tournant le volant à main en sens anti horaire.
Relevez le pied presseur pour libérer les disques de tension.
Placez la bobine de fil sur le porte-bobine, avec le fil sortant de la bobine comme illustré.
1 Tenez le fil de l'aiguille et passez-le sous le guide du fil.
2 En retenant le fil pres de la bobine, tirez-le vers le bas, et, de la droite vers la gauche, autour du bloc de tension du fil.
3 Tirez fermement le fil vers le haut, puis de la droite vers la gauche dans l'oeillet du levier releveur de fil.
4 Maintenant, tirez le fil en dessous et introduisez-le dans le guide-fil inférieur.
5 Par la gauche, glissez le fil derrière le guide situé sur la barre d'aiguille.
6 Enfilez l'aiguille de I'avant vers I'arriere.
Enfile-aiguille intégré
1 Relevez laiguille à sa position la plus élevé. Abaissez le levier de l'enfile-aiguille ① aussi loin que possible. Le crochet dessort à travers le chas de laiguille de l'arrière.
En faisant attention au point de l'aiguille, faites passer le fil autour du guide ③ et sous le crochet ②
3 Relâchez le levier lentement tout en tenant l'extrémité du fil ④ avec la main. Une boucle du fil est tirée à travers le chas de l'aiguille.
① Levier
② Crochet
③ Guide
④ L'extrémité du fil





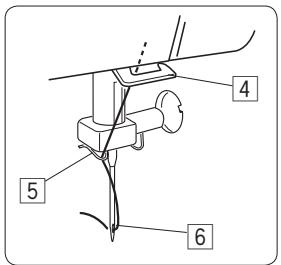
1 Relevez le pied presseur. Tenez le fil de la aiguille souplement de la main gauche.
2 Tournez le volant d'un tour complet en sens anti horaire.
Faites monter le fil de canette en tirant le fil de l'aiguille vers le haut.
3 Tirez les deux fils vers l'arrière sous le pied presseur, sur une longueur de 10 cm.






Régler la tension du fil de l'aiguille
Tension correcte:
La tension du fil s'ajuste suivant le matériel, les écâisseurs de tissu et la méthode de couture.
Le point droit idéal entrelace les fils entre deux épaisseurs de tissu, comme indiqué sur le dessin (agrandi pour que l'on voie les détails).
Pour un point en zigzag idéal, le fil de la canette ne va pas à l'endetroit (côté supérieur) du tissu, et le fil de l'aiguille se voit légèrement à l'envers (côté inférieur) du tissu.
① Fil de l'aiguille (fil supérieur)
② Fil de la canette (fil inférieur)
③ Côté endroit (côté supérieur) du tissu
④ Envers (côté inférieur) du tissu
⑤ Bouton sélecteur de la tension du fil
(6) Indice de tension
2 La tension du fil de l'aiguille est trop haute Le fil de la canette (fil inférieur) se voit à l'endroit (côté supérieur) du tissu. Baissez la tension du fil del'aiguille en mettant le bouton sélecteur sur un numéro plus bas.
3 La tension du fil de l'aiguille est trop desserrée Le fil de l'aiguille (fil supérieur) se voit à l'envers (côté inférieur) du tissu. Serrez la tension du fil de l'aiguille en mettant le bouton sélecteur sur un numéro plus haut.


Sélecteur de point
Soulevez l'aiguille et le pied presseur. Tournez le sélecteur du point et placez le repere en face du symbole correspondant au point désiré.
① Repère
REMARQUE:
Afin d'eviter d'endommager l'aiguille ou le tissu, assurez-vous que l'aiguille est toujours remontée à sa position la plus élevé et hors du tissu, avant de régler le/selecteur de point.
Selecteur de la longueur du point
Tournez le sélecteur de la longueur du point de façon à placer le repère en face de la longueur de point désirée.
Plus le chiffre est élevé, plus le point sera long.
① Repère
- “ ” représenté le réglage recommandé pour les boutonnières.
- Réglez le sélecteur entre 0,5 et 4 lorsque vous utilisez un point zigzag.
- Réglez le sélecteur sur "S.S." pour travailler en point droit extensible.
- Si les points extensibles sont déformés, tournez le sélection de longueur de point en direction du “-” pour le desserrer ou en direction du “+” pour l'allenger.

1

②

(3)

4





COUTURE DE BASE Utilisation du point droit
① Selecteur de point:
② Pied-de-biche:
③ Tension du fil:
④ Longueur du point:
A ou B
Pied zigzag
2à6
1,5 à 4
- Début d'une couture
Levez le pied-de-biche et place le tissu le long de la ligne de repère sur la plaque d'aiguille (la plus utilisée est à 1,6 cm).
Abaissez l'aiguille à l'endetroit où vous souhaitez commencer la couture. Abaissez le pied-de-biche et tirez les fils vers l'arrière. Appuyez doucement sur la pédale de contrôle. Guidez le tissu le long de la ligne de repère en laissant le tissu avancer naturellement.
- Finition d'une couture
Pour arrêté l'extrémité des coutures, appuyez sur le bouton de marche arrêté et piquez plusieurs points en arrêté.
Relevez le pied-de-biche. Retirez le tissu, tirez les fils vers l'arrière et coupez-les à l'aide du coupe-fil. Les fils sont ainsi coupés à la bonne longueur pour le début de la prochaine couture.

ATTENTION:
Ne placez pas vos doigts pres du pied presseur en guidant le tissu. La vis de fixation de I'aiguille peut frapper et vous blesser.
Changer la direction de la couture
Arrêtez la machine et tournez le volant vers soi de façon à faire descendre l'aiguille dans le tissu.
Soulevez le pied-de-biche.
Faites pivoter le tissu autour de l'aiguille dans la direction de couture voulue. Baissez le pied-de-biche et continuez à coudre.
Utilisation des guides de couture
L'intervalle entre les lignes est de 1/8'' (3 mm) celles-ci sont gravées à 3/8'', 4/8'', 5/8'', et 6/8'' . L'intervalle entre les lignes en millimétres est de 5 mm. Celles-ci sont gravées à 10 mm, 15 mm, et 20 mm.




Zig-zag simple
① Selecteur de point: C (c)
② Pied-de-biche: Pied zigzag
③ Tension du fil: 2 à 5
④ Longueur du point: 0,5 à 4
Le zig-zag est un point très commun et aux usages multiples. Il est utile pour coudre les boutons, les boutonnières, les ourlets, ainsi que pour surfiler et reprimer. On peut également l'utiliser pour orner avec des gances, des appliques ou des jours, ou comme point décoratif.
COUTURE FONCTIONNELLE
Surfilage
① Selecteur de point: C (c
② Pied-de-biche: Pied zigzag
③ Tension du fil: 1 à 4
④ Longueur du point: 1 à 2
Ce point zigzag simple s'utilise pour finir les bords cousus vifs (surfilage) sur la plupart des étoffes tissées, afin d'empêcher le tissu de s'effilocher. C'est la manière la plus rapide de finir un bord.
Placez le bord du tissu contre le bord droit du pied presseur et cousez.

1
D
<<
(2)
4

(3)





Point zig-zag multiple
① Selecteur de point: D
② Pied-de-biche: Pied zigzag
③ Tension du fil: 1 à 4
④ Longueur du point: 0,5 à 4
Ce point sert à finir le bord brut de tissus synthétiques et d'autres tissus extensibles qui ont tendance à froncer.
Placez le tissu afin de former un rentré de 1,6 cm.
Coupez le tissu dépassant du rentré après la couture.
Ce point est également utile pour raccommoder les déchirures.
Point tricot
① Sélecteur de point: G
② Pied-de-biche: Pied zigzag
③ Tension du fil: 1 à 4
④ Longueur du point: S.S.
Le point tricot est idéal pour coudre des maillots de bain et du velours élastique, parce qu'il offre une grande élasticité et résistance.
Placez le tissu de sorte à pouvoir faire une couture à 1,6 cm.
Coupez ensuite le bord de la couture.
Faites attention de ne pas couper les points.

1

②


4


Point droit extensible
① Sélecteur de point:
② Pied-de-biche:
③ Tension du fil:
④ Longueur du point:
A ou B
Pied zigzag
2à6
S.S.
Ce point solide et résistant est recommendé pour les coutures ou la solidité et l'élasticité sont nécessaires au comfort et à la résistance.
Utilisez-le pour renforcer les coutures d'entre-jambe et d'emmanchure ainsi que pour éliminer les fronces sur les jeansels et les tissus extensibles. Également utile pour la fabrication d'accessoires résistants comme les sacs-à-dos.

(1)



②


4


Zig-zag triple pour tissus extensibles
① Sélecteur de point:
② Pied-de-biche:
③ Tension du fil:
④ Longueur du point:
Utilise ce point sur les tissus extensibles ou le point zig-zag pourrait être utilisé. Ce point peut aussi être utilisé comme surpiquères décoratives.


②

(3)


4

(5)
Pose des boutons
① Sélecteur de point: C (c) (A régler en
fonction des besoin)
② Pied-de-biche: Pied points satin (en option)
③ Tension du fil: 2 à 6
④ Longueur du point: Toutes
⑤ Griffes d'entrainment: Abaisées



Abaissez les griffes d'entrainment. Faites correspondre les trous du bouton avec la fente horizontal de pied presseur. Reglez la largeur du point pour qu'elle corresponde à la distance entre les trous du bouton. Abaissez le pied de biche pour maintainir le bouton en place. Vérifiez que l'aiguille passée dans les trous du bouton en tournant le volant à la main. Cousez environ dix (10) points.
Pour renforcer la tige du bouton, coupeze le fil en laissant environ 10 cm. Faites passer le fil de l'aiguille dans l'un des trous du bouton et enroulez-le aujourd de la tige du bouton. Faites passer couture du bouton, remontez les griffes d'entrainement pour la couture normale.

1

②
4



(3)


1 2

3
三
4


5

6

7
Boutonnières
① Sélecteur de point:
② Pied-de-biche:
③ Tension du fil:
④ Longueur du point :

Pied boutonnières

1-5
-
Faites un test avec un bouton sur une chute du tissu sur lequel vous allez travailler et qui dispose des mêmes caractéristiques. Faites l'essay avec le même entoiage et les mêmes points de couture.
-
Mettez le bouton sur l'échantillon de tissu et marquez la partie supérieure et la partie inférieure pour déterminer la position de la boutonnière.
-
Utilisez l'entoilage sur du tissu extensible.
- Ajuster la densité des points des boutonnées
Tournez le selectiveur de longueur du point à droite pour obtenir moins de densité.
Tournez le selectiveur de la longueur du point à gauche pourptions plus de densité.
1 Marquez soigneusement la longueur de la boutonniere sur le tissu.
Mettez le tissu sous le pied de biche avec la marque de la boutonnière tournée vers vous.
2 Déplacez la glissière (A) vers vous afin que la marque supérieure (C) de la glissière correspond à la marque d'entame (B).
Alignez les marques du pied de biche avec la marque supérieure du tissu.
REMARQUE:
L'échelle de la glissière est en centimètres.
3 Ajustez le sélecteur du point sur "1". Piquez en avant jusqu'à la marque de devant de la boutonnière. Arrêtez de coudre avec un point à gauche.
4 Ajustez le bouton selecteur du point sur ^4 . Faites 5 points. Arrêtez de coudre avec un point à droite.
5 Ajustez le sélecteur du point sur " 3". Piquez jusqu'à la marque arrière de la boutonniere. Arrêtez de coudre avec un point à droite.
6 Ajustez le sélecteur du point sur 124 Faites quelques points de renfort et levez l'aiguille du tissu.
7 Ajustez le sélection de point sur une couture droite. Faites quelques points de finition. Enlevez le tissu de la machine et coupez le fil. Mettez une épingle à l'intérieur du renfort. Coupez l'ouverture avec une découvert. Faites attention de ne pas couper les points.

(1)

(2)
4

(3)




Boutonnières gansées
① Sélecteur de point:
② Pied-de-biche:
③ Tension du fil:
④ Longueur du point :

Pied boutonnières
1-5

0,5-1
1Avec le pied de biche levé pour boutonnières, mettez le cordon dans l'ergot situé dans la partie arrête du pied de biche pour boutonnières.
① Ergot
Tenez les extrémités vers vous sous le pied de biche pour boutonnières, jusqu'à ce qu'ils sortent par l'extrémité avant.
3 Accrochez le cordon dans les fourches situées à l'avant du pied de biche pour pouvoir le maintainir fortement.
4 Baissez l'aiguille jusqu'au tissu à l'endroit où vous allez commencer la boutonnière, et baissez le pied.
5 Appuyez doucement sur la pédale et faites la boutonnière. Les renforts et chaque côté de la boutonnière doivent être cousus sur le cordon.
6 Enlevez le tissu de la machine et coupe les fils de la couture.
Tirez l'extrémité gauche du cordon pour pouvoir le serrer.
Enfilez l'extrémité sur une aiguille à reprimer, pousseze-le sur l'envers du tissu et coupeze-le.

①
A

(2)

③


(4)


Coudre des fermétures à glissière
① Sélecteur de point: A
② Pied-de-biche: Piedfermeture aglissiere
③ Tension du fil: 2à6
④ Longueur du point: 1.5 à 4
Epinglez ou faufilez le ruban de la fermeture éclair et le placer sous le pied. Tirez les fils vers l'arrière et baissez le pied. Pour coudre le côté gauche de la fermeture éclair, guidez les dents de la fermeture à glissière le long du bord dupied et coudre le vêtement et le ruban de la fermeture à glissière.
Inversez le tissu et coudre l'autre moitié de la fermetre éclair, de la même façon que pour le côte gauche.

(1)
E F 1
②

③

4

0,7 cm

1
[A]
0,7 cm
[B]


2

3

4
Ourlet invisible
① Sélecteur du point: E ou F
(2) Pied-de-biche: Pied pour ourlet invisible
③ Tension du fil: 2 à 4
④ Longueur du point: 1 à 3
1 Sur les tissus écais qui s'effilochent, on devrait d'abord surfiler les bords bruts. Pliez et repliez l'ourlet de façon à former une valeur de couture de 0,7 cm.
[A] Tissu épais
[B] Tissu fin
① Côté envers du tissu
2 Placez le tissu sur la machine pour que l'aiguille pique à peine la partie replielée lorsqu'elle arrive l'extreme gauche du zig-zag.
Abaissez le pied-de-biche.
3 Tournez la vis-guide de façon à ajuster l'alignement du guide avec le pli du bord. Cousez le long du pli en guidant le tissu de façon à ce que l'aiguilleatteigne le pli du bord.
② Vis-guide
③ Guide
④ Pli du bord
4 Lorsque vous avez terminé l'ourlet, repassez les deux cotsés de l'ourlet. Sur l'endroit du tissu, vous ne devez pas voir les points.




COUTURE DECORATIVE
Ourlet coquillé
① Sélecteur de point: G
② Pied-de-biche:Pied zigzag
③ Tension du fil: 6 à 8
④ Longueur de point: 2 à 3
Guidez le bord plié le long de la rainure du pied de biche.
L'aiguille doit tomber hors du bord du tissu à droite en formant un pli.
Smocks
① Sélecteur de point: D
② Pied-de-biche:Pied zigzag
③ Tension du fil: 1 à 4
④ Longueur de point: S.S.
Choisissez un tissu doux et léger, comme la batiste, le vichy ou le Challis. Coupez trois fois plus de tissu que la largeur de l'ouvrage.
Augmentez la longueur de point jusqu'à "4" et diminuez la tension du fil à "1". Cousez des rangées de points droits à 1 cm lesunes des autres à l'endetroit où vous pouze faire les smocks.
Nouez les fils à une extrémité. Depuis l'autre extrémité du tissu, tirez les fils de la canette pour répartir les fronces de façon homogène et arrêtez les fils.
Rétablissez la tension du fil à sa position initiale.
Cousez des rangiées de points de smock entre les points de fronçage.
Une fois terminé, retireez les points de fronçage.
① 1cm

①
C
②

(3)

4

Appliqué
① Sélecteur de point: C
② Pied-de-biche: Pi
Pied points satin (en option)
③ Tension du fil: 1 à 4
④ Longueur de point: 0.5 à 1



Faufiez ou repassez avec un adhésif à repasser, l'appliqué sur le tissu. Cousez tout autour de l'appliqué en étant certain que l'aiguille tombe sur la lisière extérieur de l'appliqué.
En couant les coins, abaissez l'aiguille dans le tissu à gauche. Levez le pied-de-biche et pivotez le tissu vers la droite ou la gauche.
Points extensibles décoratifs
① Suggesteur de point: A à G
② Pied-de-biche: Pied Zigzag
③ Tension du fil: 1 à 4
④ Longueur de point: S.S.
Les motifs extensibles décoratifs sont utilisés pour ajouter une touche créative et personnalisée aux ouvrages.
Guidez soigneusement le tissu pendant la couture car il a tendance à glisser d'un côté ou de l'autre.
Si les modèles se compriment, mettez le bouton sélecteur en “+”.
Si les modèles s'étirrent, mettez le bouton sélecteur en “-”. (Voir page 12).




ENTRETIEN DE VOTRE MACHINE Demontage et remontage du crochet

ATTENTION:
Mettez l'interrupteur sur arrêt et/ou débranchez la prise de la machine.
REMARQUE:
La machine ne nécessite aucune lubrication.
Pour démonter le crochet:
Tournez le volant vers vous pour faire remonter complètement la barre d'aiguille et ouvrez le capot frontal du crochet. Retirez le boitier canette par son loquet.
Ouvrez les loquets de blocage de l'anneau de la cage du crochet vers l'extérieur et retirez l'anneau de la cage du crochet. Otez le crochet.
- Nettoyez le crochet avec une brosse et un linge doux.
① Boîtier de canette
② Support de bague de la cage du crochet
③ Anneau de la cage du crochet
④ Crochet
⑤ Cage du crochet
Pour remonter le crochet:
Tenez le crochet par l'axe central et remettez-le doucement en place, de façon à ce qu'il forme un cercle parfait avec la cage du crochet.
Remettez en place l'anneau de retenue, la surface polie tournée vers l'extérieur, en s'assurant que l'ergot du bas s'adapte dans l'encoche du support.
Bloquez l'anneau de retenue en remettant les leviers en place.
Remettez en place la canette et le boitier.
⑥ Goupille
⑦ Encoche
Nettoyage des griffes d'entrainment

ATTENTION:
Eteignez et/ou débranche la machine avant de nettoyer la griffe d'entrainment.
Enlevez le pied-de-biche et l'aiguille. Desserrez les vis de la plaque à aiguille avec un tournevis et enlevez la plaque.
⑧ Vis
Nettoyez avec une brosse pour débarrasser les griffes de la poussière et des débris de fil. Replacez la plaque à aiguille.
Dépannage
| Etat | Cause | Référence |
| Le fil d'ailguille se casse. | 1. Le fil d'ailguille n'est pas bien enfilé.2. Le fil d'ailguille est trop tendu.3. L'aiguille est tordue ou émoussée.4. L'aiguille n'est pas insérée correctement.5. Le fil d'ailguille n'est pas place sous le pied-de-biche au moment de commencer à coudre.6. Le fil est trop gros ou trop fin pour l'aiguille. | Page 10Page 11Page 7Page 7Page 13Page 7 |
| Le fil de canette se casse. | 1. Le fil de canette est mal enfilé dans la boîte à canette.2. Des peluches se sont accumulées dans le porte canette.3. La canette est endommagée et ne tourne pas bien.4. L'enroulement du fil est lâche sur une canette. | Page 9Page 24Changez la canette. Page 9 |
| L'aiguille se casse. | 1. L'aiguille est mal introduite.2. La vis de serre aiguille est desserrée.3. Les fils n ont pas été tirés vers l'arrière après la couture.4. L'aiguille est trop fin pour ce type de tissu.5. Vous utilisez un pied-de-biche qui n'est pas approprié. | Page 7Page 7Page 13Page 7Utilisez le pied approprié. |
| Points sautés | 1. L'aiguille est mal introduite, tordue ou émoussée.2. L'aiguille ou les fils ne sont pas convenables pour le tissu cousu.3. Une aiguille à pointe bleue n'est pas utilisée ici pour coudre des tissus étirables, des tissus très fins et des synthétiques.4. Le fil d'ailguille n'est pas bien enfilé.5. On utilise ici une aiguille de mauvaise qualité. | Page 7Page 7Utilisez l'aiguille pour point extensible. Page 10Changez l'aiguille. |
| Fronces | 1. Le fil d'ailguille est trop tendu.2. Le fil d'ailguille n'est pas bien enfilé.3. L'aiguille est trop lourde pour ce type de tissu.4. La longueur de point est trop grande pour ce tissu.5. Vous n'utilisez pas de stabilisateur pour coudre des tissus très fins. | Page 11Page 10Page 7Raccourcissez les points.Appliquez un stabilisateur. |
| Le tissu n'avance pas régulièrement. | 1. La griffe d'entrainment est remplie de peluches.2. Les points sont trop petits.3. La griffe d'entrainment n'est pas relevée après couture sans griffe. | Page 24Rallongez les points. Page 6 |
| Boucles sur les Coutures | 1. La tension du fil de l'aiguille est trop lâche.2. L'aiguille est trop grossse ou trop fine pour le fil. | Page 11Page 7 |
| La machine ne fonctionne pas. | 1. La machine n'a pas été branchée.2. Le fil a été pris dans le crochet.3. L'axe de dévidoir n'est pas returné à gauche après confection de la canette. | Page 4Page 24Page 9 |
| Laboutonnière n'est pas bien cousue. | 1. La densité du point ne convient pas pour le tissu que l'on coud.2. On n'a pas utilisé d'entoiage approprié pour le tissu élastique ou synthétique. | Page 18Appliquez un stabilisateur. |
| La machine est bruyante. | 1. Le fil a été pris dans le crochet.2. Des peluches se sont accumulées dans le crochet ou le porte-canette. | Page 24Page 24 |