FST 770 XS - évier FRANKE - Notice d'utilisation et mode d'emploi gratuit
Retrouvez gratuitement la notice de l'appareil FST 770 XS FRANKE au format PDF.
| Type d'appareil | Hotte de cuisine |
| Mode d'installation | Murale ou encastrable |
| Matériau | Acier inoxydable |
| Type de filtration | Charbon actif et filtre à graisse |
| Nombre de vitesses | 3 |
| Niveau sonore | Non précisé |
| Débit d'extraction | Non précisé |
| Éclairage | LED |
| Commande | Électronique |
| Dimensions (L x P x H) | Non précisé |
| Puissance | Non précisé |
| Consommation électrique | Non précisé |
| Type de moteur | Non précisé |
| Couleur | Noir, blanc ou inox |
| Accessoires inclus | Non précisé |
| Garantie | Non précisé |
FOIRE AUX QUESTIONS - FST 770 XS FRANKE
Questions des utilisateurs sur FST 770 XS FRANKE
0 question sur cet appareil. Repondez a celles que vous connaissez ou posez la votre.
Poser une nouvelle question sur cet appareil
Téléchargez la notice de votre évier au format PDF gratuitement ! Retrouvez votre notice FST 770 XS - FRANKE et reprennez votre appareil électronique en main. Sur cette page sont publiés tous les documents nécessaires à l'utilisation de votre appareil FST 770 XS de la marque FRANKE.
MODE D'EMPLOI FST 770 XS FRANKE
Les instructions pour l'utilisation se réferent aux différents modèles de cet apparéil. Par conséquent, certaines descriptions de caractéristiques particulières pourraient ne pas appartenir spécifique à cet apparéil.
INSTALLATION
- Enaucun cas le fabricant ne peut etre tenu pour responsable d'eventuels dommages dus a une installation ou a une utilisation impropre.
- La distance de sécurité minimum entre le plan de cuisson et la hotte aspirante est de 650~mm (certains modèles peuvent être installés à une hauteur inférieure ; voir le paragraphe concernant les dimensions de travail et l'installation).
Assurez-vous que la tension de votre secteur correspond à cette indiquée sur la plaque des données appliquée à l'intérieur de la hotte. - Pour les appareils de Classe I, s'assurer que l'installation électrique de votre interieur dispose d'une mise à la terre ajustate.
Relier l'aspirateur au conduit de cheminée avec un tube d'un diamètre minimum de 120 mm. Le parcours des fumées doit être le plus court possible.
- Ne pas relier la hotte aspirante aux conduits de cheminée qui acheminent les fumées de combustion (par exemple de chaudières, de cheminées, etc.).
- Si vous utilisez l'aspirateur en combinaison avec des apparêls non électriques (par ex. apparèils à gaz), vous nevez garantir un degré d'aération suffisant dans la pièce, afin d'empêcher le retour du flux des gaz de sortie. La cuisine doitprésenter une ouverture communiquant directement vers l'extérieur pour garantir l'amnéée d'air
propre. Si vous utilisez la hotte de cuisine en combinaison avec des appareils non alimentetes à l'électricité, la pression négative dans la pierce ne doit pas dépasser 0,04 mbar afin d'éviter que la hotte ne réaspire les fumées dans la pierce.
- Si le cordon d'alimentation est endommagé, veuilles le faire remplacer par le fabricant ou par un service après-vente/agréé pour éviter tout risque d'accident.


-
Si les instructions d'installation du plan de cuisson à gaz spécifique une distance supérieure à celle indiquée ci-dessus, veuillez impérativement en tener compte. Toutes les normes concernant l'évacuation de l'air doivent être respectées.
-
Utiliser exclusivement des vis et des petites pieces du type adapté pour la hotte.
Attention : toute installation des vis et des dispositifs de fixation non conforme aux prsentes instructions peut entraîner des risques de décharges électriques.
- Brancher la hotte à l'alimentation de secteur avec un interrupteur bipolaire avant une ouverture des contacts d'au moins 3 mm.
UTILISATION
- Cette hotte aspirante a eté conçue exclusivement pour un usage domestique, dans le but d'éliminer les odeurs de cuisine.
- Ne jamais utiliser la hotte pour des objectifs différents de ceux pour lesquels elle a été concue.
- Ne jamais laisser un feu vif allumé sous la hotte lorsque celle-ci est en fonction.
- Régler l'intensité du feu de manière à l'orienter exclusivement vers le fond de la casserole, en vous assurant qu'il ne déborde pas sur les côtés.
- Contrôler constamment les friteuses durant leur utilisation : l'huile surchauffée risque de s'incendier.
- Ne pas flamber des mets sous la hotte : sous risque de provoquer un incendie.
- Cet apparéil n'est pas destiné à être utilisé par des enfants d'un âge inférieur à 8 ans, ni par des personnes dont les capacité physiques, sensorielles ou mentales sont diminuées ou qui ont une expérience et des connaissances insuffisantes, à moins que ces enfants ou ces personnes ne soient attentivement surveillés et instruits sur la manière d'utiliser cet apparéil en sécurité et sur les dangers que cela compte.
Assurez-vous que les enfants ne jouent pas avec cet apparéil. Le nettoyage et l'entretien de la part de l'utilisateur ne doivent pas été effectuels par des enfants, à moins que ce ne soit sous la surveillance d'une personne responsable.

- ATTENTION : les parties accessibles peuvent devenir très chaudes durant l'utilisation des appareils de cuisson.
ENTRETIEN
- Avant d'effectuer toute opération de nettoyage et d'entretien, éteindre ou débrancher l'appareil du secteur.
- Nettoyer et/ou remplaner les filtres après le début indiqué (danger d'incendie).
- Nettoyer les filtrés àGRAISE tous les 2 mois de fonctionnement ou plus souvent en cas d'utilisation particulièrement intense. Ces filtrés peuvent etre lavés au lave-vaisse.
- Le filtré à charbon actif ne peut être ni lavé ni régénééré et il doit être remplace environ tous les 4 mois de fonctionnement ou plus souvent en cas d'utilisation particulièrement intense.
- Nettoyer la hotte avec un chiffon humide et un détergent liquide neutre.
Le symbole marqué sur le produit ou sur son emballage indique que ce produit ne peut pas été éliminé comme déchet menager normal. Lorsque ce produit doit être éliminé, veuilles le remettre à un centre de collecte prévu pour le recyclage du matériel électrique etlectronique. En vous assurant que cet apparéil est éliminé correctement, vous participez à prévenir des conséquences potentiellement négatives pour l'environnement et pour la santé, qui risqueraient de seprésenter en cas d'élimination inappropriée. Pour toute information supplémentaire sur le recyclage de ce produit, contactez votre municipalité, votre déchetterie locale ou le magasin où vous avez achété ce produit.
Encombrement



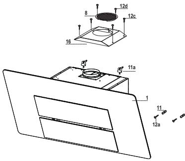
Composants
| Réf. | Q.té | Composants de Produit |
| 1 | 1 | Corps Hote équipé de: Comandes, Lumière, Groupe Ventilateur, Filtres |
| 8 | 1 | Grille orientée Sortie de l'Air |
| 16 | 1 | Couvercle filtrant |
| Réf. | Q.té | Composants pour l'installation |
| 11 | 2 | Chevilles |
| 11a | 2 | Chevilles SB 12/10 |
| 12a | 2 | Vis 4,2 x 44,4 |
| 12c | 4 | Vis 2,9 x 6,5 |
| 12d | 2 | Vis 2,9 x 9,5 |
| Q.té | Documentation | |
| 1 | Manuel d'instructions |

Perçage de la paroi et fixation des supports

Tracer sur la paroi :
- une ligne verticale jusqu'au plafond ou à la limite supérieure, au centre de la zone prévue pour le montage de la hotte;
- une ligne horizontale à 788 mm au-dessus du plan de cuisson.
- Marquer un point (1) sur la ligne horizontale à 164 mm à droite de la ligne verticale de reference.
- Répéter cette opération de l'autre côté et vérifier la mise à niveau.
- Marquer comme indiqué, un point de référence (2) à 140~mm de la ligne verticale de référence et 540~mm au-dessus du plan de cuisson.
- Répéter cette opération de l'autre côté et vérifier la mise à niveau.
- Percer les points marqués (1) avec une mèche de 12 mm .
- Percer les points marqués (2) avec une mèche de 8 mm .
- Mettre les chevilles avec le support 11a dans les trouss (1) et visser.
- Insérer les chevilles 11 dans les trou (2).
Pour installation avec cheminée décorative : (Option)
- Poser le support 7.2.1 comme indiqué, à 1 - 2mm du plafond ou de la limite supérieure, en alignant le centre (encoches) sur la ligne verticale de reference.
- Marquer les centres des trou s du support.
- Faire reposer le support 7.2.1, comme indiqué, à X mm en dessous du premier support (X = hauteur de la partie supérieure fournie), en alignant le centre (encoches) sur la ligne verticale de ↔reference.
- Marquer les centres des trou s du support.
- Percer les points marqués avec une mèche de 0.8 ~mm .
- Insérer les chevilles 11 dans les trous.
- Fixer les supports à l'aide des vis 12a (4,2 x 44,4) fournies.
Montage du corps de hotte
- Ouvrir les portes/la porte (Regard paragraphe Ouverture Panels).
- Retirer les Filtres àGRAisse en agissant sur les poignées appropriées.
- Placer les deux vis Vr , sur les équérres 11a sans les visser.
- Accrocher le corps de hotte aux 2 barres 11a.
- Agir sur les vis Vr de l'intérieur du corps de hotte pour en régler le niveau.
- Visser les vis de sécurité 12a.
- Refermer les portes/la porte.

Sortie air version filtrante
- Serrer le couvercle filtrant sur la sortie de l'air, avec quatre vis 12c (2,9 x 6,5).
- Fixer la grille orientée 8 sur la sortie de l'air recyclé avec 2 vis 12d (2,9 x 9,5) fournies.
- Ouvrir la ou les portes (voir paragraphe Ouverture panneaux).
- Retirer les filtres àGRAISSÉ en intervenant sur les poignées prévues à cet effet.
- S'assurer de la présence des filtres anti-odeur à charbon actif.


Connexions
SORTIE AIR VERSION ASPIRANTE
Pour l'installation de la hotte version aspirante, voir les instructions contenues dans le kit d'aspiration spécifique pour la hotte.
BRANCHEMENT ELECTRIQUE
- Brancher la hotter sur le secteur en interpolant un interrupteur bipolaire avec ouverture des contacts d'au moins 3 mm.
- Enlever les filtres àGRAISSSE (voir § "Entretien") et s'assurer que le connecteur du cable d'alimentation soit bien branché dans la prise du diffuseur.






Tableau des commandes
| Touche | Fonction | |
| T1 | Coupe le moteur. | |
| T2 | Démarre le moteur en première vitesse | Les touches T1+T2 sont al-lumées. |
| T3 | Démarre le moteur en deuxieme vitesse | Les touches T1+T3 sont al-lumées. |
| Appuyée pendant 2 secondes, elle active l'extinction différée de 30 minutes (Moteur + Éclairage). Lorsque la fonction est active, vous pouvez varier la vitesse d'exercice. | Les touches respectives T1+ (T2 ou T3 ou T4) clignotent. | |
| T4 | Démarre le moteur en troisieme vitesse | Les touches T1+T4 sont al-lumées. |
| Appuyée pendant 2 secondes, elle démarre la vitesse Intensive temporisée à 6 minutes, après lesquilles le système returné à la vitesse pré-cédemment programmée. Fonction indiquée pour faire face aux pointes d'émission des fu-mées de cuisson. | La touche clignote. | |
| L | Allume et étèint l'éclairage à l'intensité maxi-male. | Touche allumée |
Ouverture panneau
- Ouvrir le panneau en le tirant.
- Le panneau se bloquera qu'elle que soit la position où il se place.
- Le nettoyer à l'extérieur avec un chiffon humide et un détergent liquide neutre.
- Le nettoyer également à l'intérieur avec un chiffon humide et un détergent neutre; ne jamais utiliser des chiffons ou des éponges mouillés, ni des jets d'eau; ne pas utiliser de substances abrasives.

Filtres anti-graisse
NETTOYAGE FILTRES ANTI-GRAISSE METALLIQUES AUTOPORTEURS
- Lavables au lave-vaiselle, ils doivent être lavés environ tous les 2 mois d'emploi ou plus fraisment en cas d'emploi particulièrement intense.
- Tirer sur les panneaux comport pour les ouvrir.
- Retirer les filtres, un à un, en les poussant vers la partie postérieure du groupe tout en tirant vers le bas.
- Laver les filtres en évitant de les plier, et les faire sécher avant de les remonter. (Tout changement de couleur sur la surface du filtré, susceptible de se produit avec le temps, ne nuit en rien à l'efficacité de ce dernier.)
- Remonter les filtres en faisant attention de tener la poignée vers la partie externe visible.
- Refermer les panneaux comport.

Filtres anti-odeur au charbon actif (version filtrante)
Le filtrte anti-odeur au charbon actif n'est pas lavable et ne peut pas'être régéné: il faut le replacer tous les 4 mois de service environ, ou plus souvent en cas d'usage particulièrement intense.
REEMPLACEMENT
- Tirer sur les panneaux comport pour les ouvrir.
- Retirer les filtres àGRAISE.
- Enlever les filtres anti-odeur au charbon actif satures, comme indiqué (A).
- Monter les nouveaux filtres, comme indiqué (B).
- Remonter les filtres àGRAISSE.
- Refermer les panneaux comport.


Eclairage
Attention : Cét apparéil est doté d'une lumière LED blanche de classe 1M conformément à la norme EN 60825-1: 1994 + A1:2002 + A2:2001 : puissance optique maximum émise à 439nm : 7 W . Ne pas observer directement avec des instruments optiques (jumelles, lentilles grossissantes...)
- Pour le remplacement, contacter le Service après-venture. (« Pour l'achat, s'adresser au service après-venture »).

Notice Facile