LUBA - Poêle à bois AUSTRO FLAMM - Notice d'utilisation et mode d'emploi gratuit
Retrouvez gratuitement la notice de l'appareil LUBA AUSTRO FLAMM au format PDF.
| Type de produit | Poêle à bois |
| Caractéristiques techniques principales | Conception en acier, rendement élevé, système de combustion propre |
| Alimentation | Bois de chauffage |
| Dimensions approximatives | Largeur : 60 cm, Hauteur : 90 cm, Profondeur : 40 cm |
| Poids | 150 kg |
| Compatibilités | Compatible avec les conduits de cheminée standards |
| Type de batterie | Non applicable |
| Tension | Non applicable |
| Puissance | 8 kW |
| Fonctions principales | Chauffage de l'espace, ambiance chaleureuse |
| Entretien et nettoyage | Nettoyage régulier du foyer et des conduits, vérification des joints |
| Pièces détachées et réparabilité | Disponibilité de pièces de rechange, facilité de réparation |
| Sécurité | Équipé de dispositifs de sécurité, respect des normes en vigueur |
| Informations générales | Garantie de 5 ans, certification écologique |
FOIRE AUX QUESTIONS - LUBA AUSTRO FLAMM
Questions des utilisateurs sur LUBA AUSTRO FLAMM
0 question sur cet appareil. Repondez a celles que vous connaissez ou posez la votre.
Poser une nouvelle question sur cet appareil
Téléchargez la notice de votre Poêle à bois au format PDF gratuitement ! Retrouvez votre notice LUBA - AUSTRO FLAMM et reprennez votre appareil électronique en main. Sur cette page sont publiés tous les documents nécessaires à l'utilisation de votre appareil LUBA de la marque AUSTRO FLAMM.
MODE D'EMPLOI LUBA AUSTRO FLAMM
Coulisseau d'entrée d'air second.
Coulisseau d'entrée d'air primaire
deutsch
Inhalt
Le poèle de type 1 peut être raccordé à une cheminée déjà occupée par d'autres poèles ou cusinières à combustibles solides et liquides, à condition toutefois que les dimensions de la cheminée selon la norme DIN 4705 Partie 3 l'autorisent.
| CHARACTERISTIQUES TECHNIQUES | |
| Hauteur | 1103 mm |
| Largeur | 530 mm |
| Profondeur | 530 mm |
| Poids | 170 kg |
| Diamètre à la base du carneau | 130 mm |
| Puisance calorifique selon DIN | 6 kW |
| Puisance calorifique maximale | 8 kW |
| Puisance calorifique minimale | 3,5 kW |
| Volume chauffé (selon l'isolation du bâtiment) | 60 - 120 m³ |
| Caracteristiques des gaz de combustion en vue de l'installation de plusieurs appareils sur une cheminée selon DIN 4705 Partie 3 ou du dimensionnement de la cheminée selon DIN 4705 Partie 2 | ||
| Débit de gaz de combustion | fermé | 8,5 g/s |
| Température des gaz de combustion | fermé | 285 °C |
| Pression d'extraction minimale à la puissance nominale | fermé | 0,12 mbar |
| à 0,8 fois la puissance nominale | 0,08 mbar | |
2. INFORMATIONS IMPORTANTES
Les informations dans ce manuel, sont presentés d'une façon générale. Car les règlements peuvent varier de pays en pays ; et les règlements régionaux peuvent être prioritaires.
Remarques générales concernant la sécurité
- Lisez attentivement l'ensemble du manuel avant demettre le poèle en service et respectez les avertissements relatifs à la sécurité.
- Le transport de l'appareil doit toujours être effectué au moyen d'un apparèillage de capacité suffisante.
- Le poèle ne doit pas être utilisé comme marchepied ou estrade.
La combustion libre de l'énergie thermique qui entraîne un fort échauffement de la surface de l'appareil, des portes, des poignées, des vitres des portes, du carneau et parfois de la face avant de l'appareil. Ne touche ces éléments qu'avac une protection ajustate, par exemple des gants isolants ou un instrument d'actionnement. - Expliquez bien le risque de brûlures à vos enfants et tenez-les loin de l'appareil lorsque celui-ci fonctionne.
Utilisez toujours le combustible autorisé selon le chapitre « Combustion non polluante » - La combustion ou l'introduction de matières très inflammables ou explosives dans le foyer, par exemple de bombes
aérosols vides, est strictement interdite en raison du risque d'explosion, de même que la conservation de tels produits à proximité de l'appareil.
- Ne rechargez pas le poèle alors que vous portez des vêtements amples ou en matières inflammables.
Il est interdit de déposer des objets ne résistant pas à la chaleur sur l'appareil ou à proximité. - Ne faites pas sécher de linge sur le poèle.
- Les étendages etégouttoirs à linge ou autres doivent être placés suffisamment loin de l'appareil pour éviter tout risque d'incendie.
- Lorsque le poèle est en marche, ne travaillez jamais avec des matières facilement inflammables ou combustibles dans le local où il se trouve ni dans une piece adjacente.
Installation du poêle
Distances de sécurité minimales
(Fig. 2)
| 1. Par rapport à des objets ininflammables : a > 400 mm b > 200 mm |
| 2. Par rapport à des objets inflammables et aux murs porteurs en béton armé : a > 800 mm b > 250 mm (a : sur l'avant dans la zone de rayonnement) (b : sur les côtes et l'arrête) |
Attention: le local dans lequel vous installez le poèle doit être pourvu au minimum d'une porte ou d'une fenêtre donnant à l'extérieur, ou communiquer avec une autre piece donnant à l'extérieur.
Capacité portante du sol
Avant d'installer l'appareil, vérifie si le sol pourrait en supporter le poids.
Raccordement du carneau
Pour vous securité, des consignes strictes doivent être respectées pour le raccordement des carneaux à la cheminée. Notre installerateur professionnel connait bien ces règles. Il faut donc impératifement confier à ce professionnel le raccordement du carneau.
3. POUR BIEN UTILISER VOTRE POÊLE
Première mise en service
Votre poèle a été peint avec un vernis spécial non pollutant. Cet enduit est encore mou lors de la livraison. Il ne durcit que lors de la première mise en service. En attendant, ne touche pas la surface peinte. Laissez le poèle chauffer fortement pendant au moins 1 heures 1/2. Le vernis peut dégager des vapeurs visibles pendant qu'il durcit. Il faut donc ouvrir une fenêtre avant la première mise en service, afin d'évacuer rapidement ces vapeurs.
ATTENTION: Il faut faire chauffer plusieurs fois yours poèle pour qu'il ne sente plus que l'odeur habituelle du bois qui brûle.
Combustibles autorisés
Bois naturel sec et bien conservé, briquettes de bois ou de lignite.
Quantité maximale de combustible
Au maximum 1,3 kg de bois ou 1 kg de briquettes de bois. N'utilisez pas plus de combustible, sous peine de provoquer une surchauffe qui endommagera le poèle.
Combustion non polluante
Le bois doit être sec (humidité relative < 15 %) et non traité. Il doit être utilisé en quantité ajustée pour obtenir une combustion propre et dégageant peu d'émissions.
Pour bien faire du feu
Préparez tout ce dont vous avez besoin pour allumer le poèle : copeaux de bois tendre, allume-feu, papier non enduit, bois de chauffage. La

Figure 3 indique la bonne quantité de matériaux à disposez dans le foyer.
Fig. 3: Matériaux combustibles
Ouvrez au maximum les arrivées d'entrée d'air primaires et secondaires, en déplaçant les deux coulisseaux (voir la Figure 2).
Ouvrez la portedu poèle.
Déposez du papier (non enduit) sur le fond du foyer.
Déposez par-dessus une poignée de copeaux puis 1 ou 2 bùches.

Fig. 4: Allumage
Allumez le papier.
Fermez la portedu foyer.
Dès que les copeaux brûlent bien, fermez le couilissement d'entrée d'air primaire.

Fig. 5: Fermetre du coulissement d'entrée d'air primaire
Dès que les bùches brûlent bien, réglez la puissance de chauffage avec le couilissement d'entrée d'air secondaire (position maximale du couilissement = puissance maximale).
Pour recharger le poèle, suivez la même sérieque pour l'allumage: ouvrez les coulisseauxd'entrée d'air primaire puis d'entrée d'airsecondaire, ouvrez prudemment la pote du poèle,ajoutez du bois et refermez la porte.
Attendez que le bois ajouté s'enflamme, puisrefermez le coulisseau d'entrée d'air primaire.
Réglez la puissance de chauffage avec lecoulisseau d'entrée d'air secondaire.
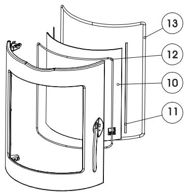
4. PRINCIPALES PIECES DÉTACHÉES
Joints
| Désignation | N° sur schéma | Réf. article |
| Joint plat 8 x 2 mm | 11 | 710096 |
| Joint rond creux 6 mm | 12 | 718183 |
| Joint rond fibre de verre d=14 mm | 13 | 714223 |
Céramique réfractaire
| Désignation | N° sur schéma | Réf. article |
| Keramott en bas à gauche | 1 | 712732 |
| Keramott en bas à droit | 2 | 712731 |
| Grille en bas | 3 | 716408 |
| Keramott au centre | 4 | 712729 |
| Keramott côte gauche | 5 | 712736 |
| Keramott côte droit | 8 | 712730 |
| Keramott déflecteur arrière | 6 | 712735 |
| Keramott déflecteur avant | 7 | 712734 |
| Keramott pare-bùche | 9 | 712733 |
Autres
| Désignation | N° sur schéma | Réf. article |
| Vitre du porte Luba | 10 | 712702 |
| Vernis pour poële | -- | 650002 |
| Allume-feu bois et charbon | -- | 640067 |
| Nettoyant pour vitres 0,5 l | -- | 640070 |

Numérorotation des céramiques réfractaires = instructions de montage

Accessoires
Voutrouvrez chez votre revendeur spécialisé des plaques de fond en verre ou en métal, des instruments de cheminée, des produits d'entretien et le système de stockage de chaleur Heat Memory.
IMPORTANT: Les pieces défectueuses doivent toujours être replacées par votre revendeur spécialisé, afin que le poèle reste sur et en bon état de marche.
Entretien
Pour le nettoyage de la vitre, utilisez un produit pour vitre comme "Thermohit". Les parties laquées doivent être nettoyés uniquement avec un chiffon (éventuellesment humide). Utilisez pour les superficies en inox, des produits spéciaux prévus pour ce revêtement.
2 Jahre Garantie
Modellname / Name of Model / modello / nom du produit
LUBA
angeschlossen von / Installed by / installato da / raccordée par
Serien No. / serial no. / No. di série / no. de série

(siehe Typenschild / See manufacturer's plate / Vedi targhetto / voir plaque signalétique)
2 anni di garanzia
Nous garantissons le bon fonctionnement de tous les éléments en acier et en fonte des poèmes AUSTROFLAMM pendant 2 ans à compter de la date du premier achat. Les pieces en acier et en fonte représentant un début de matériel et/ou de fabrication pendant la durée de la garantie seront replacées par des pieces neuves.
Nous déclinons toute garantie pour les pieces d'usure (par ex. céramique refractaire, joints, grille de fond), les joints de surfaces, le vernis, les vitres et les céramiques.
Conditions d'application de la garantie :
- Voiture poèle AUSTROFLAMM doit avoir eté installé par un spécialiste et utilisé conformément au mode d'emploi.
- La demande de garantie doit être représentée à un revendeur spécialisé AUSTROFLAMM en même temps que la carte de garantie complétée et que la facture.
IMPORTANT : Notre service sous garantie couvre le remplacement gratuite par des pièces neuves. Les temps de travail et de déplacement ne sont pas inclus. En cas de demande abusive d'application de la garantie, nousprésenterons à l'utilisateur une facture correspondante.

In caso di richiesta di garanzia, ritagliare la cartolina e presentarla al rivenditore AUSTROFLAMM! Découpez selon les pointillés et présente ce coupon à votre revendeur AUSTROFLAMM.
Notice Facile