WS4-WSB4650H - Machine à laver ELECTROLUX LAUNDRY SYSTEMS - Notice d'utilisation et mode d'emploi gratuit
Retrouvez gratuitement la notice de l'appareil WS4-WSB4650H ELECTROLUX LAUNDRY SYSTEMS au format PDF.
| Type de produit | Machine à laver professionnelle |
| Capacité de lavage | 45 kg |
| Alimentation électrique | 380-415 V, 50 Hz |
| Dimensions approximatives | Largeur : 100 cm, Profondeur : 120 cm, Hauteur : 160 cm |
| Poids | Environ 800 kg |
| Compatibilités | Compatible avec divers systèmes de séchage et de distribution de produits lessiviels |
| Fonctions principales | Programmes de lavage variés, contrôle électronique, options de prélavage et de rinçage |
| Entretien et nettoyage | Nettoyage régulier du filtre, vérification des tuyaux d'arrivée et d'évacuation d'eau |
| Pièces détachées et réparabilité | Disponibilité de pièces de rechange via le service après-vente d'Electrolux |
| Sécurité | Système de verrouillage de porte, protection contre les surcharges électriques |
| Informations générales | Conçue pour un usage intensif dans les environnements commerciaux, garantie de performance et de durabilité |
FOIRE AUX QUESTIONS - WS4-WSB4650H ELECTROLUX LAUNDRY SYSTEMS
Questions des utilisateurs sur WS4-WSB4650H ELECTROLUX LAUNDRY SYSTEMS
0 question sur cet appareil. Repondez a celles que vous connaissez ou posez la votre.
Poser une nouvelle question sur cet appareil
Téléchargez la notice de votre Machine à laver au format PDF gratuitement ! Retrouvez votre notice WS4-WSB4650H - ELECTROLUX LAUNDRY SYSTEMS et reprennez votre appareil électronique en main. Sur cette page sont publiés tous les documents nécessaires à l'utilisation de votre appareil WS4-WSB4650H de la marque ELECTROLUX LAUNDRY SYSTEMS.
MODE D'EMPLOI WS4-WSB4650H ELECTROLUX LAUNDRY SYSTEMS
Laveuses essoreuses barrières
\section*{Caracteristiques et points forts}
- Convient pour les installations barrières et salle blanche
- Construction suspendue - ne nécessite pas de fondations spéciales
- Programmateur à microprocesseur Clarus Control avec neuf programmes de lavage prédéfinis et jusqu'à 192 programmes personnalisés
- Distributeur de produits lessiviels à 5 compartments pour alimentation manuelle ou couplage à un distributeur automatique externe
- Variation de vitesse par convertisseur de fréquence
- Filtres antiparasite et cables blindés pour une sécurité et une fiabilité optimes
- Chauffage électrique, gaz, vapeur ou fluide thermique
Principales options
- Cellules de pesage intégrées indiquant le poids à l'écran
- Carrosserie en acier inoxydable
Application salle blanche - Chauffage vapeur indirecte

| Caractéristiques principales | 250 | 350 | 500 | 650 | ||||||||||
| Capacité max. | kg/lb | 25/55 | 35/77 | 50/110 | 65/143 | |||||||||
| Tambour | volume | litre | 250 | 350 | 500 | 650 | ||||||||
| Tambour | diamètre | ø mm | 770 | 770 | 770 | 770 | ||||||||
| Essorage | tr/min | 910 | 910 | 910 | 910 | |||||||||
| Facteur G | 350 | 350 | 350 | 350 | ||||||||||
| Possibilités de chauffage électricité | kW | 18 | 27 | 36 | 54 | |||||||||
| vapeur | x | x | x | x | ||||||||||
| gaz | Btu/h | 136500 | 136500 | 136500 | 136500 | |||||||||
| Consommation, programme «Normal» à 60 °C avec prélavage* | ||||||||||||||
| ÉI. | Vapeur | Gaz | ÉI. | Vapeur | Gaz | ÉI. | Vapeur | Gaz | ÉI. | Vapeur | Gaz | |||
| Consommation d'eau (floide) | litre | 340 | 340 | 360 | 470 | 470 | 495 | 610 | 610 | 638 | 977 | 977 | 1005 | |
| Consommation d'énergie (moteur/chauffage)* | kWh | 6 | 0.6 | 0.8 | 9.2 | 1 | 1.2 | 13.4 | 1.2 | 1.4 | 21 | 2 | 2.16 | |
| Consommation de vapeur | kg | - | 12 | - | - | 18 | - | - | 24.5 | - | - | 36 | - | |
| * Température de l'eau 15°C, eau froide. | ||||||||||||||
| Branchement électrique* | 250 | 350 | 500 | 650 | |
| Chauffage TensionÉI. 400-415V 3 AC 50 Hz Vapeur 400-415V 3 AC 50 Hz ou gaz | 21.7 (40) | 32 (63) | 42 (80) | 61.5 (100) | |
| 3.7 (16) | 4.8 (16) | 5.8 (16) | 7.8 (16) | ||
| Raccordement d'eau, de vapeur, de gaz et d'air | |||||
| Vannes d'admission d'eau | DN | 20 | 20 | 20 | 20 |
| Pression d'eau | kPa | 50-300 | 50-300 | 50-300 | 50-300 |
| Capacité à 250 kPa | l/min | 70 | 70 | 70 | 70 |
| Vanne de vidange | ø mm | 75 | 75 | 75 | 75 |
| Débit de vidange | l/min | 240 | 240 | 240 | 240 |
| Vanne de vapeur | DN | 20 | 20 | 20 | 20 |
| Pression de la vapeur | kPa | 300-600 | 300-600 | 300-600 | 300-600 |
| Vanne de gaz | DN | 20 | 20 | 20 | 20 |
| Evacuation du gaz | ø mm | 125 | 125 | 125 | 125 |
| Efforts au sol | |||||
| Fréquence des efforts dynamiques | Hz | 0.767 | 0.767 | 0.767 | 0.767 |
| Force maximale transmise au sol | daN | 935 | 1164 | 1547 | 2055 |
| Niveau sonores | |||||
| Niveau sonore aérien | dB(A) | 73 | 73 | 73 | 73 |
| Déperdition calorifique | |||||
| % de la puissance installée, max | 5 | 5 | 5 | 5 | |
| Emballage | |||||
| net, kg | 670 | 760 | 920 | 1080 | |
| avec caisse, kg | 820 | 895 | 1090 | 1255 | |
| Volume emballé | m3 | 2.71 | 3.2 | 3.88 | 4.81 |
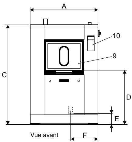
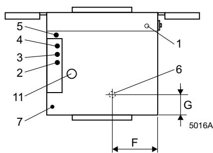
| Dimensions en mm | |||||
| A Largeur | 1045 | 1285 | 1565 | 2000 | |
| B Profondeur | 980 | 980 | 980 | 980 | |
| C Hauteur | 1610 | 1610 | 1610 | 1610 | |
| D | 870 | 870 | 870 | 870 | 870 |
| E | 190 | 190 | 190 | 190 | 190 |
| F | 440 | 560 | 700 | 915 | |
| G | 200 | 200 | 200 | 200 | 200 |
| 1 Connexion électrique | 7 Raccord d'alimentation en lessive liquide | ||||
| 2 Eau froide | 8 Bac à produits | ||||
| 3 Eau chaude | 9 Porte de chargement | ||||
| 4 Eau adoucie froide | 10 Plastron de commande | ||||
| 5 Arrivée vapeur | 11 Raccordement prise d'air | ||||
| 6 Vidange | |||||
- Autres tensions disponibles, voir manuel d'installation.


Vue de côté

Vue de dessus
Notice Facile