FSB10 - Système de blanchisserie ELECTROLUX LAUNDRY SYSTEMS - Notice d'utilisation et mode d'emploi gratuit
Retrouvez gratuitement la notice de l'appareil FSB10 ELECTROLUX LAUNDRY SYSTEMS au format PDF.
| Type d'appareil | Chaudière vapeur |
| Capacité vapeur | 13 à 25 kg vapeur / heure |
| Contrôle de niveau | Sonde de contrôle de niveau |
| Durée de vie des éléments chauffants | Longue durée de vie |
| Fonctionnement | Autonome |
| Installation | Simple |
| Alimentation en eau | Pompe d'alimentation en eau intégrée |
| Options d'alimentation | Réservoirs à condensat pour efficacité énergétique |
| Contrôle chauffage | Variable pour économie d'énergie |
| Pression de fonctionnement | Non précisé |
| Matériau du corps | Non précisé |
| Dimensions | Non précisé |
| Poids | Non précisé |
| Alimentation électrique | Non précisé |
| Sécurité | Non précisé |
| Utilisation recommandée | Blanchisserie professionnelle |
FOIRE AUX QUESTIONS - FSB10 ELECTROLUX LAUNDRY SYSTEMS
Questions des utilisateurs sur FSB10 ELECTROLUX LAUNDRY SYSTEMS
0 question sur cet appareil. Repondez a celles que vous connaissez ou posez la votre.
Poser une nouvelle question sur cet appareil
Téléchargez la notice de votre Système de blanchisserie au format PDF gratuitement ! Retrouvez votre notice FSB10 - ELECTROLUX LAUNDRY SYSTEMS et reprennez votre appareil électronique en main. Sur cette page sont publiés tous les documents nécessaires à l'utilisation de votre appareil FSB10 de la marque ELECTROLUX LAUNDRY SYSTEMS.
MODE D'EMPLOI FSB10 ELECTROLUX LAUNDRY SYSTEMS

Photo non contractuelle
\section*{Caracteristiques et points forts}
- Catégorie de capacité de 13 à 25 kg vapeur / heures
- Chaudière vapeur avec sonde de contrôle de niveau, assurant un niveau d'eau toujours correct et une plus longue durée de vie des éléments chauffants
- Chaudière autonome
- Installation simple
- Standard avec pompe d'alimentation en eau intégrée
Principales options
- Alimentation en eau / réservoirs à condensat pour l'efficacité énergétique / installation simple
- Contrôle variable du chauffage pour économiser de l'énergie lorsque la capacité maximale n'est pas requise
| Raccordement électrique | FSB10 | FSB12 | FSB15 | FSB18 | |
| Tension | |||||
| 208-240V 3 AC 50/60 Hz | |||||
| 380-415V 3/3N AC 50/60 Hz | kW | kW | kW | kW | kW |
| Options de chauffage de la chaudière Élement chauffant | |||||
| Rendement de vapeur | Groupes Puisance | ||||
| 13 kg/h | (5+5 option) 10 kW | 11 | - | - | - |
| 16 kg/h | (6+6 option) 12 kW | - | 13 | - | - |
| 20 kg/h | (7.5+7.5 opt.) 15 kW | - | - | 16 | - |
| 25 kg/h | (9+9 option) 18 kW | - | - | - | 19 |
| Sortie de vapeur, vidange, raccords d'arrivée d'eau | |||||
| Vapeur | DN | 15 | 15 | 15 | 15 |
| Pression de vapeur maximale | kPa | 580 | 580 | 580 | 580 |
| Arrivée d'eau | diamètre int. mm | 13 | 13 | 13 | 13 |
| Vidange de la chaudière | DN | 15 | 15 | 15 | 15 |
| Spécifications de la chaudière | |||||
| Capacité de la cuve | Litres | 20 | 20 | 20 | 20 |
| Poids | |||||
| poids net sans réservoir, kg | 84 | 84 | 84 | 84 | 84 |
| poids net avec réservoir, kg | 113 | 113 | 113 | 113 | 113 |
| Dimensions en mm | |||||
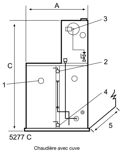
| A Largeur | 650 | 650 | 650 | 650 | 650 |
| B Profondeur | 410 | 410 | 410 | 410 | 410 |
| C Hauteur | 1260 | 1260 | 1260 | 1260 | 1260 |
| D | 700 | 700 | 700 | 700 | 700 |
| 1 Raccordement électrique | |||||
| 2 Sortie de vapeur | |||||
| 3 Arrivée d'eau | |||||
| 4 Vidange de la chaudière | |||||
| 5 Profondeur - dimension de l'avant vers l'arrière 410 mm | |||||



Notice Facile