FIT2-WC - Système de lavage ELECTROLUX LAUNDRY SYSTEMS - Notice d'utilisation et mode d'emploi gratuit
Retrouvez gratuitement la notice de l'appareil FIT2-WC ELECTROLUX LAUNDRY SYSTEMS au format PDF.
| Type de table | Table à repasser à froid |
| Orientation | Pointe à droite |
| Moteur d'aspiration | Intégré, maintien du vêtement en place |
| Soufflerie | Air provenant de la table pour finition des tissus |
| Réglage de la table | Hauteur réglable |
| Puissance | Aspiration et soufflerie réglables |
| Mobilité | Table facile à déplacer |
| Fer à repasser | Électro-vapeur avec semelle en Téflon |
| Pistolet vapeur | Pour redonner du volume à la garniture |
| Jeannette | Pour repassage des manches et finition des épaules |
| Portique suspendu | Maintien des flexibles du fer à repasser |
| Éclairage | Couvrant l'ensemble de la zone de travail |
| Support fer à repasser | Mobile pour confort de l'opérateur |
| Pédales supplémentaires | Aspiration/soufflerie pour utilisation des deux côtés (modèle FIT1-WC) |
| Chaudière vapeur | Intégrée pour installation autonome (modèle FIT2-WC) |
FOIRE AUX QUESTIONS - FIT2-WC ELECTROLUX LAUNDRY SYSTEMS
Comment installer le système de lavage ELECTROLUX FIT2-WC ?
Pour installer le système de lavage ELECTROLUX FIT2-WC, suivez le manuel d'installation fourni. Assurez-vous que l'emplacement est bien nivelé et que toutes les connexions d'eau et d'électricité sont sécurisées.
Pourquoi ma machine ne démarre-t-elle pas ?
Vérifiez si la machine est correctement branchée et si le disjoncteur n'a pas sauté. Assurez-vous également que la porte est bien fermée.
Comment nettoyer le filtre de ma machine ?
Pour nettoyer le filtre, retirez-le selon les instructions du manuel, rincez-le à l'eau tiède pour enlever les résidus de saleté, puis replacez-le correctement.
Quel type de détergent dois-je utiliser ?
Utilisez un détergent adapté aux lave-linge, de préférence liquide, et suivez les recommandations de dosage figurant sur l'emballage du détergent.
Que faire si ma machine affiche un code d'erreur ?
Consultez le manuel d'utilisateur pour identifier le code d'erreur. Suivez les instructions pour résoudre le problème ou contactez le service client si nécessaire.
Comment réduire le bruit de ma machine ?
Assurez-vous que la machine est bien nivelée et que les pieds sont ajustés. Évitez de surcharger la machine et vérifiez qu'aucun objet n'est coincé dans le tambour.
Puis-je laver des vêtements délicats dans ce système ?
Oui, vous pouvez laver des vêtements délicats. Utilisez le cycle approprié pour les tissus délicats et placez-les dans un sac de lavage pour plus de protection.
Comment prolonger la durée de vie de mon système de lavage ?
Pour prolonger la durée de vie de votre machine, effectuez un entretien régulier, nettoyez le filtre, n'utilisez pas de détergents trop agressifs et évitez de surcharger l'appareil.
Le système de lavage consomme beaucoup d'eau ?
Le système ELECTROLUX FIT2-WC est conçu pour être économe en eau. Utilisez les réglages appropriés pour optimiser la consommation d'eau selon votre charge de lavage.
Comment contacter le service client d'ELECTROLUX ?
Vous pouvez contacter le service client d'ELECTROLUX via leur site web officiel ou en appelant le numéro figurant sur la garantie de votre produit.
Questions des utilisateurs sur FIT2-WC ELECTROLUX LAUNDRY SYSTEMS
0 question sur cet appareil. Repondez a celles que vous connaissez ou posez la votre.
Poser une nouvelle question sur cet appareil
Aucune question pour l'instant. Soyez le premier à en poser une.
Téléchargez la notice de votre Système de lavage au format PDF gratuitement ! Retrouvez votre notice FIT2-WC - ELECTROLUX LAUNDRY SYSTEMS et reprennez votre appareil électronique en main. Sur cette page sont publiés tous les documents nécessaires à l'utilisation de votre appareil FIT2-WC de la marque ELECTROLUX LAUNDRY SYSTEMS.
MODE D'EMPLOI FIT2-WC ELECTROLUX LAUNDRY SYSTEMS
Tables à repasser/Nettoyage à l'eau
FIT1-WC, FIT2-WC

\section*{Caracteristiques et points forts}
- Table à repasser à froid, pointe à droite pour tout type de vêtement
- Moteur d'aspiration intégré permettant de maintainir le vêtement en place et de le sécher après le passage du fer
- Soufflerie d'air provenant de la table facilitant la finition des tissus fins et des doublures
- Table réglabre en hauteur pour le comport de l'opérateur
- Puisance d'aspiration et de soufflerie réglables
Table facile à déplacer - Fer à repasseré electro-vapeur avec semelle en Téflon
- Pistolet vapeur pour redonner du volume à la garniture de certains tissus
- Jeannette pour le repassage des manches
- Jeanette pour la finition des épaules
- Portique suspendu pour maintainir les flexibles du fer à repasser
- Eclairage couvrant l'ensemble de la zone de travail
- Support du fer à repasser mobile pour le comfort de l'opérateur
- Pédales supplémentaires (aspiration/soufflerie) pour une utilisation des deux cots (modèle FIT1-WC)
Principales options
- Chaudière vapeur intégrée pour une installation autonome (standard pour le modele FIT2-WC)
- Pistolte vapeur
| Branchement électrique | FIT1-WC | FIT2-WC | |
| Tension | |||
| 400V 3N AC 50Hz kW | 2 | 6 | |
| 208V-240V 3AC 60Hz kW | 2 | - | |
| Raccords vapeur | |||
| Vapeur DN | 8 | - | |
| Pression de vapeur rec. kPa | 300-500 | - | |
| Consommation de vapeur kg/h | 3 | - | |
| Condensat DN | 8 | - | |
| Poids | |||
| net, kg avec caisse, kg | 130 | 170 | |
| 150 | 190 | ||
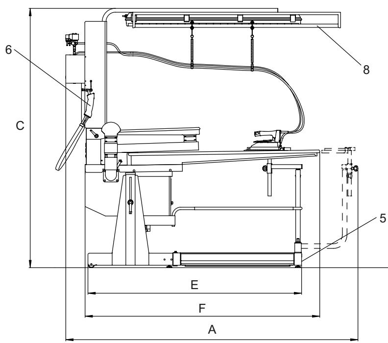
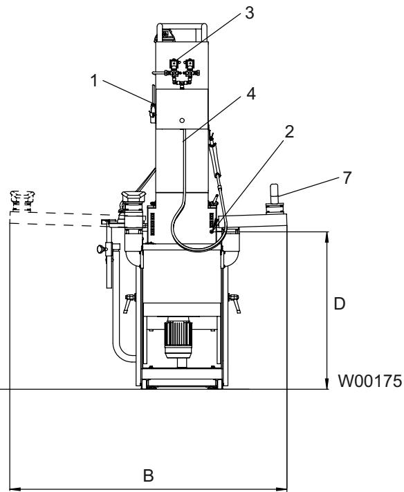
| Dimensions en mm | |||
| A Largeur | 2135 | 2220 | |
| B Profondeur | 1435 | 1435 | |
| C Hauteur | 1900-2080 | 1900-2080 | |
| D 1900-2080 | 815-995 | 815-995 | |
| E 1560 | 1560 | 1560 | |
| F 1715 | 1855 | 1855 | |
| 1 Bandeau de commande 5 Pédales | |||
| 2 Branchement électric 6 Pistolet vapeur | |||
| 3 Raccords vapeur 7 Jeanette | |||
| 4 Condensat 8 Éclairage supérieur | |||


Notice Facile