BLUE SWITCH - Kit mains libres Bluetooth MR HANDSFREE - Notice d'utilisation et mode d'emploi gratuit
Retrouvez gratuitement la notice de l'appareil BLUE SWITCH MR HANDSFREE au format PDF.
| Type de produit | Interphone sans fil Bluetooth |
| Caractéristiques techniques principales | Technologie Bluetooth 5.0, portée jusqu'à 10 mètres |
| Alimentation électrique | Alimentation par batterie rechargeable |
| Dimensions approximatives | 10 cm x 5 cm x 2 cm |
| Poids | 150 g |
| Compatibilités | Compatible avec la plupart des smartphones et tablettes Bluetooth |
| Type de batterie | Batterie lithium-ion |
| Tension | 5V |
| Puissance | 2W |
| Fonctions principales | Appels mains libres, contrôle vocal, musique sans fil |
| Entretien et nettoyage | Essuyer avec un chiffon doux, éviter les produits abrasifs |
| Pièces détachées et réparabilité | Réparabilité limitée, pièces non disponibles en vente |
| Sécurité | Ne pas exposer à l'eau, respecter les instructions de charge |
| Informations générales utiles | Garantie de 1 an, support technique disponible |
FOIRE AUX QUESTIONS - BLUE SWITCH MR HANDSFREE
Téléchargez la notice de votre Kit mains libres Bluetooth au format PDF gratuitement ! Retrouvez votre notice BLUE SWITCH - MR HANDSFREE et reprennez votre appareil électronique en main. Sur cette page sont publiés tous les documents nécessaires à l'utilisation de votre appareil BLUE SWITCH de la marque MR HANDSFREE.
MODE D'EMPLOI BLUE SWITCH MR HANDSFREE
- Veiliez à ce que le fonctionnement du Blue Switch n'exerce aucune influence sur votre sécurité.
- Veillez à ce que l'installation de ce kit automobile n'influence pas le système de direction ou de freinage ou un autre système essentiel au bon fonctionnement de votre vehicule.
- Veiliez à ce que le déploiement des airbags ne soit pas bloqué ou entravé.
- Installez le Blue Switch avant de démarrer votre vehicule.
INTRODUCTION
Le mr Handsfree Blue Switch est un apparéil 2 en 1 très pratique qui combine une oreillette Bluetooth® avec un kit mains libres. Quand vous placez l'oreillette dans le chargeur, le Blue Switch change de la fonction d'oreillette à la fonction d'usage kit mains libres. Quand vous utilisez le Blue Switch comme kit mains libres, le Blue Switch change automatiquement à la fonction d'usage oreillete dés que vous prenez l'oreillette hors du chargeur.
2 en 1: 1) Oreillette Bluetooth®
2] Kit mains libres Bluetooth®
SUIVEZ LES ETAPES SUIVANTES LORSQUE VOUS UTILISEZ LE BLUE SWITCH POUR LA PREMIERE FOIS:
- Installé le Blue Switch (voir 'Installation du Blue Switch').
- Chargez la batterie (voir 'Charger la batterie').
- Allumez l'appareil (voir 'Allumer / Eteindre').
- Associez le téléphone mobile avec le Blue Switch (voir 'Associer').
- Si vous pouze utiliser le Blue Switch comme oreillette, prenez l'oreillette hors du chargeur et mettez-le dans l'oreille.
- Si vous poulez utiliser le Blue Switch comme kit mains-libres, placez l'oreillette dans le chargeur et l'appareil change automatiquement à usage kit mains libres.
Le mr Handsfree Blue Switch est disponible en 4 versions:
- Blue Switch Plug & Play: pour une installation facile
- Blue Switch Quick Installation
- Blue Switch Pro: pour une installation professionnelle avec le son du kit mains libres par les haut-parleurs de la voiture
- Blue Switch Pro Music 100: pour une installation professionnelle avec le son du kit mains libres et du lecteur MP3 par les haut-parleurs de la voiture
Voir 'Installation du Blue Switch' pour de plus amples informations.
CONTENU DE LA BOITE
Voir illustration I
- Module mains libres avec haut-parleur intégré
- Rondelle à adhésif double-face pour la fixation du module mains libres
- Ensemble de vis pour la fixation du module mains libres - 4 pcs.
- Contour d'oreille
- Coussins d'oreille en cuir
- Oreillette
- Support de l'oreillette / kit mains libres
- Chargeur + support USB
- Velcro par la fixation du support
- Ensemble de câbles - Option 1 - Pour le Blue Switch Plug & Play (Optionnel)
10.1 Adaptateur permettant de brancher le module mains libres sur l'alimentation de la voiture via l'allume-cigare. Inclut un fusible interchangeable et un cordon enroule.
- Ensemble de câbles - Option 2 - Pour le Blue Switch Quick Installation (Optionnel)
11.1 Câble d'alimentation pour connecter le module mains libres à l'alimentation de la voiture, au contact et à l'autoradio (câble small mute). Inclut un fusible interchangeable.
11.2 Clips de contact pour connecter le cable small mute aux circuits de la voiture - 4 pcs.
- Ensemble de câbles - Option 3 - Pour le Blue Switch Pro (Optionnel)
12.1 Boîte 'mute' (câble ISO) avec prises ISO.
- Ensemble de câbles - Option 4 - pour le Blue Switch Pro Music 100 (Optionnel)
13.1 Câble Pro Music 100
13.2 Câbles de conversion DIN/ISO/FAKRA
13.3 Prise jack stéreo de 2,5/3,5 mm
13.4 Câbles de chargement pour le périphérique audio
- Guide d'Installation Rapide
MODULE MAINS LIBRES
Le module mains libres inclut un haut-parleur intégré, un compensateur d'echo, un atténuateur de bruit, la technologie DSP ainsi que la technologie sans fil Bluetooth®, qui permet la connexion sans fil avec des téléphones portables Bluetooth®.
Le module mains libres compte les prises suivantes pour la connexion de modules externes :
- Prise pour le support de l'oreillette / kit mains libres.
- Prise pour haut-parleur externe (3-6W, min 8 Ohm). Si le haut-parleur externe est branché sur la prise 2, le haut-parleur intégré sera éteint automatiquement. Utilisé pour cable ISO et cable Pro Music 100.
- Prise pour le cable small mute, l'adaptateur allume-cigare, le cable ISO et le cable Pro Music 100.


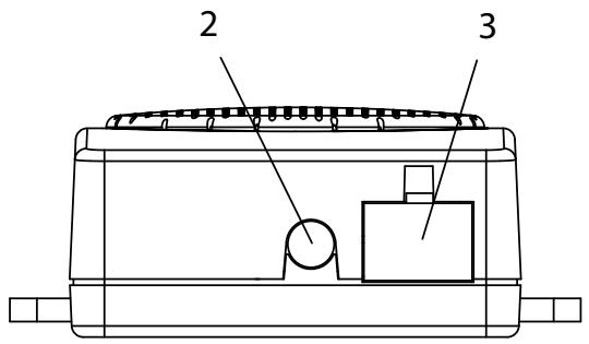
OREILLETTE
Voir illustration II
- Bouton central
- Boutons de Volume (+) & (-)
- Témoin lumineux
Voir 'Eléments et leurs fonctions' pour de plus amples informations.
SUPPORT DE L'OREILLETTE / KIT MAINS LIBRES
Chargeur pour connecter au module mains libres. Quand vous placez l'oreillette dans le chargeur, le Blue Switch se met en charge et change automatiquement d'usage oreillette à usage kit mains libres.

CHARGEUR AVEC ConnEXION USB
Support supplémentaire pour charger l'oreillette via connexion USB.

L'ADAPTATEUR ALLUME-CIGARE (Optionnel)
L'adaptateur allume-cigare est utilisé pour l'installation 'Plug & Play'. Il assure l'alimentation via l'allume-cigare.
L'adaptateur allume-cigare est fourni avec des fusibles interchangeables. La procédure de remplacement des fusibles est indiquée dans l'image.


Fusible
CABLE SMALL MUTE (Optionnel)
Le cable small mute connecte le module mains libres à l'alimentation et au contact et est utilisé pour activer la fonction 'mute' (muet) de l'autoradio.
Le cable small mute est fourni avec des fusibles interchangeables. La procEDURE de remplacement des fusibles est indiquée dans l'image.
CABLE ISO (Optionnel)
Le cable ISO connecte le module mains libres à l'alimentation, au contact, à la prise 'mute' de l'autoradio, aux haut-parleurs et à la radio de la voiture. Il comprend la boîte 'mute' avec des composantes de relatis et un cable avec des prises ISO.
Veuillez consultier le chapitre 'Installation du Blue Switch' dont vous trouverez le diagramme de connexion.


CABLE SYSTÉME PRO MUSIC 100 (Optionnel)
Ce cable connecte l'unité mains libres à l'alimentation, au système d'allumage, au socket silencieux, aux haut-parleurs et à la radio de la voiture. Il comprend la boîte 'mute' avec des composantes de relais et un cable avec des prises ISO. Il fournit également une connexion à votre lecteur MP3 avec fonction de charge et aux cables d'antenne.
Veuillez consulter le chapitre 'Installation du Blue Switch' où vous verrez le diagramme de connexion.

Important!
- Assurez-vous que tous les câbles, le module mains libres et/ou le haut-parleur externe sont bien installés avant de connecter le Blue Switch à l'alimentation de la voiture.
- N'essayez pas d'acceder au module mains libres et aux prises du module mains libres pendant le fonctionnement.
- Si vous poulez déconnecter le Blue Switch, vous devez toujours couper l'alimentation.
OREILLETTE / KIT MAINS LIBRES
Veuillez fixer l'unité sur une location indiquée dans l'illustration III.
Veilz a ce que le tableau de bord soit exempt de poussiere et de saleté avant de coller le Velcro!
Veillez a ce que l'appareil soit exempt de poussiere et de saleté avant demettre le Velcro sur l'appareil.
- Pour un fonctionnement parfait, le microphone doit se trouver à au moins 50 cm de la bouche du conducteur. Si possible, le microphone du Blue Switch doit être dirigé directement vers la bouche du conducteur.
MODULE MAINS LIBRES
Repérez dans la voiture un emplacement pouvant accueillir le module mains libres et permettre une utilisation aisée.
- Assurez-vous que l'emplacement dans la voiture où vous souhaitez installer votre module mains libres est exempt de poussière et de saleté.
- Nous vous conseillons de monter le module mains libres à un emplacement moins visible dans la voiture. Assurez-vous toute fois que le module peut offrir une bonne acoustique en plaçant le module à au moins 50 cm de l'oreillette / kit mains libres.
Veilz a ce que le module mains libres ne soit pas dirigé vers l'oreillette / le kit mains libres.
Le module mains libres peut etre fixe de deux manieres :
- Au-dessous du tableau de bord ou à tout autre endroit dans la voiture en utilisant les vis d'installation.
- Au dessous du tableau de bord ou à tout autre endroit dans la voiture en utilisant la rondelle à adhésiif double-face.
Il est possible de connecter le Blue Switch de 4 manières au système électronique de votre voiture:
- Blue Switch Plug & Play: pour une installation facile (Optionnel).
Connectez l'adaptateur allume-cigare à la voiture et l'autre extrémité du cable au kit mains libres.
- Blue Switch Quick Installation : Immédiatement au système électronique de la voiture via le cable small mute (Optionnel).
Les fils du cable small mute sont codés par couleur. Ils sont repris dans la liste du Tableau 1 dans la colonne A et chaque fil doit être connecté à l'élement correspondant dans la colonne B.
Tableau 1
| A | B |
| Fil rouge | Le pôle positif + de l'alimentation de la voiture |
| Fil noir | Le pôle négatif GND (-) |
| Fil bleu | Contact |
| Fil brun | Utilisé pour la mise en silence de l'autoradio (CRM) et doit être connecté à l'autoradio («mute») |
- Pour éviter des interférences, assurez-vous que les fils sont placés loin des systèmes électroniques de la voiture.
- Connectez les fils avec les clips de contact. Placez le fil de la voiture dans l'encôche de passage des clips et le fil du cable dans l'encôche avec l'onglet.
Attention!
S'il n'y a pas de fil de contact ou s'il n'est pas disponible, vous doivent connecter le fil bleu au fil rouge du module mains libres et le fil rouge au fil "continu" de la voiture qui garde le voltage lorsque le contact est coupé. Dans ce cas, l'appel ne sera pas coupé quand le contact est coupé.
CAR RADIO MUTING (CRM)
Le Blue Switch permit de mettre votre autoradio en mode silence (muet) en cas d'appoint entrant.
- Consultez le manuel de votre autoradio afin de vous assurer qu'il dispose d'une fonction de silence (muet). S'il faut procéder à des réglages supplémentaires dans le menu de l'autoradio, assurez-vous qu'ils sont réalisés correctement.
Enlevez le panneau de commande de l'autoradio.
Retirez le panneau decoratif et sortez l'autoradio du logement en utilisant les poignées. Déconnectez la prise de l'autoradio. -
Connectez les cables du Blue Switch aux fils correspondants de l'autoradio. Utilisez les clips de contact pour la connexion.
Rebranche la connexion et reinstallez l'autoradio. -
Blue Switch Pro: Immédiatement au système électronique de la voiture via le cable ISO (Optionnel).
Beaucoup de voitures ont leur propre type de connecteurs audio. Dans ce cas, il vous faut un faisceau ISO2CAR (pour plus d'informations, consultez www.iso2car.eu).
- Déconnectez l'autoradio et les fils d'alimentation.
- Connectez le cable selon le diagramme de connexion représenté ci-dessous. Si l'autoradio comporte une prise 'mute', vous devez connecter le fil jaune du cable ISO à l'une des prises 'mute in' (1, 2 ou 3). Consultez le manuel de votre autoradio pour déterminer la position de la prise 'mute'.
La connexion standard est « mute 1 ». Si cela n'est pas le cas pour votre autoradio, le message « mute » n'apparaître pas sur l'écran de votre autoradio. Pendant un appel, le son du kit mains libres sera transmis aux haut-parleurs au lieu du son de l'autoradio. - Les fiches d'alimentation indiquées sont (+) plus et (+) contact. Dans certains cas (p.e. Renault) il faut inverser ces fiches.

carkit

POWER/MUTE X1
4. Blue Switch Pro Music 100: Immédiatement au système électronique de la voiture via le cable système Pro Music 100 (Optionnel).
Retirez la radio de votre voiture selon les specifications de votre voiture et de leur radio.
- Débranchez la prise d'antenne de votre radio et connectez-la au socket d'antenne
femelle de vous Pro Music 100.
-Si la voiture est de type DIN (1), procedez à la connexion via la prise de conversion (3).
- Si la voiture est de type ISO [2], procédez directement à la connexion.
- Si la voiture est de type FAKRA, procédez à la connexion via la prise de conversion (4.2).

-
Branchez la prise d'antenne maje du Pro Music 100 dans la radio de la voiture.
-
Si la voiture est de type DIN (1), procédez directement à la connexion.
- Si la voiture est de type ISO [2], procedez à la connexion via la prise de conversion (3).
-
Si la voiture est de type FAKRA, procedez à la connexion via la prise de conversion (4.1).
-
Sélectionnez une fréquence avec les 4 commutateurs DIP sur le Pro Music 100.
Le tableau des fréquences est imprimé sur le dos de votre Pro Music 100. Veuillez jeter un oeil à ce tableau!
- Connectez la prise ISO à la radio et aux haut-parleurs. Si votre voiture est équipée de prises autres que les prises ISO, vous aurez besoin d'adaptateurs, qui ne sont pas inclus.
Guidez le fil avec le bouton et la prise jack de 2,5 mm/3,5 mm à l'endetroit où votre dispositif audio se trouve. - Sélectionnez votre fil de chargement, pour mini USB ou iPod, puis connectez-le au Pro Music 100. Guidez ce fil également à l'endetroit où votre péripérisque audio se trouve.
- Placez votre Pro Music 100 dans l'orifice situé derrière la radio de votre voiture et remettez leur radio à sa place.
UTILISATION AVEC VOTRE PERIPHERIQUE AUDIO
- Connectez la prise jack de votre Pro Music 100 à votre périphérique audio.
- Connectez votre cable de chargement à votre dispositif musical lorsque vous devez charger la batterie.
- Sélectionnez la fréquence du Pro Music 100 sur la radio de votre voiture (veuillez stocker cette fréquence comme une préconfiguration).
- Appuyez sur le bouton de contrôle du cable de votre Pro Music 100 pour l'allumer ou l'éteindre.

FONCTIONNEMENT DU BLUE SWITCH
CHARGER LA BATTERIE
Le mr Handsfree Blue Switch est livre avec une batterie rechargeable. Veilz à ce que la batterie soit entiement rechargée lors du premier emploi. Il faut 3 heures pour recharger la batterie entiement.
Le Blue Switch offre 2 possibilités de chargement:
- Via le chargeur avec cable USB: branché sur votre ordinateur
- Via le chargeur installé sur le tableau de bord: branché sur l'allume-cigares
Le témoin lumineux rouge clignote lorsque débute la mise en charge. La batterie est totalement chargée lorsque le témoin lumineux rouge s'eteint.
ELEMENTS & LEURS FONCTIONS
Voir illustration II
1. BOUTON CENTRAL
(= Bouton ON/OFF et bouton pour Association / Répondre à un appel / Mettre fin à un appel / Refuser un appel / Numération vocale / Répétition du nombre / 2ième appel)
- Associier:
Vous doivent associer le Blue Switch avec votre téléphone mobile avant de l'utiliser. Chaque Blue Switch a un code PIN 0000 par défaut pour associer, qui est stocké dans sa mémoire interne. Le Blue Switch doit être étant avant le début du processus d'association. Maintenez le bouton central (1) enforcé (5 sec.) jusqu'à ce que le témoin lumineux (3) clignote alternatively en bleu et en rouge. → L'oreillette / kit mains libres est alors prét(e) à être associée. → Lancez la procédure d'association entre votre téléphone mobile et le Blue Switch. (Consultez le mode d'emploi de votre téléphone mobile). → Sélectionnez Blue Switch dans la liste des appareils déetectés par votre téléphone mobile. → Au moment où votre téléphone mobile vous demande d'entrée un code PIN, entrez le code 0000 et confirmez.
Remarque :
-
Si le Blue Switch n'est pas en mode association, votre téléphone mobile ne trouera pas l'oreillette / le kit mains libres. Mettez le Blue Switch en mode association avant de commencer à rechercher l'oreillette / kit mains libres avec votre téléphone mobile.
-
Si après une période d'environ 2 minutes, aucune association n'est possible, l'oreillette quittera automatiquement le mode association. Il est préféable de reprendre le processus d'association à zéro.
-
Les apparèils associés restent associés même quand :
-
Un des apparèils n'est pas allumé.
- Une connexion de service est interrompue ou si le service est arrêté.
- Un ou les deux apparèils sont redémarrés.
Connexion
Parfois, la connexion Bluetooth® entre le Blue Switch et votre téléphone mobile est rompue et vous devez rétablir la connexion.
- Quand le Blue Switch a ete debranched: Allumez le Blue Switch et la connexion sera retablie automatiqueement.
- Quand le téléphone mobile a ete debranché: Allumez le téléphone mobile et retablissee la connexion en utilisant le menu de votre téléphone ou appuyez une fois sur le bouton Central.
- Quand l'un des deux apparciels se trouve hors de portée: Assurez-vous que les deux apparciels se trouvent à nouveau dans la portée effective et appuyez une fois sur le bouton Central.
Déconnexion
Vous pouvez déconnecter le Blue Switch de votre téléphone si vous voulez, par exemple, utiliser un autre apparéil Bluetooth® avec votre téléphone. Le Blue Switch peut être déconnecté de plusieurs façon, à savoir:
- Éteindre le Blue Switch.
- Déconnecter l'oreillette dans le menu du téléphone.
- Écarter le téléphone de plus de 10 mètres par rapport à l'oreillette.
Allumer:
Maintenez le bouton central (1) enforcé (3 sec.) jusqu'à ce que vous entendiez un bip et le tímoin lumineux bleu (3) commence à clignoter.
Si l'oreillette se trouve dans le support (mode kit mains libres), elle s'allume automatiquement lorsque vous tournez la clef de contact.
- Éteindre:
Maintenez le bouton central (1) enforcé (3 sec.) jusqu'à ce que vous entendiez un bip et que le témoin lumineux (3) s'allume brievement en rouge pour ensuite s'éteindre à nouveau.
- Répondre à un appel:
Appuyez sur le bouton central (1) pour répondre à un appel.
Remarque:
Du fait de la conception différente de certains téléphones mobiles, une déconnexion automatique peut se produit même quand le Blue Switch est allumé. Dans ce cas, l'oreillette / kit mains libres ne sonnera pas quand vous receivez un appel. Appuyez sur le bouton Central pendant 1 sec. pour reconnectcer le Blue Switch au téléphone mobile pour la réception d'un appel.
- Mettre fin à un appel:
Appuyez sur le bouton central (1) pourmettre fin à l'appele en cours.
Refuser un appel:
Appuyez sur le bouton central (1) pendant 3 secondes pour refuser un appel.
- Numérotation vocale:
Appuyez sur le bouton central (1) jusqu'à ce que vous entendez une tonalité indiquant que vous pouvez prononcer le nom souhaïte (= 'voice tag'). Prononcez le nom souhaïte (= 'voice tag'). Le téléphone puise le nom dans le réseau et forme le numéro lié à ce nom.
Remarque:
Votre téléphone mobile doit supporter cette fonction.
Utiliser les touches du téléphone pour appeler:
Entrez etappelez un numero de telephone sur le telephone mobile comme vous le faites normalement. Une fois que la communication a eté établie, le son sera transmis automatiquement à votre oreillette / kit mains libres.
Rappeler le dernier numero que vous avez formé:
Appuyez deux fois sur le bouton central (1) pour recomposer le dernier numero que vous avez appelé.
2ieme appel:
Maintenez le bouton central (1) enforcé (3 sec.) pour accepter le deuxième appel.
Remarque:
Cette fonction est effective seulement si vous fournisseur de service de téléphone mobile offre un tel service (veuillage vérifier auprès de votre fournisseur).
2. BOUTONS DE VOLUME (+) ET (-)
(= Adaptation du volume / Transférer des appeals / Rétablir les réglages standard / Activer/ Désactiver le mode muet)
Adaptation du volume:
Appuyez sur (+) pour augmenter le volume. Appuyez sur (-) pour réduire le volume.
Transférer des appeals:
Appuyez sur les boutons de Volume (+) & (-) [2] pour transférer l'essay vers le téléphone mobile pendant que vous utilisez l'oreillette / kit mains libres. L'oreillette / kit mains libres s'éteindra. → Si vous voulez à nouveau prendre l'essay sur l'oreillette / kit mains libres, appuyez à nouveau simultanément sur les boutons de Volume (+) & (-) [2].
Rétablir les réglages standard:
En mode 'Stand-by', appuyez simultanément sur les boutons de Volume (+) & (-) (2) jusqu'à ce que le témoin lumineux bleu (3) clignote. → Appuyez à nouveau les boutons de Volume (+) & (-) (2) pendant 2 secondes. Dès que la procédure soit terminée, le Blue Switch s'éteint automatiquement.
- Activer / Déspectiver le mode mulet:
Appuyez sur les boutons de Volume (+) & (-) [2] simultanément pendant 3 secondes. Pour désactiver la fonction muette, appuyez de nouveau sur les boutons de Volume (+) & (-) [2].
3. TEMOIN LUMINEUX
(Peut s'allumer en rouge/bleu ou rouge & bleu)
Témoin lumineux rouge:
- Clignote en mode stand-by: faible capacité de la batterie
- Clignote en cours de mise en charge de la batterie
Témoin lumineux bleu:
- Clignote quand vous allumez le Blue Switch
- Clignote quand vous rétablissez les réglages standard
Témoins rouge + bleu:
- Clignotent alternatively en mode d'association (pairage)
BLUETOOTH®
La marque et le logo Bluetooth® sont la propriété de Bluetooth SIG, Inc. et toute utilisation de telles marques par TE-Group NV est sous licence. Toutes autres marques et dénominations commerciales appartiennent à leurs propriétaires respectifs.
ENTRETIEN TECHNIQUE
Le Blue Switch est un produit technologiquement avancé qui doit être traité avec soin. Ces quelques suggestions vous aideront à respecter toutes les obligations en matière de garantie et à profiter de ce produit pendant de nombreuses années.
- Assurez-vous que l'appareil et ses composants restent toujours au sec. Tous les types de liquides ou d'humidité peuvent containir des mineraux qui entraîneront la corrosion des circuits électroniques.
- Ne laissiez pas l'appareil à la chaleur. Une température élevée peut réduire la durée de vie des apparciels électroniques, endommager les batteries et déformer ou faire fondre certains plastiques.
- Ne laisses pas l'appareil au froid. Lorsque l'appareil se rechauffe (à sa température normale), de l'humidité risque de se former à l'intérieur et endommager les circuits électroniques.
- N'essayez pas d'ouvrir l'appareil : des manipulations effectuees par des personnes non-expertes risquent de l'endommager.
- N'utilisez pas de produits chimiques corrosifs, de solvants de nettoyage ou de détergents mordants pour nettoyer l'appareil.
GARANTIE
Mr Handsfree est une marque déposée de TE-Group NV.
La marque de mr Handsfree est synonyme de produits de qualite supérieure et d'un service après-vente excellent. C'est la raison pour laquelle mr Handsfree garantit ce produit contre tout defaut de materiel ou de fabrication pour une periode de trois (3) ans a compter de la date d'achat initiale.
Les conditions de cette garantie et l'endetue de la responsabilité de mr Handsfree en vertu de cette garantie sont les suivantes:
- Cette garantie ne s'a applique qu'à l'acheteur original du produit et n'est pas transférable àaucun autre acheteur subsequent.
- Pendant la période de la garantie, la seule responsabilité de mr Handsfree sera de réparer ou de remplacer, à son besoin, toute piece défectueux du produit si ce sera nécessaire à cause d'un mauvais fonctionnement ou d'une panne quelconque, malgré un usage normal et des conditions normales. Les frais de la réparation et/ou des pieces ne seront pas à la charge du client.
- Il vous faut envoyer le produit à un centre de service autorisé dans son emballage original et complet, transport prépayé. Mr Handsfree n'assumera aucune responsabilité pour des pertes ou des dommages pendant le transport.
-
Si ce produit doit être réparé ou remplace durant la période de la garantie, il doit être accompagné de (a) un prévue d'achat (p.e. contrat de vente dated); (b) une Specification écrite du (des) défaut(s); (c) l'adresse de l'expéditeur et un numéro de téléphone.
-
Cette garantie ne s'applique pas et est annulée dans les cas suivants:
Produits qui ont eté soumis à réparation non autorisé, installation incorrecte, entretien inadéquat, modifications non autorisées ou tous autres actes qui ne sont pas la faute de mr Handsfree; (b) Produits qui ont eté soumis à mauvaise utilisation, abus, négligence, mauvais traitement et stockage, accident ou dommages physiques; (c) Produits qui ont eté exposés à feu, eau, humidité excessive, sable, saleté, changements de température extrêmes ou toutes autres conditions indépendantes du contrôle de mr Handsfree; (d) Produits qui ont eté utilisés avec des accessoires nonapprovés par mr Handsfree; (e) Produits dont le numero de série a eté modifié, rendu illisible ou enlevé; (f) Produits qui ont eté ouverts, changés, réparés ou modifiés par un centre de service non autorisé.
- Exclus de toute garantie sont des produits consommables nécessitant un remplacement resultant d'une usure ou d'un bris normal, tels que des batteries, des oreillettes, des contours d'oreille, des coussins d'oreille en cuir, des couvertures decoratives et d'autres accessoires.
INHOUDSOPGAVE
VEILIGHEIDSINSTRUCTIES NL-42
INLEIDING NL-42
INHOUD VAN DE VERPAKKING NL-43
BESCHRIJVING NL-44
INSTALLATIE VAN DE BLUE SWITCH NL-47
WERKING VAN DE BLUE SWITCH NL-53
BLUETOOTH® NL-56
ZORG EN ONDERHOUD NL-57
GARANTIE NL-57
Notice Facile