E&R CLASSIC KP1000 - E&R CLASSIC - Notice d'utilisation et mode d'emploi gratuit
Retrouvez gratuitement la notice de l'appareil E&R CLASSIC KP1000 E&R CLASSIC au format PDF.
| Type de produit | Équipement de nettoyage E&R CLASSIC KP1000 |
|---|---|
| Caractéristiques techniques principales | Technologie de nettoyage à vapeur, pression maximale de 4 bars |
| Alimentation électrique | 220-240 V, 50/60 Hz |
| Dimensions approximatives | Longueur : 30 cm, Largeur : 25 cm, Hauteur : 20 cm |
| Poids | 3,5 kg |
| Compatibilités | Accessoires compatibles avec les systèmes de nettoyage à vapeur E&R |
| Type de batterie | Non applicable (fonctionne sur secteur) |
| Tension | 220-240 V |
| Puissance | 1500 W |
| Fonctions principales | Nettoyage à vapeur, désinfection, élimination des taches |
| Entretien et nettoyage | Nettoyage régulier du réservoir d'eau, vérification des filtres |
| Pièces détachées et réparabilité | Disponibilité des pièces détachées sur demande |
| Sécurité | Système de sécurité intégré pour éviter la surchauffe |
| Informations générales utiles | Garantie de 2 ans, mode d'emploi inclus |
FOIRE AUX QUESTIONS - E&R CLASSIC KP1000 E&R CLASSIC
Téléchargez la notice de votre au format PDF gratuitement ! Retrouvez votre notice E&R CLASSIC KP1000 - E&R CLASSIC et reprennez votre appareil électronique en main. Sur cette page sont publiés tous les documents nécessaires à l'utilisation de votre appareil E&R CLASSIC KP1000 de la marque E&R CLASSIC.
MODE D'EMPLOI E&R CLASSIC KP1000 E&R CLASSIC
Guide de l'utilisateur
AISIN EUROPE S.A.
KP-1000FZ
Important : prescription de sécurité
Lors de l'utilisation d'un appareil électrique, des mesures élémentaires de sécurité doivent toujours être respectées.
Lire toutes les prescriptions avant l'utilisation de cet appareil.
Danger - Afin de réduire le risque d'électrocution :
Il ne faut jamais laisser un appareil sans surveillance lorsqu'il est branché. Toujours déconnecter cet appareil de la prise électrique immédiatement après l'avoir utilisé et avant de le nettoyer.
Attention - Afin de réduire le risque de brûlure, d'incendie, d'électrocution ou de blessures :
1. Ne pas utiliser comme jouet. Il est nécessaire d'être très attentif lorsque cet appareil est utilisé par ou près d'enfants. 2. Utiliser cet appareil uniquement pour l'application décrite dans ce manuel. Utiliser uniquement les accessoires recommandés par le fabricant et décrits dans ce manuel. 3. Ne jamais utiliser cet appareil si le cordon ou la prise est endommagé, s'il ne fonctionne pas convenablement, s'il est tombé, s'il a été endommagé ou immergé. Rapporter l'appareil au distributeur ou au centre de maintenance agréé le plus proche pour examen, réparation, réglage électrique ou mécanique. 4. Ne jamais utiliser l'appareil si les ouvertures de ventilation sont bloquées. Veiller à éviter toute accumulation de peluches, de poussière et de morceaux de tissu devant les ouvertures de ventilation de la machine à coudre ou du rhéostat. 5. Ne jamais laisser tomber ni insérer aucun objet dans les ouvertures. 6. Ne pas utiliser à l'extérieur. 7. Ne pas utiliser dans des endroits où l'on emploie des produits aérosols (sprays) ou où l'on administre de l'oxygène. 8. Pour débrancher, mettre tous les réglages en position off ("O") et ensuite enlever la fiche de la prise. 9. Ne pas débrancher en tirant sur le cordon. Pour débrancher, tirer sur la fiche, pas sur le cordon.
Danger
10. Toujours débrancher avant de remplacer la lampe. Remplacer l'ampoule par une ampoule de même type de 15 watts. 11. Ne pas essayer de rattraper un appareil tombé dans l'eau. Débrancher immédiatement. 12. Ne pas placer ni ranger l'appareil à un endroit où il peut tomber par terre, dans l'eau ou couler. Ne pas placer ou laisser tomber dans l'eau ou dans tout autre liquide.
Attention
13. Éloigner les doigts de toutes les parties en mouvement. Il faut faire particulièrement attention au niveau de l'aiguille de la machine à coudre. 14. Toujours utiliser la plaque-aiguille appropriée. Si vous n'utilisez pas la plaque appropriée, l'aiguille peut casser. 15. Ne pas utiliser d'aiguilles tordues. 16. Ne pas pousser ni tirer le tissu pendant que vous cousez. Cette manœuvre peut faire dévier l'aiguille et la casser. 17. Éteindre la machine à coudre (position "O") lors de tout réglage, comme enfiler l'aiguille, enfiler une bobine, ou changer le pied-de-biche, etc., dans la zone de l'aiguille. 18. Toujours déconnecter la machine à coudre de la prise électrique lorsque vous enlevez les couvercles, que vous lubrifiez ou que vous effectuez tout autre réglage mentionné dans le manuel d'utilisation.
Première partie : parties essentielles
Nom des pièces
Deuxième partie : avant de commencer à coudre
Branchement de la machine à la prise électrique.
Rheostat 3
Ampoule 3
Table d'extension (boîte accessoires) 4
Changement du pied de biche 4
Changement des aiguilles 5
Choix du fil et utilisation des aiguilles
Mise en place de la tige porte-bobine 6
Montage du boîtier canette 6
Bobinage de la canette 6
Mise en place du fil dans la canette
Enfilage de la machine 7
Se préparer à coudre 8
Réglage de la tension du fil 8
Le sélecteur de points 9
Réglage de la longueur de point 9
Réglage du point stretch 10
Marche arrière
Coudre avec le guide-fil 10
Plaque de reprisage 10
Position de l'aiguille à gauche
Partie III – Bases de couture
Coudre un point droit 11
Pour changer le sens de la couture.
La couture du point zigzag.
Partie IV – Points utilitaires
Surfilage 12
Points de recouvrement 12
Point tricot 12
Couture du triple point stretch 12
Pose de fermeture éclair 13
Coudre un ourlet 13
Coudre des boutons 14
Couture de la boutonnière 15
Couture de l'ourlet invisible 16
PARTIE V POINTS DE DÉCORATIFS 17
Partie IV Entretien de la machine
Démontage de la courroie 18
Nettoyage de la plaque à aiguille 18
Huilage 18
Tableau des dérangements 19
Tendeur de fil
Names of Parts

Avant de commencer à coudre
Branchement de la pédale et du cordon d'alimentation électrique

Avant de brancher votre machine sur le secteur, assurez-vous que la tension est la même. Branchez le rhéostat à la machine et branchez la prise d'alimentation sur le secteur.
Le rheostat


La vitesse de couture peut varier selon la pression exercée sur le rhéostat. Plus vous appuyez sur la pédale, plus la machine fonctionne rapidement.
Remplacement de l'ampoule

(A)
(B)
L'ampoule est située dans le côté arrière de la machine.
Dévissez et enlevez la coquille.
(A) • Pour enlever : tournez sur la gauche. Pour replacer : tournez à droite. (B) • Pour enlever : poussez et tournez vers la gauche. Pour replacer : poussez et tournez vers la droite.
Table d'extension (Boîte accessoires)
Table d'extension
Permet d'optimiser votre surface de couture et d'utiliser la machine en bras libre.

Pour la couture en bras libre
Enlevez la tablette de la machine, comme illustré.
Pour la remettre en place
La pousser dans son logement.
Boîte à accessoires

- Les accessoires se trouvent sous la table d'extension dans la boîte à accessoires.
Pour changer le pied de biche
Enlevez le pied de biche.

Tournez le volant vers vous afin d'amener l'aiguille dans sa position la plus haute.

Levez le pied presseur.
Appuyer sur le levier à l'arrière du support afin de libérer le pied de biche.
Pour mettre un nouveau pied de biche

Placer le pied de biche de façon à ce que la tige se trouve juste en face de la rainure du support. Abaisser le levier du pied de biche de telle sorte que l'axe s'emboîte automatiquement dans la rainure.
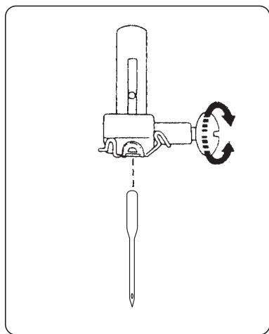
Changement d'aiguille. Relevez l'aiguille en tournant le volant vers vous et abaissez le pied presseur.

Desserrez la vis suffisamment afin de libérer l'aiguille.
Éteindre la machine et la débrancher.
Retirer l'aiguille.
Insérez une nouvelle vec le côté plat vers l'arrière.
Insérez l' ussi loin qu'elle puisse aller et serrez fermement
la vis de maintien à l'aide du tournevis.
Enfiler l'aiguille.
Rebranchez la machine sur le secteur. Mettez-la en marche et continuez à coudre.
- Vérifiez régulièrement vos aiguilles. Les déchirures et autres défauts sur la soie, le tricot, etc., sont régulièrement causés par des aiguilles endommagées.
Choix du fil et de l'aiguille
- En général, les fils fins sont utilisés pour les tissus fins et les aiguilles plus épaisses pour les tissus plus épais.
- Essayez toujours les fils et les aiguilles sur une petite partie de tissu avant de commencer la couture. Utilisez le même fil pour l'aiguille et la canette. Pour le point stretch, les tissus très fins et synthétiques, utilisez une aiguille Ball point.
- Pour le travail sur tissus très fins, cousez sur un petit morceau de papier afin d'éviter que le tissu ne plisse.
| TISSU | FILS | TAILLE DES AIGUILLES | |
| Tissu fin | Crège de chine, voileOrgandi, batiste,crepeTricot | Soie fineCoton finSynthétique finCoton, polyester fin | 9or11 |
| Tissu moyen | Lin, cotton, tergal,Tricot | 50 soie50 à 80 cotton50 à 60 synthétiqueCoton/polyester | 11ou14 |
| Tissu épais | Toile de jean,tweed,gabardine, | 14ou16 |
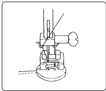
Fil supérieur. Ouvrir le cache-courroie.
Trous. Amener l'aiguille à sa position la plus haute en tournant le volant vers vous. Sortir le boîtier canette de son logement en le maintenant par la languette.
Bourrage. Pour mettre en place le boitier canette, placer le doigt du boitier dans le logement prévu à cet effet. Mettre la machine en marche.
Bobinage de la canette


Tirer le fil de la bobine et le passer autour du guide-fil.
Placer le fil à l'intérieur des trous de la canette, de l'intérieur vers l'extérieur.
Placer la canette sur le dévidoir et la pousser vers la droite.
Maintenez le volant de la main gauche et poussez le bouton en position canette.
Maitn e f a t s t t t t t t t t t t t t t t t t t t t t t t t t t t t t t t t t t t t t t t t t t t t t t t t t t t 0
Mise en place de la canette

Placez la canette dans le boîtier. Assurez-vous que le fil se déplacera dans la direction de la flèche.
Tirez le fil dans l'encoche du boîtier.
Passez le fil sous le ressort de tension et dans l'encoche, laissez à peu près 10 cm de fil libre.
Enfilage de la machine
Toujours réaliser cette opération avec la machine débranchée.



Amenez le releveur de fil à sa position la plus haute en tournant le volant vers vous. Levez le pied presseur. Placez la bobine de fil sur la tige porte-bobine comme indiqué.
1. Passez le fil dans le guide-fil. 2. Tout en maintenant le fil, placez-le dans le tendeur. 3. Passez le fil dans le releveur de la droite vers la gauche. 4. Descendez le fil et glissez-le dans le guide. 5. Passez le fil dans le guide-fil de la barre-aiguille. 6. Enfilez l'aiguille de l'avant vers l'arrière.
Note : vous pouvez couper le fil avec des ciseaux fins de façon à enfiler l'aiguille plus facilement.
Après ces opérations, allumez la machine. Vous êtes prête à coudre.
Se préparer à coudre
Levez le pied presseur et maintenez le fil avec la main.
Tournez le volant vers vous jusqu'à ce que l'aiguille descende puis remonte à sa position la plus haute. Tirez doucement le fil qui doit former une boucle avec le fil de la canette.
Tirez une longueur d'environ 5 cm de chaque fil vers l'arrière et abaissez le pied presseur.
Réglage de la tension du fil
Si la tension est correcte, les deux fils s'entrecroisent au centre de l'ouvrage.
Sélectionner la tension du fil en tournant la molette sur le chiffre désiré.
La tension est trop forte. Relâch .
La tension est trop faible. Resser .
Tension de fil pour point zigzag
Pour obtenir un beau point Zig-Zag, la tension supérieure doit être légèrement inférieure à la tension inférieure, contrairement au point droit. Le fil supérieur doit être légèrement visible sur le verso du tissu.
Sélecteur de point
Le sélecteur de point n'indique pas seulement le point que vous avez sélectionné, mais règle également la largeur du point des points zigzag et stretch.
Note : pour éviter de casser l'aiguille, assurez-vous toujours que celle-ci est en position haute lors de ce réglage.
Longueur de point :
Le sélecteur donne la longueur de point et permet également le réglage des points stretch.
Plus le numéro est haut, plus le point est long.
"0" signifie pas de longueur.
Selon le tissu ou votre préférence concernant les boutonnières, vous pouvez jouer sur la densité du point boutonnière.
Réglage du point stretch
Réglage de la longueur de point
Pour sélectionner le point stretch, amener le bouton sur la position SS.
Pour la couture du point stretch, le réglage de la longueur du point doit être sur la position médiane, entre le - et le +.
- (position SS) pour la plupart des tissus. Selon le tissu utilisé, vous devrez jouer sur ces réglages.
Pour allonger un point stretch, amenez le bouton vers le - et pour le raccourcir vers le +.


Tant que vous maintenez la pression sur ce bouton, la machine ira en marche arrière.
Repère de couture
Les chiffres sur la plaque aiguille
indiquent la distance entre le centre de l'aiguille et la ligne.
Les chiffres gravés sur l'avant indiquent les millimètres, et les chiffres gravés à l'arrière indiquent les pouces.
Plaque de reprise
Mise en place:
- Insérer les ergots dans les trous de la plaque aiguille (la griffe doit apparaître).
Position aiguille gauche
Sélecteur de point
Utiliser cette position pour la couture bord à bord. Note : utiliser uniquement un pied zig-zag dans ce cas.
Couture point droit
Réglage de la machine.
point
sélecteur de point


sélecteur de longueur de point
contrôle de la tension supérieure de fil 2 à 6
Pied-de-biche zigzag

Bases de couture
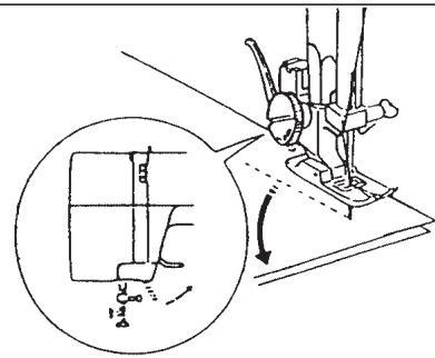
Assurez-vous toujours que le releveur de fil est en position haute avant de commencer.

Abaissez le pied de biche sur le tissu à côté d'un des repères de la plaque aiguille, appuyez sur le rhéostat et guidez légèrement le tissu vers l'arrière. Relâchez la pression sur le rhéostat et guidez le tissu le long du repère.


Pour stopper la couture, appuyez plusieurs fois sur le bouton de marche arrière.
Relevez le pied presseur, sortez le tissu vers l'arrière.
Si le tissu ne sort pas, tournez le volant vers vous de la valeur d'un point complet et tirez-le doucement.
Le fil est coupé à la bonne longueur pour la prochaine opération.
Changer le sens de la couture

Arrêtez la machine, tournez le volant vers vous de façon à ce que l'aiguille entre dans le tissu, relevez le pied presseur, faites pivoter le tissu autour de l'aiguille afin de l'amener dans la position désirée, abaissez le pied presseur et continuez à coudre.
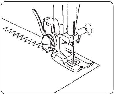
Point zig-zag
Réglage de la machine.
point

Contrôle de la tension supérieure du fil de 2 à 5

pied de biche zigzag
sélecteur de point

Sélecteur de longueur de point


Le point zigzag simple est utilisé pour le surjet, la couture de bouton, etc.
Surlignage
Réglage de la machine
point

Contrôle de la tension supérieure du fil 1 à 4

Pied de biche zigzag.
Sélecteur de point

Sélecteur de longueur de point de 1 à 2

Ce point est utilisé pour éviter que le tissu ne s'effiloche.
Point de recouvrement
Réglage de la machine.
point

Contrôle de la tension supérieure du fil de 1 à 4.

Pied-de-biche zigzag
sélecteur de point

Sélecteur de longueur de point

Ce point est plus beau lorsque le côté croisé du point zig-zag déborde très légèrement du tissu.
Point tricot
Réglage de la machine.
point

Contrôle de la tension supérieure du fil de 1 à 4.

Pied de biche zigzag.
Plac bord de celui-ci soit à droite de l'encoche intérieure du pied de biche.
Guid point sur le côté droit soit juste sur le bord du tissu.
Triple piqûre
Réglage de la machine.
point

contrôle de la tension supérieure de fil 2 à 6

Sélecteur de point

sélecteur de longueur de point

Pied-de-biche zigzag.
Ce point apparaît avec deux points vers l'avant et un point vers l'arrière, formant une couture plus résistante. Si vous placez des appliques, faites-le avant de commencer la couture.
Fermeture à glissière
Réglage de la machine.
point
Contrôle de la tension supérieure de fil : 3 à 6

pied de biche glissière
sélecteur de point

Sélecteur de longueur de point.



Placer la fermeture sous le tissu et le pied. Placer les fils vers l'arrière et abaisser le pied.
Pour coudre le côté gauche, guidez le bord de la glissière comme indiqué.
Et coudre le tissu et la glissière. Tourner le tissu et coudre de l'autre côté comme précédemment.
Coudre un ourlet
Réglage de la machine.
point
Sélecteur de point

contrôle de la tension supérieure de fil 2 à 6
Sélecteur longueur de point de 1,5 à 4.



Accessoire en option.
Pied de biche pour ourlet.

Faites un ourlet de 0,25 cm et approximativement de 8 cm de long.
Faire pénétrer l'aiguille dans le tissu et abaisser le pied.
Insérer l'ourlet dans le guide du pied.
Abaisser le pied et coudre en maintenant l'ourlet vers le haut.
Recouvrir approximativement 0,7 cm du coin comme indiqué.
Coudre 3 ou 4 points en maintenant les fils.
Couture des boutons
Réglage de la machine.
point

sélecteur de point


pied-de-biche zigzag
contrôle de la tension supérieure de fil 1 à 4

Contrôle de la longueur de point


Utiliser la plaque de reprisage pour la couture des boutons.



Placer le sélecteur sur la position de couture, aligner les trous du bouton avec l'encoche du pied. Et placer le trou de gauche du bouton juste au-dessous de la position de l'aiguille. Abaisser le pied et tourner le sélecteur jusqu'à ce que l'aiguille tourne parfaitement dans les trous. Coudre quelques points et relever l'aiguille. Placer le sélecteur sur la position de couture, de nouveau de façon à stopper la couture.
Pour renforcer la couture, laisser 20 cm de fil et l'enrouler autour de la couture du bouton.
Point boutonnière
Faire une boutonnière test sur un échantillon de même tissu. Placer le bouton dessus afin de déterminer la longueur.
Placer le sélecteur sur la position I, les deux fils placés vers la gauche. Abaisser l'aiguille à sa position de départ et abaisser le pied.
Coudre du côté gauche et arrêtez-vous à la marque correspondant à la longueur, puis relevez l'aiguille.
1/2", coudre 5 points d'arrêt et relever l'aiguille.
Placer le sélecteur sur la position "3", coudre le côté droit de la boutonnière et arrêtez-vous lorsque la longueur correspond exactement à celle du côté opposé. Relever l'aiguille.
4", coudre quelques points d'arrêt, relever l'aiguille, placer le sélecteur de la longueur de point sur 0 et le sélecteur de point sur point droit. Coudre quelques points d'arrêt.
Retirer le tissu de la machine, couper le fil, placer une épingle sur le point d'arrêt, percer la boutonnière à l'aide d'un découd-vite en prenant soin de ne pas couper les points.
MV = mauvais côté du réglage de la machine
point

(regulier)
point

contrôle de la tension supérieure de fil 1 à 4

Sélecteur longueur de point de 1 à 3


Pied de biche zigzag.
Plier le tissu comme illustré, abaisser le pied presseur, desserrer la vis du support de pied de biche, placer le guide ourleur entre la vis et le support.
Resserrer la vis en vous assurant que la séparation du guide ourleur est placée au milieu de l'encoche du pied de biche.

Lever le pied presseur et placer le tissu sous le pied comme indiqué ; abaissez-le, puis commencez à coudre lentement de façon à réaliser un point comme indiqué.
Au cours de la couture, assurez-vous que la piqûre reste en contact avec le guide du pied ourleur.

Déplier le tissu avec le bon côté sur le dessus.
Points décoratifs


Placer le tissu et procéder comme indiqué (l'aiguille doit piquer au bord du tissu). Réglage de la machine.
Réglage de la machine
| A | B | C | D | E | F | G | J | K | |
| point | |||||||||
| selecteur de point |
contrôle de la tension supérieure du fil 1 à 4

sélecteur longueur de point


Pied-de-biche zigzag.

Lorsque la couture en marche avant ou marche arrière est déséquilibrée, selon le type de tissu, rééquilibrez le point en tournant le contrôle de longueur de point comme suit :
Lorsque les motifs sont serrés +.
Lorsque les motifs sont trop long -.
Lors de l'entretien ou du nettoyage de votre machine, retirez le fil, débranchez le rhéostat.
(même lors d'un changement d'aiguille)
Démontage et remontage de la courroie

Pour démonter la courroie, amenez l'aiguille à sa position la plus haute.
Entretien de votre machine

Enlevez l'étrier de la coursière en poussant les ergots de maintien.
Débranchez votre machine.

Retirez le crochet et nettoyez-le avec une brosse et un chiffon doux et sec.
Tirez les ergots du boîtier canette et sortez-le.

Pour remonter la coursière, tirez le crochet par la tige du centre et replacez le prisme dans son logement de façon à former un cercle parfait.
Replacez l'étrier de la coursière en vous assurant que les ergots sont bien positionnés, verrouillez les ergots de maintien, puis insérez la canette.
Note : il est plus facile d'effectuer ces opérations avec la machine couchée.
Nettoyage de la griffe d'entraînement

Retirez l'aiguille du pied-de-biche.
Dévisser la plaque aiguille et la retirer.

À l'aide d'une brosse, nettoyer la poussière et les peluches. Remettre en place la plaque aiguille et revisser.
| PROBLEME | CAUSE PROBABLE | REMDE | PROBLEME | CAUSE PROBABLE | REMDE |
| La machine ne fonctionne pas correctement ou est bruyante | 1. Les fil sont pris dans le crochet 2. Il y a un bourrage au niveau de la griffe d'entrainment | P18 P18 | Points manqués (suite) | 4. Une aiguille Ball point n'a pas été utilisée pour le stretch, tissu très fin et synthétique | P5 |
| Le fil supérieur casse | 1. Le fil est mal bobiné sur la canette ou n'est pas remonté correctement 2. La tension de fil est trop faible 3.. L'aiguille est tordue ou émoussée 4. L'aiguille n'est pas correctement insérée dans son logement 5. Le tissu n'a pas été retireé par l'arrête 6. Le fil est soit trop petit soit trop gros pour l'aiguille | P7 P8 P5 P5 P11 P5 | La couture plisse | 1. La tension du fil est trop forts 2. Le fil n'est pas enfilé correctementNT 3. L'aiguille est trop grosse 4. Les points sont trop longs | P8 P7 P5 Faire des points plus petits |
| L'aiguille se casse | 1. L'aiguille n'est pas posée correctement 2. L'aiguille est courbée 3. La vis de serrage de l'aiguille n'est pas assez serrée 4. Le tension du fil supérieur est trop forté 5. L'aiguille est trop fine pour le tissu le sélecteur de point a été tourné lorsque l'aiguille était encore en positionasse | P5 P5 P5 P8 P11 P5 P9 | Il y a des boucles | 1. La tension inférieure est trop BASSE 2. L'aiguille est soit trop grosse soit trop petite | P8 P5 |
| Le tissu a du mal à avancer | 1. La griffe d'entrainment bourre 2. Les points sont trop petits | P18 Faire des points plus grands | |||
| Le fil de la canette Casse | 1. Le fil n'a pas été inséré correctement dans boîtier canette 2. Il y a des peluches dans le boîtier canette 3. La canette est endommagée ou ne tourne pas correctement | P7 Nettoyer le boîtier canette Changer de Canette | La machine ne fonctionne pas | 1. La machine n'est branchée 2. Un fil est coince dans la coursière 3. Le volant de débrayage est en position envroulage canette | P3 P18 P6 |
| Points manqués | 1. L'aiguille n'est pas insérée correctement 2. L'aiguille est tordue ou émoussée 3. L'aiguille et ou le fil ne correspondant pas au travail souhaïte | P5 P5 P5 | La boutonneiro n'est pas équilibrée | 1. La longueur de point ne correspond pas au tissu 2. tissu a été pousse ou a été tiré | P9 Ne pas forcer sur le tissu |

NE PAS JETER!
Recyclage

Nous sommes concernés par la protection de l'environnement. Nous nous efforçons de réduire l'impact négatif de nos produits sur l'environnement en améliorant continuellement nos produits et nos méthodes de production.
Lorsque le moment est venu de vous débarrasser de votre ancien appareil, nous vous demandons de le faire de la manière la plus respectueuse de l'environnement.
Le logo situé à l'arrière de votre machine et sur la plaque d'identification signifie que ce produit tombe sous l'application de la directive française concernant les déchets des équipements électroniques et électriques (DEEE) et sous la directive concernant la restriction de l'usage de certaines substances dangereuses dans les équipemen "Restriction of the Use of Certain Hazardous Substances in Electrical and Electronic Equipment" (RoHS)). Vous ne pouvez donc pas jeter votre appareil avec d'autres déchets ménagers. Lorsque vous vous séparez de votre ancien appareil, vous devez vous assurer de le faire dans le respect de la législation locale et nationale et que celui-ci soit repris sous la Catégorie 2 "Petits électroménagers" DEEE. Sachez que vous vous exposez à des poursuites judiciaires en cas de non-respect des règles de recyclage. Veuillez vous renseigner auprès des autorités nationales ou locales compétentes (ou sur internet) afin de trouver quels sont les systèmes de collecte et de recyclage à votre disposition ainsi que leurs localisations. Si vous faites l'achat d'un de nos produits auprès de notre société, nous ferons directement la reprise de votre ancien appareil, et ce, quelle qu'en soit la marque.
En tant que personne responsable, vous pouvez avoir un impact positif sur la réutilisation, le recyclage et les autres formes de récupération des déche DEEE). Ceci permettra de réduire l'usage des décharges et de minimiser l'impact environnemental des produits que vous utilisez.
Les substances dangereuses présentes dans les produi peuvent avoir un effet néfaste sur la santé et sur l'environnement.
Importe par:
Avenue de l'Industrie 21, Parc Industriel, 1420 Braine-L'Alleud, Belgique.
TEL +32 (0) 2 387 07 07 FAX +32 (0) 2 387 19 95
Succursale
Allée Rosa Luxembourg, Bâtiment Le Minnesota B.P. 70294, 95615 Cergy Pontoise Cedex, FRANCE
Franaise
TEL +33 (0) 1 34 30 25 00 FAX +33 (0) 1 34 30 25 01
Notice Facile