E&R CLASSIC SC40 - E&R CLASSIC - Notice d'utilisation et mode d'emploi gratuit
Retrouvez gratuitement la notice de l'appareil E&R CLASSIC SC40 E&R CLASSIC au format PDF.
| Type de produit | Compresseur d'air E&R CLASSIC SC40 |
| Caractéristiques techniques principales | Compresseur à piston, lubrifié, avec réservoir de stockage |
| Alimentation électrique | 230 V, 50 Hz |
| Dimensions approximatives | 80 cm x 40 cm x 60 cm |
| Poids | 75 kg |
| Compatibilités | Accessoires pneumatiques standards, outils à air comprimé |
| Type de batterie | Non applicable (compresseur électrique) |
| Tension | 230 V |
| Puissance | 2,2 kW |
| Fonctions principales | Génération d'air comprimé pour divers usages (peinture, gonflage, nettoyage) |
| Entretien et nettoyage | Vérification régulière de l'huile, nettoyage du filtre à air, vidange du réservoir |
| Pièces détachées et réparabilité | Disponibilité de pièces de rechange, manuel de réparation fourni |
| Sécurité | Équipé d'un dispositif de protection contre la surpression, respecter les consignes d'utilisation |
| Informations générales utiles | Garantie de 2 ans, service après-vente disponible |
FOIRE AUX QUESTIONS - E&R CLASSIC SC40 E&R CLASSIC
Questions des utilisateurs sur E&R CLASSIC SC40 E&R CLASSIC
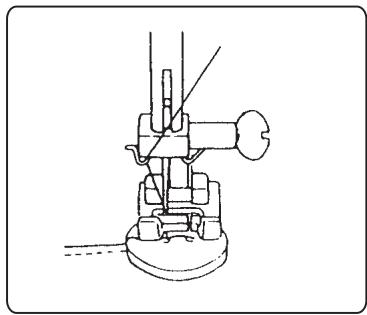
Pour réaliser un ourlet invisible avec votre machine à coudre E&R CLASSIC SC40, suivez ces étapes précises :
1. Préparation du tissu
Coupez le tissu à la longueur souhaitée en laissant un surplus d'environ 2 à 3 cm pour l'ourlet.
2. Repli de l'ourlet
- Pliez le bord du tissu vers l'intérieur sur environ 1 cm et repassez pour marquer le pli.
- Repliez à nouveau sur environ 1 cm et repassez de nouveau pour bien fixer le repli.
3. Positionnement du tissu
Placez le tissu sous le pied de biche de la machine en vous assurant que le repli est bien aligné pour que la couture soit discrète.
4. Réglage de la machine
Réglez la machine sur un point adapté à l'ourlet invisible, souvent un point zigzag ou un point spécifique à cet usage. Consultez les options de points disponibles sur votre E&R CLASSIC SC40.
5. Couture de l'ourlet
- Cousez lentement le long du repli.
- L'objectif est de piquer uniquement le repli et de prendre quelques fils du tissu principal pour que la couture soit quasiment invisible.
6. Finition
Repassez légèrement l'ourlet cousu pour aplatir la couture et obtenir un rendu soigné et professionnel.
En respectant ces étapes, vous pourrez réaliser un ourlet invisible propre et durable avec votre machine E&R CLASSIC SC40.
Téléchargez la notice de votre au format PDF gratuitement ! Retrouvez votre notice E&R CLASSIC SC40 - E&R CLASSIC et reprennez votre appareil électronique en main. Sur cette page sont publiés tous les documents nécessaires à l'utilisation de votre appareil E&R CLASSIC SC40 de la marque E&R CLASSIC.
MODE D'EMPLOI E&R CLASSIC SC40 E&R CLASSIC
GUIDE DE L'UTILISATEUR
AISIN EUROPE S.A.
KP-1000FZ
GUIDE DE L'UTILISATEUR KP10
IMPORTANT : PREGSCRIPTION DE SECURITE
Lors de l'utilisation d'un apparéil électrique, des mesures élémentaires de sécurité doivent toujours être respectées.
Lire toutes les prescriptions avant utilisation, (de cet apparéil)
DANGER - Afin de réduire le risque d'électrocution :
Il ne faut jamais laisser un apparéil sans surveillance lorsqu'il est branché. Toujours déconnecter cet apparéil de la prise électrique immidiatement après l'avoir utilisé et avant de la nettoyer.
ATTENTION - Afin de réduire le risque de brûclure, d'incendie, d'électrocution ou de blessures :
1.ne pas utiliser comme jouet. Il est nécessaire d'être très attentif lorsque cet apparéil est utilisé par ou pres d'enfants
2. Utiliser cet appeareil uniquement pour l'application decrite dans ce manuel. Utiliser uniquement les accessoires commandés par le fabricant et decrits dans ce manuel.
3. Ne jamais utiliser cet apparéil si le cordon ou la prise est endommagé, s'il ne fonctionne pas convenablement, s'il est tombé, s'il a été endommagé ou immergé. Rapporter l' apparéil au distributeur ou au centre de maintenance agrée le plus proche pour examen, réparation, réglage électrique ou mécanique.
4. Ne jamais utiliser l'appareil si les ouvertures de ventilation sont bloquées. Veiller à éviter toute accumulation de peluches, de poussière et de morceau de tissu devant les ouvertures de ventilation de la machine à coudre ou du rhéostat.
5. Ne jamais laisser tomber ni insérer aucun objet dans les ouvertures
6.ne pas utiliser à l'extérieur
7.ne pas utiliser dans des endroits ou l'on emploie des produits aerosols(sprays) ou l'on administré de l'oxygène
8. Pour débrancher,mettre tous les réglages en position off("O") et ensuite enlever la fiche de la prise
9. Ne pas débrancher en tirant sur le cordon. Pour débrancher tirer la fiche, pas le cordon
DANGER
10.Toujours debrancher avant de remplacer la lampe. Remplacer l'ampoule par une ampoule de meme type de 15 watts
11. Ne pas essayer de rattraper un apparéil tombé dans l'eau. Débrancher immidiatement
12. Ne pas placer ni ranger l'appareil à un endroit où il peut tomber par terre, dans l'eau ou couler. Ne pas placer ou laisser tomber dans l'eau ou dans tout autre liquide.
ATTENTION
13.Eloigner les doigts de toutes les parties en mouvement. Il faut faire particulièrement attention au niveau de l'aiguille de la machine d' coudre
14. Toujours utilise la plaque aiguille appropriée. Si vous n'utilise pas la plaque appropriée, l'iguille peut casser
15. Ne pas utiliser d'iguilles tordues.
16. Ne pas pousser ni tirer le tissu pendant que vous cousez. Cette manoeuvre peut faire devier l'aiguille et la casser
17. Eteindre la machine à coudre (position " o ") lors de tout réglage, comme enfiler l'aiguille, enfiler une bobine, ou changer le pied de biche, etc., dans la zone de l'aiguille.
18. Toujours déconnecter la machine à coudre de la prise électrique lorsque vous enlevez les couvercles, que vous lubrifiez ou que vous effectuez tout autre réglage mentionné dans le manuel d'utilisation
CONSERVER CES RECOMMANDATIONS
TABLE DES MATIERES
PREMIERE PARTIE PARTIES ESSENTIELLES
Nom des pièces 2
DEUXIEME PARTIEAVANT DE COMMENCER A COUDRE
Branchement de la machine à la prise électrique 3
Rheostat 3
Ampoule 3
Table d'extension (boîte accessoires) 4
Changement du pied de biche 4
Changement des aiguilles 5
Choix du fil et utilisation des aiguilles 5
Mise en place de la tige porte bobine 6
Montage du boitier canette 6
Bobinage de la canette 6
Mise en place du fil dans la canette 7
Enfilage de la machine 7
Se préparer à coudre 8
Réglage de la tension du fil 8
Le sélecteur de points 9
Réglage de la longueur de point 9
Réglage du point stretch 10
Marche arrriere 10
Coudre avec le guide fil 10
Plaque de reprisage 10
Position de l'aiguille à gauche 10
PARTIE III BASES DE COUTURE
Coudre un point droit 11
Pour changer les sens de la couture 11
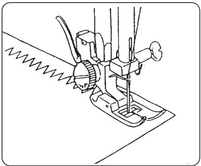
La couture du point zig-Zag. 11
PARTIE IV POINTS UTILITAIRES
Surfilage 12
Points de recouvrement 12
Point tricot 12
Couture du triple point stretch 12
Pose de fermeture éclair 13
Coudre un ourlet 13
Coudre des boutons 14
Couture de la boutonniere 15
Couture de l'ourlet invisible 16
PARTIE VOINTS DE DECORATIFS 17
PARTIE IV ENTRETIEN DE LA MACHINE
Démontage de la courrière 18
Nettoyage de la plaque aiguille 18
Huilage 18
Tableau des dérangements 19
Tendeur de fil

Names of Parts

AVANT DE COMMENCER A COUDRE
Branchement de la pédale et du cordon d'alimentation électrique

Avant de brancher votre machine sur le secteur assurez-vous que la tension est la même. branche le rhéostat à la machine et branchez la prise d'alimentation sur le secteur
Le rheostat


La vitesse de couture peut varier selon la pression exercée sur le rheostat. Plus vous appuyez sur la pédale plus la machine fonctionne rapidement
Remplacement de l'ampoule


(A)

(B)
L'ampoule est situé dans le coté l'éral de la machine
Dévissez et enlevez la coquille
(A) • Pour enlever Tournez sur la gauche
Pour replacer Tournez a droite
(B) • Pour enlever Poussez et tournez vers la gauche
- Pour replacer Poussez et tournez vers la droite
Table d'extension (Boîte accessoires)
Table d'extension
Permet d'optimiser votre surface de couture et permet d'utiliser la machine en bras libre

Pour la couture en bras libre
Enlever la tablette de la machine, comme illustré
Pour la remetre en place
La pousser dans son logement
Boite à accessoires

- Les accessoires se trouvent sous la table d'extension dans la boite accessoires
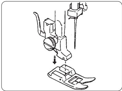
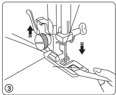
Pour changer le pied de biche
Enlever le pied de biche

Tournez le volant vers vous afin d'amener l'aignille dans sa position la plus haute.

Levez le pied presseur
Appuyer sur le levier à l'arrière du support afin de libérer le pied de bianche.
Pourmettreunouneuapieddebiche

Placer le pied de biche de façon à ce que la tige se trouve juste en face de la rainure du support.Abaisser le levier du pied de biche de telle sorte que l'axe s'emboite automatiquement dans la rafnure.
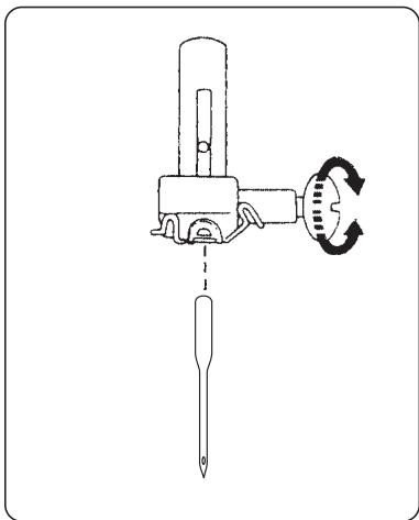
Changement d'aiguille

Relevez l'aiguille en tournant le volant vers vous et abaissez le pied presseur.

Desserez la vis suffisamment afin de libérer l'aiguille.
Eteindre la machine et la débrancher
Retirer I' aiguille
Insérez un nouvelle aiguille dans son logement avec le coté plat vers l'arrière
Insérer l'aiguille dans son logement aussi loin qu'elle puisse aller et serrer fermement
la vis de maintien à l'aide du tournevis.
Enfilier l'aiguille.
Rebrancher la machine sur le secteur Mettez la en marche et continuez à coudre
- Vérifiez régulierement vos aiguilles. Déchirures et autres sur la soie, le tricot etc., sont régulierement causées par des aiguilles endommagées
Choix du fil et de l'aiguille
- En générale les fils fins sont utilisés pour les tissus fins et les aiguilles plus épaissees pour les tissus plus épais.
- Essayez toujours fils et aiguilles sur une petite partie de tissu avant de commencer la couture.
Utilisez le même fil pour l'aiguille et la canette Pour le point stretch les tissus très fins et synthétiques utilisez un aiguille Ball point - Pour le travail sur tissus très fins, coudre sur un petit morceau de papier afin d'éviter que le tissu ne plisse
| TISSU | FILS | TAILLE DES AIGUILLES | |
| Tissu fin | Crège de chine, voileOrgandi, batiste,crepeTricot | Soie fineCoton finSynthétique finCoton, polyester fin | 9or11 |
| Tissu moyen | Lin, cotton, tergal,Tricot | 50 soie50 à 80 coton50 à 60 synthétiqueCoton/polyester | 11ou14 |
| Tissu épais | Toile de jean,tweed,gabardine, | 14ou16 |

Fil supérieur
Ouvrir le cache coursière

Trous
Amener l'aiguille à sa position la plus haute en tournant le volant vers vous Sortir le boitier canette de son logement en le maintainant par la languette

Bourrage
Pourmettre en place le boitier canette,placer
ledoigt du boitier dans le logement preva
cet effet
Mettrelamachinemarche

Bobinage de la canette


Tirer le fil de la bobine, passer le fil autour du guide fil.
Placer le fil à l'intérieur des trous de la canette, de l'intérieur vers l'extérieur
Placer la canette sur le devidoir et le pousser vers la droite
Maintenez le volant de la main gauche et poussez le bouton en position canette.
Maitn t a i t t t t t t t t t t t t t t t t t t t t t t t t t t t t t t t t t t t t t t t t t t t t t t t t t t t
Mise en place de la canette


Placer la canette dans le boitier.
Assurez vous que le fil se déplacera dans la direction de la flèche

Tirez le fil dans l'encochrome du boitier

Passez le fil sous le ressort de tension et dans l'encoché, laissez à peu près 10 cm de fil libre
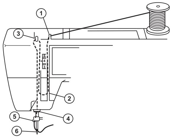
Enfilage de la machine
Toujours réalisée cette opération la mise débranchée





Amenez le releveur de fil à sa position la plus haute en tournant le volant vers vous.
Levez le pied presseur, Placer la bobine de fil sur la tige porte bobine comme indiqué.
1.Passez le fil dans le guide fil 2.Tout en maintainant le fil placez le dans le tendeur
3.passez le fil dans le releveur de la droite vers la gauche
4.Descendez le fil et glissez le dans le guide
5.Passez le fil dans le guide fil de la barre aiguille
6.Enfiler laiguille de I'avant vers I'arriere
Note : vous pouvez couper le fil avec des ciseaux fins de façon à enfiler l'aiguille plus facilement
Après ces opérations, allumer la machine vous étés prete à coudre
Se préparer à coudre

Levez le pied presseur, maintainir le fil avec la main

Tournez le volant vers vous jusqu'à ce que l'aignuille descendé puis remonte à sa position la plus haute. Tirez doucement le fil qui doit former une boucle avec le fil de la canette

Tirez un longueur del 5 cm de chaque fil vers l'arrière et abaissez le pied presseur
Réglage de la tension du fil

Si la tension est correcte, les deux fils s'entrecroisent au centre de l'ouvrage

Selectionner la tension de fil en tournant la molctte sur le chiffre désiré

La tension est trop forte Relachez la tension comme indiqué

La tension est trop faible
Resserez la tension comme indiqué
Tension de fil pour point Zig-Zag

Pour obtenir un beau point Zig-Zag, la tension supérieur doit être légément inférieure à la tension inférieure contrairement au point droit.
Le fil supérieur doit être légément visible sur le verso du tissu

Sélecteur de point
Le sélecteur de point n'indique pas seulement le point que vous avez sélectionné mais règle également la largueur du point des points zig-zag et stretch
Note : pour éviter de casser l'aiguille, assurez vous toujours que celle-ci est en position haute lors de ce réglage

Longueur de point :
Le sélecteur donne la longueur de point et permet également le réglage de points stretch
Plus le numero est haut, plus le point est long
"0" signifie pas de longueur
Selon le tissu ou votre préférence concernant les boutonnières, vous pouvez journ sur la densité du point (point boutonnière)
Réglage du point stretch

réglage de la longueur de point
Pour sélectionner le point stretch, amener le bouton sur la position SS.
Pour la couture du point stretch, le réglage de la longueur du point doit être sur la position mediane, entre le - et le
- (position SS) pour la plupart des tissus. Selon le tissu utilisé, vous dévrez jourer sur ces réglages.
Pour all longer un point stretch, amenez le bouton vers le - et pour l'allonger vers le +



Tant que vous maintainez la pression sur ce bouton, la machine ira en marche arrrière
repère de couture

Les chiffres sur la plaque aiguille
indiquent la distance entre le centre de l'aiguille et la ligne.
Les chiffres graves sur l'avant indiquent les millimertres, et les chiffres graves à l'arrière indiquent les «pouces»
Plaque de reprisage

Mise en place:
- a positionner avec les trois ergots vers le bas
- insérer les ergots dans les trouss de la plaque aiguille (la griffe doit apparaitre).
Position aiguille gauche

selecteur de point

Utiliser cette position pour la couture bord à bord.
Note : utiliser uniquement un pied zig-zag dans ce cas
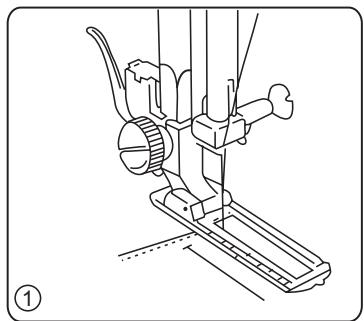
Couture point droit
réglage de la machine
point
selecteur de point


séléucteur longueur de point
controle de la tension supérieure de fil 2 à 6

pied de biche zigzag

BASES DE COUTURE
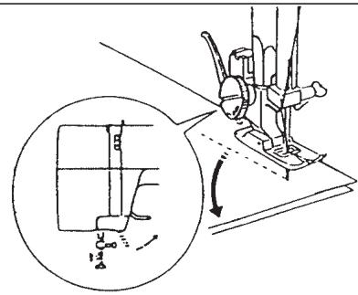
Assurrez vous toujours que le releveur de fil est position haute avant de commencer

Abaissez le pied de biche sur le tissu à coté d'un des repères de la plaque aiguille, appuyez sur le rhéostat et guidez légerement le tissu vers l'arrière. Relachez la pression sur le rhéostat, guidez le tissu le long du repère


Pour stopper la couture appuyer plusieurs fois sur le bouton marche arrière.
Relever le pied presseur, sorting le tissu vers l'arrière
Si le tissu ne sort pas tournez le volant vers vous de la valeur d'un point complet et tirez le doucement.
Le fil est coupé à la bonne longueur pour la prochaine opération
Changer le sens de la couture

Arreter la machine, tourner le volant vers vous de façon à ce que l'iguille entre dans le tissu, relever le pied presseur, faire pivoter le tissu ajuster de l'iguille afin de l'amener dans la position désirée, abaisser le pied presseur et continuer à coudre.
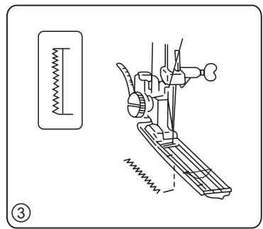
Point zig-zag
réglage de la machine
point

Controle de la tension supérieur de fil 2 à 5


pied de biche zigzag
selecteur de point

sélécteur longueur de point


Le point zig-zag simple est utilisé pour le surjet, couture de bouton etc…
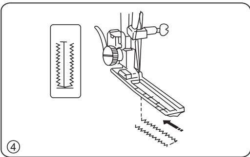
Points utilisaires
Surfilage
Réglage de la machine
point

controle de la tension supérieure de fil 1 à 4

pied de biche zigzag
selecteur de point

selecteur longueur de point 1 à 2


Ce point est utilisé pour éviter que le tissu ne s'effiloche
Point de recouvrement
réglage de la machine
point

controle de la tension supérieure de fil 1 a 4


pied de biche zigzag
selecteur de point

selecteur longueur de point


Ce point est plus beau lorsque le cote croit du point zig-zag déborde très légèrement du tissu.
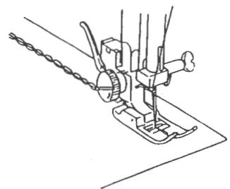
Point tricot
réglage de la machine
point

controle de la tension supérieure de fil 1 a 4


pied de biche zigzag

Placer le tissu de façon à ce que le bord de celui-ci soit à droite de l'encochrome interieur du pied de biche
Guider le tissu de façon à ce que le point sur coté croit tend juste sur le bord du tissu
Triple piqûre
réglage de la machine
point

controle de la tension supérieure de fil 2 à 6

selecteur de point


selecteur longueur de point

pied de biche zigzag

Ce point apparait avec deux points vers l'avant et un point vers l'arriere formant un couture plus résistante.
Si vous placez des appliques fatales le avant de commencer la couture
Fermeture à glissière
réglage de la machine
point
1
controle de la tension supérieure de fil 3 a 6


pied de biche glissieve
selecteur de point

selecteur longueur de point 2



Placer la fermeture sous le tissu et le pied Placer les fils vers l'arrière abaiser le pied.
Pour coudre le coté gauche guider le bord de la glissière comme indiqué.
Et coudre le tissu et la glissiere. Tourner le tissu coudre de l'autre coté comme précédemment
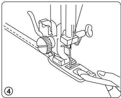
Coudre un ourlet
réglage de la machine
point
selecteur de point
1

controle de la tension supérieure de fil 2 a 6
selecteur longueur de point 1.5 à 4



accessoire en option
pied de biche pied ourlear

Fattes un ourlet de 0.25cm et approximativement de 8cm de long.

Faire penetrer l'aiguille dans le tissu et abaisser le pied.
Coudre 3 ou 4 points en maintainant les fils.

Inserer l'ourlet dans le guide du pied

Abaisser le pied et coudre en maintainant l'ourlet vers le haut

Recouvrir approximativement 0.7cm du coin comme indiqué
Couture des boutons
réglage de la machine
point

selecteur de point


pied de biche zigzag
controle de la tension supérieure de fil 1 à 4

controle longueur de point


Utiliser la plaque de reprisage pour la couture des boutons



Placer le sélecteur sur la position c , aligner les trou des bouton avec l'encôche du pied. Et placer le trou de gauche du bouton juste au dessous de la position de l'aiguille Abaisser le pied et tourner le sélecteur jusqu'à ce que l'aiguille tourne parfaitement dans les trou Coudre quelques points et relever l'aiguille. Placer le sélecteur sur la position c , de nouveau de façon à stopper la couture.
Pour renforcer la couture, laisser 20cm de fil et l'enrouler autour de la couture du bouton.
mauvaise photo
Point boutonnière

Faire une boutonnere test sur un échantillon de même tissu. Placer le bouton dessus, afin de déterminer la longueur.

Placer le sélecteur sur la position les deux fils places vers la gauche, left. abaisser l'aiguille a sa position de depart et abaisser le pied

Coudre du cote gauche et arrêtez vous à la marque correspondant à la longueur et relever l'aiguille

Placer le selecteur sur la position" 12 coudre 5 points d'arrêt et relever l'aiguille

Placer le sélecteur sur la position "3", coudre le coté droit de la boutonnière et arrêtez vous lorsque la longueur correspond exactement à cette du coté opposé. Relever l'aiguille

Placer le selector sur la position [ 4 2 ] , coudre quelques points d'arrêt, relever l'aiguille placer le selector de la longueur de point sur 0 et la selector de point sur point droit; Coudre quelques points d'arrêt.

Retirer le tissu de la machine, couper le fil, placer un épingle sur le point d'arrêt, percer la boutonnière à l'aide d'un découvert en prénant soin de na pas couper les points

MV = mauvais coté
réglage de la machine
point

(regulier)
or
point

controle de la tension supérieure de fil 1 a 4

electeur de point

selecteur de point

selecteur longueur de point 1 à 3


pied de biche zigzag
Plier le tissu comme illustré, abaisser le pied presseur, desserrer la vis du support de pied de biche, placer le guide ourleur entre la vis et le support.
Resserer la vis en vous assurant que la séparation du guide ourleur est placée au milieu de l'encoche du pied de biche

Lever le pied presseur et placer le tissus sous le pied comme indiqué ; abaissez le, puis commencez à coudre lentement de façon à réaliser un point comme indiqué
Au cours de la couture assurez vous que la piure reste en contacte avec le guide du pied ourleur.

Déplier le tissu avec le bon côté sur le dessus
POINTS DECORATIFS


Placer le tissu et proceder comme indiqué (l'aiguille doit piquer au bord du tissu) Réglage de la machine
réglage de la machine
| A | B | C | D | E | F | G | J | K | |
| point | |||||||||
| selecteur de point |
controle de la tension supérieure de fil 1 a 4

selecteur longueur de point


pied de biche zigzag

Lorsque la couture en marche avant marche arriere est déséquilibrée, selon le type de tissu rééquiléré le point en tournant le contrôle de longueur de point comme suit :
Lorsque les motifs sont serrés, corriger en tournant le bouton vers le +
Lorsque les motifs sont trop long, corriger en tournant le bouton vers le -
Lors de l'entretien ou du nettoyage de votre machine, retirez le fil, débranchez le rhéostat
(meme lors d'un changement d'iguille)
Démontage et remontage de la courrière

Pour démonter la courrière amenez l'aiguille à sa position la plus haute.
Entraction de votre machine

Enlevez l'étrier de la coursière en poussant les ergots de maintainien
Débranchez votre machine

Retirez le crochet et nettoyez le avec un Brosse et un chiffon doux et sec
Tirez l'ergots du boitier canette et sortez le.

Pour remonter la coursière, tirez le crochet par la tige du centre et replacez le prudiment dans son logement de façon à former un cercle parfait.
Replacez l'étrier de la coursière en vous assurant que les ergots sont bien positionnés, verrouillez les ergots de maintainien, puis inserez la canette.
Note : il est plus facile d'effectuer ces opération la machine couchee
Nettoyage de la griffe d'entrainment

Retirez l'aiguille du pied de biche
Devissez la plaque aiguille et la retirer

A l'aide d'un Brosse nettoyer la poussiere et les peluches. Remetre en place la plaque aiguille et revisser.
| PROBLEME | CAUSE PROBABLE | REMDE | PROBLEME | CAUSE PROBABLE | REMDE |
| La machine ne fonctionne pas correctement ou est bruyante | 1. Les fil sont pris dans le crochet 2. Il y a un bourrage au niveau de la griffe d'entrainment | P18 P18 | Points manqués (suite) | 4. Une aiguille Ball point n'a pas été utilisée pour le stretch, tissu très fin et synthétique | P5 |
| Le fil supérieur casse | 1. Le fil est mal bobiné sur la canette ou n'est pas remonté correctement 2. La tension de fil est trop faible 3.. L'aiguille est tordue ou émoussée 4. L'aiguille n'est pas correctement insérée dans son logement 5. Le tissu n'a pas été retireé par l'arrête 6. Le fil est soit trop petit soit trop gros pour l'aiguille | P7 P8 P5 P5 P11 P5 | La couture plisse | 1. La tension du fil est trop forts 2. Le fil n'est pas enfilé correctementNT 3. L'aiguille est trop grosse 4. Les points sont trop longs | P8 P7 P5 Faire des points plus petits |
| L'aiguille se casse | 1. L'aiguille n'est pas posée correctement 2. L'aiguille est courbée 3. La vis de serrage de l'aiguille n'est pas assez serrée 4. Le tension du fil supérieur est trop forté 5. L'aiguille est trop fine pour le tissu le sélecteur de point a été tourné lorsque l'aiguille était encore en positionasse | P5 P5 P5 P8 P11 P5 P9 | Il y a des boucles | 1. La tension inférieure est trop BASSE 2. L'aiguille est soit trop grosse soit trop petite | P8 P5 |
| Le tissu a du mal à avancer | 1. La griffe d'entrainment bourre 2. Les points sont trop petits | P18 Faire des points plus grands | |||
| Le fil de la canette Casse | 1. Le fil n'a pas été inséré correctement dans boîtier canette 2. Il y a des peluches dans le boîtier canette 3. La canette est endommagée ou ne tourne pas correctement | P7 Nettoyer le boîtier canette Changer de Canette | La machine ne fonctionne pas | 1. La machine n'est branchée 2. Un fil est coince dans la coursière 3. Le volant de débrayage est en position envroulage canette | P3 P18 P6 |
| Points manqués | 1. L'aiguille n'est pas insérée correctement 2. L'aiguille est tordue ou émoussée 3. L'aiguille et ou le fil ne correspondant pas au travail souhaïte | P5 P5 P5 | La boutonneiro n'est pas équilibrée | 1. La longueur de point ne correspond pas au tissu 2. tissu a été pousse ou a été tiré | P9 Ne pas forcer sur le tissu |

NE PAS JETER!
RECYCLAGE

Nous sommes concernés par la protection de l'environnement. Nous nous efforçons de réduire l'impact négatif de nos produits sur l'environnement en améliorant continuèlement nos produits et nos méthodes de production.
Lorsque le moment est venu de vous débarrasser de votre ancien apparéil, nous vous demandons de le faire de la manière la plus respectueuse de l'environnement.
Le logo se situant à l'arriere de votre machine et sur le plaque d'identification signifie que ce produit tombesous l'application de la directive française concernant les déchets des équipements électroniques et ELECTriques (DEEE) et sous la directive concernant la restriction de l'usage de certaines substances dangereuses dans les équipements électriques et électroniques ("Restriction of the Use of Certain Hazardous Substances in Electrical and Electronic Equipment" (ROHS)). Vous ne pouvez donc pas jeter votre apparéil avec d'autres déchets menagers. Lorsque vous vous séparez de votre ancien apparéil, vous devez vous assurer de le faire dans le respect de la législation locale et nationale et que celui-ci soit repris sous la Catégorie 2 "Petits électroménagers" DEEE. Sachez que vous vous exposez à des poursuites judiciaires en cas de non respect des règles de recyclage. Veuillez vous renseigner auprès des autorités nationales ou locales compétentes (ou sur internet) afin de trouver quels sont les systèmes de collecte et de recyclage à votre disposition ainsi que leurs localisations. Si vous faites l'achat d'un de nos produits auprès de notre société, nous ferons directement la reprise de votre ancien apparéil, et ce, quelqu'en soit la marque.
En tant que personne responsable, vous pouvez avoir un impact positif sur la réutilisation, le recyclage et les autres formes de récapération des déchets électriques et électroniques (DEEE). Ceci permettra de réduire l'usage des décharges et de minimiser l'impact environnemental des produits que vous utilisez.
Les substances dangereuses prsentes dans les produits electriques et electroniques peuvent avoir un effet nefaste sur la santé et sur l'environnement.
Importe par:
Avenue de l'Industrie 21, Parc Industriel. 1420 Braine-L'Alleud Belgique
TEL +32 (0) 2387 0707 FAX +32 (0) 2387 1995
Succursale
Allée Rosa Luxembourg, Bât. Le Minnesota B.P.70294, 95615 Cergy Pontoise Cedex FRANCE
Franaise
TEL +33 (0) 1 34 30 25 00 FAX +33 (0) 1 34 30 25 01
Notice Facile