KEYBOARD ASSEMBLY 88KEY - Clavier numérique KORG - Notice d'utilisation et mode d'emploi gratuit
Retrouvez gratuitement la notice de l'appareil KEYBOARD ASSEMBLY 88KEY KORG au format PDF.
| Type de produit | Clavier numérique 88 touches |
| Caractéristiques techniques principales | 88 touches sensibles à la vélocité, technologie de synthèse avancée, échantillons de haute qualité |
| Alimentation électrique | Adaptateur secteur inclus, fonctionne également sur piles (non incluses) |
| Dimensions approximatives | Environ 140 cm x 30 cm x 10 cm |
| Poids | Environ 15 kg |
| Compatibilités | Compatible avec les logiciels de musique, MIDI via USB |
| Type de batterie | Piles AA (non incluses) |
| Tension | Adaptateur 12V |
| Puissance | Consommation d'énergie : 15W |
| Fonctions principales | Enregistrement, lecture, effets sonores, connectivité MIDI |
| Entretien et nettoyage | Utiliser un chiffon doux et sec, éviter les produits chimiques agressifs |
| Pièces détachées et réparabilité | Disponibilité de pièces de rechange via le service après-vente KORG |
| Informations générales utiles | Garantie de 2 ans, manuel d'utilisation inclus, support technique disponible |
FOIRE AUX QUESTIONS - KEYBOARD ASSEMBLY 88KEY KORG
Questions des utilisateurs sur KEYBOARD ASSEMBLY 88KEY KORG
0 question sur cet appareil. Repondez a celles que vous connaissez ou posez la votre.
Poser une nouvelle question sur cet appareil
Téléchargez la notice de votre Clavier numérique au format PDF gratuitement ! Retrouvez votre notice KEYBOARD ASSEMBLY 88KEY - KORG et reprennez votre appareil électronique en main. Sur cette page sont publiés tous les documents nécessaires à l'utilisation de votre appareil KEYBOARD ASSEMBLY 88KEY de la marque KORG.
MODE D'EMPLOI KEYBOARD ASSEMBLY 88KEY KORG
Manuel d'utilisation
Bedienungsanleitung

KORG Component System
KORG
Precautions
Location
L'utilisation de cet instrument dans les endroits suivants peut en entrainer le mauvais fonctionnement.
- En plein soleil
Endroits très chauds ou très humides
Endroits sales ou fort poussiereux
Endroits soumis à de fortes vibrations - A proximé de champs magnétiques
Interférences avec d'autres apparéils électriques
Les postes de radio et de télévision situés à proximé peuvent par conséquent souffrir d'interférences à la réception. Veuillezès lors faire fonctionner cet apparéil à une distance raisonnable de postes de radio et de télévision.
Maniement
Pour éviter de les endommager, manipuez les commandes et les boutons de cet instrument avec soin.
Entretien
Lorsque l'instrument se salit, nettoyez-le avec un chiffon propre et sec. Ne vous servez pas d'agents de nettoyage liquides tels que du benzène ou du diluant, voire des produits inflammables.
Conservez ce manuel
Après avoir lu ce manuel, veuilles le conserver soigneusement pour toute reférence ultérieure.
Evitez toute intrusion d'objets ou de liquide
Ne placez jamais de recipient contenant du liquide pres de l'instrument. Si le liquide se renverse ou coule, il risque de provoquer des dommages, un court-circuit ou une electrocution. Veillez à ne pas laisser tomber des objets métalliques dans le boîtier (trombones, par ex.).
- Les noms de sociétés, noms de produits et noms de formats, etc. dans ce manuel sont des marques de fabrique ou des mar-ques déposées de leurs propriétaires respectifs.
Notice concerning l'élimination du produit (UE seulement)

Si ce symbole "Poubelle barrée" est imprimé sur le produit ou dans le manuel de l'utilisateur, vous ne jetez pas ce produit avec vos ordres menagères. En vous débarrassant correctement du produit, vous préviendraz les dommages environnementaux et les risques sanitaires. La méthode correcte d'élimination dépendra de votre lieu d'habitation, aussi veuillez contacter les autorités locales concernées pour les détails.
KKS (KORG Component System)
Cet instrument fait partie du KORG Komponent System. Ce système extrément flexible loge tous les circuits de génération de sons, tous les connecteurs externes et même l'alimentation dans le module générateur de sons (dit le "module"). Ce système vous permet de jourer avec le module horizontal ou incliné. De plus, le module peut être extrait de l'instrument et utilisé comme module independant ou installé dans d'autres produits KKS.
Description et fonction des éléments
Ensemble clavier

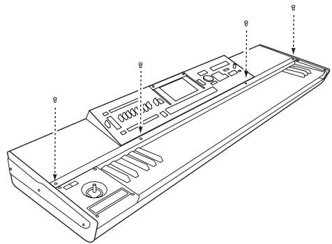
1. Barre de retenue
Cette barre maintain le module et les caches à l'ensemble clavier. Quatre vis (M3× 8) de fixation sont fournies.
2. Clavier
73 touches: semi-pondéré
88 touches: RH-3 (touches à mécaniques lestées de type marteau)
3. Ruban
En touchant ou en frottant le ruban du doigt, vous pouvez piloter divers paramètres de Programs et d'effets du module branche.
4. Joystick
En actionnant le joystick vers le haut, le bas, la gauche ou la droite, vous pouvez piloter divers paramétres de Programs et d'effets du module branche.
5. SW1/SW2
Ces commutateurs vous permettent de piloter divers paramètres de Programs et d'effets du module branché ou d'activer et de couper la fonction "Lock" du joystick ou du ruban.
6. Prise TO MODULE/prise TO MODULE(2nd)
Une extrémité du cable de connexion (8) est branchée à cette prise et l'autre extrémité à la prise TO KYBD du module. Cette connexion vous permet d'utiliser le clavier, le joystick, le ruban et les commutateursurs pour piloter le module. Si vous n'utilise qu'un seul module, branchez-le à la prise TO MODULE.

Certains modules ne sont pas compatibles avec certains contrôleurs de l'ensemble clavier.
7. Câble de connexion
Ce cable relie le clavier au module.
8. Fixation
Cette fixation attache le module à l'ensemble clavier. Le bras permet deSoulever l'arriere du module pour l'incliner et faciliter l'acces aux commandes ou d'abaiser le module. L'ensemble de fixation peut etre place a n'importe quel endroit sur le rail arriere, ce qui vous permit d'installer le module ou bon vous semble.
9. Caches
Si vous n'utilise qu'un seul module, ces caches peuvent être fixés à l'ensemble clavier pour offrir une finition plus élégante.
Fixation

1. Support
Cet élément est fixé au rail arrêté de l'ensemble clavier. Il peut être déplaced le long du rail pour changer la position du module.
2. Bras de fixation
Cet élément soutient le module lorsque ce dernier est incliné.
3. Dispositif de blocage
Cet élément bloque le bras lorsqu'el module est incliné.
4. Crochet
Ce crochet bloque le module lorsqu'il est abaisse (en position de rangement) sur l'ensemble clavier.
5. Vis A
Ces vis maintiennent divers éléments.
6. Vis B
Ces deux vis (M4× 6) attachent le bras de fixation au module.
Précautions pour le réglage du module
Pour votre sécurité, veuillez prendre les précautions suivantes lors du montage et du démontage.
Pour votre sécurité, veuillescztre precautions suivantes lors de l'utilisation, du montage et du démontage.
Veillez à ne pas vous coincer la main ou les doigts en soulevant ou en abaissant le module.
Veillez àmettre le module hors tension avant de connecter ou de déconnecter le cable reliant le clavier au module. Si vous établissez ou rompez la connexion alors que le module est sous tension, vous risquez d'endommager ce dernier.
Avant de commencer, lisez et suivez les consignes données dans la section "Précautions" au début de ce manuel.
Relever le module
- Desserrez les deux vis du crochet: celle fixant le crochet au module et celle attachée au support.

- Basculez le crochet sur le côté comme indiqué dans l'illustration puis serrez la vis A pour la maintainir en place. Resserrez également la vis du module pour qu'elle ne tombe pas.

- En vous servant de la poignée en face arrêté, soulevez le module jusqu'à ce qu'il s'arrête et relâchéz la poignée.

- Dévissez la vis A qui maintain le dispositif de blocage, tournez ce dernier de 180 degrés comme illustré et inséréz-le dans la fente du support.

- Serrez la vis A du dispositif de blocage pour le maintainir en place.
36 Cette opération est très importante. Si vous déplacez l'ensemble clavier ou exercez une pression excessive sur le module sans avoir fixé préalablement le dispositif de blocage au support, le module risque de tomber et de blesser quelqu'un. Par mesure de sécurité, insérez donc le dispositif de blocage dans le support et fixez-le avec la vis A.

Abaisser le module
- Desserrez la vis A fixant le dispositif de blocage.

- Faites tournez le dispositif de blocage de 180 degrés, insérez-le dans la fente du bras de fixation et serrez la vis pour l'y maintainir.

- Comme indiquedans l'illustration, appuyez legement sur la vis A fixant le dispositif de blocage au bras et soulevez doucement le module en vous servant de la poignee en face arriere puis abaissez-le. Le module s'abaisse lentement.
Veillez à ne pas vous coincer la main entre le module et l'ensemble clavier.

- Desserrez la vis A du module et la vis maintainant le crochet.

- Comme illustré, ramenez le crochet en position verticale et glissez-le sous la vis du module. Serrez ensuite les deux vis.

Extraction du module
- Si le module est horizontal, inclinez-le en effectuant les opérations décrites aux étapes 1-5 de la méthode "Relever le module".
- Débranche la fiche du cable (fiche en L) branchée à la prise TO KYBD située sous le module.

- Comme indiqué dans l'illustration, utilisez un tournevis en croix (+) pour retarder les deux vis B fixant le bras au module.
Ne perdez pas les vis que vous retirez.

- Utilisez un tournevis en croix (+) pour-retirer les quatre vis de la barre de retenue Maintenant le module à l'ensemble clavier.
Ne perdez pas les vis que vous retirez.

- Retirez la barre de retenue puis soulevez le module des deux mains et extrayez-le de l'ensemble clavier.
Veillez à ne pas vous coincer la main entre le module et l'ensemble clavier.

Installation du module
- Vérifiez que le bras de fixation est replié. Tenez le module des deux mains et placez-le avec précaution sur l'ensemble clavier.
Veillez à ne pas vous coincer la main entre le module et l'ensemble clavier.

- Orientez correctement la barre de retenue (voyez l'illustration) et place-la au-dessus du module.
Alignez les orifices pour vis de l'ensemble clavier avec les orifices de la barre de retenue et serrez doucement les quatre vis avec les doigts. Utilisez ensuite le tournevis en croix (+) pour visser convenablement les quatre vis.
Ne serrez pas les vis avec force si les orifices ne sont pas alignés. Cela risque d'endommager le produit.

- En vous servant de la poignée en face arrêté, soulevez le module, alignez les orifices pour vis du module avec ceux du bras de fixation et utilisez un tournevis en croix (+) pour visser les deux vis B que vous avez retireées lorsque vous avez détaché le module.

- Branchez le cable fougni.
Branchez la fiche en "L" du cable à la prise TO KYBD du module et la fiche droite à la prise TO MODULE de l'ensemble clavier. Si la prise TO MODULE est déjà branchée à un autre module, servez-vous de la prise TO MODULE (2nd).
Le cable fourni ne sert qu'a relier la prise TO KYBD à la prise TO MODULE ou TO MODULE (2nd). Ne le branchez à aucune autre prise.
Si vous n'utilise qu'un seul module, branchez-le à la prise TO MODULE.

Ensemble de fixation
Comme vous le voyagez dans l'illustration, le bras de fixation, le support et l'objet du crochet sont assemblés autour du rail pour constituer l'ensemble de fixation. Les onglets verticaux du bras de fixation se glissant dans les fentes pratiquées sur le dessus du support pour maintenir le tout. Pour attacher l'ensemble de fixation, attachez le support au bras de fixation en le faisant glisser horizontally (vers la gauche) et en serrant la vis sur le support. Pour-retirer l'ensemble de fixation, desserrez la vis et faites glisser le support vers la droite pour libérer les deux éléments.
Vérifiez que le support est correctement orienté.
En effectuant cette opération, veillez à ne pas vous couper la main avec les parties métalliques.


Caches
L'ensemble clavier peut être pourvu de caches de finition. Si vous utilisez deux modules, il faut夕阳er les caches. Comme vous le voyagez dans l'illustration, le bord avant des caches est maintainu par la barre de retenue. Le bord arriere des caches s'adapte dans la rainure pratiquée sur le haut du rail arriere de l'ensemble clavier. Pour夕阳er les caches, retirez la barre de retenue comme expliqué à l'etape 4 de la section "Extraction du module" et soulevez les caches pour les extraire. Rattachez ensuite la barre de retenue conformément aux consignes de l'etape 2 de la section "Installation du module". Pour installer les caches, retirez la barre de retenue, placez le bord arriere des caches sur le dessus du rail arriere et rattachez la barre de retenue.

Prudence lors de la fixation du cache
Alignez les saillies du cache avec la rainure du rail arrêté et appuyez sur le cache pour le fixer.
Si vous appuyez sur le cache alors que les saillies ne sont pas alignées avec la rainure, vous risquez d'endommager les saillies.

Si, après son installation, le cache s'ouvre comme indiqué plus bas, appuyez doucement sur l'arrière et insérez les saillies du cache dans la rainure du rail arrière.

Précautions pour le transport
Si vous transportez l'ensemble clavier alors que le module est incliné, le dispositif de blocage doit être inséré dans la fente du support et maintainu en place par le serrage de la vis du dispositif. Si vous transportez l'ensemble clavier avec le module abaisse, le crochet doit être fixé au module. Les vis du module et du support doivent être bien serrées.
Si vous transportez l'instrument sans serrer ces vis, le module risque de bouger brutalement et d'entrainer des blessures ou des dommages matériels.


Précautions pour l'utilisation de plusieurs modules
■ Quand vous utilisez plus d'un module, veiliez à éteindre les deux modules avant de brancher ou de débrancher un des deux cables branchés aux prises TO MODULE et TO MODULE (2nd).
■ Quand vous utilisez plus d'un module, le module branché à la prise TO MODULE doit être sous tension pour que le module branché à la prise TO MODULE (2nd) soit détecté par l'ensemble clavier et puisse fonctionner normalement.
L'etat allumé/étéint de SW1/SW2 indique l'etat du module branché à la prise TO MODULE. L'etat allumé/étéint de SW1/SW2 ne reflète pas l'etat du module branché à la prise TO MODULE (2nd). L'etat du module branché à la prise TO MODULE (2nd) ne correspond donc pas nécessairement à l'etat allumé/étéint de SW1/SW2. Si vous poulez que l'etat allumé/étéint reflète l'etat du module branché à la prise TO MODULE (2nd), il faut que les réglages activé/coupé et "Toggle/Momentary" de chaque Program, Combination ou morceau du module branché à la prise TO MODULE (2nd) soient identiques aux réglages du module branché à la prise TO MODULE.
La commande de menu du mode Global "After Touch Calibration" ne peut pas etre selectionnee a partir d'un M3-M branché à la prise TO MODULE (2nd). Pour executer cette commande, le M3-M doit etre branché à la prise TO MODULE.
Fiche technique
| Clavier | 73 touches: semi-pondéré 88 touches: RH-3 (touches à mécaniques lestées de type marteau) |
| Contrôleurs | Joystick Ruban SW1/SW2 |
| Prise de connexion | Prise TO MODULE Prise TO MODULE(2nd) |
| Dimensions (L x P x H) | 73 touches: 1189 x 371 x 128 mm 88 touches: 1425 x 442 x 128 mm |
| Poids | 73 touches: 12,5 kg (fixation et caches compris) 88 touches: 21,7 kg (fixation et caches compris) |
| Accessoires fournis | Câble de connexion x 1 |
- Ces caractéristiques et l'apparence du produit sont susceptibles d'être modifiées sans avis préalable.
Vorsichtsmaßnahmen
Aufstellungssort
Ce produit a été fabriqué suivant des specifications sévères et des besoin en tension applicables dans le pays où ce produit doit être utilisé. Si vous avez achété ce produit via l'internet, par vente par correspondance ou/et vente par téléphone, vous nevez vérifier que ce produit est bien utilisable dans le pays où vous résidez.
ATTENTION: L'utilisation de ce produit dans un pays autre que celui pour lequel il a été conçu peut être dangereuse et annulera la garantie du fabricant ou du distributeur. Conservez bien votre récepissé qui est la preuve de votre achat, faute de quoi votre produit ne risque de ne plus être couvert par la garantie du fabricant ou du distributeur.
Notice Facile