KEYBOARD ASSEMBLY 88KEY - Ziffernblock KORG - Kostenlose Bedienungsanleitung
Finden Sie kostenlos die Bedienungsanleitung des Geräts KEYBOARD ASSEMBLY 88KEY KORG als PDF.
Benutzerfragen zu KEYBOARD ASSEMBLY 88KEY KORG
0 Frage zu diesem Gerät. Beantworten Sie die, die Sie kennen, oder stellen Sie Ihre eigene.
Eine neue Frage zu diesem Gerät stellen
Laden Sie die Anleitung für Ihr Ziffernblock kostenlos im PDF-Format! Finden Sie Ihr Handbuch KEYBOARD ASSEMBLY 88KEY - KORG und nehmen Sie Ihr elektronisches Gerät wieder in die Hand. Auf dieser Seite sind alle Dokumente veröffentlicht, die für die Verwendung Ihres Geräts notwendig sind. KEYBOARD ASSEMBLY 88KEY von der Marke KORG.
BEDIENUNGSANLEITUNG KEYBOARD ASSEMBLY 88KEY KORG
Vermeiden Sie das Aufstellen des Geräts an Orten, an denen
es direkter Sonneneinstrahlung ausgesetzt ist;
- hohe Feuchtigkeit oder Extremtemperaturen auftreten können;
- Staub oder Schmutz in großigen Mengen vorhanden sind;
das Gerät Erschüttierungen ausgesetzt sein kann.
- in der Höhe eines Magnetfeldes.
Störeinflüsse auf andere Elektrogeräte
Dieser kann bei in der Höhe aufgestellten Rundfunkempfängern oder Fernsehgeräten Empfangsstörungen hervorrufen. Betreiben Sie solche Geräte nur in einem geeigneten Abstand von diesen Erzeugnis.
Bedienung
Vermeiden Sie bei der Bedienung von Schaltern und Reglern unangemessenen Kraftaufwand.
Reinigung
Bei auftretender Verschmutzung konnen Sie das Gehäuse mit einem trockenen, sauberen Tuch abwischen. Verwenden Sie keinerlei Flüssigreiniger wie beispielsweise Reinigungsbenzin, Verdünnings- oder Spülmittel. Verwenden Sie niemals brennbare Reiniger.
Bedienungsanleitung
Bewahren Sie diese Bedienungsanleitung gut auf, falls Sie sie später noch einmal benötigen.
Flüssigkeiten und Fremdkörper
Stellen Sie niemals Behältnisse mit Flüssigkeiten in der Höhe des Geräts auf. Wenn Flüssigkeit in das Gerät gelamt, können Beschädigung des Geräts, Feuer oder ein elektrischer Schlag die Folge sein. Beachten Sie, daß keinerlei Fremdkörper in das Gerät gelangen.
- Die ubrigen in dieser Bedienungsanleitung erwahnten Firmen-, Produkt-, Formatnamen usw. sind Warenzeichen oder eingetra-gene Warenzeichen der rechtlichen Eigentumer und werden ausdrucklich anerkannt.
Hinweis zur Entsorgung (nur EU)

Wenn these „durch gestrichener Müllkübel“ Symbol auf dem Produkt oder in der Bedienungsanleitung erscheint, müssen Sie these Produkte sachgemäß als Sondermüll entsorgen. Entsorgen Sie die ceses Produkt nicht im Haushaltsmüll. Durch rechtige Entsorgung verhindern Sie Umwelt- oder Gesundheitsgefahren. Die geltenden Vorschriften für rechtige Entsorgung sind je nach Bestimmungsland unterschiedlich.itte informieren Sie sich bei der zuständigen Behörde über die bei Ihnen geltenden Vorschriften zur Entsorgung.
KKS (KORG Component System)
Dieses Instrument ist Bestandteil des „KORG Component Systems". Dieses flexible System beruht auf einer Einheit (im folgenden kurz das „Modul“ genannt), die außer der Klangerzeugung auch alle externen Anschlüsse und die Stromversorgung enthalt. Bei Bedarf kann das Modul zum Spielena hochgeklapt werden. Das Modul lässt sich übriges komplett entfernen und als herkömmlicher Klangerzeuger bzw. gemeinsam mit anderen KKS-Produkten nutzen.
Komponenten und Funktionen
Tastatureinheit

1. Halterungsleiste
Hiermit konnen das Modul und die Blenden an der Tastatureinheit befestigt werden. Vier Schrauben (M3 x 8) für die Befestigung.
2. Tastatur
73er: leicht gewichtet
88er: RH-3 ( „Real Weighted Hammer Action 3“)
Mit Fingerbewegungen auf thism Streifen konnen mehrere Program- und Effektparameter des angeschlossenen Moduls in Echtzeit beeinflusst werden.
4. Joystick
Der Joystick lässt sich in alle Richtungen bewegen (auf/ ab/links/rechts). Damit konnen Program- und Effektparameter des angeschlossenen Moduls in Echtzeit beeinflusst werden.
5. SW1/SW2
Mit diesen Tastern können verschiedene Program- und Effektparameter des angeschlossenen Moduls in Echtzeit beeinflusst werden. Außen dem kann man hiermit die „Lock“-Funktion des Joysticks oder Ribbons aktivieren bzw. ausschalten.
6. TO MODULE-Buchse/TO MODULE(2nd)-Buchse
Hier muss das eine Ende des Verbindungskabels (8) angeschlossen werden. Das andere Ende these Kabels muss mit dem TO KYBD-Port des Modus verbunden werden. Nach Herstellen der Verbindung konnen Sie die Tastatur, den Joystick, den Ribbon Controller und die Taster zum Ansteuern des Modus verwenden. Wenn Sie nur ein Modul verwenden, müssen Sie es an die TO MODULE-Buchse anschließen.

Nicht alle Module unterstützt alle Spielhilfen der Tastatureinheit.
7. Anschlusskabel
Über这意味着 Kabel wird die Tastatur mit dem Modul verbunden.
8. Riegelstütze
Hiermit kann das Modul an der Tastatureinheit befestigt werden. Der Trägerarm erlaubt das Hochklappen der Modulrückseite für einen Schnellenen Zugriff auf die Rückplatte. Man kann das Modul aber auch flach legen. Die Riegelstütze kann entlang der Schiene nach links oder rechts geschoben werden, so dass sich das Modul an der für Sie optimalen Position befindet.
9. Blenden
Bei Verwendung nur eines Moduls konnen Sie die Blenden auf der Tastatureinheit anbringen, um einen ansprechen-den Look zu erzielen.
Riegelstütze

1. Halterung
These Partie muss an der hinteren Schiene angebracht werden. Bei Bedarf konnen Sie sie entlang der horizontalen Achse verschiben, um das Modul woanders anzuordnen.
2. Trägerarm
Hiermit wird das Modul abgestützt, wenn es hochgeklappt wurde.
3. Klemme
Stützt den Arm ab, wenn das Modul in der angehobenen Position verwendet wird.
4. Arretierhalterung
Arretiert das Modul, wenn Sie es hinunterklappen (d.h. wenn es flach auf der Tastatureinheit liegt).
5. Schrauben A
Hiermit werden die verschiedene Partien arretiert.
6. Schrauben B
Mit diesen beiden M4 x 6-Schrauben wird der Trägerarm am Modul befestigt.
Vorsicht beim Einstellen des Moduls
Im Sinne einer sicheren und richtigen Montage oder Demontage beachten Sieitte folgende Punkte.
Bitte beachten Sie folgende Dinge, um eine sichere und richtige Montage oder Demontage zu gewährleisten. Seien Sie vorsichtig, um sich beim Anheiten bzw. Absenken des Moduls nicht die Finger zu klemmen.
Schalten Sie das Modul aus, bevor Sie das Verbindungskabel zwischen der Tastatureinheit und dem Modul anschließen bzw. losen. Wenn Sie die Verbindung)namlich bei eingeschaltetem Modul herstellen bzw. losen, verhält sich das Modul nicht mehr erwartungsgemäß.
2 Lesen Sie sich zunachst die „Sicherheitsvorkehrungen" durch.
Anheben des Moduls
- Lösen Sie beide Arretierschrauben. Mit der einen wird die Arretierhalterung am Modul und mit der anderen die Halterung befestigt.

- Schieben Sie die Arretierhalterung zur Seite (siehe die Abbildung) und drehen Sie Schraube die A fest. Drehen Sie außerdem die Schraube am Modul fest, damit sie nicht herausfallen kann.

- Verwenden Sie den Griff auf der Rückseite zum Anheiten des Moduls, bis es sich nicht mehr bewegt. Geben Sie den Griff anschließend wieder frei.

- Losen Sie Schraube A, mit der die Klemme arretiert wird. Drehen Sie die Klemme um 180^ (siehe Abbildung) und schieren Sie in die Aussparung der Halterung.

- Drehen Sie die Schraube A fest, um sie zu arretieren.
2.2 Deser Schritt muss unbedingt ausgeführrt werden. Wenn Sie die Tastatureinheit verschiben bzw. stark auf das Modul drücken, bevor Sie die Halterung arretieren, kann das Modul fallen und Verletzungen verursachen bzw. beschädigt werden. Zu Ihrer eigenen Sicherheit müssen Sie die Arretierung davon in die Aussparung schieren und mit Schraube der A arretieren.

Absenken des Moduls
- Lösen Sie die Schraube A, mit der die Arretierung gehalten wird.

- Drehen Sie die Arretierung um 180^ , schiben Sie in die Aussparung des Trägerarms und drehen Sie die Schraube wieder fest.

- Drücken Sie leicht gegen die Schraube A, mit der die Arretierung am Arm befestigt ist (siehe Abbildung). Heben Sie das Modul anschließend behutsam mit dem Griff an seiner Rückseite an und geben Sie den Griff frei. Das Modul neigt sich jetzt langsam.
Gehen Sie behutsam vor, um sich nicht die Finger zwischen dem Modul und der Tastatureinheit zu klemmen.

- Losen Sie die Schraube A des Moduls und die Schraube, mit der die Arretierung befestigt ist.

- Drehen Sie die Arretierung wie in der Abbildung gezeigt in die vertikale Position und schieren Sie sie unter die Schraube am Modul. Drehen Sie beide Schrauben anschließlich wieder fest.

Ausbau des Moduls
- Wenn das Modul momentan flach auf der Tastatureinheit liegt, müssen Sie es anheben (siehe die Schritte 1-5 unter "Anheiten des Moduls").
- Ziehen Sie den „L“-förmigen Stecker aus der TO KYBD-Buchse an der Modulunterseite.

- Verwenden Sie einen Kreuzschlitzschraubenzieher (+) zum Entfernen der beiden Schrauben B, mit denen der Trägerarm am Modul befestigt ist.
Die Schrauben werden später wieder benötigt. Verlegen Sie sie also nicht.

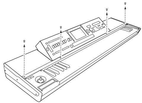
- Losen Sie die vier Schrauben, mit denen die Halterungsleiste an der Tastatureinheit befestigt ist, mit Hilfe eines Kreuzschlitzschraubenziebers (+).
Die Schrauben werden später wieder benötigt. Verlegen Sie sie also nicht.

- Entnahmen Sie die Halterungsleiste, haben Sie das Modul mit beiden Handen an und holen Sie es aus der Tastatureinheit.
Gehen Sie behutsam vor, um sich nicht die Fing-ger zwischen dem Modul und der Tastatureinheit zu klemmen.

Einbau des Moduls
- Klappen Sie den Trägerarm bei Bedarf hinunter. Halten Sie das Modul mit beiden Händen fest und legen Sie in die Tastatureinheit.
Gehen Sie behutsam vor, um sich nicht die Finger zwischen dem Modul und der Tastatureinheit zu klemmen.

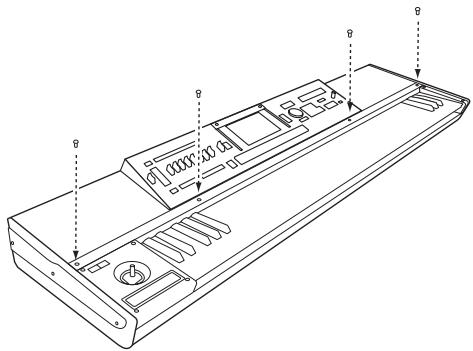
- Drehen Sie die Halterungsleiste wie in der Abbildung gezeigt und legen Sie sie auf das Modul. Ordnen Sie die Halterungsleiste so an, dass sich ihre Bohrungen über jenen Tastatureinheit befinden und drehen Sie die Schrauben leicht mit den Fingern fest. Verwenden Sie anschließend einen Kreuzschlitzschraubenzieher (+), um die vier Schrauben komplett festzudrehen.
Versuchen Sie niemals, die Schrauben mit Gewalt festzudrehen, wenn sie sich genau in den Bohrungen befinden. Sonst konnten Sie die Einheit)namlich beschädigen.

- Heben Sie das Modul mit Hilfe seines Griffs an der Rückseite an, sorgen Sie dazu, dass sich die Bohrungen des Modulus auf gleicher Höhe mit den Aussparungen des Trägerarms befinden und drehen Sie die beiden Schrauben B, die Sie bei der Entnahme des Modulus entfernt hatten, mit einem Kreuzschlitzschraubenzieher (+) fest.

- Schließen Sie das beiliegende Kabel an. Verbinden Sie den „L“-förmigen Stecker des Anschlusskabels mit der TO KYBD-Buchse des Modus. Der gerade Stecker muss an die TO MODULE-Buchse der Tastatureinheit angeschlossen werden. Wenn an die TO MODULE-Buchse bereits ein anderes Modul angeschlossen ist, müssen Sie die TO MODULE (2nd)-Buchse verwenden.
Das beiliegende Kabel eignet sich nur für die Verbindung der TO KYBD- mit der TO MODULE-bzw. TO MODULE (2nd)-Buchse. Schließen Sie es nie an eine andere Buchse an.
Wenn Sie nur ein Modul verwenden, müssen Sie es an die TO MODULE-Buchse anschließen.

Riegelstützeinheit
Wie aus der Abbildung hervorght,*Müssen der Trägerarm, die Halterung und die Laschen an der hinteren Schiene befestigt werden. These Teile bilden gemeinsam die „Riegelstützeinheit". Die angehobenen Partien des Trägerarms,müssen in die Aussparungen an der Oberseite der Halterung geschoben werden, um einen sicheren Halt zu gewährleisten. Zum Arretieren der Riegelstützeinheit,müssen Sie die Halterung am Trägerarm befestigen, indem Sie sie horizontal nach links schieben und die Schraube der Halterung festdrehen. Um die Riegelstützeinheit zu entfernen, müssen Sie die Schraube losen und die Halterung nach rechts schieben, um beide Partien voneinander zu trennen.
Die Halterung richtig herum drehen.
Gehen Sie mit außerster Vorsicht vor, um sich nicht an den Metallpartien zu schreiben.


Blenden
Die Blenden haben lediglich eine optische Funktion und brauchen dazu nicht zwingend angebracht zu werden. Vor dem Einbau eines zweiten Moduls müssen sie allerdings entfernt werden. Wie aus der Abbildung hervorgelt, wird die Vorderseite der Blenden von der Halterungsleiste arreiert. Die Rückseite der Blenden muss in den Kanal über der hinteren Schiene der Tastatureinheit geschoben werden. Um die Blenden zu entnehmen, müssen Sie die Halterungsleiste halten. Siehe Schritt 4 unter "Ausbau des Moduls". Bringen Sie die Halterungsleiste anschließend wieder an. Siehe Schritt 2 unter "Einbau des Moduls". Wenn Sie die Blenden später wieder installieren möchten, müssen Sie ihre Rückseite auf die;zähere Schiene legen und danach die Halterungsleiste installmenten.

Vorsicht beim Anbringen der Blende
Sorgen Sie damit, dass sich die Laschen über den Aussparungen der hinteren Schiene befinden und drücken Sie die Blende hinunter.
Wenn Sie die Blende hinunterrücken, während sich die Laschen nicht über den Aussparungen befinden, werden die Laschen eventuell beschädigt.

Wenn sich die Blende nach dem Anbringen wieder wie unten gezeigt öffnet, müssen Sie ihre Rückseite behutsam hinunterträcken. Achten Sie darauf darauf, dass die Laschen in die Aussparungen der hinteren Schiene gleiten.

Vorsichtsmaßnahmen für den Transport
Wenn Sie die Tastatureinheit bei angehobenem Modul transportieren möchten, müssen Sie die Arretierung unbedingt in die Aussparung der Halterung schieben und mit der Schraube arretieren. Wenn Sie die Tastatureinheit bei abgesenktem Modul transportieren (Lagerungsposition) möchten, muss die Arretierung am Modul befestigt werden. Außen dem müssen Sie sowohl die Modul- als auch die Arretierschraube komplett festdrehen.
Wenn Sie die Einheit transportieren, während diese Schrauben noch locker sind, kann das Modul fallen und beschädigt werden bzw. Verletzungen verursachen.


Vorsicht bei Verwendung mehrerer Module
■ Wenn Sie mehr als ein Modul verwenden, müssen Sie beiden ausschalten, bevor Sie eines von beiden mit der TO MODULE- oder TO MODULE (2nd)-Buchse verbinden.
■ Wenn Sie mehr als ein Modul verwenden, müssen Sie immer zuerst das an die TO MODULE-Buchse angeschlossene einschalten. Sonst wird das mit der TO MODULE (2nd)-Buchse verbundene Modul nicht erkannt.
Der Status von SW1/SW2 (an oder aus) bezieht sich immer auf das mit der TO MODULE-Buchse verbundene Modul. Der SW1/SW2-Status des mit der TO MODULE (2nd)-Buchse verbundenen Moduls kann nicht angezeigt werden. Beachten Sie, dass man den Status des an TO MODULE (2nd) angeschlossenen Moduls nicht an SW1/SW2 ablesen kann. Um darauf zu sorgen, dass der Leuchtstatus auch den Einstellungen des an TO MODULE (2nd) angeschlossenen Moduls entspricht, müssen Sie die „On/Off“- und „Toggle/Momentary“-Parameter{jedes Programs, jeder Combination und{jedes Songs des TO MODULE (2nd)-Modus exakt den Einstellungen ihrer Pendants auf dem TO MODULE-Gerät entsprechend einstellen.
■ Der Menübefehl „After Touch Calibration" (Global-Modus) eines an TO MODULE (2nd) angeschlossenen M3-M kann nicht gewählt werden. Diese Befehl ist nur belegt, wenn Sie den M3-M mit der TO MODULE-Buchse verbinden.
Technische Daten
| Tastatur | 73er:leitung gewichtet 88er:RH-3 ("Real Weighted Hammer Action 3") |
| Spielhilfen | Joystick Ribbon Controller SW1/SW2 |
| Steueranschluss | TO MODULE-Buchse TO MODULE(2nd)-Buchse |
| Abmessungen (B x T x H) | 73er: 1189 x 371 x 128 mm 88er: 1425 x 442 x 128 mm |
| Gewicht | 73er: 12,5 kg (inklusive Blenden und Riegelstütze) 88er: 21,7 kg (inklusive Blenden und Riegelstütze) |
| Lieferumfang | Anschlusskabel x 1 |
- Änderungen der technischen Daten und Funktionen ohne vorherige Ankündigung vorbehalten.
IMPORTANT NOTICE TO CONSUMERS
WICHTIGER HINWEIS FÜR KUNDEN
Dieses Produkt wurde unter strenger Beachtung von Spezifikationen und Spannungsanforderungen hergestellt, die im Bestimmungsland gelten. Wenn Sie这点es Produkt über das Internet, per Postversand und/oder mit Telefonischer Bestellung gekauft haben, müssen Sie bestätigten, dass这点es Produkt für Ihr Wohngebiet ausgelegt ist.
WARNING: Verwendung dieseres Produkts in einem anderen Land als dem, für das es bestimmt ist, verwendet wird, kann gefährlich sein und die Garantie des Herstellers oder Importeurs hinfällig halten werden.itte bewahren Sie diese Quittung als Kaufbeleg auf, da andernfalls das Produkt von der Garantie des Herstellers oder Importeurs ausgeschlossen werden kann.
EinfachAnleitung