PRO TRACK - Enregistreur audio portable ALESIS - Notice d'utilisation et mode d'emploi gratuit
Retrouvez gratuitement la notice de l'appareil PRO TRACK ALESIS au format PDF.
| Type de produit | Enregistreur audio numérique |
| Caractéristiques techniques principales | Enregistrement stéréo, 24 bits/96 kHz, entrée XLR/TRS combo |
| Alimentation électrique | Alimentation par batterie ou USB |
| Dimensions approximatives | 15.2 x 8.9 x 3.8 cm |
| Poids | 500 g |
| Compatibilités | Compatible avec Mac et Windows, applications d'enregistrement audio |
| Type de batterie | Batteries AA ou alimentation USB |
| Tension | 5V via USB |
| Puissance | Consommation faible, adaptée pour une utilisation prolongée |
| Fonctions principales | Enregistrement direct, monitoring en temps réel, contrôle de niveau |
| Entretien et nettoyage | Nettoyer avec un chiffon doux, éviter l'humidité |
| Pièces détachées et réparabilité | Réparabilité limitée, pièces disponibles auprès du fabricant |
FOIRE AUX QUESTIONS - PRO TRACK ALESIS
Questions des utilisateurs sur PRO TRACK ALESIS
0 question sur cet appareil. Repondez a celles que vous connaissez ou posez la votre.
Poser une nouvelle question sur cet appareil
Téléchargez la notice de votre Enregistreur audio portable au format PDF gratuitement ! Retrouvez votre notice PRO TRACK - ALESIS et reprennez votre appareil électronique en main. Sur cette page sont publiés tous les documents nécessaires à l'utilisation de votre appareil PRO TRACK de la marque ALESIS.
MODE D'EMPLOI PRO TRACK ALESIS
Voici l'enregistreur pour iPod ProTrack de Alesis. Nous avons concu cet apparéil afin qu'il soit facile d'utilisation, toutefois vous pouvez consulter ce guide d'utilisation si vous avez des questions au sujet de son fonctionnement. Voyez ci-dessous quelques-unes des caractéristiques que vous approuciez de ce produit :
- Compatible avec les iPod Classique, iPod de 5e génération et les iPod nano de 2e et 3e génération *
Enregistrement 16 bits, 44,1 kHz - 2 microphones stéreo à condensateur intégré
- 2 entrées combinées micro/ligne - Permettant de brancher 1 source stéreo ou deux sources mono, telles que des microphones XLR ou 14 po et autres sources à niveau ligne
- Lémiteur d'entrée analogue - Permet d'éviter l'écritage numérique du signal d'enregistrement achemisé en l'IPod
Monitoring direct - Permet de contrôle l'enregistrement avec le moins de temps de latence possible
Sortie casque d'ecoute dotée de réglage du volume - Alimentation fantôme 48 V commutable pour les microphones
-
Bloc d'alimentation (adaptateur CA ) ou alimentation à pile ( 4 piles AAA ) pour une durée de 2,5 heures
-
iPod est une maque de commerce enregistrée de Apple, Inc., enregistrée aux États-Unis et dans d'autres pays.
SCHEMA DE CONNEXION

** Lors de l'utilisation d'un instrument à haute impédance telle qu'une guîtare, nous vous recommendons d'utiliser un boitier d'adaptation ou un préampli afin de diminuer l'impédance du signal de l'enregistreur.
ALIMENTATIONÀPILE
Insertion des piles :
- Retirez le couvercle du compartment à pile situé sur le panneau arrêté.
- Insérez 4 piles de format AAA dans le compartment. Premez soit d'insérer les piles en respectant les polarités (+/-).
- Remettez le couvercle en place, vous entendrez un déclic lorsqu'il sera fermé correctement.
Précautions :
Assurez-vous que les piles sont insérées en respectant les polarités (+ / - )
Utiliziez des piles du même type. N'utilise pas des piles de types différents ensemble.
- Vous pouvez utiliser des piles rechargeables ou non rechargeables. Veuillez dire les précautions à prendre indiquées sur leur emballage avant de les utiliser.
Si you n'aliez pas utiliser l'appareil pendant une longue période de temps, retirez les piles a fin d'éviter qu'il n' y ait des fuites. Si' y a eu uneuite, essuyez les parties contaminées dans le compartment des piles.
Ne pas rechauffer, désassembler ou jeter les piles dans un feu.
Il n'est possible de recharger l'IPod avec l'enregistreur que lorsqu'il est alimenté par le bloc d'alimentation ou un bloc-piles externe.
Malgré qu'il est possible d'utiliser l'alimentationfantôme de l'enregistreur lorsque ce dernier est alimenté par les piles, car les piles se déchargeront plus rapidement, selon le type de microphones utilisé.
CARACTERISTIQUES DES PANNEAUX INFÉRIEUR, SUPérieUR ET ARRÊIRE
- ENTRÉES CANAUX 1 ET 2 - Permit de brancher des sources audio externes. Chaque entrée peut accueillir une connexion 14 po ou XLR. Ceci permet plusieurs options de branchement :
d. 2 microphones
e. 1 source stéreo (telle qu'un lecteur CD, un échantillonneur ou une boîte à rhytmes)
f. 1 ou 2 sources mono, telles que les guitares. (Remarque: (Remarque : Lors de l'utilisation d'un instrument à haute impédance, telle qu'une guitare, nous vous recommendons d'utiliser un boitier d'adaptation ou un pré ampli afin de diminuer l'impédance du signal de l'enregistreur.)
Si vous n'utilise qu'une des deux entités, il est recommendé demettre le sélecteur RECORD MODE à « Mono » et de diminuer le gain de l'entrée inutilisée.
Les microphones à condensateur intégrés de l'enregistre ne fonctionnent pas lorsqu'un apparéel est branché à l'une ou aux deux autres canaux 1/2.
- SORTIE CASQUE D'ÉCOUTE - Permet de brancher un casque d'écoute 1/8 po. Le volume du casque d'écoute est commandé par la molette HEADPHONE VOLUME sur le panneau lésral croit. Durant la lecture, seul l'iPod se fera entendre. Lors des autres modes, les entrées se feront entendre.
MISE EN GARDE: Fermez complètement le volume du casque d'écoute avant demettre l'appareil sous tension aimé d'éviter le « clic » dans le casque.
- MICROPHONES - Ces microphones a condensateur integres permettent d'enregirer la source lorsque les entrées CH 1/2 INPUTS ne sont pas utilisées.
- BOITIER DE PROTECTION POUR iPod - Ce boitier de plastique se glisse et se fixe à l'enregistreur afin de protégé et de sécuriser l'iPod lorsqu'il est sur le socle.
- SOCLE - Branchez un iPod ici avant de fixer le boitier de protection.
- MENU - Fonctionne de la même manière que la touche « Menu » de votre iPod.
- ENTER-Fonctionne de la meme maniere que la touche « Enter » de votre iPod.
- VUMÉTRES DEL - Contrôle le niveau audio. Lors d'enregistrement, ces vumêtres permettent de mesurer les niveaux d'entretres des canaux 1 et 2 ou des microphones intégrés. (Si le limiteur est activé, ces mesures sont prises une fois que le limiteur a traité le signal.) Durant la lecture, ces vumêtres mesurent les niveaux du iPod. De plus, les deux niveaux supérieurs des DEL rouge clignoteront simultanément lorsque les piles seront déchargeées.
- GAIN DES CANAUX 1/L - Permet d'ajuster le niveau du gain d'entrée du canal 1.
- GAIN DES CANAUX 2/R - Permet d'ajuster le niveau du gain d'entrée du canal 2.
- COMPARTIMENT DES PILES - Insérez 4 piles de type AAA pour une durée d'utilisation de 2,5 heures. Les deux niveaux supérieur des DEL rouges clignoteron simultanément lors que les piles seront déchargées.
- SUPPORT - Cet orifice permait de metre l'enregistreur sur un trupied, tel qu'un trupied standard pour camera, permottant an enregistrement mains libres.

Inferieur

Supérieur

Arrière
CHARACTERISTIQUES DU PANNEAU LATERAL
- HEADPHONE VOLUME - Ce bouton ajuste les niveaux de la sortie du casque d'écoute.
Remarque : Il peut se produit de la distorsion si les boutons de gain des canaux sont régés trop haut lorsque le casque d'écoute est branché. Si cela se produit, diminuez le gain du canal ou le volume du casque d'écoute - LIMITER - Cette touche permet d'activer le limiteur. Ceci permet d'éviter l'échéage numérique du signal d'enregistrement acheminé sur l'IPod. Cependant, il est possible de surcharger le circuit du limiteur avec un signal chaud, résultat en un son oscillant, ou à l'extreme, déformé. Diminué les niveaux du gain du canal lorsque vous remarquerez des bruits indésirables ajustés au signal.
- RECORD MODE - Ce contrôle permet de sélectionner le mode d'enregistrement des deux sources d'entrée analogue, stéreo ou mono. Lors de l'enregistrement de sources d'entreprises mono, telles que guitare ou microphone, nous vous recommendons d'utiliser le réglage « Mono »
- VERROU KENGLISHON - Cet emplacement permet d'utiliser un verrou Kinsington pour sécurir l'enregistreur sur une table ou autre surface.
- OPEN - Poussez ce bouton vers le bas de l'enregistreur afin de déverrouiller et-retirer le boîtier de protection de l'enregistreur pour retirer l'IPod.
- PHANTOM POWER - Cet interrupteur permet d'activer et de désactiver l'alimentation fantôme. Lorsqu'elle est activée, l'alimentation fantôme foumit +48 V aux deux entrées micro XLR. Veuillus notes que la plupart des microphones électrodynamiques ne nécessitant pas d'alimentation fantôme, alors que les microphones à condensateur en ont besoin. Consultez la documentation fournie avec votre microphone pour savoir si vous doivent utiliser l'alimentation fantôme.
MISE EN GARDE : N'active pas l'alimentation fantôme si les microphones n'en ont pas besoin.

Lors de l'enregistrement, nous vous recommendons de désactiver la fonction de recharge du iPod. Le rechargement pourrait ajouter des bruits indésirables sur vos enregistrations.
- iPOD CHARGE ON/OFF - Ce contrôle permet d'activer ou de désactiver la fonction de recharge du iPod lorsque ce dernier est sur le socle. Il n'est possible de recharger l'iPod avec l'enregistreur que lorsqu'il est alimenté par le bloc d'alimentation ou un bloc-piles externe.
- POWER - ME L'appelil sous et hors tension. Assurez-vous demettre l'enregistreurs hors tension lorsqu'il n'est pas utilisé afin d'économiser les piles.
- ENTREE CA - Permet de brancher le cable d'alimentation inclus. Branchez le cable d'alimentation dans la console de mixage avant de le brancher à une prise de courant.
Remarque : Si vous utilisez un adaptateur d'alimentation externe, tel qu'un bloc-piles, la polarite doit etre centre positif.
Voir la section SPECIFICATIONS TECHNIQUES pour de plus amples informations concernant les blocs-piles externes.
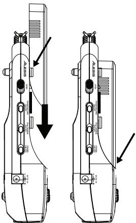
FIXER ET RETIRER LE BOITIER DE PROTECTION
Avant de commencer, suivez les étapes suivantes afin de préparer le ProTrack pour revoir l'IPod:
- Utilisez le doublegar en mousse approprié pour l'IPod. Utiliser le doublegar plus écais pour un iPod de taille régulière (Classique ou 5e génération) et un doublegar plus mince pour les iPod nano (2e et 3e génération).
- Place the doublage in mousse au centre de la surface plate au-dessus du socle. Ceci permettra de sécuriter l'IPod sur le socle.
- Branchez l'IPod en l'insérant doucement dans le connecteur au fond du socle.
- Glissez le boitier de protection par-dessus l'enregistre afin de recouvir l'IPod. Les rebords du boitier doivent glisser sous les languettes sur les deux cotes de l'enregistre.
Remarque: Nous avons inclus deux boilliers de protection différentes: le premier convient à l'IPO régulier et l'autre, à l'IPO nano.
- Glissez le boitier au fond.
- Pour-retirer le boitier, tirez vers le bas sur le bouton OPEN sur le panneau létral gauche de l'enregistreur (voir la section CARACTERISTIQUES DU PANEAU LATERAL), puis faibles-le glisser de sur l'enregistreur.
- Pour-retirer l'iPod, avec un mouvement de va-et-vient, retirez-le doucement du socle.

ENREGISTREMENT
L'enregistreur pour iPod est compatible avec les modèles suivants :
iPod Classique
5e generation
3e generation d'iPod nano
3e generation d'iPod nano
Il est possible d'enregistrer sur l'enregistrer pour iPod à l'aide des microphones à condensateur intégrés, de microphones externes, ou d'autres sources audio branchées aux entrées canaux 1 et 2 de l'enregistrer. Il y a quelques notions et suggestions importantes que vous doivent considérer avant de commencer à enregistrer :
- Prenez le temps d'équilibrer le niveau des sources audio à l'aide des vumêtes DEL du panneau supérieur. Afin qu'il ne se produit pas d'échéage ou de distorsion, les niveaux ne dévaient atteindre qu'occasionnellement les DEL rouges supérieures.
Utilisez le limiteur intégré afin d'éviter l'échéage numérique du signal d'enregistrement achemieé sur l'IPod. Cependant, prenez garde de ne pas trop augmenter les niveaux lorsque vous utilisez le limiteur, car des bruits indesirables poursraient être ajoutés au signal. Il n'y a qu'unTrait entre un bon enregistrement fort et un enregistrement qui a été excessivement limité, produit une mauvaise dynamique et une mauvaise clarté. Prenez garde lors du réglage des niveaux, et si nécessaire, diminuez le gain des canaux.
Lors de l'enregistrement, nous vous recommandons de désactiver la fonction de recharge du iPod. Le rechargement pourrait ajouter des bruits indesirables sur vos enregistements.
Utilisez le.selecteur RECORD MODEafin de regler le type d'enregistrement, stéreo ou mono. Lors de l'enregistrement de sources d'entrées mono, telles que les guitares ou les microphones, nous vous recommendons d'enregistrer en mono.
Si vous n'utilisiez qu'une entree, il est preférable de diminuer le gain de canal de l'entree inutiliseasion a deduire les bruits indesirables.
Vos enregistements seront sauvégardés comme chartiers mémos vœuacs sur l'IPod.
Ne soit que vous aurasé terminé d'enregistre un « mémo», il sera placédans Main Menu >Extras >Voice Memos.
Une fois que vous给您 serrez connecté à votre ordinateur et aurez transmis les mémos vocaux, vous pourez les couver dans Main Menu > Music > Playlists > Voice Memos.
Par défaut, votre iPod est sourt formaté pour être compatible avec un ordinateur Mac, plutot qu'un PC. Si vous désírez transférer vos enregistrements sur un PC, branche l'IPod à leur ordinateur et veillez permettre à iTunes de le formater pour vous AVANT d'enregistrer pour la première fois.
Si you enregistrez sur votre iPod avant de faire une première connexion à iTunes, vos enregistements seront sauvégardés dans le format de fichier HFS de Mac. Ils ne pourrait être lus qu'en branchant votre iPod sur un Mac et non un PC.
Si vous reformatez votre iPod pour la plateforme PC ou Mac, il se peut que les enregistements faits aparavant soient perdus.
Notice Facile