PRO TRACK - Registratore audio portatile ALESIS - Manuale utente e istruzioni gratuiti
Trova gratuitamente il manuale del dispositivo PRO TRACK ALESIS in formato PDF.
Domande degli utenti su PRO TRACK ALESIS
0 domanda su questo apparecchio. Rispondi a quelle che conosci o fai la tua.
Fai una nuova domanda su questo apparecchio
Scarica le istruzioni per il tuo Registratore audio portatile in formato PDF gratuitamente! Trova il tuo manuale PRO TRACK - ALESIS e riprendi in mano il tuo dispositivo elettronico. In questa pagina sono pubblicati tutti i documenti necessari per l'utilizzo del tuo dispositivo. PRO TRACK del marchio ALESIS.
MANUALE UTENTE PRO TRACK ALESIS
Benvenuti al Registratore ProTrack iPod di Alesis! Abbiamo concepito quello dispositivo in modo che sua facile da usare, ma potetefare riferimento a questo manuale quando necessario in caso di domande su come funziona. Ecco alcune delle funzioni del vostro nuovo Registratore ProTrack iPod che adorerete:
- Compatible con iPod Classics, iPod di 5^a Generazione e iPod Nano di 2^e e 3^a Generazione*
- Capacità di registrazione a 44,1kHz, 16 bit
- 2 microfoni incorporeti a condensatore stereo
- 2 Ingrassi combo Mic / Line - Collegare 1 sorgente sonora stereo o 2 mono quali microfoni XLR o da 1/4^* e other sorgenti di linea
- Limitatore di ingressi analogico - Impedisce il "salto" digitale del segnale registrato nell'iPod
- Monitoraggio diretto - Consente di monitorare la registrazione con latenza zero.
- Uscita cuffie con regolazione del volume dedicata.
- Alimentazione Phantom Power da 48V commutabile per i microfoni
-
Alimentazione esterna (Adattatore CA) o Alimentazione a batteria (4 AAA) per 2,5 ore
-
iPod è un marchio di fabbrica di Apple, Inc., registrato negli Stati Uniti e in altri Paesi.
CONTENUTI CONFEZIONE
DELLA
- Registratore ProTrack iPod
Adattatore di alimentazione CA - 2 sled (una per iPod regolari, uno per iPod Nano)
Pad di gomma (per l'uso con gli sled)
SCHEMA DEI COLLEGAMENTI

** Quando si usano strumenti ad elevata impedenza como una chitarra, si raccomanda l'uso di una direct box o di un preamp per abbassare l'im impedenza de segnale per il registratore.
USO DELL'ALIMENTAZIONA BATTERIA
Inserimento delle batterie:
- Rimuovere il coperchio dello scomparto batterie sul pannello posteriore.
- Inserire 4 batterie AAA nelle scompatto. Assicurarsi che siano inserite con le polarità positiva (+) e negativa (-) orientate correttamente.
- Chiudere il coperchio in modo da udire uno scatto.
Precauzioni:
- Assicurarés sempre che la batterie siano insertè con le polarità positiva (+) e negativa (-) orientate correttamente.
- Servisi di batterie dello tipo. Non servisi contemporaneamente di batterie di tipo diverso.
- É possible utiliser batterie ricaricabili o non ricaricabili. Prima diutilizarle,fare riferimento alle precauzioni d'uso indicate sulles rispette etichette.
- Quando l'apparechio non viene'utilizzato per lunghi periodi di tempo, rimuovere le batterie per evitare perdita e elettrolito. In caso di perdita, ascugare via il liquido dall'o scomparto batterie.
Non scaldare, smontare o eliminare le batterie gettandole nel fuoco.
Épossible caricare l'IPod con il registratore unicolemente quando è alimentato con l'adattatore CA in dotazione o una batteria esterna.
Nonostante si possa utilizzare la funzione di alimentazione phantom del registratore, questa consumera la batteria più rapidamente, a seconda del tipo di microfoni che si utilizes.
CARATTERISTICHE PANNELLO INFERIORE, SUPERIORE E POSTERIORE
- INGRESSI CH 1/2 - Collegare a quosti ingressi le sorgenti sonore esterne. Ciascun ingresso è in grado di accogliere un collegamento da 14^ o XLR. Ciò consente diverse opzioni di collegamento:
a. 2 microfoni
b. 1 sorgente stereo (quali unlettore CD, un campionatore o una drum machine).
c. 1 o 2 sorgenti mono (ad esempio chitarre). (Note bene: quando si usano strumenti ad elevata impedenza como una chitarra, si raccomanda l'uso di un preamp per abbassare l'impenenza di segnale per il registraratore.)
Se si utilizza solo uno di queste due ingresshi, posizionale l'interruttore RECORD MODE su "Mono" e abbassare la manopola gain dell'ingresso inutilizzato.
I microfoni incorpali del registatore non verranno utilizzati fino a quando ci sarequalcosa di collegato a uno o entrambi gl INGRESSI CH 1/2.
- USCITA CUFFIE - Collegare le cuffie a esta uscita servendosi di un connettore stereo da 1/8' . Il volume delle cuffie è controllato alla rotella VOLUME CUFFIE situata sul pannello di destra. During la riproduzione si sente unicamente l'IPod. In tutti gli altri casi, si sentono gli ingressui.
AVVERTENZA: abbassare completeness II VOLUME CUFFIE prima di accendere l'apparecchio per evitare il rumore del "clic" di accensione nelle
- MICROFONI - E possible registrar le sorgenti servendosi di questi microfoni incorporel a condensatore se non si utilizzato gli INGRESSI 1/2.
- SLED - Questo coperchio di plastica corso e si fissa sul registratore per proteggere e bloccate i'IPod quando è collegato al dock.
- DOCK - Collegare I'iPod a quello livllo prima di fissare lo SLED.
- MENU - Funzione come il tasting "Menu" dell'iPod.
- ENTER - Funziona come il tasting "Enter" dell'iPod.
- MISURATORI A LED - Misurano i livelli del segnale audio. Durante la registrazione, quosti misuratori misurano i livelli di ingresso degli INGRESSI CH 1/2 o dei MICROFONI incorporeti. (Se il LIMITATORE è accesso, queste lecture vengono effettuate dopo che il LIMITATORE ha elaborato il segnale.) Durante la riproduzione, quosti misuratori misurano il livello di riproduzione dell'IPod. Inoltre, i due LED rossi superiori lampeggeranno contemporaneamente quando le batterie cominciano ad essere scariche.
- CANALE 1/L GAIN - Regola il guadagno in ingresso del Canale 1.
- CANALE 2/R GAIN - Regola il guadagno in ingresso del Canale 2.
- SCOMPARTO BATTERIE - Inserire 4 batterie AAA a quosto livello per ottenere fino a 2,5 ore di alimentazione.I due LED rossi superiori lampeggeranno contemporaneamente quando le batterie cominciano ad essere scariche.
- INSTALLAZIONA SU SUPPORTO - Sicoulduutilizzquesto foro por montareI Registatore IPod su un supporto, ad esempio un supporto standard per macchina fotografica, in modo da poter registrar a mani libre.


Supereire

Posteriore
CARATTERISTICHE PANNELLO LATERALE
- VOLUME CUFFIE - Regola il livello del volume dell'uscita cuffie.
Nota bene: si vu verificare feedback nel caso in cui le manopole GAIN CANALE vengano alzate con le cuffie collegate. Se cià accade, diminuire il guadagno o il VOLUME CUFFIE. - LIMITATORE - Attiva ilimitatore stereo. Ciopedisce il "salto" del segnale registrato nell'Pod. Tuttavia, è pur sempre possibile sottomporre a overdrive il circuito del limitatore con un excessivo segnale, provocando uno spiacevole suono di "pompa" o, addirittura, distorsione. Diminuire i livelli di GUADAGNO CANALE in caso di notevoli artefatti delimitatore.
- MODALITA RECORD (REGISTRAZIONE) - Specifica se i due ingressi analogici verranno registrati sull'IPod in stereo o in mono (sommati). Al momento di registrate sorgenti di ingresso mono quali chitarre o microfoni, si raccomanda di posizionale l'interruttore su "Mono".
- SLOT PER LUCCHETTO KENsTONG - Servisi di questa apertura per lucchetto. Kensington per fissare il Registatorio iPod a un navolo o ad altre superfici.
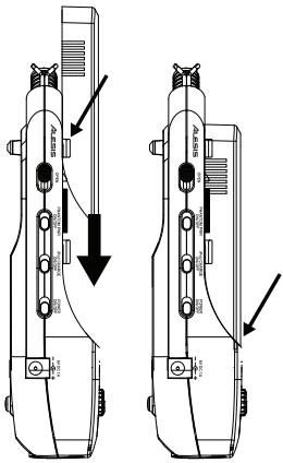
- OPEN - Tirare quello interruttoro verso il fondo del registratore per sbloccare e rimuovere la slitta di plastica (sled) dal registratore quando si desidera rimuovere l'ipod.
- ALIMENTAZIONE PHANTOM - Questo interrottore attiva e disattiva l'alimentazione phantom. Quando attivata, l'alimentazione phantom fornisce +48V a entrambi gli ingressi mic XLR. La maggior parte dei microfoni dinamici non richiede alimentazione phantom,merica maggior parte dei microfoni a condensatore si. Consultare la documentazione del microfono per scopire se necessita di alimentazione phantom.

Destro

Sinistro
AVVERTENZA: non accendere l'ALIMENTAZIONE PHANTOM a meno che i microfoni non lo richiedano.
- CARICA iPod ON/OFF - Attiva o disattiva la capacité del Registrotore iPod di caricare l'iPod stesso quando e collegato al dock. É possible caricare l'iPod con il registrotatore unico quando e alimentato con l'addattatoire CA in dotazione o una batteria esterna.
- INTERRUTTORE DI ALIMENTAZIONE (POWER) - Accende e spegne il Registatore iPod. Assicurarsi di spegnere il registratore quando non è in uso per risparmiare le batterie.
- INGRESSO DI ALIMENTAZIONE - Qui viene collegato l'adattatore di alimentazione in dotazione. Collegare quest's ultimo al registraratore prima di inserirlo nella presa elettrica.
Nota bene: se si utilizes un adattatore di alimentazione esterno, quale una batteria, la relativa polarità devessere positiva centrale. Si vedano le SPECIFICHE TECNICHE per maggiori informazioni sulle batterie esterne.
Si racomanda di lasciare spenta la funzione di CARICA iPOD durante la registrazione. La carica può introdurre rumore a basso livello nelle registrazioni.
FISSAGGIO E RIMOZIONE DELLO SLED (SLITTA)
Prima di iniziare, seguire quosti semplici passaggi per preparare il ProTrack all'uso con l'IPod:
- Applicare la gomma adeguata a sostenere l'Pod. Servirsi del pad più spesso per un iPod dalles dimensioni normali (Classic o 5^th Generazione) o quello più sottomile per un iPod nano (2^st or 3^st Generazione).
- Collocare i pad di gomma al centro della superficie piatta sopra al DOCK. Questo vi aiuterà a fissare l'IPod quando si trovava nel dock.
- Collegare l'IPod al DOCK inserendo delicatamente il connettore del DOCK nelle slot alla base dell'IPod.
- Far scorrere lo SLED sul registratore in modo che copra l'IPod. I cordi dello SLED devono scorrere molto alla linguette da entrambi i lati del registratore.
Nota bene: abbreviamo incluso due sled divers per l'uso con il Registratore iPod: uno è adatto all'IPod normale, quando l'alto è adatto all'IPod Nano.
- Inserire lo SLED sul fondo.
- Per rimuovere lo SLED, tirare l'interruttore OPEN sul pannello sinistro verso il fondo del registratore (vedi CARATTERISTICHE PANNELLO LATERALE), quando farlo scorrere via dal registratore.
- Per rimuovere l'IPod, farlo ondeggiaré delicatamente avanti e indietro, sino a staccarlo dal DOCK.

REGISTRAZIONE
II Registratore iPod è compatibile con i seguenti modelli di iPod:
iPod Classic
iPod di 5a generatione
iPod Nano di 3a generazione
- iPod Nano di 2a generazione
Si cui registrale sul Registatore iPod servendosi dei microfoni a condensatore incorpatrii, di microfoni esterni o di altre sorgenti audio collegate agli INGRESSI CH 1 / 2 del registratore. Prima di tuffarsi nelle registrazioni, vi sono alcuni importanti fattori e suggerimenti da tenere in considerazione:
Dedicare un po'di tempo a equilibrare i livelli delle sorgenti monitorando il MISURATORI a LED sul pannello superiore. Si raccomanda che i livelli tocchino le spie rosse a LED superfiori solo occasionally o affatto, per garantire che la registrazione non "salti" e non sua distorta.
Serviri del LIMITATORE incorporeato per impedire il "salto" del segnale registrato nell'IPod. Tuttavia, prestare attenzione durante l'uso del LIMITATORE: se i livelli di ingresso sono eccessivi si possono verificare artefatti audio indesiderati o perfino distorsione. Tra una Buona registrazione ad alto volume ed una registrazione eccessiva che presenta una scarsa gamma dinamica e chiarezza, il passo è breve. Prestare attenzione al momento di impostare i livelli e diminuire il GAIN CANALE se necessario.
Si raccomanda di lasciare spenta la funzione di CARICA iPOD durante la registrazione. La carica più introduire rumori a basso livello nelle registrazioni.
- Servirse dell'interruttore RECORD MODE per selezionare la registrazione stereo o mono. Se si utilizzato sorgenti di ingresso moni quali chitarre e microfoni, è preferibile registrarne in mono.
Se si utilizza un solo ingresso, abbassare il GAIN canale dell'ingresso inutilizzato per ridurre i rumori indesiderati.
Le vostre registrazioni verranno salute come file "voice memo" sull' iPod.
Una volta finito di registrar un "memo," verrà collocato in Main Menu >Extras > Voice Memos.
Dopo essersi collegati al computer e avertrasmesso i voice memo, questi sietroveranno in Main Menu > Music > Plavilists > Voice Memos.
Appenda estratto alla confezione, l' iPod è formattato per funzioniare con un Mac o con un computer Windows. Se si considera transferire le registazioni ad un computer Windows, collegare l'iPod al computer Windows e lasciare che liTunes lo formatti PRIMA di registrar per la prima volta.
Se si registra sull'iPod prima di collegarlo a iTunes, la regresazione sare salvata nel formato HFS per Mac. Sarà leggibile solo collegando i'iPod ad un Mac, non ad un computer Windows.
Va notato che, se si riformatta l'iPod per la piattaforma Windows o Mac, si cui perdere qualsiasi eventuale registrazione.
ManualeFacile