PRO TRACK - Grabadora de audio portátil ALESIS - Manual de uso y guía de instrucciones gratis
Encuentra gratis el manual del aparato PRO TRACK ALESIS en formato PDF.
| Tipo de producto | Grabadora de audio digital |
| Características técnicas principales | Grabación estéreo, 24 bits/96 kHz, entrada XLR/TRS combo |
| Alimentación eléctrica | Alimentación por batería o USB |
| Dimensiones aproximadas | 15.2 x 8.9 x 3.8 cm |
| Peso | 500 g |
| Compatibilidades | Compatible con Mac y Windows, aplicaciones de grabación de audio |
| Tipo de batería | Baterías AA o alimentación USB |
| Tensión | 5V a través de USB |
| Poder | Bajo consumo, adecuado para uso prolongado |
| Funciones principales | Grabación directa, monitoreo en tiempo real, control de nivel |
| Mantenimiento y limpieza | Limpiar con un paño suave, evitar la humedad |
| Piezas de repuesto y reparabilidad | Reparabilidad limitada, piezas disponibles del fabricante |
Preguntas frecuentes - PRO TRACK ALESIS
Preguntas de los usuarios sobre PRO TRACK ALESIS
0 pregunta sobre este aparato. Responde a las que conoces o haz la tuya.
Hacer una nueva pregunta sobre este aparato
Descarga las instrucciones para tu Grabadora de audio portátil en formato PDF gratis! Encuentra tus instrucciones PRO TRACK - ALESIS y toma tu dispositivo electrónico nuevamente en la mano. En esta página están publicados todos los documentos necesarios para el uso de su dispositivo. PRO TRACK de la marca ALESIS.
MANUAL DE USUARIO PRO TRACK ALESIS
Bienvenido al grabador para iPod Alesis ProTrack! Diseñamos este disposporto para que sea fácil de usar, pero puede consultar este manual cuando seanecessary si Tiene unaagna pregunta acerca de como funciona. He是一位xs de las caracteristicas de su nuevo grabador para iPod ProTrack que le encantaran:
- Compatible con iPod Classics, iPod de 5^1st Generación e iPod Nanos de 2^3st y 3^3st Generación *
- Capacidad de grabación a 44.1 kHz, 16 bits
- 2 micrófonos estéreo de condensador incorporados
- 2 entradas de microfondo y linea combinadas - Connect 1 fuente de sonido estéreo o 2 mono tales como microfondos XLR o de 1/4^ y otheras fuentes de linea
- Limitador de entrada analógico - Evita el "recorte" digital duro de la sealsnal grabada en su iPod
- Monitoreo directo - Monitoree su grabacion con cero latencia
- Salida para auriculas con control de volumen dedicado.
- Alimentación fantasma conmutable de 48 V para micrófonos
-
Fuente de alimentación externa (Adaptador de CA) o de bateria (4 AAA) para 2.5 horas
-
iPod es unamarca registrada de Apple Inc., registrada en EE.UU. yotiros paises.
CONTENIDO DE LA CAJA
- Grabador
para
iPod
ProTrack
Adaptador de alimentación de CA
- 2 trineos (uno para los iPod normales y除外 para los iPod Nano)
- Almohadillas de espuma (para usar con los trineos)
DIAGRAMA DE CONEXION

** Cuando se usa un instrumento de alta impedencia como una guitarra, recomendamos usar una caja directa o amplificador para reducir la impedencia de entrada al grabador.
CÓMOSUAR LA ALIMENTACION DE BATERIA
como insertar las baterias:
- Retire la tapa del compartmento de baterias del panel trasero.
- Inserte 4 baterias AAA en el compartmentido. Asegürese de insertarlas con los polospositivo (+) y negativo (-) correctamente positionalados.
- Cierre la tapa hasta que calce con un "clic" en su sitio.
Precauciones:
- Asegürese sempre de insertar las baterías con los polospositivo (+) y negativo (-)correctamentepositionados.
- Use bacterias delismo tipo. No use temas differentes de bacterias al mesmo tiempo.
- Puede usar baterias recargables o no recargables. Lea las precauiones indicadas en sus etiquetas antes de usarias.
- Cuando no las use durante periodos prolongados, retire las baterías para evaporar que tengan fugas. Siienen fugas, limpie el liquido del interior del compartmento de baterías.
No caliente, desarme o deseche las baterías arrojándolas al fuego.
Es possible cargar el iPod con el grabadorsole cuando está alimentado desde el adaptoradera de CA incluido o un bloque de baterias externo.
Si bien es possible usar la caracteristica de alimentacion fantasma del grabador cuando usa baterias, de esta forma se le agotaran más rápido,dependiendo del tipo de microfonos que use.
CHARACTERISTICAS DE LOS PANELES INFERIOR, SUPERIOR Y TRASERO
- ENTRADAS DE CANALES 1 Y 2 - Conecte sus fuentes de sono externas a estas entradas. Cada entrada可以选择 acceptar unareshación de 4^ o XLR. Este permite varíasustralianos de connexion:
a. 2 microfonos
b. 1 fuente estéreo (como un reproductor de CD, muestreador o caja de ritmos).
c. 1ó2fuentes mono (tales como gutarras). (Note: Cuando se usa un instrumento de alta impedancia como una guitarra, recomendamos usar un amplificador para reducir la impedancia de la seals aplicada al grabador).
Si solo usa una de estas dos entradas, es conveniente que colque el commutador RECORD MODE en "Mono" y bajo la ganancia con la perilla de la entrada sin uso.
Los microfonos incorpuestos del grabador no se usan cuando se connecta algo a una o ambas entradas CH 1/2
- SALIDA PARA AURICULARES - Conecte sus auriculares a esta salute con un conector estéreo de 1/8 ". El volumen de los auriculares se controla con la rueda HEADPHONE VOLUME del panel delazo derecho. Durante la reproduccion,sole se oiré el iPod. En todo el resto del tiempo,se oirán las entradas.
ADVERTENCIA: Baje el VOLUMEN DE AURICULARES totalmente antes de encender launidad para evaporar el ruido "clic" de encendido en sus auriculares.
- MICROFONOS - Graba su fuente con these microfonos de condensador incorporealados si no está usinga las entrada CH 1/2 (Canales 1 y 2).
- TRINEO -Esta tapa plástica se desliza y calza a presión en el grabador para proteger y asegurar el iPod cuando está acoplado.
- ESTACION DE ACOPLAMIENTO - Conecte su iPod ahora ante de colocar el TRINEO.
- MENU - Actua como el boton "Menu" del iPod.
- ENTER - Actua como el botón "Enter" del iPod.
- LED MEDIDORES - Miden los niveles de Signals de audio. Durante la grabacion, these medidos miden los niveles de las entradas CH 1/2 o de los MICRóFONO incorporedados. (Si el LIMITADOR está activado, estas lecturas se tornan despues de que el本身就是 comoraised la signal). Durante la reproduccion, these medidos miden el nivel de reproduction del iPod. Asimismo, los dos LED rojos superiores destellan simultaneamente cuando se estan agotando las baterias.
- GANANCIA DE CANAL 1/I - Ajusta la ganancia de entrada del canal 1.
- GANANCIA DE CANAL 2/D - Ajusta la ganancia de entrada del canal 2.
- COMPARTIMIENTO DE BATERIAS - Inserte 4 bacterias AAAquiry para tener hasta 2.5 horas de alimentacion. Los LED rojos superiores destellan simultaneamente quando se estan agotando las bacterias.
- MONTAJE DEL SOPORTE - Puede usar este orificio para montar el grabador para iPod en un soporte, tal como el de una CAMERA estarán, para permitir la grabación con manos libres.
CHARACTERISTICAS DEL PANEL LATERAL
- VOLUMEN DE AURICULARES - Ajusta el nivel de la calidad para auriculares.
Note: Puede producirse realimentacion si las perillas CHANNEL GAIN se giran para augmentar la ganancia con los auriculares connectados. Reduzca la ganancia o el control HEADPHONE VOLUME si thiso occurre. - LIMITADOR - Activa el limitador estéreo. De esta forma se evita el "recorte" duro de la seals grabada en su iPod. No obstante, aun asi es possible sobreexcitar el Limitador con unaSELL muy caliente, produciendo un desagradable sonido de "bombeo" o incluso distorsión. Reduzca los niveles de CHANNEL GAIN (Ganancia de canal) si experimenta artefactos significativos del limitador.
- MODO DE GRABACION - Especifica si las dos entradas analógicas se graban en el iPod en estéreo o mono (sumadas). Para grabar fuentes de entrada mono, tales como una guitarra o un microfondo, recommendamos colocar este commutador en "Mono".
- RANURA PARA BLOQUEO KENSINGTON - Puede usar esta ranura de bloqueo Kensington a fin de sujetar el grabador para iPod a una mesa u other superficie.
- ABRIR - Tire de este interruptor hacía la parte inferior del grabador para desbloquear y descantar el trineo plácico del mesmo cuando sedeaearrirat el iPod.
- ALIMENTACION FANTASMA - Este interruptor activa y desactiva la alimentacion fantasma. Cuando se activa, la alimentacion fantasma suministra +48 V a ambas entradas de microfono XLR. La mayoria de los microfonos dinamicos norequiren alimentacion fantasma, cuando que la mayoria de los microfonos de condensador la requieren. Consulte la documento de su microfono para averigar si necessita alimentacion fantasma.


Parte superior

Atrás
ADVERTENCIA: No encienda la ALIMENTACION FANTASMA a menos que su micrófono lo requiera.

- ACTIVACION Y DESACTIVACION DE LA CARGA DEL iPOD - Activa y desactiva la calidad del grabador de cargas su iPOD cuando está acoplado. Es posible cargas el iPOD con el grabador solo cuando está alimentado desde el adaptador de CA incluo o un bloque de baterias externo.
- INTERRUPTOR DE ENCENDIDO - Enciende y apaga el grabador de iPod. Asegürese de apagar el grabador cuando no lo use, a fin de conservar la energia de las baterias.
- ENTRADA DE ALIMENTACION - Es cuando debeechañucar el adaptorde alimentacion inclido. Conectelo al grabador antes de enchufarlo en un tomacorridente.
Posito: Si usa un adaptordo de alimentacion externo, como un bloque de baterias, su polaridadibe ser de centro
positivo. Para mayor informacion sobre los bloques de baterias externos, consulte ESPECIFICIONES TECNICAS.
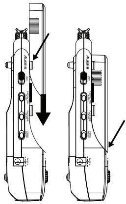
CÓMO COLOCAR Y RETIRAR EL TRINEO
Antes de comenizar siga这些东西 sencillos para preparar el ProTrack a fin de usar con su iPod:
- Aplique el apoyo de espuma apropioso para su iPod. Use la almonadilla más gruesa para el iPod de時間 normal (Clásico o de 5^th Generación) o la más delgada para el iPod nano (de 2^nd or 3^rd Generación).
- Colque la alohadilla de espuma en el centro de la superficie plana abriva de la ESTACION DE ACOPLAMIENTO. De esta forma facilitar la sujecion del iPod cuando está acoplado.
- Conecte el iPod en la ESTACION DE ACOPLAMIENTO insertando suavamente el conector de la misma en la base del iPod.
- Deslice el TRINEO sobre el grabador de modo que cubra el iPod. Los cordes del TRINEO deben desilizarde bajo de las lenguetas de ambos cordes del grabador. Nota: Hemos incluido dos trineos differentes para usar con el grabador para iPod: uno sieve para el iPod normal y el othero para el iPod Nano.
- Calce el TRINEO a presión en la parte inferior.
- Para retirar el TRINEO, tire del interruptor OPEN (Abrir) del panel izquierdo hacer la parte inferior del grabador (consulte CHARACTERISTICAS DEL PANEL LATERAL) y desilicelo para sacarlo del grabador.
- Para retirar el iPod, balancedeco suavamente hiera extras y adelante hasta que se sueja de la ESTACION DE ACOPLAMIENTO.

CÓMO GRABAR
El grabador par iPod es compatible con los siguientes modelos de iPod:
iPod Classic (Clásico)
iPod de 5^la Generación
iPod Nano de 3^rd Generación
iPod Nano de 2^da Generación
Puede grabar en el grabador de iPod cuando los microfonos de condensador incorporedados, microfonos externos u otheras fuentes de audio connectadas a las entrada CH1/2 (Canales 1 y 2) del mesmo. Hay uno cuando factores y sugerencias importantes que deben considerar antes de zambullirse en la grabacion.
Tómez algunos tiempo para balancear los niveles de sus fuentes monitorando los LED MEDIDORES del panel superior. Recomendamos que los niveles ingrenan a las luces de LED superiores (rojas) sólo occasionalmente, si es que ingresan en algo momento, para asegurarde que la grabacion no se "recorte" o distorsione.
- Use el LIMITADOR incorporeal paraEAR it the recorte'duro de la senal grabada en su iPod. No obstante, tenguido cuando use el LIMITADOR —si sus niveles de entrada son demasiado alto,可以更好causing artefactos of audio indesseables o incluso distorsion.Hay una delgada linea entre una buena grabacion fuerte yuna grabacion que está limitada en excesso,que produce un rango dinamico yuna claridad deficiententes.Tenga calidad cuando ajusta sus niveles y disminuya a CHANNEL GAIN (Ganancia de canal) si sua necessitiesario.
- Recomendamos desactivar la caracteristicas de CARGA DE iPod cuando graba. La energia peut introducir ruido de bajo nivel en sus grabaciones.
Use el conmutador RECORD MODE (Modo de grabacion) para selectionar grabacion estereo o mono. Si usa fuentes de entrada mono, tales como gutarras y micrófonos, es conveniente que grabe en modo mono.
■ SI solo usa una entrada, deben disinuir la GANANCIA DE CANAL de la entrada que no usa, para reducir el ruido inedaseable.
Sus grabaciones se guardan como archivos "voice memo"(memo de voz) en el iPod.
Unavz que terminé de grabar un "memo,"se colocan en Main Menu > Extras > Voice Memos.
Després de connectarse a su computadora y transmitir los memos de voz, se pueda localizar en Menu > Music > Playlists > Voice Memos.
Al sacarlo de la caja, el iPod está formateado para funciona con una Mac y no con una computadora bajo Windows. Sidea se transferir sus grabaciones a una computadora bajo Windows, conecte su iPod a la computadora y permita que iTunes lo formatee ANTES de grabar por primera vez.
Si grabe en el iPod ante de conectarlo por primera vez a iTunes, sus grabaciones se guardan el formatting HFS de Mac. Só serán legibles al enchufar el iPod a una Mac y no a una computadora bajo Windows.
Tenga enonga que si reformatea su iPod para la plataforma Windows o Mac,oulderperladarabacionesanteriores.
ManualFácil