PRO TRACK - Tragbarer Audiorekorder ALESIS - Kostenlose Bedienungsanleitung
Finden Sie kostenlos die Bedienungsanleitung des Geräts PRO TRACK ALESIS als PDF.
Benutzerfragen zu PRO TRACK ALESIS
0 Frage zu diesem Gerät. Beantworten Sie die, die Sie kennen, oder stellen Sie Ihre eigene.
Eine neue Frage zu diesem Gerät stellen
Laden Sie die Anleitung für Ihr Tragbarer Audiorekorder kostenlos im PDF-Format! Finden Sie Ihr Handbuch PRO TRACK - ALESIS und nehmen Sie Ihr elektronisches Gerät wieder in die Hand. Auf dieser Seite sind alle Dokumente veröffentlicht, die für die Verwendung Ihres Geräts notwendig sind. PRO TRACK von der Marke ALESIS.
BEDIENUNGSANLEITUNG PRO TRACK ALESIS
Herzlichen Glückwunsch zum Kauf eines Alesis ProTrack iPod Recorders! Dieses Gerät wurde anwenderfreundlich entworfen, noch können Sie diese Anleitung zu dessen Bedienung, falls notwendig, zu Rate ziehen. Hier einige der Eigenschaften, die Hnnen an Ihm neuen ProTrack iPod Recorder gefallen werden:
- Kompatibel mit iPod Classics, 5. Generation iPods sowie 2. und 3. Generation iPod Nanos *
44.1kHz, 16-bit Aufnahmekapazität
2 eingebaute Stereo-Kondensator Mikrofone - 2 kombinierte Mikrofon-/ / Line-Eingänge - Zum Anschluss von einer Stereo- oder zwei Mono-Tonquellen wie XLR oder 6,35 mm (1/4") Mikrofone oder andere Line-Quellen
- Analoger Eingabebegrenzer - Verhindert das harte, digitale "schneiden" des aufgenommen Tonsignals in Ihr iPod
- Direktes Abhoren - Horen Sie ihre Aufnahme ohne jegliche Verzogierung ab
Kopfhorerausgabe mit eigener Lautstarkeregelung
Schaltbare 48V-Phantomspeisung fur Mikrofone -
Externe Stromversorgung (Wechselstromadapter) oder Batterieversorgung (4 AAA) für 2,5 Stunden
-
iPod ist ein eingetragenes Warenzeichen von Apple Inc., in den U.S.A. und anderen Ländern registriert
ANSCHLUSSDIAGRAMM

STROMVERSORGUNGÜBER BATTERIE
Batterien einlagen:
- Abdeckung des auf der Geräterückseite befindlichen Batteriefachs abnehmer.
- Das Fach mit 4 AAA-Batterien bestücken. Dasei sicherstellen, dass diese mit richtig angeordneten Plus- (+) und Minuspolen (-) eingeleitet werden.
- Abdeckung wieder anbringen und mit einem Klick einrasten.
Vorsichtsmassnahmen:
- Immer sicherstellen, dass die Batterien mit diese mit richtig angeordnete Plus- (+) und Minuspolen (-) eingelegt werden.
- Immer gleichartige Batterien verwenden. Es ist nicht empfehlenswert, geschundenartige Batterien gleichzeit zu verwenden.
- Es können sowohw wiederaufdabare als auch Wegwerf-Batterien verwendet werden.itte vor deren Gebrauch auf Sicherheitshinweise, mit denen diese beschritt sein konnen, achen.
Wird das Gerät für längerere Zeit nicht benutzt, sollen den Batterien entfern wirdern, um ein Auslaufen dieser zu vermeiden. Falls eine Batterie auslauf, die Flüssigkeit aus dem Batteriefach wiesen. - Batterien niemals erhitzen, zerlegen oder diese zur Entsorgung in ein Feuer werfen.
Obwohl beim Batteriebetrieb die Phantomspeitung des Recorders verwendet werden kann, führt dies, je nach Art des verwendeten Mikrofons, zu higherem Batterieverbrauch.
Ihr iPod kann nur dann über den Recordergaufgelanden,Während借此 mit dem beigelegten Wechselstromadapter oder einem externen Batterie-Pack mit Strom versorgt wird.
GERÄTEUNTER-, OBER- UND RÜCKSEITE
- EINGANGE KANÄLE 1/2 - Zum Anschluss von externen Tonquellen. jeder Anschluss kann für eine 6,35 mm oder XLR-Verbindung verwendet werden. Dies ermöglich zahlreiche Anschlussoptionen:
a. 2 Mikrofone
b. eine Stereouelle (CD-Player, Sampler oder Trommelsynthesizer).
c. eine oder 2 Monoquellen (z. B. Gitarren). (Hinweis: Beim Gebrauch eines Instruments mit hoher Impedanz, wie z. B. einer Gitarre, empfehlen wir den Gebrauch eines Vorverständkers, um die Impedanz des Signals für den Recorder zu verringern.)
Fails nur einer dieser beiden Engänge benutzt wird, ist es unter Umstanden ratsam, den Schalter AUFNAHMEMODUS auf “Mono” zu schalten und den Lauststärkeregler des nicht verwendeten Engangs herunterzudrehen.
Die im Recorder eingebauten Mikrofone werden nicht aktiviert, so lange ein Gerät an die Einanze für Kanal 1 oder 2 angeschlossen ist.
- KOPFHÖRERAUSGANG - Zum Anschluss Ihres Kopfhörs über einen 3,17 mm Stereostecker. Die Kopfhörerauststände wird über den auf der rechten Seite des Gerats befindlichen Drehregler KOPFHÖRERLAUTSTÄRKE gesteuert. Wahrend der Wiedergabe wird nur der iPod gehört. Ansonsten werden die an die Eingänge angeschlossenen Geräte gehört.
WARNING: Drehregler KOPFHERLALUTSTARKE vor Einschten des Gerais ganz nach links drehen, um ein Klickerausch beim Einschten zu vermeiden.
- MIKROFONE - Diese eingebauten Kondensator-Mikrofone dienen zur Aufnahme ihrer Tonquelle, wenn die EINGänge KANAL 1 und 2 nicht verwendert werden.
- ABDECKUNG - Diese Plastikabdeckung kann über den Recordier geschoben und eingerastet werden, um den iPod zu schützen und abzuschern, während dieser sich im Dock befindet.
- DOCK - Hier wird der iPod vor Anbringung der ABDECKUNG angeschlossen.
- MENU - Fungiert als "Menu"-Taste Ihr's iPod.
- EINGABE - Fungiert als "Eingabe"-Taste Ihres iPod.
- LED-LAUTSTARKEANZEIGE - Zur Messung der Tonpegel. Während der Aufnahme werden hier die Lautstärkepegel der EINGänge KANAL 1 und 2 oder der eingebauten MIKROFONE gemessen. (Falls der BEGRENZER eingeschaltet ist, erfolgt die Ablesung nach dem BegRENzER das Signal verarbeitet hat.) Während der Wiedergabe werden hier die Wiedergabepegel des iPod gemessen. Zusätzlich blinken die beiden obersten LEDs gleichzeitig auf, wenn die Batterien schwacher werden.
- KANAL 1/LAUTSTÄRKE L - Hier kann die Eingabelautstärke für Kanal 1 eingestellt werden.
- KANAL 2/LAUTSTARKE R - Hier kann die Eingabelautstärke für Kanal 2 eingestellt werden.
- BATTERIEFACH - Hier konnen 4 AAA-Batterien für eine Betriebsdauer von 2 1/2 Std. Eingelegt werden. Die beiden obersten LEDs blinden gleichzeitig auf, wenn die Batterien schwächere werden.
- STATIVHALTER - Dien als Halterung, falls Sie den iPod Recordere auf einen Ständer, z. B. ein gebrauchliches Kamerastativ, aufsetzen worden. Ermöglicht Aufnahmen, während Sie die Hande frei haben.
LINKE UND RECHTE GERÄTSEITEN
- KOPFHÖRERLAUTSTARKE - Zur Einstellung der Kopfhöerlaufstarke.
Hinweis: Rückkopplungen konnen dann auftenen, wenn die KANAL- LAUTSTARKEREGLER voll aufgedreht sind, während die Kopfhörer angeschlossen sind. Falls this vomkommen, direhen Sie die KOPFHÖRERLAUTSTARKE herunter. - BEGRENZER - Hier wird der Stereo-Begrenzer aktiviert, welche abruptes "schneiden" des Aufnahmesignals in Ihr iPod vermeidet. Es ist allerdings auch dann noch möglich, den BEGRENZER mit dem iPod zu lauten Signal auszulösen, was sich entweder in einem unangenehmen "gepumtem" Ton oder)sagar in Verzerrung niederschlög. Falls auffallige Begrenzer-Artefakte auftreten, die KANAL LAUTSTARKE herunterdrehen.
- AUFNAHMEMODUS - Zur Bestimmung, ob zwei analoge Eingänge auf den iPod in Stereo oder Mono (zusammengefasst) aufgenommen werden. Bei der Aufnahme von Mono-Eingabequellen wie Gitarren oder Mikrofonen, sollen dieser Schalter auf "Mono" gesetzt werden.
- KENsTOnGn-LoCK STECKVorrICTUNG-Hier konnen Sie mit Hilfe eines Kensington-Locks den iPod Recorder zur Sicherheit an einen Tisch oder eine andere Oberflache anschlieben.
- ÖFFNEN - Falls der iPod aus dem Recorder entertmet werden soll, muss hier zunachst der Schalter zum Entriegeln nach unter gestellt werden, dann können die Abdeckung entertmet und der iPod hersausgenommen werden.
- PHANTOMSPEISUNG - Über diesen Schalter wird die Phantomspeisung aktiviert/deaktiviert. Wenn aktiviert, versorgt diese die beiden XLR-Mikrofoneinge mit +48V. Wahrend die meisten dynamischen Mikrofone keine Phantomspeisung bestehtig, ist dies bei der Mehrzahl der Kondensator-Mikrofone der Fall. Lesen Sie in den Anweisungen Ihres Mikrofons nach, ob这部分 Phantomspeisung bestehtig.

Rechts

Links
WARNING:
PHANTOMSPEISUNG
nicht einschalten, wenn Ihr Mikrofon diese nicht besteht.
- iPOD LADEN EIN/AUS - Zur Aktivierung des Ladevorgangs Ihres iPod während dieser sich im Recorder-Dock befindet. Ihr iPod kann nur dann aufgeladen werden, wenn der Recorder durch den beigelegten Wechselstromadapter oder einen externen Batteriesatz mit Strom versorgt wird.
- EIN/AUS-SCHALTER - Zum Ein- oder Ausschalten des iPod Recorders. Schalten Sie den Recorder immer aus, wenn Sie他们在不惯 verwenden, um Batterien zu sparen.
- NETZANCSCHLUSS - Hiersoleit derbeileigendeNetzadapterangeschlosenwerden. SchlieBies Die siezenimmer zuerst an den Rechner und dann an die Steckdose an.
Hinweis: Falls Sie einen externe Stromquelle, z. B. einen Batteriesatz verwenden, muss dess Polarität im Inneren positiv sein. Lesen Sie die TECHNISCHEN SPEZIFIKATIONEN, um mehr über externe Batteriesätze zu erfahrten.
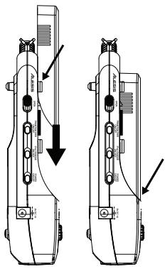
ANBRINGEN &ENTFERNEN DER ABDECKUNG
Vor Inbetriebnahme folgen Sie diesen einfuen Schritten, um den ProTrack für den Gebrauch mit ihrem iPod vorzubereiten:
- Benutzen Sie das für ihren iPod passende Schutzpólster. Verwenden Sie das dickere Polster für den normalgrossten iPod (Classic oder 5. Generation) oder das Dünner für den iPod nano (2. oder 3. Generation).
- Legen Sie das Schutzpolster in die Mitte der Fläche über dem DOCK. Damit wird Ihr iPod, während sich dieser im Dock befindet, geschichert.
- Installieren Sie ihren iPod in das DOCK, indem sie Stecker des DOCKs sanft in die davon vorgesehene Steckverbindung an der Unterseite Ihres iPod einschieben.
- ABDECKUNG über den Recordier schiben, sodass diese den iPod bedeckt. Die Kanten der ABDECKUNG sollenn unter die auf beiden Seiten des Recorders befindlichen HalterGLEten.
Hinweis: Wir haben zwei verschiedene Abdeckungen für den iPod Receiver beigelegt: eine für den herkömmlichen iPod, eine Weitere für den iPod Nano.
- ABDECKUNG unten am Gerät einrasten.
- Zur Entmunication der ABDECKUNG den Schalter ÖFFNEN auf der linken Geräteseite nach unter stellen (siehe LINKE UND RECHTE GERÄTESEITEN), dann vom Recorder abziehen.
- Zum Entfermen Ihres iPod diesen leicht hin- und herbewegen, bis sich dieser aus dem DOCK lost.
Wir empfehlen die Funktion iPOD LADEN während des Aufnehmens auszuschalten. Laden des Gerats kann zum Aufreten eines leisen Gerausches bei ihren Aufnahmen führen.

AUFNAHME
Der iPod Recorder ist mit den folgenden iPod-Modellen kompatibel:
iPod Classic
5. Generation iPod
3. Generation iPod Nano
2. Generation iPod Nano
Auf den iPod Recorder kann über die eingebauten Kondensator-Mikrofone, exter Mikofone oder andere Tongquellen, die an die EINGänge KANAL 1 oder 2 angeschlossen sind, aufgenommen werden. Ein paar wichtige Einzelheiten, bevor Sie sich ans Aufnahmen machen:
- Nehmen Sie sich genug Zeit, die Pegel ihrer Requen sauber einzustellen, indem Sie die LED-LAUTSTARKEANZEIGE auf der Geräte Oberseite beobachten. Es wird empfohlen, dass die LEDs nur manchmal, wenn überhaupt, in den roten Bereich geraten sollenen, um zu vermeiden, dass die Aufnahme nicht "geschritten" oder verzerr wird.
- Verwendten Sie den eingebauten BEGRENZER um hartes "Schneiden" der Aufnahme in Ihr iPod zu vermeiden. Verwendten Sie jedoch den BEGRENZER mit Vorsicht - falls ihre Eingangspegel zu hoch sind, kann dies zu unerwänschten Tonartifakten oder sogar zu Verzerrungen führen. Es besteht ein feiner Unterschied zwischen einer gute, lauten Aufnahme und einer Aufnahme, die zu stark begrenzt wurde und davon einen schlechten Dynamikbereich und mangelnde Klarheit besitzt. Stellen Sie ihre Pegel vorsichtig ein und verringeren Sie, falls notig, die KANALLAUTSTÄRKE.
- Wir empfehlen die Funktion iPOD LADEN während des Aufnehmens auszuschalten. Laden das Geräts kann zum Auftreten eines leisen Gerauschs bei ihren Aufnahmen führen.
- Machen Sie von dem Schalter AUFNAHMEMODUS Gebrauch, um zwischen Stereö- und Mono-Aufnahme umzuschalten. Falls Sie Mono-Eingabequellen wie Gitarren und Mikrofone verwenden, empfeht es sich unter Umständen, in Mono aufzunehmen.
Falls nur ein Eingang verwendet wird, sollenn Sie die KANALLAUTSTARKE des nicht belegten Kanals herunterdrehen, um das Auftreten unerwünscher Geräusa zu unterbinden.
Her Aufnahmen werden als "Voice Memo" auf ihm iPod abgespeichert.
Sobald die Aufnahme eines "Memos" beendet ist, wird dies unter Main Menu > Extras > Voice Memos abgelegt.
Wenn Sie an ihren PC anschlieben und Voice Memos übertragen, werden diese unter Main Menu > Music > Playlists > Voice Memos zu finden sein.
Ab Werk ist Ihr iPod zum Betrieb mit einem Mac anstatt eines Windows-PC programmiert. Falls Sie Aufnahmen an einen Windows-PC übertragen möcht, schreiben Sie ihren iPod an den Windows-PC an und halten Sie den iPod durch iTunes formattedieren BEVOR Sie zum ersten Mal aufnehmer.
Falls Sie auf ihren iPod aufnahmen, bevor Sie diesen an iTunes angeschlossen haben, werden ihre Aufnahmen im Maceigenen HFS-Format gespeichert. Diese können dann nur gegeben werden, wenn Sie den iPod an einen Mac, nicht an einen Windows-PC anschließen.
Beachten Sie, dass wenn Sie Ihr iPod auf Windows- oder Mac-Betriebssysteme formattieren, hochwahrscheinlich alle vorweggangenen Aufnahmen gelöscht werden.
EinfachAnleitung