DD95 - Ontvochtiger DELONGHI - Gratis gebruiksaanwijzing en handleiding
Vind de handleiding van het apparaat gratis DD95 DELONGHI in PDF-formaat.
Download de handleiding voor uw Ontvochtiger in PDF-formaat gratis! Vind uw handleiding DD95 - DELONGHI en neem uw elektronisch apparaat weer in handen. Op deze pagina staan alle documenten die nodig zijn voor het gebruik van uw apparaat. DD95 van het merk DELONGHI.
GEBRUIKSAANWIJZING DD95 DELONGHI
Gebruiksaanwijzingen
Lees deze gebruiksaanwijzingen aandachtig door voordat U het apparaat installeert en in gebruik neemt. Alleen zoCNT u de Beste resultaten bereiken en het apparaat veilig gebruiken.
Inleiding
Dit apparaat is gemaakt om woonruimten te ontvochtigen. Het apparaat is compact en voorzien van wieltjes en handvaten zodate u het makkelijk sunt verplaatsen. Het gebruik ervan is aan te raden in alle vochtige ruimten zoals in de keulen, badkamer, wasruimte, kelder enz.
Deskundigen haben vastgesteld dat de Beste leefomgeving, zowel voor ons organisme als voor het behoud van voorwerpen, gekenmerkt worden door een relatieve luchtvochtigheid die schommeltussen de 45% en 60% . Het is dan ook raadzaamervoortzorgendat de relatieve luchtvochtigheid van de omgeving tussendeze waarden blijft.
Technische gegevens
| Voltage | 220/240 | V (50 Hz) |
| Gebruktete potentie | 290 | W |
| Gebruktete stroom | 1,8 | A |
| In 24eur max. opgenomen vocht | 7,5 | liter |
| Verwerkte lucht | 240 | m3/eur |
| Koelelement | R22 | |
| Ontdooielement | aanwezig | |
| Klimaatregelaar | aanwezig | |
| Afmetingen langte X hoogte X bredte | 300x570x300 | mm |
| Gewicht | 21.5 | kg |
| Inhoud van de tank | 4 | liter |
| Vermogen: | ||
| • temperatuur | 5 - 32 | °C |
| • relatieve vochtigheid | 30 - 90 | % |
Standaard werking: 27^ - 60% UR
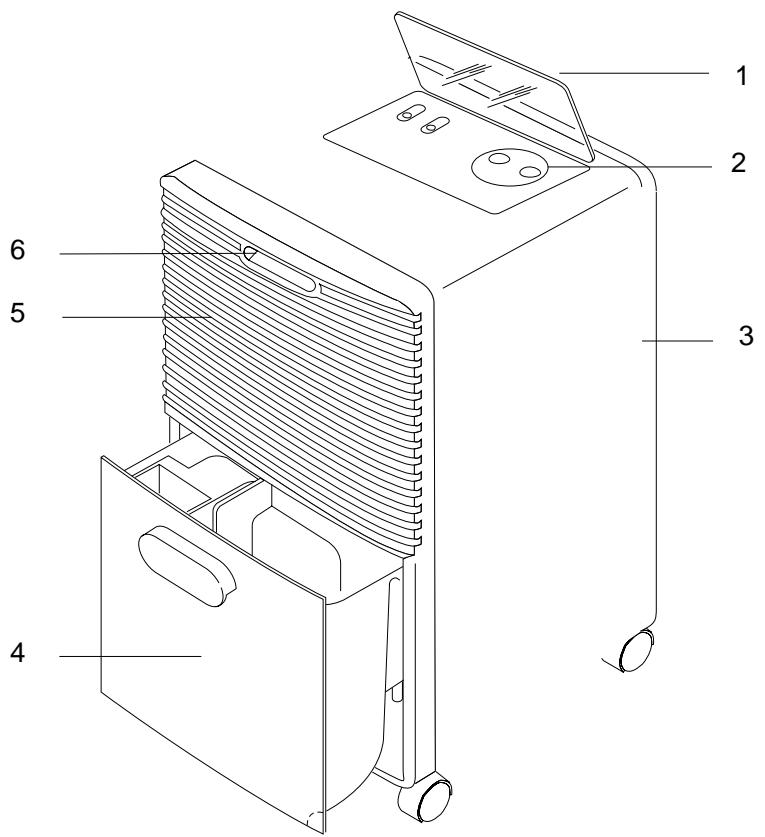
Onderdeelbenaming

- Deksel van het bedieningspaneel
- Bedieningspaneel
- Luchtfilter
- Tank
- Luchtuitgang
- Handvat
Accessoires
| Onderdeelbenaming | Aantal onderdelen die u bij het apparaat krijk | |
| schroefring 3/4" | 1 |
Aanwijzingen voor het installereren
Plaats het apparaat in de te ontvochtigen ruimte.
Het is belangrijk dat rondon het apparaat tenminste 50~cm vrijgehouden worden zodat de lucht goed kan circuleren.
Het water van de condensatie kan op twee manieren afgevoerd worden:
a) Afvoeren in de tank
Het condensatewater kan direkt opgevangen worden in de tank (fig. 1). Indien het nodig maar blijken het apparaat gedurende langereijd achtereen te lien functioneren zonder dat de möglichkheid aanwezig is om de tank regelmatig te legen, is het möglichk de continu-afvoer te gebruiken.
b) Continu-afvoer maar buiten
Indien het nodig might blijken het apparaat gedurende langere tijd achtereen te latent functioneren zonder dat de möglichkheid aanwezig is om de tank regelmatig te legen, is het möglichk de continu-afvoer te gebruiken.
In dit geval, op de volgende manier te werk gaan:
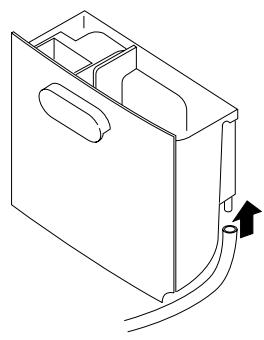
1) Op de tank bevindt zich een zwak punt dat makkelijk verwijderd kan worden voor het doorlaten van de slang (fig. 1).
2) Verwijder de rubberen dop van de tuit (fig. 1).
3) Maak een gat in de tuit met een fijnne boor.
4) Bevestig een slang met 10 mm doorsnee op de tuit (fig. 2).
5) Plaats de tank in het apparatus (fig. 3)
Let erop dat de slang geen niveaiverschillen hoeft te overbruggen, hierdoor zou het water in de tank blijven lopen.
N.B. De rubberen dop bewaren: deutsche kan gebruikt worden zowel voor het sluiten van de slang als voor het afsluiten van de tuit indien men maych besluien wee via de tank het water af te voeren. (zie punt A).

Fig. 1

Fig. 2

Fig. 3

Tank control system (Controlesystem van de tank)
Deze ontvochtiger is voorzien van een speciaal, intelligent mechanisme waardoor het correct functioneren van het apparaat gecontroleerd worden.
Een controleampje op het bedieningspaneel, gaat branden om de gebruiker te waarschuwen dat:
- de tank vol is de tank legen
- de tank ontbreekt de tank weeop zichplaats zetten
- de tank nicht goed geplaatst is de tank correct plaatsen
- indien men de continu-afvoer gebrukt: er zit een verstopping in de slang of de slang要去 een niveauverschil overbruggen de verstopping verwijderen.
Wanner eenmaal de oorzaak weggenomen is, gaat het controleampje uit en het apparaat zal weer beginnen te functioneren.
Electrische aansluiting
Voordat u de stekker in het stopcontact steekt, controleren of:
- de netspanning overeenkomt met de gegevens op het etiket.
- het stopcontact en het stroomnet de vereiste lading aankonnen.
- de stekker in het stopcontact past. Zo Niet, dan要去 de stekker door vakbekwaam personeel verrangen worden.
- het stopcontact voorzien is van een volwaardige aardleiding.
De fabrikant wijst alle aansprakelijkheid af in het geval dat deze veiligheidsnorm nicht in acht worden genomen.
Dit apparaat voldoet aan de D.M. 13.04.89 (EEG richtlijn 87/308) betreffend radiostoringen.
Beschrijving van de knoppen

Werking van het apparatus
1) Steek de stekker in het stopcontact en schakel het apparaat in. Het stroomlampje gaat nu branden en geeft aan dat het apparaat stroom ontvangt.
2) Controller of het lampje controsysystem van de tank Niet aanwezig isuit is.
3) Draai de klimaatregelaar op de gewenste stand.
4) Om het apparaat weeer uit te zetten draait u de klimaatregelaar gegen de klok in waar "OFF" terug.
Opmerking:
Om technische redenen worden de vochtigkeit nicht in graden maar in niveaus aangegeven. We raden aan om eerst de klimaatregelaar op "CONTINUOUS" te zetten. Zodra de vochtigkeit van de ruimte het gewenste niveau heeft bereikt, draait u de knop langzaam gegen de klok in totdat het apparaatuit gaat. Zodoende programmeert u het apparaat op de juiste vochtigheidsgraad die de klimaatregelaar automatisch in het geheugen houdt.
Onderhoud
Haal altiijd eerst de stekker uit het stopcontact voordat u met het onderhoud begint.
Gebruik ut veilighheid geen stromend water om het apparaat schoon te make.
Reiniging van de buitenkant
Maak de buitenkant met een vochtige doek schoon en droog hem cervolgens af met een droge doek.
- Gebruik nooit benzine, alcohol of oplosmiddel.
- Spuit nooit insecticide of dergelijk op het apparaat. De verf kan daardoor aftschilveren en het plastic verrormen.
Shoonmaken van de luchtfilter
- Het is een goede regel de filter wekelijks schoon te make.
- Verwijder de luchtfilter de filter gewiekertijd maar beneden enaar stijgend te trekken (fig. 4).
- Verwijder het stof op de filter met een stofzuiger. Wanneer de filter erg vuil is(Intt)kunt u hem met laww water wassen en meertere malen aftspoelen.
De watertemperatuur要去hoger dan 40^ zijn.
Laat de filter goed drogen voordat u hem meer op+zijnplaats zet.
Het apparaat wordt gedurende langerearend Niet gebruikt
- Trek de stekker uit het stopcontact en giet het water uit de tank.
Maak de filter schoon enplaats hem weer in het apparaat. - Bedek het apparaat met een plastic zak om het gegen stof te beschermen.

Fig. 4
Waarschuwingen
- Dit apparaat is gemaakt om woonruimten te ontvochtigen en要去 dus nicht voor andere doeleinden gezruikt worden.
- Het is gevaarlijk om de eigenschappen van het apparatusaat te wijzigen.
- Vervang het netsnoer van dit apparaat Niet zich. Richt u tot een erkende Technische Dienst wonneer het netsnoer beschadigd is of verwangen dient te worden.
- Neem contact op met een door de fabrikant erkende Technische Dienst voor eventuele reparaties. Controller als tijd of de kapotte onderdelen met oorspronkelijke onderdelen verrangen worden. Reparations die uitgevoerd worden door onbekwaam personeel hunnen gevaarlijk zich en vallen nicht in de garantie.
- Dit apparaat mag uitsluitend door volwassenen gebruikt worden:That kinderen er nicht mee spelien!
- Het apparaat moetaangesloten worden op een efficiente aardleiding. Laat uw elektrische voorzieningen controleren door een bekwame electricien.
- Vermijd het gebruik van verlengsnoeren.
- Trek altijd de stekker uit het stopcontact voordat u met schoonmaken of ander onderhoud begint.
- Trek Niet aan het netsnoer om het apparaat te verplaatsen.
- Plaats het apparaat Niet in ruimten waar de lucht gas, olie of zwafel kan bevatten of in de nabijheid van warmtebronnen.
- Plaats geen zware of warme dingen op het apparaat.
- Reinig de filter tenminste een keer per week.
- Houd het apparaatrecht op of leg het op+zijn kant wanner het vervoerd moet worden.
Leeg eerst de tank met condensatie voordat u het apparaat vervoert.
Wacht tenminste eén uur voordat u het apparaat wee aanzet nadat het vervoerd is.
Het ontvochtigingsapparaat doet het Niet ...
Controleer de volgende punten voordat u met uw apparaat waar de Technische Dienst gaat:
| Probleem | Mogelijk oorzaak | Oplossing |
| Het onvochtigingsapparaat doet het nicht | • de stekker zit Niet goed in het stopcontact • de klimaatregelaar staat op de laagste stand • de tank is vol • de tank staat Niet goed | • top de stekker goed in het stopcontact •zet de klimaatregelaar op de gewenste stand •leeg de tank •zet de tank goed |
| Het ontvochtigingsapparaat ontvochtigt nicht | • de filter is verstopt • de temperatuur of het vochtigheidsgehalte is te laag | • veinig de filter • het is normalaal dat het apparaat in bepaalde omstandigheden Niet werkt (zie de Technische gegevens) |
| Het ontvochtigingsapparaat werkt maar verminder de vochtigheidsgraad nicht | • de ruimte is te groot • in de kamer+zijn te veel dampbronnen (kokende pannen enz.) | |
| De airconditioner functioneert nicht gedurende ongeveer 3 minutes na het aanzetten | • het beveiligingsmechanisme van het apparaat is in werkig getreden | • 3 minuten wachtenstopcontact |
Notice-Facile