DD95 - Deumidificatore DELONGHI - Manuale utente e istruzioni gratuiti
Trova gratuitamente il manuale del dispositivo DD95 DELONGHI in formato PDF.
Scarica le istruzioni per il tuo Deumidificatore in formato PDF gratuitamente! Trova il tuo manuale DD95 - DELONGHI e riprendi in mano il tuo dispositivo elettronico. In questa pagina sono pubblicati tutti i documenti necessari per l'utilizzo del tuo dispositivo. DD95 del marchio DELONGHI.
MANUALE UTENTE DD95 DELONGHI
Istruzioni per l'uso
Leggete conattenzione questo libretto istruzioni prima di installare e di usare l'apparecchio. Soloosi potrete otteneri migliorari risultati e la massima sicurezza.
Presentazione
Questo "Deumidificatore" sottrae umiditàagli ambienti dove viene installment.
E' un appearecchio compatto dotato di rotelle e di maniglia, e quindi facilitmente trasportabile.
Il suo impiego è consigliato in tutti gli ambienti dove esistono problemi di umidità eccessiva quali cucine, bagni, lavanderie, taverne, cantine, ecc.
Gli esperti hanno stabilito che le migliorioni condizioni ambientali, sia per il nostro organismo, che per la conservazione degli oggetti, oscilla tra il 45% ed il 60% di umidità relativa. E' quindi consigliabile Maintainere gli ambienti entro questi valori.
Caratteristiche tecniche
Tensione di alimentazione
Potenza assorbita
Corrente assorbita
Umidità massima asportata in 24 ore
Aria trattata
Refrigerante
Dispositivo di sbrinamento
Umidostato
Dimensioni LxHxP
Peso (netto)
Capacità tanica
Limiti di funzionamento:
- temperatura
- umidità relativa
220/240 V (50 Hz)
290 W
1,8 A
7.5 litri
240 m^3 /h
R22
si
si
300x570x300 mm
21.5 Kg.
4 litri
5^ - 32 °C
30 - 90 %
Condizioni standard 27^ - 60% UR
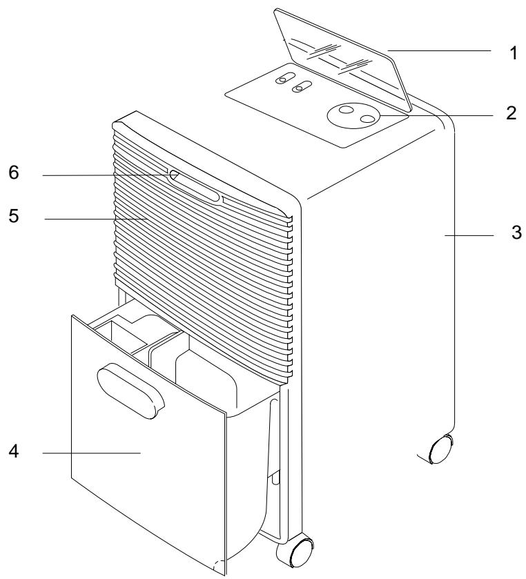
Descrizione

- Coperchio del pannello
- Pannello comandi
- Filtro aria
- Tanica
- Griglia di uscita aria
- Maniglia
Accessori
| Descrizione | N° di pezzi in dotazione | |
| tppo in gomma | 1 |
Assistenza tecnica
Conservate l'elenco dei Centri Assistenza Tecnica ed individuate il Centro a voi più vicino a voi.
Istruzioni per l'installazione
Posizionare l'apparecchio nell'ambiente da deumidificare.
E' essenziale lasciare attorno al deumidificatore uno spazio di almeno 50 cm. per non ostacolare la circolazione d'aria.
Lo scarico dell'acqua di condensa cui si sono in due modi:
A) Scarico nella tanica
L'acqua di condensa può essere raccolta direttamente nella tanica.
La tanica è fácilmente estràbile per lo svuotamento, ha una forma ergonomica ed è dotata di due maniglie che rendono semplicissimo il trasporto ed il suo svuotamento.
B) Scarico in continuo verso l'esterno
Se avete l'esigenza di far funzionare l'apparecchio per un lungo periodo di tempo perché ave la possibilità di svuotare ripetutamente la tanica, è possibile utilizzare lo scarico in continuo.
E' facilissimo predisporre la tanica per lo scarico in continuo.
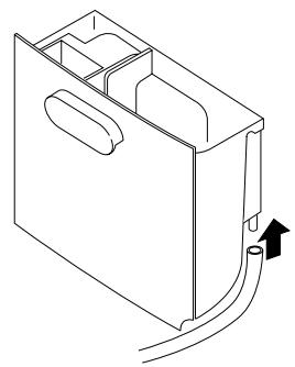
1) Sulla tanica è prevista una parte più sottile da tranciere, per consentire il passaggio del tubo (fig. 1 -
2) Rimuovere il tappino in gomma del beccuccio (fig.1).
3) Forare con la punta sottile di un trapano la plastica che chiude il beccuccio.
4) Infilare sul beccuccio un tubo in gomma di 10 mm di diametro. (fig.2).
5) Reinserire la tanica (Vedi fig. 3)
N.B.: Conservate il tappino di gomma: più essere utilizzato sua per chiudere il tubo che per tappare il beccuccio qualora si ritorni a scaricare nella tanica. (vedi punto A)

Fig. 1

Fig. 2

Fig. 3
Tank control system (Sistema di controllo della tanica)
Questo deumidificatore è dotato di uno speciale dispositivo intelligente che controlling il corretto funzionamento dell'apparecchio.
Una lampada spia situata sul pannello comandi, si accende per avvertire l'utente quando:
- la tanica è piena vuotare la tanica
- manca la tanica riposizionare la tanica
- la tanica è mal posizionata → posizionarla correttamente
- state scaricando in continuo: c'è un' ostruzione nel tubo o il tubo deve superare un dislivello → rimuovete l'ostruzione.
Una volta rimossa la causa, la lampada spia si spegne e l'apparecchio riprenderà a funzionare.
Collegamento elettrico
Prima di collegare la spina alla presa di corrente, bisogna verificare che:
- La tensione di rete sua conforme alla targa.
- La presa e la linea di alimentazione elettrica siano dimensionate per sostortare il carico richiesto.
- La presa sia del tipo adatto alla spina, altrimenti farla sostituire da personale qualificato.
- La presa sia collegata con un efficace impianto di terra.
La casa costruttice declina agli responsabilità nel caso alla norma antinfortunistica non fosse rispetto.
Questo apparecchio è conforme alla Direttiva CEE EN 55014 sulla suppressione dei radio disturbi.
Descrizione dei comandi

Come deumidificare
1) Collegare l'apparecchio ad una presa di corrente. La spia alimentazione si accenderà segnalando che l'apparecchio è alimentato.
2) Controllare che la spia "tank control system" sua spenta.
3) Ruotare l'umidostato sulla posizione desiderata.
4) Per specnere l'apparecchio ruotare la manopola in senso antorario sino a raggiungere la posizione "OFF".
Nota:
Per ragioni tecniche l'umidità non è espressa in gradi ma in livelli.
Si suggerisce di iniziare posizionando la manopola su "CONTINUOUS" (funzionamento continuo). Quando l'umidità dell'ambiente sare è quella desiderata, ruotare lentamente la manopola dell'umidostato in senso anti-orario fino a quando non si spegnerà l'apparecchio. Così facendo, avrete programmato l'apparecchio sull'esatto grado di comfort che l'umidostato manterrà automaticamente.
Manutenzione
Prima di agli operazione di pulizia o di manutenzione staccare sempre la spina alla presa di corrente. Per motivi di sicurezza non utilizzato un getto d'acqua per lavare il deumidificatore.
Pulizia del mobile esterno
- Pulire con un panno che sia soltanto inumidito ed asciugare con un panno asciutto.
- Mai usare benzina, alcohol o solventi per la pulizia.
- Mai spruzzare liquido insetticida o simili. La vernice cui staccarsi e la plastica si cui deformare.
Pulizia del filtro aria
- E' buona norma pulire il filtro agli settimana.
- Per togliere il filtro dell'aria estrarre il filtrto tirandolo verso l'alto (fig. 4).
- Per togliere la polvere depositata sul filtro, usare un'aspirapolvere. Se il filtro è molto sporco, lavarlo in acqua tiepida e risciaquare più volte. La temperature dell'acqua non deve superare i 40^ .
Dopo averlo lavato, lasciarlo asciugare completeness prima di reinserirlo. Per riposizione are il filtro, inseire daprima gli agganci inferiori e poi quelli superiori quindi bloccare il filtrro spingendolo verso il basso.
Per periodi prolongati di inattività
- Dopo aver staccato la spina dalla presa di corrente, scaricare l'acqua dalla tanica.
- Pulire il filtro e reinserirlo.
- Coprille l'apparecchio con un sacchetto di plastica per proteggerlo alla polvere.

Fig. 4
Avvertenze
- Questo apparecchio è stato costruito per deumidificare gli ambienti domestici e non delve essere adoperato per altri scopi.
- E' pericoloso modificare o alterare in qualsiasi modo le caratteristiche dell'apparecchio.
- Il cavo di alimentazione di quello apparetcchio non deve essere sostituito dall'utente. In caso di danneggiamento del cavo, o per la sua sostituzione, rivolgersi escludvamente ad un Centro di Assistenza autorizzato dal costruttore.
- Per eventuali riparazioni, rivolgersi sempre ed esclusivamente ai Centri di Assistenza Tecnica autorizzati alla Casa Costruttrice. Richiedere sempre che vengano utilizzati pezzi di ricambio originali. Le riparazioni effettuate da personale non qualificato possono essere pericolose e fanno decadere la garanzia.
- Questo apparecchio deve essere usato esclusivamente da adulti; non permettere che i bambini giochino col prodotto.
- L'apparecchiouveessere collegatoad un'efficaceimpianto di "terra".Fate controllare l'impianto elettrico da un'elettricista qualificato.
- Evitare l'utilizzo di prolonghe per il cavo di alimentazione elettrica.
- Prima di ogni operazione di pulizia o di manutenzione, staccare sempre la spina alla presa di corrente.
- Non tirare il cavo di alimentazione elettrica per spostare l'apparecchio.
- Non installare l'apparecchio in ambienti dove l'aria può contener gas, olio, zolfo o in prossimità di fonti di calore.
Non appoggiate oggetti pesanti o caldi sopra l'apparecchio. - Pulire il filtro dell'aria almeno agli settimana.
- In caso di trasporto, l'apparecchio deve restare in posizione verticale o adagiato su un fianco.
Prima di un trasporto, vuotare la tanica dell'accua di condensa.
Dopo aver trasportato l'apparecchio, attendere almeno un'ora prima di accenderlo di nuovo.
Se qualcosa non funziona
Controllate i seguenti punti prima di chiamare il Centro di Assistenza Tecnica autorizzato che opera nella vostra zona.
| Problemi | Cause | Rimedi |
| Il deumidificatore non funziona | è disinserita la spina l'umidostato è regolato sul minimo la tanica è piena di acqua la tanica non è in posizione | insere la spina nella presa regolare l'umidostato nella posizione desiderata vuotare la tanica posizionare correttamente la tanica |
| Il deumidificatore non deumidifica | è il filtrò è intasato la temperature o l'umidità nellaStanza sono troppo basse | pulire il filtrò è normale che in queste condizioni l'apparecchio non deumidifichi |
| Il deumidificatore funziona ma non riduce l'umidità nellaStanza | locale troppo grande nel locale vi sono troppé fonti di umidità (pentole in eboli-zione) | |
| L'apparecchio non funziona per circa 3 minuti dal riavvio | Interviene il dispositorio di sicurezza della macchina | attendere che siano trascorsi 3 minuti |
ManualeFacile